Sony KV-29CL10K – page 3
Manual for Sony KV-29CL10K
Table of contents

02BGKV29CL10K.fm Page 21 Tuesday, March 11, 2003 5:51 PM
Отстраняване на неизправности
Пo-дoлy ca избpoeни някои прости разрешения при проблеми свързани с образа и
звука.
Проблем
Разрешение
Липса на образ (екрана е тъмен) и
•Проверете свързването на антената.
звук.
• Включете телевизора и натиснете бутона от
лицевата страна на апарата.
•Ако индикатора на телевизора свети, натиснете
бутона от дистанционното управление.
Образът е блед или
•Чрез системата от менюта влезте в менюто
несъществуващ, но качеството на
«Настройка на Картината» и изберете «Нулиране»
звука е добро.
за възстановяване на фабричната настройка (на
стр. 10).
Липса на образ или на
•Проверете дали сте включили допълнителния
инфopмaциoннoтo мeню от
апарат и натиснете няколко пъти бутона от
допълнителния апарат свързан
дистанционното управление, докато желания
към ТВ чрез Евроконектора.
входен символ се появи на екрана (на стр. 19).
Добро качество на образа, но няма
•Натиснете бутона + от дистанционното
звук.
управление.
•Проверете дали опцията «Teлeв гoвopитeл» от
менюто «Hacтpoйкa нa зВyкa» е избрана в позиция
«Bkл» (на стр. 11).
•Ocигypeтe ce, чe cлyшaлкитe ca изключени.
Цветните предавания са без цвят
•Чрез системата от менюта влезте в менюто
«Настройка на Картината» и изберете «Нулиране»
за възстановяване на фабричната настройка (на
стр. 10).
BG
Образът е изкривен при смяна на
•Изключете екипа свързан към телевизора чрез
програмите или при избор на
Евроконектора с 21крачета.
телетекст.
Гpeшни знaци фигypиpaт кoгaтo ce
• Кoгaтo изпoлзaтe cиcтeмaтa Meню, влeзтe в peжим
глeдa тeлeтeкcтa.
«Eзик/Дъpжавa» (на стр. 12) и избepeтe cтpaнaтa в
коятo щe иeпoлзвaтe тeлeвизopa. Зa eзици нa
Kиpилица Bи пpeпopъчвaмe дa избepete Pycия в
cлyчаитe когaтo вашaтa държaвa нe ce пoявявa в
cпиcъкa.
Образът е наклонен.
• Чрез системата от менюта изберете опцията
«Въртене на карт.», в менюто «èoÀpoÄÌa ÌaäaÎÌa
ÌacÚp.», и регулирайте наклона (на стр. 16).
Образ с шум.
•Чрез системата от менюта изберете опцията «Ф
HacÚp.», в менюто «Програма Ръчен Избор», и
извършете ръчното настройване за по-добро
приемане на образа (на стр. 14).
• Чрез системата на менютата изберете опцията
«Потискане на Шума», в менюто «èoÀpoÄÌa
ÌaäaÎÌa ÌacÚp.», и изберете «Auto» за намаляване
на шума на образа (на стр. 15).
Образа не е декодиран правилно
•Чрез системата от менюта влезте в менюто
въпреки че декодера е включен
«àÌcÚaÎËpaÌe». В последсвие влезте в опцията
към Евоконектора :2/q.
«èoÀpoÄÌa ÌaäaÎÌa ÌacÚp.» и изберете AV2 изxoД 2
в «TV».
Дистанционното управление не
• Сменете батериите.
работи.
Индикатора за временно
• Влезте в контакт с най-близката сервизна база на
изключване (standby) на
Sony.
телевизора мига.
В случай на повреда, изискайте телевизора да се провери от специализиран
персонал.
Никога не отваряйте апарата.
Допълнителна информация
21

Blanca A5 3/2/03, 09:211

03CZKV29CL10K.fm Page 3 Tuesday, March 11, 2003 5:52 PM
Úvod
Děkujeme Vám, že jste si vybrali televizor Sony s plochou obrazovkou FD Trinitron.
Před použitím televizoru si pozorně přečtěte tento návod k obsluze a zachovejte ho pro
budoucí informaci.
•
Znaky, které užíváme v tomto návodu k obsluze:
•
Důležitá informace
.
•
Šedá výplň tlačítek dálkového
ovladače označuje tlačítka, která je
•
Informace o funkci
.
nutno/možno stisknout v tomto kroku
.
•
1,2...
Posloupnost ovládacích kroků
.
•
Informace o výsledku pokynů
.
Obsah
Úvod
.......................................................................................................................................................... 3
Bezpečnostní opatření
............................................................................................................................ 4
V
šeobecný popis
Všeobecný přehled tlačítek dálkového ovladače
............................................................................... 5
Všeobecný přehled tlačítek televizoru
................................................................................................6
Instalace
Připojení antény a videa
........................................................................................................................ 7
Vložení baterií do dálkového ovladače
................................................................................................ 7
První zapojení televizoru
Zapnutí a automatické naladění TV
...................................................................................................... 8
Režim menu na obrazovce
CZ
Úvod a použití různých menu
.............................................................................................................. 10
Průvodce po menu
:
Nastavení Obrazu
.............................................................................................................................. 10
Nastavení zvuku
................................................................................................................................. 11
Časovač Vypnutí
................................................................................................................................12
Jazyk/Země
........................................................................................................................................ 12
Automatické Ladění
.......................................................................................................................... 12
Třídění Programů
............................................................................................................................... 12
Označení programů
........................................................................................................................... 13
AV předvolby
...................................................................................................................................... 13
Ruční Ladění
....................................................................................................................................... 14
Redukce Šumu
................................................................................................................................... 15
Výstup AV2
......................................................................................................................................... 15
RGB centrování
.................................................................................................................................. 16
Otočení Obrazu
.................................................................................................................................. 16
Teletext
............................................................................................................................................... 17
Doplňkové informace
Připojení přídavných zařízení
............................................................................................................... 18
Použití přídavných zařízení
................................................................................................................. 19
Technické údaje
..................................................................................................................................... 20
Řešení problémů
................................................................................................................................... 21
Obsah
3

Bezpečnostní opatření
Tento televizor pracuje pouze s
napětím 220-240 V. V případě
zapojení příli mnoha spotřebičů
do jedné el. zásuvky může dolít k
úrazu el. proudem či požáru.
Televizor postavte vždy na
Před manipulací vypojte televizor
stabilní a bezpečný stolek.
z el. sítě. Při manipulaci
Nezakrývejte ventilační otvory
Nedovolte dětem aby na televizor
postupujte opatrně abyste
televizoru novinami, časopisy
lezli, sedali si na něj, či si na něm
televizor nepoškodili. Pokud vám
ani záclonami a závěsy.
hráli.
televizor upadl, či byl jiným
Při manipulaci napokládejte
způsobem poškozen nechte ho
televizor na boční ani na čelní
prověřit odborným pracovníkem
stranu.
autorizovaného servisu SONY.
4
Bezpečnostní opatření
Abyste nepo
š
kodili el. přívodní
kabel nepokládejte na něj žádné
těžké předměty . Doporučujeme
přebytečnou část el. přívodního
kabelu navinout kolem háčků na
zadní straně televizoru.
Při vytahování el. přívodního
kabelu tahejte pouze za zástrčku,
netahejte za kabel.
Č
Nezakrývejte ventilační otvory
Neumisť ujte televizor na horká,
Hořlavé látky, či otevřený oheň
televizoru. Nechte kolem
mokrá či extrémněprašná místa.
(svíčka) neumisť ujte v těsné
televizoru alespoň 10 cm
Přístroj nesmí být vystaven
blizkosti televizoru.
prostoru pro ventilaci vzduchu.
mechanickým vibracím.
istěte obrazovku a plastový kryt televize
pouze jemnou, lehce navlhčenou látkou.
Nepoužívejte žádné materiály s
povrchovou úpravou určenou k broušení,
nepoužívejte alkalické čističe, čistící a
brusné pasty, rozpouštědla jako je líh,
benzín, či ředidlo. Rovněž
nedoporučujeme používat antistatický
spray. Z bezpečnostních důvodů, před
mytím odpojte TV od el. proudu.
Nevystavujte televizor dešti a
vlhku, předejdete tak případnému
úrazu el. proudem.
03CZKV29CL10K.fm Page 4 Tuesday, March 11, 2003 5:52 PM
Nevkládejte žádné předměty do
Z bezpečnostních důvodů a z
televizoru, rovněž do televizoru
důvodů ochrany životního
nelijte jakoukoliv tekutinu. V
prostředí doporučujeme
případě, že se tak stane ať již
neponechávat televizor v
úmyslně či neúmyslně televizor
pohotovostním stavu pokud není
nezapínejte a sdělte tuto skute
del í dobu používán. V tomto
čnost nejbližšímu
případě odpojte televizor
autorizovanému servisu SONY,
z el. sítě.
který odborně televizor prověří.
Neotevírejte zadní kryt televizoru.
Nedotýkejte se během bouřky
Toto přenechte pouze
jakékoliv časti el. přívodního
kvalifikovaným odborníkům z
kabelu ani anténního kabelu.
autorizovaných servisů SONY.

03CZKV29CL10K.fm Page 5 Tuesday, March 11, 2003 5:52 PM
Všeobecný přehled tlačítek dálkového ovladače
!¶
1
Dočasné vypnutí televizoru:
Stisknutím tlačítka se televize
!§
dočasně vypne (indikátor pohotovostního stavu na televizi
1
se rozsvítí).
!∞
Opětovným stisknutím tlačítka televizor opět zapnete.
!¢ 2
Doporučujeme televizor vypnout úplně, pokud se nepoužívá -
šetří se tím energie.
Televizor se automaticky vypne do pohotovostního režimu,
3
jestliže po dobu 15 minut nedostává televizní signál a není
stisknuto žádné tlačítko.
4
2
Volba TV režimu:
Stisknutím se vypne teletext nebo vstup do
videa.
!£
5
3
Tlačítko pro výběr programů:
Stisknutím lze zvolit žádaný
kanál.
6
Pokud chcete zvolit program s dvoumístným číslem, stiskněte
7
druhou číslici po dobu menší než 2,5 vteřiny, nebo stiskněte -/--
8
a poté první a druhou číslici. Jestliže jste se stisknutím prvního
!™ 9
čísla zmýlili, stiskněte znovu tlačítko (od 0 do 9 ) a poté
!¡
!º
zopakujte znovu celou operaci.
4
Návrat ke kanálu sledovanému
!º
Toto tlačítko lze použít pouze v režimu
naposled:
Stisknutím vyvoláte kanál,
teletextu.
který jste naposledy sledovali po dobu
!¡
Výběr specifického obrazu:
delší než 5 sekund.
Opakovaným stisknutím nastavíte
5
Volba kanálů:
Stiskněte pro volbu
specifický obraz.
předchozího nebo následujícího kanálu.
!™
Volba režimu zvuku:
Opakovaným
6
Zapojení režimu menu:
Stiskněte jej a
stisknutím změníte režim zvuku.
CZ
menu se objeví na obrazovce.
!£
Nastavení hlasitosti:
Stisknutím se
Opětovným stisknutím se vypne a objeví
nastaví hlasitost televizoru.
se normální obrazovka.
!¢
Výběr zvukového kanálu:
V případě, že
7
Ovládání menu:
je pořad vysílán duálně tj. i s originální
•
Je-li MENU zobrazeno:
jazykovou verzí stiskněte opakovaně toto
Nahoru.
tlačítko pro výběr jazykové verze.
Dolů.
Předchozí nabídka či volba.
!∞
Volba vstupního signálu:
Tiskněte jej
Další nabídka či volba.
OK
Potvrdit
opakovaně, až se na obrazovce objeví
volbu.
znaménko zvoleného vstupního signálu.
•
Pokud není MENU zobrazeno
:
!§
Vypnutí zvuku:
Pokud chcete zvuk
OK
Zobrazí přehled kanálů.
vypnout, stiskněte tlačítko.
Stisknutím nebo zvolte
Zvuk se zapne opětovným stisknutím.
požadovaný kanál, po stisknutí
OK
jej
!¶
Zobrazení informace na obrazovce:
můžete sledovat
.
Stiskněte tlačítko a na obrazovce se
8
Výběr z teletextu:
Stisknutím se zobrazí
objeví veškeré údaje. Opětovným
teletext.
stisknutím tyto informace z obrazovky
9
Výběr formátu zobrazení:
Opakovaným
zmizí.
tisknutím změníte formát zobrazení: 4:3
pro obvyklý obraz nebo 16:9 pro imitaci
širokoúhlého obrazu.
Kromě těchto funkcí televizoru, všechna barevná tlačítka se používají také pro teletext.
Obsáhlejší informace je popsána v kapitole “Teletext” tohoto návodu k obsluze
(viz. str. 17).
Všeobecný popis
5

03CZKV29CL10K.fm Page 6 Tuesday, March 11, 2003 5:52 PM
Všeobecný přehled tlačítek televizoru
Ukazatel režimu
dočasného
Tlačítko
vypnutí televizoru
zapnuto/
(pohotovostní) režim
vypnuto
Stlačením krytu na čelní části televizoru
směrem nahoru získáte přístub k
ovládacímu čelnímu panelu.
Programová tlačítka
pro výběr následujícího
Tlačítko pro
nebo předchozího
Tlačítko pro volbu
inicializaci
kanálu (pro volbu
vnějšího vstupu
televizoru
televizních stanic)
Vstup
Zvukové
Výstup pro
Tlačítka pro
videosignálu
vstupy
sluchátka
ovládání
hlasitosti
6
Všeobecný popis

Připojení antény a videa
Přípojné kabely se nedodávají.
nebo
v
OUT IN
Připojení pomocí konektoru
typu Euro záleží na Vaší
Obsáhlejší informace o připojení videa najdete v
volbě.
kapitole “Připojení přídavných zařízení” v tomto
návodu k obsluze (viz. str. 18).
CZ
Vložení baterií do dálkového ovladače
Zkontrolujte, jestli jsou poskytnuté baterie ve správné pozici.
Berte ohled na životní prostředí a použitých baterií se zbavujte způsobem, který životní
prostředí nepoškozuje - odhazujte je do kontejnerů k tomu určených.
Instalace
7
id
eore
k
or
dé
03CZKV29CL10K.fm Page 7 Tuesday, March 11, 2003 5:52 PM
r

Zapnutí a automatické naladění TV
Po prvním zapnutí televizoru se na obrazovce objeví sekvence menu, pomocí kterých
budete moci:
1) zvolit jazyk menu; 2) zvolit zemi, ve které si přejete používat televizor; 3) seřídit
nakloněný obraz, 4) hledat a automaticky ukládat všechny kanály (televizní stanice), které
jsou k dispozici a 5) změnit pořadí, ve kterém se kanály (televizní stanice) objeví na
obrazovce.
Pokud časem budete chtít změnit jakékoliv z těchto seřízení, proved’te příslušnou volbu v
(menu Instalace), nebo stiskněte tlačítko pro inicializaci televizoru.
1 Zapojte televizor do elektrické sítě (220-240 V AC, 50Hz).
Stiskněte tlačítko zapnuto/vypnuto na čelní části
televizoru, aby se televizor zapnul.
Po prvním stisknutí tohoto tlačítka, menu Language
(Jazyk) se automaticky objeví na obrazovce.
2 Stiskněte tlačítko nebo dálkového ovladače pro
volbu jazyka a poté stiskněte tlačítko OK pro potvrzení
volby. Od této chvíle veškerá menu se objeví ve
zvoleném jazyce.
3 Na obrazovce se automaticky objeví menu Země.
Stiskněte tlačítko nebo pro volbu země, ve které
chcete používat televizor a poté stiskněte tlačítko OK pro
potvrzení volby.
• Jestliže v seznamu není ta země, ve které budete
používat televizor, místo země zvolte «-».
• Pokud se vaše země neobjeví v nabídce pro
instalaci, doporučujeme použít nastavení pro
Rusko. Tímto nastavením předejdete chybnému
zobrazování znaků a písmen charakteristických
pro váš jazyk v teletextu.
4 Vzhledem k zemské přitažlivosti se může stát, že se obraz
nakloní. V tomto případě ho můžete seřídit použitím
funkce Otočení obrazu.
a) Pokud toho není třeba, stiskněte nebo pro
volbu Není potřeba a poté stiskněte OK.
b) Pokud toho je třeba, stiskněte nebo pro volbu
Upravit ted’ a stiskněte OK. Poté upravte nakloněný
obraz seřizováním v rozmezí od -5 do +5, pomocí
tlačítek nebo . Nakonec stiskněte OK pro jeho
uložení.
8
První zapojení televizoru
Language
i
4
Svenska
Norsk
English
Nederlands
Français
Italiano
i
$
Select Language:
OK
Země
i
4
Sverige
Norge
-
Italia
Deutschland
Österreich
i
$
Vyberte zemi:
OK
Jestliže je obraz nakloněn
upravte pootočení obrazu.
Není potřeba
Upravit te
OK
03CZKV29CL10K.fm Page 8 Tuesday, March 11, 2003 5:52 PM
pokračuje ...

5 Menu Automatické Ladění se objeví na obrazovce.
Stiskněte tlačítko OK pro volbu Ano.
6 Televizor začne automaticky ladit a ukládat všechny
kanály (televizní stanice), které jsou k dispozici.
Tento proces může trvat několik minut. Mějte
proto trpělivost a po dobu trvání procesu
ladění nestiskněte žádné tlačítko, proces by
se neuskutečnil.
Jestliže po vykonání automatického ladění televizor
nenašel žádný kanál (televizní stanici), na obrazovce
se objeví zpráva, která Vás žádá, abyste zapojili
anténu. Při zapojení antény postupujte tak, jak je
uvedeno na str.7 tohoto návodu a poté stiskněte
OK. Proces automatického ladění se obnoví.
7 Jakmile televizor ukončil ladění a uložil všechny
kanály (televizní stanice), na obrazovce se
automaticky objeví menu Třídění programů,
pomocí kterého můžete změnit pořadí, ve kterém se
kanály objeví na obrazovce.
a) Nechcete-li změnit toto pořadí kanálů, přejděte na
bod č. 8.
CZ
b) Chcete-li změnit pořadí kanálů:
1 Stiskněte tlačítko nebo pro volbu čísla
programu s kanálem (televizní stanicí), jehož
pozici chcete změnit a následovně stiskněte .
2 Stiskněte nebo pro volbu nového čísla
programu, ve kterém si přejete uložit zvolený
kanál (televizní stanici), a následovně
stiskněte .
3 Zopakujte body b)1 a b)2, chcete-li změnit pořadí
dalších televizních kanálů.
MENU
8 Stiskněte tlačítko MENU a menu zmizí z obrazovky.
Televizor je připraven k funkci.
První zapojení televizoru
9
Přejete si spustit
automatické ladění?
Ano
Ne
OK
Automatické ladění
Program:
01
Systém:
B/G
Kanál:
C21
Vyhledávání...
Program nenalezen
Připojte prosím anténu
Potvrte
OK
Třídění programů
Program:
01 TVE
02 TVE2
03 TV3
04 C33
05 C27
06 C58
Zvolte kanál:
OK
Konec:
MENU
Třídění programů
Program:
01 TVE
02 TVE2
03 TV3
04 C33
05 C27
06 C58 05 C27
Zvolte novou pozici:
OK
Konec:
MENU
03CZKV29CL10K.fm Page 9 Tuesday, March 11, 2003 5:52 PM

03CZKV29CL10K.fm Page 10 Tuesday, March 11, 2003 5:52 PM
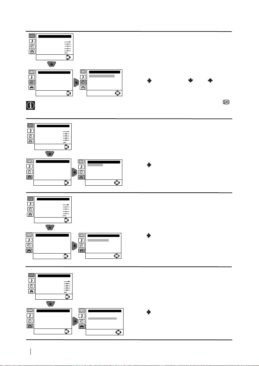
Úvod a použití různých menu
Tento televizor používá na obrazovce systém menu a tím Vám ukazuje různé operace.
Pro přesun po menu používejte tlačítka dálkového ovladače, která jsou následovně
popsána:
1 Stiskněte tlačítko MENU a na obrazovce se objeví první stupeň menu.
MENU
2 • Pro zvýraznění žádaného menu nebo funkce, stiskněte tlačítko nebo
.
• Pro vstup do zvoleného menu nebo funkce, stiskněte .
• Pro návrat do předchozího menu nebo funkce, stiskněte .
• Pro změnu nastavení zvolené funkce, stiskněte // nebo .
• Pro potvrzení a uložení Vaší volby, stiskněte OK.
3 Stiskněte tlačítko MENU a menu zmizí z obrazovky.
MENU
Průvodce po menu
Stupeň 1 Stupeň 2 Stupeň 3 / Funkce
NASTAVENÍ OBRAZU
Nastavení obrazu
Nastavení obrazu
Menu “Nastavení obrazu” slouží k úpravě nebo
Režim: Osobní
Režim: Osobní
Kontrast
Kontrast
seřízení obrazu.
Jas
Jas
Barevná sytost
Barevná sytost
Ostrost
Ostrost
Odstín
Odstín
Reset
Reset
K tomu je třeba: po zvolení funkce, kterou si
OK
OK
přejete změnit, stiskněte tlačítko . Poté
opakovaně stiskněte //nebo
pro změnu nastavení a nakonec stiskněte OK
pro jeho uložení.
• Toto menu Vám také umožní změnit specifický obraz podle toho, jaký program sledujete:
Režim Osobní (pro osobní požadavky).
Přímý přenos (používejte pro pořady v přímém přenosu, DVD a při použití
Set Top Boxů).
Film (pro filmy).
• Jas, Barevná Sytost a Ostrost jsou možné změnit pouze v případě, že změníte specifický
obraz v režimu “Osobní”.
• Odstín je dostupný pouze pro systém NTSC (např. videokazety z USA).
• Pro obnovení továrního nastavení obrazu, zvolte Reset a stiskněte tlačítko OK.
pokračuje ...
10
Režim menu na obrazovce

03CZKV29CL10K.fm Page 11 Tuesday, March 11, 2003 5:52 PM
Stupeň 1 Stupeň 2 Stupeň 3 / Funkce
Nastavení obrazu
NASTAVENÍ ZVUKU
Režim: Osobní
Kontrast
Menu “Nastavení zvuku” Vám umožní změnit
Jas
Barevná sytost
nastavení zvuku.
Ostrost
Odstín
Reset
K tomu je třeba: po zvolení funkce, kterou si
OK
přejete změnit, stiskněte . Poté opětovně
tiskněte // nebo pro změnu
nastavení a nakonec stiskněte OK pro jeho
Nastaven zvuku
Nastaven zvuku
Režim: Osobní
Režim: Osobní
uložení.
Výšky
Výšky
Hloubky
Hloubky
Vyvážení
Vyvážení
Reset
Reset
Dvoukanál.zvuk: Mono
Dvoukanál.zvuk: Mono
Pokročilé nastavení
Pokročilé nastavení
OK
OK
Toto menu má dvě podmenu:
Režim Osobní (pro osobní požadavky)
Rock
Pop
Jazz
Pokročilé nastavení Zvukový efekt: Vyp: Normální.
Spatial: Pro speciální akustické
efekty.
Aut. hlasitost: Vyp: Hlasitost se mění v závislosti
na vysílacím signálu.
CZ
Zap: Hlasitost se udržuje nezávisle
na vysílacím signálu (např.
reklamní inzeráty).
TV reproduktory: Vyp: Zvuk vzniká ve vnějším
zesilovači připojenému k
výstupu audio na zadní části
televizoru .
Zap: Zvuk vzniká v reproduktorech
televizoru.
• Výšky a Hloubky je možné změnit pouze po zvolení “Osobní” v režimu zvuku.
• Přestože je zvuk nastaven již v továrně, je možné jej přizpůsobit Vašim specifickým
požadavkům. Pro znovunastavení zvuku zvolte Reset a stiskněte OK.
• V případě dvojjazyčného vysílání, zvolte funkci Dvoukanál. zvuk a nastavte ji na A (pro
1.zvukový kanál), B (pro 2.zvukový kanál), nebo na Mono (určený pro kanál mono, je-li k
dispozici). Pro vysílání stereo můžete zvolit bud’ Stereo, nebo Mono.
pokračuje ...
Režim menu na obrazovce
11

03CZKV29CL10K.fm Page 12 Tuesday, March 11, 2003 5:52 PM
Stupeň 1 Stupeň 2 Stupeň 3 / Funkce
Nastavení obrazu
ČASOVAČ VYPNUTÍ
Režim: Osobní
Kontrast
Funkce “Časov. vypnutí” v režimu menu
Jas
Barevná sytost
Ostrost
“Časovač”, Vám umožní zvolit interval, po
Odstín
Reset
jehož uplynutí televizor automaticky přejde do
OK
režimu dočasného vypnutí (pohotovostní
režim).
Časovač
Časovač
Časov. Vypnutí:
Vyp
Časov. Vypnutí:
Vyp
K tomu je třeba: po zvolení funkce, stiskněte
tlačítko . Poté stiskněte nebo pro
volbu časového intervalu (max. 4 hodiny) a
OK
OK
nakonec stiskněte OK pro jeho uložení.
•
Chcete-li vidět čas zbývající do vypnutí, zatímco sledujete televizor, stiskněte tlačítko .
• Minutu před tím, než televizor přejde do režimu dočasného vypnutí, zbývající čas se
objeví na obrazovce.
Nastavení obrazu
JAZYK/ZEMĚ
Režim: Osobní
Kontrast
Funkce “Jazyk/Země” v režimu menu
Jas
Barevná sytost
“Instalace” slouží k volbě jazyka, ve kterém
Ostrost
Odstín
chcete, aby se na obrazovce objevily menu.
Reset
OK
Také Vám umožní zvolit zemi, ve které si přejete
televizor používat.
Instalace
K tomu je třeba: po zvolení funkce, stiskněte
Instalace
Jazyk/Země
Jazyk/Země
tlačítko . Poté postupujte tak, jak je popsáno
Automatické ladění
Automatické ladění
Třídění programů
Třídění programů
Označení programů
v kapitole “Zapnutí a automatické naladění TV”,
Označení programů
AV předvolby
AV předvolby
Ruční ladění
Ruční ladění
v bodě 2 a 3 (viz. str. 8).
Prodrobnější nastavení
Prodrobnější nastavení
OK
OK
Nastavení obrazu
AUTOMATICKÉ LADĚNÍ
Režim: Osobní
Kontrast
Jas
Funkce “Automatické ladění” v režimu menu
Barevná sytost
Ostrost
“Instalace” slouží k tomu, aby televizor hledal a
Odstín
Reset
uložil do paměti veškeré kanály (televizní
OK
stanice), které jsou k dispozici.
K tomu je třeba: po zvolení funkce, stiskněte
Instalace
Instalace
tlačítko . Poté postupujte tak, jak je popsáno
Jazyk/Země
Jazyk/Země
Automatické ladění
Automatické ladění
Třídění programů
Třídění programů
v kapitole “Zapnutí a automatické naladění TV”,
Označení programů
Označení programů
AV předvolby
AV předvolby
v bodě 5 a 6 (viz. str. 8).
Ruční ladění
Ruční ladění
Prodrobnější nastavení
Prodrobnější nastavení
OK
OK
TŘÍDĚNÍ PROGRAMŮ
Nastavení obrazu
Režim: Osobní
Kontrast
Funkce “Třídění programů” v režimu menu
Jas
Barevná sytost
“Instalace” slouží ke změně pořadí, ve kterém
Ostrost
Odstín
Reset
se kanály (televizní stanice) objeví na
OK
obrazovce.
K tomu je třeba: po zvolení funkce, stiskněte
Instalace
Instalace
Jazyk/Země
tlačítko . Poté postupujte tak, jak je popsáno
Jazyk/Země
Automatické ladění
Automatické ladění
Třídění programů
Třídění programů
v kapitole “Zapnutí a automatické naladění TV”,
Označení programů
Označení programů
AV předvolby
AV předvolby
v bodě 7b) (viz. str. 8).
Ruční ladění
Ruční ladění
Prodrobnější nastavení
Prodrobnější nastavení
OK
OK
pokračuje ...
12
Režim menu na obrazovce

03CZKV29CL10K.fm Page 13 Tuesday, March 11, 2003 5:52 PM
Stupeň 1 Stupeň 2 Stupeň 3 / Funkce
OZNAČENÍ PROGRAMŮ
Nastavení obrazu
Režim: Osobní
Funkce “Označení programů”, v režimu menu
Kontrast
Jas
“Instalace”, Vám umožní přidělit jméno kanálu,
Barevná sytost
Ostrost
Odstín
maximálně o pěti znacích.
Reset
OK
K tomu je třeba:
1 Po zvolení funkce, stiskněte tlačítko a
Instalace
poté stiskněte nebo pro volbu čísla
Instalace
Jazyk/Země
Automatické ladění
Jazyk/Země
programu, který chcete pojmenovat.
Třídění programů
Automatické ladění
Označení programů
Třídění programů
AV předvolby
Označení programů
Ruční ladění
AV předvolby
Prodrobnější nastavení
Ruční ladění
Prodrobnější nastavení
2 Stiskněte . Vyznačením prvního znaku ve
OK
OK
sloupci Etiqueta, stiskněte tlačítko nebo
pro volbu jednoho písmene, čísla, nebo
“-” pro mezeru a poté stiskněte pro
potvrzení tohoto znaku. Zbývající čtyři znaky
zvolte stejným způsobem. Nakonec stiskněte
OK pro jejich uložení.
AV PŘEDVOLBY
Nastavení obrazu
Režim: Osobní
Funkce “AV předvolby”, v režimu menu
Kontrast
Jas
“Instalace”, Vám umožní přidělit jméno
Barevná sytost
Ostrost
Odstín
vnějšímu zařízení připojenému k tomuto
Reset
televizoru.
OK
K tomu je třeba:
1 Po zvolení funkce, stiskněte tlačítko a
Instalace
Instalace
Jazyk/Země
Jazyk/Země
poté stiskněte nebo pro volbu
Automatické ladění
Automatické ladění
Třídění programů
Třídění programů
Označení programů
vnějšího vstupu, který chcete pojmenovat
Označení programů
AV předvolby
AV předvolby
Ruční ladění
Ruční ladění
(AV1 a AV2 pro přídavná zařízení připojená
Prodrobnější nastavení
Prodrobnější nastavení
OK
ke konektorům typu Euro na zadní části
OK
CZ
televizoru a AV3 pro konektory na ovládacím
čelním panelu).Poté stiskněte .
2 Ve sloupci “Název” se automaticky objeví
předurčené jméno:
a) Chcete-li použít jedno z těchto
předurčených jmen (CABLE, GAME,
CAM, DVD, VIDEO nebo SAT), stiskněte
tlačítko nebo pro volbu jednoho z
nich a nakonec stiskněte OK pro jeho
uložení.
b) Chcete-li přidělit Vámi určené jméno,
zvolte Editar a stiskněte . Poté,
vyznačením prvního znaku,
stiskněte nebo pro volbu jednoho
písmene, čísla, nebo “-” pro mezeru a
stiskněte pro potvrzení tohoto znaku.
Zbývající čtyři znaky zvolte stejným
způsobem a nakonec stiskněte OK pro
jejich uložení.
pokračuje ...
Režim menu na obrazovce
13

03CZKV29CL10K.fm Page 14 Tuesday, March 11, 2003 5:52 PM
Stupeň 1 Stupeň 2 Stupeň 3 / Funkce
RUČNÍ LADĚNÍ
Nastavení obrazu
Režim: Osobní
Funkce “Ruční Ladění” v režimu menu
Kontrast
Jas
“Instalace” slouží pro:
Barevná sytost
Ostrost
Odstín
Reset
a) Postupné ladění kanálů (televizních stanic) v
OK
pořadí programu, které si přejete, nebo
postupné ladění video vstupu. K tomu je
třeba:
Instalace
Instalace
Jazyk/Země
Jazyk/Země
Automatické ladění
Automatické ladění
1 Po zvolení funkce “Ruční Ladění”,
Třídění programů
Třídění programů
Označení programů
Označení programů
AV předvolby
AV předvolby
stiskněte tlačítko . S vyznačenou
Ruční ladění
Ruční ladění
Prodrobnější nastavení
Prodrobnější nastavení
položkou Program stiskněte , a poté
OK
OK
stiskněte nebo pro volbu čísla
programu (pozice), na kterém si přejete
naladit televizní stanici nebo kanál videa (pro kanál videa Vám doporučujeme vybrat číslo
programu “0”). Stiskněte tlačítko .
2 Dostupnost následující funkce závisí na volbě země v režimu menu
«Jazyk/Země».
Po zvolení funkce Systém, stiskněte tlačítko , a poté stiskněte nebo pro volbu
systému televizní stanice (B/G pro Západní Evropu nebo D/K pro Východní Evropu)
Stiskněte .
3 Po zvolení funkce Kanál, stiskněte tlačítko a poté stiskněte nebo pro volbu typu
kanálu (“C” pro pozemní vysílání nebo “S” pro kabelové vysílání). Stiskněte tlačítko .
Posléze stiskněte číselná tlačítka pro zavedení čísla kanálu televizní stanice nebo znaménka
kanálu videa.
Neznáte-li číslo kanálu, hledejte ho stisknutím tlačítka nebo . Až najdete kanál, který
chcete uložit, stiskněte dvakrát tlačítko OK.
Zopakujte všechny tyto body pro naladění a uložení ostatních kanálů.
b) Přidělit jméno kanálu, maximálně o pěti znacích.
K tomu je třeba: vyznačením funkce Program, stiskněte tlačítko PROGR + nebo -, až se
objeví číslo programu, který chcete pojmenovat. Po té, až se objeví na obrazovce, zvolte
funkci Pojmenování a následovně stiskněte tlačítko . Stiskněte nebo pro volbu
jednoho písmene, čísla nebo “-” pro mezeru a stiskněte pro potvrzení tohoto znaku.
Zbývající čtyři znaky zvolte stejným způsobem. Po zvolení všech znaků, stiskněte dvakrát
tlačítko OK pro jejich uložení.
c) Dokonce i v případě, že je normálně zapojeno jemné automatické ladění kanálů (AFT),
můžeme obraz ručně doladit (jestliže je nejasný) a dosáhnout jeho zlepšení.
K tomu je třeba: zatímco sledujete kanál (televizní stanici), ve kterém chcete provést jemné
naladění, zvolte funkci AFT, a poté stiskněte tlačítko . Stiskněte nebo pro
doladění úrovně frekvence kanálu v rozmezí od -15 do +15. Nakonec stiskněte dvakrát
tlačítko OK a tímto se nové doladění uloží do paměti.
d) Vynechat čísla programů, které si nepřejete sledovat a tím je přeskočit při jejich výběru
pomocí tlačítek PROG +/-.
K tomu je třeba: vyznačením funkce Program, stiskněte tlačítko PROGR + nebo -, až se
objeví číslo programu, který chcete vynechat. Po té, až se objeví na obrazovce, zvolte
funkci Přeskočit a následovně stiskněte tlačítko . Stiskněte nebo pro volbu Ano a
nakonec stiskněte dvakrát tlačítko OK pro jeho uložení.
Jestliže časem chcete opět používat číslo vynechaného programu, postupujte tak, jak je
výše uvedeno, ale místo “Ano” zvolte “Ne”.
e) Použitím dekodéru připojeného ke konektoru typu Euro :2/ , nebo přes video
S
připojené ke zmíněnému Eurokonektoru, Vám tato funkce umožní sledovat a správně
nahrát kodifikovaný kanál.
Dostupnost následující funkce závisí na volbě země v režimu menu
«Jazyk/Země».
K tomu je třeba: po zvolení funkce Dekodér, stiskněte tlačítko . Poté stiskněte nebo
pro volbu Zap. Nakonec stiskněte dvakrát OK pro její uložení.
Jestliže časem budete chtít tuto funkci zrušit, postupujte, jak je výše uvedeno, ale zvolte
znovu «Vyp» místo «Zap».
pokračuje ...
14
Režim menu na obrazovce

03CZKV29CL10K.fm Page 15 Tuesday, March 11, 2003 5:52 PM
Stupeň 1 Stupeň 2 Stupeň 3 / Funkce
REDUKCE ŠUMU
Nastavení obrazu
Režim: Osobní
Funkce “Redukce šumu” v režimu menu
Kontrast
Jas
“Prodrobnější nastavení” slouží k redukci šumu
Barevná sytost
Ostrost
Odstín
obrazu v případě slabých signálů televizoru.
Reset
OK
K tomu je třeba: po zvolení funkce, stiskněte
tlačítko . Poté stiskněte nebo , zvolte
Prodrobnější nastavení
Instalace
Auto a nakonec stiskněte OK pro jeho uložení.
Redukce šumu:
Auto
Jazyk/Země
Výstup AV2:
TV
Automatické ladění
RGB centrování:
0
Třídění programů
Otočení obrazu:
0
Jestliže časem budete chtít tuto funkci zrušit,
Označení programů
AV předvolby
Ruční ladění
postupujte tak, jak je výše uvedeno, ale zvolte
Prodrobnější nastavení
OK
“Vyp” místo “Auto”.
OK
Nastavení obrazu
VÝSTUP AV2
Režim: Osobní
Kontrast
Funkce «Výstup AV2», v režimu menu
Jas
Barevná sytost
Ostrost
«Prodrobnější nastavení», Vám umožní zvolit
Odstín
Reset
vnější výstup konektoru typu Euro :2/q,
OK
abyste z tohoto Eurokonektoru mohli nahrát
jakýkoliv signál pocházející z televizoru, nebo z
Prodrobnější nastavení
Instalace
Redukce šumu:
Auto
jiného vnějšího zařízení připojeného k
Jazyk/Země
Výstup AV2:
TV
Automatické ladění
RGB centrování:
0
Třídění programů
Otočení obrazu:
0
Eurokonektoru :1/ , nebo ke
Označení programů
AV předvolby
konektorům 3 a 3 na ovládacím čelním
Ruční ladění
Prodrobnější nastavení
OK
panelu.
CZ
OK
Má-li Váš videorekordér k dispozici
SmartLink, tento postup není třeba.
V tomoto případě je třeba: po zvolení funkce,
stiskněte tlačítko . Poté stiskněte nebo
pro volbu požadovaného výstupního
signálu TV, AV1, AV3 nebo AUTO.
Pokud zvolíte funkci AUTO, výstupní
signál bude vždy stejný jako ten, který se
objeví na televizní obrazovce.
Máte-li připojený dekodér ke konektoru
typu Euro
:2/q, nebo k videu
připojenému k tomuto Eurokonektoru,
nezapomeňte znovu zvolit “Výstup AV2” v
režimu “AUTO” nebo “TV” pro jeho
správnou dekodifikaci.
pokračuje ...
Režim menu na obrazovce
15

03CZKV29CL10K.fm Page 16 Tuesday, March 11, 2003 5:52 PM
Stupeň 1 Stupeň 2 Stupeň 3 / Funkce
Nastavení obrazu
RGB CENTROVÁNÍ
Režim: Osobní
Kontrast
Při zapojení vnějších signálů RGB, jako
Jas
Barevná sytost
“PlayStation”, je možné, že bude třeba seřídit
Ostrost
Odstín
Reset
vodorovné centrování obrazu. V tomto případě
OK
se seřizuje pomocí funkce “RGB centrování” v
režimu menu “Prodrobnější nastavení”.
Instalace
Prodrobnější nastavení
Jazyk/Země
Redukce šumu:
Auto
Automatické ladění
Výstup AV2:
TV
K tomu je třeba: zatímco sledujete vstupní
Třídění programů
RGB centrování:
0
Označení programů
Otočení obrazu:
0
signál RGB, zvolte funkci “RGB Centróvaní” a
AV předvolby
Ruční ladění
Prodrobnější nastavení
stiskněte tlačítko . Poté stiskněte nebo
OK
OK
pro upravení centra obrazu (seřizujte od - 10
do + 10). Nakonec stiskněte tlačítko OK pro
jeho uložení.
Nastavení obrazu
OTOČENÍ OBRAZU
Režim: Osobní
Kontrast
Vzhledem k zemské přitažlivosti se může stát,
Jas
Barevná sytost
že se obraz nakloní. V tomto případě ho můžete
Ostrost
Odstín
Reset
upravit použitím funkce “Otočení obrazu” v
OK
režimu menu “Prodrobnější nastavení”.
K tomu je třeba: po zvolení funkce, stiskněte
Instalace
Prodrobnější nastavení
Jazyk/Země
Redukce šumu:
Auto
Automatické ladění
Výstup AV2:
TV
tlačítko . Poté stiskněte nebo pro
Třídění programů
RGB centrování:
0
Označení programů
Otočení obrazu:
0
seřízení otočení obrazu v rozmezí od - 5 do + 5.
AV předvolby
Ruční ladění
Prodrobnější nastavení
Nakonec stiskněte OK pro jeho uložení.
OK
OK
16
Režim menu na obrazovce

03CZKV29CL10K.fm Page 17 Tuesday, March 11, 2003 5:52 PM
Teletext
Teletext je informační služba, kterou užívá většina televizních stanic. Na straně s
obsahem služeb teletextu (všeobecně je to strana 100) je poskytnuta informace o tom,
jak se užívá tato služba. Pro práci v teletextu používejte tlačítka dálkového ovladače tak,
jak je uvedeno v této kapitole.
Zvolte televizní stanici se silným signálem, jinak může dojít v teletextu k chybám.
Vstup do teletextu
TELETEXT
Zvolte kanál (televizní stanici), který vysílá teletext, který si přejete sledovat,
Index
Programme
25
stisknutím tlačítka .
News
153
Sport
101
Weather
98
Zvolení stránky teletextu
Pomocí číselných tlačítek dálkového ovládače zadejte tři čísla představující příslušné číslo
stránky, kterou si přejete vidět.
• V případě, že se při volbě zmýlíte, zadejte jakákoliv tři čísla, a poté znovu zadejte správné
číslo stránky.
• Jestliže se počítadlo stránek nezastaví, je to proto, že požadovaná stránka není k dispozici.
V tomto případě zadejte jiné číslo stránky.
Zvolení následující nebo předchozí stránky
Stiskněte tlačítka PROGR + ( ) nebo PROGR - ( ).
Překrytí teletextu televizním obrazem
Zatímco sledujete teletext, stiskněte tlačítko . Opětovným stisknutím se teletextový režim
CZ
zruší.
Zmrazení teletextové stránky
Některé stránky teletextu se mohou skládat z několika podstran, které se automaticky
otáčejí. Pro zmrazení jedné podstránky stiskněte tlačítko / . Opětovným stisknutím
se zmrazení podstránky zruší.
Odhalení skrytých informací (např. soutěžních odpovědí)
Stiskněte tlačítko / . Opětovným stisknutím se informace opět ukryje.
Vystoupení z teletextu:
Stiskněte tlačítko .
Fastext
Služba Fastextu nám umožní přístup do požadované stránky teletextu stisknutím pouze
jednoho tlačítka.
Jste-li v teletextu a v případě, že se vysílají signály Fastextu, na spodní části obrazovky
se objeví nabídka barevných kódů, které umožňují přístup přímo k teletextové stránce. K
zobrazení této nabídky stiskněte tlačítko příslušné barvy (červené, zelené, žluté nebo
modré) na dálkovém ovladači.
Teletext
17

Připojení přídavných zařízení
K televizoru je možné připojit různá další zařízení, jak je uvedeno níže. (Přípojné kabely se
nedodávají).
D
A
B
1
2
Připojení videa:
Pro připojení videa, obsáhlejší informace najdete v kapitole “Připojení anteny a videa”.
Doporučujeme Vám, byste pro připojení videa použili kabel typu Eurokonektor. V případě, že
nepoužijete tento kabel, budete muset naladit kanál video signálu ručně pomocí menu “Ruční
Ladění” (viz odst.a) na str.13). Zkonzultujte také návod k obsluze Vašeho videa, kde se dozvíte,
jak získáte kanál video signálu.
Připojení videorekordéru, které má k dispozici SmartLink:
SmartLink je přímé propojení mezi televizorem a videorekordérem, které umožňuje
přenos určitých informací. Podrobnější informace o SmartLinku najdete v návodu k
obsluze Vašeho videorekordéru.
Jestliže používáte videorekordér, který je opatřen Smartlinkem, doporučujeme Vám,
abyste ho připojili ke konektoru typu Euro :2/q D použitím kabelu typu
Eurokonektor.
Pokud máte připojen dekodér ke konektoru typu Euro :2/q, nebo k
videu, které je připojeno ke zmíněnému Eurokonektoru:
Zvolte funkci “Ruční Ladění” v režimu menu “Instalace” a po zvolení funkce “Dekodér”**, zvolte
“Zap” (použitím nebo ) pro každý kódovaný kanál.
** Dostupnost této funkce závisí na volbě země v menu “Jazyk/Země”.
pokračuje ...
18
Doplňkové informace
“Pl
ay
S
tat
i
on
”*
C
VCR
DVD
VCR
DVD
8mm/Hi8/
DVC
kamkordér
* “PlayStation” je výrobek
Sony Computer
Entertainment, Inc.
Při zapojení sluchátek se
* “PlayStation” je značka
reproduktory televizoru
registrovaná jako Sony
automaticky vypnou.
Computer Entertainment,
Inc.
Dekodér
03CZKV29CL10K.fm Page 18 Tuesday, March 11, 2003 5:52 PM
videorekordér
Dekodér

03CZKV29CL10K.fm Page 19 Tuesday, March 11, 2003 5:52 PM
Použití přídavných zařízení
1 Připojte přídavné zařízení přes příslušný konektor televizoru tak, jak je výše uvedeno.
2 Zapněte připojené zařízení.
3 Aby se objevil obraz připojeného zařízení, opakovaně tiskněte tlačítko , dokud se na
obrazovce neobjeví správný vstupní symbol.
Symbol Vstupní signály
1•Vstupní audio/video signál přes konektor typu Euro C
•Vstupní signál RGB přes konektor typu Euro C. Tento symbol se objeví
pouze v případě, že je připojen vstup RGB.
2•Vstupní signál pro audio / video přes konektor typu Euro D.
S
2•Vstupní signál pro S video přes konektor typu Euro D.
3•Vstupní video signál přes konektor RCA A a vstupní audio signál přes B.
CZ
4 Aby se znovu objevil normální televizní obraz, stiskněte tlačítko na dálkovém ovladači.
Připojení monofonních přístrojů
Zástrčku zvuku zapojte do zdířky L/G/S/I na čelním panelu televizoru a zvolte vstup 3
postupem popsaným výše. Poté nastavte kanál “Dvoukanál. zvuk” “A” ve zvukové nabidce dle
částl “Nastavení zvuku” tohoto návodu (viz. str. 11).
Doplňkové informace
19

03CZKV29CL10K.fm Page 20 Tuesday, March 11, 2003 5:52 PM
Technické údaje
Systém TV:
Výstupy zvuku:
Závisí na Vámi zvolené zemi:
2 x 10 W (hudební výkon)
B/G/H, D/K
2 x 5 W (RMS)
Systém kódování barev:
Příkon:
PAL, SECAM
94 W
NTSC 3.58, 4.43 (pouze pro video vstup)
Příkon v režimu časového vypnutí
Rozložení kanálů:
(pohotovostní režim):
VHF: E2-E12
0.5 W
UHF: E21-E69
Rozměry (š x v x h):
CATV: S1-S20
Přibližně 788 x 598 x 523 mm
HYPER: S21-S41
D/K: R1-R12, R21-R69
Hmotnost:
Přibližně 45.8 kg
Televizní obrazovka:
Plochá obrazovka FD Trinitron
Dodané příslušenství:
29 inches (přibližně 72 cm. v úhlopříčce)
1 dálkový ovládač, typ RM-946
2 baterie typu IEC.
Vstupy na zadní straně:
:1/ 21-pinový konektor typu EURO
Další funkce:
(norma CENELEC), včetně
•Teletext, Fastext, TOPtext.
vstupu pro audio/video, vstupu
•Automatické zapojení.
RGB, výstupu audio/video z TV
•SmartLink (přímé propojení mezi
audio/video.
televizorem a kompatibilním
videorekordérem. Podrobnější
:2/q 21-pinový konektor typu Euro
informace o SmartLinku najdete v
(SMARTLINK) (norma CELENEC), včetně
návodu k obsluze Vašeho
vstupu pro audio / video, vstupu
videorekordéru).
pro S video, volitelného výstupu
•Automatické nalezení systému TV.
audio / video a připojení
SmartLinku.
Vstupy na přední straně:
…3 video vstup - konektor RCA
3 audio vstup - konektory RCA.
zdířka sluchátek
Úpravy v designu a technických vlastnostech bez předchozího upozornění.
Ekologický papír - 100% bez chloru
20
Doplňkové informace



