Sony XR-L500 – page 6
Manual for Sony XR-L500
Table of contents

Seleccionar a posição do
Programar o equalizador
som
Pode seleccionar uma curva de equalização para
sete tipos de música (XPLOD, VOCAL, CLUB,
— My Best sound Position (A melhor posição
JAZZ, NEW AGE, ROCK, CUSTOM e OFF
de som) (MBP)
(Equalizador desactivado)).
Quando viajar sozinho de automóvel pode
Pode memorizar e regular as programações do
usufruir de um ambiente de som mais confortável
equalizador para a frequência e o nível.
com a função “A melhor posição de som”.
A função “A melhor posição de som” tem duas
Seleccionar a curva de equalização
predefinições que regulam o volume do som do
balanço e do fader. Pode seleccionar facilmente
1 Carregue em (SOURCE) para
uma delas com o botão MBP.
seleccionar uma fonte (rádio, CD, MD
ou cassete).
Nível do
Nível do fader
2 Carregue várias vezes em (EQ7) até
balanço
Visor
obter a curva de equlização desejada.
Direita
Esquerda
À frente Atrás
Sempre que carregar em (EQ7) o elemento
muda.
MBP-A
– 4dB 0 0 – 4dB
MBP-B 0 – 4dB 0 – 4dB
MBP-OFF
0000
Carregue várias vezes em (MBP) até
obter a posição de audição desejada.
O modo de “A melhor posição de som”
aparece no visor pela ordem mostrada na
Para cancelar o efeito de equalização,
tabela.
seleccione “OFF”. Passados 3 segundos, o
visor volta ao modo de reprodução normal.
Regular a curva de equalização
1 Carregue em (MENU).
2 Carregue várias vezes num dos lados
Passado um segundo, o visor volta ao modo
de (DISC/PRESET) ou (PRESET) até
de reprodução normal.
aparecer “EQ7 TUNE” e depois
Se quiser regular o nível do som do balanço e
carregue em (ENTER).
do fader com maior precisão, pode fazê-lo
3 Carregue num dos lados de (SEEK)
com o botão (SOUND). (consulte “Regular
para seleccionar a curva de
as características do som” na página 17)
equalização desejada e depois
Notas
carregue em (ENTER).
• Quando regular BAL (balanço) ou FAD (fader) em
Sempre que carregar em (SEEK ) o elemento
“Regular as características do som” (página 17), a
muda.
definição MBP volta a OFF.
• Quando MBP estiver regulado para OFF, as
definições BAL e FAD são activadas.
continua na próxima página t
19

4 Seleccione a frequência e o nível
desejados.
Unidade de CD/MD
1 Carregue num dos lados de (SEEK)
para seleccionar a frequência
(opcional)
desejada.
Sempre que carregar em (SEEK) a
(só no modelo XR-CA600X/
frequência muda.
CA600V/CA600)
62 (Hz) y 157 (Hz) y 396 (Hz) y
1k (Hz) y 2.5k (Hz) y 6.3k (Hz) y
16k (Hz)
Esta unidade pode comandar unidades de CD/
MD externas.
2 Carregue num dos lados de
Se ligar uma unidade de CD opcional que
(DISC/PRESET) ou (PRESET) para
suporte as funções CD-TEXT e personalizadas,
regular o volume de som desejado.
quando reproduzir um disco com CD-TEXT
Pode regular o nível do volume em passos
aparecem as informações sobre o CD (CD-
de 1 dB de –10 dB a +10 dB.
TEXT) no visor.
Reproduzir um CD ou MD
1 Carregue várias vezes em (SOURCE)
Para repor a curva de equalização predefinida,
para seleccionar “CD” ou “MD”.
carregue em (ENTER) durante 2 segundos.
2 Carregue várias vezes em (MODE) até
5 Carregue duas vezes em (MENU).
aparecer a unidade desejada.
Depois de terminar a programação do efeito,
A reprodução do CD/MD começa.
aparece o modo de reprodução normal.
Para Carregue em
Parar a reprodução (OFF)
Saltar discos
(DISC/PRESET) (+/–)
–Seleccionar o
disco
Saltar faixas
(SEEK) (./>)
–Sensor de música
[uma vez para cada faixa]
automático
Avanço rápido/
(SEEK) (m/M)
rebobinagem
[mantenha carregado no
–Procurar
ponto desejado]
manualmente
20

Elementos do visor
Reproduzir faixas
repetidamente
Quando o disco/faixa muda, todos os títulos pré-
1
gravados*
do novo disco/faixa aparecem
— Reprodução repetitiva
automaticamente (se a função Auto Scroll
(Desfile automático) estiver programada para
Pode seleccionar:
“ON”; os nomes com mais de 8 caracteres
• REP-1 — para repetir uma faixa.
passam no visor (página 18)).
• REP-2 — para repetir um disco.
Durante a reprodução, carregue várias
Elementos que pode ver
vezes em (3) (REP) até aparecer a
• Fonte de música
programação desejada no visor.
• Relógio
A reprodução repetitiva começa.
• Função
Para voltar ao modo de reprodução normal,
seleccione “REP-OFF”.
Reproduzir as faixas por
ordem aleatória
— Reprodução aleatória
Elementos que pode ver
• Fonte de música
Pode seleccionar:
• Tempo de reprodução decorrido
• SHUF-1 — para reproduzir as faixas do disco
1
• Nome do disco
*
/nome do
2
actual por ordem aleatória.
artista
*
1
• SHUF-2 — para reproduzir as faixas da
• Título da faixa*
unidade do CD (MD) opcional actual por
ordem aleatória.
• SHUF-ALL* — para reproduzir todas as faixas
Para Carregue em
de todas as unidades de CD (MD) ligadas.
Activar o elemento
(DISPLAY/PTY)
* Apenas disponível se estiverem ligadas duas ou
do visor
mais unidades opcionais de CD/MD.
Percorrer o
(SCROLL)
Durante a reprodução, carregue várias
elemento do visor
vezes em (6) (SHUF) até aparecer a
programação desejada no visor.
*1 “NO NAME” indica que não existe Memória do
A reprodução aleatória começa.
disco (Disc Memo) (página 22) ou um nome pré-
gravado.
Para voltar ao modo de reprodução normal,
*2 Apenas para discos com CD TEXT com o nome do
seleccione “SHUF-OFF”.
artista.
Nota
Notas
“SHUF-ALL” não “baralha” aleatoriamente as faixas
• Alguns caracteres não são visualizados.
de um leitor de CD e de um leitor de MD
• No caso de alguns discos CD TEXT com muitos
simultaneamente.
caracteres, as informações podem não passar no
visor.
• Este leitor não permite ver o nome do artista de
cada faixa de um disco CD-TEXT.
Sugestão
Se mudar o nome do disco/faixa com a função Auto
scroll (Desfile automático) programada para OFF, o
nome do disco/faixa não passa no visor.
21

Sugestões
• Para corrigir ou apagar um nome basta escrever por
Identificar um CD
cima ou introduzir “_” .
• Existe outra maneira de identificar um CD: Carregue
— Info do disco (Disc Memo) (Para uma
em (LIST) durante 2 segundos, em vez de executar
unidade de CD com a função CUSTOM FILE)
os passos 2 e 3. Também pode terminar a operação
carregando em (LIST) durante 2 segundos em vez
Pode identificar os discos com um nome
de executar o passo 5.
personalizado (Info do disco). Pode introduzir
• Pode identificar os CDs de uma unidade que não
um máximo de 8 caracteres para cada disco. Se
suporte a função CUSTOM FILE, se essa unidade
identificar um CD, pode localizar o disco pelo
estiver ligada a uma unidade de CD com essa
nome (página 23).
função. A Info do disco (Disc Memo) será guardada
na memória da unidade de CD equipada com a
função CUSTOM FILE.
1 Comece a reproduzir o disco que quer
identificar.
Nota
A reprodução aleatória/REP-1 é interrompida até a
2 Carregue em (MENU) e depois várias
edição do nome estar terminada.
vezes num dos lados de
(DISC/PRESET) até aparecer a
Ver a Info do disco
indicação “NAMEEDIT”.
Como elemento do visor, a Info do disco tem
3 Carregue em (ENTER).
sempre prioridade sobre as informações CD-
TEXT originais.
Para Carregue em
Ve r (DISPLAY/PTY) durante a
reprodução de um disco CD
TEXT/CD
Durante a identificação, a unidade repete o
Sugestão
disco.
Para saber informações sobre os outros elementos
4 Introduza os caracteres.
que pode ver, consulte a página 21.
1
1 Carregue no lado (+)*
de
Apagar a Info do disco
(DISC/PRESET) várias vezes, para
seleccionar o carácter desejado.
1 Carregue várias vezes em (SOURCE)
A t B t C ... t 0 t 1 t 2 ... t + t
para seleccionar “CD”.
2
–
t
... t _*
t A
*
2 Carregue várias vezes em (MODE)
para seleccionar a unidade de CD em
*1 Para inverter a ordem, carregue no lado (–)
que está guardada a Info do disco.
de (DISC/PRESET).
*2 (espaço em branco)
3 Carregue em (MENU) e depois várias
2 Carregue no lado (+) de (SEEK)
vezes num dos lados de
depois de localizar o carácter
(DISC/PRESET) até aparecer a
desejado.
indicação “NAME DEL”.
4 Carregue em (ENTER).
Os nomes guardados aparecem por ordem,
começando no primeiro nome introduzido.
5 Carregue várias vezes num dos lados
de (DISC/PRESET) para seleccionar o
nome do disco que quer apagar.
Os nomes guardados aparecem por ordem,
Se carregar no lado (–) de (SEEK), pode
começando no primeiro nome introduzido.
mover-se para a esquerda.
6 Carregue em (ENTER) durante 2
3 Repita os passos 1 e 2 para
segundos.
introduzir o nome completo.
O nome é apagado.
5 Para voltar ao modo de reprodução de
Se quiser apagar mais nomes, repita os passos
CD normal, carregue em (ENTER).
5 e 6.
22

7 Carregue duas vezes em (MENU).
O leitor volta ao modo de reprodução de CD
Localizar um disco pelo
normal.
Notas
nome
• Se apagar a Info do disco de um disco CD TEXT,
— Listagem (Para uma unidade de CD com a
aparecem as informações de CD TEXT originais.
• Se não conseguir encontrar a Info do disco que quer
função CD TEXT/CUSTOM FILE ou uma
apagar, experimente seleccionar uma unidade de
unidade de MD)
CD diferente no passo 2.
Pode utilizar esta função com discos a que tenha
1
atribuído nomes personalizados*
ou com discos
2
CD TEXT*
.
*1 Localizar um disco pelo nome personalizado
quando atribuir um nome a um CD (página 22) ou
um MD.
*2 Localizar discos através das informações CD
TEXT: quando reproduzir um disco CD TEXT
numa unidade de CD com a função CD TEXT.
1 Carregue em (LIST).
O nome que atribuiu ao disco actual aparece
no visor.
2 Carregue várias vezes num dos lados
de (DISC/PRESET) até localizar o disco
desejado.
3 Carregue em (ENTER) para ouvir o
disco.
Nota
Algumas letras não são visualizadas (excepção: Info
do disco).
23

Reproduzir apenas determinadas
Seleccionar faixas
faixas
Pode seleccionar:
específicas para reprodução
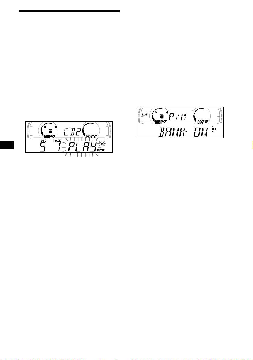
•“BANK-ON” — para reproduzir as faixas com
a programação “PLAY”.
— Banco (Para uma unidade de CD com a
•“BANK-INV” (Inverso) — para reproduzir as
função CUSTOM FILE)
faixas com a programação “SKIP”.
Se identificar o disco, pode programar a unidade
para que salte ou reproduza as faixas que
1 Durante a reprodução, carregue em
escolher.
(MENU) e depois várias vezes num
dos lados de (DISC/PRESET) até
1 Comece a reproduzir o disco que quer
aparecer a indicação “BANK-ON”,
identificar.
“BANK-INV” ou “BANK-OFF”.
2 Carregue em (MENU) e depois várias
2 Carregue várias vezes no lado (+) de
vezes num dos lados de
(SEEK) até aparecer a programação
(DISC/PRESET) até aparecer a
desejada.
indicação “BANK SEL”.
3 Carregue em (ENTER).
3 Carregue em (ENTER).
A reprodução começa na faixa a seguir à faixa
actual.
4 Identificar as faixas.
1 Carregue várias vezes num dos
Para voltar ao modo de reprodução normal,
lados de (SEEK) para seleccionar a
seleccione “BANK-OFF” no passo 2.
faixa que quer identificar.
2 Carregue várias vezes em (ENTER)
para seleccionar “PLAY” ou “SKIP”.
5 Repita o passo 4 para programar
“PLAY” ou “SKIP” para todas as
faixas.
6 Carregue duas vezes em (MENU).
O leitor volta ao modo de reprodução de CD
normal.
Notas
• Pode programar “PLAY” e “SKIP” para um máximo
de 24 faixas.
• Não pode programar “SKIP” para todas as faixas de
CD.
24

Substituir a pilha de lítio
Em condições normais, as pilhas duram cerca de
Informações adicionais
1 ano. (A duração pode ser menor, dependendo
das condições de utilização.) Se as pilhas ficarem
fracas, o alcance do comando tipo cartão de
crédito diminui. Substitua a pilha por uma nova
pilha de lítio CR2025.
Manutenção
Substituição do fusível
Quando substituir o fusível utilize um com uma
amperagem igual à do fusível original. Se o
fusível rebentar, verifique a ligação à corrente e
substitua o fusível. Se o fusível voltar a rebentar
depois de o substituir pode haver uma avaria
interna. Se isso acontecer, contacte o agente da
Sony mais próximo.
x
lado + voltado para cima
Fusível (10 A)
Aviso
Nunca utilize um fusível com uma amperagem
superior à do fornecido com o aparelho pois pode
danificar o aparelho.
Limpeza dos conectores
O aparelho pode não funcionar correctamente se
os conectores existentes entre o aparelho e o
Notas sobre a pilha de lítio
painel frontal estiverem sujos. Para evitar que
• Não deixe a pilha de lítio ao alcance das
isso aconteça, retire o painel frontal (página 7) e
crianças. Se alguém engolir a pilha, consulte
limpe os conectores com um cotonete embebido
imediatamente um médico.
em álcool. Não faça demasiada força. Se o fizer
• Limpe a pilha com um pano seco para garantir
pode danificar os conectores.
um bom contacto.
• Quando instalar a pilha respeite as polaridades.
• Não segure na pilha com um pinça metálica
pois pode provocar um curto circuito.
ADVERTÊNCIA
Perigo de explosão da bateria se máutilizado.
Não recarregue, abra, nem a deite no fogo.
Unidade
Parte de trás do painel
Notas
• Para maior segurança, desligue a chave de ignição
antes de limpar os conectores e retire a chave da
ignição.
• Nunca toque nos conectores directamente com os
dedos ou com um objecto de metal.
25

Desmontar o aparelho
1 Retire a tampa da frente
1 Retire o painel frontal (página 7).
2 Carregue no clipe existente no
interior da tampa da frente com uma
chave de parafusos fina.
3 Repita o passo 2 para retirar o
outro lado.
2 Desmontar o aparelho
1 Utilize uma chave de parafusos fina
para empurrar o clipe existente no
lado esquerdo do aparelho e depois
puxe para fora até desprender o
fecho.
4mm
2 Repita o passo 1 para o lado
direito.
3 Puxe o aparelho para fora do
suporte.
26

Características técnicas
Geral
Leitor de cassetes
Cassete 4 pistas, 2 canais estéreo
Saídas Saídas de áudio (Parte de
trás)
Choro e flutuação 0,08 % (WRMS)
Controlo do relé da antena
Resposta em frequência 30 -18.000 Hz
Relação sinal-ruído
eléctrica
Controlo do amplificador de
Tipo de cassete
potência
TYPE II, IV 61 dB
Entradas Control Telephone ATT
(atenuação do som)
TYPE I 58 dB
Conector de entrada de
controlo do BUS*
Sintonizador
Conector de entrada de
áudio BUS*
Conector de entrada do
FM
comando
Intervalo de sintonização 87,5 – 108,0 MHz
Conector de entrada da
Terminal antena Conector para antena
antena
exterior
Controlos da tonalidade Graves ±8 dB a 100 Hz
Frequência intermédia 10,7 MHz/450 kHz
Agudos ±8 dB a 10 kHz
Sensibilidade de utilização 8 dBf
Altura do som 100 Hz +8 dB
Selectividade 75 dB a 400 kHz
10 kHz +2 dB
Relação sinal-ruído 66 dB (estéreo),
Requistos de alimentação Bateria do automóvel 12 V
72 dB (mono)
CC (negativo à massa )
Distorção harmónica a 1 kHz
Dimensões Aprox. 178
× 50 × 176 mm
0,6 % (estéreo),
(l/a/p)
0,3 % (mono)
Dimensões de montagem Aprox. 182
× 53 × 161 mm
Separação 35 dB a 1 kHz
(l/a/p)
Resposta em frequência 30 -15.000 Hz
Peso Aprox. 1,2 kg
Acessórios fornecidos Peças para instalação e
MW/LW
ligações (1 conjunto,
excepto no que se refere ao
Intervalo de sintonização MW: 531 – 1.602 kHz
cabo de alimentação)
LW: 153 - 279 kHz
Caixa para o painel frontal
Terminal antena Conector para antena
(1)
exterior
Acessórios opcionais Comando rotativo
Frequência intermédia 10,7 MHz/450 kHz
RM-X4S
Sensibilidade MW: 30 µV
Comando tipo cartão de
LW: 40 µV
crédito
RM-X114
Amplificador
Cabo BUS (fornecido com
Saídas Saídas de colunas
um cabo de pinos RCA)
(conectores selados)
RC-61 (1 m), RC-62 (2 m)
Impedância da coluna 4 – 8 ohms
Equipamento opcional Carregador de CDs
Potência máxima de saída 50 W
× 4 (a 4 ohms)
(10 discos)
CDX-848X, CDX-646
Carregador de MDs
(6 discos)
MDX-65
Selector de fonte
XA-C30
* XR-CA600X/CA600V/CA600 apenas
Nota
Este leitor não pode ser ligado a um pré-amplificador
digital ou a um equalizador.
Design e características técnicas sujeitas a alterações
sem aviso prévio.
27

Reproduzir uma cassete
Resolução de problemas
O som está distorcido.
As cabeças estão sujas.
A lista de verificação seguinte ajuda a resolver
t Limpe as cabeças com uma cassete de
problemas que possam surgir quando utilizar o
limpeza a seco à venda no mercado.
leitor.
A função AMS não funciona correctamente.
Antes de consultar a lista apresentada abaixo,
• Há ruído entre as faixas.
verifique os procedimentos de operação e as
• Um espaço em branco demasiado curto
ligações.
(inferior a 4 segundos).
• Uma pausa longa ou uma passagem de
Geral
baixas frequências ou com um nível de som
Não se ouve o som.
muito baixo é considerada como um espaço
• Rode o botão de regulação do volume para a
em branco.
direita para regular o som.
• Cancele a função ATT.
Recepção de rádio
• Se o sistema tiver 2 colunas regule o controlo
de Fader para a posição central.
Não consegue efectuar a sintonização pré-
programada.
O conteúdo da memória foi apagado.
• Memorize a frequência correcta.
• Carregou no botão RESET.
• O sinal da transmissão é muito fraco.
t Volte a guardar as programações na
memória.
Não consegue sintonizar as estações.
• Desligou-se a bateria ou o cabo de
O som é prejudicado por ruídos.
alimentação.
• Ligue o fio de controlo da antena eléctrica
• O cabo de ligação à corrente eléctrica não
(azul) ou o cabo de alimentação dos
está bem ligado.
acessórios (vermelho) ao cabo de
alimentação do amplificador do sinal da
Não se ouve o sinal sonoro.
antena do automóvel. (Apenas se o
O sinal sonoro está desactivado (página 18).
automóvel tiver uma antena de FM/MW/LW
As indicações desaparecem/não aparecem
instalada no vidro lateral/traseiro.)
no visor.
• Verifique a ligação da antena do automóvel.
• O visor do relógio desaparece se carregar em
• A antena não sobe.
(OFF) durante 2 segundos.
t Verifique a ligação do fio de comando da
t Carregue novamente em (OFF) durante
antena eléctrica do automóvel.
2 segundos para ver o relógio.
• Verifique a frequência.
• Retire o painel frontal e limpe os conectores.
Não consegue efectuar a sintonização
Para obter mais informações, consulte
automática.
“Limpeza dos conectores” (página 25).
• O modo de procura local está regulado para
As estações memorizadas e a hora foram
“ON”.
apagadas.
t Regule o modo de procura local para
O fusível fundiu-se.
“OFF” (página 18).
Há muito ruído quando a chave de ignição
• O sinal da transmissão é muito fraco.
está na posição ON, ACC ou OFF.
t Efectue a sintonização manual.
A correspondência dos fios não coincide com
A indicação “ST” pisca.
o conector de alimentação dos acessórios do
• Sintonize a frequência com precisão.
automóvel.
• O sinal da transmissão é muito fraco.
O leitor não está a receber corrente.
t Regule para o modo de recepção mono
• Verifique as ligações. Se tudo estiver em
(página 18).
ordem, verifique o fusível.
Está a ouvir a transmissão de um programa
• O automóvel não tem posição ACC.
estéreo em mono.
t Carregue em (SOURCE) (ou introduza
O leitor está no modo de recepção mono.
uma cassete) para ligar o aparelho.
t Cancele o modo de recepção mono (página
O leitor está sempre a receber corrente.
18).
O automóvel não tem posição ACC.
A antena eléctrica não sobe.
A antena eléctrica não tem uma caixa de relé.
28

RDS
Visores de erro
A função SEEK é activada alguns segundos
depois de começar a ouvir o rádio.
Só no modelo XR-CA600X/CA600V/
A estação não é uma estação TP ou o sinal é
demasiado fraco.
CA600
t Carregue várias vezes em (AF) or (TA)
(Se estiver uma unidade de CD/MD opcional
até aparecer a indicação “AF-OFF” ou
ligada)
“TA-OFF”.
Não consegue ouvir as informações sobre o
Visores de erro
trânsito.
As indicações abaixo piscam durante cerca de 5
• Active “TA”.
segundos e ouve-se um sinal sonoro de aviso.
• A estação não transmite informações sobre o
NO MAG
trânsito embora seja uma estação TP.
Não está nenhum carregador dentro da
t Sintonize outra estação.
unidade de CD/MD.
PTY mostra “- - - - - - - -”.
t Coloque o carregador dentro da unidade de
• A estação actual não é uma estação RDS.
CD/MD.
• Não está a receber dados RDS.
NO DISC
• A estação não mostra o tipo de programa.
Não está nenhum CD/MD dentro do leitor.
t Coloque um disco dentro do leitor de CD/
Só no modelo XR-CA600X/CA600V/
MD.
1
CA600
ERROR*
2
• O CD está sujo ou voltado ao contrário.*
Reprodução de CD/MD
t Limpe o CD ou introduza-o
O som salta.
correctamente.
Disco sujo ou defeituoso.
• Não consegue reproduzir um MD por haver
2
um problema.*
t Introduza outro MD.
• O CD/MD tem problemas de reprodução.
t Introduza outro CD/MD.
1
BLANK*
2
Não há faixas gravadas no MD.*
t Reproduza um MD com faixas gravadas.
RESET
Há problemas de funcionamento na unidade
de CD/MD.
t Carregue no botão RESET do leitor.
NOT READ
A tampa da unidade de MD está aberta ou os
MDs não estão bem colocados.
t Feche a tampa ou coloque os MDs
correctamente.
HI TEMP
A temperatura ambiente é superior a 50°C.
t Espere até que a temperatura desça abaixo
dos 50°C.
*1 Se ocorrer um erro durante a reprodução de um
CD ou MD, o número do CD ou MD não aparece
no visor.
*2 O número do disco que está a provocar o erro
aparece no visor.
Se estas soluções não o ajudarem a resolver o
problema, entre em contacto com o agente da
Sony mais próximo.
29

Καλώς ήρθατε !
Σασ ευχαριστούµε που αγοράσατε αυτ
το Κασετφωνο τησ Sony. Μπορείτε να
απολαύσετε ακµη περισστερο τισ
διάφορεσ δυναττητέσ του, µε:
• Προαιρετικά εξαρτήµατα χειρισµού
Περιστροφικ Χειριστήριο RM-X4S
Ασύρµατο τηλεχειριστήριο RM-X114
Μνο στα XR-CA600X/CA600V/CA600
• Προαιρετικέσ συσκευέσ CD/MD (τσο
1
συσκευέσ changer σο και player)*
.
• Πληροφορίεσ CD TEXT (εµφανίζονται
κατά την αναπαραγωγή ενσ δίσκου CD
2
TEXT*
σε µια συνδεδεµένη
προαιρετική συσκευή CD µε τη
λειτουργία CD TEXT).
*1 Η συσκευή αυτή συνεργάζεται µνο µε
προϊντα της Sony.
*2 Οι δίσκοι CD TEXT είναι CD ήχου, τα οποία
περιλαµβάνουν πληροφορίες πως το νοµα
του δίσκου, το νοµα του καλλιτέχνη και τα
ονµατα των κοµµατιών. Οι πληροφορίες
αυτές είναι καταγεγραµµένες στο δίσκο.
2

Περιεχµενα
Θέση των χειριστηρίων . . . . . . . . . . . 4
Λοιπές Λειτουργίες
Προφυλάξεισ. . . . . . . . . . . . . . . . . . . . . 6
Χρήση του περιστροφικού
Συµβουλέσ σχετικά µε τισ Κασέτεσ . . 6
χειριστηρίου . . . . . . . . . . . . . . . . . . 17
Ρύθµιση των χαρακτηριστικών του
Ξεκινώντας
ήχου. . . . . . . . . . . . . . . . . . . . . . . . . 18
Επαναρύθµιση τησ συσκευήσ . . . . . . . 7
Γρήγορη εξασθένηση του ήχου . . . . 18
Απσπαση τησ πρσοψησ . . . . . . . . . . 8
Αλλαγή των ρυθµίσεων ήχου και
Ρύθµιση του ρολογιού. . . . . . . . . . . . . 9
οθνησ
Κασετφωνο
— Μενού. . . . . . . . . . . . . . . . . . . . . 19
Ακραση µιασ κασέτασ . . . . . . . . . . . . 9
Επιλογή τησ θέσησ ήχου
Αναπαραγωγή µιασ κασέτασ σε
— My Best sound Position (Η
διάφορεσ λειτουργίεσ . . . . . . . . . . 10
Βέλτιστη ηχητική Θέση µου)
(MBP). . . . . . . . . . . . . . . . . . . . . . . . 20
Ραδιφωνο
Ρύθµιση του ισοσταθµιστή . . . . . . . . 20
Αυτµατη αποθήκευση σταθµών
Συσκευή CD/MD (προαιρετική)
— Μνήµη Ισχυρτερων Σταθµών
(Μνο στα XR-CA600X/CA600V/
(BTM). . . . . . . . . . . . . . . . . . . . . . . . 11
Λήψη των αποθηκευµένων
CA600)
σταθµών . . . . . . . . . . . . . . . . . . . . . 11
Αναπαραγωγή ενσ CD ή MD . . . . . . 21
Καταχώρηση στη µνήµη µνο των
Ενδείξεισ τησ οθνησ . . . . . . . . . . . . 22
επιθυµητών σταθµών . . . . . . . . . . 12
Επανειληµµένη αναπαραγωγή
Συντονισµσ σταθµού µέσω λίστασ
κοµµατιών
(Μνο στα XR-CA600X/CA600V/
— Επαναλαµβανµενη
CA600)
Αναπαραγωγή. . . . . . . . . . . . . . . . . 22
— Λίστα. . . . . . . . . . . . . . . . . . . . . . 12
Αναπαραγωγή κοµµατιών µε τυχαία
σειρά
RDS
— Τυχαία Αναπαραγωγή . . . . . . . . 22
Επισκπηση του RDS. . . . . . . . . . . . . 13
Ονοµασία ενσ CD
Αυτµατοσ επανασυντονισµσ για
— Disc Memo . . . . . . . . . . . . . . . . . 23
βέλτιστη λήψη
Εντοπισµσ δίσκου µε το νοµα
— Λειτουργία AF . . . . . . . . . . . . . . 13
— Λίστα. . . . . . . . . . . . . . . . . . . . . . 24
Λήψη ανακοινώσεων για την
Επιλογή συγκεκριµένων κοµµατιών για
κυκλοφορία
αναπαραγωγή
— TA/TP . . . . . . . . . . . . . . . . . . . . . 14
—Συστοιχία. . . . . . . . . . . . . . . . . . . 24
Προρύθµιση σταθµών RDS µε ρύθµιση
AF και TA. . . . . . . . . . . . . . . . . . . . . 15
Πρσθετες Πληροφορίες
Συντονισµσ σταθµών βάσει του τύπου
Συντήρηση . . . . . . . . . . . . . . . . . . . . . 25
προγράµµατοσ
Αφαίρεση τησ συσκευήσ . . . . . . . . . . 27
— PTY . . . . . . . . . . . . . . . . . . . . . . . 15
Τεχνικά Χαρακτηριστικά . . . . . . . . . . 28
Αυτµατη ρύθµιση του ρολογιού
Αντιµετώπιση προβληµάτων. . . . . . . 29
— CT . . . . . . . . . . . . . . . . . . . . . . . . 16
Ενδείξεισ σφαλµάτων . . . . . . . . . . . . 30
3

Θέση των χειριστηρίων
Ανατρέξτε στισ αντίστοιχεσ σελίδεσ για περαιτέρω λεπτοµέρειεσ.
TAPE RADIO
: Κατά την αναπαραγωγή : Κατά τη λειτουργία του ραδιοφώνου
MENU
: Κατά τη λειτουργία µενού
CD/MD
: Κατά τη την αναπαραγωγή CD/MD (προαιρετική λειτουργία) (µνο στα XR-
CA600X/CA600V/CA600)
PTY
1
2
3
D
S
LL
O
P
E
N
REP
DISPLAY
SC
R
O
D
I
S
C
/
P
R
E
S
E
T
MBP
SOURCE
MENU
LIST
SEEKSEEK
EQ 7
MODE
SOUND
ENTER
SHUF
6
AF
4
5
TA
O
F
F
XR-CA600X/CA600V/CA600
a Περιστροφικ χειριστήριο έντασης
n Αριθµητικά πλήκτρα
14
TAPE
b Πλήκτρο MBP 20
(3) REP
10
c Πλήκτρο SOURCE (Ενεργοποίηση/
RADIO
11, 12, 14, 15
1
1
CD/MD
Κασετφωνο/Ραδιφωνο/CD*
/MD*
)
(3) REP 22
5, 9, 11, 12, 14, 20, 21, 23
(6) SHUF 22
d Παράθυρο ενδείξεων
o Πλήκτρο MODE (o)
e Πλήκτρο Z (εξαγωγής) (βρίσκεται
TAPE
9, 10
στο εµπρσ τµήµα τησ συσκευήσ,
RADIO
11, 12, 14
πίσω απ την πρσοψη)
9
CD/MD
21, 23
f Αισθητήρας ασύρµατου
p Πλήκτρο SOUND 18, 20
τηλεχειριστηρίου
q Πλήκτρο AF 13, 15
g Πλήκτρο MENU
9, 10, 11, 15, 16, 19,
r Πλήκτρο TA 14, 15
20, 21, 23, 24, 25
s Πλήκτρο OFF (Στάση/
h Πλήκτρο DISPLAY/PTY (αλλαγή
2
Απενεργοποίηση)*
5, 8, 9, 21
λειτουργίας οθνης/τύπος
t Πλήκτρο ENTER
1
προγράµµατος)*
13, 16, 22, 23
RADIO
12, 15
1
i Πλήκτρο SCROLL*
22
MENU
9, 10, 11, 16, 19, 20, 21, 23, 24,
j Πλήκτρο OPEN 8, 9
25
k XR-CA600X/CA600V/CA600:
CD/MD
24
Πλήκτρο LIST
*1 Μνο στα XR-CA600X/CA600V/CA600
RADIO
12
*2 Προσοχή κατά την εγκατάσταση σε αυτοκίνητο
CD/MD
23, 24
χωρίς θέση ACC (βοηθητική) στο διακπτη
ανάφλεξης
XR-L500X/L500V/L500:
Αφού σβήσετε τον κινητήρα, πιέστε (OFF) στη
Πλήκτρο PTY/DSPL 13, 16
συσκευή για 2 δευτερλεπτα, για να
l Πλήκτρο EQ7 20
απενεργοποιήσετε την εµφάνιση τησ ώρασ.
∆ιαφορετικά, η εµφάνιση τησ ώρασ δεν
m Πλήκτρο RESET (βρίσκεται στο
απενεργοποιείται και καταναλώνει την
εµπρσ τµήµα τησ συσκευήσ, πίσω
µπαταρία.
απ την πρσοψη)
7
4

Ασύρµατο τηλεχειριστήριο RM-X114
(προαιρετικ)
PTY
D
S
O
P
EN
DSPL MODE
DISPLAY
SC
R
O
LL
I
S
C
/
P
R
E
S
E
D
T
MENU
LIST
SEEKSEEK
PRESET
+
SOUND
ENTER
DISC
+
LIST
MENU
AF
TA
O
FF
SOURCE
SEEK
–
SEEK
+
SOUND
DISC
–
EN
TE
R
PRESET –
ATTOFF
+
VOL
(DISC/PRESET)/(PRESET)
–
(+): για προσ τα επάνω επιλογή
(SEEK)
(SEEK)
(–): για προσ τα
(+): για προσ
αριστερά
τα δεξιά
επιλογή/
επιλογή/
.
>
Τα αντίστοιχα πλήκτρα του ασύρµατου
τηλεχειριστηρίου ελέγχουν τις ίδιες
(DISC/PRESET)/(PRESET)
λειτουργίες πως εκείνα της συσκευής.
(–): για προσ τα κάτω επιλογή
a Πλήκτρο DSPL
Στη λειτουργία µενού, το(α) πλήκτρο(α) απ τα
b Πλήκτρο MENU
παραπάνω τέσσερα, που είναι επιλεγµένο(α)
εκείνη τη στιγµή, υποδηλώνεται µε ένα “ M”
c Πλήκτρο SOURCE
στην οθνη.
d Πλήκτρα SEEK (</,)
e Πλήκτρο SOUND
u XR-CA600X/CA600V/CA600:
f Πλήκτρο OFF
Πλήκτρα DISC/PRESET (+/–)
g Πλήκτρα VOL (–/+)
XR-L500X/L500V/L500:
h Πλήκτρο MODE
Πλήκτρα PRESET (+/–)
3
i Πλήκτρο LIST*
RADIO
11, 12, 16
3
j Πλήκτρα DISC*
/PRESET(M/m)
MENU
9, 10, 11, 15, 16, 19, 20, 21, 23,
24, 25
k Πλήκτρο ENTER
CD/MD
21, 23, 24
l Πλήκτρο ATT
v Πλήκτρα SEEK (–/+)
TAPE
9
*3 ∆ε διατίθεται στα XR-L500X/L500V/L500
RADIO
11, 12, 14
Σηµείωση
MENU
9, 10, 16, 18, 19, 20, 21, 25
Εάν απενεργοποιήσετε τη συσκευή πιέζοντας το
CD/MD
21, 23, 24
(OFF) για 2 δευτερλεπτα, ο χειρισµς της απ το
ασύρµατο τηλεχειριστήριο είναι αδύνατος, εκτς
εάν πιεστεί το (SOURCE) στη συσκευή ή
τοποθετηθεί µια κασέτα για να ενεργοποιήσει
πρώτα τη συσκευή.
Υπδειξη
Για λεπτοµέρειες σχετικά µε την αντικατάσταση
των µπαταριών, ανατρέξτε στην εντητα
“Αντικατάσταση της µπαταρίας λιθίου” (σελίδα
26).
5

Προφυλάξεις
Συµβουλές σχετικά µε
τις Κασέτες
• Εάν το αυτοκίνητ σασ παρέµεινε στον
ήλιο, αφήστε τη συσκευή να κρυώσει
πριν τη λειτουργήσετε.
Φροντίδα κασετών
• Εάν η συσκευή δεν τροφοδοτείται,
• Μην αγγίζετε την επιφάνεια τησ ταινίασ
ελέγξτε πρώτα τισ συνδέσεισ. Εάν οι
µιασ κασέτασ, καθώσ οποιαδήποτε
συνδέσεισ είναι εντάξει, ελέγξτε την
βρώµα ή σκνη µπορεί να προκαλέσει
ασφάλεια.
βλάβη στισ κεφαλέσ.
• Εάν δεν ακούγεται ήχοσ απ τα ηχεία
• Κρατάτε τισ κασέτεσ µακριά απ
ενσ συστήµατοσ 2-ηχείων, ρυθµίστε
συσκευέσ που διαθέτουν
την ισορροπία ήχου εµπρσ-πίσω στην
ενσωµατωµένουσ µαγνήτεσ, πωσ για
κεντρική θέση.
παράδειγµα ηχεία και ενισχυτέσ, καθώσ
• ταν αναπαράγεται µια κασέτα για
µπορούν να προκαλέσουν σβήσιµο ή
µεγάλο χρονικ διάστηµα, µπορεί να
παραµρφωση τησ γραµµένησ κασέτασ.
ζεσταθεί εξαιτίασ του ενσωµατωµένου
• Μην εκθέτετε τισ κασέτεσ στον ήλιο, σε
τελικού ενισχυτή. µωσ κάτι τέτοιο δεν
εξαιρετικά χαµηλέσ θερµοκρασίεσ ή σε
αποτελεί ένδειξη βλάβησ.
υγρασία.
• Αν η ταινία τησ κασέτασ χαλαρώσει,
Εάν έχετε κάποιεσ απορίεσ ή
µπορεί να µαγκώσει µέσα στο
προβλήµατα µε τη συσκευή σασ, τα
κασετφωνο. Πριν τοποθετήσετε την
οποία δεν καλύπτονται απ αυτ το
κασέτα, χρησιµοποιήστε ένα µολύβι ή
εγχειρίδιο, απευθυνθείτε στον τοπικ
παρµοιο αντικείµενο για να τυλίξετε
αντιπρσωπο τησ Sony.
τη χαλαρωµένη ταινία.
Για να διατηρήσετε υψηλή ποιτητα
ήχου
Προσέξτε να µη χυθούν χυµοί ή
αναψυκτικά στη συσκευή ή τισ κασέτεσ.
Χαλάρωµα
• Παραµορφωµένεσ κασέτεσ και ετικέτεσ
που έχουν ξεκολλήσει µπορεί να
δηµιουργήσουν πρβληµα στην
εισαγωγή ή την εξαγωγή των κασετών.
Αφαιρέστε ή αντικαταστήστε τισ
ετικέτεσ που έχουν ξεκολλήσει.
• Κατά την αναπαραγωγή, ο ήχοσ µπορεί
να παραµορφωθεί. Η κεφαλή του
κασετοφώνου χρειάζεται καθαρισµ
κάθε 50 ώρεσ λειτουργίασ.
6

∆εν συνιστάται η χρήση κασετών διάρκειας
µεγαλύτερης των 90 λεπτών παρά µνο για
συνεχή αναπαραγωγή
Ξεκινώντας
Η ταινία που χρησιµοποιείται σ’ αυτέσ τισ
κασέτεσ είναι πολύ λεπτή και τεντώνεται
εύκολα.
Συχνέσ εκκινήσεισ και στάσεισ τησ
αναπαραγωγήσ των κασετών αυτών
Επαναρύθµιση της
µπορεί να προκαλέσουν µάγκωµα τησ
συσκευής
κασέτασ στο µηχανισµ του
κασετοφώνου.
Πριν θέσετε τη συσκευή σε λειτουργία
για πρώτη φορά ή αφού αντικαταστήσετε
την µπαταρία του αυτοκινήτου, θα
πρέπει να επαναρυθµίσετε τη συσκευή.
Αφαιρέστε την πρσοψη και πιέστε το
πλήκτρο RESET (επαναρύθµισησ) µε ένα
αιχµηρ αντικείµενο, πωσ ένα στυλ για
παράδειγµα.
Πλήκτρο RESET
Σηµείωση
Εάν πιέσετε το πλήκτρο RESET, µηδενίζεται η
ρύθµιση του ρολογιού και κάποια καταχωρηµένα
περιεχµενα.
7

Τοποθέτηση της πρσοψης
Απσπαση της
Τοποθετήστε την οπή A τησ πρσοψησ
στην προεξοχή B τησ συσκευήσ και
πρσοψης
πιέστε ελαφρά το αριστερ άκρο προσ τα
µέσα.
Μπορείτε να αποσπάσετε την πρσοψη
αυτήσ τησ συσκευήσ για να την
προστατεύσετε απ κλοπή.
Συναγερµς υπενθύµισης
Εάν γυρίσετε το κλειδί τησ ανάφλεξησ
στη θέση OFF χωρίσ να έχετε αφαιρέσει
την πρσοψη, ο συναγερµσ
υπενθύµισησ ηχεί για λίγα
δευτερλεπτα.
Εάν συνδέσετε έναν προαιρετικ τελικ
ενισχυτή και δε χρησιµοποιήσετε τον
ενσωµατωµένο ενισχυτή, ο ήχοσ µπιπ
απενεργοποιείται.
1 Πιέστε (OFF)*.
Σταµατάει η αναπαραγωγή τησ
κασέτασ και η λήψη ραδιοφώνου (ο
x
φωτισµσ των πλήκτρων και τησ
οθνησ παραµένει αναµµένοσ).
* Εάν το αυτοκίνητ σας δεν έχει θέση ACC
στο διακπτη ανάφλεξης, µην παραλείψετε
να απενεργοποιήσετε τη συσκευή πιέζοντας
(OFF) για 2 δευτερλεπτα, ώστε να
αποφύγετε άσκοπη κατανάλωση της
µπαταρίας.
2 Πιέστε (O PEN), κατπιν σπρώξτε την
πρσοψη προς τα δεξιά και τραβήξτε
απαλά το αριστερ άκρο της
Σηµείωση
πρσοψης.
Μην τοποθετείτε τίποτα στην εσωτερική
επιφάνεια της πρσοψης.
1
2
Σηµειώσεις
• Εάν αποσπάσετε την πρσοψη ενώ είναι
ενεργοποιηµένη η συσκευή, η τροφοδοσία
διακπτεται αυτµατα ώστε να µην πάθουν
ζηµιά τα ηχεία.
• Μη ρίχνετε κάτω ή ασκείτε υπερβολική πίεση
στην πρσοψη και στο παράθυρο ενδείξεων.
• Μην υποβάλλετε την πρσοψη σε υψηλές
θερµοκρασίες ή υγρασία. Μην την αφήνετε σε
παρκαρισµένα αυτοκίνητα ή επάνω στο ταµπλ/
εταζέρα.
Υπδειξη
>ταν µεταφέρετε την πρσοψη µαζί σας,
χρησιµοποιείτε την παρεχµενη θήκη της.
8

Ρύθµιση του ρολογιού
Κασετφωνο
Το ρολι χρησιµοποιεί 24-ωρη ψηφιακή
ένδειξη.
Παράδειγµα: Για να ρυθµίσετε το ρολι
Ακραση µιας κασέτας
στισ 10:08
1 Πιέστε (OPEN) και τοποθετήστε µια
1 Πιέστε (MENU), κατπιν πιέστε
κασέτα.
επανειληµµένα ένα απ τα δύο άκρα
Η αναπαραγωγή ξεκινάει αυτµατα.
του (DISC/PRESET) ή (PRESET) µέχρι
να εµφανιστεί η ένδειξη “CLOCK”.
1 Πιέστε το (ENTER).
Αναβοσβήνει η ένδειξη τησ ώρασ.
2 Κλείστε την πρσοψη.
2 Πιέστε ένα απ τα δύο άκρα του
Εάν υπάρχει ήδη µια κασέτα µέσα στο
(DISC/PRESET) ή (PRESET) για να
κασετφωνο, πιέστε επανειληµµένα
ρυθµίσετε τις ώρες.
(SOURCE) µέχρι να εµφανιστεί η ένδειξη
3 Πιέστε το άκρο (+) του (SEEK).
“FORWARD” ή “REVERSE” και να
Αναβοσβήνει η ένδειξη των
αρχίσει η αναπαραγωγή.
λεπτών.
FORWARD: Αναπαράγεται η πλευρά που
4 Πιέστε ένα απ τα δύο άκρα του
βλέπει προσ τα πάνω.
(DISC/PRESET) ή (PRESET)για να
REVERSE: Αναπαράγεται η πλευρά που
ρυθµίσετε τα λεπτά.
βλέπει προσ τα κάτω.
2 Πιέστε (ENTER).
Για να Πιέστε
Αλλάξετε την
(MODE) (o)
κατεύθυνση
αναπαραγωγήσ
τησ κασέτασ
Σταµατήσετε
(OFF)
Το ρολι ενεργοποιείται. Αφού
την
ολοκληρωθεί η ρύθµιση του ρολογιού,
αναπαραγωγή
η οθνη επιστρέφει στην κανονική
λειτουργία αναπαραγωγήσ.
Βγάλετε την
(OPEN) και µετά Z
Υποδείξεις
κασέτα
• Μπορείτε να ρυθµίσετε αυτµατα το ρολι µε τη
Προσπεράσετε
(SEEK) (./>)
λειτουργία RDS (σελίδα 16).
κοµµάτια
[µια φορά για κάθε
• >ταν η λειτουργία D. INFO είναι ρυθµισµένη
στο “ON”, η ώρα εµφανίζεται πάντα (σελίδα 19).
– Αυτµατοσ
κοµµάτι]
Μουσικσ
Αισθητήρασ
Γρήγορη
(SEEK) (m/M)
µετακίνηση
[κρατήστε πιεσµένο
προσ τα
µέχρι το σηµείο που
εµπρσ/πίσω
θέλετε]
– Χειροκίνητη
Αναζήτηση
συνέχεια στην επµενη σελίδα t
9

Σηµείωση
Η λειτουργία AMS πιθαν να µην ισχύει εάν:
Αναπαραγωγή µιας
– τα κενά µεταξύ των κοµµατιών είναι µικρτερα
απ 4 δευτερλεπτα.
κασέτας σε διάφορες
– υπάρχει θρυβος µεταξύ των κοµµατιών.
– υπάρχουν µεγάλα τµήµατα µε ήχο χαµηλής
λειτουργίες
έντασης ή σιγής.
Είναι δυνατή η αναπαραγωγή τησ
κασέτασ σε διάφορεσ λειτουργίεσ:
• Η λειτουργία METAL επιτρέπει την
αναπαραγωγή µιασ κασέτασ µετάλλου ή
CrO
2.
• Η λειτουργία BL.SKP (Υπερπήδηση
Κενών) προσπερνά κενά µεγαλύτερα
των 8 δευτερολέπτων.
• Η λειτουργία ATA (Αυτµατη
Ενεργοποίηση Ραδιοφώνου)
ενεργοποιεί αυτµατα το ραδιφωνο
κατά τη γρήγορη περιτύλιξη τησ ταινίασ.
1 Κατά την αναπαραγωγή της κασέτας,
πιέστε (MENU).
2 Πιέστε επανειληµµένα ένα απ τα δύο
άκρα του (DISC/PRESET) ή (PRESET)
µέχρι να εµφανιστεί η επιθυµητή
λειτουργία.
3 Πιέστε το άκρο (+) του (SEEK) για να
επιλέξετε “ON”.
Παράδειγµα: λειτουργία ATA
Ξεκινάει η λειτουργία τησ
αναπαραγωγήσ.
4 Πιέστε το (ENTER).
Για να επανέρθετε σε κανονική
λειτουργία αναπαραγωγήσ, επιλέξτε
“OFF” στο βήµα 3.
Επανειληµµένη αναπαραγωγή
κοµµατιών
— Επαναλαµβανµενη Αναπαραγωγή
Κατά την αναπαραγωγή, πιέστε
επανειληµµένα(3) (REP) µέχρι να
εµφανιστεί στην οθνη η ένδειξη
“REP-ON”.
Για να επιστρέψετε στη λειτουργία
κανονικήσ αναπαραγωγήσ, επιλέξτε
“REP-OFF”.
Υπδειξη
Κατά την επαναλαµβανµενη αναπαραγωγή,
πιέστε (MODE). Η ένδειξη “REP” εξαφανίζεται
απ την οθνη και η επαναλαµβανµενη
10
αναπαραγωγή ακυρώνεται.



