Sony MPK-WB – page 2
Manual for Sony MPK-WB
Table of contents
- What is the O-ring?
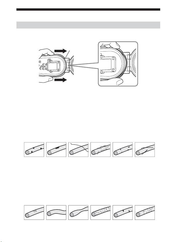
- Handling the O-ring 1 Remove the O-ring. 2 Inspect the O-ring.
- 3 Inspect the O-ring groove. 4 Inspect the contact surface on the other side of the O-ring in the same way. 5 Apply the special grease supplied to the O-ring. 6 Fit the O-ring into the groove of the Marine Pack.
- Handling the O-ring (continued)

3 Ispezionare la scanalatura per la guarnizione toroidale.
Rimuovere accuratamente eventuali granelli di sabbia o accumuli di sale
penetrati nella scanalatura.
4 Inoltre, ispezionare la superficie di contatto sull’altro lato
della guarnizione toroidale nello stesso modo.
5 Applicare l’apposito lubrificante in dotazione alla guarnizione
toroidale.
• Usare la punta delle dita per coprire leggermente l’intera superficie della
guarnizione toroidale con una piccola goccia di grasso, come illustrato
sopra.
• Assicurarsi che un sottile strato di lubrificante sia sempre applicato alla
guarnizione toroidale. Il lubrificante protegge la guarnizione toroidale e
ne previene l’usura.
Lubrificante
Utilizzare esclusivamente il lubrificante in dotazione. Altri tipi di
lubrificante potrebbero danneggiare la guarnizione toroidale causando
infiltrazioni d’acqua.
6 Collocare la guarnizione toroidale nella scanalatura della
custodia subacquea.
Disporre attentamente la guarnizione toroidale nella scanalatura facendo
attenzione a quanto segue:
– Controllare che non ci sia sporco sulla
guarnizione toroidale.
– Controllare che la guarnizione toroidale
non sia contorta o che non sporga.
– Non tirare guarnizione toroidale.
Cattivo esempio Buon esempio
3-IT

Maneggio della guarnizione toroidale
(continuazione)
Controllo finale
Controllare di nuovo la guarnizione toroidale accertandosi che non
presenti sporcizia, incrinature o distorsioni e così via.
Per controllare se ci sono infiltrazioni d’acqua
Prima di installare l’apparecchio, chiudere sempre la custodia subacquea e
immergerla in acqua per circa tre minuti ad una profondità di circa 15 cm
per accertarsi che non si verifichino infiltrazioni d’acqua.
PCAUTELA
Quando si sono scattate foto su un fondale marino sabbioso o si è
appoggiata la fotocamera sulla sabbia, rimuovere la guarnizione toroidale
e ispezionarla.
Assicurarsi di avere una guarnizione toroidale di
scorta.
Questo facilita la sostituzione se si verificano
problemi alla guarnizione toroidale durante
un’escursione.
Durata della guarnizione toroidale
Sostituire la guarnizione toroidale con un’altra nuova dopo un anno di
impiego.
Anche se la guarnizione toroidale non è incrinata o graffiata, deformazioni
e usura riducono le qualità impermeabilizzanti della guarnizione toroidale.
4-IT

Nederlands
* Het Marine Pack onderwater-camerahuis dat u gebruikt zal niet in alle
gevallen precies lijken op dat in de afbeeldingen.
Wat is een O-ring?
De O-ring zorgt voor een waterdichte afsluiting van het Marine Pack
onderwater-camerahuis en andere apparatuur.
O-ring
Zorgvuldig onderhoud van de O-ring is zeer belangrijk.
Als het onderhoud niet naar behoren wordt verricht,
kan er water in het Marine Pack onderwater-
camerahuis binnenlekken, zodat het zou kunnen
zinken.
1-NL

Juiste omgang met de O-ring
Aanbrengen van de O-ring
Verricht het aanbrengen van de O-ring nooit in het zand of op een stoffig
oppervlak.
1 Verwijder de O-ring.
O-ring
Om de O-ring te verwijderen, drukt u deze licht samen en schuift u hem in
de richting van de pijl zoals de afbeelding toont. De O-ring heeft
voldoende speling om hem op deze wijze gemakkelijk te kunnen
verwijderen. Pas op dat u de O-ring hierbij niet met uw nagels beschadigt.
2 Inspecteer de O-ring.
• Let op de volgende dingen en veeg alle ongerechtigheden weg met een
tissue of zacht doekje.
– Controleer op aanklevend vuil, stof, zand, haartjes, draden, pluisjes e.d.
– Controleer of er nog oude vetresten aankoeken.
v Vuil v Zand v Haren v Stof v
Zoutresten
v
Draadjes
• Ga met de vingertoppen de O-ring langs om ook minder goed zichtbare
vuilresten op te sporen.
• Let bij het schoonmaken op dat er geen vezels van de tissue of draadjes
van de doek op de O-ring achterblijven.
• Inspecteer de O-ring op wringing, vervorming, krassen, barstjes of
scheurtjes. Vervang de O-ring als die beschadigd is.
v
Haarscheurtjes
v
v
Vervorming
v Barstjes v
Scheuren
v
Zandkrassen
Wringing
2-NL

3 Inspecteer de groef voor de O-ring.
Verwijder zorgvuldig eventuele korreltjes zand of opgedroogd zout die in
de groef zijn terechtgekomen.
4 Inspecteer ook de contactrand van het andere deel van het
onderwaterhuis dat tegen de O-ring aan sluit.
5 Vet de O-ring in met een laagje van het speciale smeervet dat
is bijgeleverd.
• Breng een druppeltje smeervet op de O-ring aan en wrijf het over de
gehele O-ring uit met uw vinger zoals hierboven getoond.
• Controleer voor het gebruik altijd even of de O-ring niet te droog is,
maar voldoende is ingevet. Het smeervet beschermt de O-ring en
voorkomt slijtage.
Smeervet
Gebruik alleen het bijgeleverde smeervet. Andere soorten smeervet
kunnen de O-ring beschadigen en waterlekkage veroorzaken.
6 Leg de O-ring in de groef van het Marine Pack onderwater-
camerahuis.
Plaats de O-ring gelijkmatig in de groef en let daarbij op de volgende
punten:
– Kleeft er geen vuil aan de O-ring?
– Controleer of de O-ring niet gedraaid is
of uitsteekt.
– Wordt de O-ring niet scheef getrokken?
Onjuist aangebracht Juist aangebracht
3-NL

Juiste omgang met de O-ring (vervolg)
Eindcontrole
Controleer de O-ring nogmaals op vuil en scheurtjes en controleer
nogmaals of deze is gedraaid.
Controleren op waterlekkage
Voordat u de apparatuur plaatst, moet u het onderwater-camerahuis altijd
sluiten en het ongeveer drie minuten zo’n 15 cm onder water plaatsen om
te controleren of er nergens water naar binnen lekt.
PVOORZICHTING
Nadat u opnamen hebt gemaakt bij een zanderige zeebodem of als u het
onderwaterhuis ergens in het zand hebt geplaatst, verwijdert u de O-ring
voor inspectie en controleer het onderwaterhuis zorgvuldig op lekkage.
Zorg dat u altijd een reserve O-ring bij de hand
hebt.
Als er tijdens het opnemen iets mis zou gaan met
de O-ring, is het handig als u die vlot kunt
vervangen.
Levensduur van een O-ring
Vervang elke O-ring door een nieuwe na een jaar gebruik.
Ook al lijkt de O-ring in goede staat, zonder krassen of barsten, toch kan
geleidelijke slijtage of vervorming de waterdichtheid van de O-ring
aantasten.
4-NL

Español
* El portacámara subacuático que está utilizando usted puede no ser
necesariamente el mostrado en las ilustraciones.
¿Qué es una junta tórica?
La junta tórica actúa para preservar la impermeabilidad del portacámara
subacuático y otros equipos.
Junta tórica
El mantenimiento de la junta tórica es muy
importante. Si no realizase el mantenimiento de la
junta tórica de acuerdo con las instrucciones,
podría infiltrarse agua, y hacer que se sumergiese
el portacámara subacuático.
1-ES

Manejo de la junta tórica
Colocación de la junta tórica
Evite colocar la junta tórica en lugares polvorientos o con arena.
1 Retire la junta tórica.
Junta
tórica
Para retirar la junta tórica, presiónela ligeramente y deslícela en el sentido
de la flecha, como se muestra en la ilustración. La junta tórica tiene holgura
suficiente como para poder retirarse fácilmente. Tenga cuidado de no rayar
la junta tórica con sus uñas.
2 Inspeccione la junta tórica.
• Compruebe completamente lo siguiente, y frote con un paño suave o con
un pañuelo de papel.
– ¿Hay suciedad, arena, pelos, polvo, sal, rajas retorcidas, etc. En la junta
tórica?
– ¿Hay grasa vieja en la junta tórica?
v
Suciedad
v Arena v Pelo v Polvo v Sal v
Rajas
retorcidas
• Pase la punta de un dedo alrededor de la junta tórica para comprobar si
hay cualquier suciedad no aparente.
• Después de frotar la junta tórica, tenga cuidado para evitar que no
queden en ella algodón ni fibras de papel.
• Compruebe que la junta tórica no esté rayada, rajada, retorcida,
distorsionada, con inclusión de arena, etc. Si lo está, reemplácela.
v
Rajamiento
v
Sesgamiento
v
Distorsión
v Fisión
v Rajas v
Inclusión
fina
de arena
2-ES

3 Inspeccione la ranura de la junta tórica.
Elimine cuidadosamente los granos de arena o sal que se hayan
introducido en la ranura.
4 Inspeccione la superficie de contacto del otro lado de la junta
tórica de la misma forma.
5 Aplique la grasa especial suministrada a la junta tórica.
• Aplique una pequeña gota de grasa a la junta tórica y unte
uniformemente toda su superficie con un dedo como se muestra en la
ilustración de arriba.
• Cerciórese de que la junta tórica tenga en todo momento una fina capa de
grasa. La grasa protegerá la junta tórica y evitará que se desgaste.
Grasa
Utilice únicamente la grasa suministrada. El uso de otros tipos de grasa
dañará la junta tórica y provocará la infiltración de agua.
6 Coloque la junta tórica en la ranura del portacámara
subacuático.
Coloque uniformemente la junta tórica en su ranura teniendo en cuenta los
puntos siguientes:
– Compruebe que no haya suciedad en la junta
tórica.
– Compruebe que la junta tórica no esté
retorcida ni sobresalga.
– No tire de la junta tórica.
Mal ejemplo Buen ejemplo
3-ES

Manejo de la junta tórica (continuación)
Comprobación final
Compruebe de nuevo que la junta tórica no tenga suciedad, rajas, que no
esté torcida, etc.
Forma de comprobar la infiltración de agua
Antes de instalar el equipo, cierre siempre el portacámara subacuático y
sumérjalo en agua a una profundidad de aproximadamente 15 cm durante
unos tres minutos para asegurarse de que no haya infiltración de agua.
PPRECAUCIÓN
Después de tomar fotos en un fondo de mar arenoso, o de haber dejado la
cámara sobre la arena, retire la junta tórica e inspecciónela.
Cerciórese de llevar consigo una junta tórica de
repuesto.
Esto facilitará el reemplazo en caso de tener
problemas con la junta tórica en el sitio.
Duración de las juntas tóricas
Reemplace la junta tórica por otra nueva después de haberla utilizado
durante un año.
Aunque la junta tórica no esté rayada ni rajada, la deformación o el
desgaste reducirá su cualidad de impermeabilización.
4-ES

Português
*A sua Embalagem Marinha pode não ser exactamente igual à
exemplificada nas ilustrações.
O que é um anel de vedação?
O anel de vedação actua de maneira a preservar as qualidades de
resistência à água da Embalagem Marinha e de outros equipamentos.
Anel de
vedação
A manutenção do anel de vedação é muito
importante. Se a manutenção do anel de vedação
não for efectuada de acordo com as instruções,
poderá causar infiltrações de água e resultar em
afundamento da embalagem marinha.
1-PT

Manuseamento do anel de vedação
Instale o anel de vedação no devido lugar
Evite ajustar o anel de vedação em locais com sujidade ou arenosos.
1 Remova o anel de vedação.
Anel de
vedação
Para remover o anel de vedação, pressione-o levemente e deslize-o na
direcção da seta, conforme a ilustração. O anel de vedação é
suficientemente flexível para ser removido facilmente. Tome cuidado para
não arranhar o anel com a unha.
2 Inspeccione o anel de vedação.
• Verifique cuidadosamente os pontos a seguir, e limpe o anel de vedação
com um pano macio ou lenço de papel.
– Verifique se há alguma sujidade, grão de areia, cabelo, poeira, sal,
fiapos de linha, etc.
– Verifique se há vestígios de lubrificante antigo.
v Sujidade v Areia v Cabelo v Poeira v Sal
v
Fiapos
de linha
• Corra levemente a ponta do seu dedo em torno do anel de vedação para
verificar se há alguma sujidade inaparente.
• Após limpar o anel de vedação, preste atenção para que nenhuma fibra
de tecido ou de lenço de papel reste no anel de vedação.
• Verifique se há rachaduras, assimetrias, distorções, fendas finas,
arranhões, impregnações de areia, etc. no anel de vedação. Substitua
anéis de vedação rachados ou arranhados.
v
Rachaduras
v
Assimetrias
v
Distorções
v Fendas
v
Arranhões
v
Impregnações
finas
de areia
2-PT

3 Inspeccione a ranhura do anel de vedação.
Retire com cuidado todos os grãos de areia ou sal grosso que se encontrem
na ranhura.
4 Inspeccione também a superfície de contacto no outro lado do
anel de vedação da mesma maneira.
5 Aplique o lubrificante especial fornecido com o anel de
vedação.
• Aplique uma pequena gota de lubrificante no anel de vedação e espalhe-
a homogeneamente por toda a superfície do anel com a ponta do seu
dedo, conforme a ilustração acima.
• Certifique-se de que uma fina camada de lubrificante esteja sempre
aplicada na superfície do anel de vedação. O lubrificante protege o anel
de vedação e evita o seu desgaste.
Lubrificante
Utilize apenas o lubrificante fornecido. Se utilizar outros tipos de
lubrificante pode danificar o anel de vedação e provocar a infiltrações
da água.
6 Instale o anel de vedação na ranhura da Embalagem Marinha.
Encaixe o anel de vedação por igual na sua ranhura, prestando atenção nos
seguintes pontos:
– Há alguma sujidade no anel de
vedação?
– Verifique se o anel de vedação não
está torcido ou saliente.
– Não estique o anel de vedação.
Exemplo incorrecto Exemplo correcto
3-PT

Manuseamento do anel de vedação
(continuação)
Inspecção final
Volte a verificar se o anel de vedação está sujo, tem rachas, deformações,
etc.
Como verificar se há infiltrações de água
Antes de instalar o equipamento, feche sempre a embalagem marinha,
mergulhe-a em água a uma profundidade de 15 cm, durante cerca de 3
minutos, e verifique se não há infiltrações de água.
PATENÇÃO
Quando tiver tirado fotos no fundo de um mar arenoso ou tiver colocado a
câmara sobre a areia, remova o anel de vedação e efectue uma inspecção.
Assegure-se de levar consigo um anel de vedação
reserva para facilitar substituições quando ocorrer
algum problema com o anel instalado.
Vida útil do anel de vedação
Substitua o anel de vedação por um novo após um ano de utilização.
Mesmo que o anel de vedação não esteja rachado ou arranhado,
deformações ou desgastes reduzem as qualidades de resistência à água do
anel de vedação.
4-PT

Svenska
* Det undervattenshus som du använder behöver inte nödvändigtvis vara
det som visas i illustrationerna.
Vad är en O-ring?
O-ringen är till för att bevara vattentätheten hos undervattenshuset och
annan utrustning.
O-ring
Det är mycket viktigt att underhålla O-ringen. Om
O-ringen inte underhålls korrekt enligt de
anvisningar som ges kan vattenläckage uppstå
vilket kan resultera i att undervattenshuset
sjunker.
1-SE

Hantering av O-ringen
Sätt O-ringen på plats
Undvik att sätta i O-ringen på en plats med damm eller sand.
1 Ta bort O-ringen.
O-ring
För att ta bort O-ringen, tryck in den något och skjut den i pilens riktning
såsom visas i illustrationen. O-ringen har tillräckligt med slakhet för att det
ska vara lätt att ta bort den. Var försiktig så att du inte repar O-ringen med
naglarna.
2 Undersök O-ringen.
• Kontrollera noggrant följande och torka av O-ringen med en mjuk
tygtrasa eller pappersnäsduk.
– Kontrollera förekomsten av smuts, sandkorn, hårstrån, damm, salt,
fiberrester etc.
– Kontrollera förekomsten av gammalt fett.
v Smuts v Sand v
Hårstrån
v Damm v Salt v
Fiberrester
• Känn med ett finger runt O-ringen för att kontrollera förekomsten av
osynlig smuts.
• Var efter torkning av O-ringen noga med att inga fibrer från tygtrasan
eller pappersnäsduken blir kvar på O-ringen.
• Kontrollera förekomsten av sprickor, skevhet, förvridning, småsprickor,
repor, intryckta sandkorn etc. hos O-ringen. O-ringar med sprickor eller
repor skall bytas ut.
v Sprickor v Skevhet v
Förvridning
v
Småsprickor
v Repor
v
Intryckta
sandkorn
2-SE

3 Undersök O-ringens spår.
Plocka försiktigt bort sandkorn och eventuella saltkristaller från spåret.
4 Undersök kontaktytan på O-ringens andra sida på samma sätt
som ovan.
5 Stryk ett lager med det medföljande specialfettet på O-ringen.
• Applicera en liten droppe fett och använd fingerspetsarna för att stryka
ut ett tunt lager över hela O-ringen, såsom visas ovan.
• Se till att O-ringens yta alltid är täckt med ett tunt lager fett. Fettet
skyddar O-ringen och förhindrar slitage.
Fett
Använd bara det medföljande fettet. Fett från andra tillverkare skadar
O-ringen, vilket leder till vattenläckage.
6 Placera O-ringen i spåret i undervattenshuset.
Sätt i O-ringen jämnt i spåret och kontrollera samtidigt följande punkter:
– Förekommer smuts på O-ringen?
– Kontrollera att O-ringen inte ligger vriden eller sticker ut någonstans.
– Dra inte i O-ringen!
Fel sätt Rätt sätt
3-SE

Hantering av O-ringen (forts.)
Slutkontroll
Kontrollera igen att O-ringen är fri från smuts och sprickor och att den
ligger som den ska utan att vara vriden.
Kontroll av vattenläckage
Innan du sätter i någon utrustning i undervattenshuset bör du stänga det
och sänka ned det ungefär 15 cm under vattenytan under ungefär tre
minuter så att du är säker på att inget vatten läcker in.
POBSERVERA!
Ta ur O-ringen och kontrollera den, när fotografering skett nära en
sandbotten eller när kameran placerats på sanden.
Ta alltid med en extra O-ring.
Du kan byta ut den isatta O-ringen på plats om det
skulle bli något fel på den.
Angående O-ringens livslängd
Byt ut O-ringen mot en ny efter ett års användning.
Även om O-ringen inte är sprucken eller repad, så försämras O-ringens
vattentätande egenskaper genom naturlig deformering och slitage.
4-SE

Русский
* Приобретенный вами морской футляр может отличаться от
иллюстрированного ниже изделия.
Что такое уплотнительное кольцо?
Уплотнительное кольцо обеспечивает водонепроницаемость морского
футляра и других аппаратов.
Уплотнительное
кольцо
Техническое обслуживание уплотнительного кольца является
очень важным. Если техническое обслуживание уплотнительного
кольца не выполняется согласно инструкциям, то это может
вызвать утечку воды, и в результате этого морской футляр
может затопиться.
1-RU

Уход за уплотнительным кольцом
Посадка уплотнительного кольца
Избежайте посадки уплотнительного кольца в запыленном или песчаном
месте.
1 Удалите уплотнительное кольцо.
Уплотнительное
кольцо
Для удаления уплотнительного кольца, прижимая его слегка, переместите
его в направлении стрелки, как показано ниже. Уплотнительное кольцо
имеет достаточный люфт, чтобы могли удалить его без труда. Будьте
осторожны, чтобы не царапать кольцо ногтями.
2 Проверьте уплотнительное кольцо.
• Тщательно проверяйте, не попали ли приведенные ниже посторонние
тела на поверхность кольца. При обнаружении посторонних тел
вытирайте кольцо мягкой тряпкой или гигиенической бумагой.
– Грязь, песчинка, волосок, пыль, соль, ниточные обрезки и др.
– Постаревщая консистентная смазка.
v Грязь v
Песчинка
v
Волосок
v Пыль v Соль
v
Ниточные
обрезки
• Слегка касаясь вашим пальцем по уплотнительному кольцу, проверьте
неявную грязь.
• После вытирания уплотнительного кольца надо убедиться, что
волоконца тряпки или гигиенической бумаги не остались на кольце.
2-RU

