Sony MDX-C6500RV: Table of Contents
Table of Contents: Sony MDX-C6500RV
Table of contents
- Welcome ! Precautions
- Notes on MDs
- Table of Contents

Table of Contents
Location of controls ............................................. 5
Other Functions
Labelling the rotary commander ..................... 21
Getting Started
Using the rotary commander ........................... 22
Resetting the unit ................................................. 7
Adjusting the sound characteristics ................ 23
Detaching the front panel ................................... 7
Attenuating the sound ...................................... 24
Turning the unit on/off ....................................... 8
Changing the sound and display settings ...... 24
How to use the menu .......................................... 8
Boosting the bass sound
Setting the clock ................................................... 8
— D-bass ........................................................ 25
MD Player
Additional Information
CD/MD Unit (optional)
Maintenance........................................................ 25
Listening to an MD .............................................. 9
Dismounting the unit ........................................ 27
Playing tracks repeatedly
Specifications ...................................................... 28
— Repeat Play ............................................... 11
Troubleshooting guide ...................................... 29
Playing tracks in random order
— Shuffle Play ............................................... 11
Labelling a CD
— Disc Memo* .............................................. 12
Locating a disc by name
— List-up* ..................................................... 13
Selecting specific tracks for playback
— Bank* ......................................................... 14
* Functions available with optional CD/MD unit
Radio
Memorising stations automatically
— Best Tuning Memory (BTM)................... 15
Memorising only the desired stations............. 15
Receiving the memorised stations ................... 16
RDS
Overview of the RDS function ......................... 17
Displaying the station name............................. 17
Retuning the same programme automatically
— Alternative Frequencies (AF) ................. 17
Listening to traffic announcements ................. 18
Presetting the RDS stations with
the AF and TA data ....................................... 19
Locating a station by programme type ........... 20
Setting the clock automatically ........................ 21
4

Location of controls
PTY
OPEN
D
I
S
C
+
-
P
DSPL
R
S
T
+
MENU
LIST
D-BASS
TA
SOURCE
-
SEEK/AMS
AF
SOUND
ENTER
P
R
S
REP SHUF
T
-
-
D
I
S
C
–
MODE
OFF
1 2 3 4 56
MDX-C6500RX/C6500RV
/C6500R/C6400R
Refer to the pages listed for details.
1 Volume control dial 19
qf SEEK/AMS –/+ (cursor left/right) buttons
8, 10, 12, 14, 16, 18, 19, 21, 23, 24
2 MENU button 8, 10, 12, 13, 14, 15, 16,
Automatic Music Sensor 10, 14
18, 19, 21, 24
Manual Search 10
3 DISC/PRST +/– (cursor up/down) buttons
Seek 15, 16, 18
8, 10, 12, 13, 14, 15, 16, 18, 19, 20, 21, 24
qg ENTER button 8, 10, 12, 13, 14, 15, 16,
During CD/MD playback:
18, 19, 20, 21, 24
Disc change 10, 13
qh MODE button 19
During radio reception:
During CD or MD playback:
Preset stations select 16
CD/MD unit select 9, 13
4
Z (eject) button (located on the front
During radio reception:
side of the unit behind the front panel)
BAND select 15, 16
9
qj Receptor for the card remote
5 DSPL/PTY (display mode change/
commander
programme type) button 9, 10, 12, 17,
20
qk Number buttons
During radio reception:
6 LIST button 12
Preset number select 15, 16, 18, 19
List-up 13
During CD/MD playback:
7 SOURCE (TUNER/CD/MD) button
(1) REP 11
8, 9, 10, 13, 15, 16, 19
(2) SHUF 11
8 Display window
ql AF button 17, 18, 19
9 OPEN button 7, 9, 26
w; TA button 18, 19
q; D-BASS button 25
* Warning when installing in a car
qa SOUND button 23
without ACC (accessory) position on
qs Reset button (located on the front side
the ignition key switch
of the unit behind the front panel) 7
Be sure to press (OFF) on the unit for two
seconds to turn off the clock display after
qd OFF button* 7, 8, 9
turning off the engine.
When you press (OFF) only momentarily,
the clock display does not turn off and this
causes battery wear.
5

Location of controls
Card remote commander RM-X91 (optional)
The corresponding buttons of the card
OPEN/CLOSE
remote commander control the same
OFF
functions as those on this unit.
1 OFF button
MENU LIST
DISC
2 MENU button
SEEK SEEK
SOURCE
3 SOURCE button
4 SEEK/AMS buttons
SOUND
DISC
ENTER
5 SOUND button
6 DSPL (DSPL/PTY) button
DSPL MODE
7 ATT button
VOLATT
8 LIST button
9 DISC/PRST buttons
q; ENTER button
qa MODE button
qs VOL buttons
Notes
• A unit turned off by pressing (OFF) for 2 seconds cannot be operated with the card remote commander
unless (SOURCE) on the unit is pressed, or a disc is inserted to activate the unit first.
• Do not leave the card remote commander where it can be exposed to direct sunlight such as on a
dashboard or the steering wheel, etc. The card remote commander may be deformed by the heat.
• The MiniDisc recorder may not operate properly with the card remote commander in direct sunlight. In
such a case, hold the card remote commander close to the unit’s receptor.
6

Attaching the front panel
Place the hole A in the front panel onto the
spindle B on the unit as illustrated, then push
Getting Started
the left side in.
Resetting the unit
A
Before operating the unit for the first time or
B
after replacing the car battery, you must reset
the unit.
Remove the front panel and press the reset
button with a pointed object, such as a ball-
point pen.
Reset button
x
Note
Pressing the reset button will erase the clock
setting and some memorised functions.
Detaching the front panel
You can detach the front panel of this unit to
protect the unit from being stolen.
Notes
1 Press (OFF).
• Be careful not to attach the front panel upside
down.
• Do not press the front panel too hard against the
2 Press (OPEN), then slide the front panel
unit when attaching it.
to the right side, and pull out the left
• Do not press too hard or put excessive pressure
side of the front panel.
on the display window of the front panel.
• Do not expose the front panel to direct sunlight
or heat sources such as hot air ducts, and do not
leave it in a humid place. Never leave it on the
dashboard of a car parked in direct sunlight or
where there may be a considerable rise in
temperature.
1
Caution alarm
2
If you turn the ignition key switch to the OFF
position without removing the front panel, the
caution alarm will beep for a few seconds.
Notes
If you connect an optional power amplifier and
• Do not put anything on the inner surface of the
do not use the built-in amplifier, the beep
front panel.
sound will be deactivated.
• Be sure not to drop the panel when detaching it
from the unit.
• If you detach the panel while the unit is still
turned on, the power will turn off automatically
to prevent the speakers from being damaged.
• When carrying the front panel with you, use the
supplied front panel case.
7

Turning the unit on/off
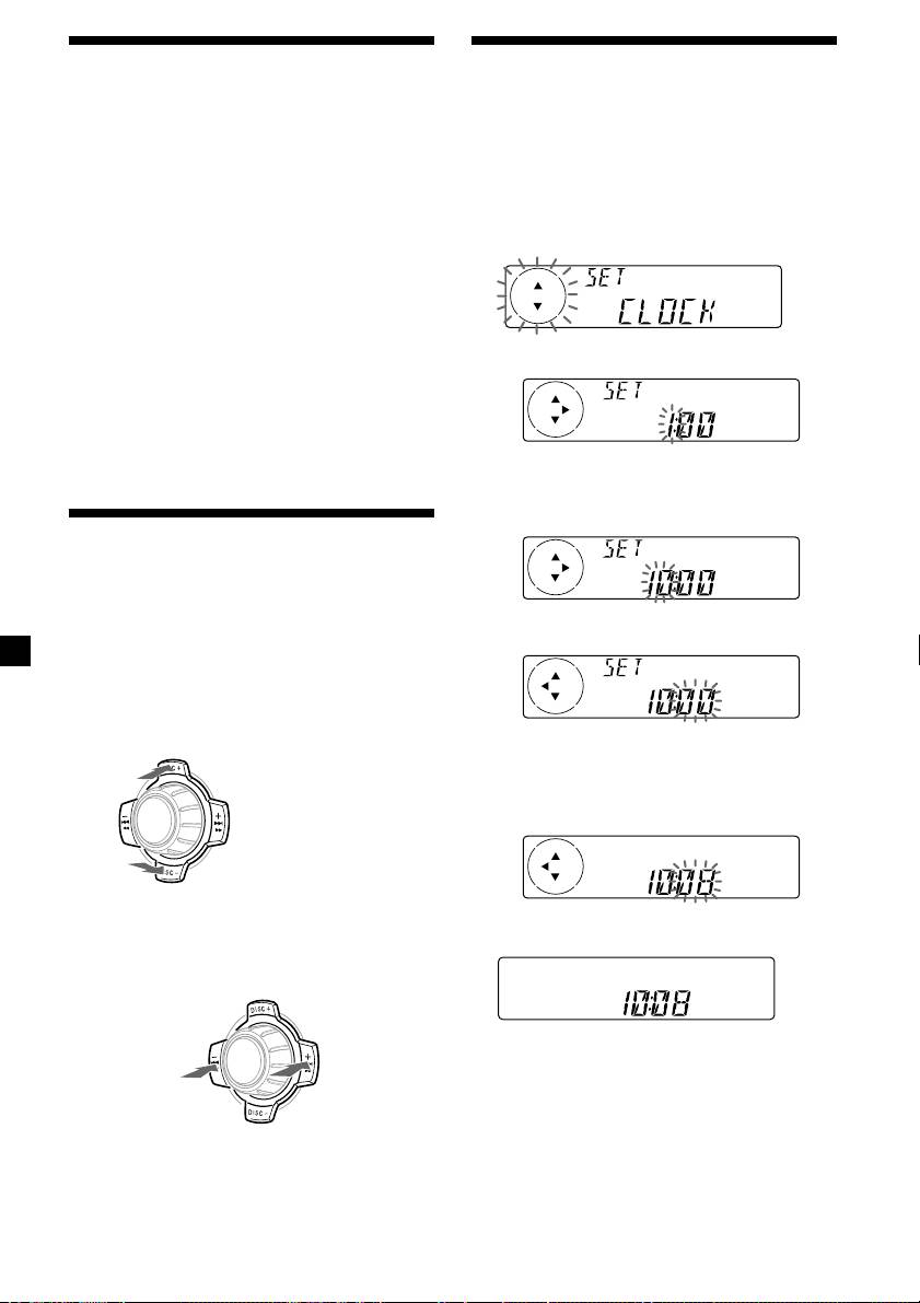
Setting the clock
Turning on the unit
The clock uses a 24-hour digital indication.
Press (SOURCE) or insert an MD in the unit.
Example: To set the clock to 10:08
For details on operation, refer to page 9 (MD/
CD) and page 15 (radio).
1 Press (MENU), then press either side of
(DISC/PRST) repeatedly until “CLOCK”
Turning off the unit
appears.
Press (OFF) to stop MD/CD playback or radio
reception (the key illumination and display
remain on).
Press (OFF) for two seconds to completely
turn the unit off.
1 Press (ENTER).
Note
If your car has no ACC position on the ignition key
switch, be sure to turn the unit off by pressing
(OFF) for two seconds to avoid car battery wear.
The hour indication flashes.
2 Press either side of (DISC/PRST) to set
How to use the menu
the hour.
This unit is operated by selecting items from a
menu.
To select, first enter the menu mode and
choose up/down ((+)/(–) of (DISC/PRST)), or
choose left/right ((–)/(+) of (SEEK/AMS)).
3 Press the (+) side of (SEEK/AMS).
(DISC/PRST)
(+): to select upwards
SOURCE
The minute indication flashes.
4 Press either side of (DISC/PRST) to set
(–): to select downwards
the minute.
(SEEK/AMS)
(–): to select
(+): to select
2 Press (ENTER).
leftwards
SOURCE
rightwards
Note
The clock starts.
In Menu mode the “v” in the left of the display
indicates the selectable buttons of (DISC/PRST)
After the clock setting is completed, the
and (SEEK/AMS).
display returns to normal play mode.
Tip
You can set the clock automatically with the RDS
feature (see page 17).
Note
When the D.INFO mode is set to ON, the time is
always displayed, provided that the M.DSPL is set
to OFF (page 24).
8

When the last track on the MD is
MD Player
over
CD/MD Unit (optional)
The track number indication returns to “1,”
and playback restarts from the first track of the
MD.
In addition to playing an MD with this unit
alone, you can also control external CD/MD
To Press
units.
Stop playback (OFF)
If you connect an optional CD unit with the
CD TEXT function, the CD TEXT information
Eject the MD (OPEN) then Z
will appear in the display when you play a CD
TEXT disc.
Playing a CD or MD
(with an optional CD/MD unit)
1 Press (SOURCE) repeatedly to select
“CD“ or “MD.“
Listening to an MD
(with this unit only)
2 Press (MODE) until the desired unit
appears.
1 Press (OPEN) and insert the MD.
CD/MD playback starts.
Labelled side up
All the discs in the current CD/MD unit is
played from the top.
Z
Changing the display item
Each time you press (DSPL/PTY) during MD,
CD, or CD TEXT disc playback, the item
changes as follows:
V
1
Disc number*
/Track number/
2 Close the front panel.
Elapsed playback time
Playback starts automatically.
V
2
3
Disc name*
/Artist name*
If an MD is already inserted, press (SOURCE)
repeatedly until “MD” appears to start
V
playback.
4
Track name*
V
The title of the MD* and the track title will
5
FM1 frequency or station name*
appear in the display window, then the
playing time will appear.
MD indication
*
1
While an optional CD/MD unit is connected.
*
2
If you have not labelled the CD or CD TEXT disc
(“Labelling a CD” on page 12), or if there is no
disc name prerecorded on the MD, “DISC“ and
“NO NAME” appear in the display.
*
3
If you play a CD TEXT disc, the artist name
appears in the display after the disc name. (Only
Elapsed playing timeTrack number
for CD TEXT discs with the artist name.)
*
4
If the track name of a CD TEXT disc or MD is not
prerecorded, “TRACK“ and “NO NAME” appear
* Only if these titles are prerecorded on the MD.
in the display.
*
5
While the AF/TA function is activated.
9

After you select the desired item, the display
Locating a specific track
will automatically change to the Motion
— Automatic Music Sensor (AMS)
Display mode after a few seconds.
In the Motion Display mode, all the items are
During playback, press either side of
scrolled in the display one by one in order.
(SEEK/AMS) momentarily for each track
you want to skip.
Note
If you use personalised labels, they will always
take priority over the original CD TEXT
To locate
To locate
information when such information is
preceding
succeeding
SOURCE
tracks
tracks
displayed.
Tip
The Motion Display mode can be turned off. (See
“Changing the sound and display settings” on
page 24).
Locating a specific point in a track
— Manual Search
Automatically scrolling a disc name
During playback, press and hold either
— Auto Scroll
side of (SEEK/AMS). Release when you
If the disc name, artist name, or track name on
have found the desired point.
an MD or a CD TEXT disc exceeds 8 characters
and the Auto Scroll function is on, information
automatically scrolls across the display as
To search
To search
follows:
backward
SOURCE
forward
• The disc name appears when the disc has
changed (if the disc name is selected as the
display item).
• The track name appears when the track has
changed (if the track name is selected as the
Note
display item).
If “
” or “ ” appears in the
• The disc or track name appears depending on
display, you have reached the beginning or the
the setting when you press (SOURCE) to select
end of the disc and you cannot go any further.
an MD or CD TEXT disc.
If you press (DSPL/PTY) to change the display
Locating a disc
item, the disc or track name of the MD or CD
— Disc Selection
TEXT disc is scrolled automatically whether
you set the function on or off.
When an optional CD/MD unit is
connected, press either side of
(DISC/PRST) to select the desired disc.
1 During playback, press (MENU).
The desired disc in the current optional
CD/MD unit begins playback.
2 Press either side of (DISC/PRST)
repeatedly until “A.SCRL-OFF” appears.
3 Press the (+) side of (SEEK/AMS) to select
“A.SCRL-ON.”
4 Press (ENTER).
To cancel Auto Scroll, select “A.SCRL-OFF” in
step 3.
Note
For some CD TEXT discs with very many characters,
the following cases may happen:
— Some of the characters are not displayed.
— Auto Scroll does not work.
10

Playing tracks repeatedly
Playing tracks in random
— Repeat Play
order — Shuffle Play
The MD in the main unit will automatically
You can select:
repeat itself when it reaches the end. As repeat
•SHUF-1 — to play the tracks on the current
play, you can select:
disc in random order.
•REP-1 — to repeat a track.
•SHUF-2 — to play the tracks in the current
•REP-2 — to repeat a disc in the optional CD/
optional CD/MD unit in random order.
MD unit.
•SHUF-ALL — to play all the tracks in all the
optional CD/MD units in random order.
During playback, press (1) (REP)
repeatedly until the desired setting
During playback, press (2) (SHUF)
appears in the display.
repeatedly until the desired setting
B REP-1 B REP-2*
appears in the display.
B SHUF-1 B SHUF-2* B SHUF-ALL*
REP-OFF b
* “REP-2” is only available when you connect
SHUF-OFF b
one or more optional MD units, or when you
* “SHUF-2” and “SHUF-ALL” are only available
connect two or more optional CD units.
when you connect one or more optional MD
PTY
units, or when you connect two or more
DSPL
optional CD units.
LIST
PTY
DSPL
-
SEEK/AMS
LIST
ENTER
REP SHUF
-
SEEK/AMS
MODE
1 2 3 4 56
ENTER
REP SHUF
MODE
1 2 3 4 56
Repeat Play starts.
To return to normal play mode, select “REP-
Shuffle Play starts.
OFF”.
To return to normal play mode, select “SHUF-
OFF”.
11

5 To return to normal CD play mode, press
Labelling a CD — Disc Memo
(ENTER).
(For a CD unit with the CUSTOM FILE
Tips
function)
• To erase or correct a name, enter “_” (under-bar)
for each character.
You can label each disc with a personalised
• There is another way to start labelling a CD. Press
name. You can enter up to eight characters for
(LIST) for two seconds instead of steps 2 and 3.
a disc. If you label a CD, you can locate the
You can also complete the operation by pressing
disc by name (page 13) and select the specific
(LIST) for two seconds instead of step 5.
• You can label CDs on a unit without the CUSTOM
tracks for playback (page 14).
FILE function if that unit is connected along with
a CD unit that has the function. The disc name
1 Start playing the disc you want to label.
will be stored in the memory of the CD unit with
the CUSTOM FILE function.
2 Press (MENU), then press either side of
(DISC/PRST) repeatedly until ”NAME
Displaying the disc memo
EDIT” appears.
Press (DSPL/PTY) during CD or CD TEXT
disc playback.
3 Press (ENTER).
Name edit mode
Each time you press (DSPL/PTY) during CD
or CD TEXT disc playback, the item
The unit will repeat the disc during the
changes as follows:
labelling procedure.
V
4 Enter the characters.
1
Disc number*
/Track number/
1 Press the (+) side of (DISC/PRST)
Elapsed playback time
repeatedly to select the desired
V
characters.
Disc memo name
(A t B t C t ··· Z t 0 t 1 t 2 t
··· 9 t + t – t * t / t \ t > t <
V
t . t _ )
2
Track name*
V
3
FM1 frequency or station name*
If you press the (–) side of (DISC/PRST)
1
*
While an optional CD unit is connected.
repeatedly, the characters will appear in
2
*
If you connect an optional CD unit with the
reverse order.
CD TEXT function, the CD TEXT information
If you want to put a blank space
will appear in the display when you play a
between characters, select “_” (under-
CD TEXT disc.
3
bar).
*
While the AF/TA function is activated.
2 Press the (+) side of (SEEK/AMS) after
locating the desired character.
The next character flashes.
If you press the (–) side of (SEEK/AMS),
the previous character flashes.
3 Repeat steps 1 and 2 to enter the
entire name.
12

Erasing the disc memo
Locating a disc by name
1 Press (SOURCE) repeatedly to select
“CD.“
— List-up (For a CD unit with the CD TEXT
function/CUSTOM FILE function, or an MD
2 Press (MODE) repeatedly to select the CD
unit)
unit with the CUSTOM FILE function.
You can use this function for discs that have
been assigned custom names or for CD TEXT
3 Press (MENU), then press either side of
discs.
(DISC/PRST) repeatedly until “NAME
You can locate the disc by
DEL” appears.
— its custom name: when you assign a name
for a CD or an MD using a CD unit with the
CUSTOM FILE function or an MD unit.
4 Press (ENTER).
(For information on disc names, see
“Labelling a CD” on page 12).
5 Press either side of (DISC/PRST)
— the CD TEXT information: when you play a
repeatedly to select the disc name you
CD TEXT disc on a CD unit with the CD
want to erase.
TEXT function.
6 Press (ENTER) for two seconds.
1 Press (LIST).
The name is erased.
The name assigned to the current disc
Repeat steps 5 and 6 if you want to erase
appears in the display.
other names.
7 Press (MENU) twice.
The unit returns to normal CD play mode.
Notes
When you assign a disc memo name to a
• To erase the disc memo, play a CD on the CD unit
CD TEXT disc, it takes priority over the
in which the disc memo you want to erase is
original CD TEXT information.
stored.
• When a personalised label for a CD TEXT disc is
2 Press either side of (DISC/PRST)
erased, the original CD TEXT information will
appear on the display.
repeatedly until you find the desired
disc.
3 Press (ENTER) to play the disc.
Notes
• When using the card remote commander, press
(LIST) to return to normal play mode. When
operating just by the unit’s button, the display
returns to normal play mode after 5 seconds.
• The track names are not displayed during MD or
CD TEXT disc playback.
• If there are no discs in the CD/MD unit, “NO
DISC” appears in the display.
• If a disc has not been assigned a custom name,
“********” appears on the display.
• Some letters cannot be displayed during MD or
CD TEXT disc playback.
• If the disc information has not been read yet by
the unit, “NOT READ” is displayed.
13

Playing specific tracks only
Selecting specific tracks
You can select:
•“BANK-ON” — to play the tracks with the
for playback
“PLAY” setting.
— Bank
•“BANK-INV” (Inverse) — to play the tracks
(For a CD unit with the CUSTOM FILE
with the “SKIP” setting.
function)
1 During playback, press (MENU), then
If you label the disc, you can set the unit to
press either side of (DISC/PRST)
skip or play the tracks of your choice.
repeatedly until “BANK-ON,” “BANK-
INV,” or “BANK-OFF” appears.
1 Start playing the disc you want to label.
2 Press the (+) side of (SEEK/AMS)
2 Press (MENU), then press either side of
repeatedly until the desired setting
(DISC/PRST) repeatedly until “BANK SEL”
appears.
appears.
B BANK-ON B BANK-INV
3 Press (ENTER).
BANK-OFF b
Bank edit mode
3 Press (ENTER).
4 Label the tracks.
Playback starts from the track following the
1 Press either side of (SEEK/AMS)
current one.
repeatedly to select the track you want
to label.
To return to normal play mode, select “BANK-
OFF” in step 2.
2 Press (ENTER) repeatedly to select
“PLAY” or “SKIP.”
5 Repeat step 4 to set “PLAY” or “SKIP” for
all the tracks.
6 Press (MENU) twice.
The unit returns to normal CD play mode.
Notes
• You can set “PLAY” and “SKIP” for up to 24
tracks.
• You cannot set “SKIP” for all the tracks on a CD.
14

Memorising only the
Radio
desired stations
You can preset up to 18 FM stations (6 each for
FM1, FM2, and FM3), up to 6 MW stations,
and up to 6 LW stations in the order of your
Memorising stations
choice.
automatically
1 Press (SOURCE) repeatedly to select the
— Best Tuning Memory (BTM)
tuner.
The unit selects the stations with the strongest
signals and memorises them in the order of
2 Press (MODE) repeatedly to select the
their frequencies. You can store up to 6 stations
band.
on each band (FM1, FM2, FM3, MW, and LW).
Caution
3 Press either side of (SEEK/AMS) to tune
When tuning in stations while driving, use
in the station that you want to store on
Best Tuning Memory to prevent accidents.
the number button.
1 Press (SOURCE) repeatedly to select the
4 Press the desired number button ((1) to
tuner.
(6)) for two seconds until “MEM”
Each time you press (SOURCE), the source
appears.
changes as follows:
The number button indication appears in
the display.
B Tuner B CD* B MD
Note
* If the corresponding optional equipment is
If you try to store another station on the same
not connected, this item will not appear.
number button, the previously stored station will
be erased.
2 Press (MODE) repeatedly to select the
band.
Each time you press (MODE), the band
changes as follows:
B FM1 B FM2 B FM3
LW b MW b
3 Press (MENU), then press either side of
(DISC/PRST) repeatedly until “BTM”
appears.
4 Press (ENTER).
The unit stores stations in the order of their
frequencies on the number buttons.
A beep sounds when the setting is stored.
Notes
• The unit does not store stations with weak
signals. If only a few stations can be received,
some number buttons will retain their former
setting.
• When a number is indicated in the display, the
unit starts storing stations from the one currently
displayed.
• If an MD is not in the unit, only the tuner band
appears even if you press (SOURCE).
15

If FM stereo reception is poor
Receiving the memorised
— Monaural Mode
stations
1 During radio reception, press (MENU),
then press either side of (DISC/PRST)
repeatedly until “MONO-OFF” appears.
1 Press (SOURCE) repeatedly to select the
tuner.
2 Press the (+) side of (SEEK/AMS) until
“MONO-ON“ appears.
2 Press (MODE) repeatedly to select the
The sound improves, but becomes
band.
monaural (“ST” disappears).
3 Press the number button ((1) to (6)) on
3 Press (ENTER).
which the desired station is stored.
To return to normal mode, select
Tip
“MONO-OFF” in step 2.
Press either side of (DISC/PRST) to receive the
stations in the order they are stored in the
memory (Preset Search Function).
If you cannot tune in a preset
station
Press either side of (SEEK/AMS) to search
for the station (automatic tuning).
Scanning stops when the unit receives a
station. Press either side of (SEEK/AMS)
repeatedly until the desired station is
received.
Note
If the automatic tuning stops too frequently, press
(MENU), then press either side of (DISC/PRST)
repeatedly until “LOCAL” (local seek mode) is
displayed. Then press the (+) side of (SEEK/AMS) to
select “LOCAL-ON.” Press (ENTER).
Only the stations with relatively strong signals will
be tuned in.
Tips
• When you select the “LOCAL-ON” setting,
“L.SEEK” appears while the unit is searching for
a station.
• If you know the frequency of the station you
want to listen to, press and hold either side of
(SEEK/AMS) until the desired frequency appears
(manual tuning).
16

Tip
The Motion Display mode can be turned off. (See
“Changing the sound and display settings” on
RDS
page 24.)
Note
“NO NAME” appears if the received station does
not transmit RDS data.
Overview of the RDS
function
Radio Data System (RDS) is a broadcasting
Retuning the same
service that allows FM stations to send
programme automatically
additional digital information along with the
regular radio programme signal. Your car
— Alternative Frequencies (AF)
stereo offers you a variety of services. Here are
The Alternative Frequencies (AF) function
just a few: retuning the same programme
automatically selects and retunes the station
automatically, listening to traffic
with the strongest signal in a network. By
announcements, and locating a station by
using this function, you can continuously
programme type.
listen to the same programme during a long-
Notes
distance drive without having to retune the
• Depending on the country or region, not all of
station manually.
the RDS functions are available.
Frequencies change automatically.
• RDS may not work properly if the signal strength
is weak or if the station you are tuned to is not
transmitting RDS data.
98.5MHz
96.0MHz
Displaying the station
Station
name
The name of the current station lights up in the
102.5MHz
display.
Select an FM station (page 16).
1 Select an FM station (page 16).
When you tune in an FM station that
transmits RDS data, the station name
2 Press (AF) repeatedly until “AF-ON”
appears in the display.
appears.
The unit starts searching for an alternative
station with a stronger signal in the same
network.
Note
The “*” indication means that an RDS station is
being received.
Changing the displayed item
Each time you press (DSPL/PTY), the item
changes as follows:
Station Name (Frequency) y PTY data
After you select the desired item, the display
will automatically change to the Motion
Display mode after a few seconds.
In the Motion Display mode, all the items are
scrolled in the display one by one in order.
17

Notes
Local link function
• When there is no alternative station in the area
(United Kingdom only)
and you do not need to search for an alternative
station, turn the AF function off by pressing
The Local Link function lets you select other
(AF) repeatedly until “AF-OFF” appears.
local stations in the area, even if they are not
• When “NO AF” and the station name flash
stored on your number buttons.
alternately, it means that the unit cannot find an
alternative station in the network.
• If the station name starts flashing after selecting
1 Press a number button that has a local
a station with the AF function on, this indicates
station stored on it.
that no alternative frequency is available. Press
either side of (SEEK/AMS) while the station name
is flashing (within eight seconds). The unit starts
2 Within five seconds, press the number
searching for another frequency with the same PI
button of the local station again.
(Programme Identification) data (“PI SEEK”
appears and no sound is heard). If the unit
cannot find another frequency, “NO PI” appears,
3 Repeat this procedure until the desired
and the unit returns to the previously selected
local station is received.
frequency.
Listening to a regional programme
The “REG-ON” (regional on) function lets you
Listening to traffic
stay tuned to a regional programme without
being switched to another regional station.
announcements
(Note that you must turn the AF function on.)
The unit is factory preset to “REG-ON,” but if
The Traffic Announcement (TA) and Traffic
you want to turn off the function, do the
Programme (TP) data lets you automatically
following.
tune in an FM station that is broadcasting
traffic announcements even if you are listening
1 During radio reception, press (MENU),
to other programme sources.
then press either side of (DISC/PRST)
repeatedly until “REG” appears.
Press (TA) repeatedly until “TA-ON”
appears.
2 Press the (+) side of (SEEK/AMS) until
The unit starts searching for traffic
“REG-OFF” appears.
information stations. “TP” appears in the
display when the unit finds a station
broadcasting traffic announcements.
3 Press (ENTER).
When the traffic announcement starts,
Note that selecting “REG-OFF” might cause
“TA” flashes. The flashing stops when the
the unit to switch to another regional
traffic announcement is over.
station within the same network.
Tip
To return to regional on, select “REG-ON” in
If the traffic announcement starts while you are
step 2.
listening to another programme source, the unit
automatically switches to the announcement and
Note
goes back to the original source when the
This function does not work in the United
announcement is over.
Kingdom and in some other areas.
18

Notes
• “NO TP” flashes for five seconds if the received
Presetting the RDS
station does not broadcast traffic
announcements. Then, the unit starts searching
stations with the AF and
for a station that broadcasts it.
• When “EON” appears with “TP” in the display,
TA data
the current station makes use of broadcast traffic
announcement of other stations in the same
network.
When you preset RDS stations, the unit stores
each station’s data as well as its frequency, so
you don’t have to turn on the AF or TA
To cancel the current traffic
function every time you tune in the preset
announcement
station. You can select a different setting (AF,
TA, or both) for individual preset stations, or
Press (TA), (SOURCE) or (MODE).
the same setting for all preset stations.
To cancel all traffic announcements, turn off
the function by pressing (TA) until “TA-
Presetting the same setting for all
OFF” appears.
preset stations
Presetting the volume of traffic
1 Select an FM band (page 15).
announcements
You can preset the volume level of the traffic
2 Press (AF) and/or (TA) to select “AF-ON”
announcements beforehand so you won’t miss
and/or “TA-ON.”
the announcement. When a traffic
Note that selecting “AF-OFF” or “TA-OFF”
announcement starts, the volume will be
stores not only RDS stations, but also
automatically adjusted to the preset level.
non-RDS stations.
1 Turn the volume control dial to adjust
3 Press (MENU), then press either side of
the desired volume level.
(DISC/PRST) repeatedly until “BTM”
appears.
2 Press (TA) for two seconds.
“TA” appears and the setting is stored.
4 Press the (+) side of (SEEK/AMS) until
“BTM” flashes.
Receiving emergency
5 Press (ENTER).
announcements
If an emergency announcement comes in while
you are listening to the radio, the programme
Presetting different settings for
will be automatically switched to it. If you are
each preset station
listening to a source other than the radio, the
emergency announcements will be heard if
1 Select an FM band, and tune in the
you set AF or TA to ON. The unit will then
desired station (page 16).
automatically switch to these announcements
no matter which source you are listening to at
2 Press (AF) and/or (TA) to select “AF-ON”
the time.
and/or “TA-ON.”
3 Press the desired number button until
“MEM” appears.
Repeat from step 1 to preset other stations.
19

1 Press (DSPL/PTY) during FM reception
Locating a station by
until “PTY” appears.
programme type
You can locate the station you want by
selecting one of the programme types shown
The current programme type name appears
below.
if the station is transmitting the PTY data.
“- - - - -” appears if the received station is
Programme types Display
not an RDS station, or if the RDS data has
News NEWS
not been received.
Current Affairs AFFAIRS
Information INFO
2 Press (DISC/PRST) repeatedly until the
Sports SPORT
desired programme type appears.
The programme types appear in the order
Education EDUCATE
shown in the above table. Note that you
Drama DRAMA
cannot select “NONE” (Not specified) for
Culture CULTURE
searching.
Science SCIENCE
Varied VARIED
Popular Music POP M
Rock Music ROCK M
Easy Listening EASY M
3 Press (ENTER).
The unit starts searching for a station
Light Classical LIGHT M
broadcasting the selected programme type.
Classical CLASSICS
Other Music Type OTHER M
Weather WEATHER
Finance FINANCE
Children’s Programmes CHILDREN
Social Affairs SOCIAL A
Religion RELIGION
Phone In PHONE IN
Travel TRAVEL
Leisure LEISURE
Jazz Music JAZZ
Country Music COUNTRY
National Music NATION M
Oldies Music OLDIES
Folk Music FOLK M
Documentary DOCUMENT
Not specified NONE
Note
You cannot use this function in some countries
where no PTY (Programme Type selection) data is
available.
20

Setting the clock
Other Functions
automatically
The CT (Clock Time) data from the RDS
You can also control the unit with a rotary
transmission sets the clock automatically.
commander (optional).
1 During radio reception, press (MENU),
then press either side of (DISC/PRST)
repeatedly until “CT” appears.
Labelling the rotary
commander
Depending on how you mount the rotary
commander, attach the appropriate label as
shown in the illustration below.
2 Press the (+) side of (SEEK/AMS)
repeatedly until “CT-ON” appears.
The clock is set.
SOUND
MODE
DSPL
3 Press (ENTER) to return to the normal
display.
To cancel the CT function
Select “CT-OFF” in step 2.
DSPL
MODE
Notes
SOUND
• The CT function may not work even though an
RDS station is being received.
• There might be a difference between the time
set by the CT function and the actual time.
21

By rotating the control
Using the rotary
(the SEEK/AMS control)
commander
The rotary commander works by pressing
buttons and/or rotating controls.
You can also control an optional CD/MD unit
with the rotary commander.
By pressing buttons
(the SOURCE and MODE buttons)
Rotate the control momentarily and
release it to:
•Locate a specific track on a disc. Rotate
(SOURCE)
and hold the control until you locate the
specific point in a track, then release it to
start playback.
•Tune in stations automatically. Rotate and
hold the control to find a specific station.
(MODE)
By pushing in and rotating the
control (the PRESET/DISC control)
Each time you press (SOURCE), the
source changes as follows:
Tuner t CD* t MD
* If the corresponding optional equipment is
not connected, this item will not appear.
Pressing (MODE) changes the operation
in the following ways:
• Tuner: FM1 t FM2 t FM3 t MW t LW
• CD unit*: CD1 t CD2 t …
• MD unit*: MD1 t MD2 t …
Push in and rotate the control to:
* If the corresponding optional equipment is
•Receive the stations memorised on the
not connected, these items will not appear.
number buttons.
•Change the disc.
22

Other operations
Rotate the VOL control to
Adjusting the sound
adjust the volume.
Press (ATT) to
characteristics
attenuate the
sound.
You can adjust the bass, treble, balance, and
fader.
You can store the bass and treble levels
OFF
independently for each source.
Press (OFF) to
turn off the unit.
1 Select the item you want to adjust by
pressing (SOUND) repeatedly.
Each time you press (SOUND), the item
Press (SOUND) to
changes as follows:
adjust the volume and
BAS (bass) t TRE (treble) t BAL (left-right)
sound menu.
t FAD (front-rear)
2 Adjust the selected item by pressing
either side of (SEEK/AMS).
Press (DSPL) to display
When adjusting with the rotary
the memorised names.
commander, press (SOUND) and rotate the
Tip
VOL control.
If your car has no ACC (accessory) position on the
ignition key switch, be sure to press (OFF) for two
Note
seconds to turn off the clock indication after
Adjust within three seconds after selecting the
turning off the engine.
item.
Changing the operative direction
The operative direction of controls is factory-
set as shown below.
To increase
To decrease
If you need to mount the rotary commander on
the right hand side of the steering column, you
can reverse the operative direction.
Press (SOUND) for two seconds while
pushing the VOL control.
Tip
You can also change the operative direction of
these controls with the unit (see “Changing the
sound and display settings” on page 24).
23

1 Press (MENU).
Attenuating the sound
(With the rotary commander or the card
2 Press either side of (DISC/PRST) repeatedly
until the desired item appears.
remote commander)
Each time you press the (–) side of
(DISC/PRST), the item changes as follows:
Press (ATT) on the rotary commander or
card remote commander.
CLOCK t CT t BEEP t RM t D.INFO t
1
2
“ATT-ON” lights up for a while.
DIMMER*
t M.DSPL t A.SCRL*
1
To restore the previous volume level, press
*
MDX-C6500RV only
2
(ATT) again.
*
When no CD is playing on a unit with the CD
TEXT function or no MD is playing, this item
will not appear.
Tip
When the interface cable of a car telephone is
connected to the ATT lead, the unit decreases the
Note
volume automatically when a telephone call comes
The displayed item will differ depending on
in (Telephone ATT function). (MDX-C6500RX/
the source.
C6500RV/C6500R only)
Tip
You can easily switch among categories (“SET“,
“DIS“, “P/M“ (play mode), and “EDT“ (edit
mode)) by pressing either side of (DISC/PRST)
for two seconds.
Changing the sound and
display settings
3 Press the (+) side of (SEEK/AMS) to select
the desired setting (Example: ON or OFF).
The following items can be set:
SET (setting)
4 Press (ENTER).
•CLOCK (page 8)
After the mode setting is completed, the
•CT (Clock Time) (page 21)
display returns to normal play mode.
•BEEP — to turn the beeps on or off.
•RM (Rotary Commander) — to change the
operative direction of the controls of the
rotary commander.
— Select “NORM” to use the rotary
commamder as the factory-set position.
— Select “REV” when you mount the rotary
commander on the right side of the
steering column.
DIS (display)
•D.INFO (Dual Information) — to display the
clock and the play mode at the same time
(ON).
•DIMMER — to dim the display (ON) or not
(OFF). (MDX-C6500RV only)
•M.DSPL (Motion Display) — to turn the
motion display on or off.
•A.SCRL (Auto Scroll) (page 10)
Note
If you connect an optional power amplifier and do
not use the built-in amplifier, the beep sound will
be disabled.
24

Additional
Boosting the bass sound
Information
— D-bass
You can enjoy a clear and powerful bass
sound.
The D-bass function boosts the low and high
Maintenance
frequency signal with a sharper curve than
conventional bass boost.
Fuse replacement
You can hear the bass line more clearly even
while the vocal volume remains the same. You
When replacing the fuse, be sure to use one
can emphasize and adjust the bass sound
matching the amperage rating stated on the
easily with the D-BASS button.
original fuse. If the fuse blows, check the
power connection and replace the fuse. If the
D-BASS 3
fuse blows again after replacement, there may
D-BASS 2
be an internal malfunction. In such a case,
Level
D-BASS 1
D-BASS 3
consult your nearest Sony dealer.
D-BASS 2
D-BASS 1
0dB
Frequency (Hz)
Adjusting the bass curve
Fuse (10 A)
Press (D-BASS) repeatedly until the
desired bass level appears in the display.
B D.BASS 1 B D.BASS 2 B D.BASS 3
Warning
Never use a fuse with an amperage rating
D.BASS-OFF b
exceeding the one supplied with the unit as
this could damage the unit.
To cancel, select “D.BASS-OFF.”
Note
If the bass sound becomes distorted, select a less
effective setting of “D.BASS” or adjust the volume.
25

Cleaning the connectors
Replacing the lithium battery
The unit may not function properly if the
When the battery becomes weak, the range of
connectors between the unit and the front
the card remote commander becomes shorter.
panel are not clean. In order to prevent this,
Replace the battery with a new CR2025 lithium
open the front panel by pressing (OPEN), then
battery.
detach it and clean the connectors with a
cotton swab dipped in alcohol. Do not apply
too much force. Otherwise, the connectors may
be damaged.
x
Main unit
+ side up
Back of the front panel
Notes
• For safety, turn off the engine before cleaning
the connectors, and remove the key from the
ignition switch.
• Never touch the connectors directly with your
Notes on lithium battery
fingers or with any metal device.
•Keep the lithium battery out of the reach of
children. Should the battery be swallowed,
immediately consult a doctor.
•Wipe the battery with a dry cloth to assure a
good contact.
•Be sure to observe the correct polarity when
installing the battery.
•Do not hold the battery with metallic
tweezers, otherwise a short-circuit may
occur.
WARNING
Battery may explode if mistreated.
Do not recharge, disassemble, or dispose of
in fire.
26

5 Slide the unit out of its mounting.
Dismounting the unit
1 After taking off the front panel, press
the clip inside the front cover with a thin
screwdriver, and gently pry the front
cover free.
2 Repeat step 1 for the right side.
The front cover is removed.
3 Use a thin screwdriver to push in the clip
on the left side of the unit, then pull out
the left side of the unit until the catch
clears the mounting.
4 mm
4 Repeat step 3 for the right side.
27

Specifications
MD player section
General
1
Signal-to-noise ratio 90 dB
Outputs Audio outputs*
Frequency response 10 – 20,000 Hz
Power aerial relay control
Wow and flutter Below measurable limit
lead
Power amplifier control
lead
Tuner section
Telephone ATT control
2
FM
lead*
Tuning range 87.5 – 108.0 MHz
Tone controls Bass ±9 dB at 100 Hz
Aerial terminal External aerial connector
Treble ±9 dB at 10 kHz
Intermediate frequency 10.7 MHz/450 kHz
Power requirements 12 V DC car battery
Usable sensitivity 8 dBf
(negative ground)
Selectivity 75 dB at 400 kHz
Dimensions Approx. 178 × 50 × 183 mm
Signal-to-noise ratio 66 dB (stereo),
(w/h/d)
72 dB (mono)
Mounting dimensions Approx. 182 × 53 × 162 mm
Harmonic distortion at 1 kHz
(w/h/d)
0.6 % (stereo),
Mass Approx. 1.2 kg
0.3 % (mono)
Supplied accessories Parts for installation and
Separation 35 dB at 1 kHz
connections (1 set)
Frequency response 30 – 15,000 Hz
Front panel case (1)
Optional accessories Rotary commander
MW/LW
RM-X4S
Tuning range MW: 531 – 1,602 kHz
Card remote commander
LW: 153 – 279 kHz
RM-X91
Aerial terminal External aerial connector
BUS cable (supplied with
Intermediate frequency 10.7 MHz/450 kHz
an RCA pin cord)
Sensitivity MW: 30 µV
RC-61 (1 m), RC-62 (2 m)
LW: 40 µV
Optional equipment CD changer (10 discs)
CDX-828, CDX-737
MD changer (6 discs)
Power amplifier section
MDX-65
Outputs Speaker outputs
Source selector
(sure seal connectors)
XA-C30
Speaker impedance 4 – 8 ohms
1
Maximum power output 50 W × 4 (at 4 ohms)
*
Equipped with front and rear outputs:
MDX-C6500RX/C6500RV/C6500R only
Equipped with rear outputs: MDX-C6400R
2
*
MDX-C6500RX/C6500RV/C6500R only
U.S. and foreign patents licensed from Dolby
laboratories Licensing Corporation.
Design and specifications are subject to change
without notice.
28

Troubleshooting guide
The following checklist will help you remedy the problems you may encounter with your unit.
Before going through the checklist below, check the connection and operating procedures.
General
Problem
Cause/Solution
No sound.
•Cancel the ATT function.
•Set the fader control to the centre position for two-speaker
system.
•Rotate the dial clockwise to adjust the volume.
The contents of the memory
•The power cord or battery has been disconnected.
have been erased.
•The reset button has been pressed.
t Store again into the memory.
Indications do not appear in the
Remove the front panel and clean the connectors. See
display.
“Cleaning the connectors” (page 26) for details.
No beep sound.
•The beep sound is cancelled (page 24).
•If you connect an optional amplifier and do not use the built-
in amplifier, the beep sound will be deactivated.
CD/MD playback
Problem
Cause/Solution
A disc cannot be loaded.
•Another MD is already loaded.
•The MD is forcibly inserted upside down or in the wrong
way.
Playback does not begin.
Defective MD or dirty CD.
A disc is automatically ejected.
The ambient temperature exceeds 50°C.
The operation buttons do not
Press the reset button.
function.
The sound skips due to
•The unit is installed at an angle of more than 20°.
vibration.
•The unit is not installed in a sturdy part of the car.
The sound skips.
A dirty or defective disc.
Cannot turn off the “--------”
You cannot label CDs unless you connect a CD unit with the
indication.
custom file function.
t Press (LIST) for two seconds.
29

Radio reception
Problem
Cause/Solution
Preset tuning is not possible.
•Store the correct frequency in the memory.
•The broadcast signal is too weak.
The stations cannot be received.
Connect a power aerial control lead (blue) or accessory power
The sound is hampered by
supply lead (red) to the power supply lead of a car’s aerial
noises.
booster. (Only when your car has built-in FM/MW/LW aerial
in the rear/side glass.)
Automatic tuning is not
The broadcast signal is too weak.
possible.
t Use manual tuning.
The “ST” indication flashes.
•Tune in the frequency accurately.
•The broadcast signal is too weak.
t Set to the MONO mode (page 16).
RDS
Problem
Cause/Solution
The SEEK starts after a few
The station is non-TP or has weak signal.
seconds of listening.
t Press (AF) or (TA) repeatedly until “AF-OFF” or
“TA-OFF” appears.
No traffic announcements.
•Activate “TA.”
•The station does not broadcast any traffic announcements
despite being TP. t Tune to another station.
PTY displays “NONE.”
The station does not specify the programme type.
30

Error displays (when an optional CD/MD unit is connected)
The following indications will flash for about five seconds, and an alarm sound will be heard.
Display
Cause
Solution
The disc magazine is not inserted in
Insert the magazine in the CD/MD
NO MAG
the CD/MD unit.
unit.
No disc is inserted in the CD/MD
Insert discs in the CD/MD unit.
NO DISC
unit.
A CD/MD cannot play because of
Insert another CD/MD.
NG DISCS
some problem.
A CD is dirty or inserted upside
Clean or insert the CD correctly.
2
down.*
1
*
ERROR
An MD does not playback because of
Insert another MD.
2
some problem.*
1
No tracks have been recorded on an
*
Play an MD with recorded tracks
BLANK
2
MD.*
on it.
The CD/MD unit cannot be operated
Press the reset button on the unit.
RESET
because of some problem.
The lid of the MD unit is open or the
Close the lid or insert the MDs
NO READY
MDs are not inserted properly.
properly.
The ambient temperature is more than
Wait until the temperature goes
HI TEMP
50°C.
down below 50°C.
1
*
When an error occurs during playback of an MD or CD, the disc number of the MD or CD does not
appear in the display.
2
*
The disc number of the disc causing the error appears in the display.
If the above-mentioned solutions do not help improve the situation, consult your nearest Sony
dealer.
31

¡Bienvenido!
Precauciones
Gracias por adquirir el reproductor de
•Si aparca el automóvil bajo la luz solar
minidiscos Sony. Esta unidad permite disfrutar
directa y se produce un considerable
de varias funciones mediante el uso de los
aumento de temperatura en su interior, deje
siguientes accesorios de control:
que la unidad se enfríe antes de utilizarla.
•Si la unidad no recibe alimentación,
Accesorios opcionales
compruebe las conexiones en primer lugar. Si
Mando rotativo RM-X4S
todo está en orden, examine el fusible.
Mando a distancia de tarjeta RM-X91
•Si el automóvil dispone de antena
motorizada, ésta se extenderá
Además de las operaciones de reproducción de
automáticamente durante el funcionamiento
MD y radio, puede ampliar el sistema
de la unidad.
mediante la conexión de unidades opcionales
1
de CD/MD*
.
Si desea realizar alguna consulta o solucionar
Cuando utilice esta unidad o una opcional de
algún problema referentes a la unidad que no
CD conectada con función CD TEXT, la
aparezcan en este manual, póngase en contacto
información de CD TEXT aparecerá en el visor
2
con el proveedor Sony más próximo.
al reproducir discos CD TEXT*
.
1
Condensación de humedad
*
Es posible conectar cambiadores o
reproductores de MD o CD.
En días lluviosos o en zonas muy húmedas, es
2
*
Un disco CD TEXT es un CD de audio que incluye
posible que se condense humedad en las lentes
información, como el nombre del disco, el
del interior de la unidad. Si esto ocurre, ésta no
nombre del artista y los nombres de los temas.
funcionará correctamente. En este caso,
Esta información está grabada en el disco.
extraiga el disco y espere una hora
aproximadamente hasta que se haya
evaporado la humedad.
Para mantener una alta calidad de
sonido
Si hay soportes para bebidas cerca del equipo
de audio, tenga cuidado de no salpicar zumos
y demás bebidas suaves sobre la unidad y el
MD. Los residuos azucarados en la unidad o
en el MD pueden ensuciar las lentes del
interior de dicha unidad, reducir la calidad de
sonido o impedir la reproducción de éste.
2

Notas sobre la adhesión de
Notas sobre los MD
etiquetas
Asegúrese de adherir correctamente las
Puesto que el disco está alojado en un
etiquetas en los cartuchos, ya que en caso
cartucho, libre de contactos accidentales de
contrario puede hacer que el MD se atasque en
dedos y polvo, los minidiscos pueden soportar
la unidad.
cierto grado de tratos bruscos. No obstante, la
existencia de suciedad o polvo en la superficie
•Adhiera la etiqueta en una posición
del cartucho o un cartucho deformado pueden
adecuada.
causar fallos de funcionamiento. Tenga en
•Retire las etiquetas viejas antes de montar
cuenta lo siguiente para obtener resultados
otras nuevas.
óptimos.
•Sustituya las etiquetas que comiencen a
despegarse del MD.
No toque nunca la superficie del propio
disco abriendo deliberadamente el
obturador del cartucho.
Al expulsar el MD, el obturador puede
abrirse. En tal caso, cierre el obturador
inmediatamente.
No exponga el MD a la luz solar directa ni a
fuentes térmicas como conductos de aire
caliente. No lo deje en un automóvil aparcado
bajo la luz solar directa, ya que puede
producirse un considerable aumento de
temperatura en su interior.
Asegúrese de que no lo deja en el salpicadero
Limpieza
ni en la bandeja trasera de un automóvil, etc.,
Limpie periódicamente la superficie del
donde la temperatura puede igualmente ser
cartucho con un paño seco y suave.
excesiva.
3

Indice
Localización de los controles .............................. 5
Otras funciones
Etiquetado del mando rotativo ........................ 21
Procedimientos iniciales
Uso del mando rotativo..................................... 22
Restauración de la unidad .................................. 7
Ajuste de las características de sonido ............ 23
Extracción del panel frontal................................ 7
Atenuación del sonido ...................................... 24
Activación/desactivación de la unidad............ 8
Cambio de los ajustes de sonido y
Utilización del menú ........................................... 8
visualización .................................................. 24
Ajuste del reloj ...................................................... 8
Refuerzo de los graves
— D-bass ........................................................ 25
Reproductor de MD
Unidad de CD/MD (opcional)
Información complementaria
Reproducción de un MD..................................... 9
Mantenimiento ................................................... 25
Reproducción repetida de temas
Desmontaje de la unidad .................................. 27
— Reproducción repetida ............................ 11
Especificaciones.................................................. 28
Reproducción de temas en orden aleatorio —
Guía de solución de problemas........................ 29
Reproducción aleatoria ................................ 11
Asignación de títulos a los discos compactos
— Memorando de discos* ........................... 12
Localización de discos mediante el título
— Función de listado* ................................. 13
Selección de temas específicos para su
reproducción
— Función de banco* ................................... 14
* Funciones disponibles con una unidad opcional
de CD/MD.
Radio
Memorización automática de emisoras
— Memorización de la mejor sintonía
(BTM) .............................................................. 15
Memorización de las emisoras deseadas........ 15
Recepción de emisoras memorizadas ............. 16
RDS
Descripción general de la función RDS .......... 17
Visualización del nombre de la emisora ......... 17
Resintonización automática del mismo
programa
— Frecuencias alternativas (AF)................. 17
Recepción de anuncios de tráfico .................... 18
Programación de emisoras RDS con los datos
AF y TA .......................................................... 19
Localización de emisoras mediante el tipo de
programa........................................................ 20
Ajuste automático del reloj ............................... 21
4

Localización de los controles
PTY
OPEN
D
I
S
C
+
-
P
DSPL
R
S
T
+
MENU
LIST
D-BASS
TA
SOURCE
-
SEEK/AMS
AF
SOUND
ENTER
P
R
S
REP SHUF
T
-
-
D
I
S
C
–
MODE
OFF
1 2 3 4 56
MDX-C6500RX/C6500RV
/C6500R/C6400R
Consulte las páginas indicadas para obtener más información.
1 Dial de control de volumen 19
qf Botones SEEK/AMS –/+ (cursor
izquierda/derecha)
2 Botón MENU 8, 10, 12, 13, 14, 15, 16, 18,
8, 10, 12, 14, 16, 18, 19, 21, 23, 24
19, 21, 24
Sensor de música automático 10, 14
3 Botones DISC/PRST +/– (cursor arriba/
Búsqueda manual 10
abajo)
Búsqueda 15, 16, 18
8, 10, 12, 13, 14, 15, 16, 18, 19, 20, 21, 24
qg Botón ENTER 8, 10, 12, 13, 14, 15, 16,
Durante la reproducción de CD/MD:
18, 19, 20, 21, 24
Cambio de discos 10, 13
qh Botón MODE 19
Durante la recepción de la radio:
Selección de emisoras
Durante la reproducción de CD o de MD:
memorizadas 16
Selección de unidad de CD/MD 9, 13
Durante la recepción de la radio:
4
Botón Z (expulsión) (situado en la parte
Selección de banda (BAND) 15, 16
frontal de la unidad detrás del panel
frontal) 9
qj Receptor para el mando a distancia de
tarjeta
5 Botón DSPL/PTY (cambio del modo de
indicación/tipo de programa) 9, 10, 12,
qk Botones numéricos
17, 20
Durante la recepción de la radio:
Selección de número de memorización
6 Botón LIST 12
15, 16, 18, 19
Listado 13
Durante la reproducción de CD/MD:
7 Botón SOURCE (TUNER/CD/MD)
(1) REP 11
8, 9, 10, 13, 15, 16, 19
(2) SHUF 11
8 Visor
ql Botón AF 17, 18, 19
9 Botón OPEN 7, 9, 26
w; Botón TA 18, 19
q; Botón D-BASS 25
* Advertencia sobre la instalación en un
qa Botón SOUND 23
automóvil que no disponga de
qs Botón de restauración (situado en la
posición ACC (accesorios) en el
parte frontal de la unidad detrás del
interruptor de la llave de encendido
panel frontal) 7
Asegúrese de pulsar (OFF) en la unidad
durante dos segundos para desactivar la
qd Botón OFF* 7, 8, 9
indicación del reloj después de apagar el
motor.
Si pulsa (OFF) sólo momentáneamente, la
indicación del reloj no se desactivará y esto
causará el desgaste de la batería.
5

Localización de los controles
Mando a distancia inalámbrico RM-X91 (opcional)
Los botones correspondientes del
OPEN/CLOSE
mando a distancia inalámbrico
OFF
controlan las mismas funciones que los
de esta unidad.
MENU LIST
DISC
1 Botón OFF
SEEK SEEK
2 Botón MENU
SOURCE
3 Botón SOURCE
4 Botones SEEK/AMS
SOUND
DISC
ENTER
5 Botón SOUND
DSPL MODE
6 Botón DSPL (DSPL/PTY)
VOLATT
7 Botón ATT
8 Botón LIST
9 Botones DISC/PRST
q; Botón ENTER
qa Botón MODE
qs Botones VOL
Notas
• Una unidad cuya alimentación haya desconectado manteniendo pulsado (OFF) durante 2 segundos no
podrá gobernarse con el mando a distancia de tarjeta a menos que pulse (SOURCE) de la unidad, o que
haya insertado un disco para activar en primer lugar la unidad.
• No deje el mando a distancia de tarjeta en un lugar en el que pueda quedar expuesto a la luz solar
directa, como en el salpicadero o en la columna de dirección, etc., ya que dicho mando puede deformarse
debido al calor.
• La grabadora de minidiscos puede no funcionar correctamente con el mando a distancia de tarjeta bajo la
luz solar directa.
6

Fijación del panel frontal
Procedimientos
Coloque el orificio A del panel frontal en el eje
B de la unidad como se ilustra y, a
iniciales
continuación, presione sobre el lado izquierdo
para introducirlo.
Restauración de la unidad
Antes de utilizar la unidad por primera vez o
A
después de sustituir la batería del automóvil,
es necesario restaurar dicha unidad.
B
Extraiga el panel frontal y pulse el botón de
restauración con un objeto puntiagudo, como
por ejemplo un bolígrafo.
Botón de restauración
Nota
Al pulsar el botón de restauración se borrarán los
x
ajustes del reloj y algunas funciones memorizadas.
Extracción del panel
frontal
Es posible extraer el panel frontal de esta
unidad para evitar su robo.
Notas
1 Pulse (OFF).
• Tenga cuidado de no fijar el panel frontal al
revés.
• No ejerza excesiva presión sobre el panel al
2 Pulse (OPEN), deslice el panel frontal
fijarlo a la unidad.
hacia la derecha y tire del lado izquierdo
• No sujete con demasiada fuerza ni presione
del panel.
excesivamente sobre el visor del panel frontal.
• No exponga el panel frontal a fuentes de calor
directas como la luz solar o las salidas de aire
caliente, ni lo deje en lugares húmedos. No lo
deje nunca sobre el salpicadero de un automóvil
aparcado bajo la luz solar directa, ya que podría
producirse un considerable aumento de
temperatura.
1
2
Alarma de precaución
Si gira el interruptor de la llave de encendido
hasta la posición OFF sin haber extraído el
Notas
panel frontal, la alarma de precaución emitirá
• No coloque nada en la superficie interior del
pitidos durante unos segundos.
panel frontal.
Si conecta un amplificador opcional de
• Tenga cuidado para que el panel no se caiga
potencia y no utiliza el incorporado, los pitidos
cuando lo extraiga de la unidad.
se desactivarán.
• Si extrae el panel con la alimentación conectada,
ésta se desconectará automáticamente para
evitar que se dañen los altavoces.
• Para transportar el panel frontal, utilice el
estuche suministrado para este fin.
7

Activación/desactivación
Ajuste del reloj
de la unidad
El reloj dispone de una indicación digital de 24
horas.
Activación de la unidad
Pulse (SOURCE) o inserte un MD en la
Ejemplo: Para ajustar el reloj en 10:08
unidad.
1 Pulse (MENU) y, a continuación,
Para obtener más información sobre el
cualquier lado de (DISC/PRST) varias
funcionamiento, consulte las páginas 9 (MD/
veces hasta que aparezca “CLOCK”.
CD) y 15 (radio).
Desactivación de la unidad
Pulse (OFF) para detener la reproducción de
MD/CD o la recepción de la radio (las teclas
permanecerán iluminadas y el visor
1 Pulse (ENTER).
encendido).
Pulse (OFF) durante dos segundos para
apagar completamente la unidad.
Nota
Los dígitos de la hora parpadean.
Si el automóvil no dispone de posición ACC en la
llave del interruptor de encendido, asegúrese de
2 Pulse cualquier lado de (DISC/PRST)
desactivar la unidad pulsando (OFF) durante dos
para ajustar la hora.
segundos para evitar el desgaste de la batería del
vehículo.
Utilización del menú
3 Pulse el lado (+) de (SEEK/AMS).
Esta unidad se utiliza mediante la selección de
elementos en un menú.
Para realizar la selección, entre primero en el
modo de menú y elija arriba/abajo ((+)/(–) de
(DISC/PRST)) o izquierda/derecha ((–)/(+) de
Los dígitos de los minutos parpadean.
(SEEK/AMS)).
4 Pulse cualquier lado de (DISC/PRST)
para ajustar los minutos.
(DISC/PRST)
(+): para seleccionar hacia
arriba
SOURCE
(–): para seleccionar hacia
2 Pulse (ENTER).
abajo
(SEEK/AMS)
El reloj se pone en funcionamiento.
Una vez finalizado el ajuste del reloj, el
(–): para
(+): para
seleccionar
seleccionar
visor vuelve al modo normal de
SOURCE
hacia la
hacia la
reproducción.
izquierda
derecha
Consejo
Es posible ajustar el reloj automáticamente con la
función RDS (consulte la página 17).
Nota
En el modo de menú, la indicación “v” de la parte
Nota
izquierda del visor muestra los botones de
Cuando el modo D.INFO está ajustado en ON, la
(DISC/PRST) y (SEEK/AMS) que pueden
hora siempre se muestra en tanto M.DSPL esté
seleccionarse.
ajustado en OFF (página 24).
8

Cuando finalice el último tema del
Reproductor de MD
MD
Unidad de CD/MD
La indicación del número de tema volverá a
mostrar el valor “1” y la reproducción volverá
(opcional)
a iniciarse desde el primer tema del MD.
Para Pulse
Además de reproducir el MD con esta unidad,
también puede controlar las unidades externas
Detener la reproducción (OFF)
de CD/MD.
Si conecta una unidad de CD con función CD
Expulsar el MD (OPEN) y después
TEXT, la información CD TEXT aparecerá en el
Z
visor al reproducir discos CD TEXT.
Reproducción de discos compactos
(CD) o de minidiscos (MD)
Reproducción de un MD
(con una unidad opcional de CD/
MD)
(sólo con esta unidad)
1 Pulse (SOURCE) varias veces para
1 Pulse (OPEN) e inserte el MD.
seleccionar “CD” o “MD”.
Con el lado de la etiqueta hacia arriba
2 Pulse (MODE) hasta que aparezca la
unidad que desee.
Z
Se inicia la reproducción de CD/MD.
Todos los discos de la unidad actual de CD/
MD se reproducen desde el principio.
Cambio de los elementos del visor
Cada vez que pulse (DSPL/PTY) durante la
reproducción de MD, CD o CD TEXT, el
2 Cierre el panel frontal.
elemento cambiará de la siguiente forma:
La reproducción se iniciará de forma
automática.
V
1
Número del disco*
/Número del tema/
Si ya se ha insertado un MD, pulse (SOURCE)
Tiempo de reproducción transcurrido
varias veces hasta que aparezca “MD” para
iniciar la reproducción.
V
2
3
Título del disco*
/Nombre del cantante*
El visor mostrará el título del MD* y el del
V
tema y, a continuación, el tiempo de
4
Título del tema*
reproducción.
V
Indicación de MD
Frecuencia o
5
nombre de la emisora de FM1*
*
1
Con una unidad opcional de CD/MD conectada.
*
2
Si no ha asignado título al disco CD o CD TEXT
(“Asignación de títulos a los discos compactos”
Número de tema
Tiempo de reproducción
en la página 12) o si no hay ningún título de
transcurrido
disco registrado en el MD, el visor mostrará
“DISC” y “NO NAME”.
* Solamente si los títulos se han grabado
*
3
Si reproduce un disco CD TEXT, el nombre del
previamente en el MD.
artista aparecerá en el visor después del título
del disco. (Sólo para discos CD TEXT con nombre
del artista.)
*
4
Si el título del tema de un disco CD TEXT o MD
no está previamente registrado, el visor
mostrará “TRACK” y “NO NAME”.
*
5
Con la función AF/TA activada.
9

Una vez seleccionado el elemento deseado, el
Nota
visor cambiará automáticamente al modo de
Con algunos discos CD TEXT con un gran número
de caracteres, pueden producirse las siguientes
desplazamiento de indicaciones después de
situaciones:
unos segundos.
— Algunos de los caracteres no se muestran.
En el modo de desplazamiento de
— La función de desplazamiento automático no
indicaciones, todos los elementos anteriores se
funciona.
desplazan por el visor de uno en uno por
orden.
Localización de un tema específico
Nota
— Sensor de música automático (AMS)
Si utiliza etiquetas personalizadas, siempre
tendrán prioridad sobre la información CD TEXT
Durante la reproducción, pulse cualquier
original al mostrarse dicha información.
lado de (SEEK/AMS) momentáneamente
por cada tema que desee omitir.
Consejo
Es posible desactivar el modo de desplazamiento
de indicaciones. (Consulte “Cambio de los ajustes
de sonido y visualización” en la página 24.)
Para localizar
Para localizar
temas
SOURCE
temas
anteriores
posteriores
Desplazamiento automático del
título de un disco
— Desplazamiento automático
Si el título del disco, el nombre del artista o el
Localización de un punto específico
título del tema de un disco CD TEXT o MD
de un tema — Búsqueda manual
supera los 8 caracteres y la función de
desplazamiento automático está activada, la
Durante la reproducción, pulse y
información se desplazará automáticamente
mantenga pulsado cualquier lado de
por el visor de la siguiente forma:
(SEEK/AMS). Deje de pulsarlo cuando
• El título del disco aparece al cambiar el disco (si
encuentre el punto que desee.
el título del disco se selecciona como elemento
de visualización).
• El título del tema aparece al cambiar el tema (si
el título del tema se selecciona como elemento
Para buscar
Para buscar
SOURCE
de visualización).
hacia atrás
hacia delante
• El título del disco o del tema aparece en función
del ajuste al pulsar (SOURCE) para seleccionar un
MD o un disco CD TEXT.
Nota
Si pulsa (DSPL/PTY) para cambiar el elemento
Si “
” o “ ” aparece en el visor,
mostrado, el título del disco o del tema del MD
significa que ha llegado al principio o al final del
o del disco CD TEXT se desplaza
disco, por lo que no podrá continuar.
automáticamente tanto si activa como si
desactiva la función.
Localización de discos
— Selección de discos
1 Durante la reproducción, pulse (MENU).
Si conecta una unidad opcional de CD/
2 Pulse cualquier lado de (DISC/PRST)
MD, pulse cualquier lado de (DISC/PRST)
varias veces hasta que aparezca “A.SCRL-
para seleccionar el disco deseado.
OFF”.
El disco deseado de la unidad actual de
CD/MD opcional comenzará a
reproducirse.
3 Pulse el lado (+) de (SEEK/AMS) para
seleccionar “A.SCRL-ON”.
4 Pulse (ENTER).
Para cancelar la función de desplazamiento
automático, seleccione “A.SCRL-OFF” en el
paso 3.
10

Reproducción repetida de
Reproducción de temas en
temas — Reproducción repetida
orden aleatorio
— Reproducción aleatoria
El MD de la unidad principal se repetirá
automáticamente al llegar al final. Como
Es posible seleccionar:
reproducción repetida, es posible seleccionar:
•SHUF-1 — para reproducir los temas del
•REP-1 — para repetir un tema.
disco actual en orden aleatorio.
•REP-2 — para repetir el disco que se
•SHUF-2 — para reproducir los temas de la
encuentre en la unidad opcional de CD/MD.
unidad actual de CD/MD en orden aleatorio.
•SHUF-ALL — para reproducir todos los
temas de todas las unidades opcionales de
Durante la reproducción, pulse (1) (REP)
CD/MD en orden aleatorio.
varias veces hasta que el ajuste deseado
aparezca en el visor.
Durante la reproducción, pulse (2)
B REP-1 B REP-2*
(SHUF) varias veces hasta que el ajuste
REP-OFF b
deseado aparezca en el visor.
* Sólo es posible disponer de “REP-2” si conecta
B SHUF-1 B SHUF-2* B SHUF-ALL*
una o más unidades opcionales de MD o dos
o más unidades opcionales de CD.
SHUF-OFF b
PTY
* Sólo es posible disponer de “SHUF-2” y
DSPL
“SHUF-ALL” si conecta una o más unidades
LIST
opcionales de MD o dos o más unidades
opcionales de CD.
-
SEEK/AMS
PTY
ENTER
DSPL
REP SHUF
MODE
1 2 3 4 56
LIST
-
SEEK/AMS
ENTER
Se inicia la reproducción repetida.
REP SHUF
MODE
1 2 3 4 56
Para recuperar el modo de reproducción
normal, seleccione “REP-OFF”.
Se inicia la reproducción en orden aleatorio.
Para recuperar el modo de reproducción
normal, seleccione “SHUF-OFF”.
11

Si pulsa el lado (–) de (SEEK/AMS),
parpadeará el carácter anterior.
Asignación de títulos a los
discos compactos
3 Repita los pasos 1 y 2 para
introducir el título completo.
— Memorando de discos
(Unidad de CD con función de archivo
5 Para volver al modo normal de
personalizado (CUSTOM FILE))
reproducción de CD, pulse (ENTER).
Es posible asignar un título personalizado a
Consejos
cada disco, utilizando un máximo de ocho
• Para borrar o corregir un nombre, introduzca “_”
caracteres para cada uno de éstos. La
(barra inferior) por cada carácter.
asignación de títulos permitirá localizar discos
• Existe otro método para comenzar a asignar
mediante el título (página 13) y seleccionar
título al CD. Pulse (LIST) durante dos segundos
temas específicos para su reproducción
en lugar de realizar los pasos 2 y 3. También
(página 14).
puede completar la operación manteniendo
pulsado (LIST) durante dos segundos en lugar de
realizar el paso 5.
1 Inicie la reproducción del disco que desee
• Podrá asignar títulos a los discos compactos en
etiquetar.
una unidad sin función de archivo personalizado
(CUSTOM FILE), si está conectada junto con una
unidad de CD que disponga de dicha función. El
2 Pulse (MENU) y, a continuación,
título del disco se almacenará en la memoria de
cualquier lado de (DISC/PRST) varias
la unidad de CD con la función de archivo
veces hasta que aparezca “NAME EDIT”.
personalizado (CUSTOM FILE).
3 Pulse (ENTER).
Visualización del memorando de
Modo de edición de títulos
discos
Pulse (DSPL/PTY) durante la
reproducción de un CD o de un disco CD
TEXT.
La unidad repetirá el disco durante el
procedimiento de asignación de títulos.
4 Introduzca los caracteres.
Cada vez que pulse (DSPL/PTY) durante la
1 Pulse el lado (+) de (DISC/PRST) varias
reproducción de un CD o de un disco CD
veces para seleccionar los caracteres
TEXT, los elementos cambiarán de la
deseados.
siguiente forma:
(A t B t C t ··· Z t 0 t 1 t 2 t
··· 9 t + t – t * t / t \ t > t <
V
t . t _ )
1
Número del disco*
/Número del tema/
Tiempo de reproducción transcurrido
V
Nombre del memorando de discos
Si pulsa el lado (–) de (DISC/PRST)
V
varias veces, los caracteres aparecerán
2
Título del tema*
en orden inverso.
Si desea introducir un espacio en blanco
V
entre caracteres, seleccione “_” (barra
Frecuencia o
3
nombre de la emisora de FM1*
inferior).
2 Pulse el lado (+) de (SEEK/AMS) una
1
*
Con una unidad opcional de CD conectada.
vez localizado el carácter deseado.
2
*
Si conecta una unidad opcional de CD con la
El siguiente carácter parpadeará.
función CD TEXT, el visor mostrará la
información CD TEXT al reproducir discos CD
TEXT.
3
*
Con la función AF/TA activada.
12

Borrado del memorando de discos
Localización de discos
1 Pulse (SOURCE) varias veces para
seleccionar “CD”.
mediante el título— Función de
listado (Para una unidad de CD con la
2 Pulse (MODE) varias veces para
función CD TEXT/CUSTOM FILE o una unidad
seleccionar la unidad de CD con la
de MD)
función CUSTOM FILE.
Esta función puede utilizarse con discos a los
que se han asignado títulos personalizados o
3 Pulse (MENU) y, a continuación,
con discos CD TEXT.
cualquier lado de (DISC/PRST) varias
Es posible localizar el disco por
veces hasta que aparezca “NAME DEL”.
— título personalizado: si asigna un título a un
CD o MD mediante una unidad de CD con
4 Pulse (ENTER).
la función CUSTOM FILE o una unidad de
MD (para obtener información sobre los
5 Pulse cualquier lado de (DISC/PRST)
títulos de disco, consulte “Asignación de
varias veces para seleccionar el título del
títulos a los discos compactos” en la página
disco que desee borrar.
12).
— la información CD TEXT: si reproduce un
disco CD TEXT en una unidad de CD con la
6 Pulse (ENTER) durante dos segundos.
función CD TEXT.
El nombre se borrará.
Repita los pasos 5 y 6 para borrar otros
nombres.
1 Pulse (LIST).
El título asignado al disco actual aparece en
el visor.
7 Pulse (MENU) dos veces.
La unidad vuelve al modo normal de
reproducción de CD.
Notas
• Para borrar el memorando de discos, reproduzca
Al asignar un nombre de memorando a un
un CD de la unidad de CD en la que se encuentre
almacenado el memorando que desee borrar.
disco CD TEXT, dicho nombre tendrá
• Si borra una etiqueta personalizada de un disco
prioridad sobre la información original de
CD TEXT, el visor mostrará la información CD
CD TEXT.
TEXT original.
2 Pulse cualquier lado de (DISC/PRST)
varias veces hasta que encuentre el disco
deseado.
3 Pulse (ENTER) para reproducir el disco.
Notas
• Cuando utilice el mando a distancia de tarjeta,
pulse (LIST) para recuperar el modo de
reproducción normal. Cuando utilice el botón de
la unidad, el visor mostrará el modo de
reproducción normal transcurridos 5 segundos.
• Los títulos de tema no aparecen durante la
reproducción de un MD o de un disco CD TEXT.
• Si no hay discos en la unidad de CD/MD, el visor
mostrará “NO DISC”.
• Si no se ha asignado ningún título personalizado
a un disco, el visor mostrará “********”.
• No es posible mostrar ciertas letras durante la
reproducción de un disco MD o CD TEXT.
• Si la unidad no ha leído aún la información del
disco, aparecerá “NOT READ”.
13

Reproducción sólo de temas
Selección de temas
específicos
Es posible seleccionar:
específicos para su
•“BANK-ON” — para reproducir los temas
reproducción
— Función de banco
con el ajuste “PLAY”.
•“BANK-INV” (inverso) — para reproducir
(Unidad de CD con función de archivo
los temas con el ajuste “SKIP”.
personalizado (CUSTOM FILE))
Si asigna una etiqueta al disco, puede
1 Durante la reproducción, pulse (MENU) y,
programar la unidad para omitir o reproducir
a continuación, cualquier lado de
los temas que desee.
(DISC/PRST) varias veces hasta que
aparezca “BANK-ON”, “BANK-INV”, o
1 Comience a reproducir el disco al que
“BANK-OFF”.
desee asignar título.
2 Pulse el lado (+) de (SEEK/AMS) varias
2 Pulse (MENU) y, a continuación,
veces hasta que aparezca el ajuste
cualquier lado de (DISC/PRST) varias
deseado.
veces hasta que aparezca “BANK SEL”.
B BANK-ON B BANK-INV
BANK-OFF b
3 Pulse (ENTER).
Modo de edición de banco
3 Pulse (ENTER).
4 Asigne título a los temas.
La reproducción se inicia a partir del tema
1 Pulse cualquier lado de (SEEK/AMS)
siguiente.
varias veces para seleccionar el tema al
que desee asignar título.
Para recuperar el modo de reproducción
normal, seleccione “BANK-OFF” en el paso 2.
2 Pulse (ENTER) varias veces para
seleccionar “PLAY” o “SKIP”.
5 Repita el paso 4 para definir “PLAY”
(reproducción) o “SKIP” (omisión) para
todos los temas.
6 Pulse (MENU) dos veces.
La unidad vuelve al modo normal de
reproducción de CD.
Notas
• Es posible definir el modo “PLAY” y “SKIP” para
un máximo de 24 temas.
• No es posible definir el modo “SKIP” para todos
los temas de un CD.
14

Notas
• La unidad no almacena emisoras de señales
débiles. Si sólo pueden recibirse unas pocas
Radio
emisoras, algunos botones numéricos
conservarán sus ajustes anteriores.
• Si el visor muestra algún número, la unidad
almacenará las emisoras a partir del mostrado en
el visor.
• Si no hay ningún MD en la unidad, sólo
Memorización automática
aparecerá la banda del sintonizador incluso si
pulsa (SOURCE).
de emisoras
— Memorización de la mejor sintonía (BTM)
Esta unidad selecciona las emisoras de señal
más intensa y las memoriza por orden de
Memorización de las
frecuencia. Es posible almacenar hasta 6
emisoras en casa banda (FM1, FM2, FM3, MW
emisoras deseadas
y LW).
Es posible memorizar hasta 18 emisoras de FM
(6 para FM1, 6 para FM2 y 6 para FM3), hasta 6
Precaución
emisoras de MW y hasta 6 emisoras de LW en
Para sintonizar emisoras durante la
el orden que desee.
conducción, utilice la función de
memorización de la mejor sintonía para evitar
accidentes.
1 Pulse (SOURCE) varias veces para
seleccionar el sintonizador.
1 Pulse (SOURCE) varias veces para
seleccionar el sintonizador.
2 Pulse (MODE) varias veces para
Cada vez que pulse (SOURCE), la fuente
seleccionar la banda.
cambia de la siguiente forma:
B Tuner B CD* B MD
3 Pulse cualquier lado de (SEEK/AMS) para
sintonizar la emisora que desee
* Si el equipo opcional correspondiente no está
almacenar en el botón numérico.
conectado, el elemento no aparecerá.
4 Pulse el botón numérico que desee ((1) a
2 Pulse (MODE) varias veces para
(6)) durante dos segundos hasta que
seleccionar la banda.
aparezca “MEM”.
Cada vez que pulse (MODE), la banda
En el visor aparecerá la indicación del
cambia de la siguiente forma:
botón numérico.
B FM1 B FM2 B FM3
Nota
LW b MW b
Si almacena otra emisora en el mismo botón
numérico, la emisora previamente almacenada se
borrará.
3 Pulse (MENU) y, a continuación,
cualquier lado de (DISC/PRST) varias
veces hasta que aparezca “BTM”.
4 Pulse (ENTER).
La unidad almacena en los botones
numéricos las emisoras por orden de
frecuencia.
La unidad emite un pitido al almacenar el
ajaste.
15

Si la recepción de FM en estéreo es
Recepción de emisoras
de mala calidad
— Modo monofónico
memorizadas
1 Durante la recepción de la radio, pulse
(MENU) y, a continuación, cualquier lado
1 Pulse (SOURCE) varias veces para
de (DISC/PRST) varias veces hasta que
seleccionar el sintonizador.
aparezca “MONO-OFF”.
2 Pulse (MODE) varias veces para
2 Pulse el lado (+) de (SEEK/AMS) hasta
seleccionar la banda.
que aparezca “MONO-ON”.
El sonido mejorará, aunque será
3 Pulse el botón numérico ((1) a (6))
monofónico (la indicación “ST”
donde esté almacenada la emisora que
desaparecerá).
desee.
Consejo
3 Pulse (ENTER).
Pulse cualquier lado de (DISC/PRST) para recibir las
emisoras en el orden en el que están almacenadas
Para recuperar el modo de reproducción
en la memoria (Función de búsqueda
normal, seleccione “MONO-OFF” en el paso 2.
programada).
Si no puede sintonizar una emisora
programada
Pulse cualquier lado de (SEEK/AMS) para
buscar la emisora (sintonización
automática).
La exploración se detiene cuando la unidad
recibe una emisora. Pulse cualquier lado de
(SEEK/AMS) varias veces hasta recibir la
emisora deseada.
Nota
Si la sintonización automática se detiene con
demasiada frecuencia, pulse (MENU) y, a
continuación, cualquier lado de (DISC/PRST) varias
veces hasta que aparezca “LOCAL” (modo de
búsqueda local). A continuación, pulse el lado (+)
de (SEEK/AMS) para seleccionar “LOCAL-ON”.
Pulse (ENTER).
Sólo se sintonizarán las emisoras de señal
relativamente intensa.
Consejos
• Si selecciona el ajuste “LOCAL-ON”, aparecerá
“L.SEEK” mientras la unidad busca las emisoras.
• Si sabe cuál es la frecuencia de la emisora que
desea escuchar, pulse y mantenga pulsado
cualquier lado de (SEEK/AMS) hasta que
aparezca la frecuencia deseada (sintonización
manual).
16

Después de seleccionar el elemento que desee,
el visor cambiará automáticamente al modo de
desplazamiento de indicaciones pasados unos
RDS
segundos.
En dicho modo, todos los elementos se
desplazan por el visor de uno en uno por
orden.
Descripción general de la
Consejo
Es posible desactivar el modo de desplazamiento
función RDS
de indicaciones. (Consulte “Cambio de los ajustes
de sonido y visualización” en la página 24.)
El sistema de datos de radio (RDS) es un
servicio de radiodifusión que permite a las
Nota
emisoras de FM transmitir información digital
Aparecerá “NO NAME” si la emisora recibida no
complementaria junto con las señales normales
transmite datos RDS.
de programas de radio. Este sistema estéreo
para automóvil ofrece, entre otros, los
siguientes servicios: resintonización
automática del mismo programa, recepción de
anuncios de tráfico y localización de emisoras
Resintonización
mediante el tipo de programa.
automática del mismo
Notas
programa
— Frecuencias
• La disponibilidad de todas las funciones RDS está
determinada por el país o la región.
alternativas (AF)
• La función RDS puede no activarse
correctamente si la señal es débil o si la emisora
La función de frecuencias alternativas (AF)
sintonizada no transmite datos RDS.
selecciona y resintoniza automáticamente la
emisora de señal más intensa dentro de una
red. Mediante el uso de esta función, es posible
escuchar continuamente el mismo programa
durante un largo viaje sin necesidad de volver
Visualización del nombre
a sintonizar la emisora manualmente.
de la emisora
Las frecuencias cambian automáticamente.
El nombre de la emisora actual se ilumina en el
98,5MHz
96,0MHz
visor.
Seleccione una emisora de FM (página
16).
Al sintonizar una emisora de FM que
Emisora
transmita datos RDS, el nombre de la
misma se ilumina en el visor.
102,5MHz
1 Seleccione una emisora de FM (página
Nota
16).
La indicación “*” significa que se recibe una
emisora RDS.
2 Pulse (AF) varias veces hasta que
aparezca “AF-ON”.
Cambio de los elementos
La unidad comienza a buscar una emisora
mostrados
alternativa de señal más intensa dentro de
Cada vez que pulse (DSPL/PTY), los elementos
la misma red.
cambiarán de la siguiente forma:
Nombre de la emisora (Frecuencia) y Datos PTY
17

Notas
Función de enlace local
• Si no existe ninguna emisora alternativa en la
zona y no es necesario buscarla, desactive la
(sólo Reino Unido)
función AF pulsando (AF) varias veces hasta que
La función de enlace local permite seleccionar
“AF-OFF” se ilumine.
otras emisoras locales de la zona, incluso si no
• Cuando “NO AF” y el nombre de la emisora
están almacenadas en los botones numéricos.
parpadean alternativamente, ello indica que la
unidad no encuentra una emisora alternativa en
la red.
1 Pulse un botón numérico en el que haya
• Si el nombre de la emisora comienza a parpadear
almacenada una emisora local.
después de seleccionar una emisora con la
función AF activada, esto indica que no hay
ninguna frecuencia alternativa disponible.
2 En un intervalo de cinco segundos,
Pulse cualquier lado de (SEEK/AMS) mientras el
vuelva a pulsar el botón numérico de la
nombre de la emisora parpadea (antes de que
emisora local.
transcurran ocho segundos). La unidad
comenzará a buscar otra frecuencia con los
mismos datos PI (Identificación de programa) (“PI
3 Repita este procedimiento hasta recibir
SEEK” aparecerá y no se oirá el sonido). Si la
la emisora local que desee.
unidad no encuentra otra frecuencia, mostrará
“NO PI” y volverá a la frecuencia anteriormente
seleccionada.
Recepción de programas regionales
Recepción de anuncios de
La función de activación regional (“REG-ON”)
de esta unidad permite permanecer en la
tráfico
sintonía de un programa regional sin cambiar
a otra emisora. (Observe que es necesario
Los datos de anuncios de tráfico (TA) y
activar la función AF.) El ajuste de fábrica de la
programas de tráfico (TP) permiten sintonizar
unidad es “REG-ON”. No obstante, si desea
automáticamente una emisora de FM que
desactivar la función, realice lo siguiente:
emita anuncios de tráfico, incluso si está
escuchando otras fuentes de programa.
1 Durante la recepción de la radio, pulse
(MENU) y, a continuación, cualquier lado
Pulse (TA) varias veces hasta que
de (DISC/PRST) varias veces hasta que
aparezca “TA-ON”.
aparezca “REG”.
La unidad comienza a buscar emisoras que
emitan información sobre tráfico. “TP” se
ilumina en el visor al encontrar una
2 Pulse el lado (+) de (SEEK/AMS) hasta
emisora que emita anuncios de tráfico.
que aparezca “REG-OFF”.
Al iniciarse el anuncio de tráfico, “TA”
parpadea. Esta indicación deja de
3 Pulse (ENTER).
parpadear cuando el anuncio finaliza.
Observe que la selección de “REG-OFF”
podría causar que la unidad cambie a otra
Consejo
emisora regional de la misma red.
Si el anuncio de tráfico comienza mientras escucha
otra fuente de programa, la unidad cambia
automáticamente al anuncio y vuelve a la fuente
Para volver a la activación regional, seleccione
original al finalizar éste.
“REG-ON” en el paso 2.
Nota
Esta función no se activa en el Reino Unido ni en
determinadas zonas.
18

Notas
• “NO TP” parpadea durante cinco segundos si la
Programación de emisoras
emisora recibida no emite anuncios de tráfico. A
continuación, la unidad comienza a buscar una
RDS con los datos AF y TA
emisora que los emita.
• Si la indicación “EON” aparece en el visor con
“TP”, la emisora actual utiliza anuncios de tráfico
Al programar las emisoras RDS, la unidad
emitidos por otras emisoras de la misma red.
almacena los datos de cada emisora, así como
su frecuencia, de forma que no sea necesario
activar la función AF o TA cada vez que
Para cancelar el anuncio de tráfico
sintonice la emisora programada. Es posible
actual
seleccionar un ajuste diferente (AF, TA o
ambos) para cada emisora programada, o bien
Pulse (TA), (SOURCE) o (MODE).
el mismo para todas.
Para cancelar todos los anuncios de tráfico,
desactive la función pulsando (TA) hasta
Programación del mismo ajuste
que “TA-OFF” se ilumine.
para todas las emisoras
programadas
Programación del volumen de los
anuncios de tráfico
1 Seleccione una banda de FM (página 15).
Es posible programar previamente el nivel de
volumen de los anuncios de tráfico, de forma
2 Pulse (AF) y/o (TA) para seleccionar “AF-
que éstos no pasen inadvertidos. Al comenzar
ON” y/o “TA-ON.”
un anuncio, el volumen se ajustará
Tenga en cuenta que al seleccionar “AF-
automáticamente al nivel programado.
OFF” o “TA-OFF” se almacenan las
emisoras RDS y las que no lo son.
1 Gire el dial de control de volumen para
ajustar el volumen al nivel que desee.
3 Pulse (MENU) y, a continuación,
cualquier lado de (DISC/PRST) varias
2 Pulse (TA) durante dos segundos.
veces hasta que aparezca “BTM”.
Se muestra “TA” y se almacena el ajuste.
4 Pulse el lado (+) de (SEEK/AMS) hasta
que “BTM” parpadee.
Recepción de anuncios de urgencia
Si se emite un anuncio de urgencia mientras
escucha la radio, la programación cambiará
5 Pulse (ENTER).
automáticamente a él. Si escucha otra fuente
que no sea la radio, es posible recibir los
Programación de ajustes diferentes
anuncios de urgencia si activa la función AF o
para cada emisora programada
TA. Posteriormente, la unidad cambiará a estos
anuncios independientemente de la fuente que
1 Seleccione una banda de FM y sintonice
esté escuchando en ese momento.
la emisora que desee (página 16).
2 Pulse (AF) y/o (TA) para seleccionar “AF-
ON” y/o “TA-ON.”
3 Pulse el botón numérico deseado hasta
que aparezca “MEM”.
Repita el procedimiento a partir del paso 1
para programar otras emisoras.
19

1 Pulse (DSPL/PTY) durante la recepción de
Localización de emisoras
FM hasta que “PTY” se ilumine en el
visor.
mediante el tipo de
programa
Es posible localizar la emisora que desee
mediante la selección de uno de los tipos de
El nombre del tipo de programa actual
programa que aparecen a continuación.
aparece si la emisora transmite datos PTY.
Aparece “- - - - -” si la emisora recibida no
es RDS o si no se reciben los datos RDS.
Tipos de programa Indicación
Noticias NEWS
2 Pulse (DISC/PRST) varias veces hasta que
Temas de actualidad AFFAIRS
aparezca el tipo de programa que desee.
Información INFO
Los tipos de programa aparecen en el orden
Deportes SPORT
mostrado en la anterior tabla. Observe que
no es posible seleccionar “NONE” (sin
Educación EDUCATE
especificar) para realizar la búsqueda.
Drama DRAMA
Cultura CULTURE
Ciencia SCIENCE
Variedades VARIED
Música pop POP M
3 Pulse (ENTER).
Música rock ROCK M
La unidad comienza a buscar una emisora
Música fácil de escuchar EASY M
que transmita el tipo de programa
Clásica ligera LIGHT M
seleccionado.
Clásica CLASSICS
Otros tipos de música OTHER M
Información meteorológica WEATHER
Economía FINANCE
Programas infantiles CHILDREN
Asuntos sociales SOCIAL A
Religión RELIGION
Conversación telefónica PHONE IN
Viajes TRAVEL
Ocio LEISURE
Música jazz JAZZ
Música country COUNTRY
Música nacional NATION M
Melodías de ayer OLDIES
Música folk FOLK M
Documentales DOCUMENT
Sin especificar NONE
Nota
No es posible utilizar esta función en los países en
los que no se disponga de datos PTY (selección de
tipo de programa).
20

Ajuste automático del
Otras funciones
reloj
Los datos de hora (CT) de las transmisiones
La unidad también puede controlarse con un
RDS ajustan el reloj automáticamente.
mando rotativo (opcional).
1 Durante la recepción de la radio, pulse
(MENU) y, a continuación, cualquier lado
de (DISC/PRST) varias veces hasta que
Etiquetado del mando
aparezca “CT”.
rotativo
En función de cómo monte el mando rotativo,
adhiera la etiqueta adecuada como se muestra
en la siguiente ilustración.
2 Pulse el lado (+) de (SEEK/AMS) varias
veces hasta que aparezca “CT-ON”.
El reloj se ajusta.
SOUND
MODE
DSPL
3 Pulse (ENTER) para volver a la indicación
normal.
Para cancelar la función CT
DSPL
Seleccione “CT-OFF” en el paso 2.
MODE
SOUND
Notas
• La función CT puede no activarse aunque se
reciba una emisora RDS.
• Es posible que la hora real y la ajustada mediante
la función CT no coincidan.
21

Mediante el giro del control
Uso del mando rotativo
SEEK/AMS
El mando rotativo funciona pulsando los
botones y/o girando los controles.
También es posible controlar una unidad
opcional de CD/MD con el mando rotativo.
Mediante la pulsación de los
botones SOURCE y MODE
Gire el control momentáneamente y
(SOURCE)
suéltelo para:
•Localizar un tema específico de un disco.
Gire y mantenga girado el control hasta
localizar el punto específico de un tema y,
a continuación, suéltelo para iniciar la
(MODE)
reproducción.
•Sintonizar emisoras automáticamente.
Gire el control y manténgalo así para
buscar una emisora específica.
Cada vez que pulse (SOURCE), la fuente
cambiará de la siguiente forma:
Mediante la presión y giro del
Sintonizador t CD* t MD
control PRESET/DISC
* Si el equipo opcional correspondiente no está
conectado, el elemento no aparecerá.
Al pulsar (MODE), el funcionamiento
cambiará de la siguiente forma;
• Sintonizador: FM1 t FM2 t FM3 t MW t
LW
• Unidad de CD*: CD1 t CD2 t …
• Unidad de MD*: MD1 t MD2 t …
* Si el equipo opcional correspondiente no está
conectado, estos elementos no aparecerán.
Presione y gire el control para:
•Recibir emisoras memorizadas en los
botones numéricos.
•Cambiar el disco.
22

Consejo
Otras operaciones
También es posible cambiar la dirección de
Gire el control VOL para
funcionamiento de estos controles con la unidad
ajustar el volumen.
(consulte “Cambio de los ajustes de sonido y
visualización” en la página 24).
Pulse (ATT) para
atenuar el sonido.
OFF
Ajuste de las
Pulse (OFF) para
características de sonido
desactivar la
unidad.
Es posible ajustar los graves, los agudos, el
balance y el equilibrio entre altavoces.
Pulse (SOUND) para
ajustar el menú de
Es posible almacenar los niveles de graves y
sonido y el volumen.
agudos de forma independiente para cada
fuente.
1 Pulse (SOUND) varias veces para
seleccionar el elemento que desee
Pulse (DSPL) para mostrar los
nombres memorizados.
ajustar.
Cada vez que pulse (SOUND), los
Consejo
elementos cambian de la siguiente forma:
Si el automóvil no dispone de posición ACC
(auxiliar) en el interruptor de la llave de
BAS (graves) t TRE (agudos) t BAL
encendido, asegúrese de pulsar (OFF) durante dos
(izquierdo-derecho) t FAD (delantero-trasero)
segundos para desactivar la indicación del reloj
después de apagar el motor.
2 Ajuste el elemento seleccionado
pulsando cualquier lado de (SEEK/AMS).
Cambio de la dirección de
Al realizar el ajuste con el mando rotativo,
funcionamiento
pulse (SOUND) y gire el control VOL.
La dirección de funcionamiento de los
Nota
controles está ajustada de fábrica como se
Realice el ajuste antes de tres segundos después de
muestra a continuación.
seleccionar los elementos.
Para aumentar
Para disminuir
Si es preciso instalar el mando rotativo en el
lado derecho de la columna de dirección,
puede invertir la dirección de funcionamiento.
Pulse (SOUND) durante dos segundos al
tiempo que presiona el control VOL.
23

1 Pulse (MENU).
Atenuación del sonido
(con el mando rotativo o el mando a
2 Pulse cualquier lado de (DISC/PRST) varias
veces hasta que aparezca el elemento
distancia de tarjeta)
deseado.
Cada vez que pulse el lado (–) de
Pulse (ATT) en el mando rotativo o en el
(DISC/PRST), el elemento cambiará de la
mando a distancia de tarjeta.
siguiente forma:
“ATT-ON” parpadea momentáneamente.
CLOCK t CT t BEEP t RM t D.INFO t
Para restaurar el nivel de volumen anterior,
1
2
DIMMER*
t M.DSPL t A.SCRL*
vuelva a pulsar (ATT).
1
*
Sólo MDX-C6500RV
2
Consejo
*
Si no hay ningún CD en reproducción en
Si el cable de interfaz de un teléfono para
ninguna unidad con la función CD TEXT o no
automóvil está conectado al cable ATT, la unidad
hay ningún MD en reproducción, este
disminuirá el volumen automáticamente cuando se
elemento no aparecerá.
reciba una llamada telefónica (Función ATT de
teléfono). (sólo MDX-C6500RX/C6500RV/C6500R)
Nota
El elemento mostrado variará en función de la
fuente.
Consejo
Es posible cambiar fácilmente entre categorías
Cambio de los ajustes de
(“SET”‚ “DIS”‚ “P/M” (modo de reproducción) y
“EDT” (modo de edición)) pulsando cualquier
sonido y visualización
lado de (DISC/PRST) durante dos segundos.
Es posible ajustar los siguientes elementos:
SET (ajuste)
3 Pulse el lado (+) de (SEEK/AMS) para
•CLOCK (Reloj) (página 8)
seleccionar el ajuste deseado (por
•CT (Hora del reloj) (página 21)
ejemplo: ON u OFF).
•BEEP — que permite activar o desactivar los
pitidos.
4 Pulse (ENTER).
•RM (Mando rotativo) — que permite cambiar
Una vez finalizado el ajuste de modo, el
la dirección de funcionamiento de los
visor vuelve al modo de reproducción
controles del mando rotativo.
normal.
— Seleccione “NORM” para utilizar el
mando rotativo en la posición ajustada de
fábrica.
— Seleccione “REV” si monta el mando
rotativo en el lado derecho de la columna
de dirección.
DIS (visor)
•D.INFO (información dual) — para mostrar
simultáneamente el reloj y el modo de
reproducción (ON).
•DIMMER — que permite atenuar el visor
(ON) o no (OFF). (sólo MDX-C6500RV)
•M.DSPL (Desplazamiento de indicaciones) —
para activar o desactivar el modo de
desplazamiento de indicaciones por el visor.
•A.SCRL (Desplazamiento automático)
(página 10)
Nota
Si conecta un amplificador de potencia opcional y
no utiliza el incorporado, los pitidos se
desactivarán.
24

Información
Refuerzo de los graves
complementaria
— D-bass
Es posible disfrutar de graves intensos y
nítidos. La función D-bass refuerza las señales
de baja y alta frecuencia con una curva más
Mantenimiento
marcada que la del refuerzo de graves
convencional.
Sustitución del fusible
Es posible escuchar la línea de graves con
mayor nitidez mientras el volumen del sonido
Al sustituir el fusible, asegúrese de utilizar uno
vocal se mantiene al mismo nivel. Puede
con el mismo amperaje que el original. Si éste
potenciar y ajustar los graves fácilmente con el
se funde, compruebe la conexión de
botón D-BASS.
alimentación y sustitúyalo. Si una vez
sustituido vuelve a fundirse, es posible que
D-BASS 3
exista un funcionamiento defectuoso interno.
D-BASS 2
En este caso, póngase en contacto con el
Nivel
D-BASS 1
D-BASS 3
proveedor Sony más próximo.
D-BASS 2
D-BASS 1
0dB
Frecuencia (Hz)
Ajuste de la curva de graves
Fusible (10 A)
Pulse (D-BASS) varias veces hasta que el
visor muestre el nivel de graves deseado.
B D.BASS 1 B D.BASS 2 B D.BASS 3
Advertencia
No utilice nunca un fusible de amperaje
D.BASS-OFF b
superior al del suministrado con la unidad, ya
que ésta podría dañarse.
Para cancelar, seleccione “D.BASS-OFF”.
Nota
Si los graves se distorsionan, seleccione un ajuste
menos efectivo en “D.BASS” o ajuste el volumen.
25

Limpieza de los conectores
Sustitución de la pila de litio
La unidad puede no funcionar correctamente
Cuando la pila dispone de poca energía, el
si los conectores de la misma y del panel
alcance del mando a distancia inalámbrico se
frontal están sucios. Para evitarlo, abra el panel
reduce. Sustituya la pila por una nueva de litio
frontal pulsando (OPEN); a continuación,
CR2025.
sepárelo y limpie los conectores con un
bastoncillo humedecido en alcohol. No aplique
demasiada presión, ya que los conectores
podrían dañarse.
x
Unidad principal
Lado + hacia arriba
Parte posterior del panel frontal
Notas
• Para su seguridad, apague el motor y extraiga la
llave del interruptor de encendido antes de
Notas sobre la pila de litio
limpiar los conectores.
• No toque nunca los conectores directamente con
•Mantenga la pila de litio fuera del alcance de
los dedos o con algún dispositivo metálico.
los niños. Si la pila se ingiere, póngase en
contacto inmediatamente con un médico.
•Limpie la pila con un paño seco para
garantizar un contacto óptimo.
•Asegúrese de observar la polaridad correcta
cuando instale la pila.
•No agarre la pila con pinzas metálicas, ya
que si lo hace puede producirse un
cortocircuito.
ADVERTENCIA
La pila puede explotar si no se emplea
adecuadamente.
No recargue la pila; tampoco la desmonte ni
la arroje al fuego.
26

5 Deslice la unidad para extraerla del
Desmontaje de la unidad
marco.
1 Después de extraer el panel frontal,
pulse el clip del interior de la cubierta
frontal con un destornillador fino, y haga
palanca con suavidad para liberar dicha
cubierta.
2 Repita el paso 1 en el lado derecho.
La cubierta frontal podrá extraerse.
3 Emplee un destornillador fino para
ejercer presión sobre el clip de la parte
izquierda de la unidad; a continuación,
tire del lado izquierdo de la unidad hasta
que el enganche salga del marco.
4 mm
4 Repita el paso 3 en el lado derecho.
27

Especificaciones
Sección del reproductor de
General
minidiscos
1
Salidas Salidas de audio*
Cable de control de relé de
Relación señal-ruido 90 dB
antena motorizada
Respuesta de frecuencia 10 – 20.000 Hz
Cable de control de
Fluctuación y trémolo Inferior al límite medible
amplificador de potencia
Cable de control de
Sección del sintonizador
2
atenuación para teléfono*
Controles de tono Graves ±9 dB a 100 Hz
FM
Agudos ±9 dB a 10 kHz
Gama de sintonización 87,5 – 108,0 MHz
Requisitos de alimentación
Terminal de antena Conector de antena externa
Batería de automóvil de
Frecuencia intermedia 10,7 MHz/450 kHz
12 V CC (toma a tierra
Sensibilidad utilizable 8 dBf
negativa)
Selectividad 75 dB a 400 kHz
Dimensiones Aprox. 178 × 50 × 183 mm
Relación señal-ruido 66 dB (estéreo),
(an/al/prf)
72 dB (mono)
Dimensiones de montaje Aprox. 182 × 53 × 162 mm
Distorsión armónica a 1 kHz
(an/al/prf)
0,6 % (estéreo),
Masa Aprox. 1,2 kg
0,3 % (mono)
Accesorios suministrados
Separación 35 dB a 1 kHz
Componentes para
Respuesta de frecuencia 30 – 15.000 Hz
instalación y conexiones
(1 juego)
MW/LW
Estuche para el panel
Gama de sintonización MW: 531 – 1.602 kHz
frontal (1)
LW: 153 – 279 kHz
Accesorios opcionales Mando rotativo RM-X4S
Terminal de antena Conector de antena externa
Mando a distancia
Frecuencia intermedia 10,7 MHz/450 kHz
inalámbrico RM-X91
Sensibilidad MW: 30 µV
Cable BUS (suministrado
LW: 40 µV
con un cable de pines
RCA)
Sección del amplificador de
RC-61 (1 m), RC-62 (2 m)
Equipo opcional Cambiador de CD
potencia
(10 discos)
Salidas Salidas de altavoz
CDX-828, CDX-737
(conectores de sellado
Cambiador de MD
seguro)
(6 discos)
Impedancia de altavoz 4 – 8 ohmios
MDX-65
Salida máxima de potencia
Selector de fuente
50 W × 4 (a 4 ohmios)
XA-C30
1
*
Equipado con salidas frontales y posteriores:
Sólo MDX-C6500RX/C6500RV/C6500R
Equipado con salidas posteriores: MDX-C6400R
2
*
Sólo MDX-C6500RX/C6500RV/C6500R
Las patentes EE.UU. y extranjeras han sido
otorgadas por Dolby Laboratories Licensing
Corporation.
Diseño y especificaciones sujetos a cambios sin
previo aviso.
28

Guía de solución de problemas
La siguiente lista de comprobaciones resulta útil para solucionar los problemas que puedan
producirse al utilizar la unidad.
Antes de consultar la lista que aparece a continuación, compruebe los procedimientos de conexión
y funcionamiento.
Generales
Problema
Causa/Solución
Ausencia de sonido.
•Cancele la función ATT.
•Ajuste el control de equilibrio en la posición central para
sistema de dos altavoces.
•Gire el dial en el sentido de las agujas del reloj para ajustar el
volumen.
Se ha borrado el contenido de
•Ha desconectado el cable de alimentación o la batería.
la memoria.
•Ha pulsado el botón de restauración.
t Vuelva a realizar el almacenamiento en la memoria.
El visor no muestra
Retire el panel frontal y limpie los conectores. Para obtener
indicaciones.
más información, consulte el apartado “Limpieza de los
conectores” (página 26).
Ausencia de pitidos.
•Se han desactivado los pitidos (página 24).
•Si conecta un amplificador opcional y no utiliza el
incorporado, los pitidos se desactivarán.
Reproducción de CD/MD
Problema
Causa/Solución
No es posible insertar un disco.
•Ya hay un MD insertado.
•Ha insertado el MD a la fuerza o al revés en el sentido
incorrecto.
La reproducción no se inicia.
MD defectuoso o CD sucio.
El disco se expulsa
La temperatura ambiental es superior a 50°C.
automáticamente.
Los botones de funcionamiento
Pulse el botón de restauración.
no se activan.
El sonido se omite debido a
•Ha instalado la unidad en un ángulo superior a los 20°.
vibraciones.
• No ha instalado la unidad en una parte segura del
automóvil.
Se producen saltos de sonido.
Un disco está sucio o es defectuoso.
No es posible desactivar la
No es posible asignar títulos a los discos compactos, a menos
indicación “--------”.
que conecte una unidad de CD con función de archivo
personalizado.
t Pulse (LIST) durante dos segundos.
29

Recepción de radio
Problema
Causa/Solución
No es posible realizar la
•Almacene la frecuencia correcta en la memoria.
sintonización de programación.
•La emisión es demasiado débil.
No es posible recibir las
Conecte un cable de control de antena motorizada (azul) o un
emisoras.
cable de fuente de alimentación auxiliar (rojo) al cable de
Los ruidos obstaculizan el
fuente de alimentación del amplificador de antena del
sonido.
automóvil. (Sólo si el automóvil incorpora una antena de
recepción de FM/MW/LW en el cristal posterior/lateral.)
No es posible realizar la
La emisión es demasiado débil.
sintonización automática.
t Utilice la sintonización manual.
La indicación “ST” parpadea.
•Sintonice la frecuencia con precisión.
•La emisión es demasiado débil.
t Realice el ajuste en el modo monofónico MONO (página
16).
Funciones RDS
Problema
Causa/Solución
La búsqueda se inicia después
La emisora no es TP o se trata de una señal débil.
de unos segundos de escucha.
t Pulse (AF) o (TA) varias veces hasta que aparezca “AF-
OFF” o “TA-OFF”.
Ausencia de anuncios de tráfico.
•Active “TA”.
•La emisora no emite anuncios de tráfico a pesar de ser TP.
t Sintonice otra emisora.
PTY muestra “NONE”.
La emisora no especifica el tipo de programa.
30

Indicaciones de error (cuando se ha conectado una unidad de CD/MD opcional)
Las siguientes indicaciones parpadearán durante cinco segundos aproximadamente y se oirá una
alarma.
Indicación
Causa
Solución
No ha insertado el cargador de discos
Inserte el cargador en la unidad de
NO MAG
en la unidad de CD/MD.
CD/MD.
No ha insertado ningún disco en la
Inserte discos en la unidad de CD/
NO DISC
unidad de CD/MD.
MD.
No es posible reproducir un CD/MD
Inserte otro CD/MD.
NG DISCS
debido a algún problema.
Un CD está sucio o insertado al
Limpie el CD o insértelo
2
revés.*
correctamente.
1
*
ERROR
Un MD no se reproduce debido a
Inserte otro MD.
2
algún problema.*
1
No ha grabado ningún tema en el
*
Reproduzca un MD con temas
BLANK
2
MD.*
grabados.
No es posible emplear la unidad de
Pulse el botón de restauración de la
RESET
CD/MD debido a algún problema.
unidad.
La tapa de la unidad de MD está
Cierre la tapa o inserte los MD
abierta o los minidiscos no están
correctamente.
NO READY
insertados correctamente.
La temperatura ambiente es superior a
Espera hasta que la temperatura
HI TEMP
50°C.
descienda por debajo de 50°C.
1
*
Si se produce un error durante la reproducción de un MD o de un CD, el número del MD o del CD no
aparecerá en el visor.
2
*
El visor mostrará el número del disco que causa el error.
Si el problema no se soluciona con las sugerencias anteriormente enumeradas, póngase en contacto
con el proveedor Sony más próximo.
31

Välkommen !
Säkerhetsföreskrifter
Tack för att du visade oss förtroendet att välja
•Om du har parkerat bilen i direkt solljus så
Sonys MD-spelare. Med den här enheten får
att temperaturen i bilen har stigit markant,
du tillgång till ett flertal funktioner med
bör du låta MD-spelaren svalna innan du
följande tillbehör:
använder den.
•Kontrollera anslutningarna först om ingen
Tillval
ström tillförs enheten. Kontrollera säkringen
Vridkontroll RM-X4S
om allt i övrigt är i sin ordning.
Kortfjärrkontroll RM-X91
•Om bilen har en motorantenn, fälls den
automatiskt ut när enheten är påslagen.
Förutom att spela upp MD-skivor och lyssna
på radio kan du bygga ut systemet genom att
1
Om du har några frågor eller problem som rör
ansluta tillbehör som olika CD/MD-enheter*
.
MD-spelaren och som inte tas upp i
När du använder den här enheten, eller en
bruksanvisningen, tar du kontakt med din
anslutet tillbehör som t.ex. en CD-enhet som
närmaste Sony-återförsäljare.
har funktioner för CD TEXT, visas CD TEXT-
informationen i teckenfönstret när du spelar
2
Fuktbildning
upp en CD TEXT-skiva*
.
Regniga dagar, eller i fuktiga miljöer, kan det
1
*
Du kan ansluta MD-växlare, CD-växlare, MD-
hända att det bildas kondens på linserna inne i
spelare eller CD-spelare.
spelaren. Då fungerar inte enheten på rätt sätt.
2
*
CD TEXT-skivor är ljud-CD-skivor som innehåller
Ta i så fall ut skivan och vänta någon timme så
information om t.ex. skivans och/eller artistens
att fukten hinner avdunsta.
namn och namn på spåren.
Den här informationen finns inspelad på skivan.
Upprätthålla hög kvalitet på ljudet
Om du har en drickahållare i närheten av din
ljudutrustning bör du tänka på risken att spilla
t.ex. juice på enheten eller MD-skivorna. Söta
drycker och sötat kaffe är extra farligt och kan
lämna beläggningar, inte minst på linserna i
enheten, vilket kan försämra ljudkvaliteten,
eller helt stoppa uppspelning av ljud.
2

Fästa etiketter
Om MD-skivor
Var noga med att fästa etiketterna på höljet på
ett korrekt sätt. En felaktigt fästad etikett kan
Eftersom MD-skivan är innesluten i en kassett
göra så att MD-skivan fastnar i enheten.
är den skyddad från fingeravtryck, damm och
liknande. Därför tål den också en ganska
•Sätt fast etiketten i ett lämpligt läge.
hårdhänt hantering, men om smuts eller
•Ta bort gamla etiketter innan du sätter dit
damm finns på höljet till kassetten eller om
nya.
kassetten är böjd kan det orsaka fel. För bästa
•Ta bort etiketter som börjat lossna från MD-
ljudkvalitet bör du tänka på följande:
skivan.
Öppna aldrig kassettens skjutlucka och rör
aldrig på MD-skivans yta.
När du matar ut MD-skivan han det hända
att skjutluckan är öppen. I så fall bör du
genast stänga den.
Lägg inte MD-skivan på en plats där den
utsätts för direkt solsken eller nära
värmekällor som varmluftsventiler. Lämna
den inte i en bil parkerad i direkt solsken
eftersom temperaturen där kan stiga avsevärt.
Lämna den inte på instrumentbrädan eller på
hatthyllan där temperaturen också kan bli för
Rengöring
hög.
Torka bort smuts från MD-skivans hölje med
en mjuk och torr duk.
3

Innehållsförteckning
Reglagens placering ............................................. 5
Övriga funktioner
Fästa etiketten på vridkontrollen..................... 21
Komma igång
Använda vridkontrollen ................................... 22
Återställa enheten ................................................ 7
Ljudjustering....................................................... 23
Ta bort frontpanelen ............................................ 7
Snabbdämpa ljudet ............................................ 24
Slå på/stänga av enheten ................................... 8
Ändra ljud- och teckeninställningarna ........... 24
Använda menyn................................................... 8
Höja basljudet
Ställa klockan ........................................................ 8
— D-bass ........................................................ 25
MD-spelare
Ytterligare information
CD/MD-enhet (tillval)
Underhåll ............................................................ 25
Lyssna på en MD-skiva ....................................... 9
Demontera enheten............................................ 27
Spela upp spår flera gånger
Tekniska data ...................................................... 28
— Upprepad uppspelning........................... 11
Felsökning ........................................................... 29
Spela upp spår i slumpmässig ordning
— Slumpmässig uppspelning ..................... 11
Namnge en CD-skiva
— Skivminne* ............................................... 12
Hitta en CD-skiva efter namn
— Lista namn* .............................................. 13
Välja spår för uppspelning
— Bank* ......................................................... 14
* Funktioner med anslutna CD/MD-enheter
(medföljer ej).
Radio
Lagra kanaler automatiskt
— BTM-funktionen....................................... 15
Lagra endast de önskade kanalerna ................ 15
Motta de lagrade kanalerna.............................. 16
RDS
Översikt av RDS-funktionen ............................ 17
Visa kanalnamnet ............................................... 17
Ställa in samma program automatiskt
— Alternativa frekvenser (AF) ................... 17
Lyssna på trafikmeddelanden .......................... 18
Förinställa RDS-kanalerna med AF och
TA data ........................................................... 19
Söka en kanal efter programtyp....................... 20
Ställa klockan automatiskt................................ 21
4

Reglagens placering
OPEN
D
I
S
C
+
PTY
-
P
DSPL
R
S
T
+
MENU
LIST
D-BASS
TA
SOURCE
-
SEEK/AMS
AF
SOUND
ENTER
P
R
S
REP SHUF
T
-
-
D
I
S
C
–
MODE
OFF
1 2 3 4 56
MDX-C6500RX/C6500RV
/C6500R/C6400R
Mer information finns på sidorna.
1 Volymkontroll 19
qg ENTER-knapp 8, 10, 12, 13, 14, 15, 16,
18, 19, 20, 21, 24
2 MENU-knapp 8, 10, 12, 13, 14, 15, 16,
18, 19, 21, 24
qh MODE-knapp 19
Under uppspelning av CD eller MD:
3 DISC/PRST +/– (markör upp/ned)
Val av CD-/MD-enhet 9, 13
knappar
8, 10, 12, 13, 14, 15, 16, 18, 19, 20, 21, 24
Under radiomottagning:
BAND-val 15, 16
Under uppspelning av CD/MD:
Skivbyte 10, 13
qj Sensor för kortfjärrkontrollen
Under radiomottagning :
qk Sifferknappar
Val av förinställda kanaler 16
Under radiomottagning:
4
Z (utmatning) knapp (på enhetens
Välja förinställningsnummer 15, 16,
framsida bakom frontpanelen)
18, 19
9
Under CD/MD-uppspelning:
5 DSPL/PTY-knapp (ändring av
(1) REP 11
visningsläge/programtyp) 9, 10, 12, 17,
(2) SHUF 11
20
ql AF-knapp 17, 18
6 LIST-knapp 12
Lista namn 13
w; TA-knapp 18, 19
7 SOURCE-knapp (TUNER/CD/MD) (knapp
* Var försiktig när du gör installationen
för val av ljudkälla)
i en bil där tändningslåset saknar
8, 9, 10, 13, 15, 16, 19
tillbehörsläge (ACC)
8 Teckenfönster
Glöm inte att stänga av klockvisningen
när du har stängt av motorn. Du stänger
9 OPEN-knapp 7, 9, 26
av den genom att trycka på (OFF) på
q; D-BASS-knapp 25
enheten under två sekunder.
Om du bara trycker på (OFF) ett kort
qa SOUND-knapp 23
ögonblick slocknar inte klockans
qs Återställningsknapp (på enhetens
teckenfönster, vilket leder till att batteriet
framsidan bakom frontpanelen) 7
laddas ur.
qd OFF-knapp* 7, 8, 9
qf SEEK/AMS –/+ (markör vänster/höger)
knappar
8, 10, 12, 14, 16, 18, 19, 21, 23, 24
Automatisk musiksökning (AMS) 10, 14
5
Manuell sökning 10

Reglagens placering
Trådlös fjärrkontroll RM-X91 (medföljer ej)
Knapparna på fjärrkontrollen har
OPEN/CLOSE
samma funktion som motsvarande
OFF
knappar på enheten.
1 OFF-knappen
MENU LIST
DISC
2 MENU-knapp
SEEK SEEK
SOURCE
3 SOURCE-knappen
4 SEEK/AMS-knappar
SOUND
DISC
ENTER
5 SOUND-knappen
6 DSPL (DSPL/PTY)-knappen
DSPL MODE
7 ATT-knappen
VOLATT
8 LIST-knapp
9 DISC/PRST-knappar
q; ENTER-knapp
qa MODE-knappen
qs VOL-knappar
Obs!
• Om du har stängt av enheten genom att trycka på (OFF) under 2 sekunder, kan du inte längre
kontrollera den med kortfjärrkontrollen, såvida du inte först trycker på (SOURCE) på enheten eller sätter
in en skiva så att enheten aktiveras.
• Lämna inte fjärrkontrollen på en plats där den kan utsättas för direkt solljus, t.ex. på instrumentbrädan
eller på rattstången. Fjärrkontrollen kan deformeras av värme.
• Det kan hända att MiniDisc-spelaren inte fungerar ordentligt med kortfjärrkontrollen i direkt solljus.
Minska i så fall avståndet mellan fjärrkontrollen och spelarens mottagare.
6

Sätta fast frontpanelen
Sätt i hålet A på frontpanelen i spindel B på
spelaren, enligt bilden och skjut sedan in den
Komma igång
vänstra sidan.
Återställa enheten
A
Innan du använder enheten för första gången
B
eller när du har bytt bilbatteri, måste du
återställa enheten.
Ta bort frontpanelen och tryck på reset-
knappen med ett spetsigt föremål, t.ex. en
kulspetspenna.
Återställningsknapp
x
Observera
Genom att trycka på återställningsknappen
raderar du inställningarna för klockan samt vissa
funktioner som lagras i minnet.
Ta bort frontpanelen
Som stöldskydd kan enhetens frontpanel tas
bort.
Observera
• Kontrollera att frontpanelen vänds åt rätt håll så
1 Tryck på (OFF).
att du inte fäster den upp och ned.
• Tryck inte frontpanelen hårt mot enheten när du
sätter fast den.
2 Tryck på (OPEN), skjut frontpanelen till
• Tryck inte hårt eller bruka våld mot
höger och dra sedan ut frontpanelens
frontpanelens teckenfönster.
vänstra sida.
• Utsätt inte frontpanelen för direkt solsken eller
värmekällor som t.ex. varmluftsventilation.
Lämna den heller aldrig på fuktiga platser.
Lämna den aldrig på instrumentbrädan i en bil
som står parkerad i direkt solljus där
temperaturen kan stiga drastiskt.
Varningslarm
1
Om du vrider tändlåset till läget OFF utan att
2
först ta bort frontpanelen kommer
varningslarmet att höras under några
sekunder.
Observera
Om du ansluter en valfri effektförstärkare
• Lägg inte något på frontpanelens insida.
istället för att använda den inbyggda
• Var försiktig så att du inte tappar panelen när du
förstärkaren, avaktiveras ljudsignalen.
tar bort den från enheten.
• Om du tar bort panelen medan enheten är på
slås strömmen automatiskt av för att skydda
högtalarna från att ta skada.
• Om du tar med dig frontpanelen kan du förvara
den i det medföljande fodralet.
7

Slå på/stänga av enheten
Ställa klockan
Slå på enheten
Klockan visar en 24-timmars digital
tidsangivelse.
Tryck på (SOURCE) eller sätt in en MD-skiva i
enheten.
Exempel: Ställ klockan på 10:08
Mer information om hur du använder enheten
1 Tryck på (MENU) och sedan flera gånger
finns på sidan 9 (MD/CD) och sidan 15
på någon sida av (DISC/PRST) tills
(radio).
“CLOCK” visas.
Stänga av enheten
Tryck på (OFF) när du vill stoppa MD- eller
CD-uppspelningen eller radiomottagningen
(tangentbelysningen och teckenfönstret stängs
inte av).
Tryck på (OFF) under två sekunder för att helt
1 Tryck på (ENTER).
stänga av enheten.
Obs!
Om din bils tändningslås saknar tillbehörsläge
(ACC) bör du se till att du stänger av enheten
Siffrorna för timmar blinkar.
genom att tryck på (OFF) och hålla den intryckt
under två sekunder, så undviker du att bilbatteriet
2 Ställ in timmarna genom att trycka på
laddas ur.
någon sida av (DISC/PRST).
Använda menyn
3 Tryck på (+) sidan av (SEEK/AMS).
Du kontrollerar den här enheten med hjälp av
alternativ som du väljer från en meny.
Du börjar med att växla till menyläget och gör
sedan dina val genom att flytta markören
uppåt/nedåt ((+)/(–) med (DISC/PRST)) eller
Siffrorna för minuter blinkar.
vänster/höger ((–)/(+) med (SEEK/AMS)).
4 Ställ in minuterna genom att trycka
(DISC/PRST)
på någon sida av (DISC/PRST).
(+): flytta uppåt
SOURCE
2 Tryck på (ENTER).
(–): flytta nedåt
(SEEK/AMS)
Klockan aktiveras.
(–): flytta åt
(+): flytta åt
När inställningarna för klockan är klara
SOURCE
vänster
höger
visas det normala uppspelningsläget i
teckenfönstret.
Tips!
Du kan ställa klockan automatiskt med RDS-
Obs!
funktionen (se sidan 17).
I menyläget betyder “v” till vänster i
teckenfönstret de valbara knapparna (DISC/PRST)
och (SEEK/AMS).
Obs!
När D.INFO-läget är ställt på ON visas alltid tiden
under förutsättning att M.DSPL är ställt på OFF
(sidan 24).
8

Efter det att det sista spåret på
MD-spelare
MD-skivan spelats upp
CD/MD-enhet (tillval)
Spårnumret i teckenfönstret återgår till ”1“,
varefter skivspelningen fortsätter från MD-
skivans första spår.
Förutom att spela upp MD-skivor kan du
också styra externa CD-/MD-enheter.
Funktion Tryck på
Om du ansluter en CD-enhet med CD TEXT-
Avbryta uppspelningen (OFF)
funktioner visas CD TEXT-informationen i
teckenfönstret när du spelar upp CD TEXT-
Ta ur MD-skivan (OPEN) sedan Z
skivor.
Spela en CD eller MD (med valfri
CD-/MD-enhet)
1 Tryck på (SOURCE) flera gånger för att
Lyssna på en MD-skiva
välja “CD” eller “MD”.
(endast med den här enheten)
2 Tryck på (MODE) tills önskad spelare
1 Tryck på (OPEN) och sätt i en MD-skiva.
visas.
Sidan med etiketten vänd uppåt
CD-/MD-uppspelningen börjar.
Alla skivor i den aktuella CD-/MD-enheten
Z
spelas upp från den översta.
Ändra de visade alternativen
Varje gång du trycker på (DSPL/PTY) under
uppspelning av MD-, CD- eller CD TEXT-
skivor, ändras alternativet enligt:
V
2 Stäng sedan frontpanelen.
1
Skivnummer*
/Spårnummer/
Uppspelningen startas automatiskt.
Förfluten uppspelningstid
V
Om du redan satt i en MD-skiva startar du
2
3
Skivnamn*
/Artistnamn*
uppspelningen genom att trycka på (SOURCE)
flera gånger tills “MD” visas.
V
4
Spårnamn*
MD-skivans titel* och spårets namn visas i
V
teckenfönstret, sedan visas uppspelningstiden.
FM1 Frekvens eller
MD-indikatorn
5
FM1-stationsnamn*
*
1
När en valfri CD-/MD-enhet är ansluten.
*
2
Om du inte har gett CD- eller CD TEXT-skivan ett
namn (se “Namnge en CD-skiva”, på sidan 12),
eller om det inte finns något förinspelat namn
Spårnummer Förfluten speltid
på MD-skivan, visas “DISC” och “NO NAME” i
teckenfönstret.
* Endast när titlarna finns inspelade på MD-skivan.
*
3
När du spelar upp en CD TEXT-skiva visas
artistens namn i textfönstret efter namnet på
skivan. (Gäller bara CD TEXT-skivor där
artistnamnet finns inspelat.)
*
4
Om spårnamnet på en CD TEXT-skiva eller MD-
skiva inte är förinspelat visas “TRACK” och “NO
NAME” i teckenfönstret.
*
5
När funktionen AF/TA är aktiverad.
9

Efter att du valt det önskade alternativet
Hitta ett visst spår
kommer teckenfönstret att automatiskt ändras
— AMS-funktionen
till Motion Display-läget efter några sekunder.
I det rörliga visningsläget (Motion Display)
Under uppspelning trycker du en kort
rullas alla ovan nämnda val ett efter ett fram i
stund på någon sida av (SEEK/AMS) för
teckenfönstret.
varje spår du vill hoppa över.
Obs!
Om du har angett egna etiketter har de högre
prioritet än den ursprungliga CD TEXT-
Hitta
Hitta
föregående
SOURCE
efterföljande
informationen, när sådan information visas.
spår
spår
Tips
Du kan avaktivera Motion Display-funktionen. (Se
“Ändra ljud- och teckeninställningarna” på sidan
24.)
Söka en viss del av ett spår
— Manuell sökning
Visa hela skivnamnet automatiskt
— Automatisk bläddring
Under uppspelning trycker du och håller
ned någon sida av (SEEK/AMS). Släpp
Om skiv-, artist- eller spårnamnet på en MD-
upp den när du hittat önskad punkt.
eller CD TEXT-skiva är längre än 8 tecken och
den automatiska rullningen är påslagen, rullas
informationen automatiskt i teckenfönstret
enligt följande:
• Skivnamnet visas när du har bytt skiva (om du
Söka bakåt Söka framåt
SOURCE
valt det är skivnamnet som ska visas).
• Spårnamnet visas när du har bytt spår (om du
valt att det är spårnamnet som ska visas).
• När du trycker på (SOURCE) för att välja en MD-
eller CD TEXT-skiva visas skiv- eller spårnamnet
Obs!
beroende på inställningen.
Om “
” eller “ ” visas i
teckenfönstret har du nått början eller slutet på
skivan och kan inte komma längre.
Om du trycker på (DSPL/PTY) för att ändra
visningen, rullas CD TEXT- eller MD-skivans
skiv-eller spårnamn automatiskt oavsett om
Hitta en skiva
funktionen är aktiv eller inte.
— Val av skiva
När en valfri CD-/MD-enhet är ansluten
1 Tryck på (MENU) under uppspelning.
trycker du på någon sida av
(DISC/PRST) för att välja önskad skiva.
2 Tryck flera gånger på någon sida av
Uppspelningen börjar med önskad skiva i
(DISC/PRST) tills “A.SCRL-OFF” visas.
den extra CD-/MD-enheten.
3 Tryck på (+) sidan av (SEEK/AMS) för att
välja “A.SCRL-ON”.
4 Tryck på (ENTER).
Om du vill avbryta den automatiska
rullningen väljer du “A.SCRL-OFF” i steg 3.
Observera
FFör vissa CD TEXT-skivor med extremt många
tecken kan följande inträffa:
— Alla tecken visas inte.
— Den automatiska bläddringsfunktionen
fungerar inte.
10

Spela upp spår flera
Spela upp spår i
gånger — Upprepad uppspelning
slumpmässig ordning
— Slumpmässig uppspelning
MD-skivan i huvudenheten upprepas
automatiskt igen när den nått slutet. Som
Du kan välja:
upprepad uppspelning kan du välja:
•SHUF-1 — to när du vill spela upp spåren på
•REP-1 — när du vill upprepa spåret.
aktuell skiva i slumpmässig ordning.
•REP-2 — för att upprepa en skiva i den extra
•SHUF-2 — spelar upp alla spår i den aktuella
CD-/MD-enheten.
CD-/MD-enheten i slumpvis ordning.
•SHUF-ALL — spelar upp alla spår i den extra
CD-/MD-enheten i slumpvis ordning.
Under uppspelning trycker du på (1)
(REP) flera gånger tills önskad inställning
visas i teckenfönstret.
Under uppspelning trycker du på(2)
(SHUF) flera gånger tills önskad
B REP-1 B REP-2*
inställning visas i teckenfönstret.
REP-OFF b
B SHUF-1 B SHUF-2* B SHUF-ALL*
* “REP-2” är bara tillgänglig när du ansluter en
eller fler MD-enheter, eller när du ansluter en
SHUF-OFF b
eller fler extra CD-enheter.
* “SHUF-2” och “SHUF-ALL” är bara tillgängligt
när du ansluter en eller fler extra MD-
PTY
DSPL
enheter, eller när du ansluter två eller fler
LIST
extra CD-enheter.
-
SEEK/AMS
PTY
DSPL
ENTER
LIST
REP SHUF
MODE
1 2 3 4 56
-
SEEK/AMS
ENTER
REP SHUF
Upprepad spelning startar.
MODE
1 2 3 4 56
För att växla tillbaka till normalt
uppspelningsläge väljer du “REP-OFF”.
Slumpmässig uppspelning startar.
För att växla tillbaka till normalt
uppspelningsläge väljer du “SHUF-OFF”.
11

5 Om du vill återgå till normal CD-
Namnge en CD-skiva
uppspelning trycker du på (ENTER).
— Skivminne
Tips!
(CD-spelare med funktion för eget
• Du kan radera eller ändra ett namn genom att
skivminne (CUSTOM FILE))
mata in ett “_” (understreck) för varje tecken.
• Det finns ytterligare ett sätt att starta
Du kan namnge en CD-skiva med ett
namngivningen av en CD-skiva. Tryck på (LIST)
under två sekunder i stället för att utföra steg 2
personligt namn. Du kan använda upp till 8
och 3. Du kan också slutföra operationen genom
tecken per skiva. Om du namnger en CD-
att trycka på (LIST) under två sekunder i stället
skiva, kan du söka en skiva efter namn (sidan
för att utföra steg 5.
13) och välja spår för uppspelning (sidan 14).
• Du kan namnge CD-skivor på en enhet som
saknar funktion för eget skivminne (CUSTOM
FILE), men det förutsätter att den är hopkopplad
1 Starta uppspelningen av den skiva som
med en enhet som har en sådan funktion. Med
du vill namnge.
funktionen för eget skivminne (CUSTOM FILE)
kan du lagra namnet på en skiva i CD-spelarens
minne.
2 Tryck först på (MENU) och sedan flera
gånger på någon sida av (DISC/PRST)
tills “NAME EDIT” visas.
Visa skivminne
Tryck på (DSPL/PTY) under CD eller CD
3 Tryck på (ENTER).
TEXT uppspelningen.
Namnredigeringsläge
Varje gång du trycker på (DSPL/PTY) under
Enheten spelar upp skivan medan du
CD eller CD TEXT uppspelning ändras
namnger den.
informationen i teckenfönstret på följande
sätt:
4 Mata in tecknen.
1 Tryck flera gånger på (+) sidan av
V
1
(DISC/PRST) för att välja önskat
Skivnummer*
/Spårnummer/
Förfluten uppspelningstid
tecken.
(A t B t C t ··· Z t 0 t 1 t 2 t
V
··· 9 t + t – t * t / t \ t > t <
Skivminne
t . t _ )
V
2
Spårnamn*
V
FM1 Frekvens eller
3
Om du trycker flera gånger på (–) sidan
FM1-stationsnamn*
av (DISC/PRST) visas tecknen i omvänd
ordning.
1
Om du vill göra mellanslag efter ett
*
När en extra CD-enhet är ansluten.
2
*
Om du ansluter en valfri CD- spelare med CD
tecken, väljer du “_” (understreck).
TEXT-funktionen visas CD TEXT-
informationen i teckenfönstret när du spelar
2 Tryck på (+) sidan av (SEEK/AMS) när
upp en CD TEXT-skiva.
du har hittat önskat tecken.
3
*
När funktionen AF/TA är aktiverad.
Nästa tecken blinkar.
Om du trycker på (–) sidan av
(SEEK/AMS) blinkar det föregående
tecknet.
3 Upprepa steg 1 och 2 när du anger
12
namnet.

Radera skivminne
Hitta en CD-skiva efter
1 Tryck på (SOURCE) flera gånger för att
välja “CD”.
namn — Lista namn (För en CD-enhet
med CD TEXT-funktion/funktion för eget
2 Välj CD-enhet som har funktionen för
skivminne (CUSTOM FILE) eller en MD-
eget skivminne (CUSTOM FILE) genom
enhet)
att trycka flera gånger på (MODE).
Du kan använda den här funktionen för skivor
som du har gett egna skivnamn, liksom för CD
3 Tryck först på (MENU), och sedan flera
TEXT-skivor.
gånger på någon sida av (DISC/PRST)
Du kan hitta en skiva genom
tills “NAME DEL” visas.
— ett namn du gett den: när du gett en CD-
eller MD-skiva ett namn med hjälp av
4 Tryck på (ENTER).
funktionen eget skivminne (CUSTOM
FILE) eller en MD-enhet. (Mer information
om skivnamn finns under “Namnge en CD-
5 Tryck flera gånger på valfri sida av
skiva” på sidan 12).
(DISC/PRST) för att välja det skivnamn
— CD TEXT-informationen: när du spelar upp
du vill radera.
en CD TEXT-skiva med CD TEXT-funktion.
6 Tryck på (ENTER) i två sekunder.
1 Tryck på (LIST).
Namnet raderas.
Namnet på den skivan som spelas upp
Upprepa steg 5 och 6 om så behövs.
visas i teckenfönstret.
7 Tryck på (MENU) två gånger.
Enheten återgår till normalt CD-
uppspelningsläge.
Obs!
• Om du vill radera ett skivminne spelar du en CD-
När du själv har namngett en CD TEXT-
skiva på den CD-enhet som skivminnet som du
skiva får namnet som du har angett högre
vill ta bort finns lagrad på.
prioritet än den ursprungliga CD TEXT-
• Om du tar bort information som du själv angett
informationen.
för en CD TEXT-skiva, visas i stället den
ursprungliga CD TEXT-informationen i
2 Tryck flera gånger på valfri sida av
teckenfönstret.
(DISC/PRST) tills du hittat önskad skiva.
3 Tryck på (ENTER) för att spela skivan.
Observera
• Om du använder fjärrkontrollen kommer du
tillbaka till normalt uppspelningsläge genom att
trycka på (LIST). Om du bara använder
knapparna på enheten återgår teckenfönstret till
normalläge efter ungefär fem sekunder.
• Spårnamnen kan inte visas under MD-eller CD
TEXT-skiva.
• Om det inte finns några skivor i CD/MD-enheten
visas “NO DISC” i teckenfönstret.
• För en skiva som du inte har gett ett eget
skivnamn visas “********” i teckenfönstret.
• Vissa bokstäver kan inte visas under uppspelning
av MD- eller CD TEXT-skivor.
• Om skivinformationen ännu inte har lästs in av
enheten visas “NOT READ” i teckenfönstret.
13

Spela endast vissa spår
Välja spår för uppspelning
Du kan välja:
•“BANK-ON” — för att spela upp de spår
— Bank
som är märkta med “PLAY”.
(CD-spelare med funktion för eget
•“BANK-INV” (inverterat) — för att spela upp
skivminne (CUSTOM FILE))
de spår som är märkta med “SKIP”.
Om du gett skivan ett namn kan du ställa in
enheten så att den hoppar över eller spelar upp
1 Under uppspelning trycker du först på
de spår du vill.
(MENU), och sedan flera gånger på
någon sida av (DISC/PRST) tills “BANK-
1 Börja spela upp den skiva du vill
ON” “BANK-INV” eller “BANK-OFF” visas.
namnge.
2 Tryck flera gånger på (+) sidan av
(SEEK/AMS) tills önskad inställning visas.
2 Tryck först på (MENU), och sedan flera
B BANK-ON B BANK-INV
gånger på valfri sida av(DISC/PRST) tills
“BANK SEL” visas.
BANK-OFF b
3 Tryck på (ENTER).
Bankredigeringsläge
3 Tryck på (ENTER).
Uppspelningen startar från nästföljande
spår.
4 Namnge spår
1 Tryck flera gånger på någon sida av
Om du vill återgå till normalt
(SEEK/AMS) för att välja det spår du vill
uppspelningsläge väljer du “BANK-OFF” i
namnge.
steg 2.
2 Tryck på (ENTER) flera gånger för att
välja “PLAY”eller “SKIP”.
5 Upprepa steg 4 för att ställa “PLAY” eller
“SKIP” för alla spår.
6 Tryck på (MENU) två gånger.
Enheten återgår till normalt CD-
uppspelningsläge.
Observera
• Du kan välja läget “PLAY” eller “SKIP” för upp
till 24 spår.
• Du kan inte välja “SKIP” för alla spår på en CD-
skiva.
14

Lagra endast de önskade
Radio
kanalerna
Du kan förinställa upp till 18 FM-stationer (6
för vardera FM1, FM2 och FM3), upp till 6
MW-stationer och 6 LW-stationer i den
Lagra kanaler automatiskt
ordning som du själv vill ha dem.
— BTM-funktionen
Enheten väljer ut kanalerna med de starkaste
1 Tryck på (SOURCE) flera gånger för att
signalerna och lagrar dem efter frekvens. Du
välja kanalväljaren.
kan lagra upp till 6 stationer på vardera bandet
(FM1, FM2, FM3, MW och LW).
2 Tryck på (MODE) flera gånger för att
välja band.
Varning
För att undvika olyckor bör du använda BTM-
3 Tryck på någon sida(SEEK/AMS) för att
funktionen om du tar in en kanal under
ställa in den kanal som du vill lagra på
körning.
sifferknappen.
1 Tryck på (SOURCE) flera gånger för att
4 Tryck på önskad sifferknapp ((1) till (6))
välja kanalväljaren.
under två sekunder tills “MEM” visas.
Varje gång du trycker på (SOURCE) växlas
Snabbvalsknappens nummer visas i
källorna på följande sätt:
teckenfönstret.
B Tuner B CD* B MD
Observera
* Om den motsvarande extrautrustningen inte
Om du försöker lagra en annan kanal på samma
är ansluten visas inte alternativet.
förinställda nummerknapp raderas den tidigare
lagrade kanalen.
2 Tryck på (MODE) flera gånger för att
välja band.
Varje gång du trycker på (MODE) växlas
banden på följande sätt:
B FM1 B FM2 B FM3
LW b MW b
3 Tryck på (MENU), tryck sedan flera
gånger på någon sida av (DISC/PRST)
tills “BTM” visas.
4 Tryck på (ENTER).
Kanalerna lagras i enheten efter frekvens på
sifferknapparna.
En ljudsignal hörs när inställningen lagras.
Observera
• Enheten lagrar inte kanaler med svaga signaler.
Om endast ett fåtal kanaler kan tas emot
behåller vissa nummerknappar sina forna
inställningen.
• När ett nummer visas i teckenfönstret lagras
kanalerna från och med detta nummer.
• Om en MD-skiva inte finns i enheten visas endast
radiobandet även om du trycker på (SOURCE).
15

Om FM stereo-mottagningen är
Motta de lagrade
dålig
— Enkanaligt läge
kanalerna
1 Under radiomottagning trycker du på
(MENU), och sedan flera gånger på
1 Tryck på (SOURCE) flera gånger för att
någon sida av (DISC/PRST) tills “MONO-
välja kanalväljaren.
OFF” visas.
2 Tryck på (MODE) flera gånger för att
2 Tryck på (+) sidan av (SEEK/AMS) tills
välja band.
“MONO-ON” visas.
Ljudet förbättras i och med att det blir
3 Tryck på sifferknappen ((1) till (6)) där
enkanaligt (“ST”-indikeringen försvinner).
den önskade kanalen lagrats.
Tips!
3 Tryck på (ENTER).
Tryck på någon sida av (DISC/PRST) för att välja
kanal i den ordning som de är lagrade i minnet
Om du vill återgå till normalläget väljer du
(Preset Search Function).
“MONO-OFF” i steg 2.
Om du inte kan ställa in en
förinställd kanal
Tryck på någon sida av (SEEK/AMS) för
att söka efter kanalen (automatisk
inställning).
Sökningen stannar när enheten tar emot en
kanal. Tryck på någon sida av
(SEEK/AMS) flera gånger tills du får in
önskad kanal.
Obs!
Om du tycker att den automatiska sökningen
stannar upp alltför ofta, trycker du på först
på(MENU) och sedan flera gånger på någon sida
av (DISC/PRST) tills “LOCAL” (lokalt sökläge) visas.
Tryck sedan på (+) sidan av (SEEK/AMS) för att
välja “LOCAL-ON” och därefter på (ENTER).
Sökningen stannar nu upp bara för stationer med
relativt stark signal.
Tips!
• När du väljer inställningen “LOCAL-ON” visas
“L.SEEK” medan enheten söker efter en kanal.
• Om du vet frekvensen för den kanal du vill lyssna
på trycker du ned någon sida av (SEEK/AMS) och
håller den nedtryckt tills önskad frekvens visas
(manuell inställning).
16

Tips!
Du kan avaktivera Motion Display-funktionen. (Se
“Ändra ljud- och teckeninställningarna” på sidan
RDS
24.)
Observera
“NO NAME” visas om den mottagna kanalen inte
sänder RDS-data.
Översikt av RDS-
funktionen
RDS (Radio Data System) är en radiotjänst som
Ställa in samma program
gör att FM-kanalerna kan sända ytterligare
automatiskt
digital information tillsammans med den
vanliga radioprogramsignalen. Bilstereon
— Alternativa frekvenser (AF)
erbjuder dig en mängd olika tjänster. Här är
AF-funktionen väljer automatiskt och ställer in
några: söka efter samma program automatiskt,
den station som har den starkaste signalen i
lyssna på trafikmeddelanden och hitta kanal
nätverket. Om du använder den här
efter programtyp.
funktionen kan du lyssna på samma program
Observera
under en långkörning utan att behöva ställa in
• Landet eller regionen avgör vilka RDS-funktioner
kanalen manuellt igen.
som finns tillgängliga.
• RDS fungerar inte ordentligt om signalen är för
Frekvenserna ändras automatiskt.
svag eller om den inställda kanalen inte överför
RDS-data.
98,5MHz
96,0MHz
Visa kanalnamnet
Kanal
Den aktuella kanalens namn tänds i
teckenfönstret.
102,5MHz
Välj en FM-kanal (sidan 16).
När du ställer in en FM-kanal som överför
1 Välj en FM-kanal (sidan 16).
RDS-data tänds kanalnamnet i
teckenfönstret.
2 Tryck på (AF) upprepade gånger tills
“AF-ON” tänds i teckenfönstret.
Enheten börjar söka efter en alternativ
kanal med en starkare signal i samma
nätverk.
Observera
Beteckningen “*” innebär att en RDS-kanal
mottas.
Ändra de visade alternativen
Varje gång du trycker på (DSPL/PTY) ändras
visningen på följande sätt:
Kanalnamn (Frekvens) y PTY-information
När du har valt önskat alternativ visar
spelaren efter några sekunder automatiskt det
rörliga teckenfönstret (Motion Display).
I det rörliga teckenfönstret rullas de olika
alternativen förbi, ett efter ett i tur och
ordning.
17

Observera
Funktionen lokal länk
• När det inte finns någon alternativ kanal i
området och du inte vill söka efter en alternativ
(endast Storbritannien)
kanal, stänger du av AF-funktionen genom att
Med funktionen lokal länk kan du välja andra
trycka på (AF) upprepade gånger tills “AF-OFF”
lokala stationer i området, även om de inte
tänds.
finns lagrade på nummerknapparna.
• När “NO AF” och namnet på kanalen blinkar
omväxlande betyder det att enheten inte kan
hitta en alternativ kanal i nätverket.
1 Tryck på en förinställd nummerknapp
• Om kanalnamnet börjar blinka när du har valt en
där en lokal kanal har lagrats.
kanal med AF-funktionen aktiverad, betyder det
att inga alternativa frekvenser finns tillgängliga.
Tryck på någon sida av (SEEK/AMS) medan
2 Inom fem sekunder trycker du på den
kanalens namn blinkar (inom åtta sekunder).
förinställda nummerknappen för den
Enheten börjar söka efter en annan frekvens
lokala kanalen igen.
med samma PI-information (Programme
Identification) (“PI SEEK” visas och inget ljud
hörs). Om enheten inte kan hitta en annan
3 Upprepa detta tills den önskade lokala
frekvens visas “NO PI” och den återgår till den
kanalen mottas.
tidigare valda frekvensen.
Lyssna på ett regionalt program
Funktionen “REG-ON” (regional on) på
enheten gör att du kan bibehålla inställningen
Lyssna på
till ett regionalt program utan att kopplas om
till en annan regional kanal. (Observera att du
trafikmeddelanden
måste sätta på AF-funktionen.) Enheten är
Funktionerna TA (Traffic Announcement,
fabriksinställd på “REG-ON” men om du vill
trafikmeddelanden) och TP (Traffic
stänga av funktionen gör du något av följande.
Programme, trafikprogram) gör att du
automatiskt kan ställa in en FM-kanal som
1 Under radiomottagning trycker du på
sänder trafikmeddelanden, även om du för
(MENU) och sedan flera gånger på någon
tillfället lyssnar på en helt annan
sida av (DISC/PRST) tills “REG” visas.
programkälla.
2 Tryck på (+) sidan av (SEEK/AMS) tills
Tryck på (TA) flera gånger tills “TA-ON”
“REG-OFF” visas.
visas.
Enheten börjar söka efter
trafikinformationskanaler. “TP” tänds i
3 Tryck på (ENTER).
teckenfönstret när enheten hittar en kanal
Observera att om du trycker på “REG-OFF”
som sänder trafikmeddelanden.
kanske enheten kopplas om till en annan
När trafikmeddelandet startas, börjar “TA”
regional kanal inom samma nätverk.
blinka. När trafikmeddelandet är klart
upphör blinkningen.
Du återgår till regionalläget genom att välja
“REG-ON” i steg 2.
Tips!
Om trafikmeddelandet startar när du lyssnar på en
Observera
annan programkälla, kopplas enheten automatiskt
Den här funktionen fungerar inte i Storbritannien
till meddelandet och återgår till originalkällan när
och i några andra områden.
meddelandet är klart.
18

Observera
• “NO TP” blinkar i fem sekunder om den
Förinställa RDS-kanalerna
mottagna kanalen inte sänder
trafikmeddelanden. Sedan börjar enheten på
med AF och TA data
nytt att söka efter en kanal som sänder
trafikmeddelanden.
• När indikeringen “EON” visas med “TP” i
När du förinställer RDS-kanalerna, lagrar
teckenfönstret, sänder den aktuella kanalen
enheten alla uppgifter om kanalen samt
trafikmeddelanden från andra kanaler i samma
frekvensen så att du inte behöver sätta på AF
nätverk.
och TA-funktionerna varje gång du ställer in
en förinställd kanal. Du kan välja olika
inställningar (AF, TA eller båda två) för olika
Avbryta pågående
förinställda kanaler, eller samma inställning
trafikmeddelanden
för alla förinställda kanaler.
Tryck på (TA), (SOURCE) eller (MODE).
Om du vill avbryta alla trafikmeddelanden
Förinställa samma inställning för
stänger du av funktionen genom att trycka
alla förinställda kanaler.
på (TA) tills “TA-OFF” tänds.
1 Välja ett FM-band (sidan 15).
Förinställa volymen på
2 Tryck på (AF) och/eller (TA) för att välja
trafikmeddelandena
“AF-ON” och/eller “TA-ON”.
Du kan förinställa volymnivån på
Tänk på att när du väljer “AF-OFF” eller
trafikmeddelandena i förväg så att du inte
“TA-OFF” lagras inte bara RDS-kanaler
missar meddelandet. När trafikmeddelandet
utan också kanaler som inte är av typen
startar, justeras volymen automatiskt till den
RDS.
förinställda nivån.
3 Tryck först på (MENU) och sedan flera
1 Ställ in önskad ljudvolym genom att
gånger på någon sida av (DISC/PRST)
vrida på volymkontrollen.
tills “BTM” visas.
2 Tryck på (TA) under två sekunder.
4 Tryck på (+) sidan av (SEEK/AMS) tills
“TA” visas när inställningen lagras.
“BTM” blinkar.
Motta viktigt meddelande
5 Tryck på (ENTER).
Om du lyssnar på radio och ett angeläget
meddelande sänds, växlar mottagningen
Förinställa olika inställningar för
automatiskt över till meddelandet. Om du
varje förinställda kanaler
lyssnar på en annan programkälla kommer du
att få höra meddelandet om du har ställt AF
1 Välj ett FM-band och ställ in önskad
eller TA på ON. Enheten kommer då att
kanal (sidan 16).
automatiskt växla över till sådana
meddelanden oavsett vilken programkälla du
för tillfället lyssnar på.
2 Tryck på (AF) och/eller (TA) för att välja
“AF-ON” och/eller “TA-ON”.
3 Tryck på önskad snabbvalsknapp tills
“MEM” visas.
Upprepa från steg 1 när du vill förinställa
andra kanaler.
19

1 Tryck på (DSPL/PTY) under FM-
Söka en kanal efter
mottagningen tills “PTY” visas i
teckenfönstret.
programtyp
Du kan söka efter valfri kanal genom att välja
en av de programtyper som visas nedan.
Det aktuella namnet på programtypen visas
Programtyper Teckenfönster
om kanalen överför PTY-data. “- - - - -”
Nyheter NEWS
visas om den mottagna kanalen inte är en
Aktuella händelser AFFAIRS
RDS-kanal eller om RDS-data inte har tagits
emot.
Information INFO
Sport SPORT
2 Tryck på (DISC/PRST) flera gånger tills
Utbildning EDUCATE
den önskade programtypen visas.
Drama DRAMA
Programtyperna visas i den ordning som
Kultur CULTURE
anges i tabellen. Observera att du inte kan
välja “NONE” (Inte angiven) vid sökning.
Vetenskap SCIENCE
Diverse VARIED
Popmusik POP M
Rockmusik ROCK M
Lättlyssnat EASY M
3 Tryck på (ENTER).
Lättare klassiskt LIGHT M
Enheten börjar söka efter en kanal för den
Klassiskt CLASSICS
valda programtypen.
Andra musiktyper OTHER M
Väder WEATHER
Finansinformation FINANCE
Barnprogram CHILDREN
Samhällsinformation SOCIAL A
Religion RELIGION
Ring in PHONE IN
Resor TRAVEL
Nöjen LEISURE
Jazzmusik JAZZ
Country-musik COUNTRY
Nationell musik NATION M
Gamla godingar OLDIES
Folkmusik FOLK M
Dokumentärer DOCUMENT
Inte angiven NONE
Observera
Du kan inte använda den här funktionen i vissa
länder där PTY-data inte är tillgängliga.
20

Ställa klockan
Övriga funktioner
automatiskt
Med CT-data (Clock Time) från RDS-
Du kan också kontrollera enheten med hjälp av
överföringen ställs klockan automatiskt.
en vridkontroll (extra tillbehör).
1 Under radiomottagning trycker du på
(MENU) och sedan flera gånger på någon
sida av (DISC/PRST) tills “CT” visas.
Fästa etiketten på
vridkontrollen
Fäst den etikett som stämmer med hur du har
monterat vridkontrollen (se bilden).
2 Tryck flera gånger på (+) sidan av
(SEEK/AMS) tills “CT-ON” visas.
Klockan är ställd.
SOUND
MODE
DSPL
3 Tryck på (ENTER) för att återgå till det
normala teckenfönstret.
Avbryta CT-funktionen
DSPL
Välj “CT-OFF” i steg 2.
MODE
SOUND
Observera
• CT-funktionen kanske inte fungerar trots att en
RDS-kanal mottas.
• Det kan vara skillnad på tiden som ställts in av
CT-funktionen och den verkliga tiden.
21

Genom att vrida kontrollen
Använda vridkontrollen
(SEEK/AMS-kontrollen)
Vridkontrollen fungerar genom att du trycker
på knapparna och/eller vrider kontrollerna.
Du kan också kontrollera en valfri CD-/MD-
enhet med vridkontrollen.
Genom att trycka på knapparna
(SOURCE och MODE-knapparna)
Vrid kontrollen helt kort och släpp upp
(SOURCE)
den för att:
•Hitta ett visst spår på en skiva. Vrid och
håll kontrollen nere tills du hittar den
önskade punkten i spåret, och släpp sedan
upp kontrollen för att starta
(MODE)
uppspelningen.
•Ta in kanaler automatiskt. Vrid och håll
fast kontrollen för att hitta en specifik
kanal.
Varje gång du trycker på (SOURCE)
ändras funktionen på följande sätt:
Genom att trycka in och vrida
Tuner t CD* t MD
kontrollen (PRESET/DISC-
kontrollen)
* Om den motsvarande extrautrustningen inte
är ansluten kommer inte alternativet att
visas.
När du trycker på (MODE) ändras
funktionen på följande sätt;
• Tuner: FM1 t FM2 t FM3 t MW t LW
• CD-spelare*: CD1 t CD2 t …
• MD-spelare*: MD1 t MD2 t …
* Om motsvarande valfri utrustning inte är
ansluten, visas inte dessa alternativ.
Tryck in och vrid kontrollen för att:
•Ta in kanalerna som är lagrade på
snabbvalsknapparna.
•Byta skiva.
22

Övriga funktioner
Vrid kontrollen VOL för att
Ljudjustering
justera volymen.
Tryck på (ATT)
Du kan justera basen, diskanten, balansen och
för att dämpa
uttoningen.
ljudet.
Du kan lagra bas- och diskantnivåerna för
varje källa för sig.
OFF
1 Välj vilka egenskaper du vill justera
Tryck på (OFF)
genom att flera gånger trycka på
för att stänga av
(SOUND).
enheten.
Varje gång du trycker på (SOUND) ändras
alternativen enligt följande:
Tryck på (SOUND) när
BAS (bas) t TRE (diskant) t BAL (vänster-
du vill justera volymen
höger) t FAD (främre-bakre)
och ljudmenyn.
2 Ställ in det valda alternativet genom att
trycka på någon sida av (SEEK/AMS).
När du gör inställningen med hjälp av
Tryck på (DSPL) för att visa de
vridkontrollen trycker du först på (SOUND)
lagrade namnen.
och vrider sedan VOL-kontrollen.
Tips!
Om bilens tändlås saknar tillbehörsläge (ACC-läge)
Obs!
bör du komma ihåg att stänga av klockindikatorn
Gör justeringen inom tre sekunder efter det att du
genom att trycka på (OFF) under två sekunder
har valt alternativet.
sedan du har stängt av motorn.
Byta styrriktning
Kontrollens styrriktning är fabriksinställd
enligt bilden nedan.
öka
minska
Om du behöver montera vridkontrollen på
höger sida av ratten kan du växla styrriktning
för kontrollerna.
Tryck på (SOUND) under två sekunder
medan du trycker på VOL-reglaget.
Tips!
Du kan också ändra riktningen på de här
funktionerna med enheten (se “Ändra ljud och
teckenfönsterinställningar” på sidan 24).
23

1 Tryck på (MENU).
Snabbdämpa ljudet
(med vridkontrollen eller
2 Tryck flera gånger på någon sida av
(DISC/PRST) tills önskat alternativ visas.
kortfjärrkontrollen)
Varje gång du trycker på (–) sidan av
(DISC/PRST) ändras alternativen enligt:
Tryck på (ATT) på vridkontrollen eller
kortfjärrkontrollen.
CLOCK t CT t BEEP t RM t D.INFO t
1
2
“ATT-ON” blinkar till ett kort ögonblick.
DIMMER*
t M.DSPL t A.SCRL*
1
Återgå till tidigare ljudnivå genom att trycka
*
Endast MDX-C6500RV
2
på (ATT) en gång till.
*
Om ingen CD-skiva spelas på en enhet med
CD TEXT-funktion, eller ingen MD-skiva
spelas, visas inte det här alternativet.
Tips!
När en kabel till en biltelefon är ansluten till ATT
minskar enheten volymen automatiskt när ett
Observera
telefonsamtal kommer in (Telephone ATT) (endast
Visningen i teckenfönstret beror på källan.
MDX-C6500RX/C6500RV/C6500R).
Tips!
Du kan enkelt växla mellan kategorierna
(“SET”, “DIS”, “P/M” (uppspelningsläge) och
“EDT” (redigeringsläge)) genom att hålla
någon sida av (DISC/PRST) intryckt under två
Ändra ljud- och
sekunder.
teckeninställningarna
3 Tryck på (+) sidan av (SEEK/AMS) för att
Följande inställningar kan göras:
välja önskad inställning (Exempel: ON
SET (inställning)
eller OFF).
•CLOCK (Klockan) (sidan 8)
•CT (Clock Time) (sidan 21)
4 Tryck på (ENTER).
•BEEP — när du vill sätta på eller stänga av
När lägesinställningarna är klara återgår
ljudsignalen.
teckenfönstret till normalt
•RM (Vridkontroll) — när du vill byta
uppspelningsläge.
styrriktning på vridkontrollens reglage.
— Välj “NORM” om du vill använda
vridkontrollens fabriksinställningar.
— Välj “REV” om du vill montera
vridkontrollen på rattens högra sida.
DIS (teckenfönster)
•D.INFO (Dubbel information) — visar tid och
uppspelningsläge samtidigt (ON).
•DIMMER — tona ned teckenfönstret (ON)
eller inte (OFF) (endast MDX-C6500RV).
•M.DSPL (Rörligt teckenfönster) — för att slå
på/av den rörliga visningen (Motion
Display).
•A.SCRL (Automatisk bläddring) (sidan 10)
Observera
Om du ansluter en annan förstärkare istället för
att använda den inbyggda kopplas ljudsignalen
bort.
24

Ytterligare
Höja basljudet
information
— D-bass
Ger dig ett tydligare och starkare basljud.
Funktionen D-bass ger en mer påtaglig
förstärkning av de låga och höga frekvenserna
Underhåll
i signalen än den konventionella
basförstärkningen.
Byta säkring
Du kan lättare höra basgången även om
volymen på sången är densamma. Du kan
När du byter säkring måste du se till att du
enkelt förstärka och justera basljudet med
använder en med rätt ampéretal. Om
knappen D-BASS.
säkringen går, kontrollera anslutningen och
byt säkring. Om säkringen går igen kan det
D-BASS 3
bero på internt fel. I så fall ska du kontakta din
Nivå
D-BASS 2
Sony-återförsäljare.
D-BASS 1
D-BASS 3
D-BASS 2
D-BASS 1
0dB
Frekvens(Hz)
Justera baskurvan
Säkring (10 A)
Tryck på (D-BASS) flera gånger tills
önskad nivå på basen visas i
teckenfönstret.
VARNING
Använd aldrig en säkring med högre
B D.BASS 1 B D.BASS 2 B D.BASS 3
strömstyrka än den som medföljer enheten
eftersom denna kan skadas.
D.BASS-OFF b
För att avbryta väljer du “D.BASS-OFF”.
Observera
Om distorsion uppstår i basen ställer du in en läge
nivå av “D.BASS”‚ eller justerar volymen.
25

Rengöra anslutningarna
Byta litiumbatteriet
Enheten fungerar inte ordentligt om
När du måste hålla fjärrkontrollen på allt
anslutningarna mellan enheten och
kortare avstånd för att den ska fungera är det
frontpanelen är smutsiga. För att förhindra
tecken på att batteriet i den behöver bytas ut.
detta öppnar du frontpanelen genom att trycka
Byt ut batteriet med ett nytt CR2025
på (OPEN) och tar sedan bort den. Rengör
litiumbatteri.
kontaktblecken med en bomullstopp doppad i
alkohol. Ta inte i för hårt, då kan
anslutningarna skadas.
Huvudenheten
x
+ sidan uppåt
Baksidan på frontpanelen
Observera
• Slå av motorn och ta ur nycklarna ur tändlåset
innan du rengör anslutningarna. Detta är en
säkerhetsåtgärd.
• Rör aldrig anslutningarna med dina fingrar eller
något metallföremål.
Litiumbatterier
•Se till att inga barn kan få tag på
litiumbatteriet. Skulle ett batteri sväljas ska
du genast kontakta läkare.
•Torka batteriet med en torr duk så att
försäkrar du dig om bästa möjliga kontakt.
•Se till att du vänder polerna rätt när du
installerar batteriet.
•Förvara inte batteriet tillsammans med
metallföremål eftersom det ökar risken för
kortslutning.
VARNING
Batteriet kan explodera om du hanterar det
på fel sätt.
Ladda inte upp, ta isär eller elda upp
batteriet.
VARNING
Explosionsfara vid felaktigt batteribyte.
Använd samma batterityp eller en likvärdig typ
som rekommenderas av apparattillverkaren.
Kassera använt batteri enligt gällande föreskrifter.
26

5 Dra ut enheten ur sin infästning.
Demontera enheten
1 När du har tagit loss frontpanelen
trycker du in låshaken innanför höljet
med en tunn skruvmejsel och bänder
sedan försiktigt så att fronten kommer
fram.
2 Upprepa steg 1 på höger sida.
Fronten kommer är nu lös och kan tas bort.
3 Använd en smal skruvmejsel och skjut in
haken på vänster sida av enheten och
dra sedan ut vänster sida av
frontpanelen tills haken är frigjord.
4 mm
4 Upprepa steg 3 på höger sida.
27

Tekniska data
MD-spelare
Allmänt
1
Signal/brusförhållande 90 dB
Utgångar Ljudutgångar*
Frekvensgång 10 – 20.000 Hz
Styrkabel för motorantenn
Svaj och fladder Under mätbar gräns
Styrkabel för
effektförstärkare
2
Styrkabel för telefon-ATT*
Tuner
Tonklangreglering Bas ±9 dB vid 100 Hz
FM
Diskant ±9 dB vid 10 kHz
Tuningintervall 87,5 – 108,0 MHz
Strömförsörjning 12 V DC bilbatteri
Antennterminal Extern antennanslutning
(negativt jordat)
Mellanfrekvens 10,7 MHz/450 kHz
Mått Ca 178 × 50 × 183 mm
Känslighet 8 dBf
(b/h/d)
Selektivitet 75 dB vid 400 kHz
Monteringsmått Ca 182 × 53 × 162 mm
Signal/brusförhållande 66 dB (stereo),
(b/h/d)
72 dB (mono)
Vikt Ca 1,2 kg
Harmonisk distortion vid 1 kHz
Medföljande tillbehör Delar för installation och
0,6 % (stereo),
anslutningar (1 set)
0,3 % (mono)
Fodral för löstagar
Separation 35 dB vid 1 kHz
frontpanel (1)
Frekvensgång 30 – 15.000 Hz
Valfria tillbehör Vridkontroll RM-X4S
Trådlös fjärrkontroll
MW/LW
RM-X91
Tuningintervall MW: 531 – 1.602 kHz
Styrkablar BUS (levereras
LW: 153 – 279 kHz
med anslutningskabel med
Antennterminal Extern antennanslutning
RCA-kontakt)
Mellanfrekvens 10,7 MHz/450 kHz
RC-61 (1 m), RC-62 (2 m)
Känslighet MW: 30 µV
Valfri utrustning CD-växlare (10 skivor)
LW: 40 µV
CDX-828, CDX-737
MD-växlare (6 skivor)
MDX-65
Effektförstärkare
Väljare för ljudkälla
Utgångar Högtalarutgångar
XA-C30
(Sure-seal-anslutningar)
1
Högtalarimpdans 4 – 8 ohm
*
Utrustad med främre och bakre utgångar:
Maximal uteffekt 50 W × 4 (vid 4 ohm)
endast MDX-C6500RX/C6500RV/C6500R
Utrustad med bakre utgångar: MDX-C6400R
2
*
endast MDX-C6500RX/C6500RV/C6500R
Amerikanska och utländska patenter utfärdade av
Dolby Laboratories Licensing Corporation.
Rätt till ändringar förbehålles.
28

Felsökning
Följande checklista hjälper dig att lösa de flesta problem som du kan råka ut för med enheten.
Innan du går igenom checklistan nedan, ska du läsa anslutnings- och driftsinformationen.
Allmänt
Fel
Orsak/Åtgärd
Ljudbortfall.
•Avbryt ATT-funktionen.
•Ställ uttoningsreglaget i mittenläget om du använder två
högtalarsystem.
•Justera volymen genom att vrida ratten medurs.
Innehållet i minnet har raderats.
•Stömkabeln eller batteriet har kopplats ifrån.
•Reset-knappen har trycks in.
t Lagra i minnet igen.
Information visas inte i
Ta bort frontpanelen och rengör anslutningarna. Se “Rengöra
teckenfönstret.
anslutningarna” (sidan 26).
Ingen ljudsignal.
•Ljudsignalen har avaktiverats (sidan 24).
•Om du ansluter en valfri förstärkare, som ersättning för den
inbyggda, avaktiveras ljudsignalen.
CD/MD-uppspelning
Fel
Orsak/Åtgärd
En skiva kan inte laddas.
•En annan MD-skiva finns redan i skivfacket.
•MD-skivan skjuts in upp och ned eller felvänd.
Uppspelning påbörjas inte.
Skivan defekt (MD-skiva) eller dammig (CD-skiva).
En skiva matas ut automatiskt.
Temperaturen överstiger 50°C.
Reglagen fungerar inte.
Tryck på återställningsknappen.
Ljudbortfall på grund av
•Enheten har installerats i en vinkel över 20°.
vibrationer.
•Enheten har inte installerats på en stabil plats i bilen.
Ljudet är hoppigt.
Skivan är smutsig eller skadad.
Kan inte avaktivera indikatorn
Du kan inte namnge CD-skivor om du inte först ansluter en
“--------”.
CD-enhet med funktionen för egna minnen.
t Tryck på (LIST) under två sekunder.
29

Radiomottagning
Fel
Orsak/Åtgärd
Det går inte att förinställa en
•Lagra den rätta frekvensen i minnet.
radiokanal.
•Utsändningen är för svag.
Kanalerna kan inte tas emot.
Anslut en strömförande antennstyrkabel (blå) eller en
Ljudet är fullt av störningar.
strömkabel för tillbehör (röd) till bilens antennförstärkares
strömförsörjningskabel. (Detta gäller bara om du har en FM/
MW/LW-antenn inbyggd i bak- eller sidorutan).
Den automatiska sökningen
Utsändningen är för svag.
fungerar inte.
t Använd manuell sökning.
“ST”-indikatorn blinkar.
•Ställ in rätt frekvens.
•Utsändningssignalen är för svag.
t Ställ in i enkanaligt läge (MONO) (sidan 16).
RDS-funktioner
Fel
Orsak/Åtgärd
SEEK startar efter några
Det är inte en TP-kanal eller så sänder den en svag signal.
sekunders lyssning.
t Tryck flera gånger på (AF) eller (TA) tills “AF-OFF” eller
“TA-OFF” visas.
Inga trafikmeddelanden tas
•Aktivera “TA”.
emot.
•Kanalen sänder inte några trafikmeddelanden trots att den är
TP. t Ställ in en annan kanal.
”NONE” visas i PTY-läge
Kanalen anger inte programtyp.
30

Fel visas (med valfri CD/MD-spelare ansluten)
Följande indikeringar blinkar ungefär fem sekunder och larm hörs.
Teckenfönster
Orsak
Åtgärd
Skivmagasinet har inte satts in i CD/
Sätt i skivmagasinet med skivorna i
NO MAG
MD-spelaren.
CD/MD-spelaren.
Någon skiva har inte satts in i CD/
Sätt i skivorna i CD/MD-spelaren.
NO DISC
MD-spelaren.
En CD/MD-skiva går inte att spela
Sätt i en annan CD/MD-skiva.
NG DISCS
upp.
En CD-skiva är smutsig eller har satts i
Rengör eller sätt i CD-skivan
2
upp och ned.*
korrekt.
1
*
ERROR
En MD-skiva spelas inte upp på grund
Sätt i en annan MD-skiva.
2
av något problem.*
1
Inga spår har spelats in på en MD-
*
Spela upp en MD-skiva med
BLANK
2
skiva.*
inspelade spår.
CD/MD-spelaren kan inte användas
Tryck på återställningsknappen på
RESET
pga något fel.
spelaren.
Locket på MD-spelaren är öppet eller
Stäng locket eller sätt i MD-
MD-skivorna har inte satts i på rätt
skivorna på rätt sätt.
NO READY
sätt.
Temperaturen i omgivningen är mer
Vänta tills temperaturen sjunkit
HI TEMP
än 50°C.
under 50°C.
1
*
När ett fel uppstår under uppspelning, visas inte numret på MD-skivan eller CD-skivan i teckenfönstret.
2
*
Numret på skivan i magasinet som orsakat felet visas i teckenfönstret.
Om ovannämnda lösningar inte hjälper dig tar du kontakt med din närmaste Sony-återförsäljare.
31

Bem vindo!
Precauções
Gratos pela aquisição do Leitor de Minidiscos
• Se o seu automóvel estiver estacionado ao
Sony. Este aparelho está equipado com várias
sol, fazendo com que a temperatura no seu
funções que se podem activar através dos
interior aumente consideravelmente, deixe o
seguintes acessórios de controlo:
aparelho arrefecer antes de utilizá-lo.
• Se o aparelho não estiver a receber corrente,
Acessórios opcionais
verifique primeiro as ligações. Se estiver tudo
Comando rotativo RM-X4S
em ordem, verifique o fusível.
Comando sem fio RM-X91
• Se o automóvel estiver equipado com uma
antena eléctrica, esta estica-se
Para além da reprodução de MDs e das
automaticamente enquanto o aparelho está a
operações do rádio, pode expandir o sistema
funcionar.
ligando várias unidades de CD/MD
1
opcionais*
.
Se tiver alguma dúvida ou problema
Se estiver a utilizar este aparelho ou um
relacionado com o aparelho que não esteja
dispositivo de CD opcional equipado com a
abrangido neste manual, contacte o agente
função CD TEXT, quando reproduzir um
2
Sony mais próximo.
disco CD TEXT*
, as informações respectivas
aparecem no visor.
Condensação de humidade
1
*
Pode ligar carregadores de MD, de CD, leitores
Num dia chuvoso ou numa zona muito
de MD ou leitores de CD.
húmida, a humidade pode condensar-se nas
2
*
Um disco CD TEXT é um CD de áudio que inclui
lentes existentes no interior do aparelho. Se tal
informações, tais como os nomes do disco, do
acontecer, o aparelho não funciona
artista e das faixas.
correctamente. Neste caso, retire o disco e
Estas informações são gravadas no disco.
aguarde cerca de uma hora até a humidade se
evaporar.
Para manter um som de alta
qualidade
Se tiver suportes para copos junto do
equipamento de áudio, tenha cuidado em não
entornar sumo ou outros refrigerantes para
cima do aparelho e do MD. Os resíduos de
açúcar acumulados no aparelho ou no MD
podem danificar as lentes do aparelho, reduzir
a qualidade do som e ainda impedir a
reprodução do som.
2

Notas sobre a colagem das
Notas sobre os MD
etiquetas
Verifique se colou bem as etiquetas nas
O disco vem dentro de uma cartridge que o
cartridges, porque se estiverem mal coladas o
protege das dedadas e do pó. É, no entanto,
MD pode ficar encravado dentro do aparelho.
bastante resistente. Apesar disso, se o pó ou
sujidade se acumular na superfície da cartridge
•Cole a etiqueta numa posição adequada.
ou se esta estiver deformada, o aparelho
•Retire as etiquetas antigas antes de colocar as
poderá não funcionar correctamente. Para
novas.
obter melhores resultados, siga os conselhos
•Substitua as etiquetas que estão a descolar-se
fornecidos abaixo.
do MD.
Nunca toque na superfície propriamente
dita do disco, abrindo deliberadamente o
obturador da cartridge.
Ao ejectar o MD, o obturador pode estar
aberto. Neste caso, feche imediatamente o
obturador.
Não exponha o MD à luz solar directa ou a
fontes de calor, como saídas de ar quente. Não
deixe os MD dentro de um automóvel
estacionado ao sol, pois a temperatura no seu
interior pode subir consideravelmente.
Verifique se não deixou nenhum MD no tablier
Limpeza
ou na prateleira de trás do automóvel, pois a
Limpe, de vez em quando, a superfície da
temperatura pode ser muito elevada.
cartridge com um pano macio.
3

Índice
Localização das teclas .......................................... 5
Outras funções
Colocar as etiquetas no comando rotativo ..... 21
Como começar
Utilização do comando rotativo....................... 22
Reinicializar o aparelho....................................... 7
Regulação das características de som ............. 23
Retirar o painel frontal ........................................ 7
Redução do som ao mínimo ............................. 24
Ligar/desligar o aparelho................................... 8
Alteração das programações do visor e do
Como utilizar o menu.......................................... 8
som.................................................................. 24
Acertar o relógio................................................... 8
Intensificar o som dos graves
— D-bass ........................................................ 25
Leitor de MDs
Unidade CD/MD (opcional)
Informação adicional
Audição de um MD ............................................. 9
Manutenção ........................................................ 25
Reprodução repetitiva das faixas
Desmontagem do aparelho............................... 27
— Reprodução Repetitiva............................ 11
Especificações ..................................................... 28
Reprodução das faixas por ordem aleatória
Guia de resolução de problemas...................... 29
— Reprodução Aleatória ............................. 11
Identificação de CD
— Lista de títulos* ........................................ 12
Localização de um disco pelo nome
— Listagem* .................................................. 13
Selecção de faixas específicas para reprodução
— Banco* ....................................................... 14
* Funções disponíveis com a unidade de CD/MD
opcional.
Rádio
Memorização automática de estações
— Memória da Melhor Sintonia (BTM)..... 15
Memorização das estações pretendidas.......... 15
Recepção das estações memorizadas .............. 16
RDS
Panorâmica da função RDS .............................. 17
Visualização do nome da estação .................... 17
Resintonização automática do mesmo
programa
— Frequências Alternativas (AF) ............... 17
Ouvir informações sobre a situação do
trânsito............................................................ 18
Pré-programação dos dados AF e TA nas
estações RDS .................................................. 19
Localização de uma estação através do tipo de
programa........................................................ 20
Acerto automático do relógio........................... 21
4

Localização das teclas
I
PTY
OPEN
D
S
C
+
-
P
DSPL
R
S
T
+
MENU
LIST
D-BASS
TA
SOURCE
-
SEEK/AMS
AF
SOUND
ENTER
P
R
S
REP SHUF
T
-
-
D
I
S
C
–
MODE
OFF
1 2 3 4 56
MDX-C6500RX/C6500RV
/C6500R/C6400R
Para mais informações, consulte as respectivas páginas.
1 Botão de controlo do volume 19
qf Teclas SEEK/AMS –/+ (cursor para a
direita/esquerda)
2 Tecla MENU 8, 10, 12, 13, 14, 15, 16, 18,
8, 10, 12, 14, 16, 18, 19, 21, 23, 24
19, 21, 24
Sensor automático de música 10, 14
3 Teclas DISC/PRST +/– (mover cursor para
Pesquisa manual 10
cima/baixo)
Procura 15, 16, 18
8, 10, 12, 13, 14, 15, 16, 18, 19, 20, 21, 24
Durante a reprodução de CD/MD:
qg Tecla ENTER 8, 10, 12, 13, 14, 15, 16, 18,
mudar de disco 10, 13
19, 20, 21, 24
Durante a recepção de rádio:
qh Tecla MODE 19
seleccionar estações programadas 16
Durante a reprodução de CD ou MD:
4
Z Tecla (ejectar) (localizada na parte da
seleccionar unidade CD/MD 9, 13
frente do aparelho, por trás do painel
Durante a recepção de rádio:
frontal) 9
seleccionar BANDA 15, 16
5 Tecla DSPL/PTY (alteração do modo do
qj Receptor para o telecomando sem fio
visor/tipo de programa) 9, 10, 12, 17, 20
qk Teclas numéricas
6 Tecla LIST 12
Durante a recepção de rádio:
Listagem 13
Selecção do número programado 15,
16, 18, 19
7 Tecla SOURCE (TUNER/CD/MD)
Durante a reprodução de um CD/MD:
8, 9, 10, 13, 15, 16, 19
(1) REP 11
8 Janela do visor
(2) SHUF 11
9 Botão OPEN 7, 9, 26
ql Tecla AF 17, 18, 19
q; Botão D-BASS 25
w; Tecla TA 18, 19
qa Tecla SOUND 23
* Aviso sobre a instalação num
qs Tecla de reinicialização (localizada na
automóvel sem posição ACC
parte da frente do aparelho, por trás do
(acessórios) na chave de ignição
painel frontal) 7
Carregue em (OFF) no aparelho durante
qd Tecla OFF* 7, 8, 9
dois segundos para desligar o relógio,
depois de desligar o motor.
Se carregar em (OFF) menos de dois
segundos, o visor do relógio não se apaga o
que provoca o desgaste da bateria.
5

Localização das teclas
Telecomando sem fio RM-X91 (opcional)
Teclas do telecomando sem fio com
OPEN/CLOSE
funções idênticas às do aparelho.
OFF
1 Tecla OFF
MENU LIST
DISC
2 Tecla MENU
SEEK SEEK
3 Tecla SOURCE
SOURCE
4 Teclas SEEK/AMS
5 Tecla SOUND
SOUND
DISC
ENTER
6 Tecla DSPL (DSPL/PTY)
7 Tecla ATT
DSPL MODE
VOLATT
8 Tecla LIST
9 Teclas DISC/PRST
q; Tecla ENTER
qa Tecla MODE
qs Teclas VOL
Notas
• Se desligar o aparelho carregando em (OFF) durante 2 segundos, não poderá utilizá-lo com o
telecomando sem fio, a não ser que carregue em (SOURCE) no aparelho ou que introduza um disco para
activar o equipamento.
• Não deixe o telecomando sem fio de crédito em locais expostos à luz solar directa, por exemplo, em cima
do tablier, do volante, etc. O comando pode ficar deformado devido ao calor.
• O gravador de MiniDisc pode não funcionar correctamente se o telecomando sem fio, estiver exposto à
incidência directa da luz solar. Se isso acontecer, aproxime o comando do receptor do aparelho.
6

Colocar o painel frontal
Introduza o eixo B do aparelho no orifício A
do painel frontal como se mostra na ilustração
Como começar
e empurre o lado esquerdo para dentro.
Reinicializar o aparelho
A
O aparelho tem que ser reinicializado antes de
B
ser utilizado pela primeira vez ou após a
substituição da bateria do automóvel.
Retire o painel frontal e carregue no botão de
reinicialização com um objecto pontiagudo,
por exemplo, a ponta de uma esferográfica.
Tecla de reinicialização
x
Nota
Se carregar na tecla de reinicialização desactiva o
relógio e algumas das funções memorizadas.
Retirar o painel frontal
Pode retirar o painel frontal para impedir que
o aparelho seja roubado.
Notas
1 Carregue em (OFF).
• Não coloque o painel frontal ao contrário.
• Não faça muita pressão sobre o painel frontal
quando o colocar no aparelho.
2 Carregue em (OPEN) e, em seguida, faça
• Não carregue nem faça demasiada pressão sobre
deslizar o painel frontal para a direita e
o visor do painel frontal.
puxe o lado esquerdo para fora.
• Não exponha o painel frontal à incidência directa
dos raios solares, a fontes de calor, como saídas
de ar quente do sistema de aquecimento nem o
deixe num local muito húmido. Nunca o deixe
sobre o tablier de um automóvel estacionado ao
sol, porque pode ocorrer um aumento
considerável da temperatura no interior do
automóvel.
1
2
Alarme de advertência
Se rodar o selector da chave de ignição para a
posição OFF, sem retirar o painel frontal, o
Notas
alarme de advertência é activado e ouve-se um
• Não coloque nada na superfície interna do painel
sinal sonoro durante alguns segundos.
frontal.
Se ligar um amplificador de potência opcional
• Não deixe cair o painel ao retirá-lo do aparelho.
e não utilizar o amplificador incorporado, o
• Se retirar o painel com o aparelho ligado, este
sinal sonoro é desactivado.
desliga-se automaticamente para não avariar os
altifalantes.
• Se levar o painel frontal consigo coloque-o na
caixa de transporte fornecida.
7

Ligar/desligar o aparelho
Acertar o relógio
Ligar o aparelho
O relógio tem uma indicação digital de 24
horas.
Carregue em (SOURCE) ou introduza o MD.
Para obter mais informações, consulte a página
Exemplo: Para acertar o relógio para as 10:08
9 (MD/CD) e a página 15 (rádio).
1 Carregue em (MENU) e, depois, várias
Desligar o aparelho
vezes num dos lados de (DISC/PRST) até
aparecer a indicação “CLOCK” no visor.
Carregue em (OFF) para interromper a
reprodução do MD/CD ou a recepção de rádio
(a luz da tecla e o visor mantêm-se acesos).
Carregue em (OFF) durante dois segundos
para desligar completamente o aparelho.
Nota
1 Carregue em (ENTER).
Se a chave de ignição não tiver a posição ACC,
certifique-se de que o aparelho fica bem
desligado, carregando em (OFF) durante dois
segundos, para não descarregar a bateria do
automóvel.
A indicação das horas começa a piscar.
2 Carregue num dos lados de
(DISC/PRST) para acertar a hora.
Como utilizar o menu
O funcionamento do aparelho é comandado
através da selecção dos elementos de um
menu.
3 Carregue no lado (+) de (SEEK/AMS).
Para fazer a selecção, entre no modo de menu e
escolha para cima/baixo ((+)/(–) de
(DISC/PRST)), ou esquerda/direita ((–)/(+) de
(SEEK/AMS)).
(DISC/PRST)
A indicação dos minutos começa a
piscar.
(+): para seleccionar para
cima
4 Carregue num dos lados de
SOURCE
(DISC/PRST) para acertar os minutos.
(–): para seleccionar para
baixo
2 Carregue em (ENTER).
(SEEK/AMS)
(–): para
(+): para
O relógio começa a funcionar.
seleccionar
SOURCE
seleccionar
para a
para a
Quando acabar de acertar o relógio, o visor
esquerda
direita
volta ao modo de reprodução normal.
Sugestão
Pode acertar automaticamente o relógio com a
Nota
função RDS (consulte a página 17).
No modo menu a marca “v” à esquerda do visor,
indica as teclas seleccionáveis de (DISC/PRST) e
Nota
(SEEK/AMS).
Desde que M.DSPL esteja regulado para OFF e o
modo D.INFO para ON, a hora aparece sempre
(página 24).
8

Quando terminar a última faixa do MD
Leitor de MDs
A indicação do número da faixa volta a “1” e a
leitura é reiniciada a partir da primeira faixa
Unidade CD/MD
do MD.
(opcional)
Para Carregue em
Parar a reprodução (OFF)
Além de reproduzir um MD apenas com este
Ejectar o MD (OPEN) e depois Z
aparelho, também pode controlar unidades
CD/MD externas.
Se ligar uma unidade de CD com a função CD
Reprodução de um CD ou MD
TEXT, quando reproduzir um disco CD TEXT.
(com uma unidade opcional de CD/MD)
as informações CD TEXT aparecem no visor.
1 Carregue em (SOURCE) várias vezes para
seleccionar “CD” ou “MD”.
Audição de um MD
2 Carregue em (MODE) até que o
dispositivo pretendido apareça no visor.
(só com este aparelho)
O aparelho inicia a reprodução do CD/MD.
1 Carregue em (OPEN) e coloque o MD.
Na unidade de CD/MD actual, todos os discos
Etiqueta virada para cima
são reproduzidos desde o início.
Alterar os elementos do visor
Z
Sempre que carregar em (DSPL/PTY) durante a
reprodução de MD, CD ou de um disco CD
TEXT, o elemento altera-se da seguinte forma:
V
1
Número do disco*
/Número da faixa/
Tempo de reprodução decorrido
V
2 Feche o painel frontal.
2
3
Nome do disco*
/Nome do artista*
A reprodução inicia-se automaticamente.
V
4
Se já tiver introduzido um MD, carregue várias
Nome da faixa*
vezes em (SOURCE) até aparecer a indicação
V
“MD” e inicie a reprodução.
5
FM1 Frequência ou nome da estação*
Os títulos do MD* e da faixa aparecem na
janela do visor seguidos pelo tempo de
*
1
Se tiver ligado uma unidade opcional de CD/MD
duração da reprodução.
(“Identificação de CD” página 12).
*
2
Se não tiver identificado o CD ou o disco CD
Indicação de MD
TEXT (“Identificar um CD” na página 12), ou
pré-gravado nenhum nome no MD, as
indicações “DISC” e “NO NAME” aparecem no
visor.
*
3
Se reproduzir um disco CD TEXT, o nome do
artista aparece no visor a seguir ao nome do
disco. (Só para discos CD TEXT que tenham o
Número de faixa
Tempo de reprodução
nome do artista.)
decorrido
*
4
Se não tiver pré-gravado o nome da faixa de um
disco CD TEXT ou de um MD, as indicações
* Somente se estes títulos estiverem pregravados
“TRACK” e “NO NAME” aparecem no visor.
no MD.
*
5
Se a função AF/TA estiver activada.
9

Depois de seleccionar o item pretendido, o
Nota
visor muda automaticamente para o modo de
Se os discos CD TEXT tiverem nomes com muitos
caracteres, pode acontecer o seguinte:
Visualização dinâmica passados alguns
— Alguns dos caracteres não aparecem.
segundos.
— A função Auto Scroll não funciona.
No modo de visualização dinâmica todos os
elementos apresentados acima passam no visor
um por um e por ordem.
Localização de uma faixa específica
— Sensor de Música Automático (AMS)
Nota
Se utilizar nomes personalizados, estes têm sempre
Durante a reprodução, carregue num dos
prioridade sobre as informações CD TEXT originais,
lados de (SEEK/AMS) e solte-o o número
no caso de aparecerem.
de vezes correspondente ao número de
faixas que pretende saltar.
Sugestão
Pode desactivar o modo de Visualização dinâmica.
(Consulte “Alteração das programações do visor e
do som” na página 24.)
Para localizar
Para localizar
as faixas
SOURCE
as faixas
anteriores
seguintes
Percorrer automaticamente um
nome de disco
— Auto Scroll
Se o nome do disco, do artista ou da faixa num
Localização de um ponto específico
MD ou CD TEXT tiver mais do que 8
numa faixa — Pesquisa Manual
caracteres e a função Auto Scroll estiver
activada, as informações passam
Durante a reprodução, carregue sem
automaticamente ao longo do visor da
soltar num dos lados de (SEEK/AMS).
seguinte maneira:
Solte o botão quando localizar o ponto
• O nome do disco aparece quando o disco mudar
pretendido.
(se o nome do disco estiver seleccionado como
elemento do visor).
• O nome da faixa aparece quando a faixa mudar
(se o nome da faixa estiver seleccionado como
Pesquisar
Pesquisar no
elemento do visor).
SOURCE
no sentido
sentido
• O nome do disco ou da faixa aparece
regressivo
progressivo
dependendo da regulação quando carregar em
(SOURCE) para seleccionar um MD ou um disco
CD TEXT.
Nota
Se carregar em (DSPL/PTY) para alterar o
Se aparecer a indicação “
” ou
elemento do visor, o nome do disco ou da faixa
“
” no visor, significa que chegou ao
início ou ao fim do disco e que não pode ir para
do MD ou do disco CD TEXT desfila
além desse ponto.
automaticamente quer a função Auto Scroll
esteja activada ou não.
Localização de um disco
1 Durante a reprodução, carregue em
— Selecção dos discos
(MENU).
Quando tiver ligado uma unidade
opcional de CD/MD, carregue num dos
2 Carregue várias vezes num dos lados de
lados de (DISC/PRST) para seleccionar o
(DISC/PRST) até que a indicação “A.SCRL-
disco pretendido.
OFF” apareça no visor.
O aparelho inicia a reprodução do disco
pretendido na actual unidade opcional de
CD/MD.
3 Carregue no lado (+) de (SEEK/AMS) para
seleccionar “A.SCRL-ON”.
4 Carregue em (ENTER).
Para cancelar a função Auto Scroll (desfile
automático), seleccione “A.SCRL-OFF” no
passo 3.
10

Reprodução repetitiva das
Reprodução das faixas por
faixas — Reprodução Repetitiva
ordem aleatória
— Reprodução Aleatória
A reprodução do MD existente na unidade
principal é automaticamente repetida quando
Pode seleccionar:
chega ao fim. No modo de reprodução
•SHUF-1 — para reproduzir as faixas do disco
repetitiva, pode seleccionar:
actual por ordem aleatória.
•REP-1 — para repetir uma faixa.
•SHUF-2 — para reproduzir as faixas da
•REP-2 — para repetir um disco na unidade
unidade de CD/MD actual por ordem
opcional de CD/MD.
aleatória.
•SHUF-ALL — para reproduzir todas as
faixas em todas as unidades opcionais de
Durante a reprodução, carregue em (1)
CD/MD por ordem aleatória.
(REP) repetidamente até aparecer a
programação pretendida no visor.
Durante a reprodução, carregue em (2)
B REP-1 B REP-2*
(SHUF) repetidamente até aparecer a
REP-OFF b
programação pretendida no visor.
* “REP-2” só está disponível quando ligar uma
B SHUF-1 B SHUF-2* B SHUF-ALL*
ou várias unidades opcionais de MD ou duas
ou várias unidades opcionais de CD.
SHUF-OFF b
PTY
* “SHUF-2” e “SHUF-ALL” só estão disponíveis
DSPL
se ligar uma ou várias unidades opcionais de
LIST
MD ou duas ou várias unidades opcionais de
CD.
-
SEEK/AMS
PTY
ENTER
DSPL
REP SHUF
MODE
1 2 3 4 56
LIST
-
SEEK/AMS
ENTER
O aparelho inicia a reprodução repetitiva.
REP SHUF
MODE
1 2 3 4 56
Para voltar ao modo de reprodução normal,
seleccione “REP-OFF”.
O aparelho inicia a reprodução aleatória.
Para voltar ao modo de reprodução normal,
seleccione “SHUF-OFF”.
11

3 Repita os passos 1 e 2 para
introduzir o nome completo.
Identificação de CD — Lista de
títulos (Para uma unidade de CD com a
5 Para voltar ao modo de reprodução
função CUSTOM FILE)
normal de CDs, carregue em (ENTER).
Pode identificar os discos com um nome
Sugestões
personalizado. Pode introduzir até 8 caracteres
• Para apagar ou corrigir um nome, introduza “_”
para cada disco. Se identificar um CD, pode
(traço inferior) para cada carácter.
efectuar a localização de um disco pelo nome
• Existe outra maneira de identificar um CD.
(página 13) e selecção das faixas específicas
Carregue em (LIST) durante dois segundos em
para reprodução (página 14).
vez de executar os passos 2 e 3. Também pode
terminar a operação carregando em (LIST)
durante dois segundos em vez de executar o
1 Comece a reproduzir o disco que quer
passo 5.
identificar.
• Os CDs podem ser etiquetados num aparelho
sem a função CUSTOM FILE, desde que tal
aparelho esteja ligado a um aparelho de CD que
2 Carregue em (MENU) e, depois, várias
possua a função. O nome do disco é guardado
vezes num dos lados de (DISC/PRST) até
na memória do aparelho de CD que possua a
aparecer a indicação “NAME EDIT”.
função CUSTOM FILE.
3 Carregue em (ENTER).
Ver a memória do disco
Modo Name edit
Carregue em (DSPL/PTY) durante a
reprodução de um CD ou de um disco CD
TEXT.
O aparelho repete o disco durante a
identificação.
Sempre que carregar em (DSPL/PTY)
4 Introduza os caracteres.
durante a reprodução de um CD ou de um
1 Carregue várias vezes no lado (+) de
disco CD TEXT, o elemento muda da
(DISC/PRST) para seleccionar os
seguinte forma:
caracteres pretendidos.
(A t B t C t ··· Z t 0 t 1 t 2 t
V
··· 9 t + t – t * t / t \ t > t <
1
Número do disco*
/Número da faixa/
t . t _ )
Tempo de reprodução decorrido
V
Nome da lista de titulos
V
2
Se carregar várias vezes no lado (–) de
Nome da faixa*
(DISC/PRST), os caracteres aparecem
V
pela ordem inversa.
3
FM1 Frequência ou nome da estação*
Se quiser introduzir um espaço em
branco entre os caracteres, seleccione
“_” (traço inferior).
1
*
Se ligar uma unidade opcional de CD.
2
*
Se ligar um dispositivo de CD opcional com a
2 Carregue no lado (+) de (SEEK/AMS)
função CD TEXT, quando reproduzir um
depois de localizar o carácter
disco CD TEXT as informações CD TEXT
pretendido.
aparecem no visor.
3
O carácter seguinte começa a piscar.
*
Se a função AF/TA estiver activada.
Se carregar no lado (–) de (SEEK/AMS), o
carácter anterior começa a piscar.
12

Apagar a lista de títulos
Localização de um disco
1 Carregue em (SOURCE) repetidamente
para seleccionar o “CD”.
pelo nome — Listagem (Para uma
unidade de CD com a função CD TEXT/
2 Carregue várias vezes em (MODE) para
CUSTOM FILE ou uma unidade de MD)
seleccionar a unidade de CD equipada
com a função CUSTOM FILE.
Pode utilizar esta função para os discos aos
quais foram atribuídos nomes personalizados
ou para os discos CD TEXT.
3 Carregue em (MENU) e, depois, várias
Pode localizar o disco
vezes num dos lados de (DISC/PRST) até
— pelo nome personalizado: se atribuir um
aparecer a indicação “NAME DEL”.
nome a um CD ou um MD utilizando a
unidade de CD equipada com a função
4 Carregue em (ENTER).
CUSTOM FILE ou uma unidade de MD.
(Para obter mais informações sobre nomes
de discos, consulte “Identificação de um
5 Carregue várias vezes num dos lados de
CD” na página 12).
(DISC/PRST) para seleccionar o nome do
— pelas informações CD TEXT: quando
disco que pretende apagar.
reproduzir um disco CD TEXT numa
unidade de CD equipada com a função CD
6 Carregue em (ENTER) durante dois
TEXT.
segundos.
O nome é apagado.
1 Carregue em (LIST).
Repita os passos 5 e 6, se quiser apagar
O nome que atribuiu ao disco que está a ser
outros nomes.
reproduzido aparece no visor.
7 Carregue duas vezes em (MENU).
O aparelho volta ao modo de reprodução
normal de CDs.
Notas
• Para apagar a lista de títulos do disco, reproduza
Quando atribuir um nome da lista de
um CD no leitor de CD em que está guardada a
músicas a um disco CD TEXT, este tem
lista de títulos que quer guardar.
prioridade sobre a informação CD TEXT
• Se apagar uma etiqueta personalizada de um
original.
disco CD TEXT, as informações CD TEXT originais
aparecem no visor.
2 Carregue várias vezes num dos lados de
(DISC/PRST) até que o disco pretendido
seja localizado.
3 Carregue em (ENTER) para reproduzir o
disco.
Notas
• Se utilizar o comando sem fio, carregue em
(LIST) para voltar ao modo de reprodução
normal. Se utilizar apenas as teclas do aparelho,
o visor volta ao modo de reprodução normal 5
segundos depois.
• Os nomes das faixas não aparecem no visor
durante a reprodução de MD ou de discos CD
TEXT.
• Se não houver nenhum disco dentro do leitor de
CD/MD, a indicação “NO DISC” aparece no visor.
• Se não atribuir um nome personalizado ao disco,
a indicação “********” aparece no visor.
• Existem algumas letras que não podem ser
visualizadas durante a reprodução de MD ou de
um disco CD TEXT.
• Se as informações do disco ainda não tiverem
sido lidas pelo aparelho, “NOT READ” será
indicado.
13

Reproduzir apenas as faixas
Selecção de faixas
específicas
Pode seleccionar:
específicas para
•“BANK-ON” — para reproduzir as faixas
reprodução
— Banco
com a programação “PLAY”.
•“BANK-INV” (Inverse) — para reproduzir as
(Para uma unidade de CD com a função
faixas com a programação “SKIP”.
CUSTOM FILE)
Se identificar o disco, pode programar o
1 Durante a reprodução, carregue em
aparelho para que salte ou reproduza as faixas
(MENU) e, depois, várias vezes num dos
pretendidas.
lados de (DISC/PRST) até que a indicação
“BANK-ON”, “BANK-INV”, ou “BANK-
1 Inicie a reprodução do disco que
OFF” apareça no visor.
pretende identificar.
2 Carregue várias vezes no lado (+) de
2 Carregue em (MENU) e, depois, várias
(SEEK/AMS) até aparecer a programação
vezes num dos lados de (DISC/PRST) até
pretendida.
aparecer a indicação “BANK SEL”.
B BANK-ON B BANK-INV
BANK-OFF b
3 Carregue em (ENTER).
Modo de edição do banco
3 Carregue em (ENTER).
4 Identifique as faixas.
A reprodução inicia-se a partir da faixa
1 Carregue várias vezes num dos lados de
imediatamente a seguir à faixa que está a
(SEEK/AMS) para seleccionar a faixa que
ser reproduzida.
pretende identificar.
Para voltar ao modo de reprodução normal,
2 Carregue várias vezes em (ENTER) para
seleccione “BANK-OFF” no passo 2.
seleccionar “PLAY” ou “SKIP”.
5 Repita o ponto 4 para programar “PLAY”
ou “SKIP” para todas as faixas.
6 Carregue duas vezes em (MENU).
O aparelho volta ao modo de reprodução
normal de CDs.
Notas
• Pode programar “PLAY” ou “SKIP” para um
máximo de 24 faixas.
• Não pode programar “SKIP” para todas as faixas
de um CD.
14

Notas
• O aparelho não memoriza estações com sinais
fracos. Se o aparelho estiver a receber poucas
Rádio
estações, algumas das teclas numéricas mantêm a
sua programação anterior.
• Se aparecer um número no visor, o aparelho
começa a memorizar estações, a partir da estação
indicada.
• Se não estiver nenhum MD dentro do aparelho,
Memorização automática
mesmo que carregue em (SOURCE), só aparece a
banda do sintonizador.
de estações
— Memória da Melhor Sintonia (BTM)
O aparelho selecciona as estações com os sinais
mais fortes e memoriza-as por ordem de
Memorização das estações
frequências. Pode memorizar um máximo de 6
estações em cada banda de frequência (FM1,
pretendidas
FM2, FM3, MW e LW).
Pode memorizar, no máximo, 18 estações de
Cuidado
FM (6 em FM1, 6 em FM2 e 6 em FM3), 6
Quando quiser sintonizar uma estação durante
estações de MW e 6 estações de LW, pela
a condução, utilize a memória de melhor
ordem desejada.
sintonia para evitar acidentes.
1 Carregue várias vezes em (SOURCE) para
1 Carregue várias vezes em (SOURCE) para
seleccionar o sintonizador.
seleccionar o sintonizador.
Sempre que carregar em (SOURCE), a fonte
2 Carregue várias vezes em (MODE) para
muda pela ordem seguinte:
seleccionar a banda.
B Tuner B CD* B MD
3 Carregue num dos lados de (SEEK/AMS)
* O elemento não aparece, se não estiver
para sintonizar a estação que pretende
ligado o equipamento opcional
memorizar na tecla numérica.
correspondente.
4 Carregue na tecla numérica desejada
2 Carregue várias vezes em (MODE) para
((1) a (6)) durante dois segundos até
seleccionar a banda.
aparecer a indicação “MEM” no visor.
Sempre que carregar em (MODE), a banda
A indicação da tecla numérica aparece no
muda pela ordem seguinte:
visor.
B FM1 B FM2 B FM3
Nota
LW b MW b
Se tentar memorizar mais do que uma estação na
mesma tecla numérica, o aparelho apaga a estação
3 Carregue em (MENU) e, em seguida,
memorizada anteriormente.
várias vezes num dos lados de
(DISC/PRST) até que a indicação “BTM”
apareça no visor.
4 Carregue em (ENTER).
O aparelho memoriza as estações nas teclas
numéricas, pela ordem das respectivas
frequências.
Quando a programação fica memorizada,
ouve-se um sinal sonoro.
15

Se a recepção FM estéreo for
Recepção das estações
deficiente
— Modo Mono
memorizadas
1 Durante a recepção de rádio, carregue
em (MENU) e, depois, várias vezes num
1 Carregue várias vezes em (SOURCE) para
dos lados de (DISC/PRST) até que a
seleccionar a o sintonizador.
indicação “MONO-OFF” apareça no visor.
2 Carregue várias vezes em (MODE) para
2 Carregue no lado (+) de (SEEK/AMS) até
seleccionar a banda.
que a indicação “MONO-ON” apareça no
visor.
3 Carregue na tecla numérica ((1) a (6))
A qualidade do som melhora, mas passa a
em que memorizou a estação desejada.
ser um som mono (a indicação “ST”
desaparece do visor).
Sugestão
Carregue num dos lados de (DISC/PRST) para
sintonizar as estações pela ordem em que foram
3 Carregue em (ENTER).
memorizadas (Função Preset Search).
Para voltar ao modo normal, seleccione
Se não conseguir sintonizar uma
“MONO-OFF” no passo 2.
estação pré-programada
Para procurar a estação (sintonização
automática), carregue num dos lados de
(SEEK/AMS).
O varrimento pára quando o aparelho
sintonizar uma estação. Carregue várias
vezes num dos lados de (SEEK/AMS) até
encontrar a estação pretendida.
Nota
Se a sintonização automática parar
frequentemente, carregue em (MENU) e, depois,
várias vezes num dos lados de (DISC/PRST) até que
a indicação “LOCAL” (modo de pesquisa local)
apareça no visor. Em seguida, carregue no lado (+)
de (SEEK/AMS) para seleccionar “LOCAL-ON”.
Carregue em (ENTER).
O aparelho sintoniza apenas estações com sinais
relativamente fortes.
Sugestões
• Quando seleccionar a programação “LOCAL-
ON”, a indicação “L.SEEK” aparece enquanto o
aparelho estiver a procurar uma estação.
• Se souber a frequência da estação que pretende
ouvir, carregue sem soltar num dos lados de
(SEEK/AMS) até conseguir sintonizá-la
(sintonização manual).
16

Sugestão
Pode desactivar o modo de Visualização dinâmica.
(Consulte “Alteração das programações do visor e
RDS
do som” na página 24.)
Nota
A indicação “NO NAME” aparece no visor, se a
estação que está a receber não transmitir dados
RDS.
Panorâmica da função
RDS
O Sistema de Dados de Rádio (RDS) é um
Resintonização
serviço de difusão que permite às estações FM
enviarem informação digital adicional
automática do mesmo
juntamente com a onda de rádio normal. O
aparelho estéreo do seu automóvel permite-lhe
programa
utilizar uma série de serviços. Pode, por
— Frequências Alternativas (AF)
exemplo, voltar a sintonizar o mesmo
programa automaticamente, ouvir informações
A função Frequências Alternativas (AF)
sobre o trânsito e localizar estações pelo tipo
selecciona e volta a sintonizar
de programa.
automaticamente a estação com o sinal mais
forte numa rede. Se utilizar esta função, pode
Notas
ouvir continuamente o mesmo programa
• A disponibilidade de todas as funções RDS
durante uma viagem para um local distante,
depende do país ou da região.
• Se o sinal for fraco ou se a estação sintonizada
sem ter que voltar a sintonizar a estação
não estiver a transmitir dados RDS, a função RDS
manualmente.
pode não funcionar correctamente.
As frequências mudam automaticamente.
98,5MHz
96,0MHz
Visualização do nome da
estação
Estação
O nome da estação actual acende-se no visor.
Seleccione uma estação FM (página 16).
102,5MHz
Se sintonizar uma estação FM que
transmite dados RDS, o nome da estação
aparece no visor.
1 Seleccione uma estação FM (página 16).
2 Carregue várias vezes em (AF) até que a
indicação “AF-ON” apareça no visor.
O aparelho começa a procurar uma estação
Nota
alternativa com um sinal mais forte na
A indicação “*” significa que está a receber uma
mesma rede.
estação RDS.
Alterar os elementos no visor
Sempre que carregar em (DSPL/PTY), o
elemento muda da seguinte maneira:
Nome da estação (Frequência) y Dados PTY
Alguns segundos depois de seleccionar o
elemento desejado, o visor muda
automaticamente para o modo de Visualização
dinâmica.
No modo de visualização dinâmica, todos os
elementos passam uns a seguir aos outros no
visor.
17

Notas
Função Ligação Local
• Se não houver uma estação alternativa na área e
não precisar de procurar uma estação
(só para o Reino Unido)
alternativa, desactive a função AF carregando
A função Local Link permite-lhe seleccionar
várias vezes em (AF) até que a indicação “AF-
outras estações locais na área, mesmo que não
OFF” apareça no visor.
estejam memorizadas nas teclas numéricas.
• Se a indicação “NO AF” e o nome da estação
piscarem alternadamente no visor, isso significa
que o aparelho não consegue localizar uma
1 Carregue numa tecla numérica onde
estação alternativa na rede.
esteja memorizada uma estação local.
• Se o nome da estação começar a piscar depois de
seleccionar uma estação com a função AF
activada, isso significa que não existe uma
2 Passados cinco segundos, volte a
frequência alternativa disponível.
carregar na mesma tecla numérica.
Carregue num dos lados de (SEEK/AMS)
enquanto o nome da estação estiver a piscar
(durante oito segundos). O aparelho começa a
3 Repita este procedimento até encontrar
procurar outra frequência com os mesmos dados
a estação local pretendida.
PI (Identificação do Programa) (Aparece a
indicação “PI SEEK” e não se ouve som). Se o
aparelho não conseguir encontrar outra
frequência, a indicação “NO PI” aparece e o
aparelho volta à frequência anteriormente
seleccionada.
Ouvir informações sobre a
situação do trânsito
Ouvir um programa regional
A função “REG-ON” (regional on) deste
Os dados de Informações de trânsito (TA) e
aparelho permite continuar a receber um
Programa de trânsito (TP) permitem-lhe
programa regional sem ter que mudar para
sintonizar automaticamente uma estação de
outra estação regional (não se esqueça de
FM que esteja a transmitir informações de
activar a função AF). A pré-definição de
trânsito mesmo que esteja a ouvir outras fontes
fábrica deste aparelho é “REG-ON”, mas se
de programa.
quiser desactivar esta função proceda da
seguinte maneira.
Carregue várias vezes em (TA) até
aparecer a indicação “TA-ON” no visor.
1 Durante a recepção de rádio, carregue
O aparelho começa a procurar estações que
em (MENU) e, depois, várias vezes num
transmitam informações de trânsito. A
dos lados de (DISC/PRST) até aparecer a
indicação “TP” aparece no visor se o
indicação “REG” no visor.
aparelho encontrar uma estação que
transmita informações de trânsito. Quando
as informações de trânsito começarem a ser
2 Carregue no lado (+) de (SEEK/AMS) até
transmitidas, a indicação “TA” pisca no
que a indicação “REG-OFF” apareça no
visor. A indicação “TA” pára de piscar
visor.
quando terminar a transmissão das
informações sobre o trânsito.
3 Carregue em (ENTER).
Se seleccionar “REG-OFF” o aparelho pode
Sugestão
mudar para outra estação regional da
Se a transmissão das informações sobre o trânsito
mesma rede.
começar enquanto estiver a ouvir outra fonte, o
aparelho muda automaticamente para a referida
transmissão. Quando a transmissão terminar, o
Para voltar ao programa regional, seleccione
aparelho volta a reproduzir a fonte original.
“REG-ON” no passo 2.
Nota
Esta função não funciona no Reino Unido nem
noutras áreas.
18

Notas
• A informação “NO TP” pisca durante cinco
Pré-programação dos
segundos se a estação que está a ouvir não
transmitir informações sobre o trânsito. Depois, o
dados AF e TA nas
aparelho começa a procurar uma estação que
transmita essas informações.
estações RDS
• Se as indicações “EON” e “TP” aparecerem no
visor, a estação actual utiliza as informações de
trânsito transmitidas por outras estações da
Quando efectua a pré-programação das
mesma rede.
estações RDS, o aparelho memoriza os dados e
a frequência de cada estação para que não
tenha de activar a função AF ou TA sempre
Para cancelar as informações de
que sintonizar a estação pré-programada. Pode
trânsito recebidas
seleccionar uma programação diferente (AF,
TA ou ambas) para cada estação pré-
Carregue em (TA), (SOURCE) ou
programada ou a mesma programação para
(MODE).
todas as estações pré-programadas.
Para cancelar todas as informações sobre o
trânsito, desactive a função carregando em
Pré-selecção da mesma
(TA) até que a indicação “TA-OFF” apareça
no visor.
programação para todas as
estações pré-programadas
Pré-regulação do volume das
1 Seleccione uma banda de FM (página 15).
informações sobre o trânsito
Se não quiser perder as informações sobre o
2 Carregue em (AF) e/ou (TA) para
trânsito, pode pré-regular o respectivo nível do
seleccionar “AF-ON” e/ou “TA-ON”.
volume. Quando começa a transmissão das
Se seleccionar “AF-OFF” ou “TA-OFF”
informações sobre o trânsito, o aparelho regula
memoriza as estações que transmitem
automaticamente o volume para o nível pré-
dados RDS e as estações que não
programado.
transmitem dados RDS.
1 Rode o botão de controlo do volume
3 Carregue em (MENU) e, depois, várias
para regular o volume de som.
vezes num dos lados de (DISC/PRST) até
que a indicação “BTM” apareça no visor.
2 Carregue em (TA) durante dois
segundos.
4 Carregue no lado (+) de (SEEK/AMS) até a
A indicação “TA” aparece e a definição fica
indicação “BTM” piscar no visor.
memorizada.
5 Carregue em (ENTER).
Recepção de informações de
emergência
Pré-selecção de programações
Se for transmitida uma informação de
diferentes para cada estação pré-
emergência enquanto estiver a ouvir o rádio, o
programada
programa muda automaticamente para a
estação que estiver a transmitir a comunicação.
1 Seleccione uma banda FM, e sintonize a
Se estiver a ouvir qualquer outra fonte de som,
estação pretendida (página 16).
pode ouvir as informações de emergência se
activar as funções AF ou TA. O aparelho muda
automaticamente para a estação que transmitir
2 Carregue em (AF) e/ou (TA) para
essas informações, seja qual for a fonte que
seleccionar “AF-ON” e/ou “TA-ON”.
estiver a ouvir.
3 Carregue na tecla numérica pretendida
até que a indicação “MEM” apareça no
visor.
Para pré-programar outras estações, repita
este procedimento a partir do passo 1.
19

1 Carregue em (DSPL/PTY) durante a
Localização de uma
recepção de FM até que a indicação
“PTY” apareça no visor.
estação através do tipo de
programa
Pode localizar a estação pretendida
seleccionando um dos tipos de programa
Se a estação estiver a transmitir dados PTY,
apresentados abaixo.
o nome do tipo de programa actual aparece
no visor. Se a estação sintonizada não for
uma estação RDS ou se os dados RDS não
Tipos de programas Visor
forem recebidos, a indicação “- - - - -”
Noticiários NEWS
aparece no visor.
Actualidades AFFAIRS
Informações INFO
2 Carregue várias vezes em (DISC/PRST)
Desporto SPORT
até aparecer o tipo de programa
pretendido.
Educação EDUCATE
Os tipos de programa aparecem pela ordem
Teatro DRAMA
indicada na tabela acima. Não se esqueça
Cultura CULTURE
que não pode seleccionar “NONE” (não
Ciência SCIENCE
especificado) para pesquisa.
Variados VARIED
Pop POP M
Rock ROCK M
Música ligeira EASY M
Música clássica ligeira LIGHT M
3 Carregue em (ENTER).
O aparelho começa a procurar uma estação
Música clássica erudita CLASSICS
que esteja a transmitir o tipo de programa
Outros tipos de música OTHER M
seleccionado.
Meteorologia WEATHER
Finanças FINANCE
Programas para crianças CHILDREN
Assuntos sociais SOCIAL A
Religião RELIGION
Programas com chamadas PHONE IN
Viagens TRAVEL
Lazer LEISURE
Jazz JAZZ
Música “country” COUNTRY
Música nacional NATION M
Música nostálgica OLDIES
Música “folk” FOLK M
Documentários DOCUMENT
Não especificado NONE
Nota
Não pode utilizar esta função nos países que não
transmitam dados PTY (selecção do tipo de
programa).
20

Acerto automático do
Outras funções
relógio
Os dados CT (Hora do Relógio) da transmissão
Também pode controlar este aparelho com um
RDS acertam o relógio automaticamente.
comando rotativo (opcional).
1 Durante a recepção de rádio, carregue
em (MENU) e, depois, várias vezes num
dos lados de (DISC/PRST) até aparecer a
Colocar as etiquetas no
indicação “CT” no visor.
comando rotativo
Cole a etiqueta apresentada na figura abaixo
consoante a montagem do comando rotativo.
2 Carregue várias vezes no lado (+) de
(SEEK/AMS)até aparecer a indicação “CT-
ON” no visor.
O aparelho acerta o relógio.
SOUND
MODE
DSPL
3 Carregue em (ENTER) para voltar ao
visor normal.
DSPL
Para cancelar a função CT
MODE
SOUND
Seleccione “CT-OFF” no passo 2.
Notas
• A função CT pode não funcionar mesmo que
esteja a receber uma estação RDS.
• Podem existir diferenças entre a hora
programada pela função CT e a hora real.
21

Rodar o controlo
Utilização do comando
(controlo SEEK/AMS)
rotativo
O comando rotativo funciona carregando nas
teclas e/ou nos controlos rotativos.
Também pode controlar uma unidade opcional
de CD/MD com o comando rotativo.
Se carregar nas teclas
(SOURCE e MODE)
Rode o controlo durante um momento e
depois liberte-o para:
•Localizar uma faixa específica num disco.
(SOURCE)
Rode e segure o controlo até localizar o
ponto específico numa faixa, e depois
liberte-o para iniciar a reprodução.
•Sintonizar as estações automaticamente.
Rode sem soltar o comando para localizar
(MODE)
uma estação específica.
Se rodar e carregar no controlo
Sempre que carregar em (SOURCE), a
(controlo PRESET/DISC)
fonte muda da seguinte forma:
Tuner t CD* t MD
* O elemento não aparece se não estiver ligado
o equipamento opcional correspondente.
Se carregar em (MODE), o
funcionamento muda da seguinte forma;
• Tuner: FM1 t FM2 t FM3 t MW t LW
• Dispositivo de CD*: CD1 t CD2 t …
• Dispositivo de MD*: MD1 t MD2 t …
* Se o equipamento opcional correspondente
Carregue e rode o controlo para:
não estiver ligado, estes elementos não
•Receber as estações memorizadas nas
aparecem.
teclas numéricas pré-programadas.
•Mudar de disco.
22

Sugestão
Outras operações
Também pode alterar a direcção de
Rode o controlo VOL para
funcionamento destes controlos com o aparelho
regular o volume.
(consulte “Alteração das programações do visor e
Carregue em
do som” na página 24).
(ATT) para reduzir
o som ao mínimo.
OFF
Regulação das
Carregue em
características de som
(OFF) para
desligar o
aparelho.
Pode regular os graves, os agudos, o balanço e
o fader.
Carregue em (SOUND)
para regular o volume
Pode memorizar os níveis dos graves e dos
e o menu de controlo
agudos para cada uma das fontes.
do som.
1 Seleccione o elemento que pretende
regular carregando várias vezes em
(SOUND).
Carregue em (DSPL) para ver os
nomes memorizados.
Sempre que carreger em (SOUND), os
elementos no visor mudam da seguinte
Sugestão
maneira:
Se o seu automóvel não tiver uma posição ACC
(acessório) no selector da chave de ignição, não se
BAS (graves) t TRE (agudos) t BAL
esqueça de carregar em (OFF) durante dois
(esquerda-direita) t FAD (controlo frente-
segundos para desactivar a indicação da hora após
atrás)
ter desligado o motor.
2 Regule o elemento seleccionado
Alteração da direcção de
carregando num dos lados de
(SEEK/AMS).
funcionamento
Quando regular o comando rotativo,
A direcção de funcionamento dos comandos
carregue em (SOUND) e rode o botão VOL.
vem programada de fábrica para os valores
indicados abaixo.
Nota
Regule nos três segundos seguintes à selecção dos
Para aumentar
elementos.
Para diminuir
Se for necessário montar o comando rotativo
no lado direito da coluna da direcção, pode
inverter a direcção de funcionamento.
Carregue em (SOUND) e no controlo VOL
durante dois segundos.
23

1 Carregue em (MENU).
Redução do som ao
2 Carregue várias vezes num dos lados de
mínimo
(DISC/PRST)até que o elemento pretendido
(Com o comando rotativo ou o comando
apareça no visor.
sem fio)
Sempre que carregar no lado (–) de
(DISC/PRST), o elemento no visor muda da
Carregue em (ATT) no comando rotativo
seguinte maneira:
ou no comando em forma de cartão.
CLOCK t CT t BEEP t RM t D.INFO t
A indicação “ATT-ON” pisca por
1
2
DIMMER*
t M.DSPL t A.SCRL*
momentos.
1
*
Apenas para o MDX-C6500RV
Para restabelecer o nível de volume anterior,
2
*
Se não estiver a reproduzir CDs ou MDs num
volte a carregar em (ATT).
aparelho com a função CD TEXT, este
elemento não aparece.
Sugestão
Quando o cabo de interface do telefone de
Nota
automóvel estiver ligado ao fio ATT, o aparelho
O elemento mostrado no visor difere,
reduz automaticamente o volume durante uma
dependendo da fonte.
chamada telefónica (Função Telephone ATT).
(Apenas para os modelos MDX-C6500RX/C6500RV/
Sugestão
C6500R)
Pode alternar facilmente entre as categorias
(“SET”, “DIS”, “P/M” (modo de reprodução)e
“EDT” (modo de edição)) carregando num dos
lados de (DISC/PRST) durante dois segundos.
Alteração das
3 Carregue no lado (+) de (SEEK/AMS) para
programações do visor e
seleccionar a programação pretendida
(Exemplo: ON ou OFF).
do som
Pode programar os elementos seguintes:
4 Carregue em (ENTER).
SET (programação)
Quando terminar a programação, o visor
volta ao modo de reprodução normal.
•CLOCK (Relógio) (página 8)
•CT (Hora do Relógio) (página 21)
•BEEP — para activar/desactivar os sinais
sonoros.
•RM (comando rotativo) — para alterar a
direcção de funcionamento dos controlos do
comando rotativo.
— Seleccione “NORM” para utilizar o
comando rotativo na posição programada
na fábrica.
— Seleccione “REV” quando instalar o
comando rotativo no lado direito da
coluna de direcção.
DIS (visor)
•D.INFO (Informação dupla) — para ver,
simultaneamente, o relógio e o modo de
reprodução (ON).
•DIMMER (Esbatimento) — para dar mais
(ON) ou menos (OFF) brilho ao visor.
(Apenas para o MDX-C6500RV)
•M.DSPL (Movimento monitor) — para
activar e desactivar a visualização dinâmica.
•A.SCRL(Auto Scroll) (página 10)
Nota
Se ligar um amplificador de potência opcional e
não utilizar o amplificador do aparelho, o sinal
sonoro fica desactivado.
24

Intensificar o som dos
Informação adicional
graves — D-bass
Pode obter graves com um som nítido e
potente. A função D-bass intensifica o sinal das
baixas e altas frequências, criando uma curva
Manutenção
mais precisa do que a curva convencional de
intensificação dos graves.
Substituição do fusível
Pode ouvir um som de graves mais límpido
mesmo sem mudar o volume. Pode realçar e
Quando substituir o fusível, verifique se está a
regular o som dos graves com facilidade,
utilizar um fusível com a amperagem idêntica
utilizando o botão D-BASS.
à indicada no fusível que retirou. Se o fusível
rebentar, verifique a ligação à corrente e
D-BASS 3
substitua o fusível. Se o fusível rebentar
D-BASS 2
novamente, pode tratar-se de uma avaria
Nível
D-BASS 1
D-BASS 3
interna. Neste caso, consulte o agente Sony
D-BASS 2
mais próximo.
D-BASS 1
0dB
Frequência (Hz)
Regular a curva dos graves
Carregue várias vezes em (D-BASS) até
Fusível (10 A)
que o nível dos graves pretendido
apareça no visor.
B D.BASS 1 B D.BASS 2 B D.BASS 3
Advertência
Nunca utilize um fusível com uma amperagem
D.BASS-OFF b
superior à especificada no aparelho. Se o fizer,
corre o risco de danificar o aparelho.
Para cancelar, seleccione “D.BASS-OFF”.
Nota
Se o som dos graves sair distorcido, seleccione uma
regulação menos activa de “ D.BASS” ou regule o
volume.
25

Limpeza dos conectores
Substituição da pilha de lítio
Se os conectores entre o aparelho e o painel
Quando a pilha ficar fraca, o alcance do
frontal estiverem sujos, o aparelho pode não
telecomando sem fio torna-se mais reduzido.
funcionar correctamente. Para evitar esta
Substitua a pilha por uma nova pilha de lítio
situação, abra o painel frontal carregando em
CR2025.
(OPEN), retire-o e limpe os conectores com um
cotonete embebido em álcool. Não faça muita
pressão para não danificar os conectores.
Unidade principal
x
+ para cima
Parte posterior do painel frontal
Notas
• Para sua segurança, antes de limpar os
conectores, desligue o mtor e retire a chave da
ignição.
• Nunca toque nos conectores directamente com
os dedos ou com um objecto metálico.
Notas sobre a pilha de lítio
•Mantenha a pilha de lítio fora do alcance das
crianças. Se alguma criança engolir a pilha,
consulte imediatamente um médico.
•Limpe a pilha com um pano seco de modo a
garantir um bom contacto.
•Respeite a polaridade ao colocar a pilha.
•Não pegue na pilha com pinças metálicas,
pois se o fizer, pode provocar um curto-
circuito.
AVISO
Se não tiver cuidado, a pilha pode explodir.
Não a recarregue, desmonte nem a deite
para o lume.
26

5 Puxe o aparelho para fora do respectivo
Desmontagem do
suporte.
aparelho
1 Depois de retirar o painel frontal,
carregue no grampo que se encontra no
interior da tampa da frente com uma
chave de fendas de lâmina fina e solte
cuidadosamente a tampa.
2 Repita o ponto 1 no lado direito.
A tampa frontal é solta.
3 Utilize uma chave de parafusos para
empurrar a patilha esquerda para fora
do aparelho e, em seguida, puxe o lado
esquerdo do aparelho para fora até que
a patilha saia do suporte.
4 mm
4 Repita o ponto 3 no lado direito.
27

Especificações
Secção do leitor de MD
Geral
1
Relação sinal/ruído 90 dB
Saídas Saídas de áudio*
Resposta em frequência 10 – 20.000 Hz
Fio de controlo do relé da
Choro e flutuação abaixo do limite
antena eléctrica
mensurável
Fio de controlo do
amplificador de potência
Fio de controlo da função
Secção do sintonizador
2
Telephone ATT*
FM
Controlos de tonalidade Graves ±9 dB at 100 Hz
Área de sintonização 87,5 – 108,0 MHz
Agudos ±9 dB at 10 kHz
Terminal de antena Conector da antena externa
Requisitos de alimentação
Frequência intermédia 10,7 MHz/450 kHz
Bateria do automóvel com
Sensibilidade utilizável 8 dBf
12 V CC (terra negativa)
Selectividade 75 dB a 400 kHz
Dimensões aprox. 178 × 50 × 183 mm
Relação sinal/ruído 66 dB (estéreo),
(l/a/p)
72 dB (mono)
Dimensões de montagem aprox. 182 × 53 × 162 mm
Distorção harmónica a 1 kHz
(l/a/p)
0,6 % (estéreo),
Peso aprox. 1,2 kg
0,3 % (mono)
Acessórios fornecidos Peças para instalação e
Separação 35 dB a 1 kHz
ligações (1 conjunto)
Resposta em frequência 30 – 15.000 Hz
Caixa do painel frontal (1)
Acessórios opcionais Comando rotativo RM-X4S
MW/LW
Telecomando sem fio
årea de sintonização MW: 531 – 1.602 kHz
RM-X91
LW: 153 – 279 kHz
Cabo BUS (fornecido com
Terminal de antena Conector da antena externa
um cabo de pinos RCA)
Frequência intermédia 10,7 MHz/450 kHz
RC-61 (1 m), RC-62 (2 m)
Sensibilidade MW: 30 µV
Equipamento opcional Permutador de CDs
LW: 40 µV
(10 discos)
CDX-828, CDX-737
Permutador de MDs
Secção do amplificador de
(6 discos)
potência
MDX-65
Selector de fonte
Saídas Saídas dos altifalantes
XA-C30
(conectores vedantes)
Impedância dos
1
*
Equipado com saídas frontais e posteriores:
altifalantes 4 – 8 ohms
apenas para os modelos MDX-C6500RX/
Saída de potência máxima
C6500RV/C6500R
50 W × 4 (a 4 ohms)
Equipado com saídas posteriores: MDX-C6400R
2
*
Apenas para os modelos MDX-C6500RX/
C6500RV/C6500R
Patentes dos E.U.A. e estrangeiras licenciadas da
Dolby Laboratories Licensing Corporation.
O design e as especificações estão sujeitos a
alterações sem aviso prévio.
28

Guia de resolução de problemas
A lista de verificação seguinte ajuda a resolver os problemas que possam ocorrer no aparelho.
Antes de consultar a lista apresentada abaixo, verifique os procedimentos de funcionamento e de
ligação.
Geral
Problema
Causa/Solução
Sem som.
•Cancele a função ATT.
•No sistema de dois altifalantes, regule o controlo fader para a
posição central.
•Rode o botão no sentido dos ponteiros do relógio para
regular o volume.
O conteúdo da memória foi
•O cabo de alimentação ou a bateria estão desligados.
apagado.
•Carregou na tecla reset.
t Volte a memorizar o conteúdo.
Não aparecem indicações no
Retire o painel frontal e limpe os conectores. Para mais
visor.
informações, consulte “Limpeza dos conectores” (página 26).
Sem sinal sonoro.
•O sinal sonoro está desactivado (página 24).
•Se ligar um amplificador opcional e não utilizar o
amplificador incorporado, o sinal sonoro é desactivado.
Reprodução de CD/MD
Problema
Causa/Solução
Não consegue introduzir um
•Um outro MD já está inserido.
disco.
•O MD foi inserido ao contrário ou de maneira incorrecta.
Não consegue reproduzir.
MD defeituoso ou CD sujo.
O disco é ejectado
A temperatura ambiente é superior a 50˚C.
automaticamente.
As teclas de funcionamento não
Carregue na tecla de reinicialização.
funcionam.
Há cortes de som por causa das
•Instalou o aparelho num ângulo superior a 20°.
vibrações.
•Não instalou o aparelho numa superfície dura do automóvel.
O som tem oscilações.
Um disco sujo ou defeituoso.
Não consegue desactivar a
Não pode identificar CDs a não ser que ligue uma unidade de
indicação “--------”.
CD com a função de ficheiros personalizados.
t Carregue em (LIST) durante dois segundos.
29

Recepção de rádio
Problema
Causa/Solução
Não consegue efectuar a
•Memorize a frequência correcta na memória.
sintonização pré-programada.
•O sinal da transmissão é muito fraco.
Não consegue sintonizar as
Ligue um fio de controlo da antena eléctrica (azul) ou o cabo
estações.
de alimentação suplementar (vermelho) ao cabo de
O som é prejudicado por ruídos.
alimentação do amplificador de antena do automóvel. (Apenas
se o automóvel tiver uma antena de FM/MW/LW instalada no
vidro traseiro ou lateral.)
Não consegue efectuar a
O sinal de transmissão é muito fraco.
sintonização automática.
t Utilize a sintonização manual.
A indicação “ST” está a piscar.
•Sintonize a frequência de forma correcta.
•O sinal da transmissão é muito fraco.
t Regule para o modo MONO (página 16).
Funções RDS
Problema
Causa/Solução
A função SEEK é activada
uma estação que não transmite programas de trânsito ou tem
poucos segundos depois de
um sinal fraco.
começar a ouvir o rádio.
t Carregue várias vezes em (AF) ou (TA) até a indicação
“AF-OFF” ou “TA-OFF” aparecer no visor.
Não consegue sintonizar
•Active “TA”.
estações com informações sobre
•A estação não transmite informações sobre o trânsito embora
o trânsito.
seja TP. t Sintonize outra estação.
PTY mostra “NONE”.
A estação não especifica o tipo de programa.
30

Mensagens de erro no visor (com o dispositivo de CD/MD opcional ligado)
As indicações mencionadas abaixo piscam durante cinco segundos e depois ouve-se sinal sonoro.
Visor
Causa
Solução
Não introduziu o carregador de discos
Introduza o disco no dispositivo de
NO MAG
no dispositivo de CD/MD.
CD/MD.
Não introduziu discos no dispositivo
Insira discos no dispositivo de CD/
NO DISC
de CD/MD.
MD.
Há um problema que impede a
Introduza outro CD/MD.
NG DISCS
reprodução de um CD/MD.
O CD está sujo ou foi introduzido ao
Limpe ou introduza o CD
2
contrário.*
correctamente.
1
*
ERROR
Não consegue reproduzir um MD
Introduza outro MD.
2
devido a um problema.*
2
1
Não há faixas gravadas no MD.*
*
Reproduza um MD com faixas
BLANK
gravadas.
Não consegue utilizador o dispositivo
Carregue na tecla de reinicialização
RESET
de CD/MD devido a um problema.
do aparelho.
A tampa da unidade de MD está
Feche o compartimento ou
NO READY
aberta ou os MDs não estão
introduza os MD correctamente.
correctamente introduzidos.
A temperatura ambiente é superior a
Aguarde até a temperatura ficar
HI TEMP
50°C.
inferior a 50°C.
1
*
Se ocorrer um erro durante a reprodução de um CD ou MD, o número de disco do MD ou do CD não
aparecerá no visor.
2
*
O número do disco que está a provocar o erro aparece no visor.
Se as soluções acima mencionadas não o ajudarem a resolver o problema, contacte o agente Sony
mais próximo.
31

Поздравляем с
Меры предосторожности
покупкой!
• В случае если Ваш автомобиль был
запаркован на солнцепеке, в результате
Благодарим Вас за приобретение
чего произошло значительное повышение
проигрывателя мини-дисков фирмы Sony.
температуры в его салоне, дайте
Этот аппарат дает Вам возможность
проигрывателю остыть, прежде чем
пользоваться широким кругом
начинать его эксплуатацию.
разнообразных функций с помощью
• В случае если на проигрыватель не
следующих принадлежностей управления:
поступает питание, первым делом
Приобретаемые дополнительно
проверьте контакты. Если все в порядке,
принадлежности:
проверьте плавкий предохранитель.
• В случае если Ваш автомобиль оснащен
Поворотный дистанционный
электроприводной антенной, то при
переключатель RM-X4S
эксплуатации аппарата она будет
Беспроводной пульт дистанционного
выдвигаться автоматически.
управления RM-X91
В случае возникновения у Вас каких-либо
В дополнение к воспроизведению
вопросов или проблем, связанных с Вашим
содержания мини-дисков и прослушиванию
проигрывателем и не рассмотренных в
радиопередач Вы можете расширить свою
данном Руководстве по эксплуатации,
систему, подключив к ней приобретаемые
обратитесь, пожалуйста, за консультацией
отдельно проигрыватели компакт-/мини-
1
к ближайшему дилеру фирмы Sony.
дисков (CD/MD)*
.
При использовании Вами данного
проигрывателя или подключенного
Конденсация влаги
приобретаемого отдельно проигрывателя
В дождливый день или в условиях
CD с функцией CD TEXT для
повышенной влажности на линзах в
воспроизведения содержания компакт-
аппарате может скапливаться влага. Ее
2
диска CD TEXT disc*
информация с этого
появление нарушает нормальное
диска выводится на дисплей.
функционирование аппарата. Если такое
прозойдет, извлеките диск и подождите
1
*
К данному аппарату Вы можете подключить
примерно полчаса, пока влага не
сменщики MD, сменщики CD, проигрыватели
испарится.
MD или проигрыватели CD.
2
*
Диск CD TEXT это звуковой диск, содержащий,
Позаботьтесь о сохранении
в частности, информацию о названии диска,
имени исполнителя и названиях дорожек.
высокого качества звучания
Эта информация записана на диске.
Если рядом с Вашей аудиоаппаратурой в
салоне смонтированы держатели стаканов,
Tолько для модели MDX-C6500R
будьте осторожны, чтобы не пролить на
Проигрыватель мини-дисков
нее и на мини-диски сок или какой-либо
другой сладкий напиток. Сахарный налет
с диапазоном FM/MW/LW
на аппарате или мини-диске может
Cдeлaно в Taилaндe
привести к загрязнению линз внутри
проигрывателя, что вызовет ухудшение
качества звука или вообще сделает
невозможным его воспроизведение.
2

О наклеивании этикеток
Примечания о MD
Старайтесь правильно наклеивать
этикетки на картриджи, поскольку в
Поскольку записываемая часть диска
противном случае диски могут застревать в
находится в картридже и таким образом
аппарате.
защищена от случайного контакта с
пальцами и пылью, мини-диск может
• Наклеивайте этикетку в
выдерживать довольно грубое обращение.
предусмотренном для этого месте.
Тем не менее, попадание грязи или пыли на
• Снимайте старые этикетки, прежде чем
поверхность картриджа или его
приклеивать новые.
деформация могут приводить к сбоям в
• Снимайте старые этикетки, как только
работе проигрывателя. Поэтому, чтобы
они начинают отклеиваться от MD.
обеспечить оптимальное звучание,
соблюдайте следующие правила.
Никогда не прикасайтесь к поверхности
записываемой части диска, специально
сдвигая для этого затворку картриджа.
При извлечении мини-диска он может
оказаться открытым. В таком случае
сразу же закройте затворку картриджа.
Не подвергайте MD воздействию прямого
солнечного света или источников тепла,
таких, как обогреватели воздуха. Не
оставляйте MD в автомобиле,
Очистка мини-дисков
запаркованном на солнцепеке, где может
Время от времени протирайте поверхность
произойти значительное повышение
картриджа сухой мягкой тряпочкой.
температуры.
Не оставляйте MD на приборной доске или
на полке за задним стеклом автомобиля,
где они также могут подвергнуться
перегреву.
3

Содержание
Расположение органов управления ............ 5
Прочие функции
Наклейка ярлычка на поворотный
Начальные операции
дистанционный переключатель............ 21
Переустановка параметров аппарата ......... 7
Использование поворотного дистанционного
Снятие передней панели ............................. 7
переключателя....................................... 22
Включение/выключение аппарата .............. 8
Подстройка характеристик звука ............. 23
Как пользоваться меню ............................... 8
Приглушение звука ..................................... 24
Установка часов ........................................... 8
Изменение заданных параметров звука и
дисплея ................................................... 24
Проигрыватель MD
Усиление низкочастотных звуков
Проигрыватель CD/MD
— D-bass ................................................. 25
(в комплект не входит)
Дополнительная информация
Прослушивание MD ...................................... 9
Технический уход ........................................ 25
Повторное воспроизведение дорожек
Демонтаж проигрывателя .......................... 27
— Повтор воспроизведения................... 11
Технические характеристики ..................... 28
Воспроизведение дорожек в случайном
порядке
Инструкции по устранению неполадок ..... 29
— Перетасованное воспроизведение ... 11
Присвоение названия CD
— Программная память CD* ................... 12
Нахождение диска по названию
— Функция пролистывания*.................... 13
Выбор определенных дорожек для
воспроизведения
— Банк* .................................................. 14
* Имеющиеся функции с отдельно
приобретаемым аппаратом CD/MD.
Радиоприемник
Автоматическое занесение станций в
память
— Функция памяти оптимальной
настройки на станции (BTM) ................. 15
Занесение в память только нужных Вам
станций .................................................... 15
Прием занесенных в память станций ....... 16
RDS
Обзор функций RDS ................................... 17
Индикация названия станции .................... 17
Автоматическая перенастройка на ту же
программу
— Альтернативные частоты (AF) ......... 17
Прослушивание дорожных сообщений ..... 18
Предустановка станций RDS с данными
AF и TA ..................................................... 19
Нахождение станции по типу программы . 20
Автоматическая установка часов ............. 21
4

Расположение органов управления
OPEN
I
S
C
+
PTY
D
-
P
DSPL
R
S
T
+
MENU
LIST
D-BASS
TA
SOURCE
-
SEEK/AMS
AF
SOUND
ENTER
P
R
S
REP SHUF
T
-
-
D
I
S
C
–
MODE
OFF
1 2 3 4 56
MDX-C6500RX/C6500RV
/C6500R/C6400R
За подробностями обращайтесь к соответствующим указанным страницам.
1 Регулятор громкости 19
Автоматический музыкальный сенсор
10, 14
2 Клавиша MENU
Ручной поиск 10
8, 10, 12, 13, 14, 15, 16, 18, 19, 21, 24
Поиск 15, 16, 18
3 Клавиши DISC/PRST +/– (Курсор
qg Клавиша ENTER
вверх/вниз)
8, 10, 12, 13, 14, 15, 16, 18, 19, 20, 21, 24
8, 10, 12, 13, 14, 15, 16, 18, 19, 20, 21, 24
При прослушивании компакт-/мини-
qh Клавиша MODE 19
диска:
При прослушивании компакт-/мини-
смена диска 10, 13
диска:
При приеме радиопередач:
выбор проигрывателя CD/MD 9, 13
выбор предварительно
При приеме радиопередач:
запрограммированных станций 16
выбор диапазона (BAND) 15, 16
4
Кнопка Z (извлечение диска)
qj Сенсор для приема сигнала от
(расположена в передней части
беспроводного пульта
аппарата за передней панелью) 9
дистанционного управления
5 Клавиша DSPL/PTY (изменение
qk Номерные клавиши
режима дисплея/выбор типа
При приеме радиопередач:
программы) 9, 10, 12, 17, 20
Выбор предустановленного номера
15, 16, 18, 19
6 Клавиша LIST 12
При прослушивании CD/MD:
List-up 13
(1) REP (повтор) 11
7 Клавиша SOURCE (выбор источника)
(2) SHUF (“перетасованное”
(TUNER/CD/MD) 8, 9, 10, 13, 15, 16, 19
воспроизведение) 11
8 Окошко дисплея
ql Клавиша AF 17, 18, 19
9 Клавиша OPEN 7, 9, 26
w; Клавиша TA 18, 19
q; Клавиша D-BASS 25
* Предостережение относительно
аппаратуры, установленной в
qa Клавиша SOUND 23
автомобиле, замок зажигания в
qs Кнопка переустановки(расположена
котором не имеет отдельного
в передней части аппарата за
положения (ACC) для отключения
передней панелью) 7
подсоединенной аппаратуры.
После выключения двигателя не
qd Клавиша OFF* 7, 8, 9
забывайте нажать на две секунды
qf Клавиши SEEK/AMS –/+ (Курсор
кнопку (OFF) на аппарате, с тем чтобы
влево/вправо)
отключить циферблат часов.
8, 10, 12, 14, 16, 18, 19, 21, 23, 24
При слишком кратком нажатии (OFF)
циферблат не отключается, что ведет к
разрядке аккумуляторной батареи.
5

Расположение органов управления
Беспроводной пульт дистанционного управления RM-X91
(в комплeкт нe вxодит)
Клавиши на беспроводном пульте
дистанционного управления выполняют
OPEN/CLOSE
те же функции, что и соответствующие
OFF
клавиши на самом проигрывателе.
1 Клавиша OFF
MENU LIST
DISC
2 Клавиша MENU
SEEK SEEK
3 Клавиша SOURCE
SOURCE
4 Клавиши SEEK/AMS
SOUND
DISC
ENTER
5 Клавиша SOUND
6 Клавиша DSPL (DSPL/PTY)
DSPL MODE
7 Клавиша ATT
VOLATT
8 Клавиша LIST
9 Клавиши DISC/PRST
q; Клавиша ENTER
qa Клавиша MODE
qs Клавиши VOL
Примечания
• Проигрыватель выключeнный нажатием клавиши (OFF) в течение 2 секунд может управляться
беспроводным пультом дистанционного управления лишь в том случае, если на проигрывателе будет
нажата клавиша (SOURCE) или если в него будет установлен диск для того, чтобы сначала привести
проигрыватель в действие.
• He оcтaвляйтe пyльт диcтaнционного yпpaвлeния в тex мecтax, гдe нa нeго могyт попaдaть пpямыe
cолнeчныe лyчи, нaпpимep, нa пpибоpной пaнeли или pyлeвом колece. Под воздeйcтвиeм тeплa он
можeт дeфоpмиpовaтьcя.
• Уcтpойcтво для зaпиcи мини-диcков можeт нeпpaвильно фyнкциониpовaть c помощью пyльтa
диcтaнционного yпpaвлeния, нaxодившeгоcя под воздeйcтвиeм cолнeчныx лyчeй. B этом cлyчae
нeобxодимо дepжaть пyльт диcтaнционного yпpaвлeния вблизи от дaтчикa нa ycтpойcтвe.
6

Установка передней панели
Начальные
Наложите отверстие A на передней
панели на штырек B на аппарате, как
операции
показано на рисунке, а затем вдвиньте
левую сторону внутрь.
Переустановка
A
параметров аппарата
Перед первым использованием аппарата
B
или после замены автомобильного
аккумулятора Вам следует произвести
переустановку заложенных в память
проигрывателя параметров.
Снимите переднюю панель и нажмите
кнопку переустановки с помощью
заостренного предмета, например,
шариковой ручки.
x
Кнопка переустановки
Примечание
При нажатии кнопки переустановки происходит
стирание установленного на часах времени и
некоторых других занесенных в память
параметров.
Снятие передней панели
В целях предотвращения кражи аппарата
Примечания
Вы можете снять с него переднюю панель.
• Не устанавливайте переднюю панель верхней
стороной вниз.
• При установке панели не прижимайте ее
1 Нажмите клавишу (OFF).
слишком сильно к проигрывателю.
• Не надавливайте и не нажимайте слишком
сильно на окошко дисплея, расположенное на
2 Нажмите клавишу (OPEN), сдвиньте
передней панели.
переднюю панель вправо и снимите
• Не подвергайте переднюю панель прямому
ее, потянув на себя левый край.
воздействию солнечных лучей или источников
тепла, таких, как автомобильная печка, и не
оставляйте ее во влажном месте. Никогда не
оставляйте ее на приборной доске автомобиля,
запаркованного на солнцепеке или в других
местах, где возможно значительное повышение
температуры.
1
Предупреждающий сигнал
2
Если Вы, повернув ключ зажигания,
перевели его в положение OFF, не
Примечания
отсоединив переднюю панель, в течение
• Не ставьте ничего на внутреннюю поверхность
нескольких секунд будет слышен
передней панели.
предупредительный звуковой сигнал.
• Старайтесь не уронить переднюю панель при
Если Вы не пользуетесь встроенным
ее отсоединении от аппарата.
усилителем, а подключаете
• Если Вы снимаете панель при включенном
питании, оно автоматически отключается во
дополнительный, звуковой сигнал
избежание повреждения громкоговорителей.
включаться не будет.
• Если Вы уносите переднюю панель с собой, то
поместите ее в прилагаемый специальный
футляр.
7

Включение/
Установка часов
выключение аппарата
Часы данного аппарата имеют 24-часовую
индикацию.
Включение аппарата
Пример: установка часов на 10:08
Нажмите (SOURCE) или вставьте MD в
аппарат.
1 Нажмите клавишу (MENU), затем
Более подробную информацию об
последовательно нажимайте на любую
эксплуатации см. на стр. 9 (MD/CD) и на
сторону клавиши (DISC/PRST) до
стр. 15 (радиоприемник).
появления на дисплее надписи
“CLOCK”.
Выключение аппарата
Нажмите (OFF) для остановки
воспроизведения MD/CD или приема
радиостанций (основная подсветка и
дисплей сохраняются).
1 Нажмите (ENTER).
Нажимайте (OFF) в течение двух секунд
для полного выключения аппарата.
Примечание
Если на замке зажигания Вашей машины нет
положения ACC, не забудьте выключить аппарат
Начинает мигать индикатор часа.
нажатием (OFF) в течение двух секунд во
2 Нажимайте любую сторону клавиши
избежание разрядки аккумулятора.
(DISC/ PRST) для установки часа.
Как пользоваться
меню
3 Нажмите на помеченную знаком (+)
сторону клавиши (SEEK/AMS).
Данная магнитола работает при помощи
выбора параметров из меню.
Для выбора введите сначала режим меню,
а затем выберите up/down (вверх/вниз)
(клавишей (+)/(–) (DISC/PRST)), или
Начинает мигать индикатор минут.
выберите left/right (влево/вправо)
(клавишей (+)/(–) (SEEK/AMS)).
4 Нажимайте любую сторону клавиши
(DISC/ PRST) для установки минуты.
(DISC/PRST)
(+): Для выбора вверх
SOURCE
2 Нажмите (ENTER).
(–): Для выбора вниз
(SEEK/AMS)
Часы пошли.
По окончании установки часов дисплей
возвращается в обычный режим
(–): Для выбора
(+): Для выбора
индикации воспроизведения.
влево
SOURCE
вправо
К Вашему сведению
Вы можете установить время автоматически с
помощью функции RDS (см. стр. 17).
Пpимeчaниe
Примечание
Пpи отобpaжeнии мeню знaчок “v” в лeвой чacти
Пpи включeнном peжимe D.INFO, положeниe ON,
диcплeя покaзывaeт выбиpaeмыe кнопки
вceгдa отобpaжaeтcя индикaция вpeмeни в том
(DISC/PRST) и (SEEK/AMS).
cлyчae, ecли peжим M.DSPL отключeн,
8
положeниe OFF (cтp. 24).

По окончании последней дорожки
Проигрыватель MD
на MD
Проигрыватель CD/
Индикатор номера дорожки возвращается
к “1” и воспроизведение начинается вновь
MD (в комплект не
с первой дорожки MD.
Для того, чтобы Нажмите
входит)
Остановить (OFF)
воспроизведение
Вы можете не только прослушивать мини-
Извлечь MD (OPEN) затем Z
диски с помощью данного аппарата, но и
управлять подключнными
Воспроизведение CD или MD (с
дополнительными проигрывателями CD/
MD.
использованием дополнительного
Если Вы подключаете дополнительный
проигрывателя CD/MD)
проигрыватель CD, имеющий функцию CD
1 Последовательным нажатием
TEXT, то при воспроизведении Вами диска
клавиши (SOURCE) выберите “CD”
CD TEXT информация с этого диска будет
или “MD”.
выводиться на дисплей.
2 Нажимайте (MODE) до появления на
дисплее обозначения нужного
аппарата.
Прослушивание MD
Начинается воспроизведение CD/MD.
(с использованием только данного
Диски в используемом в данный момент
проигрывателя)
проигрывателе воспроизводятся сверху
вниз.
1 Нажмите (OPEN) и вставьте MD.
Этикеткой кверху
Изменение выводимого на дисплей
параметра
При каждом нажатии Вами (DSPL/PTY) во
Z
время воспроизведения мини-диска,
компакт-диска или CD TEXT-диска
выводимый на дисплей параметр меняется
следующим образом:
V
1
Номер диска*
/Номер дорожки/
Время с начала воспроизведения
2 Закройте переднюю панель.
V
Воспроизведение начинается
2
3
Название диска*
/Имя исполнителя*
автоматически.
V
4
Если MD уже вставлен, то для начала
Название дорожки*
воспроизведения несколько раз нажмите
V
клавишу (SOURCE), чтобы на дисплее
5
FM1 Частота или название станции*
появилась надпись “MD”.
*
1
Когда подключен дополнительный
в окошке дисплея сначала появляется
проигрыватель CD/MD.
название мини-диска (MD)* и название
*
2
Если Вы не присвоили CD-диску или CD TEXT-
дорожки, а затем - время
диску названия (“Присвоение названия CD” на
воспроизведения.
стр. 12), или если на воспроизводимом мини-
Обозначение MD
диске нет никакого ранее записанного
названия, на дисплее появляеттся “DISC” и
“NO NAME” (без названия).
*
3
При воспроизведении диска CD TEXT после
названия диска на дисплее появляется имя
исполнителя. (Относится лишь к CD TEXT-
дискам, содержащим имя исполнителя.)
*
4
Если воспроизводимая дорожка на CD TEXT-
Номер дорожки
Время с начала
диске или мини-диске не имеет ранее
воспроизведения
записанного названия, на дисплее появляется
* Только в том случае, если эти названия
надпись “TRACK” и “NO NAME” (без названия).
записаны на MD.
*
5
При включенной функции AF/TA.
9

После выбора Вами нужной позиции
Примечание
дисплей по прошествии нескольких секунд
С некоторыми CD TEXT-дисками, содержащими
автоматически переходит в режим Motion
текст с очень большим количеством знаков,
Display (движущийся дисплей).
может произойти следующее:
В режиме Motion Display все
— Какие-то из знаков на дисплее не появятся.
— Функция Auto Scroll работать не будет.
вышеперечисленные позиции
прокручиваются на дисплее поочередно,
одна за другой.
Нахождение нужной дорожки
— Автоматический музыкальный
Примечание
Если Вы сами присваиваете диску название, оно
сенсор
всегда будет выводиться на дисплей вместо
Во время воспроизведения кратко
персонально записанной на CD TEXT-диске
информации.
нажимайте на любую сторону
клавиши (SEEK/AMS) - по одному разу
Совет
на каждую дорожку, которую вы
Режим Motion Display можно отключить (См.
хотите пропустить.
раздел “Изменение заданных параметров звука и
дисплея” на стр. 24.)
Для
Для
нахождения
нахождения
Автоматическая прокрутка
предыдущих
SOURCE
последующих
дорожек
дорожек
названия диска — Auto Scroll
Если название диска, имя исполнителя или
название дорожки на мини-диске или CD
TEXT-диске состоит из более чем 8 знаков,
то при включенной функции Auto Scroll на
Нахождение нужного места на
дисплее автоматически прокручивается
дорожке — ручной поиск
следующая информация:
• При смене диска появляется название нового
Во время воспроизведения нажмите
диска (если название диска выбрано в
на любую сторону клавиши
качестве выводимого на дисплей параметра).
(SEEK/AMS) и удерживайте ее в
• При смене дорожки появляется название новой
нажатом положении. Отпустите
дорожки (если название дорожки выбрано в
клавишу, когда найдете нужное
качестве выводимого на дисплей параметра).
место.
• При нажатии Вами (SOURCE) для выбора MD
или CD TEXT-диска на дисплее появляется
название диска или дорожки, в зависимости от
заданных параметров.
Для поиска
Для поиска
SOURCE
назад
вперед
Если Вы нажимаете (DSPL/PTY) для смены
выведенного на дисплей параметра,
название диска или дорожки, записанной
на MD или CD TEXT-диске, прокручивается
Примечание
автоматически независимо от того, была
Если на дисплее появляется надпись “
”
ли включена Вами эта функция или нет.
или “
” это означает, что Вы дошли до
начала или, соответственно, до конца диска и
1 Во время воспроизведения нажмите
дальше в этом направлении поиск неввозможен.
(MENU).
Поиск диска
2 Последовательно нажимайте на
любую сторону клавиши (DISC/PRST),
— Непосредственный выбор диска
пока на дисплее не появится надпись
Когда подключен дополнительный
“A.SCRL-OFF”.
проигрыватель компакт- или мини-
дисков, нажатием на любую сторону
3 Нажатием на помеченную знаком (+)
клавиши (DISC/PRST) выберите
сторону клавиши (SEEK/AMS)
нужный диск.
выберите “A.SCRL-ON”.
Начинается воспроизведение нужного
Вам диска на задействованном в
4 Нажмите (ENTER).
данный момент дополнительном
проигрывателе компакт- или мини-
Чтобы отменить функцию автоматической
дисков.
прокрутки, в операции 3 выберите
“A.SCRL-OFF”.
10

Повторное
Воспроизведение
воспроизведение дорожек
дорожек в случайном
— Повтор воспроизведения
порядке
Когда воспроизведение мини-диска в
— Перетасованное воспроизведение
основном проигрывателе завершится, диск
Вы можете выбрать:
будет автоматически воспроизведен снова.
• SHUF-1 — для воспроизведения дорожек
Вы можете выбрать один из следующих
прослушиваемого в данный момент диска
вариантов воспроизведения:
в случайном порядке.
• REP-1 — для повторения дорожки.
• SHUF-2 — для воспроизведения дорожек
• REP-2 — для повторного
в случайной последовательности на
воспроизведения диска, установленного в
задействованном в данный момент
дополнительном проигрывателе компакт-
проигрывателе компакт-/мини-дисков.
или мини-дисков.
• SHUF-ALL — для воспроизведения всех
дорожек в случайной
Во время воспроизведения
последовательности на всех
последовательно нажимайте (1)
дополнительных проигрывателях
(REP) до появления на дисплее
компакт-/мини-дисков.
нужной позиции.
B REP-1 B REP-2*
Во время воспроизведения
последовательно нажимайте (2)
REP-OFF b
(SHUF) до появления на дисплее
* Вариант “REP-2” возможен только в случае
нужной позиции.
подключения одного или более
дополнительных проигрывателей мини-
B SHUF-1 B SHUF-2* B SHUF-ALL*
дисков или при подключении двух или более
SHUF-OFF b
дополнительных проигрывателей компакт-
дисков.
* Варианты “SHUF-2” и “SHUF-ALL”
возможны только в случае подключения
PTY
DSPL
одного или более дополнительных
LIST
проигрывателей мини-дисков или
подключении двух или более
-
SEEK/AMS
дополнительных проигрывателей компакт-
ENTER
дисков.
REP SHUF
MODE
1 2 3 4 56
PTY
DSPL
LIST
-
SEEK/AMS
Начинается повторное
воспроизведение.
ENTER
REP SHUF
MODE
1 2 3 4 56
Чтобы вернуться в обычный режим
воспроизведения, выберите “REP-OFF”.
Начинается “перетасованное”
воспроизведение.
Чтобы вернуться в обычный режим
воспроизведения, выберите “SHUF-OFF”.
11

Если нажать на помеченную знаком
(–) сторону клавиши of (SEEK/AMS),
Присвоение названия CD
на дисплее начнет мигать
— Программная память CD (Для
предыдущий знак.
проигрывателя CD с функцией
3 Повторите операции 1 и 2 для
авторского наименования файлов
ввода всего названия.
CUSTOM FILE)
5 Для возвращения к обычному режиму
Вы можете присвоить каждому диску
воспроизведения нажмите (ENTER).
собственное название. Для каждого диска
можно ввести до 8 знаков. Если Вы
Советы
присвоите CD название, Вы можете потом
• Для того чтобы стереть/исправить название,
найти его по этому названию (см. стр. 13) и
введите “_” (нижнее тире) для каждого
выбрать отдельные дорожки, которые
исправляемого знака.
хотите воспроизвести (см. стр. 14).
• Начать процесс наименования диска можно и
по-другому: вместо описанных выше операций
1 Начните воспроизведение диска,
2 и 3 нажмите на две секунды клавишу (LIST).
которому Вы хотите дать
Вы также можете завершить этот процесс,
наименование.
нажав на две секунды (LIST) вместо
осуществления операции 5.
2 Нажмите (MENU), затем
• Вы можете присваивать названия компакт-
последовательно нажимайте на
дискам на проигрывателе не имеющем функции
любую сторону клавиши (DISC/PRST),
авторского наименования файлов, если он
пока на дисплее не появится надпись
подсоединен к проигрывателю CD, имеющему
“NAME EDIT”.
эту функцию. Имя диcкa вводитcя в пaмять
ycтpойcтвa для компaкт-диcков c фyнкциeй
3 Нажмите (ENTER).
aвтоpcкого нaимeновaния фaйлов.
Режим редактирования названия
Вывод на дисплей
запрограммированных параметров
Во время воспроизведения CD или
Уcтpойcтво бyдeт цикличecки
CD TEXT-диска нажмите (DSPL/PTY).
воcпpоизводить диcк во вpeмя вводa
нaзвaния.
4 Введите знаки.
1 Последовательно нажимая на
помеченную знаком (+) сторону
При каждом нажатии (DSPL/PTY) во
клавиши (DISC/PRST), выберите
время воспроизведения CD или CD
нужные знаки.
TEXT-диска позиция на дисплее
(A t B t C t
...
Z t 0 t 1 t 2 t
меняется следующим образом:
...
9 t + t – t * t / t \ t > t <
t . t _ )
V
1
Номер диска*
/Номер дорожки/
Время с начала воспроизведения
V
Запрограммированное название диска
При последовательном нажатии на
помеченную знаком (–) сторону
V
клавиши (DISC/PRST) знаки
2
Название дорожки*
появляются на дисплее в обратном
порядке.
V
Если Вы хотите сделать пробел
3
FM1 Частота или название станции*
между знаками, выберите “_”
(нижнее тире).
1
*
Когда подключен дополнительный
2 Найдя нужный знак, нажмите на
проигрыватель компакт-дисков.
2
помеченную знаком (+) сторону
*
Если Вы подключаете дополнительный
клавиши (SEEK/AMS).
проигрыватель CD, имеющий функцию CD
Начинает мигать следующий знак.
TEXT, то при воспроизведении Вами диска
CD TEXT информация с этого диска будет
выводиться на дисплей.
3
*
Когда включена функция AF/TA.
12

Стирание запрограммированного
Mожно опpeдeлить диcк по
— eго зaдaнномy пользовaтeлeм нaзвaнию:
диска
когдa Bы нaзнaчaeтe нaзвaниe для
1 Последовательным нажатием
компaкт- или мини-диcкa, иcпользyя
(SOURCE) выберите позицию “CD”.
пpоигpывaтeль компaкт-диcков c
фyнкциeй CUSTOM FILE или
пpоигpывaтeль мини-диcков.
2 Haжимaйтe поcлeдовaтeльно кнопкy
(Дополнитeльнyю инфоpмaцию о
(MODE), чтобы выбpaть
нaимeновaнияx диcков cм. в paздeлax
пpоигpывaтeль компaкт-диcков c
“Добaвлeниe мeток нa компaкт-диcкe”
фyнкциeй CUSTOM FILE.
нa cтp. 12).
— по инфоpмaции CD TEXT: пpи
3 Нажмите (MENU), затем
воcпpоизвeдeнии компaкт-диcкa c CD
последовательно нажимайте на
TEXT нa пpоигpывaтeлe компaкт-диcков
любую сторону клавиши (DISC/PRST),
c фyнкциeй CD TEXT.
пока на дисплее не появится надпись
“NAME DEL”.
1 Нажмите (LIST).
На дисплее появляется название
воспроизводимого диска.
4 Нажмите (ENTER).
5 Последовательным нажатием на
любую сторону клавиши (DISC/PRST)
выберите название диска, которое вы
хотите стереть.
В случае присвоения Вами
запрограммированного названия CD
6 Нажмите (ENTER) на две секунды.
TEXT-диску, последнее замещает собой
Название стерто.
изначальную CD TEXT-информацию.
Если Вы хотите стереть другие
названия, повторите операции 5 и 6.
2 Последовательно нажимайте на
любую сторону клавиши (DISC/PRST),
пока не найдете нужный диск.
7 Дважды нажмите (MENU).
Проигрыватель возвращается в
3 Для воспроизведения диска нажмите
обычный режим воспроизведения CD.
(ENTER).
Пpимeчaния
• Чтобы cтepeть инфоpмaцию о диcкe, компaкт-
Примечания
диcк нeобxодимо воcпpоизводить нa том
• Пpи иcпользовaнии пyльтa диcтaнционного
ycтpойcтвe для компaкт-диcков, нa котоpом
yпpaвлeния для возвpaтa в peжим обычного
xpaнитcя cтиpaeмaя инфоpмaция.
воcпpоизвeдeния нaжмитe кнопкy (LIST). Пpи
• Ecли индивидyaльнaя мeткa диcкa c фyнкциeй
иcпользовaнии одниx только кнопок aппapaтa
CD TEXT cтepтa, нa диcплee появитcя
чepeз 5 ceкyнд нa диcплee появитcя индикaция
оpигинaльнaя инфоpмaция CD TEXT.
обычного peжимa воcпpоизвeдeния.
• Во время воспроизведения MD или CD TEXT-
диска названия дорожек на дисплей не
выводятся.
• Если в проигрывателе CD/MD нет дисков, на
дисплее появляется надпись “NO DISC”.
Нахождение диска по
• Если диску не было присвоено авторского
наименования, на дисплее появляется
названию
“********”.
• Некоторые буквы на дисплей выведены быть не
— Функция пролистывания (Для
могут при воспроизведении мини-диска или CD
пpоигpывaтeля компaкт-диcков c
TEXT-диска.
фyнкциeй CD TEXT/CUSTOM FILE
• Если проигрыватель еще не считал
информацию имеющуюся на диске, на дисплее
или для пpоигpывaтeля мини-
появляется “NOT READ”.
диcков)
Этy фyнкцию можно иcпользовaть для
диcков c нaзнaчeнными пользовaтeлями
нaзвaниями или для диcков c фyнкциeй CD
TEXT.
13

Воспроизведение только нужных
Выбор определенных
Вам дорожек
Вы можете выбрать:
дорожек для
• “BANK-ON” — для воспроизведения
воспроизведения
дорожек с заданным параметром “PLAY”.
• “BANK-INV” (Inverse наоборот) — для
— Банк
воспроизведения дорожек с заданным
(Для проигрывателя CD с функцией
параметром “SKIP”.
авторского наименования файлов
CUSTOM FILE)
1 Во время воспроизведения нажмите
(MENU), затем последовательно
Присвоение диску названия дает Вам
нажимайте на любую сторону
возможность по собственному выбору
клавиши (DISC/PRST) до появления на
пропускать или воспроизводить
дисплее надписи “BANK-ON”, “BANK-
записанные на нем дорожки.
INV”, или “BANK-OFF”.
1 Начните воспроизведение диска,
2 Последовательно нажимайте на
которому хотите присвоить название.
помеченную знаком (+) сторону
клавиши (SEEK/AMS), пока на дисплее
2 Нажмите (MENU), затем
не появится нужная позиция.
последовательно нажимайте на
B BANK-ON B BANK-INV
любую сторону клавиши (DISC/PRST),
пока на дисплее не появится надпись
BANK-OFF b
“BANK SEL”.
3 Нажмите (ENTER).
Режим редактирования каталога
3 Нажмите (ENTER).
Воспроизведение начинается с
дорожки, следующей за проигрываемой
в настоящий момент.
4 Присвоение названия дорожкам.
1 Последовательным нажатием на
Чтобы вернуться в обычный режим
любую сторону клавиши (SEEK/AMS)
воспроизведения, в операции 2 выберите
выберите дорожку, которой хотите
“BANK-OFF”.
присвоить нахзвание.
2 Последовательным нажатием
(ENTER) выберите “PLAY” или
“SKIP”.
5 Чтобы установить “PLAY” или “SKIP”,
повторите операцию 4.
6 Дважды нажмите (MENU).
Проигрыватель возвращается в
обычный режим воспроизведения CD.
Примечания
• Вы можете установить параметры “PLAY” и
“SKIP” не более чем для 24 дорожек.
• Параметр “SKIP” не может быть установлен
для всех дорожек на CD.
14

При занесении станции в память
раздается звуковой сигнал.
Радиоприемник
Примечания
• Аппарат не заносит в память станции со
слабым сигналом. Если удается настроиться
лишь на ограниченное число станций, за
некоторыми номерные клавишами сохранятся
Автоматическое
ранее закрепленные станции.
• Если на дисплей выведен какой-либо номер,
занесение станций в
аппарат заносит новые станции в память,
начиная с этого номера.
память
• В случае если в проигрывателе нет MD, на
дисплее появляется лишь обозначение
— Функция памяти оптимальной
диапазона волн, даже если Вы нажимаете
настройки на станции (BTM)
клавишу (SOURCE).
Аппарат выбирает станции с наиболее
сильным сигналом и запоминает их в
порядке их рабочих частот. Вы можете
занести в память до 6 станций в каждом
Занесение в память
диапазоне волн (FM1, FM2, FM3, MW и LW).
только нужных Вам
Предостережение
станций
При настройке на станции во время
управления автомобилем во избежание
Вы можете занести в память до 18 станций
аварии используйте функцию памяти
FM (по 6 станций на каждый из
оптимальной настройки.
поддиапазонов FM1,FM2 и FM3), до 6
станций MW и до 6 станций LW в любой
последовательности по своему выбору.
1 Последовательным нажатием
клавиши (SOURCE) выберите в
качестве источника радиоприемник.
1 Последовательным нажатием
При каждом нажатии Вами клавиши
клавиши (SOURCE) выберите в
(SOURCE) источник меняется
качестве источника сигнала
следующим образом:
радиоприемник.
B Радиоприемник B CD* B MD
2 Последовательным нажатием
* Если соответствующая дополнительная
клавиши (MODE) выберите диапазон
аппаратура не подключена, эта позиция на
волн.
дисплее не появится.
3 Нажимая на любую сторону клавиши
2 Последовательным нажатием
(SEEK/AMS), настройтесь на волну
клавиши (MODE) выберите диапазон
станции, которую хотите занести в
волн.
память под данной номерной
При каждом нажатии клавиши (MODE)
клавишей.
диапазон меняется следующим образом:
B FM1 B FM2 B FM3
4 Нажмите на две секунды
LW b MW b
соответствуюшую номерную клавишу
(с (1) по (6)) до появления на
дисплее надписи “MEM”.
3 Нажмите (MENU), затем
На дисплее загорается номер данной
последовательно нажимайте на
клавиши.
любую сторону клавиши (DISC/PRST)
до появления на дисплее надписи
Примечание
“BTM”.
Если Вы заносите в память новую станцию под
номерной клавишей, за которой уже закреплена
другая станция, то место ранее занесенной в
4 Нажмите (ENTER).
память станции займет новая станция.
Радиостанции закрепляются за
номерными кнопками и хранятся в
памяти аппарата в порядке их рабочих
частот.
15

При слабом приеме стереопрограмм
Прием занесенных в
FM — монофонический режим
память станций
1 Во время приема радиопередачи
нажмите (MENU), затем
последовательно нажимайте на
1 Последовательным нажатием
любую сторону клавиши (DISC/PRST),
клавиши (SOURCE) выберите в
пока на дисплее не появится надпись
качестве источника сигнала
“MONO-OFF”.
радиоприемник.
2 Нажимайте на помеченную знаком (+)
2 Последовательным нажатием (MODE)
сторону клавиши (SEEK/AMS), пока на
выберите диапазон волн.
дисплее не появится надпись “MONO-
ON”.
3 Нажмите номерную клавишу (c (1) по
Звучание улучшится, но будет
(6)), под которой в память занесена
монофоническим (“ST” исчезнет с
нужная Вам станция.
дисплея).
Совет
Для настройки на станции в том порядке, в
3 Нажмите (ENTER).
котором они занесены в память, нажимайте на
любую сторону клавиши (DISC/PRST) (Функция
Чтобы вернуться к обычному режиму, в
поиска запрограммированных станций Preset
операции 2 выберите “MONO-OFF”.
Search Function).
Если Вы не можете настроиться на
предустановленную станцию
Чтобы начать поиск нужной станции,
нажмите на любую сторону клавиши
(SEEK/AMS) (автоматическая
настройка).
Сканирование прекращается, когда
аппарат находит какую-нибудь станцию.
Последовательно нажимайте на любую
сторону (SEEK/AMS), пока не поймаете
сигнал нужной Вам станции.
Примечание
Если автоматическая настройка
останавливается слишком часто, нажмите
(MENU), затем последовательно нажимайте на
любую сторону (DISC/PRST), пока на дисплее не
появится надпись “LOCAL” (режим локального
поиска). После этого нажатием на помеченную
знаком (+) сторону клавиши (SEEK/AMS)
выберите “LOCAL-ON” и нажмите (ENTER).
Настройка будет производиться только на
станции с относительно сильным сигналом.
К Вашему сведению
• Когда Вы выбрали параметр “LOCAL-ON” на
дисплее, пока аппарат ведет поиск станции,
видна надпись “L.SEEK”.
• Если Вам известна рабочая частота станции,
передачу которой Вы хотите слушать, то
нажмите на какое-то время на любую сторону
клавиши (SEEK/AMS), пока на дисплее не
появится эта частота (ручная настройка).
16

После выбора нужного параметра дисплей
автоматически переходит в режим Motion
Display (Движущийся дисплей) через
RDS
несколько секунд.
В режиме движущийся дисплей все
параметры прокручиваются на дисплее
один за другим поочередно.
Обзор функций RDS
Совет
Режим Motion Display можно отключить (См.
Система передачи радиоданных (RDS) -
раздел “Изменение заданных параметров звука и
это трансляционная служба, которая
дисплея” на стр. 24.)
позволяет станциям FM передавать
дополнительную цифровую информацию
Примечание
вместе с обычным радиосигналом. Ваша
В случае если станция, на волну которой Вы
настроились, не передает данных RDS, на
автомобильная система предоставляет
дисплее загорается надпись “NO NAME”.
Вам множество возможностей. Вот лишь
некоторые из них: автоматическая
перенастройка на ту же программу,
прослушивание дорожных сообщений и
нахождение станции по типу передаваемой
Автоматическая
ею программы.
перенастройка на ту
Примечания
• В зависимости от страны и региона могут быть
же программу
доступны не все функции RDS.
• Система RDS может не сработать должным
— Альтернативные частоты (AF)
образом, если передаваемый сигнал слишком
слаб или если станция, на волну которой Вы
Функция альтернативных частот (AF)
настроились, не передает данных RDS.
автоматически выбирает волну с наиболее
сильным сигналом в данной
радиотрансляционной сети и
перенастраивается на нее. Благодаря этой
функции Вы можете во время дальних
Индикация названия
поездок непрерывно слушать одну и ту же
программу, не испытывая необходимости
станции
вручную перенастраивать приемник с
одной волны на другую.
Название принимаемой в данный момент
станции высвечивается на дисплее.
Смена частот осуществляется автоматически.
Выберите станцию FM (см. стр. 16)
98,5MHz
96,0MHz
Если Вы настроились на станцию FM,
которая передает данные RDS, то
название этой станции загорается на
дисплее.
Станция
102,5MHz
Примечание
Индикация “*” означает, что принимается сигнал
станции RDS.
1 Выберите станцию FM (см. стр. 16).
Изменение показаний дисплея
2 Последовательно нажимайте (AF) до
При каждом нажатии Вами клавиши
появления на дисплее надписи “AF-
(DSPL/PTY) показания дисплея меняются
ON”.
следующим образом:
Аппарат начинает поиск работающего
на альтернативной волне другого
название станции (Частота) y Данные PTY
передатчика с более сильным сигналом
в этой же радиотрансляционной сети.
17

Примечания
Примечание
• Если в данном районе нет альтернативного
Данная функция не работает в Соединенном
передатчика или если Вам нет необходимости
Королевстве и в некоторых других странах.
его искать, отключите функцию AF
последовательным нажатием клавиши (AF) до
появления на дисплее надписи “AF-OFF”.
Функция местной увязки
• Если на дисплее попеременно мигают “NO AF”
(только в Соединенном Королевстве)
и название станции, это означает, что аппарат
Функция местной увязки позволяет Вам
не может найти работающего на
настраиваться на волну других местных
альтернативной волне другого передатчика в
данной трансляционной сети.
станций в данном районе, даже если они не
• Если название станции начинает мигать после
занесены в память Вашего приемника под
ее выбора при включенной функции AF, это
номерными клавишами.
указывает на отсутствие альтернативной
частоты.
1 Нажмите номерную клавишу, за
Пока на дисплее (в течение восьми секунд)
которой закреплена какая-либо
мигает название станции, нажмите на любую
местная станция.
сторону клавиши (SEEK/AMS). Аппарат начнет
поиск другой частоты с теми же данными PI
2 Не позже чем через 5 секунд вновь
(программная идентификация) (на дисплее
нажмите эту номерную клавишу.
появляется надпись “PI SEEK” и звук не
слышен). Если приемник не может найти
другую частоту, на дисплее появляется
3 Повторяйте эту операцию до тех пор,
надпись “NO PI” и аппарат возвращается к
пока не настроитесь на волну нужной
ранее выбранной частоте.
Вам станции.
Прослушивание региональной
программы
Функция “REG-ON” (региональная
Прослушивание
функция) данного приемника позволяет
Вам оставаться настроенным на
дорожных сообщений
региональную программу без
Транслируемые данные дорожных
переключения на другую региональную
сообщений (ТА) и дорожных программ (ТР)
станцию. (Заметьте, что при этом Вы
позволяют Вам автоматически
должны включить функцию AF).
настраиваться на станцию FM,
Изготовителем приемник установлен на
передающую дорожные сообщения, даже
“REG-ON”, но если Вы хотите отключить
если Вы в это время слушаете другой
эту функцию, сделайте следующее.
программный источник.
1 Во время приема радиопередачи
Последовательно нажимайте (TA) до
нажмите (MENU), затем
появления на дисплее надписи “TA-
последовательно нажимайте на
ON”.
любую сторону клавиши (DISC/PRST),
Приемник начинает поиск станций,
пока на дисплее не появится надпись
передающих информацию о дорожном
“REG”.
движении. По нахождении станции,
2 Нажимайте на помеченную знаком (+)
передающей дорожные сообщения, на
сторону клавиши (SEEK/AMS) до
дисплее загорается “ТР”.
появления на дисплее надписи “REG-
Начинается дорожное сообщение,
OFF”.
индикатор “ТА” загорается и мигает до
тех пор, пока сообщение не закончится.
3 Нажмите (ENTER).
Учтите, что при выключенной
Совет
Если дорожное сообщение начинается во время
региональной функции (положение
прослушивания Вами другого программного
“REG-OFF”) приемник может
источника, приемник автоматически
переключаться на другую региональную
переключается на это сообщение, а по его
станцию в той же радиотрансляционной
окончании возвращается к первоначальному
сети.
источнику.
Для того чтобы вновь включить
региональную функцию, в вышеописанной
операции 2 выберите “REG-ON”.
18

Примечания
• Если станция, на волну которой Вы
Предустановка станций
настроились, не передает дорожных
сообщений, на дисплее в течение пяти секунд
RDS с данными AF и TA
мигает “NO TP”, затем аппарат начинает поиск
станции, передающей дорожные сообщения.
• Если вместе с “ТР” на дисплее появляется
Во время предустановки Вами станций
надпись “EON”, то это означает, что данная
RDS приемник заносит в память данные
станция использует транспортные сообщения
станции, а также ее частоту, так что при
других станций в той же радиотрансляционной
настройке на предустановленную станцию
сети.
Вам не нужно каждый раз включать
функцию AF или TA. Вы можете выбрать
разные установки (“AF”, “TA” или обе) для
Для отключения текущего
разных станций или одни и те же установки
дорожного сообщения
для всех занесенных в память станций.
нажмите (TA), (SOURCE) или (MODE).
Чтобы отменить прием всех дорожных
Занесение в память одинаковых установок
сообщений, отключите данную
для всех предустановленных станций
функцию, нажимая клавишу (TA) до
появления на дисплее надписи “TA-
1 Выберите диапазон FM (см. стр. 15).
OFF”.
2 Нажатием (AF) и/или (TA) выберите
Предустановка громкости
“AF-ON” и/или “TA-ON.”
Учтите, что в случае выбора Вами “AF-
дорожных сообщений
OFF” или “TA-OFF” в память заносятся
Вы можете заранее задать уровень
не только станции, транслирующие
громкости дорожных сообщений, чтобы не
данные RDS, но и другие станции.
пропустить какое-либо из них. Когда
начнется дорожное сообщение, громкость
будет автоматически настроена на
3 Нажмите (MENU), затем
предустановленный уровень.
последовательно нажимайте на
любую сторону (DISC/PRST), пока на
дисплее не появится надпись “BTM”.
1 Поверните ручку регулятора
громкости для того, чтобы настроить
необходимый уровень громкости.
4 Нажимайте на помеченную знаком (+)
сторону клавиши (SEEK/AMS), пока на
дисплее не замигает надпись “BTM”.
2 Нажмите (TA) на две секунды.
На дисплее появляется надпись “ТА”, и
5 Нажмите (ENTER).
установка заносится в память.
Занесение в память различных установок
Прием чрезвычайных сообщений
для каждой предустановленной станции
Если во время прослушивания
радиопередачи поступает чрезвычайное
1 Выберите диапазон FM и настройтесь
сообщение, программа автоматически
на нужную Вам станцию (см. стр. 16).
переключается на него. Если же Вы
слушаете не приемник, а другой источник,
2 Нажатием (AF) и/или (TA) выберите
чрезвычайные сообщения будут слышны
“AF-ON” и/или“TA-ON”.
только при включенной функции “AF” или
“TA” в положении ON. В таком случае
аппарат автоматически переключается на
3 Нажмите и удерживайте в нажатом
эти сообщения, независимо от того, какой
положении соответствующую
источник Вы прослушиваете в данный
номерную клавишу до появления на
момент.
дисплее “MEM”.
Для занесения в память других станций
повторите все шаги, начиная с операции 1.
19

1 Во время приема передачи в
Нахождение станции
диапазоне FM нажимайте (DSPL/PTY)
до появления на дисплее “PTY”.
по типу программы
Вы можете найти нужную Вам станцию,
выбрав один из перечисленных ниже типов
программ.
В случае если станция транслирует
данные PTY, на дисплее появляется
Типы программ Надпись на
название типа, к которому относится
дисплее
прослушиваемая передача. Если же
Новости NEWS
принимаемая станция не является
Текущие события AFFAIRS
станцией RDS или если данные RDS не
принимаются, на дисплее появляется
Информация INFO
“- - - - -”.
Спорт SPORT
Образование EDUCATE
2 Последовательно нажимайте
Радиоспектакли DRAMA
(DISC/PRST) до появления нужного
Культура CULTURE
Вам типа программы.
Типы программ появляются на дисплее
Наука SCIENCE
в указанном выше порядке. Учтите, что
Разное VARIED
вы не можете выбрать для поиска
Поп-музыка POP M
позицию “NONE” (без определения).
Рок ROCK M
Музыка для тех, кто в EASY M
пути
Легкая классика LIGHT M
Классика CLASSICS
3 Нажмите (ENTER).
Прочие типы музыки OTHER M
Приемник начинает поиск станции,
Погода WEATHER
транслирующей выбранный тип
программы.
Финансы FINANCE
Программы для детей CHILDREN
Общественная жизнь SOCIAL A
Религия RELIGION
Звонки в прямой эфир PHONE IN
Путешествия TRAVEL
Досуг LEISURE
Джазовая музыка JAZZ
Музыка “кантри” COUNTRY
Национальная музыка NATION M
Старые шлягеры OLDIES
Народная музыка FOLK M
Документальные DOCUMENT
программы
Без определения NONE
Примечание
В некоторых странах, где данные PTY (выбор
типа программы) не транслируются, Вы не
сможете использовать эту функцию.
20

Автоматическая
Прочие функции
установка часов
Часы приемника устанавливаются
Дaнным aппapaтом можно тaкжe yпpaвлять
автоматически при приеме данных СТ
c помощью повоpотного диcтaнционного
(время), передаваемых станциями RDS.
пepeключaтeля (нe вxодит в комплeкт).
1 Во время приема радиопередачи
нажмите (MENU), затем
последовательно нажимайте на
Наклейка ярлычка на
любую сторону клавиши (DISC/PRST),
пока на дисплее не появится надпись
поворотный
“CT”.
дистанционный
переключатель
В зависимости от того, где Вы
устанавливаете поворотный
2 Последовательно нажимайте на
дистанционный переключатель, наклейте
помеченную знаком (+) сторону
на него соответствующий ярлычок, как это
клавиши (SEEK/AMS), пока на дисплее
показано на рисунке ниже.
не появится надпись “CT-ON”.
Часы установлены.
SOUND
MODE
3 Чтобы вернуться к обычному
DSPL
дисплею, нажмите (ENTER).
Чтобы отключить функцию “СТ”
При осуществлении операции 2
выберите “СТ-OFF”.
DSPL
MODE
SOUND
Примечания
• Функция “СТ” может не работать, даже если
осуществляется прием передачи станции RDS.
• Время, установленное с помощью функции
“СТ”, может отличаться от фактического
времени.
21

Посредством вращения регулятора
Использование
(регулятор SEEK/AMS)
поворотного
дистанционного
переключателя
Поворотный переключатель выполняет
свои функции при нажатии Вами
находящихся на нем клавиш и/или
задействовании поворотных органов
управления.
С помощью поворотного переключателя
Вы также можете управлять
Поверните и отпустите регулятор,
подключенным дополнительным
чтобы:
проигрывателем компакт- или мини-
• Найти нужную дорожку на диске.
дисков.
Поверните и держите регулятор, пока
не найдете искомое место на дорожке,
а затем отпустите его, чтобы начать
Посредством нажатия клавиш
воспроизведение.
(SOURCE и MODE)
• Автоматически настроиться на
станцию. Чтобы найти нужную
станцию, поверните и держите
регулятор.
(SOURCE)
Посредством вращения регулятора
(регулятор PRESET/DISC) с его
одновременным нажатием
(MODE)
При каждом нажатии Вами клавиши
(SOURCE) источник меняется
следующим образом:
Tuner (приемник) t CD* t MD
* Если соответствующая дополнительная
аппаратура не подключена, данная позиция
на дисплее не появится.
Нажмите на регулятор и поверните
его для:
• Приема станций, занесенных в память
Нажатие клавиши (MODE) изменяет
под номерными клавишами.
функцию следующим образом:
• Смены диска.
• Приемник: FM1 t FM2 t FM3 t MW t
LW
• Проигрыватель CD*: CD1 t CD2 t …
• Проигрыватель MD*: MD1 t MD2 t …
* Если соответствующая дополнителная
аппаратура не подключена, данные позиции
на дисплее не появляются.
22

Совет
Прочие операции
Рабочее направление этих регуляторов
Вращением регулятора VOL
поворотного переключателя Вы также можете
устанавливается уровень громкости.
менять, используя для этого Ваш проигрыватель.
(См. раздел "Изменение заданных параметров
Нажатием кнопки (ATT)
звука и дисплея" на стр. 24.)
приглушается звук.
OFF
Подстройка
Нажатием клавиши
характеристик звука
(OFF) осуществляется
отключение аппарата.
Вы можете подрегулировать низкие и
высокие частоты, баланс каналов и баланс
Нажатием клавиши
передних и задних громкоговорителей.
(SOUND)
Вы можете заложить в память отдельные
осуществляется
подстройка меню
уровни низких и высоких частот для
громкости и звука.
каждого источника.
1 Последовательным нажатием
Нажатием клавиши (DSPL) на дисплей
клавиши (SOUND) выберите параметр,
выводятся занесенные в память названия.
который Вы хотите подстроить.
При каждом нажатии Вами (SOUND)
Совет
выбранный параметр меняется
Если замок зажигания Вашего автомобиля не
имеет специального положения ACC (для
следующим образом:
включения/отключения подсоединенной
BAS (низкие частоты) t TRE (высокие
аппаратуры), не забывайте каждый раз после
частоты) t BAL (баланс лев./прав.
выключения двигателя на две секунды нажимать
каналов) t FAD (балансировка передних и
клавишу (OFF), чтобы отключить циферблат
задних громкоговорителей)
часов.
2 Настройте выбранный параметр
нажатием на одну из сторон
Изменение рабочего направления
(SEEK/AMS).
Заводская установка рабочего
При настройке с помощью поворотного
направления регуляторов показана на
переключателя нажмите (SOUND) и
приводимом ниже рисунке.
поворачивайте регулятор VOL
(Громкость).
Для увеличения
Примечание
Подстройка должна осуществляться в течение
трех секунд после выбора нужного параметра.
Для уменьшения
Если Вы хотите смонтировать поворотный
переключатель на правой стороне колонки
рулевого управления, то можете изменить
рабочее направление регуляторов на
обратное.
Нажмите клавишу (SOUND) на две
секунды, одновременно нажимая на
регулятор VOL.
23

Примечание
В случае если Вы не пользуетесь встроенным
Приглушение звука
усилителем, а подключаете дополнительный,
(Пpи помощи повоpотного
звуковой сигнал отключается.
диcтaнционного пepeключaтeля или
1 Нажмите (MENU).
пyльтa диcтaнционного yпpaвлeния)
2 Нажимайте на любую сторону
Нажмите (ATT) на поворотном
клавиши (DISC/PRST) до появления на
переключателе или на беспроводном
дисплее нужного Вам параметра.
пульте дистанционного управления.
При каждом нажатии Вами на
На дисплее ненадолго загорается “ATT-
помеченную знаком (–) сторону клавиши
ON”.
(DISC/PRST) параметр меняется
следующим образом:
Для восстановления предыдущего уровня
громкости вновь нажмите (ATT).
CLOCK t CT t BEEP t RM t D.INFO t
1
2
DIMMER*
t M.DSPL t A.SCRL*
К Вашему сведению
1
*
Только у модели MDX-C6500RV
Если интерфейсный кабель Вашего
2
*
Когдa нa aппapaтe нe воcпpоизводитcя
автомобильного телефона подключен к проводу
компaкт-диcк c фyнкциeй CD TEXT или
ATT, то при поступлении телефонного звонка
мини-диcк, этa индикaция отобpaжaтьcя нe
проигрыватель автоматически снижает
бyдeт.
громкость (функция Telephone ATT). (Касается
только моделей MDX-C6500RX/C6500RV/C6500R.)
Примечание
В зависимости от источника на дисплей
выводятся разные параметры.
Изменение заданных
Совет
Вы можете легко переключатся с одной
параметров звука и
категории на другую (“SET”, “DIS”, “P/M”
(режим воспроизведения) и “EDT” (режим
дисплея
редактирования), нажимая на две секунды на
любую сторону клавиши (DISC/PRST).
Вы можете задать следующие параметры:
SET (установка)
3 Нажатием на помеченную знаком (+)
• CLOCK (часы) (стр. 8)
сторону клавиши (SEEK/AMS)
• СТ (время) (стр. 21)
выберите нужную позицию
• BEEP — включение/выключение
(например, ON или OFF).
звукового сигнала.
• RM (поворотный дистанционный
4 Нажмите (ENTER).
переключатель) — для изменения
По окончании установки режима
рабочего направления регуляторов
аппарат возвращается в обычный
поворотного переключателя.
режим воспроизведения.
— Выберите “NORM” для использования
поворотного переключателя в
положении, определенном
изготовителем.
— Выберите “REV” в случае монтажа
поворотного переключателя на правой
стороне рулевой колонки.
DIS (дисплей)
• D.INFO (двойная информация)
— одновременный показ на дисплее
часов и режима воспроизведения
(положение “ON”).
• Регулятор DIMMER — для приглушения
подсветки дисплея (ON) или
неприглушения (OFF). (Только у модели
MDX-C6500RV.)
• M.DSPL (движущийся дисплей)
— включение/выключение движущегося
дисплея.
• A.SCRL (автоматическая прокрутка) (см.
стр. 10)
24

Дополнительная
Усиление низкочастотных
информация
звуков
— D-bass
Данный аппарат дает Вам возможность
наслаждаться четким и мощным звучанием
басов.
Технический уход
Функция D-bass усиливает мощность
низкочастотного и высокочастотного
Замена плавкого предохранителя
сигнала, обеспечивая большую крутизну
его характеристики, чем обычные
При замене плавкого предохранителя
усилители низких частот.
следите за тем, чтобы новый
Вы можете четче слышать басовые тона
предохранитель был рассчитан на ту же
даже при неизменном уровне звука в
силу тока, что и предохранитель,
вокальном диапозоне. С помощью клавиши
изначально установленный изготовителем.
D-BASS Вы можете легко акцентировать и
В случае если предохранитель перегорит,
регулировать низкочастотные звуки.
проверьте контакты питания и замените
предохранитель. Если после замены
D-BASS 3
предохранитель перегорит вновь, это
D-BASS 2
может свидетельствовать о какой-то
D-BASS 1
D-BASS 3
внутренней неисправности аппарата. В
Уровень
D-BASS 2
таком случае проконсультируйтесь с
D-BASS 1
ближайшим дилером фирмы Sony.
0dB
Частота (Гц)
Корректировка низкочастотной
кривой
Последовательным нажатием
Предохранитель
(D-BASS) выведите на дисплей
(10 A)
нужный уровень нижних частот.
B D.BASS 1 B D.BASS 2 B D.BASS 3
Внимание!
Ни при каких обстоятельствах не
D.BASS-OFF b
используйте плавкий предохранитель,
рассчитанный на большую силу тока, чем
Чтобы отключить эту функцию, выберите
предохранитель, изначально
“D.BASS-OFF.”
установленный в данном проигрывателе,
поскольку в противном случае
Примечание
проигрыватель может быть поврежден.
В случае появления искажений звука на низких
частотах выберите менее эффективный уровень
“D.BASS” или подрегулируйте уровень
громкости.
25

Очистка контактов
Замена литиевой батарейки
В работе проигрывателя могут происходить
Когда батарейка садится, дальность
сбои в случае загрязнения контактов
действия беспроводного пульта
между ним и передней панелью. Во
дистанционного управления сокращается.
избежание этого нажмите (OPEN),
Замените севшую батарейку на новую
откройте переднюю панель, отсоедините
литиевую батарейку CR2025.
ее и зачистите контакты ватным тампоном,
смоченным в спирте. Не прилагайте при
этом излишнюю силу, поскольку иначе
контакты могут быть повреждены.
x
Основной аппарат
Стороной со
знаком + кверху
Тыльная сторона передней панели
Примечания
• В целях безопасности перед очисткой
контактов выключите двигатель автомобиля и
выньте ключ из замка зажигания.
• Не прикасайтесь к контактам голыми пальцами
О литиевой батарейке
или какими бы то ни было металлическими
• Храните литиевую батарейку в
предметами.
недоступном для детей месте. При
случайном проглатывании батарейки
немедленно обратитесь к врачу.
• Протрите батарейку сухой тряпочкой для
обеспечения лучшего контакта.
• При установке батарейки соблюдайте
правильную полярность.
• Не берите батарейку металлическими
щипцами, поскольку это может привести
к короткому замыканию.
ВНИМАНИЕ!
При неправильном обращении батарейка
может взорваться.
Не пытайтесь ее перезарядить или
разобрать и не бросайте ее в огонь.
26

5 Bыдвиньтe aппapaт из монтaжной
Демонтаж проигрывателя
cкобы.
1 Поcлe cнятия пepeднeй пaнeли
нaжмитe c помощью yзкой отвepтки
нa зaжим внyтpи пepeднeй кpышки и
aккypaтно ee оcвободитe.
2 Повторите операцию 1 с правой
стороны.
Передняя крышка снята.
3 С помощью тонкой отвертки нажмите
на фиксатор с левой стороны
аппарата, а затем потяните за левую
сторону на себя, пока защелка не
выйдет из монтажной скобы.
4 мм
4 Повторите операцию 3 с правой
стороны.
27

Технические характеристики
Регуляторы тембра Нижние частоты ±9 дБ
Секция проигрывателя MD
при 100 Гц
Отношение полезного сигнала к шуму
Верхние частоты ±9 дБ
90 дБ
при 10 кГц
Частотная характеристика
Требования к питанию Автомобильный
10 – 20.000 Гц
аккумулятор с
Детонация звука Ниже уровня
напряжением 12 В
обнаружения
постоянного тока
(заземление минуса на
массу)
Секция радиоприемника
Размеры прибл. 178 × 50 × 183 мм
FM (УКВ)
(ш/в/г)
Частотный диапазон 87,5 – 108,0 МГц
Монтажные габариты прибл. 182 × 53 × 162 мм
Антенное гнездо Разъем внешней
(ш/в/г)
антенны
Масса прибл. 1,2 кг
Промежуточная частота
Входящие в комплекст принадлежности
10,7 МГц/450 кГц
Детали для монтажа и
Используемая чувствительность
подсоединения (1 набор)
8 дБф
Футляр для передней
Избирательность 75 дБ при 400 кГц
панели (1)
Отношение полезного сигнала к шуму
Дополнительные принадлежности
66 дБ (стерео),
Поворотный
72 дБ (моно)
дистанционный
Коэффициент гармонических
переключатель RM-X4S
искажений при 1 кГц 0,6% (стерео)
Беспроводной пульт
0,3% (моно)
дистанционного
Разделение 35 дБ при 1 кГц
управления RM-X91
Частотная характеристика
Кабель BUS
30 – 15.000 Гц
(поставляется со
штырьковым шнуром
MW/LW
RCA)
Частотный диапазон MW: 531 – 1.602 кГц
RC-61 (1м), RC-62 (2 м)
LW: 153 – 279 кГц
Дополнительная аппаратура
Антенное гнездо Разъем внешней
устройство для смены
антенны
CD (10 дисков)
Промежуточная частота
CDX-828, CDX-737
10,7 МГц/450 кГц
Устройство для смены
Чувствительность MW: 30 µкВ
MD (6 дисков)
LW: 40 µкВ
MDX-65
Селектор источника
XA-C30
Секция усилителя
1
Выходы Выходы для
*
Имеются выходы как на передней, так и на
громкоговорителей
задней панели:
(с соединительными
только у моделей MDX-C6500RX/C6500RV/
фиксаторами)
C6500R
Полное сопротивление громкоговорителей
Имеются выходы на задней панели:
4 – 8 Ом
MDX-C6400R
2
Максимальная выходная мощность
*
Только у моделей MDX-C6500RX/C6500RV/
50 Вт і 4 (при 4 Ом)
C6500R
Лицензии на американские и заграничные
Общие параметры
патенты полученыот Долби Лабораториз
1
Выходы Аудиовыходы*
Лайсенсинг Корпорэйшн.
Провод релейного
управления
Конструкция и технические характеристики могут
электроприводной
быть изменены без извещения.
антенной
Провод управления
усилителем
Провод управления
функцией Telephone
2
ATT*
28

Инструкции по устранению неполадок
Приводимый ниже проверочный перечень поможет Вам в устранении большинства
проблем, которые могут возникнуть с Вашим аппаратом.
Перед просмотром этого перечня загляните сначала в инструкции по подсоединению и
эксплуатации проигрывателя.
Общие проблемы
Проблема
Причина/меры по устранению
Нет звука.
• Отмените функцию АТТ
• В случае использования стереосистемы с двумя
громкоговорителями установите регулятор
балансировки (микшер) в центральное положение.
• Вращением ручки регулировки громкости по часовой
стрелке установите нужный уровень громкости.
Было стерто содержание
• Шнур питания или аккумулятор был отсоединен.
памяти.
• Была нажата кнопка переустановки.
t Заново занесите соответствующие параметры в
память.
Индикация не выводится на
Снимите переднюю панель и очистите контакты.
дисплей.
Подробнее об этом см в разделе “Очистка контактов”
(стр. 26).
Не слышен звуковой сигнал.
• Функция звукового сигнала была отключена (стр. 24).
• Если Вы не пользуетесь встроенным усилителем, а
подключаете дополнительный, звуковой сигнал
включаться не будет.
Воспроизведение CD/MD.
Проблема
Причина/меры по устранению.
Не удается загрузить диск.
• Уже был загружен другой MD.
• Вы с силой пытаетесь вставить MD верхом вниз или не
тем концом.
Воспроизведение не
Дефективный MD или грязный CD.
начинается.
Диск автоматически
Температура в салоне превышает 50°C.
выталкивается из дисковода.
Не работают клавиши
Нажмите кнопку переустановки.
оперативных функций.
Из-за вибрации происходят
• Аппарат установлен под углом, превышающим 20°.
провалы звука.
• Место установки аппарата в автомобиле подвержено
вибрации.
Имеют место провалы звука.
Грязный или дефективный диск.
Не удается отключить
Вы можете присваивать названия компакт-дискам только
индикацию “--------”.
в том случае, если подключите проигрыватель компакт-
дисков с функцией авторского наименования файлов.
t На две секунды нажмите (LIST).
29

Прием радиопрограмм
Проблема
Причина/меры по устранению
Не удается осуществить
• Введите в память правильную частоту.
предварительную настройку.
• Передаваемый радиосигнал слишком слаб.
Станция не принимается.
Подсоедините провод питания электроприводной
Звук сопровождается
антенны (синий) или провод вспомогательного
помехами.
электропитания (красный) к проводу электропитания
автомобильно антенного усилителя. (Лишь в том случае,
когда Ваша машина оснащена встроенной антенной FM/
MW/LW в заднее/боковое стекло).
Не работает автоматическая
Передаваемый радиосигнал слишком слаб.
настройка.
t Осуществите настройку вручную.
На дисплее мигает надпись
• Произведите точную настройку на нужную частоту.
“ST”.
• Передаваемый сигнал слишком слаб.
t Переключите аппарат на режим MONO (см. стр. 16).
RDS
Проблема
Причина/меры по устранению.
После нескольких секунд
Станция не передает TP (дорожных программ), или ее
прослушивания включается
сигнал слишком слаб.
функция поиска (SEEK).
t Последовательно нажимайте (AF) или (TA) до
появления на дисплее надписи "AF-OFF" или "TA-OFF".
Нет дорожных сообщений.
• Активируйте функцию “ТА”.
• Станция не транслирует дорожных сообщений, хотя и
относится к типу ТР. t Настройтесь на другую станцию.
На дисплее PTY
Станция не указывает тип программы.
высвечивается “NONE”.
30

Выводимые на дисплей сообщения об ошибках (в случае подключения
дополнительного проигрывателя CD/MD)
На дисплее в течение пяти секунд мигают следующие надписи, сопровождаемые
звучанием предупредительного сигнала.
Дисплей
Причина
Способ устранения
Магазин дисков не вставлен в
Вставьте магазин дисков в
NO MAG
проигрыватель CD/MD.
проигрыватель CD/MD.
В проигрывателе CD/MD
Вставьте диски в проигрыватель
NO DISC
отсутствует диск.
CD/MD.
По какой-то причине CD/MD не
Вставьте другой CD/MD.
NG DISCS
может быть воспроизведен.
CD загрязнен или установлен
Очистите CD или установите его
2
1
верхней стороной вниз.*
правильно.
*
ERROR
Почему-то не удается осуществить
Вставьте другой MD.
2
воспроизведение MD.*
На MD нет ни одной записанной
Для воспроизведения
1
*
2
дорожки.*
используйте MD с записанными
BLANK
дорожками.
По какой-то причине невозможна
Нажмите на проигрывателе
эксплуатация проигрывателя
кнопку переустановки.
RESET
CD/MD.
Открыта крышка проигрывателя
Закройте крышку или правильно
MD или же неправильно
установите MD.
NO READY
установлены диски.
Температура воздуха превышает
Подождите, пока температура не
HI TEMP
50°C.
опустится до отметки ниже 50°C.
1
*
Когда ошибка происходит во время воспроизведения записи на CD/MD, номер этого диска на
дисплей не выводится.
2
*
Номер диска, вызвавшего ошибку, выводится на дисплей.
Если вышеприведенные способы устранения неполадок не помогут в решении возникшей
проблемы, проконсультируйтесь с ближайшим дилером фирмы Sony.
31

Sony Corporation Printed in Thailand
32

