Sony KV-21LT1K – page 3
Manual for Sony KV-21LT1K
Table of contents

06HUKV21LT1K.fm Page 5 Wednesday, May 16, 2001 11:56 AM
A televízió gombjainak általános leírása
A következő vagy
az előző program
kiválasztására
A televízió újbóli
szolgáló gomb
Hangerő
(a televízió
beindítására
szabályozó
csatornákat
szolgáló gomb.
gombok
választja ki)
A bemenő
Készenléti
Bekapcsolás/
Nyomja meg a televízió
forrást
üzemmód
Kikapcsolás
előlapján lévő jelet, hogy
kiválasztó
gomb
az elülső gombok láthatóvá
(standby)
váljanak.
gomb
jelző
Fülhallgató
HU
bemenet
Video
Audio
bemenet
bemenet
Az elemek behelyezése a távvezérlőbe
Győződjön meg arról, hogy az elemeket a polaritásoknak megfelelő helyzetben
helyezi be.
Óvja környezetünket! A használt elemeket az erre a célra kijelölt gyüjtőhelyen helyezze el.
Általános leírás – Üzembehelyezés
5

Hordozható antenna csatlakoztatása
(csak a KV-14LT1K-hoz)
A jobb képvétel érdekében javasoljuk, hogy csatlakoztassa a
televíziót egy külső antennához. Mindazonáltal, ha nem
rendelkezik külső antennával, de a helyi VHF/ UHF jel
megfelelően erős, csatlakoztathatja az ehhez a televízióhoz
mellékelt teleszkópos antennát a továbbiakban leírtak szerint:
1 Kattanásig illessze bele az antennát a televízió felülső
részén lévő vájatba.
2 Csatlakoztassa az antenna zsinórját a televízió hátsó részén
lévő aljzatba.
3 Kapcsolja be a televíziót és tájolja az antennát a jó képvétel
érdekében.
HU
Az antenna és a videomagnó csatlakoztatása
A csatlakozó vezetékek nincsenek mellékelve.
vagy
A videomagnó csatlakoztatására vonatkozó további
részleteket lásd a használati utasítás “Választható
készülékek csatlakoztatása” c. fejezetében.
Üzembehelyezés
6
Az eurocsatlakozóval történő
csatlakoztatás választható.
06HUKV21LT1K.fm Page 6 Wednesday, May 16, 2001 11:56 AM
Videomagnó
OUT IN
6

A TV bekapcsolása és automatikus hangolás
A televízió első bekapcsolásakor menüsorok jelennek meg a képernyőn, melyekkel 1)
kiválaszthatja a menük nyelvét, 2) kiválaszthatja az országot, ahol a készüléket használni
kívánja, 3) automatikusan megkeresheti és tárolhatja az összes rendelkezésre álló
csatornát (televízióadót) és 4) megváltoztathatja a csatornák (televízióadók) képernyőn
való megjelenésének sorrendjét.
Mindazonáltal, ha egy idő után szükségessé válik a menük nyelve, az ország újbóli
megváltoztatása, az automatikus hangolás megismétlése (pl. költözés esetén) vagy a
csatornák sorrendjének újbóli megváltoztatása, azt a (Beállítás) megfelelő menüjének
kiválasztásával teheti meg. További tájékoztatásért lásd a használati utasítás “Útmutató a
menükhöz” c. fejezetét. A televízió gombjának megnyomásával szintén megteheti azt.
1 Csatlakoztassa a televízió csatlakozóját a hálozati
aljzatba (220-240 V váltakozó feszültség, 50Hz). A
bekapcsoláshoz nyomja meg a televízió előlapjának
bekapcsolás/kikapcsolás gombját.
A gomb első megnyomásakor a Language (Nyelv) menü
automatikusan megjelenik a képernyőn.
2 Nyomja meg a távvezérlő vagy gombját a nyelv
kiválasztásához, majd ezt követően nyomja meg az OK
gombot a választás megerősítésére. Ettől kezdve
HU
minden menü a választott nyelven jelenik meg.
3 A képernyőn automatikusan megjelenik az Ország
menü. Nyomja meg a vagy gombot, majd ezt
követően nyomja meg az OK gombot a választás
megerősítésére.
• Amennyiben a listán nem jelenik meg azon
ország, ahol a televíziót használni fogja, válassza
“-“-t az ország helyett.
• Annak érdekében, hogy a cirill betük helyesen je-
lenjenek meg a képernyőn, az országok listájából
válassza Oroszországot (Russia), ha a lista nem
tartalmazza az Őn hazáját.
4 Az Automatikus Hangolás menü megjelenik a
képernyőn. Nyomja meg az OK gombot az Igen
kiválasztásához.
Első üzembehelyezés
7
Language
English
Español
Français
Italiano
K
Magyar
Nederlands
Select Language:
OK
Ország
-
Бългapия
Česká rep.
Magyarország
K
Polska
România
Ország kivál:
OK
Seretné elindítani az
automatikus hangolást?
Igen
Nem
K
OK
06HUKV21LT1K.fm Page 7 Wednesday, May 16, 2001 11:56 AM
folytatódik…

5 A képernyőn megjelenik egy új menü, mely kéri Öntől,
hogy ellenőrizze az antenna csatlakoztatását. Ellenőrizze
az antenna csatlakoztatását, majd nyomja meg az OK
gombot az automatikus hangolás megkezdéséhez.
A televízió elkezdi automatikusan hangolni és
rögzíteni az összes rendelkezésre álló csatornát
(televízióadót).
Ez a művelet eltarthat néhány percig. Legyen
türelemmel és ne nyomjon meg egyetlen gombot
sem a hangolás folyamata alatt, mivel ellenkező
esetben a folyamat nem fejeződik be.
6 Miután a televízió hangolta és rögzítette az összes
csatornát (televízióadót), a képernyőn
automatikusan megjelenik a Programhe.
Átrendezése menü, hogy megváltoztathassa a
csatornák képernyőn történő megjelenésének
sorrendjét.
a) Ha nem kívánja a csatornák sorrendjét
megváltoztatni, menjen a 7. lépéshez.
b) Ha meg kívánja változtatni a csatornák sorrendjét:
1 Nyomja meg a vagy a gombot a
programszám kiválasztásához a csatornával
(televízióadó), melynek helyét meg kívánja
változtatni, majd ezt követően nyomja meg a .
2 Nyomja meg a vagy a az új programszám
kiválasztásához, melyen a kiválasztott csatornát
(televízióadót) rögzíteni kívánja, majd nyomja meg
a .
3 Ismételje meg a b1) és b2) lépést egyéb televíziócsatornák
újbóli átrendezéséhez.
7 Nyomja meg a MENU gombot a normális televízióképhez való
MENU
visszatéréshez.
A televízió működésre kész.
8
Első üzembehelyezés
Kérem igazolja, hogy az
antenna catlakoztatva van
Megerősít
OK
K
Automatikus Hangolás
Hangolás:
01
Rendszer:
B/G
Csatornák:
C21
Keresés...
Programhe. Átrendezése
Hangolás:
01 TVE
02 TVE2
03 TV3
04 C33
K
05 C27
06 C58
Vál. csatornát:
OK
Kilépés:
MENU
Programhe. Átrendezése
Hangolás:
01 TVE
02 TVE2
03 TV3
04 C33
K
05 C27
06 C58 05 C27
Vál. új pr. helyet:
OK
Kilépés:
MENU
06HUKV21LT1K.fm Page 8 Wednesday, May 16, 2001 11:56 AM

06HUKV21LT1K.fm Page 9 Wednesday, May 16, 2001 11:56 AM
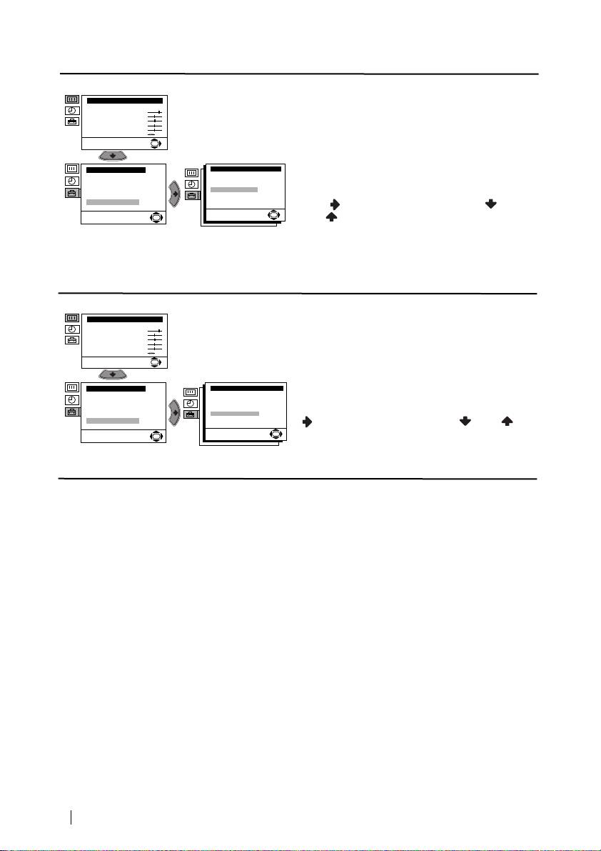
Bevezetés a képernyő menürendszereibe és azok használata
Ez a televízió egy a képernyőn megjelenő menürendszert alkalmaz a különböző
műveletekben való eligazodáshoz. Használja a távvezérlő következő gombjait a
menükben történő mozgáshoz:
1 Nyomja meg a MENU gombot, hogy a menü első szintje megjelenjen a
MENU
képernyőn.
2 • A kívánt menü vagy opció kiemeléséhez nyomja meg vagy .
• A választott menübe vagy opcióba történő belépéshez nyomja meg .
• A menübe vagy az előző opcióhoz való visszatéréshez nyomja meg .
K
• A választott opció beállításainak módosításához nyomja meg
//vagy .
• Választásának megerősítésére és rögzítésére nyomja meg az OK
gombot.
3 Nyomja meg a MENU gombot a normális televízióképhez való
MENU
visszatéréshez.
HU
Útmutató a menükhöz
1. szint 2. szint 3. szint / funkció
KÉPBEÁLLÍTÁS
Képbeállítás
Képbeállítás
Üzemmód: Egyéni
Üzemmód: Egyéni
A “Képbeállítás” menü a kép beállításainak
Kontraszt
Kontraszt
Fényerő
Fényerő
Színtelítetség
Színtelítetség
módosítását teszi lehetővé.
Képélesség
Képélesség
Színárnyalat
Színárnyalat
Törlés
Törlés
Ehhez az Ön által módosítani kívánt opció
OK
OK
kiválasztása után, nyomja meg a . Ezt
követően többször egymás után nyomja meg a
//vagy a beállítás
módosításához, majd végezetül nyomja meg az
OK-t a rögzítéshez.
Ez a menü szintén lehetővé teszi a kép
üzemmód módosítását az Ön által nézett
program típusának megfelelően:
Egyéni (egyéni ízléshez).
Élő (élő programokhoz)
Mozi (filmekhez)
• A Fényerő, a Színtelítettség és a Képélesség csak akkor módosítható ha az Egyéni-ben
kiválasztotta a képernyő üzemmódot.
• A Színárnyalat csak az NTSC színrendszerhez áll rendelkezésre (pl.: USA videokazetták).
• A gyárilag beállított képbeállítások visszaállításához válassza ki a Törlés-t majd nyomja meg az
OK-t.
folytatódik...
A képernyőn megjelenő menürendszerek
9

06HUKV21LT1K.fm Page 10 Wednesday, May 16, 2001 11:56 AM
1. szint 2. szint 3. szint / funkció
KIKAPCSOLÁS IDŐZÍTŐ
Képbeállítás
Az “Időkapcsoló” menün belüli “Kikapcs.
Üzemmód: Egyéni
Kontraszt
Fényerő
Időzít.” opció lehetővé teszi egy olyan
Színtelítetség
Képélesség
időtartam kiválasztását, melynek elteltével a
Színárnyalat
Törlés
televízió automatikusan készenléti üzemmódba
OK
(standby) kapcsol.
Ehhez az opció kiválasztása után nyomja meg
Időkapcsoló
Időkapcsoló
Kikapcs.Időzít.:
Ki
Kikapcs.Időzít.:
Ki
. Ezt követően nyomja meg vagy az
Bekapcs.Időzít.:
Ki
Bekapcs.Időzít.:
Ki
időtartam kiválasztásához (legfeljebb 4 óra),
majd végezetül nyomja meg az OK-t ennek
rögzítéséhez.
OK
OK
• Ha meg kívánja tekinteni a kikapcsolásig
fennmaradó időt miközben a televíziót nézi,
nyomja meg a gombot
• Egy perccel a televízió készenléti
üzemmódba kapcsolása előtt a fennmaradó
idő megjelenik a képernyőn.
BEKAPCSOLÁS IDŐZÍTŐ
Képbeállítás
Az “Időkapcsoló” menün belüli “Bekapcs.
Üzemmód: Egyéni
Kontraszt
Fényerő
Időzít.” opció lehetővé teszi egy olyan idő
Színtelítetség
Képélesség
tartam kiválasztását, melynek elteltével a
Színárnyalat
Törlés
televízió automatikusan bekapcsol a készenléti
OK
üzemmódból (standby).
Ehhez az opció kiválasztása után nyomja meg
Időkapcsoló
Időkapcsoló
. Ezt követően nyomja meg vagy az
Kikapcs.Időzít.:
Ki
Kikapcs.Időzít.:
Ki
Bekapcs.Időzít.:
Ki
Bekapcs.Időzít.:
Ki
időtartam kiválasztásához (legfeljebb 12 óra),
majd nyomja meg az OK-t ennek rögzítéséhez.
Végezetül nyomja meg a távvezérlő
OK
OK
készenléti üzemmód (standby) gombját; a
televízió az időtartam elteltével automatikusan
bekapcsol.
• A televízió készenléti üzemmód (standby)
kijelzője rendszeresen pislogni fog annak
jelzéseként, hogy a “Bekapcs. Időzít.” funkció
be van kapcsolva.
• Az áramellátás bármilyen meghibásodása
vagy megszakadása a funkciót törli
Képbeállítás
NYELV/ ORSZÁG
Üzemmód: Egyéni
Kontraszt
A “Beállítás” menün belüli “Nyelv/ Ország”
Fényerő
Színtelítetség
opció lehetővé teszi a képernyőn megjelenő
Képélesség
Színárnyalat
Törlés
menük nyelvének kiválasztását. Lehetővé teszi
OK
azon ország kiválasztását is, ahol a televíziót
használni kívánja.
Beállítás
Beállítás
Ehhez az opció kiválasztása után nyomja meg
Nyelv/Ország
Automatikus Hangolás
Nyelv/Ország
, majd ezt követően járjon el a “A TV
Programhe. Átrendezése
Automatikus Hangolás
Kézi Hangolás
Programhe. Átrendezése
bekapcsolása és automatikus hangolás” c.
Különleges Jellemzők
Kézi Hangolás
Különleges Jellemzők
fejezet 2. és 3. lépéseiben leírtak szerint.
OK
OK
folytatódik...
10
A képernyőn megjelenő menürendszerek

06HUKV21LT1K.fm Page 11 Wednesday, May 16, 2001 11:56 AM
1. szint 2. szint 3. szint / funkció
AUTOMATIKUS HANGOLÁS
Képbeállítás
A “Beállítás” menün belüli “Automatikus
Üzemmód: Egyéni
Kontraszt
Fényerő
Hangolás” opció lehetővé teszi, hogy a
Színtelítetség
Képélesség
televízió az összes rendelkezésre álló csatornát
Színárnyalat
Törlés
(televízióadót) megkeresse és elraktározza.
OK
Ehhez az opció kiválasztása után nyomja meg
, majd ezt követően járjon el a “A TV
Beállítás
Beállítás
bekapcsolása és automatikus hangolás” c.
Nyelv/Ország
Nyelv/Ország
Automatikus Hangolás
Automatikus Hangolás
fejezet 4. és 5. lépéseiben leírtak szerint.
Programhe. Átrendezése
Programhe. Átrendezése
Kézi Hangolás
Kézi Hangolás
Különleges Jellemzők
Különleges Jellemzők
OK
OK
Képbeállítás
PROGRAMHELYEK ÁTRENDEZÉSE
Üzemmód: Egyéni
Kontraszt
A “Beállítás” menün belüli “Programhe.
Fényerő
Színtelítetség
Képélesség
Átrendezése” opció lehetővé teszi a csatornák
Színárnyalat
Törlés
(televízióadók) televízión való megjelenési
OK
sorrendjének megváltoztatását.
Ehhez az opció kiválasztása után nyomja meg
, majd ezt követően járjon el a “A TV
Beállítás
Beállítás
Nyelv/Ország
Nyelv/Ország
bekapcsolása és automatikus hangolás” c.
Automatikus Hangolás
Automatikus Hangolás
Programhe. Átrendezése
Programhe. Átrendezése
fejezet 6. b) lépésében leírtak szerint.
Kézi Hangolás
Kézi Hangolás
Különleges Jellemzők
Különleges Jellemzők
OK
OK
KÉZI HANGOLÁS
Képbeállítás
HU
A “Beállítás” menün belüli “Kézi hangolás”
Üzemmód: Egyéni
Kontraszt
Fényerő
opció lehetővé teszi
Színtelítetség
Képélesség
Színárnyalat
Törlés
a) A csatornák (televízióadók) egyenkénti és a
OK
kívánt sorrendben történő beállítását
valamint egy videobemenet beállítását.
Ehhez:
Beállítás
Beállítás
Nyelv/Ország
Nyelv/Ország
1 A “Kézi hangolás” opció kiválasztása után
Automatikus Hangolás
Automatikus Hangolás
Programhe. Átrendezése
Programhe. Átrendezése
Kézi Hangolás
nyomja meg . A “Hangolás” opció
Kézi Hangolás
Különleges Jellemzők
Különleges Jellemzők
kiemelésével nyomja meg , majd ezt
OK
OK
követően nyomja meg vagy a
programszám (hely) kiválasztásához, melyen
a televízióadót vagy videocsatornát beállítani
Kézi Hangolás
Hangolás:
01
kívánja (a videocsatornához ajánlatos a “0”
Rendszer:
B/G
Csatornák:
C 21
Címke:
--TVE
program kiválasztása). Nyomja meg .
AFT:
Be
Ugrás:
Nem
Dekóder:
Ki
Megerősít
2 A Rendszer opció kiválasztása után nyomja
OK
meg , majd ezt követően nyomja meg
vagy a televízió sugárzási rendszerének
kiválasztásához (B/G Nyugat-Európában
vagy D/ K Kelet-Európában). Nyomja
meg .
folytatódik...
A képernyőn megjelenő menürendszerek
11

06HUKV21LT1K.fm Page 12 Wednesday, May 16, 2001 11:56 AM
1. szint 2. szint 3. szint / funkció
3 A Csatornák opció kiválasztása után nyomja
Képbeállítás
Üzemmód: Egyéni
meg , majd ezt követően nyomja meg
Kontraszt
Fényerő
Színtelítetség
vagy a csatorna típusának kiválasztásához
Képélesség
Színárnyalat
(“C” földi csatornákhoz vagy “S”
Törlés
OK
kábelcsatornákhoz). Nyomja meg . Ezt
követően nyomja meg a számgombokat a
televízióadó csatorna vagy a videocsatorna jel
Beállítás
Beállítás
számának közvetlen beviteléhez. Ha nem
Nyelv/Ország
Nyelv/Ország
Automatikus Hangolás
Automatikus Hangolás
ismeri a csatornaszámot, nyomja meg vagy
Programhe. Átrendezése
Programhe. Átrendezése
Kézi Hangolás
Kézi Hangolás
annak megkereséséhez. Amikor a rögzíteni
Különleges Jellemzők
Különleges Jellemzők
kívánt csatornát megtalálta, nyomja meg az
OK
OK
OK-t kétszer.
Ismételje meg ezeket a lépéseket további
Kézi Hangolás
csatornák beállításához és rögzítéséhez.
Hangolás:
01
Rendszer:
B/G
Csatornák:
C 21
Címke:
--TVE
AFT:
Be
Ugrás:
Nem
b) Annak ellenére, hogy az automatikus
Dekóder:
Ki
Megerősít
finomhangolás (AFT) mindig be van kapcsolva,
OK
azt kézileg is be tudja állítani a jobb képvétel
érdekében, amennyiben a kép torzítva jelenik
meg.
Ehhez, azon csatorna (televízióadó) nézése
közben, melyen a finomhangolást el kívánja
végezni, válassza ki az AFT opciót, majd ezt
követően nyomja meg . Nyomja meg
vagy a csatornafrekvencia szintjének
beállításához –15 és +15 között. Végezetül
nyomja meg kétszer az OK-t a rögzítéshez.
c) A nem kívánt programakhelyek kihagyása a
PROGR +/ - gombokkal történő kiválasztáskor
való átugrással.
Ehhez a Hangolás opció kiemelésével nyomja
meg a PROGR +/ - a kihagyni kívánt program
számának megjelenéséig. Amikor ez
megjelenik a képernyőn, válassza az Ugrás
opciót, majd ezt követően nyomja meg .
Nyomja meg vagy az Igen
kiválasztásához, majd végezetül
nyomja meg kétszer az OK-t a rögzítéshez.
Ha a későbbiekben ezt a funkciót törölni
kívánja, válassza újból a “Nem”-et az “Igen”
helyett.
d) Csatornák elnevezése legfeljebb öt
karakterből álló névvel.
Ehhez a Hangolás opció kiemelésével nyomja
meg a PROGR +/ - az elnevezni kívánt
program számának megjelenéséig. Amikor ez
megjelenik a képernyőn, válassza a Címke
opciót, majd ezt követően nyomja meg .
Nyomja meg vagy egy betű, szám vagy
“-“ egy betűköz kiválasztásához, majd nyomja
meg a karakter megerősítéséhez. A további
négy karaktert ugyanilyen módon válassza ki.
Az összes karakter kiválasztása után nyomja
meg kétszer az OK-t a rögzítéshez.
folytatódik...
12
A képernyőn megjelenő menürendszerek

06HUKV21LT1K.fm Page 13 Wednesday, May 16, 2001 11:56 AM
1. szint 2. szint 3. szint / funkció
GYERMEKZÁR
Képbeállítás
A “Különleges Jellemzők” menün belüli
Üzemmód: Egyéni
Kontraszt
Fényerő
“Gyermekzár” opció lehetővé teszi a televízió
Színtelítetség
Képélesség
Színárnyalat
gombjainak lezárását. Ily módon, ezen opció
Törlés
OK
kiválasztása után, a televízió kikapcsolásakor
annak gombjai lezáródnak és csak a távvezérlő
gombjainak használatával működtetheti újra.
Beállítás
Különleges Jellemzők
Nyelv/Ország
Gyermekzár:
Ki
Automatikus Hangolás
Zajzár:
Be
Auto.Hangeröszab.:
Be
Ehhez az opció kiválasztása után nyomja meg
Programhe. Átrendezése
RGB Közép:
0
Kézi Hangolás
Képelforgatás:
0
. Ezt követően nyomja meg vagy a
Különleges Jellemzők
Be kiválaszatásához. Nyomja meg az OK-t a
OK
OK
rögzítéshez, majd végezetül nyomja meg a
távvezérlő gombját.
Ha a későbbiekben ezt a funkciót törölni kívánja,
válassza újból a “Ki”-t a “Be” helyett.
ZAJZÁR
Képbeállítás
Üzemmód: Egyéni
A “Különleges Jellemzők” menün belüli
Kontraszt
Fényerő
Színtelítetség
“Zajzár” opció lehetővé teszi a kép
Képélesség
Színárnyalat
zajszintjének csökkentését gyenge TV jelek
Törlés
OK
esetén.
Ehhez az opció kiválasztása után nyomja meg
Beállítás
Különleges Jellemzők
. Ezt követően nyomja meg vagy a
Nyelv/Ország
Gyermekzár:
Ki
Zajzár:
Be
Automatikus Hangolás
Auto.Hangeröszab.:
Be
Be kiválasztásához, majd végezetül nyomja
Programhe. Átrendezése
RGB Közép:
0
Kézi Hangolás
Képelforgatás:
0
meg az OK-t a rögzítéshez.
Különleges Jellemzők
HU
OK
OK
Ha a későbbiekben ezt a funkciót törölni kívánja,
válassza újból a “Ki”-t a “Be” helyett.
Képbeállítás
AUTOMATIKUS HANGERőSZABÁLYZÓ
Üzemmód: Egyéni
Kontraszt
A “Különleges Jellemzők” menün belüli “Auto.
Fényerő
Színtelítetség
Képélesség
Hangerőszab.” opció lehetővé teszi a
Színárnyalat
Törlés
csatornák hangerejének megtartását az
OK
adójeltől függetlenül (pl.: hírdetéseknél).
Ehhez az opció kiválasztása után nyomja meg
Beállítás
Különleges Jellemzők
Nyelv/Ország
Gyermekzár:
Ki
. Ezt követően nyomja meg vagy a
Automatikus Hangolás
Zajzár:
Be
Auto.Hangeröszab.:
Be
Programhe. Átrendezése
RGB Közép:
0
Be kiválaszatásához, majd végezetül nyomja
Kézi Hangolás
Képelforgatás:
0
Különleges Jellemzők
meg az OK-t a rögzítéshez.
OK
OK
Ha a későbbiekben ezt a funkciót törölni kívánja,
válassza újból a “Ki”-t a “Be” helyett.
folytatódik...
A képernyőn megjelenő menürendszerek
13

06HUKV21LT1K.fm Page 14 Wednesday, May 16, 2001 11:56 AM
1. szint 2. szint 3. szint / funkció
RGB KÖZÉP
Képbeállítás
RGB jelforrás csatlakoztatásakor, mint pl. egy
Üzemmód: Egyéni
Kontraszt
Fényerő
“Playstation”, előfordulhat, hogy szükséges a
Színtelítetség
Képélesség
Színárnyalat
képközép beállítása. Ebben az esetben ezt a
Törlés
OK
“Különleges Jellemzők” menün belüli “RGB
Közép” opció használatával állíthatja be.
Beállítás
Különleges Jellemzők
Nyelv/Ország
Gyermekzár:
Ki
Zajzár:
Be
Ehhez az RGB jelforrás nézése közben
Automatikus Hangolás
Auto.Hangeröszab.:
Be
Programhe. Átrendezése
RGB Közép:
0
Kézi Hangolás
Képelforgatás:
0
válassza ki az “RGB Közép” opciót és nyomja
Különleges Jellemzők
meg . Ezt követően nyomja meg
OK
OK
vagy a képközepelés -10 és +10 közötti
beállításához. Végezetül nyomja meg az OK-t a
rögzítéshez.
KÉPELFORGATÁS
Képbeállítás
(csak a KV-21LT1K-hoz)
Üzemmód: Egyéni
Kontraszt
Fényerő
A földmágnesesség következtében
Színtelítetség
Képélesség
Színárnyalat
előfordulhat, hogy a kép ferdén jelenik meg.
Törlés
Ebben az esetben ezt a “Különleges
OK
Jellemzők” menün belüli “Képelforgatás” opció
használatával állíthatja be.
Beállítás
Különleges Jellemzők
Nyelv/Ország
Gyermekzár:
Ki
Zajzár:
Be
Automatikus Hangolás
Auto.Hangeröszab.:
Be
Programhe. Átrendezése
RGB Közép:
0
Ehhez az opciót kiválasztását után nyomja meg
Kézi Hangolás
Képelforgatás:
0
Különleges Jellemzők
. Ezt követően nyomja meg vagy a
OK
OK
képdőlés –5 és +5 közötti beállításához.
Végezetül nyomja meg az OK-t a rögzítéshez.
14
A képernyőn megjelenő menürendszerek

06HUKV21LT1K.fm Page 15 Wednesday, May 16, 2001 11:56 AM
Teletext
A teletext a legtöbb televízióadó által sugárzott információs szolgáltatás. A teletext
tartalomjegyzék oldala (általában a 100. oldal) nyújt a szolgáltatás használatára vonatkozó
tájékoztatást. A teletexten belül használja a távvezérlő gombjait az ezen az oldalon leírtak
szerint.
Győződjön meg arról, hogy erős jellel rendelkező televízió csatornát használ, ellenkező
esetben a teletextben hibák adódhatnak.
TELETEXT
TELETEXT
TELETEXT
TELETEXT
TELETEXT
TELETEXT
TELETEXT
TELETEXT
A Teletext szolgáltatásba való belépés:
Index
Index
Index
Index
Index
Index
Index
Index
Miután kiválasztotta azt a csatornát (televízióadót), mely az Ön által nézni
Programme
Programme
Programme
Programme
Programme
Programme
Programme
Programme
25
25
25
25
25
25
25
25
News
News
News
News
News
News
News
News
153
153
153
153
153
153
153
153
Sport
Sport
Sport
Sport
Sport
Sport
Sport
Sport
101
101
101
101
101
101
101
101
kívánt teletext szolgáltatást sugározza, nyomja meg .
Weather
Weather
Weather
Weather
Weather
Weather
Weather
Weather
98
98
98
98
98
98
98
98
Teletext oldal kiválasztása:
A távvezérlő gombjainak használatával vigye be az Ön által megtekinteni kívánt oldalszám
három számjegyét.
• Ha eltéveszti, üssön be bármilyen három számjegyet, majd ezt követően üsse be újra a
helyes oldalszámot.
• Amennyiben az oldalszámláló nem áll le, ez azt jelenti, hogy a kért oldal nem áll
rendelkezésre. Ebben az esetben üssön be egy másik oldalszámot
Az előző vagy a következő oldal kiválasztása:
Nyomja meg PROGR + () vagy PROGR - ().
A teletext tévéképernyő elé történő helyezése:
HU
A teletext nézése közben nyomja meg . Újfent nyomja meg azt a teletext üzemmódból
való visszatéréshez.
Egy oldal kimerevítése:
Egyes teletext oldalak automatikusan váltakozó aloldalakkal rendelkeznek. Egy aloldal
kimerevítéséhez nyomja meg / . Újfent nyomja meg azt a kimerevítés törléséhez.
Rejtett információ láthatóvá tétele (pl.: fejtörők megoldásai):
Nyomja meg / . Újfent nyomja meg azt az információ elrejtéséhez.
A Teletext szolgáltatásból való kilépés:
Nyomja meg .
Fastext
A Fastext szolgáltatás lehetővé teszi, hogy egyetlen gomb lenyomásával hozzáférjen a
teletext oldalaihoz.
A teletext szolgáltatáson belül, amennyiben Fastext jeleket sugároznak, a képernyő alsó
részén megjelenik egy színkód menü, mely lehetővé teszi, hogy közvetlenül hozzáférjen
egy oldalhoz. Ehhez nyomja meg a távvezérlő megfelelő színű gombját (piros, zöld, sárga
vagy kék).
Teletext
15

06HUKV21LT1K.fm Page 16 Wednesday, May 16, 2001 11:56 AM
Választható készülékek csatlakoztatása
A televízióhoz választható készülékek széles skálája csatlakoztatható, a továbbiakban
leírtak szerint. (A csatlakozó kábelek nincsenek mellékelve.)
Videomagnó csatlakoztatása:
Videomagnó csatlakoztatásához
lásd “Az antenna és a
videomagnó csatlakoztatása” c.
fejezetet. A videot ajánlatos
eurocsatlakozó használatával
csatlakoztatni. Amennyiben nem
ezt a csatlakozót használja, a
8mm/Hi8/DVC
videojel csatornát a “Kézi
kamera
Hangolás” menüben be kell
állítsa (ehhez lásd a 11. oldal a)
C
bekezdését). Ezenkívül lásd a
video használati utasítását a
1
2
videojel csatorna beállításához.
“PlayStation”**
Ha egy Smartlinkkel
AB
rendelkező videomagnóhoz
dekóder van csatlakoztatva:
Videomagnó
A “Beállítás” menüben válassza a
“Kézi Hangolás” opciót, majd a
Dekóder
“Dekóder”* opció kiválasztása
után válassza a “Be”-t (
vagy használatával) a kódolt
csatornához.
* Ez az opció az “Ország” menüben kiválasztott ország szerint áll rendelkezésre.
** “PlayStation” a Sony Computer Entertainment, Inc. terméke..
** “PlayStation” a Sony Computer Entertainment, Inc. védett márkaneve.
Választható készülékek használata
1 A választható készüléket csatlakoztassa a televízió megfelelő aljzatához a fentiekben
leírtak szerint.
2 A csatlakoztatott készülék képének megtekintéséhez nyomja meg többször egymás
után , amíg a bemeneti jel helyes jelképe megjelenik a képernyőn.
Jelkép Bemeneti jelek
1•Eurocsatlakozón C keresztüli audio/ video bemeneti jel
•Eurocsatlakozón C keresztüli RGB bemeneti jel. Ez a jelkép csak abban az
esetben jelenik meg, ha csatlakoztatott RGB bemenetet.
2•RCA A csatlakozón keresztüli video bemeneti jel és B-n keresztüli audio
bemeneti jel.
3 Kapcsolja be a csatlakoztatott készüléket.
4 Nyomja meg a távvezérlő gombját a normál tévéképernyőhöz való visszatéréshez.
16
Kiegészítő információ

06HUKV21LT1K.fm Page 17 Wednesday, May 16, 2001 11:56 AM
Műszaki jellemzők
MINŐSÉGTANÚSÍTÁS
A 2/1984. (III.10.) BkM-IpM együttes rendelet értelmében - mint forgalmazá - tanúsitjuk, hogy a SONY
(KV-21LT1K, KV-14LT1K) tipusú szines televizió megfelel az alábbi műszaki értékeknek.
Érintésvédelmi osztály: II.
Sugárzási szabvány:
Teljesítményfelvétel:
B/G/H, D/K
• KV-21LT1K: 55 W
• KV-14LT1K: 42 W
Szín szabvány:
PAL, SECAM
Teljesítményfelvétel készenléti
NTSC 3.58, 4.43 (csak videobemenet)
üzemmódban (standby):
≤ 0.55 W
Fogható csatornák:
VHF: E2-E12
Méretek (szél. x mag. x mély.)
UHF: E21-E69
• KV-21LT1K: Kb. 514 x 478 x 487 mm.
CATV: S1-S20
• KV-14LT1K: Kb. 393 x 358 x 415 mm.
HYPER: S21-S41
Tömeg:
D/K: R1-R12, R21-R69
• KV-21LT1K: Kb. 24 Kg.
Képcső:
• KV-14LT1K: Kb. 11.5 Kg.
FD Trinitron sarkított képernyő
Mellékelt tartozékok:
Hátsó aljzatok:
1 db távvezérlő RM-887 modell
:1/ 21 pólusú eurocsatlakozó
2 db IEC szabvány szerinti elem
(CENELEC szabvány) beleértve
1 db szobaantenna (csak a
audio/ video bemenet, RGB
KV-14LT1K-hoz)
bemenet, TV audio/ video kimenet
Egyéb jellemzők:
Elülső aljzatok:
•Teletext, Fastext, TOPtext
…2 video bemenet – RCA csatlakozó
•Kikapcsolás Időzítő
HU
•Bekapcsolás Időzítő
2 audio bemenet – RCA csatlakozó
• Smartlink (a televízió és egy
fülhallgató csatlakozó
kompatibilis videokészülék közötti
Hangfrekvenciás
közvetlen kommunikáció. Ha további
információra van szüksége a
kimenőteljesítmény:
Smartlinkkel kapcsolatosan, nézze
• KV-21LT1K:
meg videomagnója használati
1 x 8 W (zenei teljesítmény)
útmutatóját).
1 x 4 W (RMS Mono)
•A TV rendszer automatikus
• KV-14LT1K:
felmérése.
1 x 6 W (zenei teljesítmény)
1 x 3 W (RMS Mono)
A design és a műszaki jellemzők előzetes bejelentés nélkül változhatnak.
Környezetbarát papír – Klórmentes
Kiegészítő információ
17

06HUKV21LT1K.fm Page 18 Wednesday, May 16, 2001 11:56 AM
Problémamegoldás
Az alábbiakban ismertetünk néhány egyszerű megoldást arra az esetre, ha valamilyen
kép- vagy hangprobléma fordulna elő.
Probléma
Megoldás
Nincs kép (a képernyő sötét) és
•Ellenőrizze az antennacsatlakozást.
nincs hang.
• Csatlakoztassa a készüléket a fali aljzathoz és nyomja
meg a gombot az előlapon.
•Ha a televízió jelzője világít, nyomja meg a
távvezérlő gombját.
Gyenge a kép vagy nincs kép (a
•A menürendszerben válassza ki a “Képbeállítás”-t és
képernyő sötét), de jó a hang.
válassza a “Törlés”-t a gyárilag beállított értékek viss-
zanyeréséhez.
A televízió hátlapján lévő
•Győzödjön meg arról, hogy a választható készüléket
eurocsatlakozóhoz csatlakoztatott
bekapcsolta, majd nyomja meg többször a távvezérlő
választható készüléknek nincs képe
gombját, amíg a helyes bemeneti jelkép megje-
vagy nincs információs menüje.
lenik a képernyőn.
Jó képminőség, de nincs hang.
• Nyomja meg a távvezérlő +/ -gombját.
A színes műsorok nem láthatók
• A menürendszerben válassza ki a “Képbeállítás”-t, és
színesben.
válassza a “Törlés”-t a gyárilag beállított értékek
visszanyeréséhez.
Programváltáskor vagy a teletext
• Kapcsolja ki a készülék hátlapján lévő 21 pólusú
kiválasztásakor a kép eltorzul.
eurocsatlakozóhoz csatlakoztatott készüléket.
A teletext adások vételekor helytelen
• Ha a menürendszert használja, lépjen be a
karakterek jelennek meg a
“Nyelv/Ország“ menübe, és válassza azt az országot,
képernyőn.
ahol a Készüléket működteti. A cirill abc-t használó
nyelveknél válassza Oroszországot, ha a lista nem
tartalmazza azt az országot, ahol Ön a készüléket
használja.
Ferde a kép (csak a
• A menürendszerben a “Különleges Jellemzők” menün
KV-21LT1K-hoz).
belül válassza a “Képelforgatás” opciót és állítsa be a
képdőlést.
Zajos kép.
• A menürendszerben a “Kézi Hangolás” menün belül
válassza az “AFT” opciót és állítsa be a hangolást a
jobb képvétel érdekében.
• A menürendszerben a “Különleges Jellemzők” menün
belül válassza az “Zajzár” opciót és válassza a “Be”-t
a kép zajának csökkentésére.
A távvezérlő nem működik.
• Cserélje ki az elemeket.
A készenléti üzemmód (standby)
• Forduljon a legközelebbi Sony márkaszervízhez.
jelzője villog, annak ellenére, hogy a
“Bekapcs. Időzít.” nincs
beprogramozva.
naprogramovaná.
Meghibásodás esetén a televíziót szakemberrel vizsgáltassa meg. Soha ne nyissa ki a
készüléket.
18
Kiegészítő információ

07P2PLKV21;14LT1K.fm Page 1 Wednesday, May 16, 2001 12:15 PM
PL

Informacje dotyczące bezpieczeństwa
Nigdy nie wpychać do telewizora
Telewizor jest przystosowany do
żadnych przedmiotów.
Ze względu na bezpieczeństwo i
Grozi to pożarem lub porażeniem
zasilania tylko napięciem
ochronę środowiska
prądem. Nigdy nie wylewać na
przemiennym 220 - 240 V. Nie
naturalnego zaleca się, aby
telewizor żadnych płynów. Jeśli do
włączać zbyt dużej liczby urządzeń
telewizor, który nie jest używany,
wnętrza telewizora dostanie się jakiś
do jednego gniazdka sieciowego-
nie pozostawał w trybie
płyn lub przedmiot, nie używać
grozi to pożarem lub porażeniem
czuwania, lecz był wyłączany z
urządzenia, zanim zostanie ono
prądem.
skontrolowane przez odpowiednio
sieci.
wykwalifikowaną osobę.
Nie otwierać obudowy ani nie
Dla własnego bezpieczeństwa,
Aby uniknąć ryzyka pożaru lub
zdejmować pokrywy z tyłu
w czasie burzy nie dotykać
porażenia prądem, nie wystawiać
telewizora. Naprawy powierzać
żadnych elementów telewizora,
telewizora na deszcz i chronić go
tylko wykwalifikowanym osobom.
jego przewodu zasilającego ani
przed wiłgocią.
przewodu antenowego.
Nigdy nie stawiać telewizora w
Nie zakrywać otworów
Aby uniknąć pożaru,
miejscach gorących, wilgotnych
wentylacyjnych na telewizorze. Dla
przechowywać łatwopalne
lub nadmiernie zapylonych. Nie
zapewnienia właściwej wentylacji,
przedmioty z dala od telewizora i
instalować telewizora w
pozostawić wokół telewizora
nie zbliżać się do niego z otwartym
miejscach, w których będzie on
przynajmniej 10 cm wolnego
ogniem (na przykład świecą).
narażony na wibracje
miejsca.
mechaniczne.
Do czyszczenia telewizora używać
miękkiej, lekko zwilżonej
Dbać, aby nie stawiać na
Przy wyłączaniu przewodu
ściereczki. Nie czyścić telewizora
przewodzie zasilającym ciężkich
zasilającego z gniazdka
benzyną, rozcieńczalnikiem
przedmiotów, ponieważ mogą one
sieciowego chwytać wtyczkę.
ani innymi środkami chemicznymi.
uszkodzić przewód. Zalecamy
Nie rysować ekranu telewizora.
Nie ciągnąć samego przewodu.
nawinięcie nadmiaru przewodu na
Dla bezpieczeństwa, przed
zaczepy znajdujące się z tyłu
czyszczeniem telewizora wyłączyć
telewizora.
go z sieci.
Przed przenoszeniem telewizora
wyłączyć go z sieci. Unikać
Ustawić telewizor na bezpiecznej,
nierównych powierzchni,
stabilnej podstawie. Nie
szybkiego marszu i używania
pozwalać, aby wspinały się na
nadmiernej siły. Jeśli telewizor
niego dzieci. Nie kłaść telewizora
został upuszczony lub uskodzony,
na boku ani ekranem do góry.
natychmiast zlecić jego kontrolę
odpowiednio wykwalifikowanej
osobie z serwisu.
2
Informacje dotyczące bezpieczeństwa
Nie zakrywać otworów
wentylacyjnych na telewizorze
takimi przedmiotami jak zasłony
czy gazety.
07P2PLKV21;14LT1K.fm Page 2 Wednesday, May 16, 2001 12:15 PM

08PLKV21LT1K.fm Page 3 Wednesday, May 16, 2001 12:09 PM
Wprowadzenie
Dziękujemy za wybór telewizora kolorowego Sony z Płaskim Ekranem FD Trinitron.
Przed rozpoczęciem użytkowania telewizora, wskazane jest wnikliwe zapoznanie się z
niniejszą instrukcją obsługi i zachowanie jej do wykorzystania w przyszłości.
• Symbole używane w niniejszej instrukcji obsługi:
• Potencjalne niebezpieczeństwo.
• Ważna informacja.
• Informacja o działaniu.
•1,2... Kolejność realizacji instrukcji.
MENU
• Zaznaczone na pilocie przyciski wskazują przyciski które należy nacisnąć w celu
K
wykonania poszczególnych funkcji.
• Informacja o wyniku operacji.
Spis treści
Informacje dotyczące bezpieczeństwa................................................................................................2
Wprowadzenie ......................................................................................................................................... 3
Opis ogólny
Ogólny przegląd przycisków pilota do zdalnego .............................................................................. 4
Ogólny przegląd przycisków telewizora ............................................................................................. 5
Podłączenie telewizora
Wkładanie baterii do pilota ....................................................................................................................5
PL
Podłączenie przenośnej anteny (tylko dla KV-14LT1K) .................................................................... 6
Podłączenie anteny zewnętrznej i magnetowidu .............................................................................. 6
Pierwsze uruchomienie telewizora
Włączanie telewizora i automatyczne programowanie .................................................................... 7
System menu na ekranie
Wprowadzenie do systemu menu na ekranie.....................................................................................9
Krótki przewodnik po systemie menu ................................................................................................. 9
Telegazeta ........................................................................................................................................ 15
Informacje dodatkowe
Podłączanie dodatkowych urządzeń .................................................................................................16
Zastosowanie dodatkowych urządzeń ............................................................................................. 16
Dane techniczne .................................................................................................................................... 17
Rozwiązywanie problemów ................................................................................................................ 18
Spis treści
3

08PLKV21LT1K.fm Page 4 Wednesday, May 16, 2001 12:09 PM
Ogólny przegląd przycisków pilota do zdalnego
Czasowe wyłączenie telewizora
Wyłączanie dźwięku
Naciśnij go by czasowo wyłączyć telewizor (zostanie
Naciśnij go by wyłączyć dźwięk
wyświetlony wskaźnik trybu czuwania ). Naciśnij go
ponownie by włączyć telewizor pozostający w trybie
Ponownie go naciśnij by włączyć
czuwania (standby).
dźwięk.
Dla oszczędności energii wskazane
Wyświetlanie informacji na ekranie
jest całkowite wyłączenie telewizora
Naciśnij go by wszystkie wskaźniki
gdy się go nie używa.
pojawiły się na ekranie. Ponownie go
Jeśli w ciągu 15 minut nie ma
sygnału telewizyjnego ani też
naciśnij by zniknęły.
nie zostanie naciśnięty żaden
Wybór kanału
przycisk, telewizor
Naciskaj je by wybrać kanał.
1
2
3
automatycznie przełączy się na
tryb czuwania (standby)
W przypadku kanałów o numerze
4
5
6
Wybór sygnału wejściowego
dwucyfrowym, np. 23, naciśnij
7
8
9
Naciskaj go aż symbol żądanego
najpierw -/—, a następnie przyciski
źródła sygnału pojawi się na ekranie.
numeryczne 2 i 3.
0
Powrót do ostatniego wybranego
W przypadku popełnienia pomyłki
MENU
kanału
podczas wprowadzania pierwszej
Naciśnij go by powrócić do
cyfry dokończ operację
poprzednio wybranego kanału
K
wprowadzania drugiej (od 0 do 9 ), a
(uprzednio wybrany kanał powinien
być wcześniej widoczny na ekranie
następnie powtórz całą operację.
przez przynajmniej 5 sekund).
Wybór Trybu TV
Wyświetlanie menu
Naciśnij go by telegazeta zniknęła z
PROGR
Naciśnij go by na ekranie pojawiło
ekranu lub by wyłączyć wejście
się menu funkcji. Naciśnij go
video.
ponownie by usunąć menu z ekranu
i by pojawił się normalny obraz tel-
Wybór telegazety
ewizyjny.
Naciśnij go by telegazeta pojawiła się
RM
887
Przyciski opcji menu
na ekranie.
•Gdy MENU jest na ekranie:
Przejść na wyższy poziom.
Przycisk ten działa wyłącznie w trybie
Przejść na niższy poziom.
telegazety. Funkcja przypisana
S
Przejść do poprzedniego menu
temu przyciskowi nie jest dostępna w
lub poprzedniej opcji .
niniejszym telewizorze.
Przejść do następnego menu
lub następnej opcji.
Wybór trybu obrazu
OK Potwierdzić wybór opcji.
Kilkakrotnie go naciśnij by zmienić
•Gdy MENU nie ma na ekranie:
tryb obrazu.
OK Wyświetla całą listę kanałów.
Regulacja głośności
Wybierz kanał naciskając lub
, a następnie, naciśnij OK by
Naciśnij go by naregulować głośność
oglądać wybrany kanał.
telewizora.
Wybór formatu ekranu
Przycisk ten działa wyłącznie w trybie
Naciśnij go by zmienić format
telegazety. Funkcja przypisana
ekranu: 4:3 dla obrazu
temu przyciskowi nie jest dostępna w
konwencjonalnego lub 16:9 dla
niniejszym telewizorze.
odtworzenia ekranu szerokiego.
Wybór kanałów
Naciśnij go by wybrać poprzedni lub
następny kanał.
Wszystkie przyciski kolorowe służą nie tylko do regulacji telewizora, ale też do obsługi
telegazety. Szersza informacja o ich funkcjach znajduje się w rozdziale «Telegazeta»
niniejszej instrukcji obsługi.
4
Opis ogólny

08PLKV21LT1K.fm Page 5 Wednesday, May 16, 2001 12:09 PM
Ogólny przegląd przycisków telewizora
Przyciski wyboru
następnego lub
poprzedniego
Przycisk
Przyciski
programu (wybór
włączenia
regulacji
stacji
telewizora.
głośności
telewizyjnych)
Należy nacisnąć znak
Przycisk
Wskaźnik
Wyłącznik
z przodu telewizora do
wyboru źródła
trybu
zasilania
góry by zobaczyć
włączony /
wejściowego
czuwania
przednie gniazda
wyłączony
(standby)
Gniazdo do
podłączenia słuchawek
Gniazdo
Gniazdo
wejściowe
wejściowe
PL
video
audio
Wkładanie baterii do pilota
Upewnij się, że baterie umieszczone zostały zgodnie z ich biegunowością.
Szanując środowisko naturalne wyrzucaj zużyte baterie do specjalnie do tego
przeznaczonych pojemników.
Opis ogólny - Podłączenie telewizora
5

Podłączenie przenośnej anteny
(tylko dla KV-14LT1K)
By uzyskać lepszy odbiór obrazu polecamy podłączenie
telewizora do anteny zewnętrznej. Jeśli jednak nie można
skorzystać z zewnętrznej anteny, zaś lokalny sygnał VHF/UHF
jest wystarczająco silny, można podłączyć antenę teleskopową
znajdującą się w wyposażeniu niniejszego telewizora, tak jak
jest to opisane poniżej:
1 Włóż antenę w szparę znajdującą się w górnej części
telewizora tak by usłyszeć «klik».
2 Podłącz kabel anteny do gniazdka w tylnej części
telewizora.
3 Włącz telewizor i ustaw antenę w taki sposób by uzyskać
dobry odbiór obrazu.
Podłączenie anteny zewnętrznej i magnetowidu
PL
Do urządzenia nie załączone są kable do tych podłączeń.
lub
Szersza informacja o podłączaniu video znajduje się
w rozdziale «Podłączanie dodatkowych urządzeń»
niniejszej instrukcji obsługi.
Podłączenie telewizora
6
Podłączenie do złącza
EURO jest fakultatywne.
08PLKV21LT1K.fm Page 6 Wednesday, May 16, 2001 12:09 PM
magnetowid
OUT IN
6



