Sony MPK-WD: Handling the O-ring (continued)
Handling the O-ring (continued): Sony MPK-WD
Table of contents
- What is the O-ring?
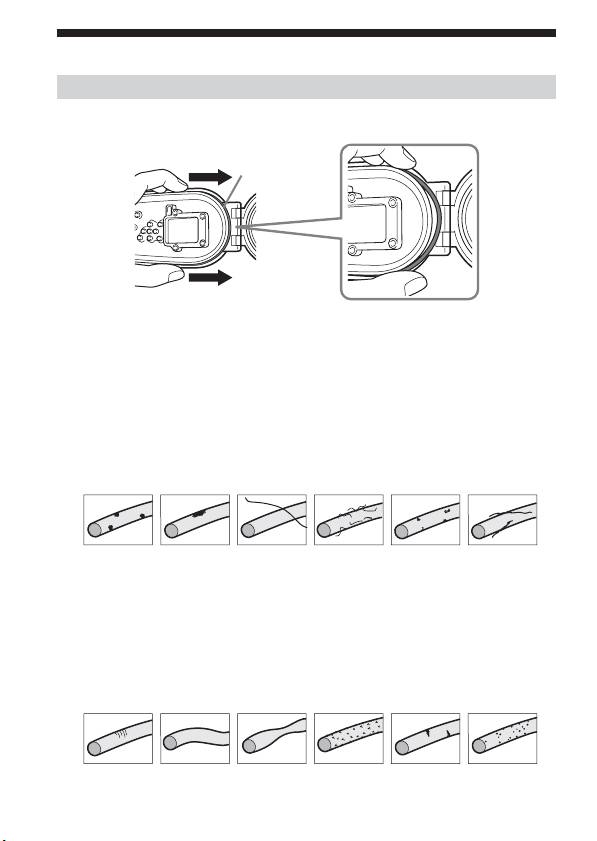
- Handling the O-ring 1 Remove the O-ring. 2 Inspect the O-ring.
- 3 Inspect the O-ring groove. 4 Inspect the contact surface on the other side of the O-ring in the same way. 5 Apply the special grease supplied to the O-ring. 6 Fit the O-ring into the groove of the Marine Pack.
- Handling the O-ring (continued)

Handling the O-ring (continued)
Final check
Check the O-ring again for any dirt, cracks or twisting, etc.
How to check for water leakage
Before installing the equipment, always close the marine pack and
immerse it in water to a depth of about 15 cm for about three minutes to
make sure no water leaks in.
PCAUTION
After taking photos near a sandy sea bottom or placing the camera on the
sand, remove the O-ring and inspect it.
Be sure to take a spare O-ring with you.
You can replace the fitted O-ring on location if
something goes wrong with it.
O-ring life
Replace each O-ring with a new one after one year of use.
Even if the O-ring is not cracked or scratched, deformation or wear
reduces its waterproof qualities.
4-GB

Français
* Votre caisson marin n’a pas forcément le même aspect que celui qui est
représenté sur les illustrations.
Qu’est-ce qu’un joint torique ?
Le joint torique est important car c’est lui qui garantit l’étanchéité du
caisson étanche et de l’appareil qu’il contient.
Joint torique
L’entretien du joint torique est donc très
important. Si vous ne suivez pas les consignes
d’entretien du joint torique, de l’eau peut
s’infiltrer dans le caisson étanche, qui risque alors
de tomber.
1-FR

Maniement du joint torique
Insérez le joint torique
Evitez de poser le joint torique à des endroits poussiéreux ou sableux.
1 Enlevez le joint torique.
Joint
torique
Pour retirer le joint torique, appuyez légèrement dessus et poussez-le dans
le sens de la flèche, comme indiqué sur l’illustration. Le joint torique est
suffisamment lâche pour pouvoir être enlevé facilement. Attention de ne
pas l’érafler avec les ongles.
2 Contrôlez le joint torique.
• Contrôlez bien le joint torique et essuyez-le avec un chiffon doux ou du
papier soie.
– Assurez-vous de l’absence de saleté, grains de sable, cheveux,
poussière, sel, fibres, etc.
– Assurez-vous de l’absence de vieille graisse.
v Saleté v Sable v Cheveu
v Poussière
v Sel v Fibres
• Passez le bout du doigt sur le joint torique pour vous assurer de
l’absence de saleté imperceptible.
• Après avoir essuyé le joint torique, assurez-vous qu’il ne reste pas de
fibres du chiffon ou du papier soie.
• Vérifiez si le joint torique n’est pas craquelé, tordu, déformé, fissuré
finement, rayé ou imprégné de sable. Remplacez-le par un neuf s’il est
craquelé ou fissuré.
v Fissures v Torsion
v Déformation
v Fentes
v Rayures
v Pénétration
fines
de sable
2-FR

3 Contrôlez bien la rainure du joint torique.
Eliminez soigneusement tous les grains de sable ou le sel durci ayant
pénétré dans la rainure.
4 De la même manière, contrôlez l’autre surface du joint
torique.
5 Appliquez la graisse spéciale fournie sur le joint torique.
• Mettez une petite goutte de graisse sur le doigt et répartissez-la sur tout
le joint avec le bout du doigt.
• Le joint torique doit toujours être recouvert d’une fine couche de graisse.
La graisse le protège, en particulier contre l’usure.
Graisse
Utilisez la graisse fournie uniquement. Tout autre type de graisse peut
endommager le joint torique et entraîner des infiltrations d’eau.
6 Insérez le joint torique dans la rainure du caisson étanche.
Insérez le joint torique en prêtant attention aux points suivants:
– Le joint doit être absolument propre.
– Le joint torique ne doit pas être tordu ou dépasser.
– Le joint torique ne doit pas être tiré.
Mauvais Bon
3-FR

Maniement du joint torique (suite)
Contrôle final
Vérifiez de nouveau le joint torique pour vous assurer qu’il n’est pas sale,
craquelé, tordu, etc.
Vérification de l’étanchéité du joint torique
Avant d’installer l’appareil, fermez toujours le caisson étanche et
immergez-le trois minutes environ dans l’eau, à une profondeur de 15 cm
environ, pour vous assurer que l’eau ne s’infiltre pas.
PATTENTION
Si vous avez pris des photos sur un fond marin sableux ou mis le caisson
sur le sable, sortez le joint torique et contralez-le.
Emportez toujours un joint de rechange.
Vous pourrez facilement le changer en cas de
problèmes lors de la prise de vues.
Durée de vie d’un joint torique
Remplacez le joint par un neuf après un an d’utilisation.
Même s’il n’est pas craquelé ou rayé, le joint se déforme et s’use, ce qui
réduit son étanchéité.
4-FR

Deutsch
* Die Abbildungen in der Anleitung zeigen möglicherweise nicht Ihr
Unterwassergehäuse-Modell.
Was ist ein O-Ring?
Beim Unterwassergehäuse gewährleistet der O-Ring einen wasserdichten
Abschluss.
O-Ring
Besonders wichtig: Regelmäßige Wartung des
O-Rings. Beachten Sie die Wartungsangaben in der
Anleitung. Ansonsten besteht die Gefahr, dass
Wasser eindringt und das Unterwassergehäuse
sinkt.
1-DE

Handhabung des O-Rings
Darauf achten, dass der O-Ring richtig sitzt
Setzen Sie den O-Ring nicht an einem staubigen oder sandigen Ort ein.
1 Den O-Ring herausnehmen.
O-ring
Zum Herausnehmen des O-Rings drücken Sie leicht, wie in der Abbildung
gezeigt, und ziehen Sie ihn dann in Pfeilrichtung heraus. Der O-Ring sitzt
relativ locker, so dass er leicht herausgenommen werden kann.
2 Den O-Ring kontrollieren.
• Wischen Sie den O-Ring mit einem weichen Tuch oder einem
Papiertaschentuch sauber, und kontrollieren Sie Folgendes:
– Schmutzpartikel, Sand, Haare, Staub, Salz, Fasern usw. dürfen nicht
vorhanden sein.
– Altes Fett darf nicht vorhanden sein.
v Schmutz v Sand v Haar v Staub v Salz v Fasern
• Lassen Sie Ihre Fingerspitzen vorsichtigüber den O-Ring gleiten, um
nicht sichtbare Schmutzpartikel aufzuspüren.
• Nachdem Sie den O-Ring abgewischt haben, vergewissern Sie sich
nochmals, dass keine Fasern oder Papierreste auf dem O-Ring
zurückgeblieben sind.
• Vergewissern Sie sich, dass der O-Ring nicht eingerissen, verdreht oder
verzogen ist, und keine Absplitterungen, Kratzer oder Sandeinschlüsse
aufweist. Wenn er eingerissen ist oder Kratzspuren aufweist, wechseln
Sie ihn aus.
v Risse
v Verbogen
v Verzogen
v
v Einkerbungen
v
Absplitterungen
Sandeinschlüsse
2-DE

3 Die O-Ring-Nut überprüfen.
Entfernen Sie sorgfältig alle Sand- oder getrockneten Salzkörnchen, die in
die Nut gelangt sind.
4 Die anderen Kontaktfläche, auf der der O-Ring aufliegt,
kontrollieren.
5 Den O-Ring mit dem mitgelieferten Spezialfett einfetten.
• Fetten Sie den ganzen O-Ring leicht mit einem Tropfen Fett mit Ihren
Fingern ein, wie in der Abbildung gezeigt.
• Der ganze O-Ring muss stets leicht eingefettet sein. Das Fett schützt den
O-Ring und gewährleistet eine lange Lebensdauer.
Fett
Verwenden Sie ausschließlich das mitgelieferte Fett. Bei anderen Arten
von Fett wird der O-Ring beschädigt und Wasser kann eindringen.
6 Den O-Rings in die Nut des Unterwassergehäuses einsetzen.
Setzen Sie den O-Ring gleichmäßig unter Beachtung der folgenden Punkte
in die Nut ein:
– Es darf sich kein Schmutz auf dem O-Ring befinden.
– Der O-Ring darf nicht verdreht sein und nicht hervorstehen.
– Ziehen Sie nicht am O-Ring.
Falsch Richtig
3-DE

Handhabung des O-Rings (Fortsetzung)
Endkontrolle
Vergewissern Sie sich nochmals, dass der O-Ring nicht verschmutzt,
eingerissen oder verdreht ist usw.
Überprüfen auf wasserdichten Abschluss
Vor dem Einsetzen des Geräts schließen Sie das Unterwassergehäuse
immer und tauchen es bis in eine Tiefe von etwa 15 cm ungefähr drei
Minuten lang in Wasser ein und vergewissern sich, dass kein Wasser
eindringt.
PVORSICHT
Nachdem Sie Bilder auf sandigem Meeresboden aufgenommen oder das
Gehäuse in den Sand gelegt haben, nehmen Sie den O-Ring heraus und
überprüfen Sie ihn.
Halten Sie einen Ersatz-O-Ring bereit.
Wenn beim Aufnehmen Probleme auftreten,
wechseln Sie den O-Ring aus.
Hinweis zur Lebensdauer des O-Rings
Wechseln Sie den O-Ring nach einer Betriebszeit von einem Jahr aus.
Ein älterer O-Ring kann sich verformt haben und nicht mehr richtig
dichten, selbst wenn er keine Risse oder Einkerbungen aufweist.
4-DE

Italiano
* La custodia subacquea utilizzata può differire da quella mostrata nelle
illustrazioni.
Che cosa è una guarnizione toroidale?
La guarnizione toroidale agisce in modo da preservare l’impermeabilità
della custodia subacquea e di altre attrezzature.
Guarnizione
toroidale
La manutenzione della guarnizione toroidale è
molto importante. Se la manutenzione della
guarnizione toroidale non viene eseguita secondo
le istruzioni, possono essere causate infiltrazioni
d’acqua che potrebbero far affondare la custodia
subacquea.
1-IT

Maneggio della guarnizione toroidale
Collocare la guarnizione toroidale in posizione
Evitare di collocare la guarnizione toroidale in luoghi con polvere o sabbia.
1 Rimuovere la guarnizione toroidale.
Guarnizione
toroidale
Per rimuovere la guarnizione toroidale, premerla leggermente e farla
scorrere in direzione della freccia come illustrato. La guarnizione toroidale
è abbastanza lenta da poter rimossa facilmente. Fare attenzione a non
graffiare la guarnizione toroidale con le unghie.
2 Ispezionare la guarnizione toroidale.
• Controllare bene quanto segue e pulire con un panno morbido o un
fazzoletto di carta.
– Sono presenti sporco, sabbia, capelli, polvere, sale, pelucchi, ecc.
–È rimasto lubrificante vecchio sulla guarnizione toroidale?
v Sporco v Sabbia v Capelli v Polvere v Sale
v Pelucchi
•Far passare leggermente un dito lungo la guarnizione toroidale per
controllare che non sia presente sporco non visibile.
• Dopo aver pulito la guarnizione toroidale, fare attenzione ad evitare che
fibre del panno o del fazzoletto di carta rimangano sulla superficie della
guarnizione toroidale.
• Controllare che la guarnizione toroidale non presenti incrinature,
storture, distorsioni, crepe sottili, graffi, penetrazioni di sabbia, ecc.
Sostituire la guarnizione toroidale se è incrinata o graffiata.
v Incrinature
v Storture
v Distorsioni
v Crepe
v Graffi
v Penetrazioni
sottili
di sabbia
2-IT

3 Ispezionare la scanalatura per la guarnizione toroidale.
Rimuovere accuratamente eventuali granelli di sabbia o accumuli di sale
penetrati nella scanalatura.
4 Inoltre, ispezionare la superficie di contatto sull’altro lato
della guarnizione toroidale nello stesso modo.
5 Applicare l’apposito lubrificante in dotazione alla guarnizione
toroidale.
• Usare la punta delle dita per coprire leggermente l’intera superficie della
guarnizione toroidale con una piccola goccia di grasso, come illustrato
sopra.
• Assicurarsi che un sottile strato di lubrificante sia sempre applicato alla
guarnizione toroidale. Il lubrificante protegge la guarnizione toroidale e
ne previene l’usura.
Lubrificante
Utilizzare esclusivamente il lubrificante in dotazione. Altri tipi di
lubrificante potrebbero danneggiare la guarnizione toroidale causando
infiltrazioni d’acqua.
6 Collocare la guarnizione toroidale nella scanalatura della
custodia subacquea.
Disporre attentamente la guarnizione toroidale nella scanalatura facendo
attenzione a quanto segue:
– Controllare che non ci sia sporco sulla
guarnizione toroidale.
– Controllare che la guarnizione toroidale
non sia contorta o che non sporga.
– Non tirare guarnizione toroidale.
Cattivo esempio Buon esempio
3-IT

Maneggio della guarnizione toroidale
(continuazione)
Controllo finale
Controllare di nuovo la guarnizione toroidale accertandosi che non
presenti sporcizia, incrinature o distorsioni e così via.
Per controllare se ci sono infiltrazioni d’acqua
Prima di installare l’apparecchio, chiudere sempre la custodia subacquea e
immergerla in acqua per circa tre minuti ad una profondità di circa 15 cm
per accertarsi che non si verifichino infiltrazioni d’acqua.
PCAUTELA
Quando si sono scattate foto su un fondale marino sabbioso o si è
appoggiata la fotocamera sulla sabbia, rimuovere la guarnizione toroidale
e ispezionarla.
Assicurarsi di avere una guarnizione toroidale di
scorta.
Questo facilita la sostituzione se si verificano
problemi alla guarnizione toroidale durante
un’escursione.
Durata della guarnizione toroidale
Sostituire la guarnizione toroidale con un’altra nuova dopo un anno di
impiego.
Anche se la guarnizione toroidale non è incrinata o graffiata, deformazioni
e usura riducono le qualità impermeabilizzanti della guarnizione toroidale.
4-IT

Nederlands
* Het Marine Pack onderwater-camerahuis dat u gebruikt zal niet in alle
gevallen precies lijken op dat in de afbeeldingen.
Wat is een O-ring?
De O-ring zorgt voor een waterdichte afsluiting van het Marine Pack
onderwater-camerahuis en andere apparatuur.
O-ring
Zorgvuldig onderhoud van de O-ring is zeer belangrijk.
Als het onderhoud niet naar behoren wordt verricht,
kan er water in het Marine Pack onderwater-
camerahuis binnenlekken, zodat het zou kunnen
zinken.
1-NL

Juiste omgang met de O-ring
Aanbrengen van de O-ring
Verricht het aanbrengen van de O-ring nooit in het zand of op een stoffig
oppervlak.
1 Verwijder de O-ring.
O-ring
Om de O-ring te verwijderen, drukt u deze licht samen en schuift u hem in
de richting van de pijl zoals de afbeelding toont. De O-ring heeft
voldoende speling om hem op deze wijze gemakkelijk te kunnen
verwijderen. Pas op dat u de O-ring hierbij niet met uw nagels beschadigt.
2 Inspecteer de O-ring.
• Let op de volgende dingen en veeg alle ongerechtigheden weg met een
tissue of zacht doekje.
– Controleer op aanklevend vuil, stof, zand, haartjes, draden, pluisjes e.d.
– Controleer of er nog oude vetresten aankoeken.
v Vuil v Zand v Haren v Stof v
Zoutresten
v
Draadjes
• Ga met de vingertoppen de O-ring langs om ook minder goed zichtbare
vuilresten op te sporen.
• Let bij het schoonmaken op dat er geen vezels van de tissue of draadjes
van de doek op de O-ring achterblijven.
• Inspecteer de O-ring op wringing, vervorming, krassen, barstjes of
scheurtjes. Vervang de O-ring als die beschadigd is.
v
Haarscheurtjes
v
v
Vervorming
v Barstjes v
Scheuren
v
Zandkrassen
Wringing
2-NL

3 Inspecteer de groef voor de O-ring.
Verwijder zorgvuldig eventuele korreltjes zand of opgedroogd zout die in
de groef zijn terechtgekomen.
4 Inspecteer ook de contactrand van het andere deel van het
onderwaterhuis dat tegen de O-ring aan sluit.
5 Vet de O-ring in met een laagje van het speciale smeervet dat
is bijgeleverd.
• Breng een druppeltje smeervet op de O-ring aan en wrijf het over de
gehele O-ring uit met uw vinger zoals hierboven getoond.
• Controleer voor het gebruik altijd even of de O-ring niet te droog is,
maar voldoende is ingevet. Het smeervet beschermt de O-ring en
voorkomt slijtage.
Smeervet
Gebruik alleen het bijgeleverde smeervet. Andere soorten smeervet
kunnen de O-ring beschadigen en waterlekkage veroorzaken.
6 Leg de O-ring in de groef van het Marine Pack onderwater-
camerahuis.
Plaats de O-ring gelijkmatig in de groef en let daarbij op de volgende
punten:
– Kleeft er geen vuil aan de O-ring?
– Controleer of de O-ring niet gedraaid is
of uitsteekt.
– Wordt de O-ring niet scheef getrokken?
Onjuist aangebracht Juist aangebracht
3-NL

Juiste omgang met de O-ring (vervolg)
Eindcontrole
Controleer de O-ring nogmaals op vuil en scheurtjes en controleer
nogmaals of deze is gedraaid.
Controleren op waterlekkage
Voordat u de apparatuur plaatst, moet u het onderwater-camerahuis altijd
sluiten en het ongeveer drie minuten zo’n 15 cm onder water plaatsen om
te controleren of er nergens water naar binnen lekt.
PVOORZICHTING
Nadat u opnamen hebt gemaakt bij een zanderige zeebodem of als u het
onderwaterhuis ergens in het zand hebt geplaatst, verwijdert u de O-ring
voor inspectie en controleer het onderwaterhuis zorgvuldig op lekkage.
Zorg dat u altijd een reserve O-ring bij de hand
hebt.
Als er tijdens het opnemen iets mis zou gaan met
de O-ring, is het handig als u die vlot kunt
vervangen.
Levensduur van een O-ring
Vervang elke O-ring door een nieuwe na een jaar gebruik.
Ook al lijkt de O-ring in goede staat, zonder krassen of barsten, toch kan
geleidelijke slijtage of vervorming de waterdichtheid van de O-ring
aantasten.
4-NL

Español
* El portacámara subacuático que está utilizando usted puede no ser
necesariamente el mostrado en las ilustraciones.
¿Qué es una junta tórica?
La junta tórica actúa para preservar la impermeabilidad del portacámara
subacuático y otros equipos.
Junta tórica
El mantenimiento de la junta tórica es muy
importante. Si no realizase el mantenimiento de la
junta tórica de acuerdo con las instrucciones,
podría infiltrarse agua, y hacer que se sumergiese
el portacámara subacuático.
1-ES

Manejo de la junta tórica
Colocación de la junta tórica
Evite colocar la junta tórica en lugares polvorientos o con arena.
1 Retire la junta tórica.
Junta
tórica
Para retirar la junta tórica, presiónela ligeramente y deslícela en el sentido
de la flecha, como se muestra en la ilustración. La junta tórica tiene holgura
suficiente como para poder retirarse fácilmente. Tenga cuidado de no rayar
la junta tórica con sus uñas.
2 Inspeccione la junta tórica.
• Compruebe completamente lo siguiente, y frote con un paño suave o con
un pañuelo de papel.
– ¿Hay suciedad, arena, pelos, polvo, sal, rajas retorcidas, etc. En la junta
tórica?
– ¿Hay grasa vieja en la junta tórica?
v
Suciedad
v Arena v Pelo v Polvo v Sal v
Rajas
retorcidas
• Pase la punta de un dedo alrededor de la junta tórica para comprobar si
hay cualquier suciedad no aparente.
• Después de frotar la junta tórica, tenga cuidado para evitar que no
queden en ella algodón ni fibras de papel.
• Compruebe que la junta tórica no esté rayada, rajada, retorcida,
distorsionada, con inclusión de arena, etc. Si lo está, reemplácela.
v
Rajamiento
v
Sesgamiento
v
Distorsión
v Fisión
v Rajas v
Inclusión
fina
de arena
2-ES

3 Inspeccione la ranura de la junta tórica.
Elimine cuidadosamente los granos de arena o sal que se hayan
introducido en la ranura.
4 Inspeccione la superficie de contacto del otro lado de la junta
tórica de la misma forma.
5 Aplique la grasa especial suministrada a la junta tórica.
• Aplique una pequeña gota de grasa a la junta tórica y unte
uniformemente toda su superficie con un dedo como se muestra en la
ilustración de arriba.
• Cerciórese de que la junta tórica tenga en todo momento una fina capa de
grasa. La grasa protegerá la junta tórica y evitará que se desgaste.
Grasa
Utilice únicamente la grasa suministrada. El uso de otros tipos de grasa
dañará la junta tórica y provocará la infiltración de agua.
6 Coloque la junta tórica en la ranura del portacámara
subacuático.
Coloque uniformemente la junta tórica en su ranura teniendo en cuenta los
puntos siguientes:
– Compruebe que no haya suciedad en la junta
tórica.
– Compruebe que la junta tórica no esté
retorcida ni sobresalga.
– No tire de la junta tórica.
Mal ejemplo Buen ejemplo
3-ES

Manejo de la junta tórica (continuación)
Comprobación final
Compruebe de nuevo que la junta tórica no tenga suciedad, rajas, que no
esté torcida, etc.
Forma de comprobar la infiltración de agua
Antes de instalar el equipo, cierre siempre el portacámara subacuático y
sumérjalo en agua a una profundidad de aproximadamente 15 cm durante
unos tres minutos para asegurarse de que no haya infiltración de agua.
PPRECAUCIÓN
Después de tomar fotos en un fondo de mar arenoso, o de haber dejado la
cámara sobre la arena, retire la junta tórica e inspecciónela.
Cerciórese de llevar consigo una junta tórica de
repuesto.
Esto facilitará el reemplazo en caso de tener
problemas con la junta tórica en el sitio.
Duración de las juntas tóricas
Reemplace la junta tórica por otra nueva después de haberla utilizado
durante un año.
Aunque la junta tórica no esté rayada ni rajada, la deformación o el
desgaste reducirá su cualidad de impermeabilización.
4-ES

Português
*A sua Embalagem Marinha pode não ser exactamente igual à
exemplificada nas ilustrações.
O que é um anel de vedação?
O anel de vedação actua de maneira a preservar as qualidades de
resistência à água da Embalagem Marinha e de outros equipamentos.
Anel de
vedação
A manutenção do anel de vedação é muito
importante. Se a manutenção do anel de vedação
não for efectuada de acordo com as instruções,
poderá causar infiltrações de água e resultar em
afundamento da embalagem marinha.
1-PT

Manuseamento do anel de vedação
Instale o anel de vedação no devido lugar
Evite ajustar o anel de vedação em locais com sujidade ou arenosos.
1 Remova o anel de vedação.
Anel de
vedação
Para remover o anel de vedação, pressione-o levemente e deslize-o na
direcção da seta, conforme a ilustração. O anel de vedação é
suficientemente flexível para ser removido facilmente. Tome cuidado para
não arranhar o anel com a unha.
2 Inspeccione o anel de vedação.
• Verifique cuidadosamente os pontos a seguir, e limpe o anel de vedação
com um pano macio ou lenço de papel.
– Verifique se há alguma sujidade, grão de areia, cabelo, poeira, sal,
fiapos de linha, etc.
– Verifique se há vestígios de lubrificante antigo.
v Sujidade v Areia v Cabelo v Poeira v Sal
v
Fiapos
de linha
• Corra levemente a ponta do seu dedo em torno do anel de vedação para
verificar se há alguma sujidade inaparente.
• Após limpar o anel de vedação, preste atenção para que nenhuma fibra
de tecido ou de lenço de papel reste no anel de vedação.
• Verifique se há rachaduras, assimetrias, distorções, fendas finas,
arranhões, impregnações de areia, etc. no anel de vedação. Substitua
anéis de vedação rachados ou arranhados.
v
Rachaduras
v
Assimetrias
v
Distorções
v Fendas
v
Arranhões
v
Impregnações
finas
de areia
2-PT

3 Inspeccione a ranhura do anel de vedação.
Retire com cuidado todos os grãos de areia ou sal grosso que se encontrem
na ranhura.
4 Inspeccione também a superfície de contacto no outro lado do
anel de vedação da mesma maneira.
5 Aplique o lubrificante especial fornecido com o anel de
vedação.
• Aplique uma pequena gota de lubrificante no anel de vedação e espalhe-
a homogeneamente por toda a superfície do anel com a ponta do seu
dedo, conforme a ilustração acima.
• Certifique-se de que uma fina camada de lubrificante esteja sempre
aplicada na superfície do anel de vedação. O lubrificante protege o anel
de vedação e evita o seu desgaste.
Lubrificante
Utilize apenas o lubrificante fornecido. Se utilizar outros tipos de
lubrificante pode danificar o anel de vedação e provocar a infiltrações
da água.
6 Instale o anel de vedação na ranhura da Embalagem Marinha.
Encaixe o anel de vedação por igual na sua ranhura, prestando atenção nos
seguintes pontos:
– Há alguma sujidade no anel de
vedação?
– Verifique se o anel de vedação não
está torcido ou saliente.
– Não estique o anel de vedação.
Exemplo incorrecto Exemplo correcto
3-PT

Manuseamento do anel de vedação
(continuação)
Inspecção final
Volte a verificar se o anel de vedação está sujo, tem rachas, deformações,
etc.
Como verificar se há infiltrações de água
Antes de instalar o equipamento, feche sempre a embalagem marinha,
mergulhe-a em água a uma profundidade de 15 cm, durante cerca de 3
minutos, e verifique se não há infiltrações de água.
PATENÇÃO
Quando tiver tirado fotos no fundo de um mar arenoso ou tiver colocado a
câmara sobre a areia, remova o anel de vedação e efectue uma inspecção.
Assegure-se de levar consigo um anel de vedação
reserva para facilitar substituições quando ocorrer
algum problema com o anel instalado.
Vida útil do anel de vedação
Substitua o anel de vedação por um novo após um ano de utilização.
Mesmo que o anel de vedação não esteja rachado ou arranhado,
deformações ou desgastes reduzem as qualidades de resistência à água do
anel de vedação.
4-PT

Svenska
* Det undervattenshus som du använder behöver inte nödvändigtvis vara
det som visas i illustrationerna.
Vad är en O-ring?
O-ringen är till för att bevara vattentätheten hos undervattenshuset och
annan utrustning.
O-ring
Det är mycket viktigt att underhålla O-ringen. Om
O-ringen inte underhålls korrekt enligt de
anvisningar som ges kan vattenläckage uppstå
vilket kan resultera i att undervattenshuset
sjunker.
1-SE

Hantering av O-ringen
Sätt O-ringen på plats
Undvik att sätta i O-ringen på en plats med damm eller sand.
1 Ta bort O-ringen.
O-ring
För att ta bort O-ringen, tryck in den något och skjut den i pilens riktning
såsom visas i illustrationen. O-ringen har tillräckligt med slakhet för att det
ska vara lätt att ta bort den. Var försiktig så att du inte repar O-ringen med
naglarna.
2 Undersök O-ringen.
• Kontrollera noggrant följande och torka av O-ringen med en mjuk
tygtrasa eller pappersnäsduk.
– Kontrollera förekomsten av smuts, sandkorn, hårstrån, damm, salt,
fiberrester etc.
– Kontrollera förekomsten av gammalt fett.
v Smuts v Sand v
Hårstrån
v Damm v Salt v
Fiberrester
• Känn med ett finger runt O-ringen för att kontrollera förekomsten av
osynlig smuts.
• Var efter torkning av O-ringen noga med att inga fibrer från tygtrasan
eller pappersnäsduken blir kvar på O-ringen.
• Kontrollera förekomsten av sprickor, skevhet, förvridning, småsprickor,
repor, intryckta sandkorn etc. hos O-ringen. O-ringar med sprickor eller
repor skall bytas ut.
v Sprickor v Skevhet v
Förvridning
v
Småsprickor
v Repor
v
Intryckta
sandkorn
2-SE

3 Undersök O-ringens spår.
Plocka försiktigt bort sandkorn och eventuella saltkristaller från spåret.
4 Undersök kontaktytan på O-ringens andra sida på samma sätt
som ovan.
5 Stryk ett lager med det medföljande specialfettet på O-ringen.
• Applicera en liten droppe fett och använd fingerspetsarna för att stryka
ut ett tunt lager över hela O-ringen, såsom visas ovan.
• Se till att O-ringens yta alltid är täckt med ett tunt lager fett. Fettet
skyddar O-ringen och förhindrar slitage.
Fett
Använd bara det medföljande fettet. Fett från andra tillverkare skadar
O-ringen, vilket leder till vattenläckage.
6 Placera O-ringen i spåret i undervattenshuset.
Sätt i O-ringen jämnt i spåret och kontrollera samtidigt följande punkter:
– Förekommer smuts på O-ringen?
– Kontrollera att O-ringen inte ligger vriden eller sticker ut någonstans.
– Dra inte i O-ringen!
Fel sätt Rätt sätt
3-SE

Hantering av O-ringen (forts.)
Slutkontroll
Kontrollera igen att O-ringen är fri från smuts och sprickor och att den
ligger som den ska utan att vara vriden.
Kontroll av vattenläckage
Innan du sätter i någon utrustning i undervattenshuset bör du stänga det
och sänka ned det ungefär 15 cm under vattenytan under ungefär tre
minuter så att du är säker på att inget vatten läcker in.
POBSERVERA!
Ta ur O-ringen och kontrollera den, när fotografering skett nära en
sandbotten eller när kameran placerats på sanden.
Ta alltid med en extra O-ring.
Du kan byta ut den isatta O-ringen på plats om det
skulle bli något fel på den.
Angående O-ringens livslängd
Byt ut O-ringen mot en ny efter ett års användning.
Även om O-ringen inte är sprucken eller repad, så försämras O-ringens
vattentätande egenskaper genom naturlig deformering och slitage.
4-SE

Русский
* Приобретенный вами морской футляр может отличаться от
иллюстрированного ниже изделия.
Что такое уплотнительное кольцо?
Уплотнительное кольцо обеспечивает водонепроницаемость морского
футляра и других аппаратов.
Уплотнительное
кольцо
Техническое обслуживание уплотнительного кольца является
очень важным. Если техническое обслуживание уплотнительного
кольца не выполняется согласно инструкциям, то это может
вызвать утечку воды, и в результате этого морской футляр
может затопиться.
1-RU

Уход за уплотнительным кольцом
Посадка уплотнительного кольца
Избежайте посадки уплотнительного кольца в запыленном или песчаном
месте.
1 Удалите уплотнительное кольцо.
Уплотнительное
кольцо
Для удаления уплотнительного кольца, прижимая его слегка, переместите
его в направлении стрелки, как показано ниже. Уплотнительное кольцо
имеет достаточный люфт, чтобы могли удалить его без труда. Будьте
осторожны, чтобы не царапать кольцо ногтями.
2 Проверьте уплотнительное кольцо.
• Тщательно проверяйте, не попали ли приведенные ниже посторонние
тела на поверхность кольца. При обнаружении посторонних тел
вытирайте кольцо мягкой тряпкой или гигиенической бумагой.
– Грязь, песчинка, волосок, пыль, соль, ниточные обрезки и др.
– Постаревщая консистентная смазка.
v Грязь v
Песчинка
v
Волосок
v Пыль v Соль
v
Ниточные
обрезки
• Слегка касаясь вашим пальцем по уплотнительному кольцу, проверьте
неявную грязь.
• После вытирания уплотнительного кольца надо убедиться, что
волоконца тряпки или гигиенической бумаги не остались на кольце.
2-RU

• Проверьте уплотнительное кольцо на отсутствие трещин, перекручения,
искажения, мелкого растрескивания, царапин, песчаных включений и
т.п. При обнаружении трещин или царапин необходимо заменить кольцо
на новое.
v
Трещины
v
v
Искажение
v
Мелкое
v
Царапины
v
Песчаные
Перекручение
растрескивание
включения
3 Проверьте канавку под уплотнительное кольцо.
Тшательно удалите все песчинки и затвердевшие соли, попавшие внутрь
канавки под кольцо.
4 Проверьте контактную поверхность с другой стороны
уплотнительного кольца в одном и том же порядке.
5 Нанесите специальную смазку на уплотнительное кольцо.
• Нанесите тонкий слой из капли густой смазки равномерно на всю
поверхность уплотнительного кольца, как иллюстрировано выше.
• Убедитесь, что тонкий слой густой смазки всегда нанесен на
поверхность уплотнительного кольца. Смазка защищает уплотнительное
кольцо, что предохраняет его от изнашивания.
Густая смазка
Применяйте только поставляемую с кольцом смазку. Применение
других марок смазки может повредить кольцо, что может вызывать
утечку воды через кольцо.
3-RU

Уход за уплотнительным кольцом (Продолжение)
6 Посадите уплотнительное кольцо в канавку морского футляра.
Посадите кольцо равномерно в канавку футляра, обращая внимание на
следующие:
– убедиться, что отсутствуют загрязнения кольца.
– убедиться, что кольцо не скручено и не
выступлено из канавки.
– не допускать растягивание кольца.
Плохо Хорошо
Окончательная проверка
Проверьте кольцо снова на отсутствие грязи, трещин, скрутки и др.
дефектов.
Как проверить на утечку воды
Перед укладкой аппарата обязательно надо закрыть морской футляр,
погрузить футляр в воду примерно три минуты на глубине около 15 см и
проверить на отсутмствие утечки воды.
PВНИМАНИЕ !
После фотосъемки на песчанистом морском дне или эксплуатации
аппарата в поставленном на песок состоянии надо удалить
уплотнительное кольцо и проверить на утечку воды.
Необходимо хранить запасное уплотнительное
кольцо у вас.
Это удобно для своевременного замены
уплотнительного кольца при возникновении его
неисправности во время фотосъемки.
Годность уплотнительного кольца
Замените уплотнительное кольцо на новое через один год работы.
Даже если в уплотнительном кольце не имеются трещины или царапины,
деформация или изнашивание может ухудшить его эффективность
водонепроницаемости.
4-RU

中文(繁)
* 您所使用的Marine Pack(潛水包)不必是插圖中的潛水包。
什麼是 O 形環?
O 形環用於確保 Marine Pack(潛水包)或其他設備的防水性能。
O形環
O形環的保養非常重要。如果沒有按照說明對O形環進行保養,
可能會導致漏水,而使 Marine Pack 變得會下沉。
1-CT

O 形環的使用
安裝 O 形環
應避免在有灰塵或沙子的地方安裝 O 形環。
1 取下 O 形環。
O形環
要取下O形環,可輕輕按壓O形環,然後按圖示的箭頭方向滑動O形環。 O形
環有足夠的鬆弛度,可以很容易將其取下。小心不要用指甲刮擦 O 形環。
2 檢查 O 形環。
• 請仔細檢查以下各項。如果發現存在以下情況,應用軟布或棉紙將其擦拭乾
淨。
–
O 形環上是否有汙垢、砂粒、毛髮、灰塵、鹽垢、線屑等物?
–
O 形環上是否殘留舊的潤滑脂?
v 汙垢 v 砂粒 v 毛髮 v 灰塵 v 鹽垢
v
線屑
• 用指尖沿著 O 形環周圍輕輕滑動,檢查其是否沾有看不見的汙垢。
• 應小心不要在擦拭之後將布或棉紙纖維留在 O 形環上。
• 檢查O形環是否有裂痕、扭曲、變形、細微裂痕、刮痕、粘著砂粒等情況。
如果 O 形環裂痕或刮傷,應予以更換。
v
裂痕 v 扭曲 v
變形 v 細微
v
刮痕 v
粘著
裂痕
砂粒
2-CT

3 檢查 O 形環的凹溝。
小心地將凹溝中的砂粒或凝固鹽清除乾淨。
4 用同樣的方法檢查 O 形環的另一接觸面。
5 在O形環上塗一層附帶的專用潤滑脂。
• 如上圖所示,用指尖蘸一小滴潤滑脂,在 O 形環的整個表面薄薄地塗上一
層。
• 務必使 O 形環的表面始終保持一層薄薄的潤滑脂,因為潤滑脂可保護 O 形
環,並可防止其磨損。
潤滑脂
務必使用附帶的潤滑脂。使用其他類型的潤滑脂會損壞 O 形環並引起漏
水。
6 將O形環裝入 Marine Pack(潛水包)的凹溝中。
將O形環均勻地裝入 Marine Pack 的凹溝時,應注意以下幾點︰
–
檢查 O 形環上是否有汙垢。
–
檢查 O 形環,應無扭曲或凸出現象。
–
不可拽拉 O 形環。
錯誤 正確
3-CT

O 形環的使用(續)
最後的檢查
再次檢查 O 形環是否存在污垢、裂痕或扭曲等問題。
如何檢查漏水
安裝設備前,務必關閉潛水包。將其浸入約15厘米深的水中3分鐘左右,確
認無漏水現象。
P 注意
在沙石海底拍過照片或將照相機在沙地上放置過後,應取下O形環進行檢查。
務必隨身攜帶一個備用的 O 形環。
這樣萬一 O 形環出現問題時可以更換。
O 形環的使用壽命
O 形環使用一年後,應更換新環。
即使 O 形環沒有裂痕或刮痕,變形或磨損也會降低其防水性能。
4-CT

中文(简)
* 您所使用的Marine Pack(潜水包)不必是插图中的潜水包。
什么是 O 形环?
O 形环用于确保 Marine Pack(潜水包)或其他设备的防水性能。
O形环
O形环的保养非常重要。如果没有按照说明对O形环进行保养,
可能会导致漏水,而使 Marine Pack 变得会下沉。
1-CS

O 形环的使用
安装 O 形环
应避免在有灰尘或沙子的地方安装 O 形环。
1 取下 O 形环。
O形环
要取下 O 形环,可轻轻按压 O 形环,然后按图示的箭头方向滑动 O 形环。O
形环有足够的松弛度,可以很容易将其取下。小心不要用指甲刮擦 O 形环。
2 检查 O 形环。
• 请仔细检查以下各项。如果发现存在以下情况,应用软布或棉纸将其擦拭干
净。
–
O 形环上是否有污垢、砂粒、毛发、灰尘、盐垢、线屑等物?
–
O 形环上是否残留旧的润滑脂?
v 污垢 v 砂粒 v 毛发 v 灰尘 v 盐垢 v 线屑
• 用指尖沿着 O 形环周围轻轻滑动,检查其是否沾有看不见的污垢。
• 应小心不要在擦拭之后将布或棉纸纤维留在 O 形环上。
• 检查 O 形环是否有裂痕、扭曲、变形、细微裂痕、刮痕、粘着砂粒等情况。
如果 O 形环裂痕或刮伤,应予以更换。
v 裂痕 v 扭曲 v 变形 v 细微
v 刮痕 v 粘着
裂痕
砂粒
2-CS

3 检查 O 形环的凹槽。
小心地将凹槽中的砂粒或凝固盐清除干净。
4 用同样的方法检查 O 形环的另一接触面。
5 在O形环上涂一层附带的专用润滑脂。
• 如上图所示,用指尖蘸一小滴润滑脂,在 O 形环的整个表面薄薄地涂上一
层。
• 务必使 O 形环的表面始终保持一层薄薄的润滑脂,因为润滑脂可保护 O 形
环,并可防止其磨损。
润滑脂
务必使用附带的润滑脂。使用其它类型的润滑脂会损坏 O 形环并引起漏
水。
6 将O形环装入 Marine Pack(潜水包)的凹槽中。
将O形环均匀地装入 Marine Pack 的凹槽时,应注意以下几点:
–
检查 O 形环上是否有污垢。
–
检查 O 形环,应无扭曲或凸出现象。
–
不可拽拉 O 形环。
错误 正确
3-CS

O 形环的使用(续)
最后的检查
再次检查 O 形环是否存在污垢、裂痕或扭曲等问题。
如何检查漏水
安装设备前,务必关闭潜水包。将其浸入约15 厘米深的水中 3 分钟左右,确
认无漏水现象。
P 注意
在沙石海底拍过照片或将照相机在沙地上放置过后,应取下O形环进行检查。
务必随身携带一个备用的 O 形环。
这样万一 O 形环出现问题时可以更换。
O 形环的使用寿命
O 形环使用一年后,应更换新环。
即使 O 形环没有裂痕或刮痕,变形或磨损也会降低其防水性能。
4-CS

한국어
* 사용 중인 머린 팩은 그림과 다른 경우가 있습니다.
O링이란 무엇일까요?
O링은 머린 팩 및 그 밖의 제품에 방수 성능을 유지시켜 줍니다.
O링
O링의 손질은 매우 중요합니다. O링은 지시에 따라 손질하지 않
으면 물이 새서 머린 팩이 잠기는 경우가 있습니다.
1-KR

O링의 취급
O링을 소정의 위치에 끼웁니다
먼지나 모래가 많은 장소에서 O링을 끼우지 마십시오.
1 O링을 뺍니다.
O링
O링을 뺄 때에는 그림과 같이 살짝 눌러서 화살표 방향으로 밀어 주십시오. O링
은 쉽게 늘어나므로 간단히 뺄 수 있습니다. 손톱으로 O링을 긁지 마십시오.
2 O링을 점검합니다.
• 다음과 같은 더러움 등이 없는지 확인하여 주십시오. 더러움 등이 있을 때에는 부
드러운 헝겊이나 티슈 페이퍼로 닦아내십시오.
– O링에 더러움이나 모래알, 머리카락, 먼지, 염분, 실밥 등이 없는지 확인하십
시오.
– O링에 오래 된 그리스가 남아있지 않은지 확인하십시오.
v 더러움 v 모래 v 머리카락 v 먼지 v 소금 v 실밥
• O링을 손끝으로 가볍게 만져보고 보이지 않는 더러움이 없는지 확인하십시오.
• O링을 닦아낸 후에는 O링에 헝겊이나 티슈 페이퍼의 섬유가 남지 않도록 주의
하십시오.
• O링에 갈라짐, 휨, 비틀림, 작은 터짐, 흠집, 모래 박힘 등이 없는지 확인하십시
오. 갈라짐이나 흠집이 있는 O링은 교환하십시오.
v 갈라짐 v 휨 v 비틀림 v 작은 터짐 v 흠집 v 모래 박힘
2-KR

3 O링의 홈을 점검합니다.
홈에 낀 모래나 소금 결정을 조심해서 제거하십시오.
4 또 O링의 반대쪽 접촉면도 같은 방법으로 점검합니다.
5 부속된 전용 그리스를 O링에 발라 놓으십시오.
• 상기 그림과 같이 손끝으로 O링 전체에 그리스를 얇게 펴 발라줍니다.
• O링 표면에는 항상 그리스를 얇게 펴 발라 놓으십시오. 그리스는 O링 자체를 보
호할 뿐만 아니라 마모도 방지해 줍니다.
그리스
반드시 부속된 그리스를 사용하여 주십시오. 그 밖의 그리스를 사용하면 O링
이 손상되거나 물이 새는 원인이 됩니다.
6 O링을 머린 팩의 홈에 끼웁니다.
O링은 다음 사항을 주의하고 홈에 고르게 끼웁니다:
– O링이 더러워져 있지 않습니까?
– O링이 비틀리거나 튀어나오지 않았는지 확인하여 주십시오.
– O링을 잡아당기지 마십시오.
올바르지 못한 예 올바른 예
3-KR

O링의 취급(계속)
마지막 점검
O링에 더러움, 갈라짐, 비틀림 등이 없는지 다시 한 번 확인하여 주십시오.
누수를 조사하는 방법
기기를 설치하기 전에 반드시 머린팩을 닫고 수심 약 15 cm 정도 되는 곳에 약 3
분 정도 담가놓고 물이 새지 않는지 확인하여 주십시오.
P주의점
모래가 많은 해저에서 촬영했거나 모래 위에 카메라를 놓거나 했을 때에는 O링을
빼서 물이 새는지 확인하여 주십시오.
반드시 예비용 O링을 준비해 놓으십시오.
O링에 문제가 생기면 현장에서 바로 교환할 수 있습니다.
O링의 수명
O링은 일 년 동안 사용한 후에는 교환하여 주십시오.
O링에 갈라진 곳이나 흠이 없어도 변형되어 있거나 마모되어 있으면 방수성이 저
하됩니다.
4-KR

5-KR

この説明書は
100
%古紙再生紙と
VOC (
揮発性有機
化合物
)
ゼロ植物油型インキを使用しています。
Printed on 100% recycled paper using VOC (Volatile
Organic Compound)-free vegetable oil based ink.
Printed in Japan

-AR_

^-AR

O:P : ;/
E Q7@
, .
45 6
( Q7. @R
,
.
PG&E
,
*/ 'S S T$U V RW
:K" . . XL YZS [&J\ ;
( T
"]
-ARN

BC
3@
.
# D@E 7 $F G" ) DH I#J
4@
5K :<" 7L M .5 ) .
•
•
7L
.
.
67& 8. . ,""5 BL . :<
:
−
− .
−
A-AR

: ;/
/<" . =&<
1 %>
.
,
.
.
2@
• . , .
-? , , , , ,
-?
v v v v v v
•
• ,
, , ,
• , ,
v v v
v v v
-AR9

* .
?
!"#$ %&
01 . 2&(3 45 6
&' ( ) * +,- . !/
7& 8.
-AR

2-JP

Marine Pack
AR

