Sony KV-21LS30K – page 5
Manual for Sony KV-21LS30K
Table of contents

Ogólny przegląd przycisków telewizora
Przycisk
Wskaźnik trybu
Wyłącznik
wyboru
czuwania
zasilania
źródła
włączony /
(standby)
wejściowego
wyłączony
Przycisk
Przyciski
włączenia
regulacji
telewizora.
głośności
Gniazdo do
Naciśnij znak na
podłączenia
przykrywce by zobaczyć
słuchawek
Gniazdo
gniazda.
wejściowe
audio
Wkładanie baterii do pilota
Upewnij się, że baterie umieszczone zostały zgodnie z ich biegunowością.
Szanując środowisko naturalne wyrzucaj zużyte baterie do specjalnie do tego
przeznaczonych pojemników.
Podłączanie anteny i magnetowidu
Do urządzenia nie są załączone kable do tych podłączeń.
6
Opis ogólny - Podłączenie telewizora
Przyciski wyboru
następnego lub
poprzedniego
programu (wybór
stacji telewizyjnych)
Gniazdo
wejściowe
wideo
lub
OUT IN
Szersza informacja o podłączaniu wideo znajduje się
w rozdziale «Podłączanie dodatkowych urządzeń»
niniejszej instrukcji obsługi.
Podłączenie do złącza EURO
jest fakultatywne.
magnetowid

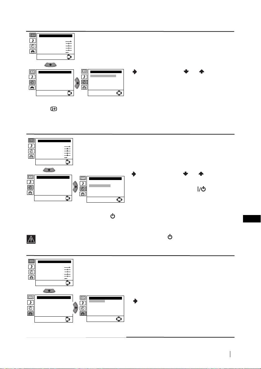
Włączanie telewizora i automatyczne programowanie
Gdy telewizor zostanie włączony po raz pierwszy na ekranie pojawią się menu dzięki
którym można: 1) wybrać język w którym wyświetlane będą wszystkie menu, 2) wybrać
kraj w którym używane będzie urządzenie, 3) regulacja przechylenia obrazu, 4) odnaleźć i
automatycznie zapisać wszystkie dostępne kanały (stacje telewizyjne) i 5) zmienić
kolejność w której kanały (stacje telewizyjne) pojawiają się na ekranie.
Jeśli zaistnieje konieczność zmodyfikowania któregoś z ustawień, można to zrobić
wybierając odpowiednią opcję w (menu Ustawianie) lub naciskając przycisk
ponownego włączenia telewizora.
1
Włącz przewód zasilający telewizora do gniazdka
sieciowego (220-240V AC, 50Hz). Naciśnij przycisk
włączony/wyłączony znajdujący się z przodu
telewizora, by włączyć urządzenie.
Gdy przycisk ten zostanie naciśnięty po raz pierwszy, na
ekranie automatycznie zostanie wyświetlone menu
Language
(Język).
2
Naciśnij przycisk lub na pilocie by wybrać język, a
następnie naciśnij przycisk
OK
by potwierdzić wybór.
Od tego momentu wszystkie menu będą wyświetlane w
wybranym języku.
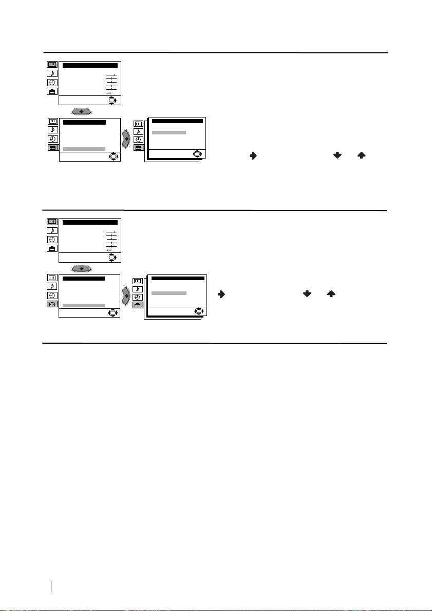
3
Na ekranie pojawi się automatycznie menu
Kraj
. Naciśnij
PL
przycisk lub by wybrać kraj w którym będzie
używany telewizor, a następnie naciśnij przycisk
OK
by
potwierdzić wybór.
Jeśli na liście nie ma kraju w którym będzie
używany telewizor , wybierz “-“ zamiast nazwy kraju.
4
Z powodu magnetyzmu ziemskiego istnieje możliwość,
że obraz będzie przechylony. Menu
Obrót Obrazu
pozwala uregulować obraz jeśli zajdzie taka
konieczność.
a)
Jeśli nie jest to konieczne, naciśnij lub by
ustawić
Bez regulacji
, następnie naciśnij
OK
.
b)
Jeśli jest konieczne, naciśnij lub by ustawić
opcję
Regulacja
, następnie naciśnij
OK
. Następnie
ureguluj przechylenie obrazu między –5 i +5
naciskając lub . Na zakończenie naciśnij
OK
by zapisać ustawienie.
Pierwsze uruchomienie telewizora
7
Language
i
4
Svenska
Norsk
English
Nederlands
Français
K
Italiano
i
$
Select Language:
OK
Kraj
i
4
Sverige
Norge
-
Italia
K
Deutschland
Österreich
i
$
Wybór kraju:
OK
Jeśli obraz jest pochylony,
obrót obrazu.
Bez regulacji
Regulacja
K
OK
kontynuuje...

5 Menu Autoprogramowanie pojawi się na ekranie. Naciśnij
przycisk OK by wybrać opcję Tak.
6 Telewizor rozpoczyna programowanie i
automatyczne zapisywanie wszystkich dostępnych
kanałów (stacji telewizyjnych).
Proces dostrajania może potrwać kilka minut.
Zachowaj cierpliwość i nie naciskaj żadnych
przycisków podczas jego trwania, gdyż w
przeciwnym wypadku nie zostałby on zakończony.
Jeśli telewizor nie znalazł żadnego kanału (stacji
telewizyjnej) po dokonaniu autoprogramowania, na
ekranie pojawi się tekst z prośbą o podłączenie
anteny. Należy wówczas ją podłączyć tak jak jest to
opisane na stronie 6 niniejszej instrukcji obsługi a
następnie nacisnąć OK. Ponownie rozpocznie się
wówczas proces autoprogramowania
7 Gdy telewizor zaprogramuje i zapisze wszystkie
kanały (stacje telewizyjne), na ekranie pojawi się
automatycznie menu Sortowanie Programów by
można było zmienić kolejność pojawiania się
kanałów na ekranie.
a) Jeśli nie ma potrzeby zmiany kolejności programów,
przejdź do punktu 8.
b) Jeśli chcesz zmienić kolejność programów:
1 Naciśnij przycisk lub by wybrać numer
programu kanału (stacji telewizyjnej) którego
pozycję chcesz zmienić, a następnie naciśnij .
2 Naciśnij przycisk lub by wybrać nowy
numer programu na którym chcesz zapisać
wybrany kanał (stację telewizyjną) a następnie
naciśnij .
3 Powtórz kroki b)1 i b)2 by przyporządkować pozostałe
kanały telewizyjne.
8 Naciśnij przycisk MENU by przywrócić normalny obraz telewizyjny.
MENU
Telewizor jest gotowy do użytku.
8
Pierwsze uruchomienie telewizora
Czy chcesz rozpocząć
automatyczne programowanie?
Tak
K
Nie
OK
Autoprogramowanie
Program:
01
System:
B/G
Kanał:
C21
Wyszukiwanie...
Nie znaleziono Kanalu
Podlącz antenę
K
Potwierdż
OK
Sortowanie Programów
Program:
01 TVE
02 TVE2
03 TV3
04 C33
K
05 C27
06 C58
Wybór kanału:
OK
Wyjście:
MENU
Sortowanie Programów
Program:
01 TVE
02 TVE2
03 TV3
04 C33
K
05 C27
06 C58 05 C27
Lokalizacja prog.:
OK
Wyjście:
MENU

Wprowadzenie do systemu menu na ekranie
Niniejszy telewizor dysponuje systemem menu wyświetlanym na ekranie by ułatwić
ustawianie poszczególnych funkcji. Używaj następujących przycisków na pilocie by
poruszać się po poszczególnych systemach menu:
1 Naciśnij przycisk MENU by został wyświetlony na ekranie pierwszy poziom
MENU
menu.
2 • By wybrać pożądaną pozycję lub opcję naciśnij przycisk lub .
• By wejść do wybranego menu lub jego opcji naciśnij przycisk .
• By powrócić do poprzedniego menu lub jego opcji naciśnij przycisk .
K
• By zmienić nastawienia wybranej opcji naciśnij przycisk
//lub .
• By potwierdzić i zapisać wybór naciśnij OK.
3 Naciśnij przycisk MENU by przywrócić normalny obraz telewizyjny.
MENU
Krótki przewodnik po systemie menu
Poziom 1 Poziom 2 Poziom 3 / Funkcja
Regulacja Obrazu
REGULACJA OBRAZU
Regulacja Obrazu
Tryb: Własny
Tryb: Własny
Menu ”Regulacja obrazu” pozwala zmienić
Kontrast
Kontrast
PL
Jasność
Jasność
Kolor
Kolor
nastawienia obrazu.
Ostrość
Ostrość
Odcień
Odcień
Zerowanie
W tym celu: po wybraniu opcji którą chcesz
Zerowanie
OK
OK
zmienić naciśnij przycisk . Następnie
kilkakrotnie naciśnij przycisk //
lub by zmienić ustawienie i na
zakończenie naciśnij OK by zapisać nowe
ustawienie.
Menu to pozwala również zmienić tryb obrazu
zgodnie z rodzajem oglądanego programu.
Własny (dla indywidualnych upodobań).
Żywy (dla programów nadawanych na
żywo)
Filmowy (dla filmów).
• Jasność, Kolor i Ostrość mogą zostać zmienione wyłącznie gdy tryb obrazu zostanie
nastawiony na opcję “Własny”.
• Odcień jest dostępny wyłącznie dla systemu koloru NTSC (np. taśmy wideo z USA).
• By przywrócić nastawienia fabryczne wybierz Zerowanie i naciśnij OK.
kontynuuje...
System menu na ekranie
9

Poziom 1 Poziom 2 Poziom 3 / Funkcja
REGULACJA DŹWIĘKU
Regulacja Obrazu
Tryb: Własny
Kontrast
Menu “Regulacja dźwięku” pozwala zmieniać
Jasność
Kolor
ustawienia dźwięku.
Ostrość
Odcień
Zerowanie
OK
W tym celu: po wybraniu opcji która ma zostać
zmieniona, naciśnij . Następnie kilkakrotnie
nacśnij // lub by zmienić
Regulacja džwięku
Regulacja džwięku
ustawienie i na zakończenie naciśnij OK by
Tryb: Wlasny
Tryb: Wlasny
Tony wysokie
Tony wysokie
Tony niskie
Tony niskie
zapisać ustawienie.
Balans
Balans
Zerowanie
Zerowanie
Podwój. Dźwięk: Mono
Podwój. Dźwięk: Mono
Ustawienia szczególów
Ustawienia szczególów
OK
OK
Niniejsze menu składa się z dwóch menu:
Tryb Własny (dla indywidualnych upodobań ).
Rock
Pop
Jazz
Ustawienia szczególów: Efekt dźwiękowy: Wył.: Normalny.
Spatial: Specjalne efekty
dźwiękowe.
Aut. glośność: Wył.: Natężenie dźwięku zmienia
się w zależności od sygnału
stacji.
Wł.: Natężenie dźwięku jest
jednakowe niezależnie od
sygnału stacji (np. w
przypadku reklam ).
Glośnik TV: Wył.: Dźwięk pochodzi z
głośników zewnętrznego
wzmacniacza
podłączonego do gniazda
wyjściowego audio w tyle
odbiornika TV.
Wł.: Dźwięk pochodzi z
głośników telewizora.
• Tony wysokie i Tony niskie można zmienić tylko wtedy gdy została wybrana opcja “Własny”
w trybie dźwięku.
• By przywrócić nastawienia fabryczne dźwięku, wybierz Zerowanie i naciśnij OK.
• W przypadku emisji dwujęzycznych, wybierz opcję Podwój. dźwięk i ustaw ją na A dla kanału
dźwięku 1, B dla kanału dźwięku 2 lub Mono dla kanału mono jeśli jest dostępny. Jeśli emisja
jest stereo, można wybrać między Stereo lub Mono.
kontynuuje...
10
System menu na ekranie

Poziom 1 Poziom 2 Poziom 3 / Funkcja
Regulacja Obrazu
TIMER WYŁĄCZENIE
Tryb: Własny
Kontrast
Jasność
Opcja “Timer wył.” w menu “Timer”, pozwala
Kolor
Ostrość
wybrać okres czasu po upływie którego
Odcień
Zerowanie
telewizor automatycznie przełączy się na tryb
OK
czuwania (standby)..
W tym celu: po wybraniu opcji naciśnij przycisk
Timer
Timer
. Następnie naciśnij lub by nastawić
Timer wył.:
Wył.
Timer wył.:
Wył.
okres czasu (najwyżej 4 godziny) i na
Timer wł:
Wył.
Timer wł:
Wył.
zakończenie naciśnij przycisk OK by zapisać
ustawienie.
OK
OK
• By został wyświetlony czas pozostający do wyłączenia, oglądając telewizję naciśnij
przycisk .
• Minutę zanim telewizor się przełączy na tryb czuwania, pozostający do tego momentu
czas zostanie automatycznie wyświetlony na ekranie.
Regulacja Obrazu
TIMER WŁĄCZENIE
Tryb: Własny
Opcja “Timer Wł.” w menu “Timer”, pozwala
Kontrast
Jasność
Kolor
wybrać okres czasu po upływie którego
Ostrość
Odcień
telewizor włączy się automatycznie z trybu
Zerowanie
czuwania (standby).
OK
W tym celu: po wybraniu opcji naciśnij przycisk
. Następnie naciśnij lub by nastawić
Timer
Timer
okres czasu (najwyżej 12 godzin) i naciśnij
Timer wył.:
Wył.
Timer wył.:
Wył.
Timer wł:
Wył.
przycisk OK by zapisać ustawienie. Na
Timer wł:
Wył.
zakończenie naciśnij przycisk czasowego
wyłączenia (standby) na pilocie i po
OK
OK
wyznaczonym okresie czasu telewizor włączy
się automatycznie.
• Wskaźnik trybu czuwania (standby) telewizora, regularnie miga wskazując, iż nastawiona
PL
jest funkcja “Timer wł.”.
• Jakikolwiek błąd lub przerwa w dopływie prądu anuluje ustawienie tej funkcji.
Jeśli nie została włączona funkcja “Timer wł.” a wskaźnik telewizora pulsuje, należy
skontaktować się z najbliższym punktem obsługi technicznej Sony.
Regulacja Obrazu
JĘZYK / KRAJ
Tryb: Własny
Kontrast
Opcja “Język/Kraj” w menu “Ustawianie”,
Jasność
Kolor
pozwala wybrać język w którym wszystkie
Ostrość
Odcień
menu będą wyświetlane na ekranie. Pozwala
Zerowanie
OK
również wybrać kraj w którym będzie używany
telewizor.
Ustawianie
W tym celu: po wybraniu opcji naciśnij przycisk
Ustawianie
Język/Kraj
Język/Kraj
, a następnie postępuj tak jak jest to
Autoprogramowanie
Autoprogramowanie
Sortowanie Programów
Sortowanie Programów
Nazwy Programów
opisane w rozdziale “Włączanie telewizora i
Nazwy Programów
Ustawienia A/V
Ustawienia A/V
Programowanie Ręczne
Programowanie Ręczne
automatyczne programowanie”, w punktach
Ustawienia szczególów
Ustawienia szczególów
2 i 3.
OK
OK
kontynuuje...
System menu na ekranie
11

Poziom 1 Poziom 2 Poziom 3 / Funkcja
AUTOPROGRAMOWANIE
Regulacja Obrazu
Tryb: Własny
Opcja“Autoprogramowanie” w menu
Kontrast
Jasność
“Ustawianie”, pozwala by telewizor odszukał i
Kolor
Ostrość
Odcień
zapisał wszystkie dostępne kanały (stacje
Zerowanie
telewizyjne).
OK
W tym celu: po wybraniu opcji naciśnij przycisk
, a następnie postępuj tak jak jest to opisane
Ustawianie
Ustawianie
w rozdziale “Włączanie telewizora i
Język/Kraj
Język/Kraj
Autoprogramowanie
Autoprogramowanie
automatyczne programowanie”, w punktach 5
Sortowanie Programów
Sortowanie Programów
Nazwy Programów
Nazwy Programów
Ustawienia A/V
Ustawienia A/V
i 6.
Programowanie Ręczne
Programowanie Ręczne
Ustawienia szczególów
Ustawienia szczególów
OK
OK
Regulacja Obrazu
SORTOWANIE PROGRAMÓW
Tryb: Własny
Kontrast
Opcja “Sortowanie programów” w menu
Jasność
Kolor
Ostrość
“Ustawianie”, pozwala zmienić kolejność w
Odcień
Zerowanie
jakiej kanały (stacje telewizyjne) pojawiają się
OK
na ekranie.
W tym celu: po wybraniu opcji naciśnij , a
następnie postępuj tak jak jest to opisane w
Ustawianie
Ustawianie
Język/Kraj
Język/Kraj
Autoprogramowanie
Autoprogramowanie
rozdziale “Włączanie telewizora i automatyczne
Sortowanie Programów
Sortowanie Programów
Nazwy Programów
Nazwy Programów
programowanie”, w punkcie 7 b).
Ustawienia A/V
Ustawienia A/V
Programowanie Ręczne
Programowanie Ręczne
Ustawienia szczególów
Ustawienia szczególów
OK
OK
Regulacja Obrazu
NAZWY PROGRAMÓW
Tryb: Własny
Kontrast
Opcja “Nazwy programów ” w menu
Jasność
Kolor
“Ustawianie”, pozwala nadać kanałowi nazwę
Ostrość
Odcień
składającą się maksymalnie z pięciu znaków.
Zerowanie
OK
W tym celu:
1 Po wybraniu opcji naciśnij , a następnie
naciśnij lub by wybrać numer
Ustawianie
Ustawianie
Język/Kraj
Język/Kraj
Autoprogramowanie
programu któremu chcesz nadać nazwę.
Autoprogramowanie
Sortowanie Programów
Sortowanie Programów
Nazwy Programów
Nazwy Programów
2 Naciśnij . Gdy pierwszy element kolumny
Ustawienia A/V
Ustawienia A/V
Programowanie Ręczne
Programowanie Ręczne
Ustawienia szczególów
Ustawienia szczególów
Nazwa zostanie wyszczególniony
OK
OK
naciśnij lub by wybrać literę, numer
lub “-“ puste miejsce, a następnie
naciśnij by potwierdzić wybrany znak. W
ten sam sposób wybierz pozostałe cztery
znaki. Na zakończenie naciśnij OK by
zapisać wybraną nazwę.
USTAWIENIA AV
Regulacja Obrazu
Tryb: Własny
Opcja “Ustawienia AV” w menu “Ustawianie”
Kontrast
Jasność
Kolor
pozwala nadać nazwę urządzeniu
Ostrość
Odcień
podłączonemu do telewizora.
Zerowanie
OK
W tym celu:
1 Po nastawieniu opcji naciśnij , a
następnie naciśnij lub by wybrać
Ustawianie
Ustawianie
Język/Kraj
źródło wejściowe któremu chcesz nadać
Język/Kraj
Autoprogramowanie
Autoprogramowanie
Sortowanie Programów
Sortowanie Programów
nazwę (AV1 i AV2 dla dodatkowych
Nazwy Programów
Nazwy Programów
Ustawienia A/V
Ustawienia A/V
Programowanie Ręczne
Programowanie Ręczne
urządzeń podłączonych do złącz Euro z tyłu
Ustawienia szczególów
Ustawienia szczególów
odbiornika telewizyjnego i AV3 dla przednich
OK
OK
gniazdek). Następnie naciśnij .
12
System menu na ekranie
kontynuuje...

Poziom 1 Poziom 2 Poziom 3 / Funkcja
2 W kolumnie “Nazwa” automatycznie pojawi
się wstępnie nastawiona nazwa:
a) Jesli chcesz użyć jedną z 6 wstępnie
nastawionych nazw (CABLE, GAME,
CAM, DVD, VIDEO lub SAT), naciśnij
lub by wybrać jedną z nich i na
zakończenie naciśnij OK by ją zapisać.
b) Jeśli chcesz stworzyć własną nazwę
wybierz Edycja i naciśnij . Następnie,
gdy pierwszy element jest wybrany
naciśnij lub by wybrać literę,
numer lub “-“ puste miejsce i naciśnij
by potwierdzić wybór znaku. W ten sam
sposób wybierz pozostałe cztery znaki i
na zakończenie naciśnij OK by zapisać
nazwę.
Regulacja Obrazu
PROGRAMOWANIE RĘCZNE
Tryb: Własny
Kontrast
Opcja “Programowanie ręczne” w menu
Jasność
Kolor
“Ustawianie”, pozwala:
Ostrość
Odcień
Zerowanie
a) Zaprogramować pojedyńczo i w dowolnym
OK
porządku wybrane kanały (stacje telewizyjne)
lub wejście wideo. W tym celu:
Ustawianie
Ustawianie
1 Po wybraniu opcji “Programowanie ręczne”
Język/Kraj
Język/Kraj
Autoprogramowanie
Autoprogramowanie
Sortowanie Programów
Sortowanie Programów
naciśnij przycisk . Po wybraniu opcji
Nazwy Programów
Nazwy Programów
Ustawienia A/V
Ustawienia A/V
Program, naciśnij przycisk , a
Programowanie Ręczne
Programowanie Ręczne
Ustawienia szczególów
Ustawienia szczególów
następnie lub by wybrać numer
OK
OK
programu (pozycję) pod którym chcesz
zapisać stację telewizyjną lub kanał wideo
(dla kanału wideo radzimy wybrać numer
programu “0”). Naciśnij .
2 Niniejsza opcja pojawi się w zależności
od kraju wybranego w menu «Język /
PL
kraj”
Po wybraniu opcji System, naciśnij , a
następnie lub by wybrać system
nadawania (B/G dla Europy zachodniej, D/K
dla Europy wschodniej). Naciśnij .
3 Po wybraniu opcji Kanał naciśnij
przycisk a następni lub by wybrać
rodzaj kanału (“C” dla kanałów naziemnych
lub “S” dla kanałów telewizji kablowej).
Naciśnij . Następnie naciskaj przyciski
numeryczne by bezpośrednio wprowadzić
numer kanału stacji telewizyjnej lub sygnału
kanału wideo. Nie znając numeru kanału
naciśnij przycisk lub by go odszukać.
Po znalezieniu kanału który chcesz zapisać
dwukrotnie naciśnij OK.
Powtórz poszczególne kroki by znaleźć i
zapisać więcej kanałów.
kontynuuje...
System menu na ekranie
13

Poziom 1 Poziom 2 Poziom 3 / Funkcja
b) Nadać kanałowi nazwę, składającą się z
Regulacja Obrazu
Tryb: Własny
maks. 5 znaków
Kontrast
Jasność
Kolor
W tym celu: po wybraniu opcji Program,
Ostrość
Odcień
Zerowanie
naciśnij PROGR + lub – aż pojawi się numer
OK
programu któremu chcesz nadać nazwę. Gdy
pojawi się on na ekranie wybierz opcję Nazwa,
a następnie naciśnij przycisk .
Ustawianie
Ustawianie
Naciśnij lub by wybrać literę, cyfrę lub
Język/Kraj
Język/Kraj
Autoprogramowanie
Autoprogramowanie
Sortowanie Programów
Sortowanie Programów
“-” by zostawić puste miejsce i naciśnij
Nazwy Programów
Nazwy Programów
Ustawienia A/V
Ustawienia A/V
przycisk by potwierdzić wybór znaku.
Programowanie Ręczne
Programowanie Ręczne
Ustawienia szczególów
Ustawienia szczególów
Pozostałe cztery znaki wybierz w ten sam
OK
OK
sposób. Po wybraniu wszystkich znaków
dwukrotnie naciśnij OK by zapisać ustawienie.
c) Nawet gdy automatyczne precyzyjne
programowanie (ARC) jest stale włączone
można ręcznie programować by uzyskać
lepszy odbiór obrazu gdyby pojawiły się
zakłócenia.
W tym celu: oglądając kanał (stację
telewizyjną) który chcesz precyzyjne
zaprogramować, wybierz opcję ARC, a
następnie naciśnij . Naciśnij lub by
nastawić poziom częstotliwości kanału między
-15 i +15. Na zakończenie dwukrotnie naciśnij
OK by zapisać ustawienie.
d) Pomijać pozycje programów przy wybieraniu
kanałów przyciskami PROGR +/-.
W tym celu: po wybraniu opcji Program,
naciśnij PROGR + lub – aż pojawi się numer
programu który chcesz pominąć. Gdy pojawi
się on na ekranie wybierz opcję Pomiń, a
następnie naciśnij przycisk .
Naciśnij lub by wybrać Tak i na
zakończenie dwukrotnie naciśnij OK by
zapisać ustawienie.
By anulować ustawienie tej funkcji wybierz
opcję “Nie” zamiast “Tak”.
e) Opcja ta pozwala dobrze odbierać i nagrywać
kodowany kanał przy użyciu dekodera
podłączonego do złącza Euro :2/ lub
S
przez podłączony magnetowid lub poprzez
magnetowid podłączony do wymienonego
złącza Euro.
Niniejsza opcja pojawi się w zależności
od kraju wybranego w menu «Język /
kraj”
W tym celu: wybierz opcję Dekoder i naciśnij
. Następnie naciśnij lub by wybrać
Wł. Na zakończenie dwukrotnie naciśnij OK
by zapisać nastawienie.
Jeśli później zechcesz zlikwidować tą funkcję,
wybierz Wył. zamiast Wł.
kontynuuje...
14
System menu na ekranie

Poziom 1 Poziom 2 Poziom 3 / Funkcja
REDUKCJA ZAKŁÓCEŃ
Regulacja Obrazu
Tryb: Własny
Opcja “Redukcja zaklóceń” w menu
Kontrast
Jasność
“Ustawienia szczególów” pozwala
Kolor
Ostrość
Odcień
automatycznie zmniejszać zakłócenia obrazu
Zerowanie
OK
gdy sygnał TV jest słaby.
W tym celu: po wybraniu opcji naciśnij przycisk
Ustawianie
Ustawienia szczególów
. Następnie naciśnij lub by wybrać
Język/Kraj
Redukcja zakłóceń:
Auto
Autoprogramowanie
Wyjście AV2:
TV
Sortowanie Programów
Centrowanie RGB:
0
Auto i na zakończenie naciśnij OK by zapisać
Nazwy Programów
Obrót Obrazu:
0
Ustawienia A/V
ustawienie.
Programowanie Ręczne
Ustawienia szczególów
OK
OK
By anulować ustawienie tej funkcji wybierz
opcję “Wył” zamiast “Auto”.
Regulacja Obrazu
WYJŚCIE AV2
Tryb: Własny
Kontrast
Opcja “Wyjście AV2” w menu “Ustawienia
Jasność
Kolor
Ostrość
szczególów” pozwala wybrać gniazdko
Odcień
Zerowanie
wyjściowe Euro
:2/q by móc nagrywać
OK
ze złącza Euro każdy sygnał pochodzący z
telewizora lub z innego urządzenia
Ustawianie
Ustawienia szczególów
Język/Kraj
Redukcja zakłóceń:
Auto
dodatkowego podłączonego do złącza Euro
Autoprogramowanie
Wyjście AV2:
TV
Sortowanie Programów
Centrowanie RGB:
0
Obrót Obrazu:
0
:1/ lub do gniazdek przednich 3 i
Nazwy Programów
Ustawienia A/V
Programowanie Ręczne
3.
Ustawienia szczególów
OK
OK
Jeśli podłączony magnetowid dysponuje
Smartlink, proces ten nie jest konieczny.
W tym celu: po wybraniu opcji naciśnij .
PL
Następnie naciśnij lub by wybrać
żądany sygnał wyjściowy TV, AV1, AV3 lub
AUTO.
Przy wyborze “AUTO”, sygnał wyjściowy
zawsze będzie taki sam jak ten
pojawiający się na ekranie TV.
Jeśli dekoder podłączony jset do złącza
Euro
:2/q lub do magnetowidu
podłączonego do tego złącza Euro, należy
pamiętać o nastawieniu “Wyjścia AV2” w
“AUTO” lub “TV” by mógł on poprawnie
dekodować.
kontynuuje...
System menu na ekranie
15

Poziom 1 Poziom 2 Poziom 3 / Funkcja
Regulacja Obrazu
CENTROWANIE RGB
Tryb: Własny
Kontrast
Gdy podłączone jest źródło sygnałów RGB,
Jasność
Kolor
jak np. konsola “PlayStation”, może się okazać
Ostrość
Odcień
Zerowanie
niezbędna regulacja poziomego centrowania
OK
obrazu. Można jej dokonać przy użyciu opcji
“Centrowanie RGB” w menu “Ustawienia
szczególów”.
Ustawianie
Ustawienia szczególów
Język/Kraj
Redukcja zakłóceń:
Auto
Autoprogramowanie
Wyjście AV2:
TV
Sortowanie Programów
Centrowanie RGB:
0
Obrót Obrazu:
0
Nazwy Programów
W tym celu: widząc sygnał wejściowy RGB,
Ustawienia A/V
Programowanie Ręczne
Ustawienia szczególów
wybierz opcję “Centrowanie RGB” i naciśnij
OK
OK
przycisk . Następnie naciśnij lub by
ustawić centrowanie obrazu między -10 i +10.
Na zakończenie naciśnij OK by zapisać
ustawienie.
Regulacja Obrazu
OBRÓT OBRAZU
Tryb: Własny
Kontrast
Z powodu magnetyzmu ziemskiego istnieje
Jasność
Kolor
możliwość, że obraz będzie przechylony.
Ostrość
Odcień
Zerowanie
Można go wówczas uregulować przy użyciu
OK
opcji “Obrót obrazu” w menu “Ustawienia szc-
zególów”.
Ustawianie
Ustawienia szczególów
Język/Kraj
Redukcja zakłóceń:
Auto
Autoprogramowanie
Wyjście AV2:
TV
W tym celu: po wybraniu opcji naciśnij przycisk
Sortowanie Programów
Centrowanie RGB:
0
Nazwy Programów
Obrót Obrazu:
0
. Następnie naciśnij lub by ustawić
Ustawienia A/V
Programowanie Ręczne
Ustawienia szczególów
przechylenie obrazu między -5 i +5. Na
OK
OK
zakończenie naciśnij OK by zapisać
ustawienie.
16
System menu na ekranie

Telegazeta
Telegazeta jest usługą informacyjną transmitowaną przez większość stacji telewizyjnych.
Strona ze spisem treści telegazety (zwykle strona 100) dostarcza informacji o sposobie
korzystania z usługi telegazety. By poruszać się po telegazecie należy używać przycisków
pilota tak jak jest to opisane na tej stronie.
By móc odpowiednio korzystać z telegazety używaj kanał o silnym sygnale, w przeciwnym
wypadku w tekście telegazety mogą pojawić się błędy.
TELETEXT
TELETEXT
TELETEXT
TELETEXT
TELETEXT
TELETEXT
TELETEXT
TELETEXT
Włączanie Telegazety:
Index
Index
Index
Index
Index
Index
Index
Index
Po wybraniu kanału (stacji telewizyjnej) która transituje telegazetę z której
Programme
Programme
Programme
Programme
Programme
Programme
Programme
Programme
25
25
25
25
25
25
25
25
News
News
News
News
News
News
News
News
153
153
153
153
153
153
153
153
Sport
Sport
Sport
Sport
Sport
Sport
Sport
Sport
101
101
101
101
101
101
101
101
chcesz korzystać, naciśnij przycisk .
Weather
Weather
Weather
Weather
Weather
Weather
Weather
Weather
98
98
98
98
98
98
98
98
Wybór strony Telegazety:
Używając przyciski numeryczne wprowadź trzy cyfry numeru strony którą chcesz oglądać.
• Przy mylnym wyborze wprowadź dowolne trzy cyfry a następnie wprowadź poprawny
numer strony telegazety.
• Jeśli licznik stron nie zatrzymuje się oznacza to, że wybrana strona nie jest dostępna. W tym
wypadku zmień numer żądanej strony.
Wybór następnej lub poprzedniej strony:
Naciśnij PROGR + () lub PROGR - ().
Nałożenie telegazety na obraz telewizyjny:
Oglądając telegazetę naciśnij przycisk . Naciśnij go ponownie by wyjść z trybu
telegazety.
Zatrzymanie strony:
Niektóre strony telegazety składają się z podstron które automatycznie pojawiają się jedna
po drugiej na ekranie. By zatrzymać podstronę naciśnij przycisk / . Naciśnij go
PL
ponownie by anulować zatrzymanie.
Wyświetlanie ukrytej informacji (np. rozwiązanie zagadek):
Naciśnij przycisk / . Naciśnij go ponownie by znów ukryć informację.
Wyłączanie telegazety:
Naciśnij przycisk .
Fastext
Usługa Fastext pozwala dostać się do odpowiedniej strony telegazety poprzez naciśnięcie
tylko jednego przycisku.
Gdy korzystasz z usługi telegazety, gdy emitowane są sygnały Fastext, w dolnej części
ekranu pojawia się menu kolorowych kodów który pozwala dostać się bezpośrednio do
odpowiedniej strony. W tym celu naciśnij odpowiedni kolorowy przycisk (czerwony,
zielony, żółty lub niebieski) pilota.
Telegazeta
17

Podłączanie dodatkowych urządzeń
Do telewizora można podłączyć bardzo wiele rodzajów dodatkowych urządzeń tak jak jest
to pokazane poniżej. (Do urządzenia nie załączone są kable do tych podłączeń)
8mm/Hi8/
DVC
kamera
AB
1
2
“P
Podłączanie magnetowidu:
By podłączyć magnetowid przeczytaj rozdział “Podłączanie anteny i magnetowidu”. Radzimy
podłączyć magnetowid do złącza EURO. Gdy nie używasz kabla do złącza EURO,
zaprogramuj ręcznie kanał wejściowy sygnału wideo przy użyciu menu “Programowanie
ręczne”, w tym celu przeczytaj punkt a) na stronie 13). Przeczytaj również instrukcję obsługi
posiadanego magnetowidu by dowiedzieć się jak uzyskać kanał sygnału wideo.
Podłączenie magnetowidu z funkcja Smartlink:
Smartlink jest połączeniem między telewizorem i magnetowidem pozwalającym na
bezpośredni przekaz pewnych informacji. By uzyskać więcej informacji odnośnie
Smartlink, należy przeczytać instrukcję obsługi magnetowidu.
Jeśli używany jest magnetowid z funkcja Smartlink, należy podłączyć kabel Euro do
złącza Euro :2/q E.
Jeśli do złącza Euro podłączony jest dekoder :2/q lub magnetowid:
Wybierz opcję “Programowanie Ręczne” w menu “Ustawianie” i po wybraniu opcji
“Dekoder” **, wybierz “Wł” (używając przycisk lub ) dla każdego kodowanego kanału.
** Opcja ta jest dostępna w zależności od kraju który został wybrany w menu “Język/Kraj”.
18
Informacje dodatkowe
l
ay
S
tation”*
D
e
k
o
d
er
D
e
k
o
d
er
Hi-
f
i
VCRDVD
V
* “PlayStation” jest produktem Sony
Computer Entertainment, Inc.
* “PlayStation” jest znakiem firmowym
zarejestrowanym przez Sony Computer
Entertainment, Inc.
C
E
Magnetowid
C
D
RDVD
Gdy podłączone zostaną
słuchawki, głośniki telewizora
automatycznie wyłączą się.
kontynuuje...

Podłączenie dodatkowego urządzenia audio:
By odbierać dźwięk telewizora przez głośniki sprzętu stereo, należy podłączyć sprzęt do
gniazdka wyjściowego audio D i w menu systemu wybrać “Regulacja dźwięku”. Następnie
wejść w opcję “Ustawienia szczególów” i wybrać “Wył.” w “Glośnik TV”.
Natężenie dźwięku w podłączonych głośnikach można zmieniać przyciskami ustawiania
dźwięku na pilocie telewizora. Można również zmieniać poziom dźwięków wysokich i
niskich w menu “Regulacja dźwięku”.
Zastosowanie dodatkowych urządzeń
1 Podłącz dodatkowe urządzenie do odpowiedniego gniazda telewizora tak jak jest to
pokazane powyżej.
2 Włącz podłączone urządzenie.
3 By pojawił się obraz z podłączonego urządzenia kilkakrotnie naciśnij przycisk aż na
ekranie pojawi się odpowiedni symbol sygnału wejściowego.
Symbol Sygnały wejściowe
1•Sygnał wejściowy audio/wideo ze złącza EURO C
•Sygnał wejściowy RGB ze złącza EURO C. Symbol ten pojawi się
wyłącznie wtedy jeśli podłączone zostało źródło wejściowe sygnału
RGB.
2•Sygnał wejściowy audio/wideo ze złącza Euro E.
S
2•Sygnał wejściowy S Wideo ze złącza Euro E.
PL
3•Sygnał wejściowy wideo ze złącza RCA A i sygnał wejściowy audio ze
złącza B
4 By przywrócić normalny obraz telewizyjny naciśnij przycisk pilota.
Dla sprzętu monofonicznego
Podłącz wtyk audio do gniazda L/G/S/I z przodu telewizora i wybierz 3 sygnał wejściowy
zgodnie z instrukcją powyżęj. W rozdziale “Regulacja dźwięku” wybierz “Podwój. dźwięk” “A”
w menu dźwięku na ekranie.
Informacje dodatkowe
19

Dane techniczne
System TV:
Moc wyjściowa dźwięku:
W zależności od wybranego kraju:
2 x 14 W (moc muzyczna)
B/G/H, D/K
2 x 7 W (RMS)
System koloru:
Pobór mocy:
PAL, SECAM
60 W
NTSC 3.58, 4.43 (tylko wejście wideo)
Zużycie energii w trybie czuwania
Zakresy kanałów:
(standby):
VHF: E2-E12
0.5 W
UHF: E21-E69
Wymiary (szer. x wys. x głęb.):
CATV: S1-S20
W przybliżeniu 516 x 471 x 487 mm
HYPER: S21-S41
D/K: R1-R12, R21-R69
Waga:
W przybliżeniu 27 kg
Kineskop:
Płaski Ekran FD Trinitron
Akcesoria w wyposażeniu:
21 cali (W przybliżeniu przekątna 55 cm).
Pilot mod. RM-887 (1 szt.)
Baterie (zgodne z normą IEC) ( 2 szt.)
Tylne gniazda:
:1/ Złącze 21-stykowe EURO
Inne dane:
(norma CENELEC) w tym
•Telegazeta, Fastext, TOPtext.
wejścia audio/wideo, wejście
•Automatyczne wyłączenie
RGB, wyjście audio/wideo TV
•Automatyczne włączenie
• Smartlink (bezpośrednie połączenie
:2/q Złącze 21-stykowe Euro (norma
między telewizorem i kompatybilnym
(SMARTLINK)
CENELEC) w tym wejście
magnetowidem. Szersza informacja o
audio/wideo, wejście wideo S,
łączu Smartlink znajduje się w
instrukcji obsługi magnetowidu).
wyjście audio/wideo do wyboru
•Automatyczne wykrywanie systemu
i złącze Smartlink.
przekazu sygnałów TV.
Wyjścia audio (l./pr.) – złącza
RCA.
Przednie gniazda:
…3 wejście wideo - złącze RCA
3 wejście audio - złącza RCA
gniazdo do podłączenia słuchawek.
Wygląd i dane techniczne mogą ulec zmianie bez uprzedzenia.
Papier Ekologiczny - 100% bez chloru
20
Informacje dodatkowe

Rozwiązywanie problemów
Oto kilka prostych rozwiązań problemów związanych z obrazem i dźwiękiemelő.
Problem
Rozwiązanie
Brak obrazu (ekran jest ciemny) i
•Sprawdź podłączenie anteny.
brak dźwięku.
• Włącz telewizor do sieci i naciśnij przycisk z
przodu urządzenia.
•Jeśli pojawi się wskaźnik naciśnij przycisk
pilota.
Słaba jakość obrazu lub jego brak,
•Przy użyciu systemu menu wybierz menu “Regulacja
lecz dobra jakość dźwięku.
obrazu” i ustaw “Zerowanie” by przywrócić
nastawienia fabryczne.
Brak obrazu lub brak menu
•Upewnij się, że dodatkowe urządzenie jest włączone
informacyjnego z dodatkowego
do sieci i kilkakrotnie naciśnij przycisk pilota, aż
urządzenia podłączonego do złącza
odpowiedni symbol sygnału wejściowego pojawi się
EURO z tyłu telewizora.
na ekranie.
Dobry obraz lecz brak dźwięku.
• Naciśnij przycisk +/- pilota.
• Sprawdź czy opcja “Glośnik TV” w menu “Regulacja
dźwięku” ustawiona jest w pozycji “Wł.”.
• Sprawdź czy sluchawki zostaly odłączone.
Brak koloru w programach
• Przy użyciu systemu menu wybierz “Regulacja
kolorowych.
obrazu” i ustaw “Zerowanie” by przywrócić
nastawienia fabryczne.
Obraz ulega zniekształceniu przy
• Wyłącz urządzenie podłączone do złącza 21 -
zmianie programu lub przy czytaniu
stykowego EURO z tyłu telewizora.
telegazety.
W telegazecie pojawiają się
• Po wprowadzeniu w menu trybu wyświetlania ekranu
nieprawidłowe litery
“Język/Kraj” wybierz swój kraj.
PL
Obraz jest przechylony.
• Przy użyciu systemu menu wybierz opcję “Obrót
obrazu” w menu “Ustawienia szczegółow” i wyreguluj
przechylenie.
Zakłócenia obrazu
• Przy użyciu systemu menu wybierz opcję “ARC” w
menu “Programowanie Ręczne” i ręcznie zaprogramuj
by uzyskać lepszy odbiór obrazu.
• Przy użyciu systemu menu wybierz opcję “Redukcja
zakłóceń” w menu “Ustawienia szczególow” i wybierz
opcję “Auto” by zmniejszyć zakłócenia obrazu.
Obraz nie jest poprawnie
• W systemie menu wybierz do menu “Ustawianie”.
dekodowany lub jest niestały przy
Następnie wybierz w opcję ”Ustawienia szczegółów” i
odbiorze przez dekoder podłączony
ustaw “Wyjście AV2“ w “TV”.
do złącza Euro
:2/q.
Nie działa pilot.
• Zmień baterie.
Miga wskaźnik trybu czuwania
• Skontaktuj się z najbliższą stacją serwisową Sony.
(standby) mimo, iż nie jest
ustawiona funkcja “Timer wł.”.
W przypadku awarii oddaj telewizor do naprawy wykwalifikowanemu personelowi
technicznemu. Nigdy nie otwieraj obudowy.
Informacje dodatkowe
21

Введение
Мы благодарим Вас за то, что Вы выбрали этот цветной телевизор с Плоским
Экраном FD Trinitron.
Перед первым включением телевизора внимательно ознакомьтесь с данной
Инструкцией по Эксплуатации и сохраните ее для будущих консультаций.
•
Условные обозначения, используемые в данной Инструкции
:
•
Потенциальная опасность
.
•
K
Затененные кнопки пульта
дистанционного управления
•
Важная информация
.
указывают на кнопки, которые надо
•
Информация о работе
.
нaжaть для выпoлнeния paзличныx
инcтpyкций.
•
1,2...
Последовательность инструкций
•
Инфopмaция o peзyльтaтax
для выполнения.
выполнения инструкций.
Оглавление
Введение
..................................................................................................................................................3
Общие правила техники безопасности
...........................................................................................4
Общее описание
Назначение кнопок на пульте дистанционного управления
.....................................................5
Общее описание кнопок телевизора
..............................................................................................6
Установка
Установка батареек в пульт дистанционного управления
........................................................6
Подключение антенны и видеомагнитофона
................................................................................6
Первое включение телевизора в работу
Включение и автоматическая настройка телевизора
...............................................................7
Вывод системы меню на экран
Введение и работа с системой меню
...............................................................................................9
Схема меню
:
Настройка изображения
................................................................................................................ 9
HacÚpoÈÍa ÁÇyÍa
..............................................................................................................................10
RU
Таймер выключения
.......................................................................................................................11
Таймер включения
..........................................................................................................................11
Язык/Страна
.....................................................................................................................................11
Автонастройка
.................................................................................................................................12
Сортировка программ
....................................................................................................................12
MeÚÍË ÔpoÖpaÏÏ
...............................................................................................................................12
èpeÀycÚaÌoÇÍa AV
...........................................................................................................................12
Ручная настройка программ
.........................................................................................................13
òyÏoÔoÌËÊeÌËe
...............................................................................................................................15
BêxoÀ AV2
.........................................................................................................................................15
RGB áeÌÚp
и
poÇaÌËe
........................................................................................................................16
Поворот изображения
....................................................................................................................16
Телетекст
........................................................................................................................................17
Дополнительная информация
Подключение дополнительных устройств
...................................................................................18
Использование дополнительных устройств
...............................................................................19
Спецификации
......................................................................................................................................20
Выявление неисправностей
............................................................................................................21
Оглавление
3

He дoпycкaйтe пoпaдaния кaкиx-либo
Этoт тeлeвизop пpeднaчeн для
Из cooбpaжeний бeзoпacнocти
пpeдмeтoв внyтpь тeлeвизopa, тaк кaк этo
мoжeт пpивecти к вoзгopaнию или
paбoты тoлькo oт ceти
и энepгocбepeжeния нe
пopaжeнию элeктpичecким тoкoм. He
пepeмeннoгo тoкa нaпpяжeниeм
peкoмeндyeтcя ocтaвлять
дoпycкaйтe пpoливaния кaкиx-либo
220-240 B. He пoдключaйтe
тeлeвизop в дeжypнoм
жидкocтeй нa тeлeвизop. Ecли вce жe
cлишком мнoгo элeктpoпpибopoв
peжимe, кoгдa oн нe
пpoизoшлo пpoливaниe жидкocти или
к oднoй poзeткe, тaк кaк этo
пoпaдaниe кaкoгo-либo пpeдмeтa внyтpь
иcпoльзyeтcя.
тeлeвизopa, нeмeдлeннo выключитe
мoжeт пpивecти к вoзгopaнию или
Oтключaйтe тeлeвизop oт ceти
тeлeвизop и не включaйтe eгo дo тex пop,
пopaжeнию элeктpичecким
ceтeвoй кнoпкoй.
пoкa eгo нe пpoвepит квaлифициpoвaнный
тoкoм.
мacтep.
He вcкpывaйтe кopпyc и зaднюю
B цeляx Baшeй бeзoпacнocти нe
Bo избeжaниe oпacнocти
кpышкy тeлeвизopa.
пpикacaйтecь к любым
вoзгopaния или пopaжeния
Oбpaщaйтecь тoлькo к
чacтям тeлeвизopa, ceтeвoмy
элeктpичecким тoкoм
квaлифициpoвaннoмy
шнypy или aнтeннoмy кaбeлю
oбepeгaйтe тeлeвизop oт
тexничecкoмy пepcoнaлy.
во врeмя гpoзы.
дoждя и cыpocти.
He пoмeщaйтe тeлeвизop в
Bo избeжaниe вoзгopaния нe
мecтax c пoвышeннoй
pacпoлaгaйтe вблизи
тeмпepaтypoй, влaжнocтью или
тeлeвизopa
зaпылeннocтью. He
лeгкoвocплaмeняющиecя
ycтaнaвливaйтe тeлeвизop в
мecтe, гдe oн мoжeт
пpeдмeты и иcтoчники
пoдвepгaтьcя вoздeйcтвию
oткрытoгo oгня (нaпpимep,
мexaничecкoй вибpaции.
cвeчи).
Bытиpaйтe тeлeвизop мягкoй,
Cлeдитe зa тeм, чтoбы тяжeлыe
cлeгкa yвлaжнeнной мaтepиeй. He
Пpи oтключeнии вилки
пpeдмeты нe cтaвилиcь нa шнyp
пpимeняйтe бeнзин, pacтвopитeли
питaния от poзeтки тянитe зa
питaния, тaк кaк этo мoжeт
и дpyгиe xимикaты для пpoтиpки
caмy вилкy, a нe зa пpoвoд
пpивecти его пoвpeждению.
тeлeвизopa. He цapaпaйтe экpaн
Peкoмeндyeтcя cмaтывaть
питaния.
тeлeвизopa. B цeляx бeзoпacнocти
излишнюю длинy ceтeвoгo
вынимaйтe вилкy питaния
шнypa нa cпeциaльныe
тeлeвизopa из poзeтки пepeд
дepжaтeли нa зaднeй кpышкe
yбopкoй.
тeлeвизopa.
Oтключa
Уcтaнaвливaйтe тeлeвизop нa
пpoчнyю, ycтoйчивую
He нaкpывaйтe
пoдcтaвкy. He пoзвoляйтe
вeнтиляциoнныe
дeтям влeзaть нa тeлeвизop. He
отвepcтия тeлeвизopa
cтaвьтe тeлeвизop нaбoк или
гaзeтaми, штopaми и т.п.
экpaнoм ввepx.
4
Общие правила техники безопасности
й
тe вилкy питaния
тeлeвизopa из poзeтки пepeд
тeм, кaк пepecтaвить тeлeвизop. Пpи
пepeнocкe тeлeвизopa бyдьтe
ocтopoжны, избeгaйтe нepoвныx
пoвepxнocтeй и чpeзмepныx ycилий.
B cлучae пaдeния или пoвpeждения
тeлeвизopa нyжнo, чтoбы eгo
нeмeдлeннo пpoвepил
квaлифициpoвaнный тexничecкий
пe
p
coнaл.
H
e пepeкpывa
й
О
тe
вeнтиляционныe oтвepcтия в
тeлeвизope. Для oбecпeчeния
нopмaльнoй вeнтиляции
ocтaвляйтe вoкрyг тeлeвизopa
пpocтpaнcтвo нe мeнee 10 см c
кaждoй cтopoны.
б
щие правила техники
б
езопасности

Назначение кнопок на пульте дистанционного управления
Временное отключение телевизора
Нажмите для временного отключения телевизора
Отключение звука
(загорится индикатор режима ожидания ).
Нажать для отключения звука.
Нажмите еще раз для включения телевизора из
Нажать еще раз для
режима временного отключения (standby).
восстановления звука.
В целях экономии
Показать информацию на экране
электроэнергии мы рекомендуем
Нажать для вывода на экран всех
полностью выключать телевизор,
указаний. Снова нажать для
если Вы им не пользуетесь.
отмены.
Если в течение 15 минут нет
телевизионного сигнала, и если
Выбор каналов
Вы не нажимаете ни на одну из
Нажать для выбора каналов.
кнопок, телевизор
автоматически перейдет в
Для номеров программы из двух
режим временного отключения
цифр, нажмите вторую цифру в
(standby).
период времени до 2, 5 секунд
или
Выбор входного сигнала
Нажмите несколько раз, пока
Нажмите
-/--
после чего введите
обозначение требуемого
первую и вторую цифры.
входного сигнала не появится на
Если Вы ошиблись при вводе
экране.
первой цифры, введите вторую
Возвращение к последнему
цифру (от 0 до 9), после чего
выбранному каналу
повторите снова эту операцию.
Нажмите для возвращения к
последнему выбранному каналу
Выбор режима телевизора
(предыдущий канал должен был
Нажмите для отключения
задержаться на экране в течение
телетекста или входа сигнала
5 секунд минимально)
видео.
Включение системы меню
Выбор телетекста
Нажмите для вывода меню на
Нажмите для включения
экран. Нажмите еще раз для его
телетекста.
выключения и для возвращения к
обычному экрану телевизора.
Регулировка режима звука
Кнопки выбора меню
Нажмите несколько раз для
•
Когда MENU включено:
регулировки режима звука.
Подняться на одну строчку.
Опуститься на одну строчку.
RU
Вернуться к предыдущему
Выбор Режима Изображения
меню или выбору.
Нажмите несколько раз для смены
Перейти к последующему
Режима Изображения.
меню или выбору.
OK
Подтвердить выбор.
Регулировка Уровня Громкости
•
Когда MENU выключено:
Нажмите для регулировки уровня
OK
Показывает общий список
громкости телевизора.
каналов. Выберите канал,
нажимая на или , после
Эта кнопка работает только в
чего снова нажмите на
ОК
для
режиме телетекста. Функция
того, чтобы увидеть выбранный
данной кнопки не предусмотрена
для данного телевизора.
канал.
Выбор формата экрана
Выбор каналов
Нажмите несколько раз для
Нажмите для выбора следующего
изменения формата экрана: 4:3
или предыдущего канала.
для обычного изображения или
16:9 для имитaции широкого
экрана.
Помимо функций телевизора, все цветные кнопки также используются для работы
с телетекстом. Для получения более подробной информации, обратитесь к
Разделу «Телетекст» данной Инструкции по Эксплуатации.
Общее описание
5

Общее описание кнопок телевизора
Индикатор режима
Кнопка выбора
временного
выключения
источника входа
(standby)
Кнопка
Кнопки
нaчaльнoй
aвтoнacтpoйки
регулировки
телевизора
громкости
Нажмите на отметку
крышки, чтобы увидеть
Вход для
разъемы
аудио
сигнала
Установка батареек в пульт дистанционного
управления
Убедитесь в том, что батарейки вставлены в соответствии с обозначенными
полюсами.
Бережно относитесь к окружающей среде и выбрасывайте отработанные батарейки в
специально установленные для этого контейнеры.
Подключение антенны и видеомагнитофона
Провода для подключения не входят
в комплект поставки.
или
видеомагнитофон
OUT IN
Для получения более подробной информации о
Подключение через
подключении видеомагнитофона обратитесь к
Евроразъем (SCART)
Разделу «Подключение дополнительных
(пoстaвляeтcя дoпoлнитeльнo).
устройств» данной Инструкции по Эксплуатации.
6
Общее описание - Установка
Переключатель
Переключатель
включение /
включение /
выключение
выключение
Кнопки выбора
последующей или
предыдущей
программы (выбор
телевизионных
станций)
Гнeздo для
наушников
Вход для
видео
сигнала


