Dell Inspiron One 2320: instruction
Manual for Dell Inspiron One 2320
Table of contents
- Setting Up Your TV Tuner Card
- Setting Up Your Computer Using a TV Tuner Card and Set-Top Box (Optional)

About Warnings
WARNING: A WARNING indicates a potential for property damage, personal injury, or death.
Setting Up Your TV Tuner Card
WARNING: Before you begin any of the procedures in this section, follow the safety
instructions that shipped with your computer.
NOTE: TV signals supported by your TV tuner card may vary by region.
Your TV tuner card supports the following TV signals:
•Analog TV from antenna or cable
•DMB-TH digital TV from antenna
•ATSC digital TV from antenna
•Clear QAM from cable
•DVB-T digital TV from antenna
•ISBD-T digital TV from antenna
To set up your TV tuner card:
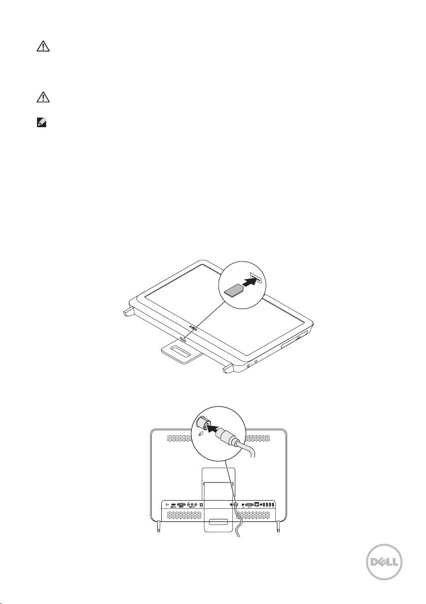
1. Insert the B-CAS card into the B-CAS card slot on your computer (Japan only).
2. Connect the TV cable to the TV-in connector on your computer.

3. Install the remote control batteries. For more information, see the documentation that
shipped with your remote control.
4. Turn on your computer.
5. Click Start→ All Programs→ Windows Media Center→ Tasks→ Settings→ TV.
6. Follow the instructions on the screen.
Setting Up Your Computer Using a TV Tuner Card
and Set-Top Box (Optional)
NOTE: The Radio Frequency (RF) cable must be purchsed separately.
1. Connect the set-top box to your computer using the RF cable.
2. Locate the IR sensor on your set-top box.
3. Peel the protective cover on the IR-transmitter.
4. Place the IR-transmitter directly over the IR-sensor on your set-top box.
5. Connect the other end of the cable to the IR-emitter connector on your computer.
6. Install the remote control batteries. For more information, see the documentation that
shipped with your remote control.
7. Turn on your computer.
8. Click Start→ All Programs→ Windows Media Center→ Tasks→ Settings→ TV.
9. Follow the instructions on the screen.
NOTE: For more information on configuring and troubleshooting your TV tuner card, see
the User’s Guide at support.dell.com/manuals.
__________________
Information in this document is subject to change without notice.
© 2011 Dell Inc. All rights reserved. Printed in Poland.
Reproduction of these materials in any manner whatsoever without the written permission of Dell Inc. is strictly forbidden.
™
™
Trademarks used in this text: Dell
, the DELL logo, and Inspiron
are trademarks of DellInc.
Other trademarks and trade names may be used in this document to refer to either the entities claiming the marks and names
or their products. Dell Inc. disclaims any proprietary interest in trademarks and trade names other than its own.
2011 - 06 P/N JX3MY Rev. A00

Informationen über Warnungen
WARNUNG: Durch eine WARNUNG werden Sie auf Gefahrenquellen hingewiesen, die
materielle Schäden, Verletzungen oder sogar den Tod von Personen zur Folge haben können.
Einrichten der TV-Tuner-Karte
WARNUNG: Bevor Sie mit einer der Vorgehensweisen in diesem Abschnitt beginnen,
befolgen Sie die im Lieferumfang des Computers enthaltenen Sicherheitsanweisungen.
ANMERKUNG: Die von Ihrer TV-Tuner-Karte unterstützten TV-Signale können je nach
Region variieren.
Ihre TV-Tuner-Karte unterstützt die folgenden TV-Signale:
•Analog-TV über Antenne oder Kabel
•DMB-TH Digital-TV über Antenne
•ATSC Digital-TV über Antenne
•Clear QAM über Kabel
•DVB-T Digital-TV über Antenne
•ISBD-T Digital-TV über Antenne
So richten Sie die TV-Tuner-Karte ein:
1. Setzen Sie die B-CAS-Karte in den B-CAS-Kartensteckplatz des Computers (nur in Japan) ein.
2. Schließen Sie das TV-Kabel an den TV-Eingangsanschluss an Ihrem Computer an.

3. Installieren Sie die Fernbedienungsbatterien. Weitere Informationen dazu finden Sie in der
Dokumentation, die im Lieferumfang Ihrer Fernbedienung enthalten ist.
4. Schalten Sie den Computer ein.
5. Klicken Sie auf Start→ Alle Programme→ Windows Media Center→ Aufgaben→
Einstellungen→ TV.
6. Befolgen Sie die Anleitungen auf dem Bildschirm.
Einrichten des Computers mithilfe einer TV-Tuner-
Karte und eines Digitalempfängers (optional)
ANMERKUNG: Das Hochfrequenz (RF)-Kabel muss separat erworben werden.
1. Verbinden Sie mittels des RF-Kabels den Digitalempfänger mit dem Computer.
2. Machen Sie den IR-Sensor am Digitalempfänger ausfindig.
3. Entfernen Sie die Schutzhülle vom IR-Sender.
4. Platzieren Sie den IR-Sender direkt über den IR-Sensor auf dem Digitalempfänger.
5. Schließen Sie das andere Ende des Kabels an den IR-Emitter-Anschluss Ihres Computers an.
6. Installieren Sie die Fernbedienungsbatterien. Weitere Informationen dazu finden Sie in der
Dokumentation, die im Lieferumfang Ihrer Fernbedienung enthalten ist.
7. Schalten Sie den Computer ein.
8. Klicken Sie auf Start→ Alle Programme→ Windows Media Center→ Aufgaben→
Einstellungen→ TV.
9. Befolgen Sie die Anleitungen auf dem Bildschirm.
ANMERKUNG: Weitere Informationen zur Konfiguration und Fehlerbehebung bei der
TV-Tuner-Karte finden Sie im Benutzerhandbuch’ unter support.dell.com/manuals.
__________________
Informationen in diesem Dokument können sich ohne vorherige Ankündigung ändern.
© 2011 Dell Inc. Alle Rechte vorbehalten. Gedruckt in Polen.
Nachdrucke jeglicher Art ohne die vorherige schriftliche Genehmigung von Dell Inc. sind strengstens untersagt.
™
™
In diesem Text verwendete Marken: Dell
, das DELL Logo und Inspiron
sind Marken von DellInc.
Andere Marken und Markennamen, die in diesem Dokument vorkommen, beziehen sich entweder auf die juristischen
Personen, die diese Marken und Namen beanspruchen, oder auf ihre Produkte. Dell Inc. lehnt jegliche Besitzrechte an den
Marken und Markennamen außer ihren eigenen ab.
2011 - 06 Teilenr. JX3MY Rev. A00

Информация о предупреждениях
ОСТОРОЖНО: указывает на возможность нанесения ущерба имуществу, травмы или на
угрозу смерти.
Установка платы ТВ-тюнера
ОСТОРОЖНО: Перед тем как приступить к выполнению операций данного раздела, выполните
указания по безопасности, прилагаемые к вашему компьютеру.
ПРИМЕЧАНИЕ: Тип телевизионного сигнала, поддерживаемого ТВ-тюнером, может зависеть от
региона поставки.
Данный ТВ-тюнер поддерживает следующие типы телевизионных сигналов:
•Аналоговый телесигнал с антенны или кабеля
•Цифровой телесигнал DMB-TH с антенны
•Цифровой телесигнал ATSC с антенны
•Кабельный сигнал QAM
•Цифровой телесигнал DVB-T с антенны
•Цифровой телесигнал ISBD-T с антенны
Процедура установки платы ТВ-тюнера:
1. Вставьте плату B-CAS в разъем для платы B-CAS в корпусе компьютера (
Только для Японии
).
2. Подключите телевизионный кабель к разъему для ТВ-кабеля на компьютере.

3. Установите элементы питания в пульт дистанционного управления. Дополнительную
информацию см. в документации, входящей в комплект поставки пульта.
4. Включите компьютер.
5. Нажмите Пуск→ Программы→ Windows Media Center→ Задачи→ Параметры→ ТВ.
6. Следуйте инструкциям на экране.
Настройка компьютера с использованием платы
ТВ-тюнера и декодера каналов спутникового ТВ (опция)
ПРИМЕЧАНИЕ: Антенный кабель (РЧ) необходимо приобрести отдельно.
1. Подключите декодер к компьютеру, используя антенный кабель.
2. Определите положение инфракрасного приемника на декодере.
3. Снимите защитную пленку с ИК-передатчика.
4. Установите ИК-передатчик непосредственно над ИК-датчиком декодера.
5. Подключите другой конец кабеля к ИК-передатчику на компьютере.
6. Установите элементы питания в пульт дистанционного управления. Дополнительную
информацию см. в документации, входящей в комплект поставки пульта.
7. Включите компьютер.
8. Нажмите Пуск→ Программы→ Windows Media Center→ Задачи→ Параметры→ ТВ.
9. Следуйте инструкциям на экране.
ПРИМЕЧАНИЕ: Более подробную информацию по настройке и устранению неисправностей платы
ТВ-тюнера можно получить в
Руководстве пользователя
на сайте support.dell.com/manuals.
__________________
Информация в данном документе может быть изменена без уведомления.
© 2011 г. Корпорация Dell. Все права защищены. Напечатано в Польше.
Воспроизведение этих материалов в любом виде без письменного разрешения корпорации Dell строго запрещено.
™
™
В тексте упоминаются следующие торговые марки: Dell
, логотип DELL и Inspiron
являются товарными знаками корпорации Dell Inc.
Кроме того, в данном документе могут использоваться другие торговые знаки и фирменные названия в качестве обращения к
организациям-владельцам соответствующих марок или к их изделиям. Корпорация Dell отказывается от права собственности на
иные торговые марки и фирменные названия, за исключением своих собственных.
2011 - 06 Арт. JX3MY Ред. A00

O upozorenjima
UPOZORENJE: UPOZORENJE ukazuje na mogućnost oštećenja imovine, lične povrede i smrt.
Podešavanje kartice TV tjunera
UPOZORENJE: Pre nego što započnete bilo koju proceduru u ovom odeljku, ponašajte se u
skladu sa uputstvima za bezbednost, koja su isporučena sa vašim računarom.
NAPOMENA: TV signali koje podržava kartica TV tjunera mogu da se razlikuju u zavisnosti
od regiona.
Vaša kartica TV tjunera podržava sledeće TV signale:
•Analogni TV signal sa antene ili kablovske mreže
•DMB-TH digitalni TV signal sa antene
•ATSC digitalni TV signal sa antene
•Jasan QAM signal sa kablovske mreže
•DVB-T digitalni TV signal sa antene
•ISBD-T digitalni TV signal sa antene
Da biste podesili karticu TV tjunera:
1. Umetnite B-CAS karticu u ležište za B-CAS karticu na računaru (samo za Japan).
2. Povežite TV kabl na ulazni TV priključak na računaru.

3. Instalirajte baterije u daljinski upravljač. Više informacija potražite u dokumentaciji koju ste
dobili uz daljinski upravljač.
4. Uključite računar.
5. Kliknite na Start→ All Programs (Svi programi)→ Windows Media Center→ Tasks (Zadaci)→
Settings (Postavke)→ TV.
6. Pratite uputstva na ekranu.
Podešavanje računara za rad sa karticom TV tjunera i
Set-Top Box uređajem (opciono)
NAPOMENA: Radiofrekventni (RF) kabl je nophodno kupiti odvojeno.
1. Povežite set-top box uređaj na računar pomoću RF kabla.
2. Pronađite IR senzor na set-top box uređaju.
3. Odlepite zaštitnu oblogu sa IR odašiljača.
4. Postavite IR odašiljač direktno iznad IR senzora na set-top box uređaju.
5. Drugi kraj kabla povežite na priključak za IR odašiljač na računaru.
6. Instalirajte baterije u daljinski upravljač. Više informacija potražite u dokumentaciji koju ste
dobili uz daljinski upravljač.
7. Uključite računar.
8. Kliknite na Start→ All Programs (Svi programi)→ Windows Media Center→ Tasks (Zadaci)→
Settings (Postavke)→ TV.
9. Pratite uputstva na ekranu.
NAPOMENA: Više informacija o konfigurisanju kartice TV tjunera i rešavanju problema
potražite u korisničkom priručniku na adresi support.dell.com/manuals.
__________________
Informacije u ovom dokumentu mogu biti promenjene bez prethodne najave.
©2011.DellInc.Sva prava zadržana. Štampano u Poljskoj.
Strogo je zabranjeno reprodukovanje ovog materijala na bilo koji način bez pisane dozvole od strane kompanije Dell Inc.
™
™
Zaštićeni žigovi koji se koriste u ovom tekstu: Dell
, DELL logotip i Inspiron
su zaštićeni žigovi kompanije DellInc.
Ostale zaštićene žigove i zaštićena imena moguće je koristiti u ovom dokumentu kao referencu na druge entitete koji su
vlasnici određenih žigova i imena proizvoda. Kompanija Dell Inc. odriče se prava na vlasnički interes u zaštićenim žigovima i
zaštićenim imenima koja joj ne pripadaju.
2011 - 06 B/D JX3MY Izmenjeno izdanje A00

3 .
4 .
5 .Tasks
.TV
6 .
RF
1 .RF
2 .IR
3 ..IR
4 .IRIR
5 .IR
6 .
7 .
8 .Tasks
.TV
9 .
.
__________________
.
™
™
.
DELLDell
.

DMB-TH
ATSC
QAM
DVB-T
ISBD-T
B-CASB-CAS
1 ..)
2 .












