Rothenberger ROPOWER 50 R – страница 9
Инструкция к Rothenberger ROPOWER 50 R

6.3 Wymiana wkładów szczęki zaciskowej (H)
POLSKI 157
Należy obracać i otwierać zacisk do czasu,
gdy do środka będzie można włożyć
śrubokręt. Zawleczka. Tarcza odcinająca.
Należy odkręcić śruby zabezpieczające
wkłady szczęki zaciskowej (rys. 1).
Należy umieścić cienki pręt na górnym brzegu
sprężyny i wyjąć bolec zacisku (rys. 2).
Należy pociągnąć wkład szczęki zaciskowej w
przód (rys. 3).
Należy włożyć nowy wkład szczęki zaciskowej
i pchnąć go do tyłu, a następnie umieścić na
miejscu sprężynę oraz bolec zacisku. Należy
dokręcić śrubę.
6.4 Codzienna kontrola maszyny
Uwaga! Przed rozpoczęciem prac związanych ze smarowaniem maszyny należy
wyjąć wtyczkę z gniazdka zasilania.
• Należy sprawdzić wtyczkę, przewód zasilania oraz przedłużacz, aby upewnić się, że nie są
uszkodzone.
• Należy sprawdzić czy wanna na olej nie jest przepełniona.
• Jeśli w zbiorniku oleju znajdują się zanieczyszczenia, należy go wyczyścić.
• Należy skontrolować szczęki gwintujące, obcinak do rur oraz wewnętrzny gradownik pod
kątem zużycia i w razie potrzeby wymienić odpowiednie elementy.
• Jeśli szczęki zaciskowe są zabrudzone, należy je wyczyścić drucianą szczotką.
• Należy sprawdzić czy wkręty dwustronne są dokręcone. W razie potrzeby należy je
dokręcić.
• Należy regularnie usuwać brud i opiłki z maszyny.
• Jeśli maszyna nie będzie używana przez długi okres czasu, należy nasmarować ją smarem
zapobiegającym rdzewieniu.
• Należy regularnie smarować wspornik tylnego wałka. Prace związane ze smarowaniem
mogą być wykonywane jedynie przez osoby przeszkolone w zakresie bezpieczeństwa
elektrycznego.
7 Akcesoria
Nazwa akcesorium
Numer katalogowy ROTHENBERGER
Podstawa do rur do 6"
Nr 56047
Kółko tnące do obcinaka
Nr 70074
RONOL Kanister
Nr 65010
RONOL Spray
Nr 65008
RONOL SYN Kanister (nadaje się woda pitna)
Nr 65015
RONOL SYN Spray (nadaje się woda pitna)
Nr 65013
NIPPEL MAX 1/2 – 3/4 – 1 – 1.1/4 – 1.1/2“
Nr 56056
Dozownik konopie z roli, 40 g / 40 m
Nr 70623
Zapasowy włącznik, 3- stopniowa, 230 V
Nr 56335
Radełkownica 3/8 – 2“
Nr 56500
www.rothenberger.com
śruba
obracać
Zacisk

8 Obsługa klienta
Pracownicy serwisu ROTHENBERGER chętnie udzielą Państwu pomocy (lista lokalizacji w
katalogu lub w Internecie). W serwisie można także zakupić części zamienne i dokonać naprawy
urządzenia.
Akcesoria i części zamienne można zamawiać u specjalistycznego sprzedawcy oraz przy
pomocy naszej infolinii obsługi klienta:
Telefon: + 49 (0) 61 95 / 800 – 8200
Faks: + 49 (0) 61 95 / 800 – 7491
Email: service@rothenberger.com
www.rothenberger.com
9 Utylizacja
9.1 Części metalowe, elektryczne i elektroniczne
Części urządzenia są materiałami o wartości utylizacyjnej i można je odprowadzić do
przedsiębiorstw zajmujących się odzyskiem surowców wtórnych i unieszkodliwianiem
pozostałości, posiadających wymaganą koncesję i certyfikaty. O nieszkodliwy dla środowiska
sposób utylizacji części, których nie można odprowadzić do ponownego obiegu (np. odpady
elektroniczne), należy zapytać właściwy urząd zajmujący się sprawami utylizacji.
Tylko dla krajów UE:
158 POLSKI
Nie należy wyrzucać elektronarzędzi do śmieci domowych! Zgodnie z Dyrektywą
Europejską 2012/19/EG o zużytych przyrządach elektrycznych i elektronicznych i jej
wprowadzeniem do prawa krajowego, niesprawne już elektronarzędzia muszą być
zbierane osobno i doprowadzane do utylizacji zgodnie z zasadami ochrony
środowiska.
9.2 Oleje i smary
Tylko specjalistyczne firmy mają prawo do likwidacji zużytych olejów.
Zużyte oraz zanieczyszczone oleje muszą być przechowywane oraz usuwane w szczelnych,
olejoodpornych pojemnikach (metalowych).
Uszkodzone urządzenia elektryczne oraz maszyny, które nie mogą zostać naprawione, muszą
zostać otwarte i oczyszczone z pozostałości oleju.
Wanny olejowe muszą zostać wyczyszczone tak, aby nie pozostały na nich ślady po oleju.
Żadne oleje (nawet w bardzo małych ilościach) nie mogą przedostawać się do ziemi.

ČESKY 159
Content
Stránky
1 Upozornění k bezpečnosti ................................................................................................ 160
1.1 Vymezení účelu použití ................................................................................................... 160
1.2 Všeobecné bezpečnostní pokyny ................................................................................... 160
1.3 Bezpečnostní pokyny ..................................................................................................... 161
2 Technické údaje ................................................................................................................ 162
3 Funkce závitořezného stroje ............................................................................................ 163
3.1 Přehled (A) ..................................................................................................................... 163
3.2 Popis funkce ................................................................................................................... 163
4 Předprovozní přípravy ...................................................................................................... 163
4.1 Přeprava závitořezného stroje ........................................................................................ 163
4.2 Nastavení stroje ............................................................................................................. 163
4.3 Elektrické připojení ......................................................................................................... 164
4.4 Závitořezný olej .............................................................................................................. 164
4.5 Kontrola závitořezného oleje ........................................................................................... 165
4.6 Nastavení dodávaného množství oleje ........................................................................... 165
4.7 Vypouštění oleje ............................................................................................................. 165
5 Obsluha závitořezného stroje .......................................................................................... 166
5.1 Upínání obráběných součástí (B).................................................................................... 166
5.2 Řezání obráběného kusu pomocí řezáku trubek (C) ....................................................... 166
5.3 Vystružování obráběných kusů (D) ................................................................................. 167
5.4 Demontáž a montáž závitořezných čelistí z/do závitořezné hlavy (E) .............................. 167
5.5 Změna velikosti závitu (F) ............................................................................................... 167
5.6 Řezání závitů (G)............................................................................................................ 167
5.7 Nastavení délky závitu .................................................................................................... 168
5.8 Nastavení hloubky závitu ................................................................................................ 168
5.9 Vyjmutí obráběného kusu ............................................................................................... 168
5.10 Čištění po použití ............................................................................................................ 168
6 Údržba a revize ................................................................................................................. 169
6.1 Výměna břitu vnitřního odstraňovače ostřin .................................................................... 169
6.2 Výměna řezného kotouče řezáku trubek ......................................................................... 169
6.3 Výměna vložek upínací čelisti (H) ................................................................................... 170
6.4 Každodenní prohlídka ..................................................................................................... 170
7 Příslušenství ..................................................................................................................... 170
8 Zákaznické služby ............................................................................................................. 171
9 Likvidace ........................................................................................................................... 171
9.1 Kovové, elektrické a elektronické součástky ................................................................... 171
9.2 Oleje a maziva ................................................................................................................ 171

160 ČESKY
Značky obsažené v textu:
Výstraha!
Tento symbol varuje před nebezpečím úrazu.
Varování!
Tento symbol varuje před nebezpečím škod na majetku a poškozením životního
prostředí.
Výzva k provedení úkonu
1 Upozornění k bezpečnosti
1.1 Vymezení účelu použití
Závitořezný stroj ROPOWER 50 R smí být použit pouze pro ořezávání, vytváření a odstraňování
ostřin u závitů BSPT a NPT o rozměrech ¼” – 2” podle popisu v kapitole 2 “Technické para-
metry”.
Závitořezný stroj ROPOWER 50 R smí být provozován pouze s vhodnými hlavami na řezání
závitů, které byly zkontrolovány a doporučeny společností ROTHENBERGER Werkzeuge
GmbH, a dále se závitořeznými čelistmi popsanými v kapitole 2 “Technické parametry”.
Dodávaný bezpečnostní pedál splňuje standard asociace, která sdružuje pojištění profesní od-
povědnosti s označením GS (“geprüfte Sicherheit”) a je povinnou součástí pro použití stroje ve
Spolkové republice Německo.
Nikdy neprovádějte na závitořezném stroji a jeho příslušenství technické nebo kon-
strukční změny. Mohlo by to vést ke zrušení osvědčení provozovatele, k poruše stroje či
úrazu osob.
Při použití elektrických nářadí a strojů musí být dodržována základní bezpečnostní o-
patření, která zajistí ochranu před úrazem elektrickým proudem, zraněním a nebezpečím
požáru. Důkladně si přečtěte pokyny ještě před uvedením stroje do provozu. Vždy dbejte
na dodržování bezpečnostních pokynů týkajících se rukou.
1.2 Všeobecné bezpečnostní pokyny
POZOR! Při používání elektrického nářadí dodržujte následující zásadní
bezpečnostní opatření na ochranu před úrazem elektrickým proudem, nebezpečím
zranění a nebezpečím požáru.
Přečtěte si všechny tyto pokyny, než budete používat toto elektrické nářadí, a dobře tyto
bezpečnostní pokyny uložte.
Obsluha a údržba:
1 Pravidelné čištění, údržba a mazání. Před každým seřizováním, údržbou nebo opravou
vytáhněte síťovou zástrčku.
2 Opravy svěřujte výhradně specializovaným opravnám, které mají k dispozici
originální náhradní díly. Zajistíte tak dlouhodobou provozní bezpečnost přístroje.
Bezpečná práce:
1 Pracovní plochu udržujte v pořádku. Nepořádek na pracovní ploše může vést ke
zraněním.
2 Mějte na zřeteli vnější vlivy. Nevystavujte elektrické nářadí dešti. Nepoužívejte elektrické
nářadí ve vlhkém nebo mokrém prostředí. Postarejte se o dobré osvětlení pracovní plochy.
Nepoužívejte elektrické nářadí tam, kde hrozí nebezpečí požáru nebo nebezpečí výbuchu.
3 Chraňte se před úrazem elektrickým proudem. Zabraňte kontaktu těla s uzemněnými díly
(např. trubkami, radiátory, elektrickými sporáky, chladicími jednotkami).
4 Udržujte ostatní osoby v bezpečné vzdálenosti. Nenechejte další osoby, obzvlášť děti,
dotýkat se elektrického nářadí nebo kabelů. Udržujte je v bezpečné vzdálenosti od pracovní
plochy.

5 Bezpečně ukládejte nepoužívané elektrické nářadí. Nepoužívané elektrické nářadí musí
být uloženo na suchém, vysoko položeném nebo uzavřeném místě, mimo dosah dětí.
6 Nepřetěžujte elektrická nářadí. Pracují lépe a bezpečněji ve stanoveném rozsahu výkonů.
7 Používejte správné elektrické nářadí. Na těžké práce nepoužívejte žádné stroje o malém
výkonu. Nepoužívejte elektrické nářadí pro takové účely, pro které není určeno. Např.
nepoužívejte ruční okružní pilu pro řezání větví nebo polen.
8 Noste vhodný oděv. Nenoste žádné oblečení nebo šperky, které by mohly být zachyceny
pohyblivými díly. Při práci na volném prostranství se doporučuje používat obuv odolnou proti
skluzu. Na dlouhé vlasy používejte síťku.
9 Používejte ochrannou výbavu. Používejte ochranné brýle. Při prašných pracích používejte
ochrannou masku.
10 Připojte odsávací zařízení. Pokud jsou k dispozici přípojky na odsávání prachu a jímací
zařízení, ujistěte se, že jsou připojené a správně používané.
11 Nepoužívejte kabel pro účely, pro které není určen. Nepoužívejte kabel na vytahování
zástrčky ze zásuvky. Chraňte kabel před horkem, olejem a ostrými hranami.
12 Zajistěte opracovávaný kus. Používejte upínací zařízení nebo svěrák, aby opracovávaný
kus pevně držel. Tak je držen spolehlivěji než rukou.
13 Vyvarujte se nenormálního postoje. Stůjte na stabilním povrchu a udržujte si neustále
rovnováhu.
14 Pečlivě se starejte o nářadí. Řezací nářadí udržujte ostré a čisté, aby mohlo pracovat lépe
a spolehlivěji. Dodržujte pokyny pro mazání a výměnu nástrojů. Pravidelně kontrolujte
přípojné vedení elektrického nářadí a poškození nechejte opravit zkušeným specialistou.
Pravidelně kontrolujte prodlužovací vedení, a když jsou poškozená, vyměňte je. Rukojeti
udržujte v suchu a čistotě, aby nebyly znečištěné mazivem a olejem.
15 Vytáhněte zástrčku ze zásuvky. Pokud nepoužíváte elektrické nářadí, před údržbou a při
výměně nástrojů jako např. pilového kotouče, vrtáku, frézy.
16 Nenechávejte nasazený žádný klíč. Před zapnutím zkontrolujte, že je odstraněn klíč a
seřizovací nářadí.
17 Vyvarujte se neúmyslného spuštění. Při zasunutí zástrčky do zásuvky se ujistěte, že je
vypínač vypnutý.
18 Používejte prodlužovací kabel pro venkovní použití. Venku používejte pouze k tomu
vhodný a odpovídajícím způsobem označený prodlužovací kabel.
19 Buďte opatrní. Všímejte si, co se děje. Pracujte s rozumem. Nepoužívejte elektrické nářadí,
když nejste soustředění.
20 Zkontrolujte elektrické nářadí na možné poškození. Před dalším použitím elektrického
nářadí musí být bezpečnostní zařízení nebo lehce poškozené díly pečlivě zkontrolovány na
bezvadnou funkci a daný účel. Zkontrolujte, že pohyblivé díly fungují bezvadně a nezadírají
se, nebo že díly nejsou poškozené. Veškeré díly musí být správně namontovány a všechny
podmínky splněny, aby byl zajištěn bezvadný provoz elektrického nářadí.
Poškozená bezpečnostní zařízení a díly musí být podle účelu opraveny ve specializované
dílně nebo vyměněny, pokud není v návodu k obsluze uvedeno jinak. Poškozený vypínač
musí být vyměněn v servisní dílně.
Nepoužívejte žádné elektrické nářadí, u kterého se nedá vypínač zapnout a vypnout.
21 Pozor. Použití jiných nástrojů a jiného příslušenství pro vás může znamenat nebezpečí
úrazu.
22 Elektrické nářadí nechejte opravit specializovaným elektrikářem. Toto elektrické nářadí
odpovídá příslušným bezpečnostním směrnicím. Opravy smí být prováděny pouze
elektrikářem, a smí být použity pouze originální náhradní díly; jinak se může uživateli stát
úraz.
1.3 Bezpečnostní pokyny
Nikdy se nepřibližujte svými prsty, obličejem, vlasy nebo jinými částmi těla eventuálně
uvolněnými částmi oděvu do pracovního a sběrného prostoru rotujících částí (obráběná součást,
sklíčidlo, středicí sklíčidlo). Nenoste šperky (prsteny, řetízky apod.). Nebezpečí úrazu!
ČESKY 161

V případě závady (zvláštní zápach, vibrace, neobvyklé zvuky) během práce na ROPOWER 50
R, je nezbytně nutné okamžitě sešlápnout bezpečnostní pedál a provést NOUZOVÉ VYPNUTÍ
stroje!
Pokud je stroj v chodu, je zakázáno přidržovat obráběnou součást či vykonávat podobnou čin-
nost a připevňovat či odstraňovat části, jako jsou filtry, ventily, potrubní díly apod.!
Používejte ochranný oděv! Používejte ochrannou masku proti vystříknutí závitořezného oleje či
proti výparům plynného chlóru (které se uvolňují ze žhavého oleje na povrchu nástroje a ob-
ráběné součásti)! Používejte ochrannou přilbu pro přikrytí a ochranu dlouhých vlasů. Používejte
ochranné rukavice při výměně závitořezných čelistí, řezacího kotouče a odstraňovače ostřin.
Rukavice používejte i při výměně nástroje a obráběné součásti. Závit i závitořezné čelisti se
během práce rozžhavují! Používejte ochrannou obuv. Nebezpečí úrazu (uklouznutí) při úniku
závitořezného oleje! Při výměně nástroje hrozí nebezpečí úrazu od mokrých, kluzkých a even-
tuálně vyosených částí stroje!
Neodstraňujte kovové odřezky pomocí stlačeného vzduchu! Riskujete poranění oka a ztrátu zra-
ku!
Zajistěte dostatečné větrání při práci v uzavřené místnosti. Přípustná okolní teplota je v rozmezí
0°C až 40°C!
Před výměnou řezacích hlav, řezného kotouče či odstraňovače ostřin vždy vypněte stroj a
vytáhněte vidlici ze zásuvky (činnost při odpojení ze sítě!)!
Po vypnutí stroj ještě chvíli setrvačností dojíždí, než se uvede do klidu.
Dokud stroj není zcela nehybný a není odpojen ze sítě, nedotýkejte se jakýchkoliv částí!
V případě závitových trubek proveďte po jejich montáži zkoušku těsnosti, zda neuniká žádný
plyn či voda!
2 Technické údaje
162 ČESKY
Položka č. 56050 .................................
ROPOWER 50 R, 230 V, BSPT R 1/4" – 2“
Položka č. 56045 .................................
ROPOWER 50 R, 110 V, BSPT R 1/4" – 2“
Položka č. 56057 .................................
ROPOWER 50 R, 230 V, BSPP R 1/4" – 2“
Rychlost ...............................................
40 ot/min bez zatížení
Motor ...................................................
Jednofázový univerzální motor 1150 W s ochranou proti
přetížení
Třída ochrany ......................................
I
Typ ochrany .........................................
IP 34
Frekvence ............................................
50 / 60 Hz
Hmotnost .............................................
cca. 68 kg
Rozměry ..............................................
535 x 430 x 340 mm (DxŠxV)
Závitořezná hlava ................................
Automatická hlava na řezání závitů 1/2“ – 2“
nebo 2 SE Závitořezná hlavami
Závitořezné čelisti ................................
1/2“ – 3/4“, 1“ – 2“
(Volitelně 1/4“ – 3/8“ Položka č. 56369)
Typická vážená hodnota vibrací ...........
2
< 2,5 m/s
Typická hladina zvuku s ohodnocením A:
Hladina akustického tlaku (L
pA
) ............
85 dB (A) ¦ K
pA
3 dB (A)
Hladina akustického výkonu (L
WA
) ........
96 dB (A) ¦ K
WA
3 dB (A)
Hladina hluku při práci může přesáhnout 85 dB (A). Noste ochranu sluchu!
Naměřené hodnoty zjištěny dle EN 61029-1:2010.

3 Funkce závitořezného stroje
3.1 Přehled (A)
ČESKY 163
1
Řezák trubek
8
Sklíčidlo
2
Závitořezné čelisti
10
T-rukojeť
3
Vnitřní odstraňovač ostřin
11
Zajišťovací páka
4
Nožový suport
12
Výběrová závlačka
5
Šroub pro vypouštění oleje
13
Výběrový Blok
6
Ruční kolečko podavače
14
Vačkový kotouč
7
Středicí sklíčidlo
15
Zajišťovací páka
3.2 Popis funkce
Na závitořezném stroji ROPOWER 50 R se vyřezávají nebo soustruží závity na obráběných
dílech jako jsou trubky nebo tyče.
Stroj se skládá z:
• hnacího elektromotoru, který otáčí středicím sklíčidlem
• sklíčidla pro připevnění obráběného dílu
• řezáku trubek pro řezání obráběného dílu do délky
• vnitřního odstraňovače ostřin
• závitořezné hlavy pro vytvoření závitu na obráběném dílu
• olejového čerpadla, které pomocí závitořezného oleje promazává a chladí obráběné díly
• nožového suportu vedeného po obou stranách ozubeným mechanismem
• sběrného žlabu pro odřezky a olej
• bezpečnostního pedálu
• omezovače dobíhání motoru
4 Předprovozní přípravy
4.1 Přeprava závitořezného stroje
Při zvedání stroj upevněte za konzoly, čímž chráníte svá záda proti přetížení.
Hmotnost > 35 kg 2 lidé!
Upevněte nožový suport, aby při přepravě stroje nedošlo k jeho posunu. Při zvedání stroj
pevně přidržujte za jeho spodní část. Při přepravě stroj nedržte za středicí sklíčidlo nebo
vnitřní odstraňovač ostřin!
Pokud je stroj přepravován včetně olejové náplně, může kvůli otřesům dojít k vystříknutí
oleje na oděv!
Olej na povrchu stroje způsobuje kluzkost. Zajistěte, aby vám stroj při zvedání z rukou
nevyklouzl!
4.2 Nastavení stroje
Stroj připravte k provozu na suchém
místě! Stroj umístěte na rovný povrch
bez mezer nebo na rovný ponk.
Středicí sklíčidlo musí být v porovnání
s ostatními částmi stroje umístěno
výše, aby nedošlo k úniku oleje skrz
obráběnou trubku a nedošlo tak ke
znečistění podlahy! Zajistěte, aby na
pracoviště a kolem stroje bylo
dostatek místa!
Nižší
Vyšší

164 ČESKY
Pokud nemáte dobrý přehled na nebezpečnou oblast obrábění stroje a ob-
ráběný kus, musíte celkovou délku obrobku zkrátit nebo nebezpečnou oblast
obrábění musíte zabezpečit výstražnými značkami! Instalace bezpečnostních
prvků musí být pevně zajištěna. Pokud za tímto účelem použijete podpěry, musí
být výškově nastavitelné, odolné a musí být v dostatečném počtu!
4.3 Elektrické připojení
Ani stroj ani obráběné kusy nepokládejte na připojovací kabel, jinak ho můžete
poškodit a vystavit se tak prostřednictvím nechráněného kabelu bezprostřednímu
zásahu elektrickým proudem!
Nikdy se vlhkýma rukama nedotýkejte síťové zástrčky a síťového kabelu. Nebezpečí
zásahu elektrickým proudem!
Je nezbytné, aby napětí na typovém štítku stroje odpovídalo síťovému zdroji, jinak
může dojít k přehřátí stroje, vzniku kouře, požáru a následných škod! Ochrana proti
úrazu elektrickým proudem: Stroj náleží do třídy ochrany I. Nevyžaduje dodatečné
uzemnění!
Před připojením stroje do sítě se ujistěte, že je vypínač nastaven v poloze
“VYPNUTO”, jinak se vystavujete riziku nenadálého a nečekaného spuštění stroje!
Nebezpečí úrazu! Napájecí zdroj musí být vybaven automatickým spínačem v
obvodu diferenciální ochrany, coby prevence úrazů elektrickým proudem!
Integrovaná ochrana proti přetížení automaticky stroj zastaví v případě přetížení
nebo kolísání výkonu! Opětovné zapnutí stroje je možné až po uplynutí jedné mi-
nuty!
Použijte prodlužovací kabel H07 RN 3 x 1.5 mm2! Kabel by neměl být delší než 30 m!
4.4 Závitořezný olej
Při řezání závitů použít vysoce účinnou závitořeznou kapalinu ROTHENBERGER, Položka č.
65015. Tato kapalina je vhodná pro řezání závitů veškerých potrubí včetně těch na pitnou
vodu.
Jako alternativu můžete používejte vysoce účinný závitořezný olej ROTHENBERGER,
položka č. 65010. Tento olej není vhodný pro řezání závitů trubek na pitnou vodu!
Závitořezný olej uložte mimo dosah dětí!
Závitořezný olej neřeďte nebo nemíchejte s ostatními typy olejů! Pokud dojde ke smíchání
závitořezného oleje s vodou, zbarví se do mléčně bílého odstínu a jeho kvalita se tím
sníží.
V takovém případě doporučujeme výměnu oleje!
Olej chraňte před přímým slunečním světlem a skladujte ho na tmavém místě!
Po použití nádobu na olej dobře utěsněte, aby nedošlo k vniknutí nečistot a vody!
UPOZORNĚNÍ PRO OSOBY TRPÍCÍ ALERGIEMI!
Závitořezný olej, který se dostane na kůži, může způsobit její podráždění, zánět a
alergické reakce! Při manipulaci s olejem používejte ochranný oděv a kryjte si
nechráněná místa na kůži. Pokud dojde ke kontaktu s olejem, ihned si kůži omyjte
mýdlem a tekoucí vodou. Pokud žhavý závitořezný olej vystříkne a vypaluje se na
povrchu obráběného kusu nebo nástroje, může dojít k produkci toxických výparů
nebo plynů (např. při hoření červeného oleje vzniká plynný chlór). Pokud náhodně
tyto olejové páry vdechnete, běžte ihned na čerstvý vzduch a neprodleně se poraďte
s lékařem!

4.5 Kontrola závitořezného oleje
ČESKY 165
Při čištění, údržbě, kontrole nebo opravě stroje, je nezbytně nutné mít stroj
vypnutý a odpojený ze sítě (činnost při odpojení ze sítě)!
Nový stroj, či ten, který nebyl delší dobu
používán, je v rámci ochrany potažen olejovým
filmem. Odstraňte tento film pomocí čisté látky.
Otočnou rukojetí točte proti směru hodinových
ručiček, aby se nožový suport přesunul na
sklíčidlo.
Na pravé straně stroje dolejte olej až po otvor
sítka.
Postarejte se, aby byl vypínač stroje stále v
pozici “vypnuto” a připojte síťovou zástrčku zpět
do zásuvky.
Zapněte stroj a přesvědčte se, zda závitořezný
olej prochází ze závitořezné hlavy na
závitořezné čelisti. Pokud není dodáváno
správné množství oleje, nastavte ho pomocí
olejového stavěcího šroubu.
4.6 Nastavení dodávaného množství oleje
Při čištění, údržbě, kontrole nebo opravě stroje, je nezbytně nutné mít stroj
vypnutý a odpojený ze sítě (činnost při odpojení ze sítě)!
Ujistěte se, zda je olejová nádrž naplněna na
úroveň otvoru sítka.
Pokud je množství oleje přiváděného ze
závitořezné hlavy nedostatečné, je nutno
požadovaný objem nastavit pomocí olejového
stavěcího šroubu.
Uvolněte pojistnou matici olejového stavěcího
šroubu.
Otáčením stavěcího šroubu ve směru hodino-
vých ručiček zvyšujete množství dodávaného
oleje a proti směru hodinových ručiček
množství oleje snižujete.
Po nastavení pojistnou matici pevně
dotáhněte.Pojistná matice méně více.
4.7 Vypouštění oleje
Je rovněž nezbytné si projít
bezpečnostní předpisy o likvidaci
odpadů v kapitole 9!
Otočná rukojeť
Filtr
Pojistná matice
méně
více
Šroub pro
vypouštění oleje

5 Obsluha závitořezného stroje
5.1 Upínání obráběných součástí (B)
166 ČESKY
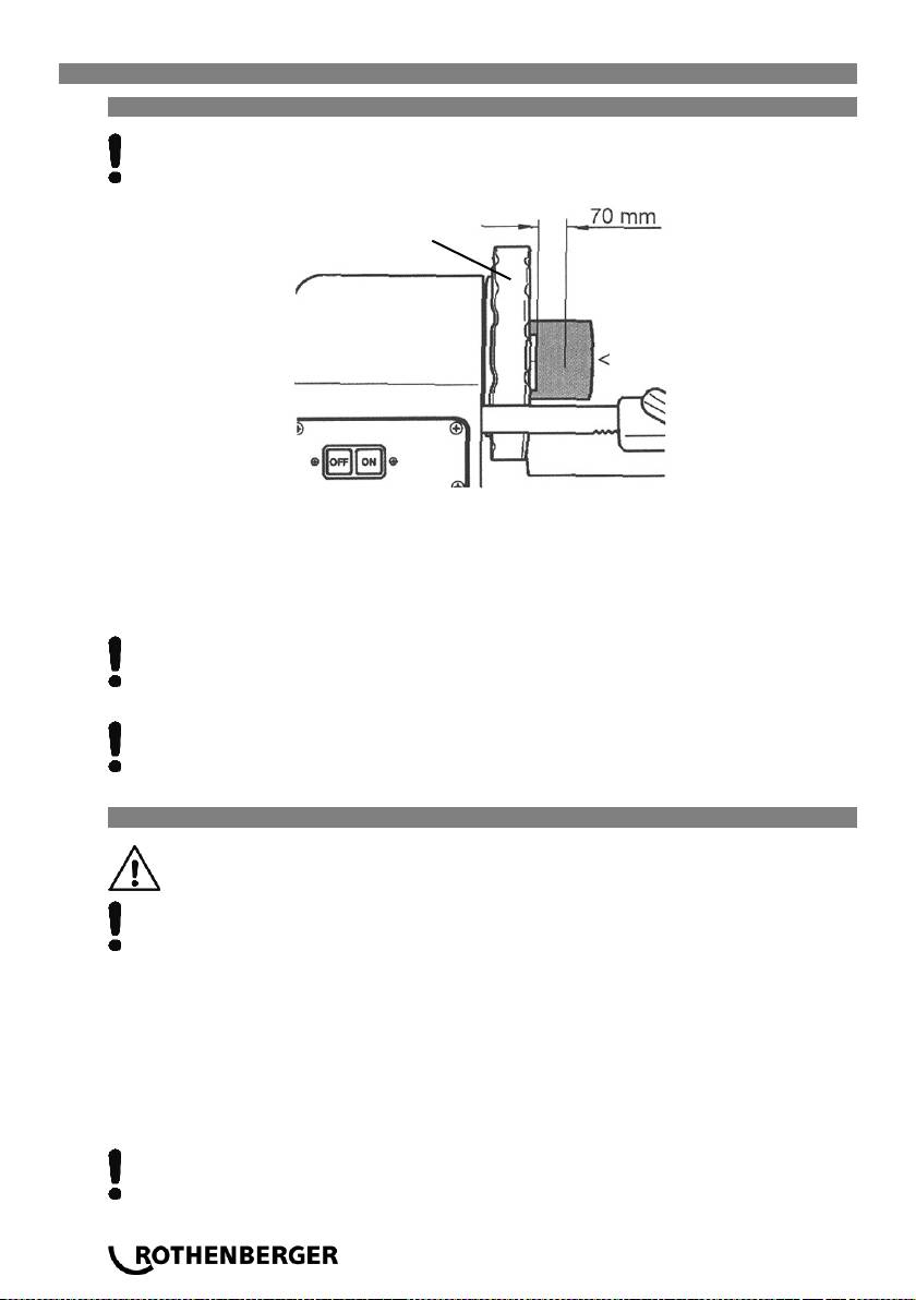
Pokud dojde ke kontaktu nožového suportu s rámem stroje ještě před ukončením
procesu řezání závitů, může dojít k poškození sklíčidla i stroje! Musí být zachována
bezpečná vzdálenost nejméně 70 mm mezi řezáním závitu a sklíčidlem!
Přesuňte řezák trubek a závitořeznou hlavu nahoru tak, aby tyto části při upínání nezavazely
a umístěte vnitřní odstraňovač ostřin na zadní stranu.
Vložte obrobek ze strany středicího sklíčidla (obr. 1) a středicí sklíčidlo utáhněte (obr. 2).
Pravou rukou držte pevně obráběný kus ve sklíčidle a pozvolna ho sklíčidlem dotahujte
(obr. 3).
Ujistěte se, že všechny tři upínací čelisti jsou v kontaktu s obráběným kusem.
Pokud tomu tak není, bude obráběný kus kmitat a řezání závitu neproběhne
správně.
Obráběný kus pevně upněte a velmi silně utáhněte.
V případě opracování dlouhých nebo těžkých trubek je nezbytně nutné použít po-
dpěru (položka č. 56047), která zamezí kmitání nebo kroucení obráběného kusu při
soustružení a zamezí naklánění stroje kvůli nadměrné hmotnosti obráběného kusu!
V opačném případě se obráběný kus i stroj stávají nestabilními!
5.2 Řezání obráběného kusu pomocí řezáku trubek (C)
Nedotýkejte se řezné plochy holýma rukama, protože je horká a má ostré hrany!
Nebezpečí úrazu a popálení!
Pokud při práci využíváte rukojeť řezáku trubek s příliš velkou silou, získá řezná
plocha trubky oválný tvar, což znemožní vytvoření přesného závitu. Z toho důvodu
tedy posunujte rukojetí řezáku pouze o polovinu otáčky z celkového otočení trubky!
Přesuňte řezák trubek nahoru, aby nezavazel. Otáčejte ručním kolečkem podavače proti
směru hodinových ručiček tak, aby byl řezák trubek umístěn do požadované pozice pro
řezání.
Sklopte řezák trubek k obráběnému dílu a stiskněte tlačítko ON (ZAPNOUT) nebo
sešlápněte pedál.
Intenzivně otáčejte rukojetí řezáku trubek ve směru hodinových ruček a začněte díl opra-
covávat.
Obraťte řezák dolů a pokračujte směrem zpět.
Neshromažďujte opracované trubky ve žlabu! Ihned po opracování je dejte mimo
žlab!
Sklíčidlo
Trubka

5.3 Vystružování obráběných kusů (D)
ČESKY 167
Břitová destička vnitřního odstraňovače ostřin je velmi ostrá! Nedotýkejte se jí
holýma rukama! Nebezpečí úrazu!
Vnitřní odstraňovač ostřin vytáhněte směrem k sobě.
Otáčejte ručním kolečkem podavače proti směru hodinových ručiček a pro vystružování
zlehka přitlačte břit nože výstružníku proti vnitřní straně potrubí.
Otáčejte dále rukojetí a pro vystružování zlehka přitlačte břit nože výstružníku proti vnitřní
straně potrubí.
5.4 Demontáž a montáž závitořezných čelistí z/do závitořezné hlavy (E)
Používejte rukavice, abyste se nepořezali o závitořezné čelisti!
Demontáž:
Ujistěte se, že není vysunuta zajišťovací páka a vyjměte závitořeznou hlavu
Přetáhněte zajišťovací páku do pozice “A” pro otevření závitořezných čelistí (obr. 1).
Rozvodný talíř posuňte do pozice “B” a vyjměte závitořezné čelisti (obr. 1).
Montáž:
Vložte závitořezné čelisti se stejným číslem, jako má příslušná závitořezná hlava a ujistěte
se, že do sebe slyšitelně zapadly (obr. 2).
Zajistěte, aby čísla na závitořezné hlavě a na závitořezných čelistech byla na stejné straně.
Rozvodný talíř posunujte do pozice “C”, dokud nedojde k zafixování zajišťovací páky (obr.
3).
Přesné řezání závitů je možné pouze tehdy, pokud číslo na zářezu závitořezné hlavy
odpovídá číslu na závitořezné čelisti!
Po výměně závitořezných čelistí zkontrolujte jejich zajištění! Po výměně závitořezné
hlavy nebo čelistí zkontrolujte jejich spolehlivé usazení v nožovém suportu!
5.5 Změna velikosti závitu (F)
Zajistěte, aby závitořezná hlava byla na nožovém suportu a závitořezné čelisti odpovídaly
velikosti závitu.
Vložte výběrovou závlačku do výběrového bloku s potřebnou velikostí závitu (obr. 1).
Velikost je zobrazena na příslušném bloku.
Vložte T-klika, s tímto celá cesta "D" je stisknuto, dokud vlákno zemře lapat do pracovní
polohy (obr. 2).
5.6 Řezání závitů (G)
Pokud vznikne nebezpečná situace, ihned zcela sešlápněte bezpečnostní pedál. Stroj se
zastaví.
Pro opětovné spuštění stroje stiskněte modrého spouštěcí tlačítko umístěné na boku be-
zpečnostního pedálu.
Řiďte se následujícími pokyny, jež vám zaručí precizně zhotovené závity:
Pro řezání závitů používejte pouze výchozí materiál o perfektní jakosti.
Pokud použijete deformované a / nebo šikmo řezané trubky, nebude možno vytvořit závit
odpovídající příslušným normám!
Používejte závitořeznou hlavu a odpovídající závitořezné čelisti, které odpovídají velikosti
závitu! Závitořeznou hlavu řádně zajistěte do nožového suportu.
Nepokládejte nechráněnou závitořeznou hlavu přímo na podlahu a zacházejte s ní o-
patrně!
Zajistěte, aby byl na závitořezné čelisti přiváděn závitořezný olej!

Sklopte závitořeznou hlavu a vložením T-rukojeti tlačte ve směru “B”, dokud se závitořezné
čelisti nedostanou do pracovní polohy (obr. 1).
Pomocí pedálu zapněte stroj, otáčejte rukojetí proti směru hodinových ručiček tak, aby se
závitořezné čelisti přitiskly k obráběné součásti (obr. 2).
Otočnou rukojeť uvolněte po vytvoření 2 až 3 zářezů v novém závitu.
Po dokončení řezání závitu se závitořezné čelisti automaticky otevřou prostřednictvím po-
délné zarážecí páky.
Stroj vypnete sundáním nohy z bezpečnostního pedálu.
5.7 Nastavení délky závitu
Délka závitu je nastavena výrobcem ale v případě nutnosti ji můžete změnit.
168 ČESKY
Pomocí štěrbinového šroubováku přidržte stavěcí kolík a
uvolněte šestihrannou matici.
Otáčením stavěcího kolíku ve směru „E“ délku závitů zkrátíte a
otáčením ve směru „F“ délku závitů prodloužíte. Délka závitů se
polovinou otáčky změní o cca 2 mm.
Pomocí štěrbinového šroubováku přidržte stavěcí kolík, aby se
neprotáčel a dotáhněte šestihrannou matici.
5.8 Nastavení hloubky závitu
Hloubka závitu je u čelistí standardně přednastavena při dodávce stroje. Při zahájení práce se
závitořezným strojem si uživatel musí překontrolovat a seřídit hloubku každého závitu pomocí
vhodného měřícího nástroje. Správné nastavení musí provést sám uživatel.
Nastavte talíř do pozice bloku, jež odpovídá velikosti, kterou
chcete nastavit.
Uvolněte šroub a posunem bloku nastavte hloubku závitu.
Posuňte ve směru „G“ pro zvýšení hloubky závitů a ve směru
„H“ pro zmenšení hloubky závitů. Posunutím o jeden stupeň se
hloubka závitu změní o 1,5 až 2 mm.
Na opracovávané trubce pomocí měřícího nástroje zkontrolujte
zkosenost/kuželovitost závitu (kónický závit) apod. a případně
upravte nastavení.
5.9 Vyjmutí obráběného kusu
Obráběný kus je díky závitořeznému oleji vlhký a kluzký. Při vyjímání ob-
ráběného kusu ze stroje důkladně zajistěte, aby nedošlo k jeho vyklouznutí z
vašich rukou a pádu na nohy!
Otáčejte ručním kolečkem podavače ve směru hodinových ručiček a nožový suport posuňte
dozadu.
Uvolněte sklíčidlo.
Uvolněte středicí sklíčidlo a obráběný kus vytáhněte.
5.10 Čištění po použití
Neodstraňujte kovové odřezky pomocí stlačeného vzduchu! Riskujete poranění
oka a ztrátu zraku! Nesbírejte kovové metal odřezky s ostrými hranami holýma
rukama! Nebezpečí poranění! Používejte ochranné rukavice!

Odstraňte odřezky jak ze stroje, tak z jeho okolí.
Při čištění použijte ocelový kartáč pro odstranění odřezků ze sklíčidla, čelistí u závitořezné
hlavy a vnitřního odstraňovače ostřin.
Na stroji a v pracovním prostoru utřete tkaninou stříkance závitořezného oleje.
6 Údržba a revize
U veškerých strojů během jejich činnosti dochází k přirozenému opotřebení.
Čas od času se proto na nich musí provést údržba a opotřebované díly se musí vyměnit.
Tento úkon musí provést pouze autorizované servisní středisko ROTHENBERGER.
To vám poskytuje plnou záruku na materiál a provedenou práci!
ČESKY 169
Při čištění, údržbě, revizi nebo opravě stroje, je nezbytně nutné mít stroj
vypnutý a odpojený ze sítě (činnost při odpojení ze sítě)! Vždy se vyvarujte
náhodného spuštění stroje. Nebezpečí úrazu!
6.1 Výměna břitu vnitřního odstraňovače ostřin
Při výměně břitů vždy používejte ochranné rukavice! Nebezpečí úrazu!
Nadzvedněte řezák trubek a závitořeznou hlavu a vytáhněte vnitřní odstraňovač ostřin
směrem k sobě.
Vyjměte pružnou závlačku z břitu výstružníku.
Břit výstružníku se uvolní, jakmile vytáhnete držák břitu výstružníku.
Umístěte nový břit výstružníku.
Do otvoru nového břitu výstružníku nasaďte zpět dříve vyjmutou pružnou závlačku.
6.2 Výměna řezného kotouče řezáku trubek
Při výměně břitů vždy používejte ochranné rukavice! Nebezpečí úrazu!
Zvedněte řezák trubek do svislé polohy a sklopte závitořeznou hlavu.
Směrem nahoru vytáhněte závlačku.
Přidržte řezný kotouč a na protilehlé straně pozvolna vytlačte válcový kolík řezného kotouče.
Odstraňte z čepu veškeré odřezky, nečistoty, olej apod. a drážku promažte. Vyjměte
závlačku.
Do držáku břitu vložte nový řezný kotouč a nasaďte zpět kolík. Válcový kolík řezného
kotouče.
Do válcového kolíku řezného kotouče zastrčte novou závlačku a zajistěte ji tak, že její konce
od sebe zahnete.
Vyjměte
závlačku
Závlačka
Řezný kotouč
válcový kolík
Řezný kotouč

6.3 Výměna vložek upínací čelisti (H)
170 ČESKY
Otočte sklíčidlem a otevřete ho tak, aby se
dovnitř vložil šroubovák. Závlačka.
Uvolněte šrouby, které zabezpečují vložky
upínací čelisti (obr. 1).
Vsuňte tenké táhlo do horní hrany pružiny a
vytáhněte závlačku sklíčidla (obr. 2).
Vytáhněte vložku upínací čelisti (obr. 3).
Nasuňte novou vložku a zatlačte ji na místo,
vyměňte pružinu a závlačku sklíčidla.
6.4 Každodenní prohlídka
Pozor! Před tím, než začnete s promazáváním, vytáhněte zástrčku ze sítě.
• Zkontrolujte síťovou zástrčku, síťový kabel a prodlužovací kabel, zda jsou nepoškozené.
• Zkontrolujte stav oleje
• Pokud jsou v olejové nádrži nečistoty, odstraňte je.
• Prohlédněte závitořezné čelisti, řezák trubek a vnitřní odstraňovač ostřin z hlediska opo-
třebení dílů a v případě potřeby je vyměňte.
• Případné nečistoty z upínacích čelistí odstraňte pomocí ocelového kartáče.
• Zkontrolujte zajištění závitových kolíků. V případě potřeby je utáhněte.
• Pravidelně odstraňujte nečistotu a odřezky ze stroje.
• Pokud nebudete stroj delší dobu používat, naneste na něj antikorozní mazivo.
• Zadní ložisko hřídele musí být promazáváno pravidelně. Promazávat stroje je dovoleno
pouze osobám, které se spolehlivě orientují v otázkách elektrické bezpečnosti.
7 Příslušenství
Název příslušenství
Číslo dílu ROTHENBERGER
Podpěra trubky stojanu pro trubky do 6“
Č. 56047
Náhradní řezací kolečko
Č. 70074
RONOL Kanystr
Č. 65010
RONOL Sprej
Č. 65008
RONOL SYN Kanystr (vhodné pitné vody)
Č. 65015
RONOL SYN Sprej (vhodné pitné vody)
Č. 65013
NIPPEL MAX 1/2 – 3/4 – 1 – 1.1/4 – 1.1/2“
Č. 56056
Konopí dávkovač s rolí, 40 g / 40 m
Č. 70623
Bezpečnostní nožní spínače, 3-fáze, 230 V
Č. 56335
Závit-Přístroje pro zdrsnění 3/8 – 2“
Č. 56500
www.rothenberger.com
šroub
otočit
Sklíčidlo

8 Zákaznické služby
K dispozici je síť servisních středisek společnosti ROTHENBERGER, která vám poskytnou
potřebnou pomoc a jejichž prostřednictvím jsou rovněž dodávány náhradní díly a zajišťovány
servisní zásahy (viz seznam v katalogu nebo na webových stránkách).
Příslušenství a náhradní díly můžete objednávat prostřednictvím svého specializovaného
prodejce nebo prostřednictvím pohotovostní linky našeho oddělení poprodejních služeb:
Telefon: + 49 (0) 61 95 / 800 – 8200
Fax: + 49 (0) 61 95 / 800 – 7491
Email: service@rothenberger.com
www.rothenberger.com
9 Likvidace
9.1 Kovové, elektrické a elektronické součástky
Části tohoto zařízení představují zhodnotitelný materiál a mohou být předány k recyklaci. K
tomuto účelu jsou k dispozici schválené a certifikované recyklační závody. K tomu, aby jste
mohli provést ekologicky přijatelnou likvidaci částí, které nelze zhodnotit (např. elektronický
šrot), je nutné provést konzultaci s Vaším úřadem, který je kompetentní pro likvidaci odpadů.
Pouze pro země EU:
ČESKY 171
Neodhazujte elektrické nástroje do odpadu! Podle Evropské směrnice 2012/19/EG o
odpadních elektrických a elektronických zařízeních (OEEZ) a podle jejího převedení
do národního práva musejí být opotřebené elektronástroje sbírány odděleně a ode
vzdány do ekologicky šetrného zpracování.
9.2 Oleje a maziva
K likvidaci použitých olejů jsou oprávněny pouze specializované firmy.
Použité a znečistěné oleje musí být skladovány a k likvidaci převáženy v neprodyšně
uzavřených olejovzdorných nádobách (kovové barely).
Poškozené elektrické spotřebiče a stroje, které již nelze opravit, musí být zbaveny veškerého
zbývajícího oleje.
Olejové nádrže musí být vyčištěny tak, že neobsahují žádné stopy oleje. Nesmí uniknout žádné
(dokonce ani velmi malé) množství oleje do země.

172 TÜRKÇE
İçindekiler
Sayfa
1 Güvenlik Notları ................................................................................................................ 173
1.1 Usulüne uygun kullanım ................................................................................................. 173
1.2 Genel güvenlik uyarıları .................................................................................................. 173
1.3 Güvenlik Talimatları ........................................................................................................ 175
2 Teknik veriler ..................................................................................................................... 175
3 Diş açma makinesi fonksiyonları ..................................................................................... 176
3.1 Genel bakış (A) .............................................................................................................. 176
3.2 İşlev açıklamaları ............................................................................................................ 176
4 İşletim için hazırlıklar ........................................................................................................ 176
4.1 Diş açma makinesinin taşınması..................................................................................... 176
4.2 Makinenin kurulması ....................................................................................................... 176
4.3 Elektrik bağlantısı ........................................................................................................... 177
4.4 Diş açma yağı ................................................................................................................. 177
4.5 Diş açma yağı kontrolü ................................................................................................... 178
4.6 Mevcut diş açma yağı miktarının ayarlanması ................................................................ 178
4.7 Yağın tahliye edilmesi ..................................................................................................... 178
5 Diş açma makinesinin işletilmesi ..................................................................................... 179
5.1 İşlenen parçaların sıkıştırılması (B) ................................................................................. 179
5.2 Boru kesici ile işlenecek parçanın kesilmesi (C) .............................................................. 179
5.3 İşlenen parça deliğinin genişletilmesi (D) ........................................................................ 180
5.4 Diş ağızlarının diş açma başlığından çıkarılması ve takılması (E) ................................... 180
5.5 Diş boyutunun değiştirilmesi (F) ...................................................................................... 180
5.6 Diş açma (G) .................................................................................................................. 180
5.7 Diş uzunluğunun ayarlanması ......................................................................................... 181
5.8 Diş derinliğinin ayarlanması ............................................................................................ 181
5.9 İşlenen parçaların kaldırılması ........................................................................................ 181
5.10 Kullanım sonrası temizlik ................................................................................................ 181
6 Bakım ve muayene ............................................................................................................ 182
6.1 Dahili çapak giderici bıçağının değiştirilmesi ................................................................... 182
6.2 Boru kesici kesme çarkının değiştirilmesi ........................................................................ 182
6.3 Sıkıştırma ağız dolgularının değiştirilmesi (H) ................................................................. 183
6.4 Günlük bakım ................................................................................................................. 183
7 Aksesuarlar ....................................................................................................................... 183
8 Müşteri hizmetleri ............................................................................................................. 184
9 Atıklar İçin ......................................................................................................................... 184
9.1 Metal, elektrik ve elektronik parçalar ............................................................................... 184
9.2 Yağlar ve yağlayıcılar ..................................................................................................... 184

TÜRKÇE 173
Dokümantasyonda kullanılan işaretler:
Tehlike!
İnsan sağlığıyla ilgili tehlikelere karşı ikazı.
Dikkat!
Eşyaya ve çevreye zarar verebilecek durumlara karşı ikaz.
Belli davranışlar için çağrı
1 Güvenlik Notları
1.1 Usulüne uygun kullanım
Diş açma makinesi ROPOWER 50 R yalnızca, Bölüm 2 “Teknik veriler” kısmında açıklandığı gibi
¼ - 2” ölçülerinde BSPT, NPT dişlerini kesmek, açmak ve kenar pürüzlerini gidermek amacıyla
kullanılabilir.
ROPOWER 50 R diş açma makinesi yalnızca; ROTHENBERGER Werkzeuge GmbH tarafından
tavsiye edilen ve kontrolü yapılan açma başlıkları ve Bölüm 2 “Teknik veriler” kısmında açıkla-
ması verilen diş açma ağızları kullanılarak işletilebilir.
Mevcut güvenlik pedalı, mesleki sorumluluk sigortacıları birliğinin GS onayını taşımaktadır ve
Federal Almanya Cumhuriyeti’nde kullanılan makineler için bu koşul mecburidir.
Diş açma makinesi ve aksesuarları üzerinde kesinlikle teknik veya tasarım modifikasyon-
ları yapmayın. Yapılması durumunda işletim izni geçersiz kılınır ayrıca kaza ve yaralanma
tehlikesi ortaya çıkabilir.
Elektrikli aletler ve makine kullanılırken; elektrik çarpması, yaralanma ve yangın riskinden
korunmak amacıyla temel güvenlik önlemlerine dikkat edilmeli ve bu tedbirlere uyul-
malıdır. Makineyi kullanmadan önce talimatları dikkatlice okuyun. Güvenlik talimatlarına
daima uyun.
1.2 Genel güvenlik uyarıları
DİKKAT! Elektrikli cihazların kullanımında elektrik çarpması, yaralanma ve yangın
tehlikesine karşı korumak için aşağıdaki temel güvenlik önlemleri dikkate alınmalıdır.
Elektrikli cihazları kullanmadan önce tüm güvenlik uyarılarını dikkatlice okuyun ve ve bu
kılavuzu saklayın.
Bakım ve Onarım:
1 Düzenli temizlik, bakım ve yağlama. Tüm ayarlama, bakım veya onarım işlemleri
öncesinde fişi prizden çekin.
2 Cihazınızı sadece kalifiye uzman personel tarafından ve sadece orijinal yedek
parçalarla tamir ettirin. Böylelikle cihazın güvenliğinin korunması temin edilmektedir.
Güvenli çalışma:
1 Çalışma alanınızı temiz ve düzenli tutun. Çalışma alanındaki düzensizlik kazalara yol
açabilir.
2 Çevresel etkileri dikkate alın. Elektrikli cihazınızı yağmura maruz bırakmayın. Cihazınızı
nemli veya yaş ortamlarda kullanmayın. Çalışma alanının iyi aydınlatılmış olması gerekir.
Yangın ve patlama tehlikesi bulunan alanlarda elektrikli cihazınızı kullanmayın.
3 Elektrik çarpmasından korunun. Boru, kalorifer, fırın ve buzdolabı gibi topraklı yüzeylerle
vücut temasından kaçının.
4 Diğer insanları uzak tutun. Diğer insanları ve özellikle de çocukları cihazdan uzak tutun ve
kablolara dokunmalarına izin vermeyin. Çocukları çalışma alanınızdan uzak tutun.
5 Kullanılmayan elektrikli cihazları güvenli bir şekilde muhafaza edin. Kullanılmayan
elektrikli cihazlar çocukların ulaşamayacağı şekilde kuru, yüksek ve kilitli bir yerde muhafaza
edin.
6 Elektrikli cihazınıza aşırı yük bindirmeyin. Belirtilen kapasite aralığında daha iyi ve daha
güvenli çalışırsınız.

7 Doğru cihazı kullanın. Ağır işler için düşük kapasiteli cihazlar kullanmayın. Cihazı sadece
belirtilen amaçlar ve işler için kullanın. Örneğin, ağaç dallarını veya ağaç parçalarını kesmek
için el devreli testere kullanmayın.
8 Uygun giysiler giyin. Bol kıyafet veya takı kullanmayın, bunlar hareketli parçalara
takılabilir. Açık alanda kullanırken, kaymayan bir ayakkabı giyilmesi önerilir. Saçlarınız uzun
ise, bir saç filesi kullanın.
9 Koruyucu ekipman kullanın. Koruyucu gözlük takın. Toz oluşan işlerde solunum maskesi
kullanın.
10 Toz emici tertibatlatı bağlayın. Toz emici ve toz tutucu takılabiliyorsa, bunların bağlanmış
olduğundan ve doğru kullanıldığından emin olun.
11 Cihazı sadece belirtilen amaçlar ve işler için kullanın. Fişi prizden çekmek için elektrik
kablosunu kullanmayın. Elektrik kablosunu ısıdan ve keskin kenarlardan koruyunn.
12 Malzemeyi emniyete alın. Malzemeyi sıkı tutabilmek için germe düzeneğini veya cıvatayı
kullanın. Elle tutmaktan daha güvenli olacaktır.
13 Normal dışı beden duruşlarından kaçının. Güvenli bir konuma geçin ve daima dengede
durun.
14 Aletlerinizin temizliğini dikkatli yapın. İyi ve güvenli bir çalışma için aletlerinizi keskin ve
temiz tutun. Yağlama ve alet değiştirme işlemlerinde talimatlara uyun. Elektrikli cihazınızın
bağlantı kablosunu düzenli olarak kontrol edin ve hasar durumunda uzman kişiler tarafından
değiştirilmesini sağlayın. Uzatma kablolarını düzenli olarak kontrol edin ve hasarlı oldukları
durumlarda değiştirin. Özellikle tutamakların kuru, temiz ve yağsız olmasını sağlayın.
15 Elektrik fişini prizden çekin. Elektrikli cihazınızı kullanmadığınızda, bakım işleri öncesinde
ve alet değiştirmelerde fişi prizden çekin.
16 Takım anahtarlarını takılı bırakmayın. Çalıştırmadan önce anahtarların ve ayar aletlerinin
uzaklaştırılmış olduğunu kontrol edin.
17 Yanlışlıkla çalıştırmaları önleyin. Fişi prize takarken şalterin kapalı olmasına dikkat edin.
18 Dış mekanlar için uzatma kablosu kullanın. Dış mekanlarda sadece onaylı, hasar
görmemiş ve ilgili işaretlere sahip uzatma kabloları kullanın.
19 Çevresel etkileri dikkate alın. Ne yaptığınıza dikkat edin. Çalışırken düşünerek hareket
edin. Konsantre olamadıysanız cihazı kullanmayın.
20 Cihazda hasar olup olmadığını kontrol edin. Kullanmadan önce cihazın emniyet
düzeneğinin ve küçük hasarlı parçaların kusursuzluğunu ve amacına uygun kullanımını iyice
kontrol edin. Hareketli parçaların düzgün çalıştıklarını, sıkışmadıklarını ve parçaların hasar
görmediklerini kontrol edin. Cihazın sorunsuz bir şekilde işletilmesini sağlamak için tüm
parçalar doğru monte edilmiş olmalı ve tüm şartları yerine getirmelidir.
Kullanım kılavuzunda aksi öngörülmemişse, hasarlı parçalar ve hasarlı emniyet düzeneği
uzman yetkili servis tarafından amacına uygun şekilde onarılmalı veya değiştirilmelidir.
Hasarlı şalterler bir müşteri yetkili servisinde değiştirilmelidir.
Şalter üzerinden açılıp kapanabilen elektrikli cihazları kullanın.
21 Dikkat. Başka aparatların ve aksesuarların kullanımı yaralanma tehlikesi oluşturabilir.
22 Cihazınızın onarımını sadece uzman bir yetkili serise yaptırın. Bu cihaz geçerli güvenlik
hükümlerine uygundur. Onarımlar, orijinal yedek parça kullanılarak yetkili bir elektrikçi
tarafından yapılmalıdır, aksi takdirde kazalar oluşabilir.
174 TÜRKÇE

1.3 Güvenlik Talimatları
Dönen parçaların (işlenecek parça, sıkıştırma aynası, sabitleme aynası) çalışma ve işlev alanına
kesinlikle parmaklarınız, yüzünüz, saçınız veya vücudunuzun başka bir kısmını koymayın ve bol,
geniş elbiselerinizi kaptırmayın. Takı takmayın (yüzük, kolye vb.) Yaralanma ve kaza tehlikesi!
ROPOWER 50 R aleti ile çalışırken arızalar (alışık olunmayan koku, titreşimler, alışık olunmayan
ses) yaşanırsa, güvenlik pedalına derhal basmanız ve makineyi ACİLEN DURDURMANIZ ge-
reklidir.
Makine çalışırken işlenecek parçaları el ile tutmak veya benzeri bir işlem yapmak ayrıca filtre,
vana, boru parçası vb. parçaları sökmek ve takmak yasaktır!
Koruyucu iş giysileri giyin! Diş açma yağının sıçraması ve klor gaz buharına (diş açma yağı
sıcak alet ve işlenecek parça yüzeylerinde yanar) karşı korunmak amacıyla bir güvenlik maskesi
kullanın! Uzun saçları korumak ve kapatmak amacıyla bir koruyucu kask kullanın! Diş açma
ağızlarını, boru kesme çarkını ve boru çapak alıcısını değiştirirken koruyucu iş eldivenleri
kullanın. Aleti ve işlenecek parçaları değiştirirken koruyucu iş eldivenleri giyin. Diş ve diş kesme
ağızları diş açma işlemi boyunca ısınırlar! Koruyucu iş ayakkabıları giyin. Diş açma yağının
kaçması sonucunda yaralanma (kaymaktan kaynaklı) tehlikesi ortaya çıkar! Alet değiştirilirken
makine parçalarının ıslak, kaygan ve dengesiz olması yaralanma tehlikesi ortaya çıkarır!
Basınçlı hava kullanarak metal talaş parçacıklarını temizlemeye çalışmayın! Gözden yaralanma
ve görme duyusunu kaybetme tehlikesi vardır!
Yapı içinde (kapalı mekanlar) kullanılırken yeterli havalandırma olduğundan emin olun. İzin veri-
len ortam sıcaklığı 0°C ila 40 °C aralığıdır!
Kesme başlıklarını, kesme çarkını, boru çapak gidericiyi değiştirmeden önce makineyi daima
kapatın ve fişi prizden çekin (gücü kesme işlemi!)!
Fiş çekildikten sonra, makine tamamen durgun hale gelene kadar kısa bir süre boyunca etkin-
liğini korur.
Fiş prizden çekilip makine tamamen durgun hale gelene dek makine parçalarına dokunmayın!
Söz konusu dişli borular olduğunda, borular yerleştirildikten sonra gaz veya su kaçışı yaşanma-
masını garanti altına almak için bir basınç testi yapın.
2 Teknik veriler
TÜRKÇE 175
Art.-No. 56050 ..................................
ROPOWER 50 R, 230 V, BSPT R 1/4" – 2“
Art.-No. 56045 ..................................
ROPOWER 50 R, 110 V, BSPT R 1/4" – 2“
Art.-No. 56057 ..................................
ROPOWER 50 R, 230 V, BSPP R 1/4" – 2“
Hız ....................................................
Yüksüz durumda 40 dev/dak
Motor ................................................
Tek fazlı üniversal motor 1150 W, aşırı yük koruması
Koruma sınıfı ....................................
I
Koruma tip ........................................
IP 34
Frekans ............................................
50 / 60 Hz
Ağırlık ...............................................
Yakl. 68 kg
Boyutlar ............................................
535 x 430 x 340 mm (LxWxH)
Diş açma başlığı ...............................
Otomatik açma başlığı 1/2“ – 2“ veya 2 SE açma başlıkları
Diş ağızları ........................................
1/2“ – 3/4“, 1“ – 2“ (Opsiyonel 1/4“ – 3/8“ Art.-No. 56369)
Değerlendirilin tipik ivme ...................
2
< 2,5 m/s
A değerli ses düzeyi:
Ses basınç düzeyi (L
pA
) .....................
85 dB (A) ¦ K
pA
3 dB (A)
Ses gücü (akustik) düzeyi (L
WA
) ........
96 dB (A) ¦ K
WA
3 dB (A)
Çalışma esnasında gürültü düzeyi, 85 dB‘yi (A) aşabilir. Kulaklık takınız! Ölçüm değerleri EN
61029-1:2010 normu uyarıncadır.

3 Diş açma makinesi fonksiyonları
3.1 Genel bakış (A)
176 TÜRKÇE
1
Boru kesici
8
Sıkıştırma aynası
2
Diş açma ağızları
10
T-tutamağı
3
Dahili çapak giderici
11
Kilit kolu
4
Alet taşıyıcı
12
Selektör pimi
5
Yağ boşaltma vidası
13
Selektör bloku
6
Yardımcı el çarkı
14
Dağıtıcı tabla
7
Sabitleme aynası
15
Kilit kolu
3.2 İşlev açıklamaları
Diş açma makinesi ROPOWER 50 R’de boru ve çubuk gibi parçalar kesilmekte ve bu parçalarda
diş açılmaktadır.
Makine aşağıda verilen parçalardan meydana gelir:
• sabitleme aynasını döndüren bir tahrik motoru
• işlenecek parçaları tutmak amacıyla bir sıkıştırma aynası
• işlenecek parçalar boyunca kesim yapan bir boru kesici
• dahili bir çapak giderici
• işlenecek bir parça üzerinde diş açmak amacıyla kullanılan bir diş açma başlığı
• diş açma yağını soğutan ve yağlama yapma amacıyla kullanılan bir yağ pompası
• dişli bir beslemeyle birlikte her iki taraftan yönlendirilen bir alet taşıyıcı
• bir talaş biriktirici ve yağ oluğu
• bir güvenlik pedalı
• kapatılma sonrasında etkinlik kısıtlayıcı
4 İşletim için hazırlıklar
4.1 Diş açma makinesinin taşınması
Makineyi kaldırırken sırtınıza aşırı basınç gelmemesi için dizlerinizi eğin.
Ağırlık > 35 kg 2 kişi!
Alet taşıyıcıyı sabitleyerek makine taşınırken makinenin hareket etmemesini sağlayın.
Makineyi tabanından sıkıca tutmak suretiyle kaldırın. Makineyi taşırken sabitleme aynası
veya dahili çapak giderici parçaları ile makineyi kaldırmaya çalışmayın!
Diş açma yağı makine içindeyken makine taşınıyorsa, sarsılmalardan dolayı yağ giysiler
üzerine sıçrayabilir!
Makine yüzeyinde bulunan diş açma yağı makineyi kayganlaştırır. Makineyi kaldırırken
elinize yağ bulaşmadığından emin olun!
4.2 Makinenin kurulması
Makineyi kuru bir alanda kurun!
Makineyi düz boşluksuz bir yüzeye
veya düz bir çalışma tezgahına
yerleştirin. Diş açma yağının işlenecek
boru yoluyla sızması ve zemine
dökülmesini önlemek için sabitleme
aynası makinenin diğer parçalarına
kıyasla daha yüksekte bulunmalıdır!
Makine ve çalışma alanında yeterince
bir boşluk bulunduğundan emin olun!
Alçak
Yüksek

