Rothenberger ROPOWER 50 R – страница 10
Инструкция к Rothenberger ROPOWER 50 R

TÜRKÇE 177
Makine ve işlenmekte olan dönen parçalardan kaynaklanan tehlikeli bölge için
net bir görüş alanınız yoksa; işlenmekte olan dönen parçaların toplam uzunlu-
kları düşürülebilir ya da tehlike bölgesi bir kordon veya uyarı işaretleri ile
güvenlik çemberi altına alınabilir. Güvenlik elemanları kurulmalı ve iyi bir şekil-
de sabitlenmelidir. Bu amaçla destekler kullanılacaksa, bu destekler güçlü
olmalı ve yüksekliğe göre ayarlanabilir olmalı ve sayıları yeterli olmalıdır.
4.3 Elektrik bağlantısı
Makine ya da işlenecek parçaları bağlantı kablosu üzerine yerleştirmeyin; aksi tak-
dirde kablo hasar görebilir ve elektrik akımına maruz kalıp elektrik çarpma tehlikesi
meydana getirebilir.
Islak elle ana priz ve kablolara kesinlikle dokunmayın. Elektrik çarpma tehlikesi!
Makine elektrik beslemesine bağlanırken, şalterin “OFF” (KAPALI) konumda
olduğundan daima emin olun; aksi takdirde bağlantı yapıldığında makine beklenme-
dik ve kontrolsüz bir şekilde çalışmaya başlayabilir!
Yaralanma ve kaza tehlikesi! Elektrik çarpmasını önlemek amacıyla makine artık
akımla çalışan bir devre kesici ile donatılmalıdır! Elektrik çarpmasına karşı koruma:
Makine I koruma sınıfındadır. İlave bir topraklamaya gerek yoktur!
Aşırı yükleme veya güç dalgalanması durumunda birleşik aşırı yük koruması maki-
neyi otomatik olarak durdurur! Bu durumda, bir dakika geçmeden makineyi yeniden
açmak mümkün değildir!
H07 RN 3 x 1.5 mm2 uzatma kablosunu kullanın! Kablo 30 m’den daha uzun
olmamalıdır!
4.4 Diş açma yağı
Diş açma için, art. no. 65015 ROTHENBERGER yüksek performanslı diş açma sıvısını kullana-
bilirsiniz.
Bu sıvı içme suyu boru hatları da dahil olmak üzere tüm boru hatlarında diş açmak amacıyla
kullanılabilir.
Alternatif olarak, art. no. 65010 ROTHENBERGER yüksek performanslı diş açma yağı
kullanın. İçme suyu borularında diş açmada bu yağ uygun değildir.
Diş açma yağlarını çocukların erişemeyeceği yerlerde saklayın!
Diş açma yağını seyreltmeyin veya başka yağlarla karıştırmayın! Diş açma yağı suyla
karıştırılırsa, süt beyazına döner ve kalitesi düşer bu durumda açılan diş yüksek kalitede
olmaz. Suyla karışması durumunda yağı değiştirilmesi tavsiye edilir!
Yağı doğrudan güneş ışığı altında bırakmaktan ve kapalı bir alanda muhafaza etmekten
kaçının!
Kir ve su girişini önlemek amacıyla kullanımdan sonra yağ kutusunu sıkıca kapatın!
ALERJİSİ OLAN KİŞİLER İÇİN UYARI
Cilde temas eden diş açma yağı ciltte tahrişe, yanmaya ve alerjik reaksiyonlara sebep
olabilir! Yağı kullanacaksanız, cildinizin yağa maruz kalabilecek bölgelerini kapatan
koruyucu iş elbiseleri giyin. Yağ cildinize temas ederse, derhal musluk suyu ve sabun-
la maruz kalan kısmı yıkayın. Diş açma yağı işlenecek sıcak parçalar üzerinde yan-
mışsa, zehirli buhar ve gazlar (kırmızı yağ yandığında klor gazı) oluşabilir. Kazara bu
yağ dumanından veya buharından solursanız, derhal temiz havaya çıkın ve gecik-
meksizin tıbbi destek alın!

4.5 Diş açma yağı kontrolü
178 TÜRKÇE
Makineyi temizlerken, bakım yaparken, muayene ederken veya onarırken maki-
nenin kapatılması ve fişinin prizden çıkartılması (gücü kesme işlemi) gereklidir!
Yeni veya uzun bir süre boyunca kullanılmamış
bir makine koruma amacıyla bir yağ katmanı ile
kaplanır. Bu katmanı temiz bir bez ile temiz-
leyin.
Döner tutamağı saatin tersi yönünde
döndürerek alet taşıyıcıyı sıkıştırma aynasına
taşıyın.
Makinenin sağ tarafında, elek gözü seviyesine
kadar diş açma yağını doldurun.
Makinenin kapalı durumda olduğundan emin
olun ve fişi tekrar prize takın.
Makineyi çalıştırın ve diş açma yağının diş
açma başlığından kesme ağızlarına doğru
aktığından emin olun. Doğru miktarda yağ
tedariği yapılamıyorsa, yağ ayar vidası ile bu
durumu düzenleyin.
4.6 Mevcut diş açma yağı miktarının ayarlanması
Makineyi temizlerken, bakım yaparken, muayene ederken veya onarırken maki-
nenin kapatılması ve fişinin prizden çıkartılması (gücü kesme işlemi) gereklidir!
Yağ deposunun elek gözü seviyesine kadar
dolu olduğundan emin olun.
Diş açma başlığı yoluyla iletilen diş açma yağı
miktarı gereklilikleri karşılamıyorsa, yağ ayar
vidası kullanılarak tedarik edilen miktar ayar-
lanabilir.
Yağ ayar vidasının kilit somununu açın.
Yağ ayar vidası saat yönünde döndürülürse
dağıtılan yağ miktarı artar; saatin aksi yönünde
döndürülürse dağıtılan miktar azalır.
Ayarlama yaptıktan sonra kilit somununu sıkı
bir şekilde sıkın.
4.7 Yağın tahliye edilmesi
Bölüm 9’de verilen güvenlik ve
atma yönetmelikleri de dikkate
alınmalıdır!
Döner tutamak
Filter
Kilit somunu
daha az
daha çok
Yağ boşaltma vidası

5 Diş açma makinesinin işletilmesi
5.1 İşlenen parçaların sıkıştırılması (B)
TÜRKÇE 179
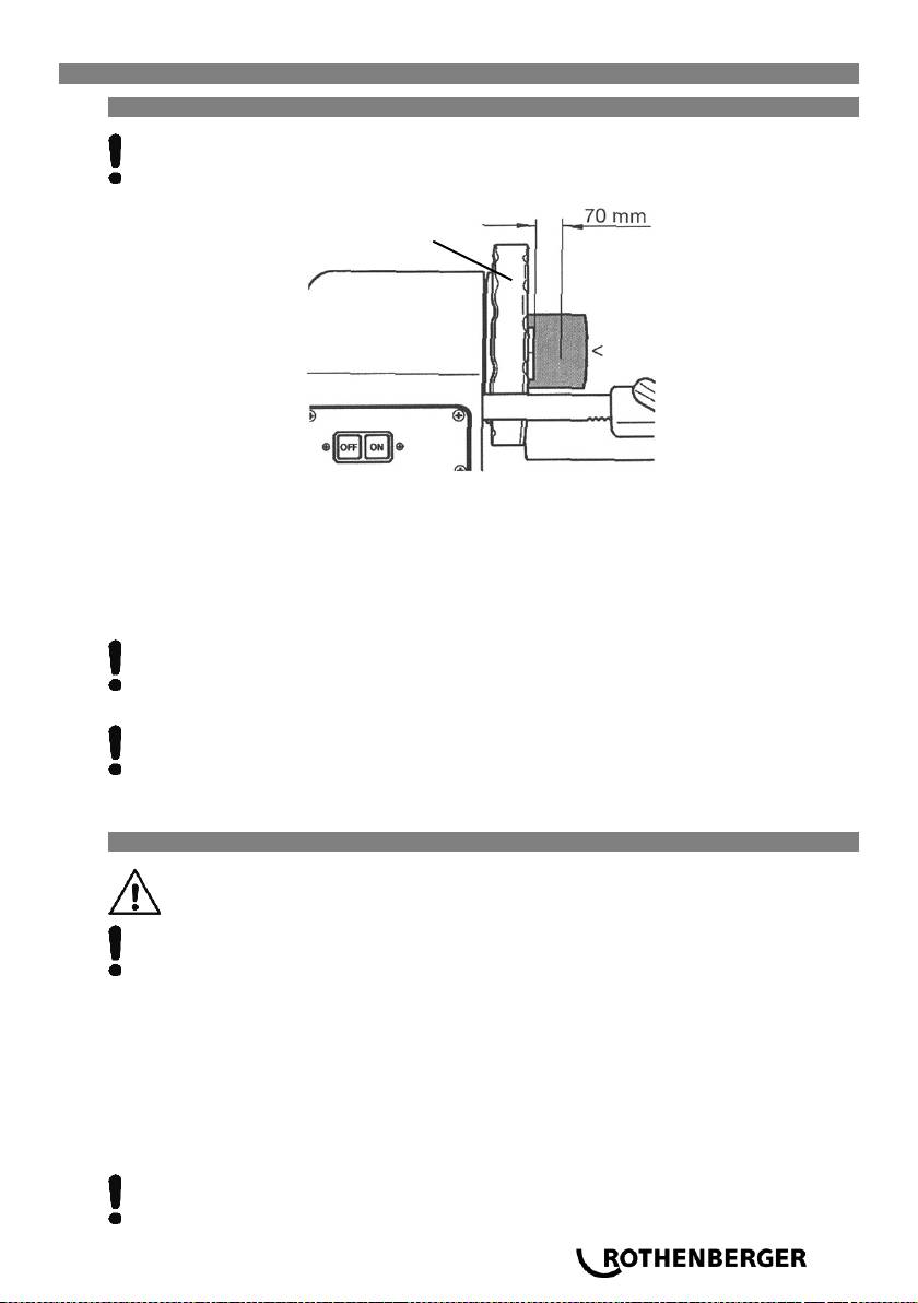
Alet taşıyıcı diş açma işlemi tamamlanmadan önce çerçeve ile temas ederse makine
bu duruma bağlı olarak hasar görebilir! Bu nedenle işlenecek parça üzerinde
açılacak diş ile sıkıştırma aynası arasında en az 70 mm’lik bir aralık bırakılmalıdır!
Boru kesiciyi ve diş açma başlığını yukarı doğru kaldırın bu sayede ilgili mesafeyi sağlamış
olurlar ayrıca dahili çapak gidericiyi arka kenara yerleştirin.
İşlenen parçayı sabitleme aynası kenarından takın (Şekil 1) ve sabitleme aynasını sıkın
(Şekil 2).
Sağ elinizi kullanarak sıkıştırma aynasında işlenecek parçayı sıkıcı tutun ve sıkıştırma ay-
nası ile yavaşça sıkıştırın (Şekil 3).
Üç sıkıştırma ağzının işlenecek parça ile temas ettiğinden emin olun.
Üç sıkıştırma ağzı işlenecek parça ile temas etmiyorsa, yerinden oynama yaşanabilir
bu durumda kesme veya diş açma işlemi doğru bir şekilde yapılamayabilir.
İşlenen parçayı iyice sıkıştırın ve çok sağlam bir şekilde sıkın.
Uzun ve ağır borular söz konusuysa, işlenecek parça döndürülürken parçanın ye-
rinden oynamaması veya bükülmemesi için ayrıca işlenecek parçanın uyguladığı
ağırlıktan dolayı makinenin devrilmesini önlemek amacıyla Art. No. 56047 boru
desteği kullanmak gerekir! Boru desteğinin kullanılmaması durumunda makine ve
işlenecek parça dengesini yitirebilir!
5.2 Boru kesici ile işlenecek parçanın kesilmesi (C)
Çıplak elle kesme yüzeyine dokunmayın; çünkü bu yüzey sıcaktır ve keskin
kenarlara sahiptir! Yaralanma ve yanma tehlikesi!
Boru kesici tutamağı kuvvet kullanılarak döndürülürse, borunun kesme yüzeyi oval
bir şekil alır ve bu durum doğru diş açılmasını imkansız hale getirir. Bu nedenle,
boru kesici tutamağını her bir tam boru dönüşü için yarım tur kadar kaldırın!
Boru kesiciyi ilgili mesafeyi sağlayacak şekilde yukarıya kaldırın. İşlenecek parçanın kesil-
mesi için boru kesiciyi gerekli konuma getirmek amacıyla yardımcı el çarkını saatin aksi
yönünde döndürün.
İşlenecek parçanın üstüne boru kesiciyi taşıyın ve ardından “ON” (AÇ) şalterine veya pedala
basın.
Boru kesici tutamağını güçlü bir şekilde saat yönünde döndürün ve işlenecek parçayı kes-
meye başlayın.
Boru kesiciyi aşağı ve tekrar geriye döndürün.
Kesilen boru parçalarının oluk içerisinde birikmesine izin vermeyin! Kesim işlemi
tamamlandıktan sonra ilgili parçaları derhal oluğun dışına alın!
Sıkıştırma aynası
Boru

5.3 İşlenen parça deliğinin genişletilmesi (D)
180 TÜRKÇE
Dahili çapak gidericinin kesme ucu çok keskindir! Çıplak elle uca dokunmayın!
Kesilme ve yaralanma tehlikesi!
Dahili çapak gidericiyi kendinize doğru çekin.
Yardımcı el çarkını saatin aksi yönünde çevirin ve delik genişletici kesici kenarını yavaşça
borunun iç tarafına doğru ittirerek deliği genişletin.
Döner tutamağı bir miktar daha döndürün ve delik genişletici kesici kenarını yavaşça
borunun iç tarafına doğru ittirerek deliği genişletin.
5.4 Diş ağızlarının diş açma başlığından çıkarılması ve takılması (E)
Diş ağızlarından kaynaklanabilecek kesim kazalarını önlemek için iş eldivenleri
kullanın!
Sökme:
Kilit kolunun çekilmediğinden ve diş çama başlığının kaldırıldığından emin olun.
Diş ağızlarını açmak için kilit pimini “A” konumuna çekin (Şekil 1).
Selektör plakasını “B” konumuna getirin ve diş ağızlarını kaldırın (Şekil 1).
Takma:
İlgili diş açma başlığında bulunan numarayla aynı numaralı olan diş ağzını takın ve bağlan-
ma sesinin duyulduğundan emin olun (Şekil 2).
Diş açma başlığı ve diş ağzı üzerinde bulunan numaraların aynı tarafta yer aldığından emin
olun.
Kilit kolunu sabitleyene kadar selektör plakasını “C” konumuna hareket ettirmeye devam e-
din (Şekil 3).
Kusursuz bir diş açma için diş açma başlığı deliği üzerinde bulunan numara ile diş
ağzı üzerinde bulunan numaranın aynı olması gerekir.
Diş açma ağzı değiştirildikten sonra sabit olup olmadıklarını kontrol edin. Diş açma
başlığı değiştirildikten veya diş açma ağızları yerlerine takıldıktan sonra alet
taşıyıcıda iyi bir şekilde kilitlenip kilitlenmediklerini kontrol edin!
5.5 Diş boyutunun değiştirilmesi (F)
Dişli açma başlığının alet taşıyıcı üzerinde olduğundan ve diş ağızları ile diş boyutlarının
uyuştuğundan emin olun.
Selektör pimini gerekli diş boyutunu kullanarak selektör blokuna takın (Şekil 1).
İlgili selektör blokunda boyut gösterilmektedir.
Kadar iplik erken çalışma pozisyonuna içine (Şekil 2) ölürse, bu tüm yolu "D" ile T-kolu takın
basıldığında.
5.6 Diş açma (G)
Tehlikeli bir durum söz konusuysa sağ altta bulunan güvenlik pedalına basın. Bu sayede
makine duracaktır.
Makineyi yeniden çalıştırmak için güvenlik pedalının yanında bulunan açma düğmesine mavi
basın.
Kusursuz dişler açmayı garanti altına almak için aşağıda verilen talimatları takip edin:
Diş açma için yalnızca, çok iyi durumda olan ham malzeme kullanın.
Deforme olmuş ve / veya köşelerinden kesilmiş boruların kullanılması durumunda ilgili
standartları sağlayacak bir diş açma işleminin gerçekleştirilmesi olanaksız olur.
Dişli boyutu ile eşleşen diş açma başlığı ve diş açma ağızlarını kullanın! Diş açma
başlığını alet taşıyıcıda iyi bir şekilde sabitleyin.
Diş açma başlığını doğrudan ve korunmasız olarak zemine bırakmayın ve dikkatli bir
şekilde tutun! Diş açma yağının diş açma ağızları üzerinden geçerek aktığından emin olun!

Diş açma başlığını indirin ve T tutamağını takın, diş açma ağızları çalışma konumuna gelene
kadar tutamağı “B” yönüne doğru tamamen ittirin (Şekil 1).
Pedalı kullanarak makineyi açın, diş ağzının işlenecek olan parçayı ittirmesi amacıyla döner
tutamağı saatin tersi yönünde döndürün.
2 ila 3 diş kesme döngüsü yapıldığında döner tutamağı serbest bırakın.
Diş açma ağızları, diş tamamen kesildiğinde boyuna bir durdurma kolu yoluyla otomatik ola-
rak açılmaktadır.
Güvenlik pedalından ayağınızı kaldırarak makineyi kapatın.
5.7 Diş uzunluğunun ayarlanması
Diş uzunluğu üretici tarafından belirlenmiştir fakat gerek duyulduğu takdirde değiştirilebilir.
TÜRKÇE 181
Bir tornavida yardımıyla ayar pimini tutun ve altıgen somunu
gevşetin.
Ayar pimi „E“ konumuna doğru döndürülürse dişler kısalır; „F“
konumuna doğru döndürülürse dişler uzar. Diş uzunluğu yarım
tur döndürülme ile 2 mm kadar değiştirilebilir.
Ayar piminin dönmesini önlemek amacıyla pimi bir tornavida ile
tutun ve altıgen somunu sıkın.
5.8 Diş derinliğinin ayarlanması
Kalıpların diş derinliği, dağıtımı yapılan diş açma makinelerinde önceden ayarlanmıştır ve stan-
darttır. Diş açma makinesi işletilmeden önce kullanıcı, uygun ölçüm aletleri kullanarak her diş
için diş derinliğini kontrol etmelidir. Kullanıcı tarafından doğru bir ayarlama yapılmalıdır.
Boyut ayarlaması gerekmeyen konum blokuna, konum pla-
kasını yerleştirin.
Vidayı gevşetin ve diş derinliğini ayarlamak amacıyla konum
blokunu hareket ettirin.
„G“ konumuna doğru kaydırma dişleri derinleştirir, „H“ konumu-
na doğru kaydırma dişleri sığlaştırır. Diş derinliği tek seferde 1,5
ila 2 mm kadar değiştirilebilir.
Bir ölçme aleti yardımıyla kesilen boruyu incelme ve benzer
durumlar bakımından kontrol edin ve gerekirse ayarı düzeltin.
5.9 İşlenen parçaların kaldırılması
İşlenen parçalar nemlidir ve diş açma yağı nedeniyle kaygandırlar. Makineden
işlenen parçaları alırken parçaların elinizden kayıp ayaklarınıza düşmemelerine
dikkat edin!
Yardımcı el çarkını saat yönünde döndürün ve alet taşıyıcıyı geriye çekin.
Sıkıştırma aynasını serbest bırakın.
Sabitleme aynasını serbest bırakın ve işlenen parçayı dışarı çekin.
5.10 Kullanım sonrası temizlik
Basınçlı hava kullanarak metal talaş parçacıklarını temizlemeye çalışmayın!
Gözden yaralanma ve görme duyusunu kaybetme tehlikesi vardır! Keskin ken-
arlara sahip metal talaşları çıplak elle toplamaya çalışmayın! Yaralanma tehli-
kesi! Koruyucu iş eldivenleri kullanın!

Makine üzerinde ve etrafında bulunan talaşları temizleyin.
Bir tel fırça kullanarak talaşları kaldırın ve sıkıştırma aynasını, diş açma başlığının diş açma
ağızlarını ve dahili çapak gidericiyi temizleyin.
Bir bez kullanarak makineden çalışma alanına dökülen diş açma yağını silin.
6 Bakım ve muayene
Tüm makineler kullanım boyunca doğal olarak yıpranır.
Makine bakımı periyodik olarak yapılmalı ve yıpranan parçalar değiştirilmelidir.
Parçalar ancak yetkili bir ROTHENBERGER servis istasyonunda değiştirilebilir.
Bu sayede işçilik ve malzeme konusunda tam bir garanti sağlanır!
182 TÜRKÇE
Makine temizlik, bakım, muayene veya onarım işleri boyunca kapalı tutulmalı ve
fişi prizden çıkartılmış olmalıdır (güç kesme işlemi)! Makinenin kontrolsüz açıl-
masından her zaman kaçının! Yaralanma ve kaza tehlikesi!
6.1 Dahili çapak giderici bıçağının değiştirilmesi
Bıçakları değiştirirken daima koruyucu iş eldivenleri kullanın! Kesme ve
yaralanma tehlikesi!
Boru kesiciyi ve diş açma başlığını kaldırın, dahili çapak gidericiyi kendinize doğru çekin.
Yay pimini dışarı doğru çekerek, delik genişletici bıçağının yanına çıkartın.
Delik genişletici bıçağı, tutamağı ileri doğru çekildiğinde açılır.
Yeni bir delik genişletici bıçağı yerleştirin.
Çıkartılmış olan yay pimini, yeni çapak giderici bıçağı deliğinden geçirerek tekrar takın.
6.2 Boru kesici kesme çarkının değiştirilmesi
Bıçakları değiştirirken daima koruyucu iş eldivenleri kullanın! Kesme ve
yaralanma tehlikesi!
Boru kesiciyi dik konuma getirin ve diş açma başlığını indirin.
Çatal pimi yukarı doğru çekin.
Kesme çarkını tutun ve kesme çarkı iğnesini yavaşça karşı tarafta ittirin.
Pimde olası talaş, kir, yağ vb. maddeleri temizleyin ve oluğa gres uygulayın.
Bıçak tutucuya yeni bir kesme çarkı takın ve pimi tekrar yerleştirin.
Yeni bir çatal pimini, kesme pimi iğnesinden geçirerek takın ve bükerek sabitleyin.
Çatal pimini
çıkartın
Çatal pimi
Kesme çarkı
iğnesi
Kesme çarkı

6.3 Sıkıştırma ağız dolgularının değiştirilmesi (H)
TÜRKÇE 183
Sabitleme aynasını döndürün ve bir tornavida
içine yerleşecek kadar aynayı açın.
Sıkıştırma ağzı dolgularını tutan vidaları
sökün (Şekil 1).
Yayın üst kenarına ince bir çubuk yerleştirin
ve sıkıştırma aynası pimini dışarı çekin (Şekil
2).
Sıkıştırma ağzı dolgusunu ileri doğru çekin
(Şekil 3).
Yeni bir sıkıştırma ağzı dolgusu takın ve
geriye ittirin, yayı ve sıkıştırma aynası pimini
yerine takın.
6.4 Günlük bakım
Dikkat! Yağlama işlerine başlamadan önce fiş güç kaynağından çıkartılmalıdır.
• Ana fişi, kabloyu ve uzatma kablosunu kontrol edin ve sağlam olduklarından emin olun.
• Yağ oluğunu doğru bir şekilde doldurun
• Yağ deposunda safsızlıklar mevcutsa depoyu temizleyin.
• Diş açma ağızlarını, boru kesiciyi ve dahili çapak gidericiyi aşınma açısından kontrol edin ve
aşınma varsa ilgili parçaları değiştirin.
• Sıkıştırma ağızları kirliyse bir tel fırça kullanarak temizleyin.
• İki ucu dişli vidaların sabit olup olmadıklarını kontrol edin. Gerekliyse vidaları sıkın.
• Makineden düzenli olarak kir ve talaşları temizleyin.
• Makine uzunca bir süre kullanılmayacaksa makineye paslanma önleyici gres uygulayın.
• Arka mil desteği periyodik olarak yağlanmalıdır. Yağlama işi yalnızca, elektrik güvenliği ko-
nusunda eğitimli kişiler tarafından yapılmalıdır.
7 Aksesuarlar
Aksesuar Adı
ROTHENBERGER Parça Numarası
Boru destek standı kadar borular için 6“
No. 56047
Yedek kesme tekerleği
No. 70074
RONOL teneke kutu
No. 65010
RONOL sprey
No. 65008
RONOL SYN teneke kutu (uygun içme suyu)
No. 65015
RONOL SYN sprey (uygun içme suyu)
No. 65013
NIPPEL MAX 1/2 – 3/4 – 1 – 1.1/4 – 1.1/2“
No. 56056
Rolü ile Kenevir dispanser, 40 g / 40 m
No. 70623
Emniyet ayak pedalları, 3-aşamalı, 230 V
No. 56335
Diş tırtıklama pensesi 3/8 – 2“
No. 56500
www.rothenberger.com
Vida
Döndür
Sıkıştırma aynası

8 Müşteri hizmetleri
ROTHENBERGER servis merkezleri size yardımcı olabilir (katalogdaki listelere veya web
sitemize bakın) ve yedek parçalar ve servis hizmeti de bu servis merkezlerinde mevcuttur.
Aksesuarlarınızı veya yedek parçalarınızı uzman satış temsilcinizden veya satış sonrası yardım
hattımızdan sipariş edin:
Telefon: + 49 (0) 61 95 / 800 – 8200
Faks: + 49 (0) 61 95 / 800 – 7491
Email: service@rothenberger.com
www.rothenberger.com
9 Atıklar İçin
9.1 Metal, elektrik ve elektronik parçalar
Makine terkibinde, atık değerlendirme yerlerine teslim edebileceğiniz değerli maddeler
bulunmaktadır. Bulunduğunuz yerde de yetkili atık değerlendirme işletmeleri olabilir. Yeniden
değerlendirilemeyecek atıkların (örn. elektronik çöp) çevre temizliğine uygun şekilde
toplanmasıyla ilgili sorularınızı yerel atık toplama dairesine yöneltebilirsiniz.
Sadece AB ülkeleri için:
184 TÜRKÇE
Elektronik aletleri ev çöpüne atmayınız! 2012/19/EG numaralı Elektro ve Elektronik
Eski Cihazlar AB Yönetmeliği ve bunun üye ülkelerin hukukuna uyarlaması gereğince
artık kullanılamayacak durumda olan elektro cihaz ve aletlerin ev çöpünden ayrı olarak
toplanması ve çevreye zarar vermeyecek bir şekilde geri dönüşüme verilmesi
gerekmektedir.
9.2 Yağlar ve yağlayıcılar
Kullanılmış yağların imhası ancak bu konuda uzman şirketler tarafından yapılabilir.
Kullanılmış ve kirlenmiş yağlar yağa dirençli kapalı kaplarda (metal bidonlar) saklanmalı ve imha
edilmelidir.
Onarımı yapılamayan bozuk elektrikli cihazlar ve makineler içlerinde kalan yağın tahliye edilmesi
amacıyla açılmalı ve temizlenmelidir.
Yağ olukları temizlenerek hiç yağ izi bırakılmamalıdır. Yere yağ (çok düşük bir miktar olsa bile)
dökülmesine izin verilmemelidir.

MAGYAR 185
Tartalom
Oldal
1 Útmutatások a biztonsághoz ............................................................................................ 186
1.1 Rendeltetésszerû használat............................................................................................ 186
1.2 Általános biztonsági utasítások ....................................................................................... 186
1.3 Biztonsági utasítások ...................................................................................................... 188
2 Mûszaki adatok ................................................................................................................. 188
3 A menetvágó gép funkciói................................................................................................ 189
3.1 Áttekintés (A) .................................................................................................................. 189
3.2 A gép működésének leírása ........................................................................................... 189
4 Üzemeltetési előkészületek .............................................................................................. 189
4.1 A menetvágó gép szállítása ............................................................................................ 189
4.2 A gép beállítása .............................................................................................................. 190
4.3 Elektromos csatlakoztatás .............................................................................................. 190
4.4 A menetvágó olaj ............................................................................................................ 190
4.5 A menetvágó olaj ellenőrzése ......................................................................................... 191
4.6 Az adagolt olajmennyiség szabályozása ......................................................................... 191
4.7 Az olaj leeresztése ......................................................................................................... 192
5 A menetvágó gép kezelése............................................................................................... 192
5.1 A munkadarab befogása (B) ........................................................................................... 192
5.2 A munkadarab vágása a csővágóval (C) ........................................................................ 192
5.3 A munkadarab dörzsárazása (D) .................................................................................... 193
5.4 A menetvágó pofák fel- és leszerelése a menetvágó fejre/fejről (E) ................................ 193
5.5 A menetméret megváltoztatása (F) ................................................................................. 193
5.6 A menetvágás művelete (G) ........................................................................................... 193
5.7 A menethossz beállítása ................................................................................................. 194
5.8 A menetmélység beállítása ............................................................................................. 194
5.9 A munkadarab kivétele a gépből ..................................................................................... 195
5.10 Használat utáni tisztítás .................................................................................................. 195
6 Karbantartás és átvizsgálás ............................................................................................. 195
6.1 A belső sorjázó korongjának cseréje .............................................................................. 195
6.2 A csővágó korongjának cseréje ...................................................................................... 195
6.3 Befogópofa betétek cseréje (H) ...................................................................................... 196
6.4 Napi átvizsgálás ............................................................................................................. 196
7 Kiegészítők ........................................................................................................................ 197
8 Ügyfélszolgálat ................................................................................................................. 197
9 Ártalmatlanítás .................................................................................................................. 197
9.1 Fém, elektromos és elektronikus alkatrészek .................................................................. 197
9.2 Olajok és kenőanyagok .................................................................................................. 197

186 MAGYAR
Az anyagban használt jelölések:
Balesetveszély!
Ez a jel a személyi sérülésektől óv.
Figyelem!
Ez a jel anyagi- vagy környezeti károktól óv.
Felhívás cselekvésre
1 Útmutatások a biztonsághoz
1.1 Rendeltetésszerû használat
A ROPOWER 50 R menetvágó gép csak ¼ – 2 hüvelyk méretű BSPT és NPT menetek
vágására és sorjázására alkalmas, ahogyan a "Műszaki adatok" című 2. fejezetben ismertetjük.
A ROPOWER 50 R menetvágó gép csak a ROTHENBERGER Werkzeuge GmbH által bevi-
zsgált és ajánlott megfelelő menetvágó fejekkel a "Műszaki adatok" című 2. fejezetben ismerte-
tett menetvágó pofákkal üzemeltethető.
A mellékelt biztonsági pedál a szakmai felelősségbiztosítási szövetség GS minősítésével van
ellátva, amely a a Német Szövetségi Köztársaságban kötelező a gép használatához.
A menetvágó gépen és tartozékain ne végezzen sem műszaki sem formai átalakításokat.
Azzal érvénytelenné válik az üzemeltetési engedély, valamint baleset és személyi sérülés
veszélye áll fenn.
Elektromos szerszámok és gépek használatánál az áramütés, sérülés és tűz veszélyének
elkerülése végett tegye meg az alapvető biztonsági intézkedéseket. A gép használata
előtt alaposan tanulmányozza át a biztonsági útmutatásokat. A biztonsági útmutatót tar-
tsa mindig a keze ügyében.
1.2 Általános biztonsági utasítások
FIGYELEM! Az elektromos szerszámok használata során az elektromos áramütés,
baleset- és tűzveszély megelőzése érdekében be kell tartani a következő alapvető
fontosságú biztonsági utasításokat.
Az elektromos szerszám használata előtt olvassa el az összes utasítást, és őrizze azokat
meg egy biztonságos helyen.
Karbantartás és állagmegóvás:
1 Rendszeres tisztítás, karbantartás és kenés. Minden állítás, állagmegóvó vagy
karbantartó művelet előtt húzza ki az elektromos csatlakozót.
2 A készüléket csak képzett szakemberrel javíttassa, és csak eredeti alkatrészeket
használjon. A készülék (javítás utáni) biztonságos működése csak így biztosítható.
Biztonságos munkavégzés:
1 Tartson rendet a munkahelyen. A rendetlen munkahely balesetet okozhat.
2 Vegye figyelembe a környezetet is (annak befolyásoló hatását). Ne tegye ki az
elektromos szerszámot esőnek. Az elektromos szerszámot ne használja nedves vagy
nyirkos környezetben. Biztosítson megfelelő megvilágítást a munkaterületen. Ne használjon
elektromos szerszámot tűz- és robbanásveszélyes helyeken.
3 Védje magát az elektromos áramütés ellen. Kerülje, hogy valamely testrésze földelt
tárggyal (pl. csövekkel, radiátorral, elektromos sütővel, hűtőszekrénnyel) érintkezzen.
4 Tartsa távol a bámészkodókat (többi személyt). Ne engedje, hogy más személy,
különösképpen gyermek az elektromos szerszám közelében tartózkodjon vagy megérintse
annak kábelét. Tartsa őket távol a munkavégzés helyétől.
5 A nem használt elektromos szerszámokat biztonságos helyen tárolja. A nem használt
elektromos szerszámokat száraz, magas (nehezen elérhető) vagy zárt helyen tárolja, ott,
ahol azokhoz a gyerekek nem férhetnek hozzá.

6 Az elektromos szerszámokat ne terhelje túl. A megadott teljesítménytartományban a
szerszámok jobban és biztonságosabban működnek.
7 A feladathoz megfelelő elektromos szerszámot használja. Ne használjon gyenge
teljesítményű gépet nehéz (nagy teljesítményt igénylő) feladatokhoz. Ne használja az
elektromos szerszámot olyan célra, amelyre azt nem tervezték. Ne használjon pl. kézi
körfűrészt fatörzsek vagy fahasábok fűrészeléséhez.
8 A munkavégzéshez megfelelő öltözetet viseljen. Na hordjon olyan ruhát vagy ékszert,
amelyet a mozgó alkatrészek elkaphatnak. Ha szabadban végez munkát, akkor
csúszásgátló lábbeli használata javasolt. Ha a haja hosszú, akkor használjon hajhálót.
9 Használjon védőfelszerelést. Használjon munkavédelmi védőszemüveget. Poros, pornak
kitett munkahelyen használjon védőmaszkot.
10 Csatlakoztassa a porszívó(eszköz)t. Ha a szerszámon van porszívó-csatlakozás vagy
felfogórendszer, akkor győződjön meg ezek megfelelő csatlakoztatásáról, ill. használatáról.
11 A kábelt csak rendeltetésszerűen, azzal ellentétesen ne használja. A csatlakozódugót
az aljzatból ne a kábelt húzva húzza ki. Védje a kábelt a hőtől, az olajtól és az éles élektől.
12 Rögzítse a munkadarabot. Használjon pillanatszorítót vagy más rögzítőeszközt/satut a
munkadarab le- vagy befogására. Ezek az eszközök biztosabban tartják a munkadarabot,
mintha azt a kezében tartaná.
13 Kerülje a természetellenes testtartást. Vegyen fel biztos tartást és folyamatosan őrizze
meg az egyensúlyát.
14 A szerszámot gondosan ápolja. A vágószerszámokat tartsa élesen és tisztán, hogy velük
jobban és biztonságosabban dolgozhasson. Kövesse a kenési és a szerszámcsere
utasításokat. Rendszeresen ellenőrizze az elektromos szerszám vezetékét; ha a vezeték
megsérült, akkor azt cseréltesse le képzett villanyszerelővel. Rendszeresen ellenőrizze a
hosszabbító vezetéket; ha az sérül cserélje le. Tartsa a fogantyúkat szárazon, tisztán, zsír-
és olajmentesen.
15 A csatlakozódugót húzza ki az aljzatból. Ha nem használja az elektromos szerszámot, ill.
a karbantartása és a szerszámcsere - pl. fűrészlap, fúrófej, marófej - előtt.
16 A szerszámkulcsot vegye le a szerszámról. A bekapcsolás előtt a kulcsot, és az
állítószerszámot vegye le.
17 Kerülje a véletlen (akaratlan) bekapcsolást. Győződjön meg arról, hogy a kapcsolót a
csatlakozódugó aljzathoz való csatlakoztatása előtt kikapcsolta.
18 Kültéri használatra való hosszabbítókábelt használjon. A szabadban csak erre
engedélyezett és megfelelően megjelölt hosszabbítókábelt használjon.
19 Legyen óvatos/figyelmes. Figyeljen arra, amit csinál. A munkát megfontoltan végezze. Ne
használja az elektromos szerszámot, ha fáradt, figyelme nem elég koncentrált.
20 Ellenőrizze az elektromos szerszámot potenciális sérülésekre. Az elektromos szerszám
használata előtt a védőeszközöket és az alkatrészeket ellenőrizni kell - akadálymentes, a
rendeltetésüknek megfelelő működésre. Ellenőrizze, hogy a mozgó alkatrészek
akadálymentesen működjenek, ne szoruljanak, és az alkatrészek ne legyenek sérültek.
Egyes alkatrészeket megfelelően fel kell szerelni ahhoz, hogy minden elvárást
(követelményt) teljesítsenek, és biztosítsák az elektromos szerszám problémamentes
használatát.
A sérült védelmeket és alkatrészeket hivatalos szakszervizben meg kell javíttatni vagy le kell
cseréltetni, kivéve, ha ezt a használati útmutató másképp definiálja. A sérült kapcsolót
műhelyben kell lecseréltetni.
Ne használjon olyan elektromos szerszámot, amelyet a kapcsolójával nem lehet be- vagy
kikapcsolni.
21 Figyelem! Más (gyártó által gyártott) szerszám vagy tartozék használata balesetveszélyes
lehet.
22 Az elektromos szerszámot csak képzett villanyszerelővel javítassa. Ez az elektromos
szerszám megfelel a vonatkozó biztonsági előírásoknak. Javítását csak képzett
villanyszerelő végezheti, a javításhoz csak eredeti cserealkatrészeket szabad használni,
különben a szerszám használója balesetet szenvedhet.
MAGYAR 187

1.3 Biztonsági utasítások
Ujjait, haját, egyéb testrészeit és ruházatának lazább darabjait mindig tartsa távol forgó alkat-
részek befogó felületeitől (munkadarab, befogótokmány, központosító tokmány). Ne viseljen
ékszereket (gyűrű, lánc stb.). Ezek sérülést és balesetet okozhatnak!
Ha a ROPOWER 50 R géppel végzett munka közben rendellenességet (szokatlan szag,
vibráció, szokatlan zaj) észlel, azonnal nyomja meg a biztonsági pedált és végezzen
VÉSZLEÁLLÍTÁST a gépen!
Amíg a gép jár, tilos a munkadarabot kézzel tartani vagy ehhez hasonló műveletet végezni, tilos
alkatrészeket (szűrők, szelepek, csődarabok stb.) a gépre rátenni vagy arról levenni!
Viseljen védőöltözetet! Viseljen védőmaszkot a kifröccsenő menetvágó olaj vagy kiszabaduló
klórtartalmú gáz (akkor keletkezhet, a menetvágó olaj a szerszám vagy a munkadarab forró
felületén elég)ellen! Ha hosszú a haja, viseljen védősisakot. Menetvágó pofák, csővágó korong
és csősorjázó cseréjénél viseljen védőkesztyűt. A szerszám és a munkadarab cseréjénél is vi-
seljen védőkesztyűt. A menet és a menetvágó pofák menetvágás közben felforrósodnak! Visel-
jen biztonsági lábbelit. A kiömlő menetvágó olaj sérülés (megcsúszás) veszélyét teremti meg! A
szerszám cseréjénél a nedves, csúszós és excentrikus gépalkatrészek is sérülést okozhatnak!
A fém forgácsot ne sűrített levegővel távolítsa el! Ez szemsérülést, sőt a látás elvesztését
okozhatja!
Beltéri használatnál (zárt helyiségekben) biztosítson megfelelő szellőzést. A megengedett
környezeti hőmérséklet 0 °C – 40 °C!
Vágófejek, vágókorong és csősorjázó cseréje előtt mindig kapcsolja ki a gépet és húzza ki a
dugaszát a konnektorból (áramtalanítás)!
Kikapcsolás után a gép a még egy ideig szabadon fut, majd teljesen leáll.
A gép teljes leállása és a tápkábel dugaszának kihúzása előtt ne érjen a gép semmilyen
részéhez!
Csöveken végzett menetvágás után végezzen nyomáspróbát annak biztosítása céljából, hogy
összeszerelés után a csövekből ne szabadulhasson ki gáz vagy víz!
2 Mûszaki adatok
188 MAGYAR
Cikkszám 56050 ......................
ROPOWER 50 R, 230 V, BSPT R 1/4" – 2“
Cikkszám 56045 ......................
ROPOWER 50 R, 110 V, BSPT R 1/4" – 2“
Cikkszám 56057 ......................
ROPOWER 50 R, 230 V, BSPP R 1/4" – 2“
Fordulatszám ...........................
40 fordulat/perc, terhelés nélkül
Motor .......................................
Egyfázisú univerzális motor, 1150 W teljesítményű, túlterhelés-
védelemmel ellátva
Védelmi osztály ........................
I
Védelmi type ............................
IP 34
Frekvencia ...............................
50 / 60 Hz
Súly .........................................
ca. 68 kg
Méretek ...................................
535 x 430 x 340 mm (hosszúság x szélesség x magasság)
Menetvágó fej ..........................
Automatikus-menetvágó fej, 1/2“ – 2“
vagy 2 SE menetvágó fejekkel
Menetvágó pofák .....................
1/2“ – 3/4“, 1“ – 2“
(Külön rendelhető 1/4“ – 3/8“ Cikkszám 56369)
Szabvány szerint értékelt
vibráció ....................................
2
< 2,5 m/s

MAGYAR 189
Jellemző A-súlyozású hangszint:
Hangnyomás szint (L
pA
) ...........
85 dB (A) ¦ K
pA
3 dB (A)
Hangteljesítmény szint (L
WA
) ....
96 dB (A) ¦ K
WA
3 dB (A)
Munka végzésekor a zajszint meghaladhatja a 85 dB (A) értéket. Hallásvédőt kell viselni!
Mérésadatok az EN 61029-1:2010-nek megfelelő módon felvéve.
3 A menetvágó gép funkciói
3.1 Áttekintés (A)
1
Csővágó
8
Befogótokmány
2
Menetvágó pofák
10
T-fogantyú
3
Belső sorjázó
11
Reteszelő kar
4
Szerszámszán
12
Beállító csap
5
Olajleeresztő csavar
13
Beállító blokk
6
Előtoló kézikerék
14
Bütykös tárcsa
7
Központosító tokmány
15
Reteszelő kar
3.2 A gép működésének leírása
A ROPOWER 50 R menetvágó gép menetet vág olyan munkadarabokra mint például csövek
vagy rudak.
A gép részei a következők:
• egy hajtómotor, amely a központosított tokmányt forgatja
• egy befogótokmány a munkadarab rögzítéséhez
• egy csővágó a munkadarab megfelelő hosszúságúra vágásához
• egy belső sorjázó
• egy menetvágó fej, amely menetet vág a munkadarabra
• egy kenést és hűtést szolgáló olajszivattyú, menetvágó olajjal
• egy szerszámszán mindkét oldalon fogazott előtolóval
• egy forgács- és olajgyűjtő teknő
• egy biztonsági pedál
• egy szabadonfutás-gátló
4 Üzemeltetési előkészületek
4.1 A menetvágó gép szállítása
A gép felemeléséhez hajlítsa be a térdét, hogy az emeléssel ne terhelje túl a
hátát.
Súly > 35 kg 2 ember!
Rögzítse a szerszámszánt, hogy a gép szállítása közben ne mozdulhasson el. Feleme-
léshez a talpánál fogva biztonságosan tartsa. Szállítás közben ne a központosító to-
kmánynál vagy a belső sorjázónál fogva tartsa!
Ha szállítás közben van még menetvágó olaj a gépben, a rezgés miatt az könnyen a
ruhájára fröccsenhet.
A gép a felületére került menetvágó olajtól síkossá válik. Ügyeljen arra, hogy emelés
közben ki ne csússzon a kezéből!

4.2 A gép beállítása
190 MAGYAR
Száraz helyre tegye a gépet!
Száraz,résektől mentes felületre vagy
lapos munkapadra helyezze. A
központosító tokmánynak a gép többi
részénél magasabban kell lennie,
hogy a menetvágó olaj a
megmunkálás alatt lévő csövön
keresztül ne folyhasson ki a
padlózatra! A munkaterületet úgy
alakítsa ki, hogy a gép körül elegendő
szabad hely legyen!
Ha nem látja át pontosan a gép és a forgó munkadarab által veszélyeztetett
területet, rövidítse le a forgó munkadarab teljes hosszát, vagy jelölje meg a
veszélyeztetett területet szalaggal vagy figyelmeztető jelzésekkel. A biztonsági
figyelmeztető jelzéseket biztonságosan rögzítse a helyükön. Ha ehhez támas-
ztékokat használ, azok állítható magasságúak, erős felépítésűek legyenek és
megfelelő mennyiségben álljanak rendelkezésre!
4.3 Elektromos csatlakoztatás
A tápkábelre ne tegye rá sem a gépet sem a munkadarabot, mert megsérülhet a
kábel, és áramütés veszélye állhat fenn!
A tápkábel dugaszát ne érintse nedves kézzel. Ez is áramütés veszélyét hordja
magában!
Az áramütés elkerülése érdekében az áramforrást maradékáram-működtetésű me-
gszakítóval kell ellátni! Lényeges, hogy a gép címkéjén feltüntetett feszültség meg-
feleljen az áramforrás feszültségének, mert különben a gép felforrósodhat, füstöl-
het, tüzet vagy más kárt okozhat.
Mielőtt a gépet az elektromos hálózatra kapcsolja, ügyeljen arra, hogy a kapcsoló
"OFF" (kikapcsolt) állásban legyen, mert különben a gép észrevétlenül és ellenőri-
zetlenül beindul! Ez sérülést és balesetet okozhat!
A beépített túlterhelés-védelem túlterhelés vagy áramingadozás esetén automati-
kusan leállítja a gépet! Csak egy perc elteltével kapcsolható be újra!
A H07 RN 3 x 1,5 mm2-es hosszabbító kábelt használja! A kábel nem lehet 30 m-nél
hosszabb!
4.4 A menetvágó olaj
Menetvágáshoz ROTHENBERGER nagyteljesítményű menetvágó folyadék használata, ennek
cikkszáma: 65015. Ez a folyadék ivóvíz vezeték csöveire történő menetvágáshoz alkalmas.
Alternatív megoldást jelenthet a ROTHENBERGER nagyteljesítményű menetvágó olajat
használjon, cikkszáma: 65010. Ivóvíz vezeték csöveire történő menetvágáshoz ez az
olaj nem alkalmas!
A menetvágó olajokat gyermekek által el nem érhető helyen tartsa!
A menetvágó olajat ne hígítsa és ne keverje más olajokkal! Ha a menetvágó olajhoz víz
keveredik, az tejfehérré válik, romlik a minősége, és így a vágott menet is rosszabb
minőségű lesz. Ilyen esetben az olaj cseréje ajánlatos!
Az olajat közvetlen napsugárzástól védve, sötét helyen tárolja!
Használat után az olajtartályt szorosan zárja le, hogy szennyeződés vagy víz ne juthasson
bele!
Alacsonyabban
Magasabban

MAGYAR 191
ALLERGIÁTÓL SZENVEDŐK FIGYELMÉBE!
A bőrre kerülő menetvágó olaj bőrirritációt, gyulladást és allergiás tüneteket válthat ki!
Ha olajjal dolgozik, viseljen védőruházatot, és a veszélyeztetett bőrfelületet fedje be.
Ha a bőre olajjal kerül érintkezésbe, azonnal mossa le folyóvízzel és szappannal. Ha
a menetvágó olaj ráég a felforrósodott munkadarabra vagy a szerszám felületére,
mérgező gőzök vagy gázok (piros olaj égésénél pl. klórgáz) képződhetnek. Ha vélet-
lenül belélegezte az olajpárát vagy olajgőzt, azonnal menjen friss levegőre és ha-
ladéktalanul forduljon orvoshoz!
4.5 A menetvágó olaj ellenőrzése
A gép tisztítása, szervizelése, átvizsgálása vagy javítása előtt lényeges, hogy
húzza ki a tápkábel dugaszát a konnektorból (áramtalanítás)!
Az új vagy a hosszú időn keresztül használaton
kívül tartott gépek védelem céljából vékony
olajréteggel vannak bevonva. Ezt tiszta rongg-
yal távolítsa el.
Forgassa a forgatható fogantyút az óramutató
járásával ellentétes irányba, hogy a
szerszámszánt a befogótokmányhoz állítsa.
A gép jobb oldalán töltse fel a gépet menetvágó
olajjal a szűrőháló szintjéig.
Ügyeljen arra, hogy a kapcsoló kikapcsolt
állásban legyen, és dugaszolja a gépet a
konnektorra.
Kapcsolja be a gépet és gondoskodjon arról,
hogy a menetvágó olaj a menetvágó fejből el-
jusson a menetvágó pofákhoz. Ha nem jut oda
kellő mennyiségű olaj, az olajbeállító csavarral
szabályozhatja.
4.6 Az adagolt olajmennyiség szabályozása
A gép tisztítása, szervizelése, átvizsgálása vagy javítása előtt lényeges, hogy
húzza ki a tápkábel dugaszát a konnektorból (áramtalanítás)!
Gondoskodjon arról, hogy az olajtartály a
szűrőháló szintjéig fel legyen töltve olajjal.
Ha a menetvágó fejen keresztül adagolt
olajmennyiség nem megfelelő, az olajbeállító
csavarral be kell szabályozni.
Lazítsa meg az olajbeállító csavar záróanyáját.
Az olajbeállító csavart az óramutató járásának
irányába forgatva növeli, azzal ellenkező irány-
ba forgatva pedig csökkenti az adagolt olaj
mennyiségét.
A beállítás elvégzése után erősen húzza meg a
záróanyát.
Forgatható
fogantyú
Szűrő
Záróanya
kevesebb
több

4.7 Az olaj leeresztése
192 MAGYAR
A 9. fejezetben ismertetett, bi-
ztonságra és megsemmisítésre
vonatkozó szabályok betartása
is lényeges!
5 A menetvágó gép kezelése
5.1 A munkadarab befogása (B)
A szerszámszán menetvágás közben a kerethez érhet, és attól megsérülhet a be-
fogótokmány és maga a gép! Ezért tartson legalább 70 mm szabad távolságot a
munkadarabon vágott menet és a befogótokmány között!
Mozdítsa a csővágót és a menetvágó fejet felfelé úgy, hogy ne legyenek útban, és a belső
sorjázót a hátoldalon állítsa megfelelő helyzetbe.
Illessze a munkadarabot a befogótokmány oldalához (1. ábra), és szorítsa be a be-
fogótokmányt (2. ábra).
Tartsa a munkadarabot erősen a befogótokmány oldalán a jobb kezével, és fokozatosan
szorítsa be a befogótokmánnyal (3. ábra).
Ügyeljen arra, hogy mindhárom befogópofa érintkezzen a munkadarabbal.
Ha a három befogópofa nem ér a munkadarabhoz, az ingadozni fog, és nem lehet
pontosan vágni, illetve nem lehet bele pontos menetet vágni.
Biztonságosan fogassa be és nagyon erősen szorítsa be a munkadarabot.
Hosszú vagy nehéz csövek esetében lényeges, hogy csőtámaszt használjon
(cikkszáma: 56047), hogy forgatás közben a munkadarab ne inogjon és ne
csavarodjon, és hogy a gép ne boruljon fel a munkadarab súlya alatt! Ellenkező
esetben a munkadarab és a gép instabillá válhat!
5.2 A munkadarab vágása a csővágóval (C)
A vágott munkadarabhoz ne érjen kézzel, mert az forró és élesek a szélei! Ez
égési vagy más sérülést okozhat!
Ha a csővágó fogantyúját erőltetve forgatja, ovális lesz a csövön a vágási felület,
ami lehetetlenné teszi a pontos menetvágást. Ezért a csővágó fogantyúját csak fél
fordulattal fordítsa el a cső teljes fordulatánál!
Befogótokmány
Cső
Olajleeresztő csavar

Mozdítsa el a csővágót felfelé, hogy ne legyen útban. Forgassa az előtoló kézikereket az
óramutató járásával ellentétes irányba, hogy a csővágót a munkadarab vágásához szü-
kséges helyzetbe állítsa.
Mozdítsa el a csővágót lefelé a munkadarabra, majd kapcsolja a gép kapcsolóját ON (be-
kapcsolva) állásba, vagy nyomja meg a pedált.
Forgassa erősen a csővágó fogantyúját az óramutató járásának irányába és kezdje meg a
munkadarab vágását.
Fordítsa a csővágót lefelé majd vissza.
MAGYAR 193
Ne gyűjtse a levágott csődarabokat a teknőben! A vágási művelet befejezése után
azonnal vegye ki azokat onnan!
5.3 A munkadarab dörzsárazása (D)
A belső sorjázó vágóhegye nagyon éles! Puszta kézzel ne érintse! Ez vágási
vagy egyéb sérülést okozhat!
Húzza önmaga felé a belső sorjázót.
Forgassa az előtoló kézikereket az óramutató járásával ellentétes irányba, majd a
dörzsárazó vágóélét finoman nyomja hozzá a dörzsárazni kívánt cső belsejéhez.
Forgassa tovább a forgatható fogantyút, majd finoman nyomja a dörzsárazó vágóélét a cső
belsejéhez.
5.4 A menetvágó pofák fel- és leszerelése a menetvágó fejre/fejről (E)
Viseljen védőkesztyűt, hogy a menetvágó pofák ne okozhassanak kézsérülést!
Leszerelés:
Ügyeljen arra, hogy a reteszelő kar ne legyen kihúzva, és emelje ki a menetvágó fejet.
Tegye a reteszelő kart “A” állásba a menetvágó pofák nyitásához (1 ábra).
Tegye a beállító lemezt “B” állásba, és vegye ki a menetvágó pofákat (1 ábra).
Felszerelés:
Tegye be a menetvágó fejen lévő számozásnak megfelelő számozású menetvágó pofákat,
és győződjön meg arról, hogy a helyükön jól hallhatóan rögzítődnek (2 ábra).
Ügyeljen arra, hogy a vágófejen és a vágópofákon lévő számok ugyazon az oldalon legy-
enek.
Mozgassa a beállító lemezt “C” állásba, amíg a reteszelő kar nem rögzítődik (3 ábra).
Pontos menetvágás csak akkor lehetséges, ha a menetvágó fej résén lévő szám
megegyezik a menetvágó pofán található számmal!
Menetvágó pofák cseréje után ellenőrizze, hogy azok biztonságosan rögzítődtek a
helyükön. Menetvágó fej vagy menetvágó pofák cseréje után ellenőrizze, hogy azok
biztonságosan reteszelődnek-e a szerszámszánban!
5.5 A menetméret megváltoztatása (F)
Gondoskodjon arról, hogy a menetvágó fej a szerszámszánon legyen, és hogy a menetvágó
pofák megfeleljenek a menetméretnek.
Illessze a beállító csapot a kívánt menetméretű beállító blokkba (1 ábra).
A méret az adott beállító blokkon fel van tüntetve.
Helyezze be a T-fogantyú, ezzel egészen a "D"-t nyomva, amíg a szál hal nem pattannak a
munkahely (2. ábra).
5.6 A menetvágás művelete (G)
Veszélyhelyzetben azonnal nyomja le a biztonsági pedált. Ezzel leállítja a gépet.
Újraindításhoz nyomja meg a biztonsági kék pedál oldalán elhelyezett kioldó gombot.

Pontosan kivágott menet készítése érdekében kövesse az alábbi útmutatásokat:
194 MAGYAR
Csak tökéletes állapotú anyagon végezzen menetvágást.
Deformált és/vagy ferdén levágott csövekre nem lehetséges a vonatkozó normáknak
megfelelő menetet vágni!
A menet méretéhez illő menetvágó fejet és annak megfelelő menetvágó pofákat has-
ználjon!
Biztonságosan rögzítse a menetvágó fejet a szerszámszánon.
A menetvágó fejet ne helyezze közvetlenül és védelem nélkül a padlózatra! Gondoskodjon
arról, hogy a menetvágó pofák kapjanak menetvágó olajat!
Tegye lejjebb a menetvágó fejet és illessze be a T fogantyút, nyomja teljesen a "B"
irányába, amíg a menetvágó pofák működési helyzetbe nem állnak (1 ábra).
A pedállal kapcsolja be a gépet, forgassa a forgatható fogantyút az óramutató járásával el-
lentétes irányba, hogy a menetvágó pofák rányomódjanak a munkadarabra (2 ábra).
2–3 menet kivágása után engedje el a forgatható fogantyút.
A menetvágó pofákat egy hosszanti leállítókar automatikusan kinyitja, amint a menetet tel-
jesen kivágták.
A lábát a biztonsági pedálról levéve kapcsolja ki a gépet.
5.7 A menethossz beállítása
A menet hosszát a gyártó beállította, de szükség esetén változtatható.
Tartsa a beállító tüskét egy laposfejű csavarhúzóval, majd
lazítsa meg a hatszögű anyát.
A beállító tüskét az „E“irányában mozgatva rövidebbre, az
„F“irányában mozgatva pedig hosszabbra állítja a menetet. Fél
fordulattal kb. 2 mm-rel változtat a menet hosszán.
Tartsa a beállító tüskét egy laposfejű csavarhúzóval, hogy el
ne fordulhasson, majd húzza meg a hatszögű anyát.
5.8 A menetmélység beállítása
A vágópofák menetmélysége már gyárilag be van állítva. A menetvágó gép használatának meg-
kezdésekor a felhasználónak alkalmas mérőműszerrel vagy hasonló eszközzel minden egyes
menet mélységét ellenőriznie kell. A pontos beszabályozást a felhasználónak kell elvégeznie.
Tegye a beállító lemezt abba a beállító blokkba, amely nem az
állítandó méretnek felel meg.
Lazítsa meg a csavart, és a beállító blokk mozgatásával állítsa
a menet mélységét.
A „G“ irányába csúsztatva mélyebbre, a „H“ irányába csúsztat-
va pedig sekélyebbre állítja a menetet. Egy skálabeosztás kb.
1,5–2 mm-re változtat a menet mélységén.
Mérőműszerrel ellenőrizze, hogy a vágott csövön kúpos-e a
menet, és szükség esetén változtasson a beállításon.

5.9 A munkadarab kivétele a gépből
MAGYAR 195
A munkadarab nedvessé és csúszóssá válik a menetvágó olajtól. Nagyon
vigyázzon arra, hogy ki ne csússzon a kezéből, és rá ne essen a lábára, amikor
a gépből kiveszi.
Forgassa az előtoló kézikereket az óramutató járásának irányába, és tegye vissza a
szerszámszánt.
Lazítsa ki a befogótokmányt.
Lazítsa ki a központosító tokmányt, és húzza ki a munkadarabot.
5.10 Használat utáni tisztítás
A fém forgácsot ne sűrített levegővel távolítsa el! Ez szemsérülést, sőt a látás
elvesztését okozhatja! Az éles fémforgácsokat ne puszta kézzel szedje fel!
Sérülésveszély! Viseljen védőkesztyűt!
Távolítsa el a forgácsot a gépről és a gép környékéről.
Tisztításnál befogótokmányról, a menetvágó fej menetvágó pofáiról és a belső sorjázóról
drótkefével távolítsa el a forgácsot.
A gépről és a munkadarabról lecsepegett menetvágó olajat ronggyal törölje le.
6 Karbantartás és átvizsgálás
Használat közben minden gép természetes kopásnak van kitéve.
Időnként karbantartást kell rajtuk végezni, és a kopó alkatrészeket ki kell cserélni.
Ezt a munkát csak megbízott ROTHENBERGER szervizállomás végezheti.
Ezáltal vállalunk teljes jótállást az anyag- és gyártási hibákért!
A gép tisztítása, karbantartása, átvizsgálása vagy javítása előtt lényeges, hogy
kapcsolja ki a gépet, és húzza ki a tápkábel dugaszát a konnektorból
(áramtalanítás)! Mindig gondoskodjon arról, hogy a gép ne indulhasson be
véletlenül. Ez sérülést és balesetet okozhat!
6.1 A belső sorjázó korongjának cseréje
A korongok cseréjénél mindig viseljen védőkesztyűt! Vágási és egyéb sérülés
veszélye áll fenn!
Emelje fel a csővágót és a menetvágó fejet, és húzza a belső sorjázót önmaga felé.
Vegye ki a rugós csapszeget a következő dörzsárazó korongból.
A dörzsárazó korong kivehető, ha a dörzsárazó korong tartóját előrefelé húzza.
Tegyen be új dörzsárazó korongot.
Tegye vissza a korábban kivett rugós csapszeget az új dörzsárazó korong furatába.
6.2 A csővágó korongjának cseréje
A korong cseréjekor mindig viseljen védőkesztyűt! Vágási és egyéb sérülés
veszélye áll fenn!
Hozza a csővágót felső helyzetbe, és engedje le a menetvágó fejet.
Húzza felfelé a sasszeget.
A vágókorongot tartva nyomja ki belőle a tengelycsapot a másik oldalra.

196 MAGYAR
Távolítsa el a szegről a forgácsot, szennyeződést, olajat stb., majd zsírozza meg a vájatot.
Helyezzen új vágókorongot a korongtartóba, majd tegye vissza a szeget.
Tegyen új sasszeget a vágókorong tengelycsapjába, és széthajlítással rögzítse.
6.3 Befogópofa betétek cseréje (H)
A befogótokmányt forgatva addig nyissa ki,
amíg egy csavarhúzó már éppen belefér.
Lazítsa ki a befogótokmány betétet rögzítő
csavarokat (1. ábra).
Helyezzen egy vékony rudat a rugó felső
szélére, és húzza ki a befogótokmány
csapszegét (2. ábra).
Húzza a befogótokmány betétet előrefelé (3.
ábra).
Tegyen bele új befogótokmány betétet, tolja
hátra, tegye vissza a rugót és a csapszeget.
Húzza meg a csavart.
6.4 Napi átvizsgálás
Figyelem! A kenési munkák megkezdése előtt a hálózati dugaszt ki kell húzni a
konnektorból.
• Ellenőrizze, nem sérült-e a hálózati dugasz, a tápkábel és a hosszabbító kábel.
• Ellenőrizze, megfelelően fel van-e töltve az olajteknő.
• Tisztítsa ki az olajtartályt, ha szennyeződés van benne.
• Vizsgálja át kopás szempontjából a menetvágó pofákat, a csővágót és a belső sorjázót, és
ha elhasználódott alkatrészt talál bennük, cserélje ki azt.
• Ha piszkosak a befogópofák, drótkefével tisztítsa meg őket.
• Ellenőrizze, jól meg vannak-e húzva az illesztőcsavarok. Szükség esetén húzza meg őket.
• A gépről rendszeresen távolítsa el a szennyeződést és forgácsot.
• Ha a gépet hosszú ideig nem szándékozik használni, kenje be rozsdavédő zsírral.
• A hátsó tengelytámasz rendszeres kenést igényel. A kenést csak elektromos biztonsági
kérdésekben jártas személyek végezhetik.
Vegye ki a
sasszeget
Sasszeg
Vágókorong
Tengelycsap
Vágókorong
Csavar
Forgatá
Befogótokmány

