Rothenberger ROPOWER 50 R – страница 3
Инструкция к Rothenberger ROPOWER 50 R

FRANÇAIS 37
Si la poignée du coupe-tubes est tournée en utilisant la force, la surface de coupe
du tube prend une forme ovale qui rend un filetage correct impossible! Pour cette
raison, déplacez la poignée du coupe-tubes d’une demi-rotation par rotation com-
plète du tube!
Rabattez le coupe-tubes vers le haut pour qu’il ne vous gêne pas. Tournez le volant à main
d’avance dans le sens contraire de celui des aiguilles d’une montre afin de mettre le coupe-
tubes dans la position nécessaire pour couper la pièce à usiner.
Déplacez le coupe-tubes vers le bas sur la pièce à usiner puis actionner le commutateur
MARCHE et/ou l’interrupteur à pédale.
Tournez vigoureusement la poignée du coupe-tubes dans le sens des aiguilles d’une montre
et commencez à couper la pièce à usiner.
Faites à nouveau pivoter le coupe-tubes vers le haut et remettez-le dans sa position initiale.
Ne collectez pas les tubes coupés dans la cavité. Sortez-les de la cavité aussitôt
après la fin de la coupe!
5.3 Alésage des pièces à usiner (D)
La pointe coupante de l’ébarbeur interne (3) est très acérée! Ne la touchez pas
avec les mains nues ! Risque de coupures et de blessures!
Tirez l’ébarbeur interne vers vous.
Tournez le volant à main d’avance dans le sens contraire de celui des aiguilles d’une montre
pour approcher la lame de l’alésoir de la face du tube en rotation.
Continuez à tourner la poignée de rotation, pour aléser appuyez légèrement la lame de
l’alésoir contre l’intérieur du tube.
5.4 Démontage et montage des filières du ou dans la cage de filière (E)
Portez des gants de protection afin d’éviter de vous couper les mains sur les
cages de filière!
Démontage:
Assurez-vous que le levier de blocage la fête n'est pas tiré et sortez la tête de couper le file-
tage.
Tirez le levier de blocage en direction “A” pour ouvrir les cages de filière (fig. 1).
Vous poussez le sélection disque en direction „B“ et enlever les filières (fig. 1).
Montage:
Mettez les filières portant le même numéro que la cage de filière correspondante (fig. 2).
Assurez-vous que les chiffres indiqués sur la cage de filière et sur les filières sont du même
côté.
Vous poussez le sélection disque en direction „C“ en place et faites-la s’enclencher de ma-
nière audible (fig. 3).
Un filetage de précision n’est possible que si le chiffre indiqué sur la fente de la
filière coïncide avec le numéro indiqué sur la filière!
Après le remplacement, contrôler que les filières sont bien fixées! Après le chan-
gement ou le remplacement, contrôler que la cage de filière est bien bloquée dans
le chariot porte-outil!
5.5 Modification de la taille de filetage (F)
Assurez-vous que la cage de filière repose sur le chariot porte-outil et que les filières cor-
respondent à la taille du filetage.
Mettez la cheville de sélection de la taille requise dans le bloc de sélection (fig. 1).
La taille est indiquée sur chaque bloc de sélection.
Mettez la poignée en T en place, cette dernière étant complètement enfoncée en direction
“D“ jusqu’à ce que les filières s’enclenchent en position de travail (fig. 2).

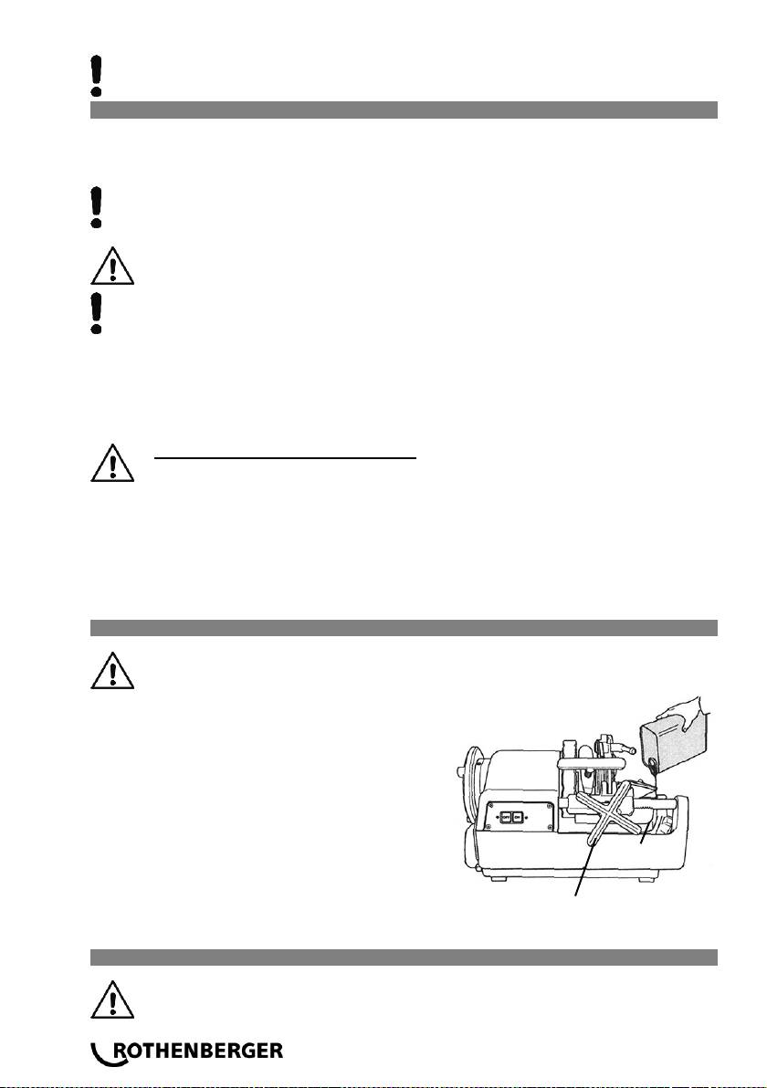
5.6 La coupe de filetages (G)
En cas de danger, appuyez à fond sur la pédale de l’interrupteur de sécurité à pédale. La
machine s’arrête alors.
Pour faire redémarrer la machine, appuyez sur le bleu bouton de libération placé latérale-
ment près de l’interrupteur de sécurité à pédale.
Pour garantir des filetages coupés avec précision, veuillez respecter les indications suivantes:
38 FRANÇAIS
Utiliser uniquement du matériau de tube en parfait état pour le filetage! Si des tubes dé-
formés et/ou coupés en biais sont utilisés, la coupe de filetages conformes aux normes ne
sera pas possible!
Utilisez la cage de filière adaptée à la taille du filetage et les filières correspondantes!
Fixez correctement la cage de filière sur le chariot porte-outil!
Ne posez pas la cage de filière directement sur le sol sans protection et traitez-la avec
précaution!
Assurez-vous que l’huile de filetage coule bien sur les filières!
Faites descendre la cage de filière et mettez la poignée en T en place, cette dernière étant
complètement enfoncée en direction “B” jusqu’à ce que les filières s’enclenchent en position
de travail (fig. 1).
Connectez la machine avec l’interrupteur à pédale, tournez la poignée rotative dans le sens
contraire de celui des aiguilles d’une montre de manière à ce que les filières appuient sur la
pièce à usiner (fig. 2).
Lâchez la poignée rotative lorsque deux ou trois pas de filetage ont été coupés.
Les filières s’ouvrent automatiquement via un levier de butée de chariotage quand la coupe
du filetage est achevée.
Déconnectez la machine en enlevant le pied de l’interrupteur de sécurité à pédale.
5.7 Réglage de la longueur de filetage
La longueur de filetage a déjà été réglée par le fabricant dans le cadre de la longueur standard
mais elle peut être modifiée en cas de besoin.
Tenez le crayon de filetage avec un tournevis de fente et
résolvez la mère du six Kant.
Tenez en direction “F” pour des filetages plus longs et en
direction “E” pour des filetages plus courts. La longueur de file-
tage peut être modifiée d’env. 2 mm par graduation.
Tenez le crayon de filetage avec un tournevis de fente sans le
tordre et serrez de nouveau la mère du six Kant.
5.8 Réglage de la profondeur de filetage
La fileteuse est livrée avec préréglage standard de la profondeur de filetage. Lors de la mise en
service de la fileteuse, l’opérateur doit procéder à une vérification de la profondeur de filetage,
pour chaque taille de filetage, au moyen d’un instrument de mesure approprié ou d’un outil simi-
laire.

FRANÇAIS 39
Placez le bloc de sélection en le bloc de sélection, non ré-
glage.
Desserrez la vis et déplacez le bloc de sélection pour régler la
profondeur de filetage.
Poussez en direction “G“ pour des filetages plus profonds et
en direction “H“ pour des filetages moins profonds. La profon-
deur de filetage peut être modifiée de 1,5 à 2 mm vers le bas
ou le haut par graduation.
Contrôlez le tube coupé à l’aide d’un instrument de mesure
pour filetages coniques etc. et corrigez le réglage si néces-
saire.
5.9 Extraction de la pièce usinée
L’huile de filetage rend la pièce à usiner humide et glissante! Veillez bien à ce
qu’elle ne vous glisse pas des mains lorsque vous la sortez de la machine et à
ce qu’elle ne vous tombe pas sur les pieds!
Tournez le volant à main d’avance dans le sens des aiguilles d’une montre et faites reculer
le chariot porte-outil.
Desserrez le mandrin de serrage excentrique.
Desserrez le mandrin de serrage concentrique et retirez la pièce usinée.
5.10 Nettoyage après utilisation
Ne pas enlever les copeaux de métal à l’air comprimé! Risque de blessure des
yeux ainsi que de perte de la vue! Ne pas ramasser les copeaux de métal à
arêtes vives avec les mains nues! Risque de blessure! Porter des gants de
protection!
Enlevez les copeaux dispersés sur et autour de la machine.
Utilisez une brosse métallique pour dégager le mandrin de serrage excentrique, les filières
de la cage de filière et l’ébarbeur interne des copeaux et les nettoyer.
Essuyez l’huile de filetage qui a giclé sur la machine et le poste de travail avec un chiffon.
6 Maintenance et révision
Toutes les machines sont soumises à une usure naturelle lors de leur utilisation. De temps en
temps, elles doivent bénéficier d’une maintenance et des pièces d’usure doivent être rempla-
cées.
Seule une station de service après-vente agréée ROTHENBERGER est habilitée à effectuer ces
travaux! Vous bénéficiez d’une garantie complète sur le matériel et la prestation!
Avant le nettoyage, la maintenance, la vérification ou la réparation de la ma-
chine, déconnecter absolument cette dernière et la débrancher (fonctionnement
sans courant)! Evitez absolument tout démarrage incontrôlé de la machine!
Risque de blessure et d’accident!
6.1 Remplacement de la lame de l’ébarbeur interne
Portez toujours des gants de protection pour effectuer le remplacement!
Risque de coupures et de blessure!
Soulevez le coupe-tubes et la cage de filière et tirez l’ébarbeur interne vers vous.
Retirez le boulon d’assemblage de ressort de la gorge de la lame de l’alésoir.
La lame de l’alésoir est dégagée quand on tire le support de l’alésoir vers l’avant.
Montez une nouvelle lame d’alésoir.
Remettez le boulon d’assemblage de ressort retiré auparavant dans le trou de la nouvelle
lame d’alésoir.

6.2 Remplacement de la molette de coupe du coupe-tubes
40 FRANÇAIS
Portez toujours des gants de protection pour effectuer le remplacement! Ris-
que de coupures et de blessure!
Mettez le coupe-tubes en position verticale et faites descendre la cage de filière.
Retirez la goupille par le haut.
Tenez la molette de coupe et poussez lentement le goujon d’assemblage pour le faire sortir
du côté opposé.
Enlevez les copeaux, les impuretés, l’huile etc. du goujon et graissez la rainure.
Mettez une nouvelle molette de coupe dans le porte-couteau et remettez le goujon en place.
Mettez une nouvelle goupille dans le goujon d’assemblage de la molette de coupe et blo-
quez-le par flexion.
6.3 Remplacement des inserts de mâchoires de serrage (H)
Tournez le mandrin de serrage excentrique et
ouvrez-le jusqu’à ce qu’un tournevis puissent
y être introduits.
Desserrez les vis qui servent à fixer les in-
serts de mâchoires de serrage (fig. 1).
Mettez une baguette fine sur le bord supérieur
du ressort et retirez le ressort et la cheville du
mandrin de serrage excentrique (fig. 2).
Tirez l’insert de mâchoires de serrage vers
l’avant (fig. 3).
Mettez un nouvel insert de mâchoire de ser-
rage en place et poussez-le jusqu’au fond,
remplacez le ressort et la cheville du mandrin
de serrage excentrique. Serrez bien la vis.
6.4 Contrôle quotidien
Attention! Débrancher la machine avant chaque intervention.
• Contrôler que la fiche de réseau, le câble de réseau et le câble de rallonge sont en parfait
état
• Bac d’huile bien rempli
• Nettoyer le réservoir d’huile s’il contient des impuretés
• Contrôler le porter éventuelle des filières, du coupe-tubes et de l’ébarbeur interne; rempla-
cer les pièces en cas de porter
• Nettoyer les mâchoires de serrage sales avec une brosse métallique
Retirer la
goupille
Goupille
Goujon d’assemblage
de la molette de couple
Molette de
coupe
Vis
Tourner
Mandrin de serrage
excentrique

• Vérifiez que les vis de réglage sont bien serrées ; les resserrer si nécessaire
• Enlever régulièrement les impuretés et les copeaux de la machine
• Appliquer de la graisse anticorrosive en cas de mise hors service prolongée.
• Lubrification du support de tube! La lubrification doit être réalisée par du personnel qualifié.
7 Accessoires
FRANÇAIS 41
Désignation de l‘accessoire
Numéro de pièce ROTHENBERGER
Supports tubes pour tubes jusqu’à 6”
Nº 56047
Molette de rechange
Nº 70074
RONOL Bidon
Nº 65010
RONOL Aérosol
Nº 65008
RONOL SYN Bidon (eau potable approprié)
Nº 65015
RONOL SYN Aérosol (eau potable approprié)
Nº 65013
NIPPEL MAX 1/2 – 3/4 – 1 – 1.1/4 – 1.1/2“
Nº 56056
Distributeur de chanvre avec rouleau, 40 g / 40 m
Nº 70623
Pédale de sécurité, 3 niveaux, 230 V
Nº 56335
Clé à moleter 3/8 – 2“
Nº 56500
www.rothenberger.com
8 Service à la clientèle
Les centres de service clientèle ROTHENBERGER sont disponibles pour vous aider (voir la liste
dans le catalogue ou en ligne) et pour le remplacement des pièces, ainsi que pour la révision.
Commandez vos accessoires et pièces de rechange auprès de votre revendeur spécialisé ou en
utilisant notre ligne service-après-vente:
Téléphone: + 49 (0) 61 95 / 800 – 8200 Fax: + 49 (0) 61 95 / 800 – 7491
Email: service@rothenberger.com
www.rothenberger.com
9 Elimination des déchets
9.1 Pièces métalliques, électriques et électroniques
Certaines pièces de l’appareil sont recyclables et peuvent donc faire l’objet d’un traitement de
recyclage. Des entreprises de recyclage agréées et certifiées sont disponibles à cet effet. Ren-
seignez-vous auprès de votre administration de déchets compétente pour l’élimination non pol-
luante des pièces non recyclables (par ex. déchets électroniques).
Pour les pays européens uniquement:
Ne pas jeter les appareils électriques dans les ordures ménagères! Conformément à
la directive européenne 2012/19/CE relative aux déchets d‘équipements électriques
et électroniques et sa transposition dans la législation nationale, les appareils élec-
triques usagés doivent faire l‘objet d‘une collecte sélective ainsi que d‘un recyclage
respectueux de l‘environnement.
9.2 Huiles et lubrifiants
Pour l’élimination de déchets issus de travaux d’entretien, les prescriptions des autorités compé-
tentes au niveau du Land et du gouvernement fédéral doivent être respectées! Elles vous seront
fournies par l’autorité locale compétente en matière d’environnement! En cas de doute, les dé-
chets issus de travaux d’entretien comme des produits de rinçage et de lavage, des chiffons etc.
devront être éliminés comme des déchets toxiques par l’intermédiaire des points de collecte
communaux! Les déchets valorisables doivent être triés par groupes de matériaux et amenés à
un recyclage adapté!

42 ESPAÑOL
Índice
Página
1 Indicaciones de seguridad ................................................................................................. 43
1.1 Utilización exclusiva con los fines especificados ............................................................... 43
1.2 Indicaciones generales de seguridad ................................................................................ 43
1.3 Instrucciones relativas a la seguridad ............................................................................... 45
2 Datos técnicos .................................................................................................................... 45
3 Función del aparato ............................................................................................................ 46
3.1 Cuadro sinóptico (A) ......................................................................................................... 46
3.2 Descripción del funcionamiento ........................................................................................ 46
4 Preparativos para el servicio de la máquina ..................................................................... 47
4.1 Transporte de la roscadora ............................................................................................... 47
4.2 Emplazamiento de la máquina .......................................................................................... 47
4.3 Conexión eléctrica de la máquina ..................................................................................... 47
4.4 El aceite para cortar metales ............................................................................................ 48
4.5 Controlar el aceite para cortar metales ............................................................................. 48
4.6 Ajustar la cantidad de aceite para cortar metales .............................................................. 48
4.7 Evacuación del aceite ....................................................................................................... 49
5 Servicio y manejo de la roscadora .................................................................................... 49
5.1 Fijación de la pieza a trabajar (B) ..................................................................................... 49
5.2 Cortar las piezas a trabajar con el cortatubos (C) ............................................................. 50
5.3 Desbarbar la pieza a trabajar (D) ...................................................................................... 50
5.4 Montaje y desmontaje de las terrajas partidas del cabezal de roscar (E) .......................... 50
5.5 Modificar el tamaño de la rosca (F) ................................................................................... 51
5.6 El proceso de roscar (G) ................................................................................................... 51
5.7 Ajustar la longitud roscada ............................................................................................... 51
5.8 Ajustar la profundidad de la rosca ..................................................................................... 52
5.9 Extracción de la pieza a trabajar ....................................................................................... 52
5.10 Limpieza después del uso de la máquina ......................................................................... 52
6 Mantenimiento e inspección .............................................................................................. 52
6.1 Cambio del filo de desbarbadura interior .......................................................................... 53
6.2 Cambio de la cuchilla piñón cortatubos............................................................................. 53
6.3 Cambiar las piezas insertadas de las terrajas partidas (H)................................................ 53
6.4 Revisión diaria .................................................................................................................. 54
7 Accesorios .......................................................................................................................... 54
8 Atención al cliente .............................................................................................................. 54
9 Eliminación.......................................................................................................................... 55
9.1 Piezas metálicas, eléctricas y electrónicas ....................................................................... 55
9.2 Aceites y lubricantes ......................................................................................................... 55

ESPAÑOL 43
Marcaciones en este documento:
Peligro!
Este símbolo avisa de que el usuario corre peligro de lesionarse.
Atención!
Este símbolo avisa de que hay peligro de causar daños materiales o
medioambientales.
Requerimiento de actuar
1 Indicaciones de seguridad
1.1 Utilización exclusiva con los fines especificados
¡Las roscadoras ROPOWER 50 R sólo se deben utilizar para el corte y la desbarbadura de
tubos así como para la elaboración de roscas de acuerdo con lo especificado en el capítulo 2,
"Datos técnicos"!
¡Las roscadoras ROPOWER 50 R sólo se deben utilizar con terrajas partidas y cabezales de
roscar adecuados que hayan sido controlados y recomendados por la empresa
ROTHENBERGER de acuerdo con lo especificado en el capítulo 2, "Datos técnicos"!
El interruptor de pedal de seguridad suministrado dispone de la autorización "GS" de la
respectiva cooperativa para la prevención y el seguro de accidentes laborales, la cual es
imprescindible si se quiere explotar la máquina en la República Federal de Alemania!
¡Nunca efectuar modificaciones técnicas o constructivas en la roscadora y en los
accesorios! ¡La autorización de funcionamiento caduca! ¡Peligro de accidente y
lesión!
Para evitar choques eléctricos, lesiones y peligro de incendio durante el uso de
máquinas y herramientas eléctricas se tienen que observar y seguir ciertas medidas de
precaución fundamentales! ¡Lea estas indicaciones con mucha atención antes de poner
en marcha la máquina por primera vez! ¡Siempre tenga las indicaciones de seguridad al
alcance de la mano!
1.2 Indicaciones generales de seguridad
¡ATENCIÓN! En la utilización de herramientas eléctricas se observarán las
siguientes medidas básicas de seguridad para evitar la electrocución, lesiones e
incendios.
Lea todas las indicaciones antes de utilizar esta herramienta eléctrica y conserve las
advertencias de seguridad en lugar seguro.
Mantenimiento y reparación:
1 Limpieza, mantenimiento y lubricación periódicas. Antes de realizar ajustes y
operaciones de mantenimiento o reparación desconecte el aparato de la corriente eléctrica.
2 Las reparaciones del equipo sólo las ha de realizar personal cualificado y con
recambios originales. Con ello queda garantizada la seguridad del equipo.
Trabajar de forma segura:
1 Mantenga su zona o puesto de trabajo ordenado. El desorden puede ser la causa de un
accidente.
2 Tenga en cuenta las influencias ambientales. No exponga las herramientas eléctricas a
la lluvia. No utilice las herramientas eléctricas en un entorno húmedo o mojado. Procure que
la zona o puesto de trabajo esté bien iluminado. No utilice las herramientas eléctricas donde
exista peligro de incendio o de explosión.
3 Protéjase contra la electrocución. Evite tocar, con cuaquier parte del cuerpo, las piezas
puestas a tierra (p. ej., tubos, radiadores, cocinas eléctricas, frigoríficos).

4 Haga que terceras personas se mantengan alejadas. No permita que terceras personas,
especialmente niños, toquen la herramienta eléctrica o el cable. Haga que se mantengan
alejados de la zona de trabajo.
5 Conserve las herramientas eléctricas que no vaya a utilizar en un lugar seguro. Las
herramientas eléctricas que no se vayan a utilizar deben depositarse en un lugar seco, alto
o que se pueda cerrar con llave, fuera del alcance de los niños.
6 No sobresolicite su herramienta eléctrica. Las herramientas eléctricas ofrecen mejores
prestaciones y son más seguras trabajando dentro de sus márgenes de potencia.
7 Utilice la herramienta eléctrica adecuada. No utilice herramientas de poca potencia para
trabajos que requieran mayor potencia. No utilice la herramienta eléctrica para fines para
los que no ha sido prevista. Utilice, p. ej., una sierra circular de mano para cortar troncos o
leña.
8 Lleve ropa adecuada. No se llevará ropa holgada o joyas, podrían quedar atrapadas en las
piezas móviles. Si se trabaja en el exterior se recomienda llevar calzado antideslizante. Si
tiene el pelo largo, llévelo sujeto y cubierto.
9 Utilice los equipos de protección. Lleve gafas de protección. Utilice mascarilla en los
trabajos en los que se genere polvo.
10 Conecte el dispositivo de aspiración. Si existen conexiones a un dispositivo de
aspiración o de recogida de polvo, cerciórese de que están conectados y de que funcionan
correctamente.
11 No utilice el cable para fines para los que no se ha previsto. No utilice el cable para
desacoplar el conector de la toma de corriente tirando del mismo. Proteja el cable de altas
temperaturas, del aceite y de bordes cortantes.
12 Fije la pieza de trabajo de forma segura. Utilice dispositivos de sujeción o un tornillo de
banco para fijar la pieza de trabajo. De este modo estará más segura que si la sujeta con la
mano.
13 Evite trabajar en una postura corporal forzada. Procure trabajar en posición firme y sin
perder el equilibrio en ningún momento.
14 Conserve la herramienta debidamente. Mantenga sus herramientas de corte afiladas y
limpias, de este modo trabajará mejor y con mayor seguridad. Siga las indicaciones para la
lubricación y el cambio de útil. Compruebe periódicamente el cable de conexión de la
herramienta eléctrica y en caso de detectar daños, haga que la repare un especialista
homologado. Compruebe los cables de prolongación periódicamente y sustitúyalos cuando
resulten dañados. Los mangos y asideros deben estar secos, limpios y sin manchas de
aceite o grasa.
15 Desacople el conector de la toma de corriente. Por ejemplo, cuando no se utilice la
herramienta eléctrica, antes de realizar tareas de mantenimiento y al cambiar útiles, como
pueden ser hojas de corte, brocas o fresas.
16 No deje las llaves de la herramienta puestas. Antes de encender la herramienta
compruebe que haya retirado la llave y el útil de ajuste.
17 Evite el funcionamiento sin supervisión. Asegúrese de que el conmutador está en
posición de apagado al acoplar el conector a la toma de corriente.
18 Utilice un cable de prolongación para trabajar en el exterior. En el exterior utilice sólo
cables homologados y con el distintivo correspondiente para uso en el exterior.
19 Este siempre atento. Concéntrese en lo que está haciendo. Realice los trabajos con
sentido común. No utilice las herramientas eléctricas si no puede concentrarse en el trabajo.
20 Compruebe la herramienta eléctrica con respecto a posibles daños. Antes de utilizar la
herramienta eléctrica se tendrá que comprobar que los dispositivos de protección y los
componentes que estén ligeramente dañados cumplan su función correctamente.
Compruebe que todas las piezas y componentes móviles funcionen correctamente, que no
se atascan y que no estén dañados. Todas las piezas y componentes tienen que estar
correctamente montados y cumplir todos los requisitos que garanticen el funcionamiento
correcto de la herramienta eléctrica.
44 ESPAÑOL

Los dispositivos de protección y los componentes que presenten daños tienen que ser
sustituidos o reparados pertinentemente en un taller especializado homologado, siempre y
cuando no figure lo contrario en las instrucciones de uso. Los conmutadores o interruptores
dañados tienen que ser sustituidos en un taller del cliente.
No utilice las herramientas eléctricas cuyos conmutadores de encendido y apagado no
funcionen correctamente.
21 Atención. Si se utilizan otras herramientas u otros accesorios se corre el riesgo de sufrir
lesiones.
22 Haga reparar sus herramientas eléctricas en talleres de electricidad o por personal
electricista. Esta herramienta eléctrica cumple con las normas de seguridad pertinentes.
Las reparaciones las debe realizar sólo personal electricista, utilizando recambios
originales, de lo contrario el usuario corre el riesgo de sufrir o provocar un accidente.
1.3 Instrucciones relativas a la seguridad
¡Nunca meter dedos, cara, cabello u otras partes del cuerpo así como prendas de vestir sueltas
en la zona de trabajo y de peligro de piezas en pleno movimiento de rotación (pieza a trabajar,
mandril de fijación, mandril de centrar)! ¡No llevar puesta ninguna clase de bisutería (anillos,
cadenas)! ¡Peligro de lesión y accidente!
En caso de averías (olor extraño, vibraciones, ruidos extraños) durante el trabajo con la
roscadora ROPOWER 50 R siempre accionar el interruptor de pedal de seguridad para efectuar
una PARADA DE EMERGENCIA de la máquina!
¡Cuando la máquina está en funcionamiento, está terminantemente prohibido aplicar cáñamo en
las roscas, sujetar las piezas a trabajar con la mano y cosas por el estilo, montar y desmontar
piezas como filtros, válvulas, secciones de tubos, etc.!
¡Siempre vestir un traje protector! ¡Utilizar una máscara protectora contra el impacto de virutas,
las salpicaduras de aceite para corte así como contra una eventual producción de gas cloro
venenoso (a causa de la quemadura de aceite para cortar metales en superficies de
herramientas o piezas a trabajar sumamente calientes)! ¡Ponerse una redecilla para el pelo que
cubra y proteja el pelo largo de la persona! ¡Utilizar guantes de protección al cambiar las
terrajas partidas, la cuchilla piñón del cortatubos y del desbarbador de tubos! ¡Peligro de
cortadura! ¡Utilizar guantes de protección al cambiar la herramienta y la pieza a trabajar! ¡Las
roscas y las terrajas partidas se calientan enormemente durante el proceso de roscado!
¡Ponerse zapatos de protección! ¡Peligro de lesión a causa de resbalones sobre aceite para
cortar metales derramado! ¡Peligro de lesión a través de piezas húmedas y resbaladizas que se
escurren o escapan al efectuar un cambio de herramienta!
¡No eliminar virutas de metal con ayuda de aire comprimido! ¡Peligro de lesionarse los ojos y de
perder la vista!
¡Encargarse de que haya suficiente ventilación al trabajar en el interior (en lugares cerrados)!
¡La temperatura ambiente admisible oscila entre 0 °C y 40 °C!
¡Antes de cambiar los cabezales de roscar, la cuchilla piñón y el desbarbador, siempre
desconectar la máquina y sacar el enchufe de red (funcionamiento desenergizado)! ¡Después
de apagar la máquina, ésta aún sigue en movimiento un determinado tiempo (tiempo de
seguimiento o de marcha en inercia) hasta detenerse por completo! ¡No tocar ninguna pieza
hasta que la máquina se haya detenido por completo y se haya desenchufado el enchufe de
red!
¡Realizar un ensayo de presión en los tubos provistos de roscas nuevas para asegurarse de
que no se escape gas o agua después del montaje de los tubos!
2 Datos técnicos
ESPAÑOL 45
Art.-No. 56050 .....................................
ROPOWER 50 R, 230 V, BSPT R 1/4" – 2“
Art.-No. 56045 .....................................
ROPOWER 50 R, 110 V, BSPT R 1/4" – 2“
Art.-No. 56057 .....................................
ROPOWER 50 R, 230 V, BSPP R 1/4" – 2“
Velocidad sin carga .............................
40 min-1 (rpm) carga cero

46 ESPAÑOL
Motor ...................................................
motor universal monofásico , 1.150 W, protección contra
sobrecarga
Clase de protección .............................
I
Tipo de protección ...............................
IP 34
Frecuencia ...........................................
50 / 60 Hz
Peso ....................................................
aprox. 68 kg
Medidas ...............................................
535 x 430 x 340 mm (LG. x AN. x ALT)
Cabezal de roscar ................................
Cabezal de roscar automático 1/2“ – 2“
o 2 SE Cabezales de roscar
Terrajas partidas ..................................
1/2“ – 3/4“, 1“ – 2“ (Optional 1/4“ – 3/8“ Art.-No. 56369)
Aceleración compensada .....................
2
< 2,5 m/s
Típicos niveles de potencia sonora ponderados en A:
Nivel de presión acústica (L
pA
) .............
85 dB (A) ¦ K
pA
3 dB (A)
Nivel de potencia acústica (L
WA
) ...........
96 dB (A) ¦ K
WA
3 dB (A)
El nivel sonoro durante el trabajo puede sobrepasar 85 dB (A). ¡Utilizar protector auditivo!
Valores de medición determinados según la norma EN 61029-1:2010.
3 Función del aparato
3.1 Cuadro sinóptico (A)
1
Cortatubos
8
Mandril de fijación
2
Terrajas partidas
10
Mango en forma de T
3
Desbarbador interior
11
Tornillo de ajuste
4
Carro portaherramientas
12
Espiga selectora
5
Tornillo de purga de aceite
13
Bloque selector
6
Volante de avance
14
Disco de levas
7
Mandril de centrar
15
Palanca de bloqueo cabezal tensor
3.2 Descripción del funcionamiento
Las roscadoras ROPOWER 50 R sirven para cortar roscas en piezas a trabajar como tubos o
barras.
La máquina está compuesta por:
• un motor de accionamiento que hace girar el mandril de centrar
• un mandril de fijación para sujetar la pieza a trabajar
• un cortatubos para cortar la pieza a trabajar a la longitud deseada
• un desbarbador interior
• un cabezal de roscar para cortar una rosca en la pieza a trabajar
• una bomba de aceite para lubricar y enfriar la máquina mediante aceite para cortar metales
• un carro portaherramientas guiado por ambos lados y provisto de un mecanismo de avance
dentado
• un cárter y una artesa para virutas
• un interruptor de pedal de seguridad
• un dispositivo limitador de seguimiento

4 Preparativos para el servicio de la máquina
4.1 Transporte de la roscadora
ESPAÑOL 47
¡Doble las rodillas cuando quiera levantar la máquina para no dañar su
espalda!
Peso > 35 kg 2 personas!
¡Fije el carro portaherramientas de tal manera que no se pueda mover durante el
transporte de la máquina! ¡Para alzar la máquina siempre sujetarla en la base! ¡Al
cargar la máquina nunca sujetarla en el mandril de centrar ni en el desbarbador
interior!
¡Si la máquina es transportada conteniendo aún aceite para cortar metales, puede
suceder que el aceite salga a chorro debido a las vibraciones causadas durante el
transporte y ensucie la vestimenta!
¡Si se ha derramado aceite para cortar metales, las respectivas partes de la
máquina son muy resbaladizas! ¡Preste atención de que la máquina no se le escape
al intentar levantarla!
4.2 Emplazamiento de la máquina
¡Colocar la máquina sobre una
superficie plana y horizontal sin
intersticio o sobre un banco de trabajo
plano! El lado del mandril de centrar
tiene que estar un poco más elevado
que el resto de la máquina para que el
aceite para cortar metales no se
derrame por encima del tubo
trabajado y ensucie el suelo alrededor
de la máquina! ¡Emplazar la máquina
en un lugar libre de humedad!
Si la zona de peligro formada por la máquina y la pieza a trabajar durante la
marcha no se puede abarcar con la vista, es necesario reducir la longitud de
las piezas a trabajar o asegurar la zona de peligro mediante acordonamiento o
una persona de vigilancia! ¡Los dispositivos de protección se deben colocar o
montar de manera segura y fija! ¡Si se emplean soportes, se tiene que disponer
de un número suficiente, además tienen que ser estables y de altura regulable!
4.3 Conexión eléctrica de la máquina
¡Nunca colocar la máquina o la pieza a trabajar sobre el cable de conexión! ¡En
caso contrario éste podría ser dañado! ¡Peligro de choque eléctrico!
¡Nunca agarrar el enchufe y el cable de red con manos mojadas! ¡Peligro de choque
eléctrico!
¡La tensión especificada en la placa indicadora de tipo de la máquina tiene que
coincidir con la tensión proporcionada por la fuente de corriente! ¡En caso
contrario la máquina podría calentarse demasiado, producir humo, incendiarse y
quedar averiada!
¡Al conectar la máquina a la red eléctrica, cerciorarse siempre de que el interruptor
principal esté en la posición "OFF"! ¡En caso contrario se corre peligro de que la
máquina arranque de manera inadvertida y no vigilada! ¡Peligro de accidente o
lesión!
El dispositivo de protección contra sobrecargas integrado en la máquina detiene la
máquina automáticamente en caso de sobrecargas o fluctuaciones de tensión!
más bajo
más alto

48 ESPAÑOL
¡Utilice un cable de extensión del tipo H07 RN 3 x 1,5 mm²! ¡El cable de extensión no
debe superar los 30 metros!
4.4 El aceite para cortar metales
Para el roscado recomendamos el uso de para corte de alto rendimiento ROTHENBERGER, nº
de art. 65015. Este fluido es apropiado para el roscado de toda clase de tuberías (inclusive
tuberías de agua potable).
Alternativamente se puede utilizar el aceite para cortar metales de alto rendimiento
ROTHENBERGER, número de art. 65010. ¡ Este aceite no es apropiado para el
roscado de tuberías de agua potable!
¡Guardar los aceites para cortar metales en un lugar fuera del alcance de los
niños!
¡No diluir ni mezclar el aceite para cortar metales con otros aceites! ¡En caso de que el
aceite para cortar metales llegue a mezclarse con agua, el aceite adquirirá un color
lechoso, su calidad disminuirá y, por consiguiente, la calidad de la rosca cortada también
empeorará! ¡En tal caso es recomendable cambiar el aceite!
¡Evitar que el aceite esté expuesto a la radiación solar! ¡Guardar el aceite en un lugar
oscuro!
¡Cerrar el recipiente de aceite fuertemente después de su uso para evitar la infiltración de
agua y suciedad!
¡ATENCIÓN PERSONAS ALÉRGICAS!
¡El contacto del aceite para cortar metales con la piel puede causar irritaciones,
dermatitis así como reacciones alérgicas de la piel! ¡Siempre vista un traje protector
al trabajar con este aceite y/o cubra las respectivas partes de su cuerpo! ¡En el caso
de que su piel tenga contacto con el aceite, lave su piel de inmediato con agua y
jabón! ¡Cuando el aceite para cortar metales llegue a quemarse en superficies
sumamente calientes de la pieza a trabajar o de las herramientas, se pueden
producir vapores o gases tóxicos (p.ej. gas cloro al quemarse aceite de color rojo)!
¡Si usted, por descuido, inhala estos vapores o estas nieblas aceitosas, debe salir de
inmediato al aire libre y consultar a un médico!
4.5 Controlar el aceite para cortar metales
¡Siempre desconectar la máquina y extraer el enchufe de red antes de limpiar,
mantener, inspeccionar o reparar la máquina!
Gire la manecilla giratoria en sentido contrario
a las agujas del reloj para desplazar el carro
portaherramientas hacia el mandril de fijación.
Vierta el aceite para cortar metales
suministrado en el lado derecho de la máquina
hasta que alcance la altura del tamiz.
Cerciórese de que la máquina esté
desconectada y vuelva a enchufar el enchufe
de red.
Conecte la máquina y cerciórese de que el
aceite para cortar metales fluya del cabezal de
roscar hacia las terrajas partidas. Si no sale la
cantidad de aceite necesaria, regúlela por
medio del respectivo tornillo de ajuste.
4.6 Ajustar la cantidad de aceite para cortar metales
¡Siempre desconectar la máquina y extraer el enchufe de red antes de limpiar,
mantener, inspeccionar o reparar la máquina!
Manecilla
giratoria
Tamiz

ESPAÑOL 49
Cerciórese de que el depósito de aceite esté
llenado hasta la altura del tamiz.
Si la cantidad de aceite para corte que fluye por
encima del cabezal de roscar no es suficiente,
es necesario corregir la cantidad de suministro
con ayuda del respectivo tornillo de ajuste.
Suelte la tuerca de fijación del tornillo de ajuste.
Girando el tornillo de ajuste en el sentido de las
agujas del reloj se aumenta la cantidad
suministrada, girando en sentido contrario se
reduce la cantidad.
Después del ajuste vuelva a apretar la tuerca
de fijación.
4.7 Evacuación del aceite
¡También preste atención a las
prescripciones de seguridad y
eliminación de desechos
mencionadas en el capítulo 9!
5 Servicio y manejo de la roscadora
5.1 Fijación de la pieza a trabajar (B)
¡El carro portaherramientas puede tener contacto con el bastidor antes de concluir
el proceso de roscado y así dañar el mandril de fijación así como la máquina! ¡Por
eso es importante mantener un espacio de por lo menos 70 mm entre el mandril de
fijación y la rosca cortada en la pieza a trabajar!
Mueva el cortatubos y el cabezal de roscar hacia arriba para que no estorben y aplique el
desbarbador interior en la parte de atrás.
Inserte la pieza a trabajar por el lado del mandril de centrar (fig. 1) y apriete el mandril de
centrar (fig. 2).
Sujete la pieza a trabajar por el lado del mandril de fijación con la mano derecha y fíjela
poco a poco con ayuda del mandril de fijación (fig. 3).
Cerciórese de que todas las garras de cierre tengan contacto con la pieza a trabajar.
mandril de fijación
tubo
Tuerca de seguridad
menos
más
tornillo de purga
de aceite

50 ESPAÑOL
Si no todas las garras de cierre tienen contacto con la pieza a trabajar, ésta
empezará a moverse y no se podrá cortar ni roscar correctamente.
Inserte la pieza a trabajar con más fuerza y apriétela fijamente.
¡En caso de tubos largos o pesados es necesario utilizar la base de apoyo nº de art.
56047 para evitar que la pieza a trabajar se mueva o se tuerza durante el
movimiento de giro y para evitar que la máquina se vuelque debido al peso de la
pieza a trabajar! ¡En caso contrario la máquina y la pieza a trabajar se encontrarán
en un estado inestable!
5.2 Cortar las piezas a trabajar con el cortatubos (C)
¡No toque la superficie de corte con las manos, ya que ésta estará muy caliente
y muy afilada! ¡Peligro de lesión y quemadura!
Si el mango del cortatubos es girado con fuerza bruta, la superficie de corte del
tubo adquirirá una forma ovalada y ya no se podrá roscar correctamente! ¡Por eso
debe darle media vuelta al mango del cortatubos por cada vuelta entera del tubo!
Mueva el cortatubos hacia arriba para que no estorbe. Gire el volante de avance en sentido
contrario a las agujas del reloj para colocar el cortatubos en la posición necesaria para
efectuar el corte de la pieza a trabajar.
Desplace el cortatubos hacia abajo contra la pieza a trabajar y presione el interruptor "ON"
y/o accione el interruptor de pedal.
Ahora gire el mango del cortatubos fuertemente en el sentido de las agujas del reloj y
empiece a cortar la pieza a trabajar.
Gire el cortatubos otra vez hacia arriba y hacia atrás.
¡No colecte los tubos cortados en la tinaja! ¡Sáquelos de la tinaja inmediatamente
después de haber acabado el proceso de corte!
5.3 Desbarbar la pieza a trabajar (D)
¡La punta cortante del desbarbador interior es muy afilada! ¡No la toque con las
manos! ¡Peligro de cortadura y de lesión!
Jale el desbarbador interior hacia usted.
Gire el volante de avance en sentido contrario a las agujas del reloj para acercar el filo del
desbarbador a la superficie frontal del tubo en pleno movimiento de rotación.
Gire la manecilla giratoria un poco más y presione el filo del desbarbador contra la
superficie interior del tubo para desbarbarlo.
5.4 Montaje y desmontaje de las terrajas partidas del cabezal de roscar (E)
¡Utilice guantes de protección para evitar heridas de incisión en las manos al
tocar las terrajas partidas!
Retiro:
Asegure que el cierre de la palanca es puesto y quitar mueren la cabeza del carro.
La palanca de cierre de tirón hacia „A“ para abrirse muere (fig. 1).
El plato de leva de diapositiva totalmente hacia „B“ y quita muere (fig. 1).
Instalación:
El encarte muere con el número emparejado al número en mueren la cabeza (fig.2).
Muere puede ser puesto en la posición apropiada cuando la línea en muere es encajado a
la circunferencia de mueren la cabeza.
El plato de leva de diapositiva hacia „C“ hasta un sonido de chasquido es oído de cerrar con
llave la palanca (fig. 3).

ESPAÑOL 51
¡Después de cambiar las mandíbulas que dan un toque el hilo, compruebe que ellos
son seguros!
¡Después de cambiar a la cabeza que da un toque el hilo o sustituir las mandíbulas
que dan un toque el hilo, compruebe que ellos son cerrados con llave bien en el
carro de instrumento!
5.5 Modificar el tamaño de la rosca (F)
Cerciórese de que el cabezal de roscar se encuentre sobre el carro portaherramientas y
que las terrajas partidas concuerden con el tamaño de la rosca.
Inserte la patilla selectora en el bloque selector que tenga el tamaño de rosca requerido
(fig. 1).
El tamaño está indicado en cada uno de los bloques selectores.
Inserte el mango-T, con esta misma dirección "D" se presiona hasta la posición de la
mandíbula tocando en el lugar de trabajo (fig. 2).
5.6 El proceso de roscar (G)
En caso de peligro debe pisar el pedal del interruptor de seguridad completamente hacia
abajo. De esta manera la máquina se detiene.
Para volver a arrancar la máquina, debe presionar el botón de liberación azul junto al pedal
del interruptor de seguridad.
Para obtener roscas cortadas con precisión, debe observar las siguientes indicaciones:
¡Sólo emplear tubos en perfecto estado para el roscado! ¡No es posible cortar roscas
normalizadas si se utilizan tubos deformados y/o tubos tronzados de manera oblicua!
¡Utilice el cabezal de roscar que corresponda al tamaño de la rosca así como las
respectivas terrajas partidas!
¡Monte el cabezal de roscar correctamente en el carro portaherramientas!
¡Nunca coloque el cabezal de roscar en el suelo sin protección alguna! ¡Manéjelo con
cuidado!
¡Cerciórese de que el aceite para cortar metales chorree sobre las terrajas partidas!
Hunda el cabezal de roscar e inserte el mango en forma de "T" presionándolo
completamente en dirección "B" hasta que las terrajas partidas encajen en la posición de
trabajo.
Encienda la máquina por medio del interruptor de pedal y gire la manecilla giratoria en
sentido contrario a las agujas del reloj para que las terrajas partidas presionen la pieza a
trabajar.
Suelte la manecilla giratoria en cuanto hayan sido roscados dos a tres filetes.
Las terrajas partidas se abren automáticamente a través de una palanca de tope
longitudinal, en cuanto toda la rosca haya sido cortada por la máquina.
Desconecte la máquina retirando su pie del interruptor de pedal de seguridad.
5.7 Ajustar la longitud roscada
La longitud del hilo ha sido especificado por el fabricante en el conjunto de longitud estándar,
pero se puede cambiar según sea necesario.
Sujete el tornillo con un destornillador y sustituir el hexagonal.

52 ESPAÑOL
Gire el tornillo de un hilo largo en la dirección "F", por más
corta los hilos en la dirección de "E". El hilo se puede
aumentar la longitud de aproximadamente 2 mm por cada
media revolución cambiado.
Mantenga el tornillo sin torsión con un destornillador y apretar
la tuerca hexagonal de nuevo.
5.8 Ajustar la profundidad de la rosca
El hilo conductor es la profundidad a entregar la grabación a la máquina por defecto. Con el
encargo de cortar el hilo-máquina, es un hilo de la revisión a fondo para cada tamaño de rosca,
utilizando un dispositivo de medición o similares, llevadas por el usuario.
Ponga el Selektorpin en el bloque selector no está ajustado.
Suelte el tornillo y mueva el bloque selector para ajustar la
profundidad de la rosca.
Muévalo en dirección "G” para roscas más profundas y en
dirección "H“para roscas más planas. La profundidad de la
rosca se puede modificar aprox. 1,5 a 2 mm hacia arriba o
hacia abajo por cada graduación.
Controle el tubo cortado con ayuda de un instrumento de
medición para roscas cónicas, etc. y corrija el ajuste si es
necesario.
5.9 Extracción de la pieza a trabajar
¡La pieza a trabajar está húmeda y resbalosa debido al aceite para cortar
metales! Tenga cuidado de que la pieza no se le escape y caiga, por ejemplo,
sobre sus pies al extraerla de la máquina!
Gire el volante de avance en el sentido de las agujas del reloj y desplace el carro
portaherramientas hacia atrás.
Suelte el mandril de fijación.
Suelte el mandril de centrar y jale la pieza a trabajar hacia afuera.
5.10 Limpieza después del uso de la máquina
¡No eliminar virutas de metal con ayuda de aire comprimido! ¡Peligro de lesión
de los ojos así como de pérdida de la vista! ¡No coger las virutas metálicas
cortantes con las manos! ¡Peligro de lesión! ¡Usar guantes de protección!
Elimine todas las virutas que se encuentren encima y alrededor de la máquina.
Utilice un cepillo de alambre para eliminar las virutas y limpiar el mandril de fijación, las
terrajas partidas del cabezal de roscar y el desbarbador interior.
Utilice un trapo para eliminar el aceite para cortar metales que salpicó y ensució la máquina
y el puesto de trabajo.
6 Mantenimiento e inspección
Todas las máquinas están sujetas a un proceso de desgaste natural.
Por eso se tienen que realizar trabajos de mantenimiento cada cierto tiempo y sustituir las
piezas de desgaste.
¡Sólo personal de una estación de servicio técnico autorizada por la empresa ROTHENBER-
GER debe realizar estos trabajos!
¡En tal caso usted siempre tendrá la total garantía para el material y servicio prestado!
¡Siempre desconecte la máquina y extraiga el enchufe de red antes de limpiar,
mantener, inspeccionar o reparar la máquina! ¡De todas maneras evite un
arranque incontrolado de la máquina!

6.1 Cambio del filo de desbarbadura interior
ESPAÑOL 53
¡Siempre utilice guantes de protección al efectuar el cambio! ¡Peligro de
cortadura y lesión!
Extraiga la varilla de muelle del cuello del filo de desbarbadura interior.
El filo de desbarbadura se suelta al jalar el soporte del desbarbador hacia adelante.
Incorpore un nuevo filo de desbarbadura.
Inserte la varilla de muelle que sacó anteriormente en el agujero del nuevo filo de
desbarbadura.
6.2 Cambio de la cuchilla piñón cortatubos
¡Siempre utilice guantes de protección al efectuar el cambio! ¡Peligro de
cortadura y lesión!
Coloque el cortatubos en posición erguida y hunda el cabezal de roscar.
Extraiga el pasador abierto jalándolo hacia arriba.
Sujete la cuchilla piñón y presione la espiga de ajuste lentamente hacia afuera.
Monte una nueva cuchilla piñón en el soporte de la cuchilla y vuelva a insertar la espiga.
Inserte un nuevo pasador abierto en la espiga de ajuste de la cuchilla piñón y asegúrelo
doblando los extremos en dirección contraria.
6.3 Cambiar las piezas insertadas de las terrajas partidas (H)
A su vez el ritmo y Chuck abrirlo hasta el
momento, hasta que se ajuste a un
destornillador.
Suelte los tornillos que sujetan las piezas
insertadas de las terrajas (fig. 1).
Posicione una varilla delgada sobre el borde
superior del muelle y jale el muelle
conjuntamente con la espiga del mandril de
fijación hacia afuera (fig. 2).
Jale la pieza insertada de la terraja partida
hacia adelante (fig. 3).
Incorpore una nueva pieza insertada y
empújela contra la parte trasera, sustituya el
muelle y la espiga del mandril de fijación.
Vuelva a apretar el respectivo tornillo.
extraer el pasador
abierto
Pasador abierto
espiga de ajuste de
la cuchilla piñón
cuchilla
piñón
tornillo
girar
mandril de fijación

6.4 Revisión diaria
54 ESPAÑOL
Atención: ¡Antes de empezar con los trabajos se tiene que desenchufar el
enchufe de red!
• Comprobar el perfecto estado del enchufe de red, del cable de red y del cable de extensión
• El cárter debe estar llenado correctamente
• En caso de suciedad dentro del depósito de aceite, limpiar el depósito
• Controlar una eventual desgaste de las terrajas partidas, del cortatubos y del desbarbador
interior
• Si las garras de cierre están sucias, limpiarlas con un cepillo de alambre
• Controlar el asiento fijo de los tornillos de ajuste; apretarlos si es necesario
• Limpiar la máquina con regularidad para eliminar la suciedad y las virutas
• Aplicar grasa anticorrosiva en caso de poner la máquina fuera de servicio durante un tiempo
prolongado
• ¡El engrase de la guía trasera del husillo de trabajo se tiene que controlar con regularidad!
¡Sólo una persona instruida en materia electrotécnica debe realizar el engrase!
7 Accesorios
Nombre del accesorio
Número de pieza de ROTHENBERGER
Columna de soporte de tubos Para tubos de
hasta 6"
N.º 56047
Cuchilla de repuesto
N.º 70074
RONOL Garrafa
N.º 65010
Bote de Spray RONOL
N.º 65008
RONOL SYN Garrafa (apto para agua potable)
N.º 65015
Bote de Spray RONOL SYN
(apto para agua potable)
N.º 65013
NIPPEL MAX 1/2 – 3/4 – 1 – 1.1/4 – 1.1/2“
N.º 56056
Dosificador de cáñamo con bobina, 40 g / 40 m
N.º 70623
Interruptor de Emergencia de Pie de Repuesto,
3 pasos, 230 V
N.º 56335
Llave para desbastar tubos 3/8 – 2“
N.º 56500
www.rothenberger.com
8 Atención al cliente
Los puntos de servicio de ROTHENBERGER (consulte la lista en el catálogo o en internet)
están a su disposición para ayudarle y ofrecerle piezas de repuesto y servicio técnico.
Para realizar el pedido de accesorios y piezas de repuesto, acuda a su distribuidor
especializado o utilice nuestro servicio de posventa:
Teléfono: + 49 (0) 61 95 / 800 – 8200
Fax: + 49 (0) 61 95 / 800 – 7491
Email: service@rothenberger.com
www.rothenberger.com

9 Eliminación
9.1 Piezas metálicas, eléctricas y electrónicas
Algunas partes del aparato son materiales reciclables. Para su recogida se encuentran a
disposición centros de reciclaje homologados y certificados. Para una eliminación ecológica de
las piezas no reciclables (p.ej. chatarra del sistema electrónico) consulte con su organismo de
limpieza correspondiente.
Sólo para países UE:
ESPAÑOL 55
No arroje las herramientas eléctricas a los desechos domésticos. Conforme a la
directiva europea 2012/19/CE sobre residuos de aparatos eléctricos y electrónicos y
su transposición a derecho nacional las herramientas eléctricas aptas para el uso no
deben ser más recolectadas por separado y recicladas.
9.2 Aceites y lubricantes
¡Exclusivamente empresas especializadas están autorizadas para la eliminación de aceites
usados!
¡Aceites usados y aceites contaminados se tienen que almacenar y eliminar dentro de
recipientes prueba de aceites (recipientes de metal)!
¡Máquinas y aparatos eléctricos con defectos irreparables tienen que ser abiertos
completamente para poder eliminar todos los restos de aceite!
¡Los cárteres tienen que ser limpiados minuciosamente para eliminar todas las huellas de
aceite! ¡Estos aceites (incluso cantidades diminutas) de ninguna manera deben poder infiltrarse
en el subsuelo!

56 ITALIANO
Content
Page
1 Avvertenze sulla sicurezza ................................................................................................. 57
1.1 Uso conforme ................................................................................................................... 57
1.2 Informazioni generali per la sicurezza ............................................................................... 57
1.3 Istruzione speciale di Safty ............................................................................................... 59
2 Dati tecnici .......................................................................................................................... 59
3 Funzionamento dell'attrezzo .............................................................................................. 60
3.1 Panoramica (A) ................................................................................................................ 60
3.2 Descrizione del funzionamento ......................................................................................... 60
4 Preparativi per il servizio .................................................................................................... 60
4.1 Trasporto della filettatrice ................................................................................................. 60
4.2 Installazione della macchina ............................................................................................. 61
4.3 Collegamento elettrico della macchina.............................................................................. 61
4.4 L'olio da filettatura ............................................................................................................ 61
4.5 Controllo dell'olio da filettatura .......................................................................................... 62
4.6 Regolazione della portata d'olio da filettatura erogata ....................................................... 62
4.7 Scarico dell'olio ................................................................................................................. 63
5 Funzionamento ed impiego della filettatrice ..................................................................... 63
5.1 Serraggio dei pezzi di lavorazione (B)............................................................................... 63
5.2 Taglio dei pezzi di lavorazione per mezzo dell'intestatubi (C)............................................ 64
5.3 Alesaggio dei pezzi di lavorazione (D) .............................................................................. 64
5.4 Smontaggio/montaggio delle ganasce per filettare dalla ossia nella filiera (E) ................... 64
5.5 Variazione della dimensione del filetto (F) ........................................................................ 65
5.6 Il procedimento di filettatura (G) ........................................................................................ 65
5.7 Regolazione della lunghezza del filetto ............................................................................. 66
5.8 Regolazione della profondità del filetto ............................................................................. 66
5.9 Rimozione del pezzo di lavorazione .................................................................................. 66
5.10 Pulizia dopo l'uso .............................................................................................................. 66
6 Manutenzione ed ispezione ................................................................................................ 67
6.1 Cambio della lama di sbavatura interna ............................................................................ 67
6.2 Cambio della rotella di taglio dell'intestatubi ...................................................................... 67
6.3 Cambio dell'inserto delle ganasce di serraggio (H) ........................................................... 68
6.4 Controllo visuale giornaliero.............................................................................................. 68
7 Accessori ............................................................................................................................ 68
8 Servizio clienti ..................................................................................................................... 69
9 Smaltimento ........................................................................................................................ 69
9.1 Componenti di metallo, elettrici ed elettronici .................................................................... 69
9.2 Oli e lubrificanti ................................................................................................................. 69

