Hach-Lange POLYMETRON 9523 Basic User Manual: Allgemeine Informationen
Allgemeine Informationen: Hach-Lange POLYMETRON 9523 Basic User Manual

Technische Daten Details
Datenprotokollierung Secure Digital-Speicherkarte (maximal 32 GB) oder spezieller RS(232-
Kabelanschluss für Datenprotokollierung und Software-Updates. Der
Controller speichert ca. 20.000 Datenpunkte pro Sensor.
Gewährleistung 2 Jahre
1
Geräte mit einer Zertifizierung von Underwriters Laboratories (UL) eignen sich nur zur Verwendung in
geschlossenen Räumen und verfügen nicht über die Schutzart NEMA 4X/IP66.
2
Geräte mit Gleichstromversorgung werden nicht von UL aufgeführt.
Allgemeine Informationen
Der Hersteller ist nicht verantwortlich für direkte, indirekte, versehentliche oder Folgeschäden, die
aus Fehlern oder Unterlassungen in diesem Handbuch entstanden. Der Hersteller behält sich
jederzeit und ohne vorherige Ankündigung oder Verpflichtung das Recht auf Verbesserungen an
diesem Handbuch und den hierin beschriebenen Produkten vor. Überarbeitete Ausgaben der
Bedienungsanleitung sind auf der Hersteller-Webseite erhältlich.
Sicherheitshinweise
H I N W E I S
Der Hersteller ist nicht für Schäden verantwortlich, die durch Fehlanwendung oder Missbrauch dieses Produkts
entstehen, einschließlich, aber ohne Beschränkung auf direkte, zufällige oder Folgeschäden, und lehnt jegliche
Haftung im gesetzlich zulässigen Umfang ab. Der Benutzer ist selbst dafür verantwortlich, schwerwiegende
Anwendungsrisiken zu erkennen und erforderliche Maßnahmen durchzuführen, um die Prozesse im Fall von
möglichen Gerätefehlern zu schützen.
Bitte lesen Sie dieses Handbuch komplett durch, bevor Sie dieses Gerät auspacken, aufstellen oder
bedienen. Beachten Sie alle Gefahren- und Warnhinweise. Nichtbeachtung kann zu schweren
Verletzungen des Bedieners oder Schäden am Gerät führen.
Stellen Sie sicher, dass die durch dieses Messgerät bereitgestellte Sicherheit nicht beeinträchtigt
wird. Verwenden bzw. installieren Sie das Messsystem nur wie in diesem Handbuch beschrieben.
Bedeutung von Gefahrenhinweisen
G E F A H R
Kennzeichnet eine mögliche oder drohende Gefahrensituation, die, wenn sie nicht vermieden wird, zum Tod oder
zu schweren Verletzungen führt.
W A R N U N G
Kennzeichnet eine mögliche oder drohende Gefahrensituation, die, wenn sie nicht vermieden wird, zum Tod oder
zu schweren Verletzungen führen kann.
V O R S I C H T
Kennzeichnet eine mögliche Gefahrensituation, die zu geringeren oder moderaten Verletzungen führen kann.
H I N W E I S
Kennzeichnet eine Situation, die, wenn sie nicht vermieden wird, das Gerät beschädigen kann. Informationen, die
besonders beachtet werden müssen.
Deutsch 27

Warnaufkleber
Bitte lesen Sie alle Aufkleber und Schilder, die am Produkt angebracht sind. Die Nichtbeachtung
kann zu Verletzungen von Personen oder Beschädigungen des Produkts führen. Im Handbuch
werden auf die am Gerät angebrachten Symbole in Form von Warnhinweisen verwiesen.
Dieses Symbol auf einem Produkt zeigt eine potenzielle Gefahr an, die zu ernsthaften Verletzungen
und/oder zum Tod führen kann. Der Benutzer soll dieses Handbuch bei der Bedienung des Geräts
und/oder für Sicherheitsinformationen verwenden.
Dieses Symbol auf einer Verkleidung oder Schranke des Produkts weist auf die Gefahr von
Stromschlägen hin und macht darauf aufmerksam, dass ausschließlich für die Arbeit mit
gefährlichen Spannungen qualifiziertes Personal die Verkleidung öffnen oder die Schranke
entfernen sollte.
Dieses Symbol auf dem Produkt weist auf das Vorhandensein von Bauteilen hin, die durch
elektrostatische Entladungen gestört werden können und macht darauf aufmerksam, dass mit
Vorsicht vorgegangen werden muss, um Schäden an diesen Bauteilen zu vermeiden.
Dieses Symbol weist darauf hin, dass das Instrument an Wechselstrom angeschlossen werden
muss.
Elektrogeräte, die mit diesem Symbol gekennzeichnet sind, dürfen in der Europäischen Union nicht
als Haushaltsabfall entsorgt werden. Den lokalen und nationalen europäischen Bestimmungen
gemäß müssen Benutzer von Elektrogeräten diese jetzt an den Hersteller zurückgeben. Dieser
Rücknahmeservice ist für den Benutzer kostenlos.
Hinweis: Bitte wenden Sie sich für Anweisungen zur Rücklieferung für die ordnungsgemäße Entsorgung von alten
oder nicht mehr benutzten elektrischen Geräten an den Hersteller oder Händler.
Produkte, die mit diesem Symbol gekennzeichnet sind, enthalten toxische oder gefährliche
Substanzen oder Elemente. Die Ziffer in diesem Symbol gibt den Umweltschutzzeitraum in Jahren
an.
Produkte, die mit diesem Symbol gekennzeichnet sind, entsprechen den EMV-Standards
Südkoreas.
EMV-Konformitätserklärung (Korea)
Gerätetyp Zusätzliche Informationen
A 급 기기
이 기기는 업무용 (A 급 ) 전자파적합기기로서 판매자 또
( 업무용 방송통신기자재 )
는 사용자는 이 점을 주의하시기 바라며, 가정외의 지역
에서 사용하는 것을 목적으로 합니다.
Geräteklasse A
Dieses Gerät ist mit den Anforderungen der EMV-
(Industrielle Übertragungs- und Kommunikationsgeräte)
Richtliniene für industrielle Geräte (Klasse A) konform.
Dieses Gerät ist ausschließlich für den industriellen
Gebrauch bestimmt.
Zertifizierungen
Kanadische Vorschriften zu Störungen verursachenden Einrichtungen, IECS-003, Klasse A:
Entsprechende Prüfprotokolle hält der Hersteller bereit.
Dieses digitale Gerät der Klasse A erfüllt alle Vorgaben der kanadischen Normen für Interferenz
verursachende Geräte.
FCC Teil 15, Beschränkungen der Klasse "A"
Entsprechende Prüfprotokolle hält der Hersteller bereit. Das Gerät entspricht Teil 15 der FVV-
Vorschriften. Der Betrieb unterliegt den folgenden Bedingungen:
1. Das Gerät darf keine Störungen verursachen.
2. Das Gerät muss jegliche Störung, die es erhält, einschließlich jener Störungen, die zu
unerwünschtem Betrieb führen, annehmen.
28
Deutsch

Änderungen oder Modifizierungen an diesem Gerät, die nicht ausdrücklich durch die für die
Einhaltung der Standards verantwortliche Stelle bestätigt wurden, können zur Aufhebung der
Nutzungsberechtigung für des Geräts führen. Dieses Gerät wurde geprüft, und es wurde festgestellt,
dass es die Grenzwerte für digitale Geräte der Klasse A entsprechend Teil 15 der FCC-Vorschriften
einhält. Diese Grenzwerte bieten beim Einsatz der Ausrüstung in gewerblichen Umgebungen einen
ausreichenden Schutz gegen Verletzungen. Dieses Gerät erzeugt und nutzt hochfrequente Energie
und kann diese auch abstrahlen, und es kann, wenn es nicht in Übereinstimmung mit der
Bedienungsanleitung installiert und eingesetzt wird, schädliche Störungen der Funkkommunikation
verursachen. Der Betrieb dieses Geräts in Wohngebieten kann schädliche Störungen verursachen.
In diesem Fall muss der Benutzer die Störungen auf eigene Kosten beseitigen. Probleme mit
Interferenzen lassen sich durch folgende Methoden mindern:
1. Trennen Sie das Gerät von der Stromversorgung, um sicherzugehen, dass dieser die Störungen
nicht selbst verursacht.
2. Wenn das Gerät an die gleiche Steckdose angeschlossen ist wie das gestörte Gerät, schließen
Sie das störende Gerät an eine andere Steckdose an.
3. Vergrößern Sie den Abstand zwischen diesem Gerät und dem gestörten Gerät.
4. Ändern Sie die Position der Empfangsantenne des gestörten Geräts.
5. Versuchen Sie auch, die beschriebenen Maßnahmen miteinander zu kombinieren.
Produktkomponenten
Stellen Sie sicher, dass Sie alle Teile erhalten haben. Wenn Komponenten fehlen oder beschädigt
sind, kontaktieren Sie bitte den Hersteller oder Verkäufer.
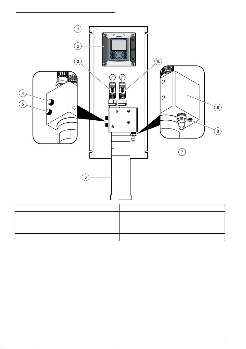
Produktübersicht
Der Analysator misst Leitfähigkeit und berechnet den pH-Wert in Anwendungen mit geringer
Leitfähigkeit. Das System kann einen Controller wie in Abbildung 1 gezeigt umfassen. Alternativ kann
der Controller als externe Komponente installiert werden.
Das System kann für den Betrieb in zahlreichen Anwendungen in den folgenden Branchen
konfiguriert werden:
• Messung in Rein- und Reinstwasser, Kraftwerken, Halbleiterindustrie, pharmazeutische Industrie.
• Trinkwasser
• industrielle Prozesse (chemische Industrie, Papierfabriken, Zuckerraffinerien usw.)
Deutsch
29

Abbildung 1 Übersicht über den Analysator
1 Montagepaneel 6 Patrone kationisches Harz
2 Controller 7 Probenauslass
3 Kanal 1 Sonde Leitfähigkeit 8 Probeneinlass
4 Entlüftungsventil 9 Messzelle
5 Probenflusseinstellventil 10 Kanal 2 Sonde Leitfähigkeit
Betriebsweise (pH-Wertberechnung)
Der Analysator 9523 entspricht den Empfehlungen der Richtlinien für Speisewasser, Boilerwasser
und Dampfqualität für Kraftwerke und Industrieanlagen.
Die pH-Wertberechnung kann nur unter den folgenden strengen chemischen Bedingungen erfolgen:
• Die Probe darf ausschließlich alkaline Arbeitsstoffe (Ammoniak, Natriumhydroxid oder
Äthanolamin) enthalten.
• Bei eventuellen Verunreinigungen handelt es sich überwiegend um NaCl (Natriumchlorid).
• Die Konzentration der Verunreinigung muss im Vergleich zu dem alkalinen Arbeitsstoff
vernachlässigbar sein
30
Deutsch
Оглавление
- English..............................................................................................................................3 Deutsch..........................................................................................................................25 Italiano............................................................................................................................48 Français.........................................................................................................................71 Español..........................................................................................................................94 Português....................................................................................................................118 中文...............................................................................................................................141 Nederlands.................................................................................................................160 Polski............................................................................................................................184 Suomi............................................................................................................................207 Русский........................................................................................................................229
- Table of contents
- General information
- Installation
- Analyzer startup
- Operation
- Maintenance
- Troubleshooting
- Inhaltsverzeichnis
- Allgemeine Informationen
- Installation
- Analysator starten
- Benutzeroberfläche und Navigation
- Wartung
- Fehlerbehebung
- Sommario
- Informazioni generali
- Installazione
- Avvio dell'analizzatore
- Interfaccia utente e navigazione
- Manutenzione
- Risoluzione dei problemi
- Table des matières
- Généralités
- Installation
- Mise en marche de l'analyseur
- Interface utilisateur et navigation
- Entretien
- Recherche de panne
- Tabla de contenidos
- Información general
- Instalación
- Inicio del analizador
- Interfaz del usuario y navegación
- Mantenimiento
- Solución de problemas
- Índice
- Informação geral
- Instalação
- Arranque do analisador
- Interface do utilizador e navegação
- Manutenção
- Resolução de problemas
- 目录
- 基本信息
- 安装
- 启动分析仪
- 操作
- 维护
- 故障排除
- Inhoudsopgave
- Algemene informatie
- Installatie
- Opstarten analysator
- Gebruikersinterface en navigatie
- Onderhoud
- Foutenopsporing
- Spis treści
- Instalacja
- Uruchamianie analizatora
- Interfejs użytkownika i nawigacja
- Konserwacja
- Rozwiązywanie problemów
- Sisällysluettelo
- Yleistietoa
- Asentaminen
- Analysaattorin käynnistäminen
- Käyttö
- Huolto
- Vianmääritys
- Содержание
- Общая информация
- Монтаж
- Запуск анализатора
- Пользовательский интерфейс и навигация
- Техническое обслуживание
- Выявление и устранение неисправностей

