Rothenberger SUPERTRONIC 2 SE/3 SE/4 SE – страница 5
Инструкция к Rothenberger SUPERTRONIC 2 SE/3 SE/4 SE

mandrino di
serraggio
ITALIANO 77
tubo
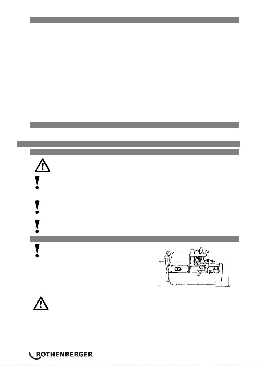
5 Funzionamento ed impiego della filettatrice
5.1 Serraggio dei pezzi di lavorazione B
La slitta utensili può venire in contato con il telaio, prima che sia terminato il
procedimento di filettatura, con la conseguenza di danneggiare il mandrino di
serraggio ad urto nonché la macchina! Pertanto, tra la filettatura eseguita nel pezzo
di lavorazione ed il mandrino di serraggio ad urto, è necessario rispettare una
distanza di almeno 70 mm
Rivoltare verso l'alto l'intestatubi e la filiera, in modo che non siano d'impiccio e disporre
quindi lo sbavatore interno nella parte posteriore.
Inserire il pezzo di lavorazione dalla parte del mandrino di centraggio (fig, 1) e serrare
successivamente il mandrino di centraggio (fig. 2).
Mantenere fermo con la mano destra il pezzo di lavorazione sul lato del mandrino di
serraggio ad urto e serrarlo passo per passo con il mandrini di serraggio ad urto (fig. 3).
Accertarsi che le tre ganasce di serraggio siano in contatto col pezzo di lavorazione.
Se le tre ganasce di serraggio non sono perfettamente in contatto col pezzo di
lavorazione, non sono da escludere delle oscillazioni, con la conseguenza di non
poter eseguire né un'intestatura e né una filettatura regolare.
Serrare il pezzo di lavorazione con slancio e stringerlo con forza.
Per la lavorazione di tubi lunghi e pesanti è assolutamente necessario impiegare il
piano d'appoggio appositamente previsto, art. no. 5.6047 per prevenire delle
oscillazioni o torsioni del pezzo di lavorazione durante la rotazione nonché un
ribaltamento della macchina in seguito ad uno sbilanciamento dovuto al peso del
pezzo di lavorazione! In caso contrario sia il pezzo di lavorazione che la macchina
possono divenire instabili!
5.2 Taglio dei pezzi di lavorazione per mezzo dell'intestatubi C
Non toccare mai con le mani nude la superficie di taglio, poiché può essere
molto calda e tagliente! Pericolo di lesioni ed ustioni!
Se la manopola dell'intestatubi viene girata con forza, allora la superficie di taglio
del tubo assume una forma ovale, con la conseguenza di rendere impossibile un
regolare procedimento di filettatura! Pertanto, si consiglia di girare la manopola
dell'intestatubi di un mezzo giro rispetto alla rotazione totale del tubo!
Rivoltare verso l'alto l'intestatubi, in modo che non sia più d'impiccio. Girare il volantino
d'avanzamento in senso antiorario, per portare l'intestatubi nella posizione richiesta per
l'intestatura del pezzo di lavorazione.
Spostare l'intestatubi verso il basso sul pezzo di lavorazione e premere successivamente
l'interruttore ON risp. premere il pedale di comando.
Girare con forza l'impugnatura dell'intestatubi in senso orario, per procedere quindi con
l'intestatura del pezzo di lavorazione.
Portare nuovamente l'intestatubi nella posizione superiore e quindi in quella posteriore.
Non raccogliere però i tubi intestati nella conca! Rimuoverli dalla conca
immediatamente al termine del procedimento d'intestatura!

5.3 Alesaggio dei pezzi di lavorazione D
La punta di taglio dello sbavatore interno è molto tagliente! Non toccarla mai
con le mani nude! Pericolo di taglio e lesioni!
Tirare verso di sé lo sbavatore interno.
Girare il volantino d'avanzamento in senso antiorario, per portare la lama dell'alesatore in
prossimità della superficie frontale del tubo rotante.
Girare ulteriormente la manopola e premere la lama dell'alesatore leggermente contro la
parte interna del tubo per eseguire l'alesaggio.
5.4 Smontaggio/montaggio delle ganasce per filettare dalla ossia nella filiera E
Portare dei guanti di protezione, per prevenire delle lesioni da taglio alle mani
con le ganasce per filettare!
5.4.1 Filiera automatica
Smontaggio:
Portare la leva di bloccaggio in posizione „A“, per aprire le ganasce per filettare.
Inserire il pin selettore (color argento) nel blocco selettore delle ganasce per filettare.
Sollevare la filiera ed estrarre verso l'alto la ganascia per filettare no. 1 - 4.
Montaggio:
Portare la leva di bloccaggio in posizione „A“, per aprire le ganasce per filettare.
Inserire il pin selettore (color argento) nel blocco selettore delle ganasce per filettare.
Inserire la ganascia per filettare avente la stessa cifra incisa sulla rispettiva filiera e farla
scattare in posizione.
Accertarsi che le cifre incise sulla filiera e sulla ganascia per filettare si trovino sullo stesso lat
L'esecuzione di filettature precise è possibile solamente,
quando la cifra incisa sulla fessura della filiera corrisponde
con la cifra incisa sulla ganascia per filettare!
Controllare che le ganasce per filettare abbiano una sede
fissa dopo il cambio! Control ituzione delle ganasce per
filettare!lare che la filiera sia correttamente bloccata sulla
slitta utensili dopo il cambio ovvero la sost
5.4.2 Filiera standard
Smontaggio:
Allentare il portalama (1), portare la basculla (2) nella posizione inferiore, serrare bene il
portalama e rivoltare quindi verso l'alto la leva prevista per l'apertura e la chiusura (3) nonché
per la rimozione delle ganasce per filettare.
Estrarre verso l'alto le ganasce per filettare no. 1 e 4, non appena la filiera si trova nella
posizione inferiore.
Sollevare la filiera ed estrarre verso l'alto la ganascia per filettare no. 2 e 3.
Montaggio:
Allentare il portalama (1), portare la basculla (2) nella posizione inferiore, serrare bene il
portalama e rivoltare quindi verso l'alto la leva prevista per l'apertura e la chiusura (3) nonché
per la rimozione delle ganasce per filettare.
Inserire la ganascia per filettare avente la stessa cifra incisa sulla rispettiva filiera e farla
scattare in posizione.
Accertarsi che le cifre incise sulla filiera e sulla ganascia per filettare si trovino sullo stesso lato.
L'esecuzione di filettature precise è possibile solamente, quando la cifra incisa
sulla fessura della filiera corrisponde con la cifra incisa sulla ganascia per filettare!
78 ITALIANO

5.5 Smontaggio/montaggio dalla ossia nella filiera
Sollevare a mezza altezza la filiera.
Portare la filiera in posizione diagonale e rimuoverla.
Solo quando la filiera si trova in posizione parallela rispetto alla parte piana del pin della
stessa, la si potrà rimuovere risp. integrare dalla/nella macchina.
filiera
pin della filiera
5.6 Variazione della dimensione del filetto F
Filiera automatica:
Accertarsi che la filiera si trovi sulla slitta utensili e che le ganasce per filettare corrispondano
alla grandezza del filetto.
Inserire il pin selettore nel blocco selettore con la grandezza richiesta per il filetto.
La grandezza viene indicata sul rispettivo blocco selettore.
Impiegare il pin selettore in colore argento ed il blocco per 1/2"…1" e i pin selettori neri per
1 1/4"…2".
Per la filiera standard:
Dopo aver allentato l'intestatubi, si potrà spostare la basculla verso l'alto o verso il basso.
Calibrare a questo punto il dispositivo di rilevamento della basculla (1) con la suddivisione
delle misure predisposte sulla targhetta di scala (2).
5.7 Il procedimento di filettatura G
In caso di pericolo occorre premere immediatamente il pedale di comando. Dopodiché la
macchina verrà completamente fermata.
Per riavviare la macchina occorre premere il pulsante d'attivazione situato al lato del pedale di
comando.
Per garantire delle filettature precise si prega di osservare le informazioni seguenti:
Per i procedimenti di filettatura si raccomanda di utilizzare esclusivamente materie prime
perfette ed irreprensibili! Nella lavorazione di tubi deformati e/oppure tagliati in diagonale
non è possibile eseguire delle filettature conformi alle norme!
Impiegare sempre la filiera adatta alla rispettiva grandezza del filetto nonché le rispettive
ganasce per filettare!
Fissare correttamente la filiera sulla slitta utensili!
Non appoggiare direttamente la filiera sul pavimento senza un'apposita protezione e trattarla
sempre con la massima accuratezza!
Accertarsi che l'olio da filettatura fluisca direttamente sulle ganasce per filettare!
Per la filiera automatica:
Abbassare la filiera ed inserire l'impugnatura a T, premendola completamente in posizione
„B“, finché le ganasce per filettare non scattano correttamente in posizione di lavoro
Inserire la macchina tramite il pedale di comando, girare la manopola in senso antiorario, in
modo tale che le ganasce per filettare premano direttamente sul pezzo di lavorazione.
ITALIANO 79

Rilasciare la manopola, dopo che sono stati eseguiti due o tre procedimenti di filettatura.
Le ganasce per filettare si aprono automaticamente attraverso una leva con fermo
longitudinale, non appena è stato completato il procedimento di filettatura.
Disinserire la macchina, rilasciando il piede dal pedale di comando con dispositivo di
sicurezza.
Per la filiera standard:
Abbassare la filiera ed abbassare successivamente anche la leva prevista per l'apertura e la
chiusura (1).
Inserire la macchina tramite il pedale di comando, girare la manopola in senso orario, in
modo tale che le ganasce per filettare premano direttamente sul pezzo di lavorazione.
Rilasciare la manopola, dopo che sono stati eseguiti due o tre procedimenti di filettatura.
Rialzare lentamente la leva prevista per l'apertura e la chiusura (1) con la macchina in
funzione, dopo che sono stati eseguiti i cicli di filettatura voluti, per terminare quindi il
procedimento di filettatura, aprendo lentamente le ganasce per filettare.
In un'apertura a scossoni delle ganasce per filettare, nell'ultima sezione di un
filetto possono risultare delle graduazioni, con la conseguenza di un
danneggiamento dello stesso!
5.8 Regolazione della lunghezza del filetto (solo filiera automatica)
La lunghezza del filetto è già stata regolata in fabbrica entro il campo delle misure standard, ma
può essere variata all'occorrenza in qualsiasi momento.
Girare la leva di bloccaggio in posizione „C“, fino allo scatto.
Allentare la vite a blocco e spostare la leva di bloccaggio, per
regolare così la lunghezza del filetto. Per aumentare la
lunghezza del filetto occorre spostarla in direzione „D“, mentre
per ridurre la lunghezza in direzione „E“. La lunghezza del
filetto può essere variata in passi di circa 2 mm per ogni
suddivisione di misura.
Stringere leggermente la vite a blocco e portare quindi la leva
di bloccaggio nella posizione di partenza, spostando il perno
profilato in posizione „F“.
Dopodiché serrare bene la vite per bloccare la leva di
bloccaggio.
5.9 Regolazione della profondità del filetto (solo filiera automatica)
Allentare la vite di bloccaggio, (solo SUPERTRONIC 2 SE: vite di
bloccaggio, che serve anche per fissare il blocco selettore al
disco a camma) e spostare il blocco selettore per regolare la
profondità del filetto.
Per aumentare la profondità del filetto occorre spostarla in
direzione „H“, mentre per ridurre la profondità in direzione
„G“.La profondità del filetto può essere aumentata ossia ridotta
per ogni suddivisione di misura all'incirca da 1,5 fino a 2 mm.
Solo SUPERTRONIC 2 SE: Fissare il blocco selettore serrando la
vite a blocco e procedere con il procedimento di filettatura.
Controllare il tubo lavorato per filetti conici, ecc. e correggere
quindi la regolazione, se necessario.
80 ITALIANO

5.10 Rimozione del pezzo di lavorazione (solo filiera automatica 2 1/2“…3“ / 4“)
Per eseguire filettature in tubi aventi un diametro maggiore
pin selettore
con una tensione ridotta è necessario utilizzare prima il pin
(argento)
filettante 2 (nero), per effettuare la cosiddetta pre-filettatura,
e dopodiché il pin selettore (color argento) per ripassare il
filetto standard.
pin filettante (nero)
5.11 Rimozione del pezzo di lavorazione
Il pezzo di lavorazione può essere molto scivoloso a causa dell'olio da filettatura
impiegato! Alla rimozione dalla macchina è necessario prestare molta attenzione
affinché non scivoli via, ad esempio cadendo sui piedi!
Girare il volantino d'avanzamento in senso orario e traslare indietro la slitta utensili.
Allentare il mandrino di serraggio ad urto.
Allentare il mandrino di centraggio e rimuovere il pezzo di lavorazione.
5.12 Pulizia dopo l'uso
Non eliminare i trucioli metallici e di materiale sintetico con l'ausilio di aria
compressa! Pericolo di lesioni agli occhi nonché di perdita della vista! Non
toccare mai con le mani nude i trucioli taglienti di metallo! Pericolo di lesioni!
Portare sempre dei guanti di protezione!
Eliminare tutti i trucioli sulla macchina e quelli cosparsi intorno.
Impiegare una spazzola di ferro, per sgomberare i trucioli dal mandrino di serraggio ad
urto, dalle ganasce per filettare e dallo sbavatore.
Eliminare con uno straccio gli spruzzi d'olio da filettatura presenti sulla macchina e sul posto
di lavoro.
6 Manutenzione ed ispezione
Tutte le macchine sono soggette ad una normale usura durante il servizio.
Esse devono essere sottoposte periodicamente ad una manutenzione, mentre i componenti
usurati richiedono una sostituzione.
Questi lavori devono essere eseguiti esclusivamente da parte di un'officina di servizio autorizzata
dalla ditta ROTHENBERGER! In questo modo avrete la piena garanzia sui materiali e le
prestazioni!
È assolutamente necessario disinserire la macchina e staccare la spina dalla
presa di corrente durante l'esecuzione dei lavori di pulizia, manutenzione,
controllo o riparazione (energia assente)! Evitare assolutamente qualsiasi messa
in funzione incontrollata della macchina! Pericolo di infortuni e lesioni!
6.1 Cambio della lama di sbavatura interna
Durante i lavori di sostituzione si raccomanda di portare sempre! dei guanti di
protezione! Pericolo di taglio e lesioni!
Estrarre la spina elastica dal collo della lama dell'alesatore.
La lama dell'alesatore viene liberata, tirando in avanti il portaalesatore.
Montare una nuova lama sull'alesatore.
Inserire nuovamente la spina elastica rimossa nel foro della nuova lama dell'alesatore.
ITALIANO 81

6.2 Cambio della rotella di taglio dell'intestatubi
Durante i lavori di sostituzione si raccomanda di portare sempre! dei guanti di
protezione! Pericolo di taglio e lesioni!
Portare l'intestatubi in una posizione eretta ed abbassare successivamente la filiera.
Staccare verso l'alto la coppiglia.
Mantenere ferma la rotella di taglio e spingere lentamente la spina della rotella di taglio fuori
dalla parte opposta.
spina d'aggiustamento
della rotella di taglio
rimozione della
coppiglia
rotella di taglio
coppiglia
Sgomberare i trucioli dalla spina ed eliminare le impurità, olio, ecc. per ingrassare
successivamente la scanalatura.
Inserire una nuova rotella di taglio nel portalama e inserire nuovamente la spina.
Inserire una nuova coppiglia nella spina d'aggiustamento della rotella di taglio e bloccarla
quindi piegando verso l'esterno le estremità.
6.3 Cambio dell'inserto delle ganasce di serraggio H
Girare il mandrino di serraggio ad urto ed aprirlo fino ad
un punto tale da potervi accedere all'interno con un
cacciavite (2 SE) risp. una chiave esagonale cava (3 SE).
Allentare le viti con cui sono fissati gli inserti delle ganasce
di serraggio (Fig. 1).
Applicare un'asta sottile sul bordo superiore della molla
girare
ed estrarre quindi la molla e la spina del mandrino di
serraggio ad urto (Fig. 2).
Staccare in avanti l'inserto della ganascia di serraggio
(Fig. 3).
Inserire un nuovo inserto per la ganascia di serraggio e
spingerlo quindi contro la parte posteriore fino al fermo,
per sostituire successivamente la molla e la spina del
mandrino di serraggio ad urto. Serrare bene la vite.
6.4 Controllo visuale giornaliero
Attenzione! Prima della lubrificazione togliere la spina dalla presa di corrente.
Controllare la spina di rete, il cavo d'alimentazione e la prolunga sulla presenza di eventuali
danneggiamenti
Corretto riempimento della coppa dell'olio
Correggere la vite di registro della portata d'olio, se necessario
Pulire il serbatoio dell'olio in caso di impurità
Controllare le ganasce per filettare, l'intestatubi e lo sbavatore interno sulla presenza di
eventuali abrasioni; se ciò fosse il caso, sostituire i componenti logorati
Pulire le ganasce di serraggio in caso di sporcizia con una spazzola di ferro
82 ITALIANO
vite
mandrino di
serraggio ad urto

Controllare che le viti di aggiustamento abbiano una sede fissa; riserrarle all'occorrenza
Eliminare periodicamente la sporcizia e i trucioli dalla macchina
Applicare un film di grasso antiruggine in caso di una messa fuori servizio per un periodo
prolungato.
Lubrificazione della guida dell’albero.
La guida posteriore dell’albero deve essere lubrificato periodicamente. La manutenzione è
soltanto permessa al personale istruito nel campo elettronico.
6.5 Lubrificazione dello stelo
Il porta stelo posteriore deve essere lubrificato regolarmente.
1. Rimuovere le viti di fissaggio della copertura del motore e rimuovere la copertura
della macchina.
2. Gli ingrassatori sono situati dietro il mandrino di centraggio (immagine 52).
3. Utilizzare la pistola di ingrassaggio per lubrificare i nippli (immagine 53).
7 Smaltimento
7.1 Componenti di metallo, elettrici ed elettronici
I componenti dell’apparecchio sono realizzati in materiali riciclabili. A questo proposito sono a
disposizione apposite imprese di riciclaggio omologate e certificate. I vari metalli devono essere
recati separatamente ad un centro di smaltimento! Per uno smaltimento compatibile per
l’ambiente dei componenti non riciclabili (ad esempio rottami elettronici) si prega di consultare
l’autorità competente per lo smaltimento di rifiuti sul luogo.
Solo per Paesi UE:
Non smaltire gli utensili elettrici insieme ai rifiuti domestici! Ai sensi della Direttiva
Europea 2002/96/CE relativa ai rifiuti di apparecchiature elettriche ed elettroniche e
alla sua applicazione nel diritto vigente in ambito nazionale, le apparecchiature
elettriche non più utilizzabili devono essere smaltite in modo differenziato e riciclate
secondo criteri di ecocompatibilità.
7.2 Oli e lubrificanti
Per lo smaltimento di oli usati sono autorizzate esclusivamente aziende rispettivamente
specializzate!
Gli oli usati e quelli contenenti impurità devono essere conservati in appositi contenitori ermetici
e resistenti all'olio (recipienti di metallo), per recarli successivamente al centro di smaltimento!
Gli apparecchi elettrici e i macchinari non riparabili devono essere aperti e completamente
scaricati dai residui di olio!
Le coppe d'olio devono essere depurate, senza lasciare alcuni residui d'olio – neanche minime
tracce d'olio! Gli oli (anche piccoli quantitativi) non devono pervenire in nessun caso nei terreni!
8 Servizio di assistenza clienti
A tal fine sono disponibili i centri di servizio e assistenza della Rothenberger oppure i reparti di
riparazione dei rispettivi costruttori. Naturalmente vi possiamo anche inviare entro breve i
necessari ricambi. Rivolgetevi al vostro commerciante o al costruttore.
Ordinate gli accessori e i ricambi presso il vostro rivenditore di fiducia oppure alla nostra Hot –
Line After Sales
Tel. +49 (0) 6195 800 8200 Fax: +49 (0) 6195 800 7491
ITALIANO 83

Inhoud Zijkant
1 Aanwijzingen betreffende de veiligheid 87
1.1 Beoogd gebruik 87
1.2 Algemene veiligheidsaanwijzingen 87
1.3 Speciale veiligheidsinstructies 89
2 Technische gegevens 90
3 Functies van de schroefdraadsnijmachine 90
3.1 Overzicht A 90
3.2 Functiebeschrijving 91
3.3 Toebehoren 91
4 Voorbereidingen voor het gebruik 91
4.1 Transport van de schroefdraadsnijmachine 91
4.2 Plaatsen van de machine 91
4.3 Elektrische aansluiting van de machine 92
4.4 De draadsnijolie 92
4.5 Controleren van de draadsnijolie 93
4.6 Instellen van de afgegeven hoeveelheid draadsnijolie 93
4.7 Aftappen van de olie 93
5 Werking en bediening van de schroefdraadsnijmachine 93
5.1 Inspannen van de werkstukken B 93
5.2 Snijden van de werkstukken met de pijpafsnijder C 94
5.3 Ontbramen van het werkstuk D 94
5.4 Demontage en montage van de kussens uit de draadsnijkop E 94
5.4.1 Automatische draadsnijkop 95
5.4.2 Standaarddraadsnijkop 95
5.5 Demontage en montage van de draadsnijkop 95
5.6 Wijzigen van de draadgrootte F 96
5.7 Het snijden van draad G 96
5.8 Instellen van de draadlengte (een automatische draadsnijkop) 97
5.9 Instellen van de draaddiepte (een automatische draadsnijkop) 97
5.10 Draadsnijden in 2 arbeidsstappen
(een automatische draadsnijkop 2 1/2“…3“ / 4“) 97
5.11 Verwijderen van het werkstuk 97
5.12 Reiniging na gebruik 98
6 Onderhoud en inspectie 98
84 NEDERLANDS

6.1 Vervangen van het blad van de binnenontbramer 98
6.2 Vervangen van het snijwiel van de pijpafsnijder 98
6.3 Vervangen van de spanklauwelementen H 99
6.4 Dagelijks controle 99
6.5 Smering van de as 99
7 Milieuvriendelijke afvoer 100
7.1 Metaal-, elektro- en elektronische onderdelen 100
7.2 Oliën en smeermiddelen 100
8 Klantenservice 100
Markeringen in dit document
Gevaar
Dit teken waarschuwt tegen lichamelijk letsel.
Hoogachting
Dit teken waarschuwt voor eigendommen of milieuschade.
Oproep tot actie
NEDERLANDS 85

1 Aanwijzingen betreffende de veiligheid
1.1 Beoogd gebruik
De schroefdraadsnijmachine SUPERTRONIC 2 SE, 3 SE en 4 SE mag alleen worden gebruikt voor
het afsnijden en afbramen van pijpen en het aanbrengen van schroefdraden volgens hoofdstuk
2, "Technische gegevens.
De SUPERTRONIC schroefdraadsnijmachines mogen slechts met geschikte en door
ROTHENBERGER geteste en aanbevolen standaard- en automatische snijkoppen alsook
snijkussens volgens hoofdstuk 2, "Technische gegevens", worden gebruikt!
De meegeleverde veiligheidsvoetschakelaar heeft de GS-vergunning van de beroepsvereniging
en is bij gebruik van de machine in de Bondsrepubliek Duitsland dwingend voorgeschreven!
Voer nooit technische of constructieve wijzigingen uit aan de schroefdraadsnijmachine
en aan het toebehoren! Verlies van geldigheid van de bedrijfsvergunning!
Gevaar voor ongevallen en letsel!
Voor het gebruik van elektrisch werktuig en machines dienen fundamentele
veiligheidsmaatregelen in acht te worden genomen en te worden opgevolgd! Lees
deze aanwijzingen aandachtig door, alvorens met de machine te gaan werken!
Bewaar de veiligheidsinstructies binnen handbereik!
1.2 Algemene veiligheidsaanwijzingen
LET OP!
Voor het gebruik van elektrische gereedschappen dient u om elektrische schokken en
gevaar voor verwonding of verbranding te voorkomen, de volgende fundamentele
veiligheidsmaatregelen in acht te nemen.
Lees al deze aanwijzingen voor u het elektrische gereedschap in gebruik neemt, en
bewaar de veiligheidsaanwijzingen goed.
Service en onderhoud:
1 Regelmatige reiniging, onderhoud en smering. Haal altijd de stekker uit het stopcontact
voor u het apparaat instelt, of onderhoud of reparaties uitvoert.
2 Laat het apparaat alleen door een erkende reparateur en met originele onderdelen
repareren. Dan weet u zeker dat de veiligheid van het apparaat behouden blijft.
Veilig werken:
1 Houd uw werkomgeving opgeruimd. Slordigheid op de werkplek kan tot ongelukken
leiden.
2 Houd rekening met omgevingsinvloeden. Plaats elektrische gereedschappen niet in de
regen. Gebruik elektrische gereedschappen niet in een vochtige of natte omgeving. Zorg voor
een goede verlichting van de werkplek. Gebruik elektrische gereedschappen niet op plaatsen
waar brand- of explosiegevaar bestaat.
3 Bescherm uzelf tegen elektrische schokken. Vermijd aanraking met geaarde delen (bv.
buizen, radiatoren, elektrische kachels, koelapparatuur).
4 Houd andere mensen weg van het werkgebied. Laat anderen, met name kinderen, niet
aan het elektrische apparaat of aan de kabel komen. Houd hen op afstand van het
werkgebied.
5 Berg elektrische gereedschappen die niet in gebruik zijn veilig op. Ongebruikte
elektrische gereedschappen moeten bewaard worden op een droge, hoge of afgesloten plek,
buiten het bereik van kinderen.
6 Overbelast het elektrische gereedschap niet. U werkt beter en veiliger binnen het
aangegeven vermogensgebied.
7 Gebruik het juiste elektrische gereedschap. Gebruik geen apparaten met weinig
vermogen voor zware werkzaamheden. Gebruik het elektrische gereedschap niet voor
86 NEDERLANDS

doeleinden, waarvoor het niet bedoeld is. Gebruik bijvoorbeeld geen handcirkelzaag voor het
zagen van boomtakken of houtblokken.
8 Draag de juiste kleding. Draag geen wijde kleding of sieraden, die kunnen gegrepen
worden door bewegende delen. Bij werk in de buitenlucht is het dragen van schoenen met
antislipzolen aan te bevelen. Draag een haarnet als u lang haar hebt.
9 Maak gebruik van beschermingsmiddelen. Draag een veiligheidsbril. Gebruik bij stoffige
werkzaamheden een beschermingsmasker.
10 Sluit de stofzuig-apparatuur aan. Als er apparatuur aanwezig is voor het afzuigen en
opvangen van stof, zorg er dan voor dat die aangesloten en op de juiste manier gebruikt
wordt.
11 Gebruik de kabel niet voor doeleinden, waarvoor hij niet bedoeld is. Gebruik het
netsnoer niet om de stekker uit het stopcontact te trekken. Houd de kabel verwijderd van
hitte, olie en scherpe randen.
12 Zet uw werkstuk goed vast. Maak gebruik van het spangereedschap of een bankschroef,
om het werkstuk op zijn plaats te houden. Zo wordt het beter op zijn plaats gehouden dan
met uw hand.
13 Vermijd een abnormale lichaamshouding. Zorg dat u stevig staat en blijf altijd in
evenwicht.
14 Onderhoud uw gereedschappen zorgvuldig. Houd uw gereedschap scherp en schoon,
zodat u er beter en veiliger mee kunt werken. Volg de aanwijzingen voor het smeren en voor
het wisselen van gereedschap. Controleer regelmatig de aansluitkabel van het elektrische
apparaat en laat hem als hij beschadigd is vervangen door een erkende vakman. Controleer
de verlengsnoeren regelmatig en vervang ze, als ze beschadigd zijn. Houd de handvatten
droog en schoon en zorg dat er geen vet of olie op zit.
15 Trek de stekker uit het stopcontact. Als u het elektrische apparaat niet gebruikt, voor het
onderhoud en bij het verwisselen van gereedschappen zoals bv. zaagbladen, boren, frezen.
16 Verwijder de sleutels. Controleer voor u het apparaat inschakelt of de sleutels en
afstelgereedschappen verwijderd zijn.
17 Voorkom per ongeluk inschakelen. Controleer of de schakelaar in de uit-stand staat als u
de stekker in het stopcontact steekt.
18 Gebruik verlengkabels voor buiten. Gebruik voor toepassing buiten alleen daarvoor
goedgekeurde verlengsnoeren, die de betreffende markering bevatten.
19 Blijf opletten. Houd uw aandacht bij wat u aan het doen bent. Ga verstandig te werk.
Gebruik het elektrische apparaat niet, als u niet geconcentreerd bent.
20 Controleer het elektrische apparaat op eventuele beschadigingen. Voor een volgend
gebruik van het elektrische apparaat moet zorgvuldig gecontroleerd worden of
beschermingsonderdelen of licht beschadigde onderdelen correct en volgens de voorschriften
werken. Controleer of de bewegende delen correct functioneren en niet klemmen, en of er
onderdelen beschadigd zijn. Alle delen moeten op de juiste manier gemonteerd zijn en aan
alle voorwaarden voldoen om een correcte werking van het elektrische apparaat te
garanderen.
Beschadigde beschermingsonderdelen en andere onderdelen moeten op de juiste manier
gerepareerd of vervangen worden door een erkende reparateur, voor zover niet anders
aangegeven in de gebruiksaanwijzing. Beschadigde schakelaars moeten in een
servicecentrum vervangen worden.
Gebruik elektrische apparaten niet, als de aan/uit-schakelaar niet werkt.
21 Let op. Het gebruik van andere onderdelen en andere accessoires kan het risico op
verwondingen opleveren.
22 Laat uw elektrische gereedschap repareren door een vakman. Dit elektrische apparaat
voldoet aan de toepasselijke veiligheidsvoorschriften. Reparaties mogen alleen uitgevoerd
worden door een deskundige en daarbij mogen alleen originele onderdelen gebruikt
worden; anders loopt de gebruiker het risico op ongelukken.
NEDERLANDS 87

1.3 Speciale veiligheidsinstructies
Breng nooit vingers, gezicht, haren of andere lichaamsdelen alsook loshangende, wijde
kledingstukken in het arbeids- en intrekgebied van draaiende delen (werkstuk, snij-ijzerhouder,
zelfcentrerende klauwplaat)! Draag geen sieraden (ringen, halskettingen)! Gevaar voor letsel en
ongevallen!
In geval van storingen (ongewone geur, vibraties, abnormale geluiden) tijdens het werken met
de SUPERTRONIC steeds onmiddellijk de veiligheidsvoetschakelaar bedienen en de machine in
NOODSTOP schakelen!
Het is bij lopende machine verboden hennep op te brengen, de werkstukken met de hand vast
te houden en soortgelijke werkzaamheden uit te voeren, het monteren en demonteren van
onderdelen zoals filters, kleppen, buisstukken enz.!
Draag beschermende werkkleding! Gelaatsscherm dragen tegen wegvliegend spaan, spattende
draadsnijolie alsook ev. optredende giftige chloorgasdampen (door het verbranden van
draadsnijolie op hete werktuig- of werkstukoppervlakken)! Beschermkap dragen die lange
haren bedekt en beschermt! Veiligheidshandschoenen dragen bij het wisselen van de
draadsnijkussens, het pijpsnijdersnijwiel en de pijpontbramer! Gevaar voor snijwonden!
Veiligheidshandschoenen dragen bij het wissel van werktuig en werkstuk! Schroefdraad en
draadsnijkussens worden bij het draadsnijden heet! Veiligheidshandschoenen dragen! Gevaar
voor letsel (uitglijden) of ev. uitlopende draadsnijolie! Gevaar voor letsel door vochtige,
glibberige en ev. ontglippende machinedelen bij het wisselen van het werktuig!
Verwijder metaal- en kunststofspaan niet met behulp van perslucht! Gevaar voor oogletsel of
verlies van het gezichtsvermogen!
Zorg bij gebruik binnen (gesloten vertrekken) voor voldoende ventilatie! De toegestane
omgevingstemperatuur ligt tussen 0°C en 40°C!
Schakel vóór het uitwisselen van de snijkoppen, het snijwiel, de pijpontbramer steeds de
machine uit en trek de stekker uit het stopcontact (stroomloos bedrijf)! De machine heeft na
het uitschakelen nog een bepaalde nalooptijd tot de absolute stilstand! Geen onderdelen
aanraken alvorens de machine niet absoluut stilstaat en de stekker uit het stopcontact is
getrokken!
Voer bij de pijpen die van een schroefdraad zijn voorzien een beproeving op druk uit, zodat kan
worden gewaarborgd dat na de montage van de pijpen geen gas of water kan ontsnappen!
88 NEDERLANDS

2 Technische gegevens
SUPERTRONIC 2 SE
SUPERTRONIC 3 SE SUPERTRONIC 4 SE
Snijvermogen BSPT R 1/4“…2“, NPT
BSPT R 1/4“…3“, NPT
BSPT R 1/4“…4“, NPT
1/4“…2“, vaardraad
1/4“…3“, vaardraad
1/4“…4“, vaardraad
3/8“…2“
3/8“…2“
3/8“…2“
Snelheid onder
40 min-1 (rpm)
33 min-1 (rpm)
22/50 min-1 (rpm)
nulbelasting
Motor Universele
Universele
Universele
eenfasemotor
eenfasemotor
eenfasemotor
1.150W,
1.700W,
1.750W,
overbelastings-
overbelastings-
overbelastings-
beveiliging
beveiliging
beveiliging
Veiligheidsklasse I I I
Beschermingsklasse IP 44 IP 44 IP 44
Frequentie: 50/60 Hz 50/60 Hz 50/60 Hz
Gewicht (zonder
44 kg 74 kg 105 kg
toebehoren)
Afmetingen(lxbxh) 535 x 430 x 340 mm 650 x 480 x 420 mm 750 x 540 x 480 mm
Draadsnijkop Standaardsnijkop
Standaardsnijkop
Standaardsnijkop
1/2“…2“
1/2“…2“ en 2“…3“
1/2“…2“, 2“…3“,
Automatische snijkop
Automatische snijkop
3.1/2“…4“
1/2“…2“
1/2“…2“ en
Automatische snijkop
2.1/2“…3“
1/2“…2“ en 2
1/2“…4“
Draadsnijkussens 1/2“…3/4“, 1“…2“ 1/2“…3/4“, 1“…2“,
1/2“…3/4“, 1“…2“,
2.1/2“…3“
2.1/2“…4“
Karakteristiek
<2,5 m/s2 <2,5 m/s2 <2,5 m/s2
gemeten versnelling
Geluidsdrukniveau 85 dB(A) 85 dB(A) 85 dB(A)
Draag oorbeschermers! Bij werken kan het geluidsniveau 85 dB (A) overschrijden.
Meetwaarden vastgesteld volgens EN 61029-1.
3 Functies van de schroefdraadsnijmachine
3.1 Overzicht A
1 Pijpafsnijder 11 T-handvat
2 Draadsnijkussens 12 Selectorpen (zilver)
3 Binnenontbramer 13 Selectorpen (zwart)
4 Beitelslede 14 Draadpen (snelinstelling)
5 Olieaftapplug 15 Profiellichaam
6 Aanvoerhandwiel 16 Profielpen
7a Overbelastingsschakelaar bij 17 Vastzethefboom lichaam
machines met voetschakelaar
7b Aan/uit-schakelaar bij machines 18 Vastzethefboom klauwkop
zonder voetschakelaar
8 Zelfcentrerende klauwplaat 19 Nokschijf
9 Snij-ijzerhouder 20 Selectorblok
10 Draadsnijkop
NEDERLANDS 89

3.2 Functiebeschrijving
In de schroefdraadsnijmachine SUPERTRONIC 2 SE, 3 SE en 4 SE wordt op werkstukken zoals
pijpen en stangen draad gesneden of opgedraaid.
De machine bestaat uit:
een aandrijfmotor die de zelfcentrerende klauwplaat in een draaiende beweging brengt
een snij-ijzerhouder om het werkstuk vast te houden
een pijpafsnijder om het werkstuk de juiste lengte te geven
een binnenontbramer
een draadsnijkop, om het werkstuk van een schroefdraad te voorzien
een oliepomp die voor de smering en koeling zorgt door middel van draadsnijolie
een aan beide zijden geleide beitelslede met vertande aanvoer
spaanopvang- en oliebak
een veiligheidsvoetschakelaar
een naloopbeperking.
3.3 Toebehoren
Geschikt toebehoren en een bestelformulier vindt u op pagina 276.
4 Voorbereidingen voor het gebruik
4.1 Transport van de schroefdraadsnijmachine
Buig door de knieën wanneer u de machine optilt, om uw rug tegen
overbelasting te beschermen.
Beitelslede dusdanig bevestigen, dat zij tijdens het transport van de machine niet kan
bewegen. Om de machine op te tillen, deze aan de machinebodem vasthouden. Vat de
machine bij het dragen niet aan de zelfcentrerende klauwplaat of aan de
binnenontbramer.
Indien de machine met de daarin gebleven draadsnijolie wordt getransporteerd, kan het
gebeuren dat de olie ten gevolge van vibraties naar buiten spat en de kleding
verontreinigt.
Door de verontreiniging met draadsnijolie is de machine glibberig. Zorg ervoor, dat de
machine u bij het optillen niet uit de handen glijdt.
4.2 Plaatsen van de machine
Machine op een effen oppervlak zonder
tussenruimte of op een effen werkbank plaatsen.
De zelfcentrerende klauwplaat moet in
verhouding tot de ander machinedelen hoger
liggen, zodat er geen draadsnijolie over de
lager hoger
bewerkte pijp uitlopen en de vloer kan
verontreinigen. Machine op een plaats opstellen
waar geen vochtigheid heerst.
Indien de door de machine en het draaiende werkstuk gevormde
gevarenzone niet overzichtelijk is, dienen de draaiende werkstukken
bijvoorbeeld op de juiste lengte te worden ingekort of dient de gevarenzone
door afbakening of waarschuwingsposten te worden beveiligd. De
veiligheidsvoorzieningen dienen veilig te worden opgesteld of bevestigd.
Wanneer hiervoor stutten worden gebruikt, moeten deze stabiel zijn, in de
hoogte verstelbaar en voldoende van aantal zijn!
90 NEDERLANDS

4.3 Elektrische aansluiting van de machine
Noch de machine, noch de werkstukken op de aansluitkabel plaatsen. Hij kan
daardoor worden beschadigd. Gevaar door elektrische schok!
Netstekker en netkabel geenszins met natte handen aanraken. Gevaar door
elektrische schok!
De spanning op het typeplaatje van de machine moet absoluut overeenstemmen
met de stroombron. Anders kan de machine heetlopen, rook ontwikkelen, in brand
geraken en worden beschadigd.
Let er bij het aansluiten van de machine op het elektrische net op, dat de
schakelaar op "UIT" staat. Anders bestaat het gevaar, dat de machine bij
aansluiting op het elektrische net onopgemerkt en zonder toezicht aanloopt.
Gevaar voor letsel en ongevallen!
De geïntegreerde overbelastingsbeveiliging stopt de machine automatisch bij
overbelasting en stroomschommelingen. Pas na het verstrijken van één minuut is
herinschakelen mogelijk.
Gebruik de verlengkabel H07 RN 3 x 1,5 mm2! De kabel mag niet langer dan 30 m
zijn!
4.4 De draadsnijolie
Gebruik voor het snijden ROTHENBERGER – hoogrendement-draadsnijolie
artikelnr. 6.5010. Deze olie is niet geschikt voor het snijden van drinkwaterleidingen.
Als alternatief kunt u ROTHENBERGER – hoogrendement-draadsnijfluïd artikelnr. 6.5015
gebruiken. Dit fluïdum is voor het snijden van alle pijpleidingen (incl. drinkwaterleidingen)
geschikt.
Bewaar draadsnijoliën uit de buurt van kinderen.
Draadsnijolie niet verdunnen en ook niet met andere oliën mengen. Indien de draadsnijolie
zich met water mengt, wordt het melkachtig wit, zijn kwaliteit wordt slechter en de
gesneden draad is eveneens van een minder goede kwaliteit. Het is raadzaam de olie dan te
verversen.
Directe zonbestraling vermijden en de olie in het donker opslaan.
Het oliereservoir na gebruik goed sluiten, zodat er geen vuil of water kan binnendringen.
LET OP LIJDERS AAN ALLERGIEEN!
Als de huid in contact komt met draadsnijolie kan dit leiden tot irritatie van de huid,
ontstekingen en allergische reacties. Draag bij de omgang met de olie beschermende
kleding of bedek delen van de huid die gevaar lopen. Komt uw huid toch een keer in
aanraking met de olie, was deze dan onmiddellijk met leidingwater en zeep. Bij
verbranding van de draadsnijolie op hete werkstuk- of werktuigoppervlakken kunnen
giftige dampen of gassen ontstaan (bijv. chloorgas bij het verbranden van rode olie).
Heeft u toevallig deze olienevel of oliedampen ingeademd, ga dan onmiddellijk aan de
verse lucht en consulteer zonder uitstel een arts.
NEDERLANDS 91

Z
92 NEDERLANDS
ee
f
handvat
borgmoer
minder
meer
olieafta
pp
lu
g
4.5 Controleren van de draadsnijolie
Als de machine wordt gereinigd, onderhouden, gecontroleerd of gerepareerd
moet u de machine in ieder geval uitschakelen en de stekker uit het stopcontact
trekken.
Draai het handvat tegen de wijzers van de klok in, om de
beitelslede naar de snij-ijzerhouder toe te bewegen.
Vul aan de rechterzijde van de machine de meegeleverde
draadsnijolie bij tot zij ter hoogte staat van het
zeefvlechtwerk.
Let erop, dat de machine uitgeschakeld is en steeds de
netstekker opnieuw in het stopcontact.
Schakel de machine in en ga na of de draadsnijolie uit de
draadsnijkop naar de snijkussens vloeit. Wordt niet de
juiste hoeveelheid olie afgegeven, dan moet u dit regelen
met de olieregelschroef.
4.6 Instellen van de afgegeven hoeveelheid draadsnijolie
Als de machine wordt gereinigd, onderhouden, gecontroleerd of gerepareerd
moet u de machine in ieder geval uitschakelen en de stekker uit het stopcontact
trekken.
Controleer of de olietank wel degelijk ter hoogte van het
zeefvlechtwerk met olie is gevuld.
Voldoet de over de draadsnijkop vloeiende hoeveelheid
draadsnijolie niet aan de eisen, dan moet de dosering met
behulp van de olieregelschroef worden gecorrigeerd.
Draai de borgmoer van de olieregelschroef los.
Door de olieregelschroef met de wijzers van de klok mee
te draaien wordt de afgegeven hoeveelheid olie
verhoogd, door tegen de wijzers van de klok in te draaien
wordt deze verminderd.
Draai de borgmoer na het instellen stevig vast.
4.7 Aftappen van de olie
Neem hierbij ook de voorschriften met
betrekking tot de veiligheid en de
milieuvriendelijke afvoer in hoofdstuk
7 in acht.
5 Werking en bediening van de schroefdraadsnijmachine
5.1 Inspannen van de werkstukken B
De beitelslede kan het frame raken, alvorens het draadsnijden is voltooid;
daardoor kunnen snij-ijzerhouder en machine worden beschadigd.
Daarom moet tussen de aan het werkstuk gesneden draad en de snij-ijzerhouder
een afstand worden aangehouden van minstens 70 mm.
Spannfutter
pijp

Kantel de pijpafsnijder en de draadsnijkop naar boven, zodat ze niet in de weg staan en zet
de binnenontbramer aan de achterkant aan.
Breng het werkstuk vanaf de kant van de zelfcentrerende klauwplaat in (afbeelding 1) en
zet de zelfcentrerende klauwplaat stevig vast (afbeelding 2).
Houd het werkstuk op de zijde van de snij-ijzerhouder met de rechterhand vast en trek het
geleidelijk met de snij-ijzerhouder vast (afbeelding 3).
Ga na of alle spanklauwen contact hebben met het werkstuk.
Hebben niet alle spanklauwen goed contact met het werkstuk, dan zal het
waggelen, en noch het snijden noch het draadsnijden kan correct worden
uitgevoerd.
Klem het werkstuk vlot in en trek het stevig vast.
Gebruik bij lange of zware pijpen in ieder geval de bril artikelnr. 5.6047, om een
waggelen of verdraaien van het werkstuk tijdens het draaien of het kantelen
van de machine ten gevolge van het gewicht van het werkstuk te voorkomen.
Werkstuk en machine kunnen anders instabiel worden.
5.2 Snijden van de werkstukken met de pijpafsnijder C
Raak het snijvlak niet aan met blote handen, het kan heet zijn en scherpe
kanten hebben. Gevaar voor letsel en brandwonden!
Wordt het handvat van de pijpafsnijder met geweld gedraaid, dan neemt het
snijvlak van de pijp een ovale vorm aan, waardoor een correct draadsnijden
onmogelijk wordt. Beweeg het handvat van de pijpafsnijder daarom een halve
omwenteling per volledige pijpdraaiing.
Kantel de pijpafsnijder naar boven, zodat hij niet in de weg staat. Draai het aanvoerhandwiel
tegen de wijzers van de klok in, om de pijpafsnijder in de vereiste positie voor het snijden van
het werkstuk te brengen.
Beweeg de pijpafsnijder naar beneden op het werkstuk en druk dan op de schakelaar AAN of
druk op de voetschakelaar.
Draai het handvat van de pijpafsnijder krachtig met de wijzers van de klok mee en begin het
werkstuk te snijden.
Zwenk de pijpafsnijder opnieuw naar boven en terug.
Verzamel de gesneden pijpen niet in de goot. Neem deze onmiddellijk na het
beëindigen van het snijproces uit de goot.
5.3 Ontbramen van het werkstuk D
De punt van de binnenontbramer is heel scherp. Raak de punt niet met de
blote hand aan. Gevaar voor snijwonden en letsel!
Trek de binnenontbramer naar u toe.
Draai het aanvoerhandwiel tegen de wijzers van de klok in, om de snijkant van de ontbramer
tot dichtbij het kopvlak van de zich draaiende pijp te brengen.
Draai de handgreep verder, druk om te ontbramen de snijkant van de ontbramer tot tegen
het binnenste van de pijp.
5.4 Demontage en montage van de kussens uit de draadsnijkop E
Draag veiligheidshandschoenen om snijwonden aan de handen veroorzaakt
door de kussens te voorkomen.
NEDERLANDS 93

5.4.1 Automatische draadsnijkop
Demontage:
Trek de vastzethefboom in richting "A", om de kussens te openen.
Plaats de selectorpen (zilverkleurig) in het selectorblok van de kussens.
Til de draadsnijkop uit de machine en trek de kussens nr. 1 tot en met 4 af.
Montage:
Trek de vastzethefboom in richting "A", om de kussens te openen.
Plaats de selectorpen (zilverkleurig) in het selectorblok van de kussens.
Plaats de kussens met hetzelfde getal als op de betreffende draadsnijkop en laat deze
hoorbaar vergrendelen.
Controleer of de getallen op de draadsnijkop en op de kussens op dezelfde zijde zijn.
Een nauwkeurige tikken is alleen mogelijk als het getal op de
sleuf van de draad-snijkop met het getal op de wang match
draad!
Tappers kaken na het veranderen van een vaste zitplaats
Tappers kop na de wijziging of vervanging van de draad-
snijden bakken vaste sluis in het hulpprogramma sled test!
5.4.2 Standaarddraadsnijkop
Demontage:
Maak de snij-ijzerhouder (1) los, breng het zwenkbaar tussenwiel (2) in de onderste positie,
trek de snij-ijzerhouder vast en leg de voor het openen en sluiten bestemde hefboom (3) voor
het verwijderen van de kussens naar boven om.
Trek er de kussens nr. 1 en 4 naar boven toe uit als de draadsnijkop in de onderste stand
staat.
Til de draadsnijkop uit de machine en trek de kussens nr. 2 en 3 naar onder toe af.
Montage:
Maak de snij-ijzerhouder (1) los, breng het zwenkbaar tussenwiel (2) in de onderste positie,
trek de snij-ijzerhouder vast en leg de voor het openen en sluiten bestemde hefboom (3) voor
het aanbrengen van de kussens naar boven om.
Plaats de kussens met hetzelfde getal als op de betreffende draadsnijkop en laat deze
hoorbaar vergrendelen.
Controleer of de getallen op de draadsnijkop en op de kussens op dezelfde zijde zijn.
Een nauwkeurig draadsnijden is pas mogelijk, als het getal op de gleuf van de
draadsnijkop overeenstemt met dat op het kussen.
5.5 Demontage en montage van de draadsnijkop
Til de draadsnijkop tot op halves hoogte.
Breng de draadsnijkop in diagonale positie en verwijder hem.
Pas nadat zich de draadsnijkop parallel aan de vlakke zijde van de snijkoppen bevindt, kan hij
uit de machine worden verwijderd resp. in de machine worden ingebouwd.
draadsnijkop
snijkoppen
94 NEDERLANDS

5.6 Wijzigen van de draadgrootte F
Automatische draadsnijkop:
Vergewis u ervan, dat de draadsnijkop op de beitelslede zit en dat de kussens met de
draadgrootte overeenstemmen.
Plaats de selectorpen in het selectorblok met de vereiste draadgrootte.
De grootte is op het betreffende selectorblok aangegeven.
Gebruik de zilverkleurige selectorpen en het blok voor 1/2"…1" en de zwarte selectorpen
voor 1 1/4"…2".
Voor de standaarddraadsnijkop:
Na het losmaken van de pijpafsnijder kan het zwenkbare tussenwiel (1) naar boven en naar
onder bewegen (2).
Stel de afleesinrichting van het zwenkbare tussenwiel met de aanwezige maatindeling af op
het schaalbordje.
5.7 Het snijden van draad G
Trap bij gevaar het pedaal van de veiligheidsvoetschakelaar volledig in. De machine komt
daardoor tot stilstand.
Om de machine opnieuw te starten, drukt u de vrijgaveknop zijdelings van de
veiligheidsvoetschakelaar.
Om nauwkeurig gesneden draad te kunnen waarborgen, moet u de volgende aanwijzingen in
acht nemen:
Gebruik voor het draadsnijden uitsluitend ruw materiaal in perfecte staat. Bij gebruik van
vervormde en/of scheef op lengte gebrachte pijpen is het snijden van draad die aan de norm
voldoet niet mogelijk.
Gebruik de voor de draadgrootte passende draadsnijkop en de overeenkomstige
draadsnijkussens.
Bevestig de draadsnijkop zoals voorgeschreven op de beitelslede. Leg de draadsnijkop niet
direct en zonder bescherming op de vloer en behandel hem nauwgezet.
Zorg ervoor dat de draadsnijolie op de draadsnijkussens vloeit.
Voor de automatische draadsnijkop:
Laat de draadsnijkop neer en breng het T-handvat aan, waarbij dit volledig in richting "B"
wordt gedrukt tot de draadsnijkussens in de werkpositie vergrendelen
Schakel de machine in met de voetschakelaar, draai het handvat tegen de wijzers van de klok
in, zodat de kussens op het werkstuk drukken.
Laat het handvat los zodra twee tot drie gangen gesneden zijn.
De draadsnijkussens worden automatisch geopend via een lengteaanslaghefboom, als de
draad volledig is gesneden.
Schakel de machine uit door de voet van de veiligheidsvoetschakelaar te nemen.
Voor de standaarddraadsnijkop:
Laat de draadsnijkop neer en leg de hefboom (1) voor het openen en sluiten naar zich toe
naar onder om.
Schakel de machine in met de voetschakelaar, draai het handvat met de wijzers van de klok
mee, zodat de kussens op het werkstuk drukken.
Laat het handvat los zodra twee tot drie gangen gesneden zijn.
Leg de hefboom (1) voor het openen en sluiten bij draaiende machine langzaam naar
boven om, zodra het vereiste aantal draden is gesneden, om op die manier het snijproces
door langzaam openen van de kussens te beëindigen.
Als de kussens schoksgewijs worden geopend, kunnen in het laatste gedeelte van
de draad trappen ontstaan, en de draad dus beschadigd is.
NEDERLANDS 95

5.8 Instellen van de draadlengte (een automatische draadsnijkop)
De draadlengte wordt reeds door de fabrikant binnen de
standaardlengte ingesteld, kan echter naar behoefte worden
gewijzigd.
Draai de vastzethefboom in richting "C", tot hij grijpt.
Maak de blokschroef los en beweeg de vastzethefboom voor
het instellen van de draadlengte. Voor lange schroefdraden
schuift u deze in richting "D", voor korte in richting "E". De
draadlengte kan met nagenoeg 2 mm per maatindeling worden
gewijzigd.
Draai de blokschroef lichtjes aan en breng de vastzethefboom in
de uitgangspositie door de profielpen in richting "F" te schuiven.
Draai dan voor het arrêteren van de vastzethefboom de schroef
stevig vast.
5.9 Instellen van de draaddiepte (een automatische draadsnijkop)
Maak de blokschroef los, (alleen voor SUPERTRONIC 2 SE:
blokschroef waarmee het selectorblok aan de nokschijf is
bevestigd) en beweeg voor het instellen van de draaddiepte het
selectorblok.
Voor diepe schroefdraden schuift u deze in richting "H", voor
vlakke in richting "G". De draaddiepte kan per maatindeling 1,5
tot 2 mm naar onder of naar boven worden gewijzigd.
Alleen SUPERTRONIC 2 SE: Bevestig het selectorblok door de
blokschroef vast te draaien en begin met het draadsnijden.
Controleer de gesneden pijp met behulp van een
meetinstrument voor kegelvormige schroefdraden enz. en
corrigeer de instelling indien dit nodig mocht zijn.
5.10 Draadsnijden in 2 arbeidsstappen
een automatische draadsnijkop 2 1/2“…3“ / 4“)
Voor het draadsnijden aan een pijp met grote diameter
selectorpen
bij lage spanning dient eerst en vooral de 2-stappen-
(zilver)
draadsnijdpen (zwart) voor het draadsnijden (voorsnijden)
te worden gebruikt en daarna de selectorpen
(zilverkleurig) voor het snijden (nasnijden) van
standaarddraden te worden gemonteerd.
draadsnijpen
(zwart
)
5.11 Verwijderen van het werkstuk
Het werkstuk is door de draadsnijolie vochtig en glibberig.
Let er zorgvuldig op, dat u het werkstuk bij het verwijderen uit de machine
niet ontglipt en daarbij bijv. op de voeten valt.
Draai het aanvoerhandwiel met de wijzers van de klok mee en breng de beitelslede terug.
Maak het snij-ijzerhouder los.
Maak de zelfcentrerende klauwplaat los en trek er het werkstuk uit.
96 NEDERLANDS

