Rothenberger ROCUT UKS 160/355 – страница 4
Инструкция к Rothenberger ROCUT UKS 160/355

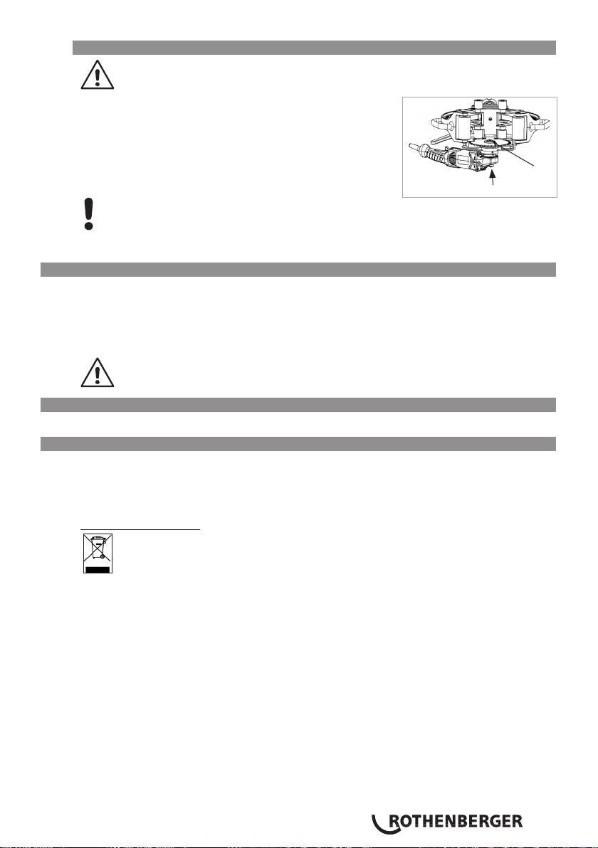
1.3 Spesielle sikkerhetshenvisninger
Bruk hørselsvern. Støy kan føre til tap av hørselen.
Utendørs stikkontakter må være utstyrte med jordefeilbryter. Installasjonsforskriftene for ditt
elektrisek anlegg har krav om det. Ved bruk av apparatet, pass altid på:
Før alle arbeider på maskinen skal støpselet trekkes ut av stikkontakten.
Maskinen skal være slått av når den kobles til stikkontakten.
Hold alltid strømledningen unna maskinens arbeidsområde. Før strømledningen alltid bak
maskinen.
Maskinen skal kun brukes av opplærte og autoriserte brukere!
2 Tekniske data
Spenning .............................................................. 230 V AC, 50/60 Hz
Nominell inngangseffekt ...................................... 1750 W
Tomgangsturtall ................................................... 7600 1/min
Vekt ..................................................................... ca. 12,9 kg
Typisk vurdert akselerering i hånd-arm området .... < 2,5 m/s2
Beskyttelsesklasse ................................................. IP20
Verneklasse .......................................................... II
Driftstype ............................................................. S3
Lydtrykknivå (L
) ................................................. 89 dB(A) ¦ K
3 dB (A)
pA
pA
Lydeffektnivå (L
) ............................................... 102 dB(A) ¦ K
3 dB (A)
wA
wA
Rundt sagblad utvendig Ø .................................... 180 mm
Hull Ø ............................................ 30 mm
Støynivået kan overskride 85 dB (A) under arbeid. Bruk hørselsvern! De formidlede måle-
verdiene tilsvarer EN 60745-1.
3 Funksjon av maskinen
3.1 Oversikt A
1 Håndhjul 5 Føringshåndtak
2 Spennarmer 6 Bærehåndtak
3 Låsebolt 7 Motorbryter
4 Reguleringsspake
3.2 Nettilkopling
Skal bare tilsluttes enfasevekselstrøm og bare til den på skiltet angitte nettspenning. Tilslutning til
stikkontakter uten jordet kontakt er mulig fordi beskyttelse beskyttelsesklasse II er forhanden.
3.3 Igangkjøring
ROCUT UKS 160/355 skal kun brukes tørt! Ved bruk utendørs skal det brukes
jordefeilbryter!
Fest og lås arbeidsstykke/rør! Røret skal være fast forankret for å unngå bevegelse,
bøying og fall ved kappeenden.
Ved hjelp av håndhjulet (1) spenarmer (2) åpnes det så mye at sagen jkan skyves over eller inn
forfra på røret som skal sages.
Pass da på at sagen sitter på røret og ligger an mot det høyeste punktet, og at drivmotoren
alltid skal peke mot den rørenden som skal sages av.
NORSK 59

Ved å dreie håndhjulet motsatt vei lukkes spennarmene og griper rundt røret som skal sages.
Spennkraften på armene skal stilles slik at sagen lett kan føres på røret.
Kobel til strømmen (vekselstrøm 230 V/50 Hz). Sikring: 16 A trege eller tilsvarende automatsik-
ring.
Røret kan inneholde ukjente stoffer/objekter. Forsikre deg om at det ikke er faste
stoffer, gass eller væske i røret!
3.4 Betjening B
Ikke ta av beskyttelsesdekselet! Før hver bruk, kontroller korrekt funksjon!
Hold hendene unna sagbladet og sagområdet! Hold hendene på betjeningshånd-
takene! Når begge hendene har grep om sagen, kan de ikke komme i kontakt
med sagbladet!
Slå på drivmotoren med bryter (7) og la den stå på kontinuerlig drift.
Etter å ha trukket ut låsebolten (3) la sagbladet langsomt gå inn i røret ved hjelp av regule-
ringsspaken (4).
Ved en aktuell nedgående bevegelse går låsebolten automatisk i lås og låser sagbladet på
plass.
Pass på strømledningen når sagen føres! Skift straks ut skadet strømledning!
Før rotasjonssirkelsagen hele veien rundt røret kun ved hjelp av bærehåndtaket (6) og førings-
håndtaket (5) jevnt og forsiktig, pekende vekk fra brukeren (pilretning).
Ved korrekt håndtering og innstilling vil rotasjonssirkelsagen etter rotasjon rundt hele rørdia-
meteren løpe ut på samme sted som sagsporet startet, slik at røret er helt kappet av. Forløp av
snittet på maks. 3 mm er normalt.
Dersom sagbladet klemmer, stopp straks drivmotoren!
Slå av drivmotoren ved hjelp av bryteren (7).
Ikke brems sagbladet ved å tryke inn fra siden!
Når sagbladet står stille, koble fra strømmen, trekk ut låsebolten (3) og løft sagbladet ut fra
røret ved hjelp av reguleringsspaken til hvilestilling.
Låsebolten låser sagen, den kan løsnes ved å dreie på håndhjulet (1) og tas av fra røret.
Bør alltid rotasjonssirkelsagen i håndtaket når den løsnes!
NORSK60

3.5 Skifte av sagblad
Bruk alltid et skarpt sagblad som passer for bruksområdet (materialet). Sagblad
med sprekker eller som er deformerte, er en farekilde og skal aldri brukes!
Trekk støpselet ut av stikkontakten.
Åpne beskyttelsesklaff i beskyttelseshuset.
Trykk låseknappen (1).
Skru av festemutteren (2) i senter av sagbladet.
2
Skift sagblad.
1
OBS! Utjevningshylsen må alltid være posisjonert! OBS! Pass på rotasjonsretning på
drivmotoren!
Trekk til igjen festemutteren (2).
4 Pleie og vedlikehold
Rotasjonssirkelsagen er stort sett vedlikeholdsfri.
Smøring av rullelageret og giret er tilstrekkelig for hele maskinens levetid.
Motorhuset skal kun åpnes av et autorisert serviceverksted!
Hele maskinen, spesielt løperullene, skal rengjøres med trykkluft etter hver bruk.
Bruk vernebriller!
5 Tilbehør
Egnet tilbehør og et bestillingsformular finner du fra og med side 92.
6 Avfallsdumping
Deler av apparatet er verdifulle stoffer, og kan tilføres resirkuleringen. Du kan bruke tillatte
og sertifiserte resirkuleringsbedrifter til dette. For miljøvennlig avfallsdumping av de delene
som ikke kan resirkuleres (f.eks. elektronikksøppel) spør du vennligst etter hos ansvarlige for
avfallsdumping.
Kun for EU-land:
Elektroverktøy må ikke deponeres sammen med husholdningssøppelet! Iht. Europeisk
direktiv 2012/19/EF angående gamle elektro og elektronikkapparater, og deres omsetning
til nasjonal rett, må elektroverktøy som ikke brukes lenger samles og tilføres et
miljøvennlig gjenbruksdeponi.
NORSK 61

Sisältö Sivu
1 Turvallisuuteen liittyviä ohjeita 63
1.1 Määräystenmukainen käyttö 63
1.2 Sähkötyökalujen yleiset turvallisuusohjeet 63
1.3 Erityiset turvallisuusohjeet 65
2 Tekniset tiedot 65
3 Laitteen toiminta 65
3.1 Koneen osat (A) 65
3.2 Verkkoliitäntä 65
3.3 Käyttöönotto 65
3.4 Käyttö (B) 66
3.5 Terän vaihtaminen 67
4 Hoito ja huolto 67
5 Tarvikkeet 67
6 Kierrätys 67
Dokumentissa käytetyt merkinnät:
Vaara!
Merkki varoittaa loukkaantumisista.
Huom!
Merkki varoittaa esine- ja ympäristövahingoista.
Viittaa toimenpiteisiin
SUOMI62

1 Turvallisuuteen liittyviä ohjeita
1.1 Määräystenmukainen käyttö
ROCUT UKS 160/355 -leikkuri soveltuu PE-, PP-, PVDF- ja PVC-putkien katkaisemiseen suorassa
kulmassa, putken ulkoläpimitta 160 - 355 mm, seinämän paksuus min. 8 mm ja maks. 40 mm.
1.2 Sähkötyökalujen yleiset turvallisuusohjeet
VAROITUS!
Lue kaikki turvallisuus- ja muut ohjeet!
Turvallisuusohjeiden noudattamisen laiminlyönti saattaa johtaa sähköiskuun, tulipaloon ja/tai
vakavaan loukkaantumiseen.
Säilytä kaikki turvallisuus- ja muut ohjeet tulevaisuutta varten.
Turvallisuusohjeissa käytetty käsite ”sähkötyökalu” käsittää verkkokäyttöisiä sähkötyökaluja (verk-
kojohdolla) ja akkukäyttöisiä sähkötyökaluja (ilman verkkojohtoa).
1) Työpaikan turvallisuus
a) Pidä työskentelyalue puhtaana ja hyvin valaistuna. Työpaikan epäjärjestys ja valaise-
mattomat työalueet voivat johtaa tapaturmiin.
b) Älä työskentele sähkötyökalulla räjähdysalttiissa ympäristössä, jossa on palavaa
nestettä, kaasua tai pölyä. Sähkötyökalu muodostaa kipinöitä, jotka saattavat sytyttää
pölyn tai höyryt.
c) Pidä lapset ja sivulliset loitolla sähkötyökalua käyttäessäsi. Voit menettää laitteesi
hallinnan, huomiosi suuntautuessa muualle.
2) Sähköturvallisuus
a) Sähkötyökalun pistotulpan tulee sopia pistorasiaan. Pistotulppaa ei saa muuttaa
millään tavalla. Älä käytä mitään pistorasia-adaptereita maadoitettujen sähkötyö-
kalujen kanssa. Alkuperäisessä kunnossa olevat pistotulpat ja sopivat pistorasiat vähentä-
vät sähköiskun vaaraa.
b) Vältä koskettamasta maadoitettuja pintoja, kuten putkia. pattereita, liesiä tai jää-
kaappeja. Sähköiskun vaara kasvaa, jos kehosi on maadoitettu.
c) Älä aseta sähkötyökalua alttiiksi sateelle tai kosteudelle. Veden tunkeutuminen säh-
kötyökalun sisään kasvattaa sähköiskun riskiä.
d) Älä käytä verkkojohtoa väärin. Älä käytä sitä sähkötyökalun kantamiseen, vetämi-
seen tai pistotulpan irrottamiseen pistorasiasta. Pidä johto loitolla kuumuudesta,
öljystä, terävistä reunoista ja liikkuvista osista. Vahingoittuneet tai sotkeutuneet
johdot kasvattavat sähköiskun vaaraa.
e) Käyttäessäsi sähkötyökalua ulkona, käytä ainoastaan ulkokäyttöön soveltuvaa
jatkojohtoa. Ulkokäyttöön soveltuvan jatkojohdon käyttö pienentää sähköiskun vaaraa.
f) Jos sähkötyökalun käyttö kosteassa ympäristössä ei ole vältettävissä, tulee käyttää
vikavirtasuojakytkintä. Vikavirtasuojakytkimen käyttö vähentää sähköiskun vaaraa.
3) Henkilöturvallisuus
a) Ole valpas, kiinnitä huomiota työskentelyysi ja noudata tervettä järkeä sähkötyö-
kalua käyttäessäsi. Älä käytä sähkötyökalua, jos olet väsynyt tai huumeiden, alko-
holin tahi lääkkeiden vaikutuksen alaisena. Hetken tarkkaamattomuus sähkötyökalua
käytettäessä, saattaa johtaa vakavaan loukkaantumiseen.
b) Käytä suojavarusteita. Käytä aina suojalaseja. Suojavarusteet, kuten pölynsuojanaama-
ri, luistamattomat turvajalkineet, kypärä ja kuulosuojaimet pienentävät, tilanteen mukaan
oikein käytettyinä, loukkaantumisriskiä.
SUOMI 63

c) Vältä tahatonta käynnistämistä. Varmista, että sähkötyökalu on poiskytkettynä,
ennen kuin liität sen sähköverkkoon ja/tai liität akun, otat sen käteen tai kannat
sitä. Jos kannat sähkötyökalua sormi käynnistyskytkimellä tai kytket sähkötyökalun pistotul-
pan pistorasiaan, käynnistyskytkimen ollessa käyntiasennossa, altistat itsesi onnettomuuksil-
le.
d) Poista kaikki säätötyökalut ja ruuvitaltat, ennen kuin käynnistät sähkötyökalun.
Työkalu tai avain, joka sijaitsee laitteen pyörivässä osassa, saattaa johtaa loukkaantumiseen.
e) Vältä epänormaalia kehon asentoa. Huolehdi aina tukevasta seisoma-asennosta ja
tasapainosta. Täten voit paremmin hallita sähkötyökalua odottamattomissa tilanteissa.
f) Käytä tarkoitukseen soveltuvia vaatteita. Älä käytä löysiä työvaatteita tai koruja.
Pidä hiukset, vaatteet ja käsineet loitolla liikkuvista osista. Väljät vaatteet, korut ja
pitkät hiukset voivat takertua liikkuviin osiin.
g) Jos pölynimu- ja keräilylaitteita voidaan asentaa, tulee sinun tarkistaa, että ne on
liitetty ja että ne käytetään oikealla tavalla. Pölynimulaitteiston käyttö vähentää pölyn
aiheuttamia vaaroja.
4) Sähkötyökalujen huolellinen käyttö ja käsittely
a) Älä ylikuormita laitetta. Käytä kyseiseen työhön tarkoitettua sähkötyökalua.
Sopivaa sähkötyökalua käyttäen työskentelet paremmin ja varmemmin tehoalueella, jolle
sähkötyökalu on tarkoitettu.
b) Älä käytä sähkötyökalua, jota ei voida käynnistää ja pysäyttää käynnistyskytki-
mestä. Sähkötyökalu, jota ei enää voida käynnistää ja pysäyttää käynnistyskytkimellä, on
vaarallinen ja se täytyy korjata.
c) Irrota pistotulppa pistorasiasta, ennen kuin suoritat säätöjä, vaihdat tarvikkeita tai
siirrät sähkötyökalun varastoitavaksi. Nämä turvatoimenpiteet estävät sähkötyökalun
tahattoman käynnistyksen.
d) Säilytä sähkötyökalut poissa lasten ulottuvilta, kun niitä ei käytetä. Älä anna sel-
laisten henkilöiden käyttää sähkötyökalua, jotka eivät tunne sitä tai jotka eivät ole
lukeneet tätä käyttöohjetta. Sähkötyökalut ovat vaarallisia, jos niitä käyttävät kokemat-
tomat henkilöt.
e) Hoida sähkötyökalusi huolella. Tarkista, että liikkuvat osat toimivat moitteettomas-
ti, eivätkä ole puristuksessa sekä, että siinä ei ole murtuneita tai vahingoittuneita
osia, jotka saattaisivat vaikuttaa haitallisesti sähkötyökalun toimintaan. Anna
korjauttaa mahdolliset viat ennen käyttöönottoa. Monen tapaturman syyt löytyvät
huonosti huolletuista laitteista.
f) Pidä leikkausterät terävinä ja puhtaina. Huolellisesti hoidetut leikkaustyökalut, joiden
leikkausreunat ovat teräviä, eivät tartu helposti kiinni ja niitä on helpompi hallita.
g) Käytä sähkötyökaluja, tarvikkeita, vaihtotyökaluja jne. näiden ohjeiden mukaises-
ti. Ota tällöin huomioon työolosuhteet ja suoritettava toimenpide. Sähkötyökalun
käyttö muuhun kuin sille määrättyyn käyttöön, saattaa johtaa vaarallisiin tilanteisiin.
5) Huolto
Anna koulutettujen ammattihenkilöiden korjata sähkötyökalusi ja hyväksy korjauksi-
in vain alkuperäisiä varaosia. Täten varmistat, että sähkötyökalu säilyy turvallisena.
SUOMI64

1.3 Erityiset turvallisuusohjeet
Käytä kuulosuojaimia. Melu saattaa vaurioittaa kuuloa.
Ulkona sijaitsevissa pistorasioissa tulee olla vikavirtasuojakytkimet. Tämä on mainittu sähkölaitteen
asennusohjeessa. Huomaa tämä laitetta käyttäessäsi.
Irroita pistoke pistorasiasta ennen laitteelle tehtäviä varustelu- yms. töitä.
Liitä laite pistorasiaan vain, kun siitä on virta kytketty pois päältä.
Pidä liitäntäjohto etäällä laitteen työalueelta. Johda liitäntäjohto laitteesta taaksepäin.
Laitetta saa käyttää vain sen käyttöön koulutettu ja valtuutettu henkilö!
2 Tekniset tiedot
Jännite ..........................................................................230 V AC, 50/60 Hz
Ottoteho ...................................................................... 1750 W
Tyhjäkäyntikierrosluku ...................................................7600 1/min
Paino .............................................................................ca. 12,9 kg
Käsiin ja käsivarsiin kohdistuva painotettu kiihtyvyys ...... < 2,5 m/s2
Kotelointiluokka ............................................................ IP20
Suojausluokka ............................................................... II
Käyttötapa ....................................................................S3
Äänen painetaso (L
) ................................................... 89 dB(A) ¦ K
3 dB (A)
pA
pA
Äänen tehotaso (L
) ...................................................102 dB(A) ¦ K
3 dB (A)
wA
wA
Sahanterä, ulko- Ø ........................................................180 mm
Reikä Ø ..................................................30 mm
Melutaso voi käytön aikana ylittää 85 dB (A). Käytä kuulonsuojaimia! Arvot mitattu EN
60745-1mukaan..
3 Laitteen toiminta
3.1 Koneen osat A
1 Käsipyörä 5 Ohjainkahva
2 Puristinleuka 6 Kantokahva
3 Lukituspultti 7 Moottorin kytkin
4 Ohjausvipu
3.2 Verkkoliitäntä
Yhdistä ainoastaan tasavirtalähteeseen, jonka volttimäärä on sama kuin levyssä ilmoitettu. Myös
liittäminen maadoittamattomiin pistokkeisiin on mahdollista, sillä muotoilu on yhdenmukainen
turvallisuusluokan II kanssa.
3.3 Käyttöönotto
ROCUT UKS 160/355 -leikkuria saa käyttää vain kuivassa paikassa! Ulkona
käytettäessä on käytettävä vikavirtasuojakytkintä!
Kiinnitä työkappale / putki! Putken tulee olla kiinnitetty tukevasti, jotta se ei pääse
liikkumaan, taipumaan eikä leikattava pää pääse putoamaan.
Avaa puristusleukoja (2) käsipyörällä (1) siten, että voit työntää leikkurin putken päältä tai
putken päästä leikattavaan kohtaan.
Huomaa samalla, että leikkuri on putken päällä ylimmässä kohdassa ja että leikkurin moottori
on leikattavan putken osan puolella.
SUOMI 65

Puristusleuat sulkeutuvat putken ympärille käsipyörää vastakkaiseen suuntaan kääntämällä.
Leukojen puristusvoima tulee olla siten säädetty, että saha voi liikkua kevyesti putken pinnalla.
Sähköliitäntä (vaihtovirta 230 V / 50 Hz). Sulake: 16 A hidas tai vastaava automaattisulake.
Putken sisällä saattaa olla jotakin ylimääräistä. Varmista, että putkessa ei ole
kiinteää materiaalia, kaasua eikä nestettä!
3.4 Käyttö B
Älä poista suojuksia! Tarkista leikkurin toiminta joka kerta ennen kuin alat
käyttää sitä!
Pidä sormet pois terän ulottuvilta! Pidä kädet leikkurin kahvoissa! Kun pidät
leikkurista kiinni molemmin käsin, et voi koskea terään!
Kytke moottori päälle kytkimestä (7). Pidä se jatkuva käyttö -tilassa.
Irroita lukituspultti (3). Siirrä terä ja moottori leikattavaan kohtaan ohjausvivusta (4) hitaasti
ohjaamalla.
Kun laitetta on siirretty alas, lukituspultti lukkiutuu automaattisesti ja lukitsee leikkurin siihen
asentoon.
Putkea leikatessasi varo liitäntäjohtoa! Vaihda vahingoittunut liitäntäjohto heti!
Liikuta leikkuria nyt kantokahvasta (6) ja ohjaimista (5) nopeasti mutta silti varovasti itsestäsi
poispäin (nuolen suuntaan) putken ympäri.
Jos käsittelet leikkuria oikein ja säädöt ovat kohdallaan, leikkuri palaa lähtöpaikkaan. Putki on
katkaistu. Sahausjäljessä on normaalia maks. 3 mm poikkeama.
Pysäytä moottori heti, jos terä jumiutuu!
Kytke moottori kytkimestä (7) pois päältä.
Älä jarruta terää painamalla sitä sivusuunnassa!
Kun terä on pysähtynyt, erota laite sähköverkosta, irroita lukituspultti (3) ja nosta terä ja moot-
tori ohjausvivun avulla putkesta lepoasentoon.
Lukituspultti lukitsee leikkurin. Sen voi irroittaa ja ottaa pois putkesta säätöpyörää (1)
kääntämällä.
Kanna leikkuria kahvasta, kun irroitat sen putkesta!
SUOMI66

3.5 Terän vaihtaminen
Käytä aina teroitettua ja käyttötilanteeseen sopivaa terää. Halkeillut ja vääntynyt
terä on vaarallinen. Sellaista ei saa käyttää!
Vedä pistoke pistorasiasta.
Avaa suojuksen kannet.
Paina lukitusnuppia (1).
Irroita terän keskiön kiinnitysmutteri (2).
2
Vaihda terä.
1
Huomio! Tasausholkin tulee olla asennettuna! Huomio! Huomio moottorin pyörimis-
suunta!
Kiristä kiinnitysmutteri (2).
4 Hoito ja huolto
Leikkuri on huoltovapaa.
Rullien laakereiden ja vaihteen voitelu riittää koko laitteen käyttöiäksi.
Moottorin kotelon saa avata vain valtuutettu huolto!
Puhdista koko laite ja erityisesti laitteen rullat paineilmalla aina käytön jälkeen.
Käytä suojalaseja!
5 Tarvikkeet
Sopivat tarvikkeet ja tilauskaavake löytyvät sivulta 92.
6 Kierrätys
Koneessa on osia, jotka voidaan toimittaa uusiokäyttöön. Tätä varten on hyväksynnän
ja sertifikaatin saaneita kierrätysyrityksiä. Uusiokäyttöön soveltumattomien osien (esim.
elektroniikkaromu) ympäristöystävällisistä jätehuoltomahdollisuuksista saat tietoa paikallisilta
jätehuoltoviranomaisilta.
Koskee vain EU-maita:
Älä heitä sähkötyökaluja sekajätteisiin! Eurooppalaisen sähkö- ja elektroniikkaromusta
annetun direktiivin 2012/19/EY ja sen voimaansaattavien kansallisten säädösten mukaisesti
tulee käytöstä poistetut sähkötyökalut kerätä erikseen uudelleenkäyttöä varten.
SUOMI 67

Spis treści Strona
1 Wskazówki dotyczące bezpieczeństwa 69
1.1 Zastosowanie zgodne z przeznaczenie 69
1.2 Ogólne przepisy bezpieczeñstwa 69
1.3 Szczególne wskazówki dotyczące bezpieczeństwa 71
2 Dane techniczne 71
3 Funkcjonowanie urządzenia 71
3.1 Rysunek zestawieniowy (A) 71
3.2 Podłączenie do sieci 71
3.3 Rozruch 71
3.4 Obsługa (B) 72
3.5 Wymiana tarczy tnącej 73
4 Dozór i konserwacja 73
5 Dodatkowe wyposażenie 73
6 Utylizacja 73
Oznakowanie w tym dokumencie:
Niebezpieczeństwo!
Ten znak ostrzega przed zagrożeniem dla ludzi.
Uwaga!
Ten znak ostrzega przed możliwością powstania zagrożenia dla dóbr mate-
rialnych i środowiska naturalnego.
Wezwanie do działania
POLSKI68

1 Wskazówki dotyczące bezpieczeństwa
1.1 Zastosowanie zgodne z przeznaczenie
Tarczowa piła obrotowa ROCUS UKS 160/355 jest przeznaczona do cięcia pod kątem
prostym rur z tworzyw sztucznych takich jak PE, PP, PVDF oraz PVC o średnicach od 160 do
355 mm i grubościach od 8 do 40 mm.
1.2 Ogólne przepisy bezpieczeñstwa
OSTRZEŻENIE!
Należy przeczytać wszystkie wskazówki i przepisy!
Błędy w przestrzeganiu poniższych wskazówek mogą spowodować porażenie prądem, pożar
i/lub ciężkie obrażenia ciała.
Należy starannie przechowywać wszystkie przepisy i wskazówki bezpieczeństwa dla
dalszego zastosowania.
Użyte w poniższym tekście pojęcie „elektronarzędzie“ odnosi się do elektronarzędzi zasila-
nych energią elektryczną z sieci (z przewodem zasilającym) i do elektronarzędzi zasilanych
akumulatorami (bez przewodu zasilającego).
1) Bezpieczeństwo miejsca pracy
a) Miejsce pracy naleźy utrzymywać w czystości i dobrze oświetlone. Nieporządek i
nie oświetlone zakresy pracy mogą doprowadzić do wypadków.
b) Nie naleźy pracować tym narzędziem w otoczeniu zagroźonym wybuchem, w
którym znajdują się np. łatwopalne ciecze, gazy lub pyły. Elektronarzędzia wywołują
iskry, które mogą podpalić ten pył lub pary.
c) Elektronarzędzie trzymać podczas pracy z daleka od dzieci i innych osób. Przy
odwróceniu uwagi moźna stracić kontrolę nad narzędziem.
2) Bezpieczeñstwo elektryczne
a) Wtyczka urządzenia musi pasować do gniazda. Nie wolno zmieniać wtyczki w
jakikolwiek sposób. Nie naleźy uźywać wtyczek adapterowych razem z uziemnionymi
narzędziami. Niezmienione wtyczki i pasujące gniazda zmniejszają ryzyko poraźenia
prądem.
b) Naleźy unikać kontaktu z uziemnionymi powierzchniami jak rury, grzejniki, piece i
lodówki. Istnieje zwiększone ryzyko poraźenia prądem, gdy Pañstwa ciało jest uziemni-
one.
c) Urządzenie naleźy trzymać zabezpieczone przed deszczem i wilgocią. Wniknięcie
wody do elektronarzędzia podwyźsza ryzyko poraźenia prądem.
d) Nigdy nie naleźy uźywać kabla do innych czynności. Nigdy nie uźywać kabla do
noszenia urządzenia za kabel, zawieszenia lub do wyciągania wtyczki z gniazda. Kabel
naleźy trzymać z daleka od wysokich temperatur, oleju, ostrych krawędzi lub rucho-
mych części urządzenia. Uszkodzone lub poplątane kable zwiększają ryzyko poraźenia
prądem.
e) W przypadku, źe elektronarzędziem pracuje się na świeźym powietrzu naleźy
uźywać kabla przedłuźającego, który dopuszczony jest do uźywania na zewnątrz.
Uźycie dopuszczonego do uźywania na zewnątrz kabla przedłuźającego zmniejsza
ryzyko poraźenia prądem.
f) Jeżeli nie da się uniknąć zastosowania elektronarzędzia w wilgotnym otocze-
niu, należy użyć wyłącznika ochronnego różnicowo-prądowego. Zastosowanie
wyłącznika ochronnego różnicowo-prądowego zmniejsza ryzyko porażenia prądem.
3) Bezpieczeñstwo osób
a) Naleźy być uwaźnym, zwaźać na to co się robi i pracę elektronarzędziem
rozpoczynać z rozsądkiem. Nie naleźy uźywać urządzenia gdy jest się zmęczonym
lub pod wpływem narkotyków, alkoholu lub lekarstw. Moment nieuwagi przy uźyciu
urządzenia moźe doprowadzić do powaźnych uraźeñ ciała.
b) Naleźy nosić osobiste wyposaźenie ochronne i zawsze okulary ochronne. No-
szenie osobistego wyposaźenia ochronnego jak maska przeciwpyłowa, nie ślizgające
się buty robocze, hełm ochronny lub ochrona słuchu, w zaleźności od rodzaju i uźycia
POLSKI 69

elektronarzędzia zmniejsza ryzyko obraźeñ ciała.
c) Należy unikać niezamierzonego uruchomienia narzędzia. Przed włożeniem wtyczki
do gniazdka i/lub podłączeniem do akumulatora, a także przed podniesieniem
lub przeniesieniem elektronarzędzia, należy upewnić się, że elektronarzędzie jest
wyłączone. Trzymanie palca na wyłączniku podczas przenoszenia elektronarzędzia lub
podłączenie do prądu włączonego narzędzia, może stać się przyczyną wypadków.
d) Zanim urządzenie zostanie włączone naleźy usunąć narzędzia nastawcze lub klu-
cze. Narzędzie lub klucz, które znajdują się w ruchomych częściach urządzenia mogą
doprowadzić do obraźeñ ciała.
e) Należy unikać nienaturalnych pozycji przy pracy. Należy dbać o stabilną pozycję
przy pracy i zachowanie równowagi. W ten sposób możliwa będzie lepsza kontrola
elektronarzędzia w nieprzewidzianych sytuacjach.
f) Naleźy nosić odpowiednie ubranie. Nie naleźy nosić luŸnego ubrania lub biźuterii.
Włosy, ubranie i rękawice naleźy trzymać z daleka od ruchomych części. LuŸne
ubranie, biźuteria lub długie włosy mogą zostać ujęte przez poruszające się części.
g) W przypadku, źe moźliwe jest zamontowanie urządzeñ odsysających lub
podchwytujących naleźy upewnić się, czy są one właściwie podłączone i
prawidłowo uźyte. Użycie urządzenia odsysającego pył może zmniejszyć zagrożenie
pyłami.
4) Prawidłowa obsługa i eksploatacja elektronarzędzi
a) Nie naleźy przeciąźać urządzenia. Do pracy uźywać naleźy elektronarzędzia, które
jest do tego przewidziane. Odpowiednim narzędziem pracuje się lepiej i bezpieczniej w
podanym zakresie sprawności.
b) Nie naleźy uźywać elektronarzędzia, którego włącznik/wyłącznik jest uszkodzony.
Elektronarzędzie, którego nie moźna włączyć lub wyłączyć jest niebezpieczne i musi
zostać naprawione.
c) Przed regulacją urządzenia, wymianą osprzętu lub po zaprzestaniu pracy
narzędziem, należy wyciągnąć wtyczkę z gniazda i/lub usunąć akumulator. Ten
środek ostrożności zapobiega niezamierzonemu włączeniu się elektronarzędzia.
d) Nie uźywane elektronarzędzia naleźy przechowywać poza dosięgiem dzieci. Nie
naleźy dać narzędzia do uźytku osobom, które jego nie znają lub nie przeczytały tych
przepisów. Uźywane przez niedoświadczone osoby elektronarzędzia są niebezpieczne.
e) Urządzenie naleźy pieczołowicie pielęgnować. Naleźy kontrolować, czy ruchome
części urządzenia funkcjonują bez zarzutu i nie są zablokowane, czy części nie są
pęknięte lub uszkodzone, co mogłoby mieć wpływ na prawidłowe funkcjonowanie
urządzenia. Uszkodzone części naleźy przed uźyciem urządzenia oddać do naprawy.
Wiele wypadków spowodowanych jest przez niewłaściwą konserwację elektronarzędzi.
f) Narzędzia tnące naleźy utrzymywać ostre i czyste. Starannie pielęgnowane
narzędzia tnące z ostrymi krawędziami tnącymi zablokowują się rzadziej i łatwiej się je
prowadzi.
g) Elektronarzędzia, osprzęt, narzędzia pomocnicze itd. należy używać zgodnie z
niniejszymi zaleceniami. Uwzględnić należy przy tym warunki i rodzaj wykonywa-
nej pracy. Niezgodne z przeznaczeniem użycie elektronarzędzia może doprowadzić do
niebezpiecznych sytuacji.
5) Serwis
Naprawę urządzenia naleźy zlecić jedynie kwalikowanemu fachowcowi i przy
uźyciu orginalnych części zamiennych. To gwarantuje, źe bezpieczeñstwo urządzenia
zostanie zachowane.
POLSKI70

1.3 Szczególne wskazówki dotyczące bezpieczeństwa
Stosuj zabezpieczenie słuchu. Hałas może powodować trwałą utratę słuchu.
Gniazda elektryczne zamontowane na zewnątrz budynków muszą być zabezpieczone
bezpiecznikami różnicowoprądowymi. Jest to wymagane przez przepisy dotyczące tego
urządzenia elektrycznego. Prosimy o uwzględnienie tego zalecenia w trakcie eksploatacji
urządzenia.
Przed rozpoczęciem jakichkolwiek czynności dotyczących urządzenia wyciągnij wtyczkę z
gniazda zasilania.
Wtyczkę podłączaj wyłącznie przy wyłączonej maszynie.
Nie zbliżaj przewodu zasilającego do obszaru działania maszyny. Przewód wyprowadzaj
zawsze w kierunku do tyłu maszyny.
Obsługa maszyny może być przeprowadzana wyłącznie przez odpowiednio
przeszkolony i autoryzowany personel!
2 Dane techniczne
Napięcie ....................................................... 230 V AC, 50/60 Hz
Pobór mocy ................................................. 1750 W
Prędkość obrotowa biegu jałowego ............. 7600 1/min
Ciężar ........................................................... ca. 12,9 kg
Charakterystyczne szacowane przyspieszenie
w zakresie ręcznym - ramieniowym ............. < 2,5 m/s2
Klasa ochrony .............................................. IP20
Klasa ochronności........................................ II
Rodzaj eksploatacji ...................................... S3
Poziom ciśnienia akustycznego (L
) .......... 89 dB(A) ¦ K
3 dB (A)
pA
pA
Poziom natężenia dźwięku (L
) ................. 102 dB(A) ¦ K
3 dB (A)
wA
wA
Zewnętrzna średnica tarczy tnącej Ø........... 180 mm
Ø otworu ................................ 30 mm
Poziom szumów podczas pracy może przekraczać 85 dB (A). Należy nosić ochraniacz
słuchu! Mierzone wartości ustalono stosownie do EN 60745-1.
3 Funkcjonowanie urządzenia
3.1 Rysunek zestawieniowy A
1 Kółko ręczne 5 Uchwyty prowadzące
2 Ramiona mocujące 6 Uchwyt transportowy
3 Kołek blokujący 7 Przełącznik silnika
4 Dźwignia pozycjonująca
3.2 Podłączenie do sieci
Podłączać tylko do źródła zasilania prądem zmiennym jednofazowym i wyłącznie o napięciu
podanym na tabliczce znamionowej. Możliwe jest również podłączenie do gniazdka bez
uziemienia, ponieważ konstrukcja odpowiada II klasie bezpieczeństwa.
3.3 Rozruch
ROCUT UKS 160/355 może być eksploatowany wyłącznie na sucho! W przypadku
eksploatacji na zewnątrz konieczne jest zastosowanie wyłącznika
różnicowoprądowego!
Zamocuj obrabiany element/rurę! Rura musi być pewnie zamocowana w celu
uniemożliwienia ruchu, ugięcia oraz spadnięcia przy końcu przecinania.
Za pomocą kółka ręcznego (1) otwórz ramiona mocujące (2) na taką szerokość, która
umożliwi umiejscowienie piły od góry lub od przodu na obrabianej rurze.
POLSKI 71

Zwróć uwagę, aby nałożona na rurę piła znajdowała się w najwyższym punkcie rury, a silnik
napędu skierowany był zawsze w kierunku końca rury przeznaczonej do odcięcia.
Obrót kółka ręcznego w przeciwnym kierunku spowoduje zaciśnięcie się ramion
mocujących na przeznaczonej do obróbki rurze.
Siła zacisku ramion powinna być dobrana tak, aby piła przesuwała się lekko na rurze.
Zapewnij przyłącze elektryczne (prąd zmienny 230 V/50 Hz). Zabezpieczenie: 16 A z
opóźnieniem lub inny odpowiedni bezpiecznik.
W rurze mogą znajdować się nieoczekiwane substancje/przedmioty. Sprawdź,
czy w rurze nie znajdują się żadne ciała stałe, gazy lub płyny!
3.4 Obsługa B
Nie zdejmuj pokrywy ochronnej! Przed użyciem sprawdź prawidłowość działania
wszystkich funkcji!
Nie zbliżaj rąk do tarczy tnącej oraz obszaru cięcia! Utrzymuj ręce na uchwytach!
Uchwycenie uchwytów oburącz wyklucza niebezpieczeństwo przecięcia przez
tarczę tnącą!
Włącz silnik za pomocą przełącznika (7) i pozostaw go włączonym.
Po wyciągnięciu kołka blokującego (3) powoli dosuń tarczę tnącą za pomocą dźwigni
pozycjonującej (4) do obrabianej rury.
Po pokonaniu pewnego przesunięcia w dół, kołek blokujący zostanie samoczynnie zablo-
kowany i spowoduje unieruchomienie piły w tym położeniu.
W trakcie przesuwania piły zachowaj ostrożność aby nie przeciąć przewodu
zasilającego! Uszkodzone przewody natychmiast wymieniaj!
Korzystając z uchwytu transportowego (6) oraz uchwytów prowadzących (5), przesuń piłę
szybko, lecz ostrożnie dookoła rury w kierunku od siebie (kierunek strzałki).
Przy prawidłowym ustawieniu i obsłudze, po pokonaniu pełnego obwodu, piła zakończy
cięcie w miejscu jego rozpoczęcia, co spowoduje całkowite odcięcie rury. Przesunięcie
przecięcia o 3 mm jest normalne.
W przypadku zablokowania tarczy tnącej natychmiast wyłącz silnik!
Wyłącz silnik napędu za pomocą wyłącznika (7).
Po zakończeniu cięcia, nie zatrzymuj tarczy piły przez przykładanie bocznej siły!
Po zatrzymaniu tarczy tnącej odłącz zasilanie elektryczne, wyciągnij kołek blokujący (3)
oraz ustaw tarczę z napędem z położenia cięcia do położenia spoczynkowego za pomocą
dźwigni pozycjonującej.
Kołek blokujący ustala położenie piły, obrót kółka ręcznego (1) pozwala na jego poluzowa-
nie i zdjęcie piły z rury.
W trakcie luzowania zawsze przytrzymuj piłę obiegową za uchwyt transportowy!
POLSKI72

3.5 Wymiana tarczy tnącej
Stosuj wyłącznie odpowiednio dobrane i prawidłowo naostrzone tarcze. Pęknięte
lub zniekształcone tarcze tnące stanowią zagrożenie i nie mogą być eksploato-
wane!
Wyciągnij wtyczkę z gniazda zasilania.
Otwórz pokrywę zabezpieczającą obudowy.
Naciśnij przycisk blokujący (1).
Odkręć śrubę mocującą (2) w środku tarczy tnącej.
2
Wymień tarczę tnącą.
1
Uwaga! Tuleja wyrównująca musi być odpowiednio ustawiona! Uwaga! Uwzględnij
kierunek obrotów silnika!
Ponownie dokręć śrubę mocującą (2).
4 Dozór i konserwacja
Obiegowa piła tarczowa jest zasadniczo bezobsługowa.
Smarowanie łożysk wałeczkowych oraz przekładni jest wystarczające dla całego okresu
żywotności maszyny.
Obudowa silnika może być otwierana wyłącznie przez autoryzowany serwis!
Po użyciu, oczyść całą maszynę, a w szczególności rolki za pośrednictwem sprężonego
powietrza.
Stosuj okulary ochronne!
5 Dodatkowe wyposażenie
Odpowiednie akcesoria i formularz zamówień znaleźć można na stronie 92 i następnych.
6 Utylizacja
Części urządzenia są materiałami o wartości utylizacyjnej i można je odprowadzić do
przedsiębiorstw zajmujących się odzyskiem surowców wtórnych i unieszkodliwianiem
pozostałości, posiadających wymaganą koncesję i certykaty. O nieszkodliwy dla środowiska
sposób utylizacji części, których nie można odprowadzić do ponownego obiegu (np. odpady
elektroniczne), należy zapytać właściwy urząd zajmujący się sprawami utylizacji.
Tylko dla krajów UE:
Nie należy wyrzucać elektronarzędzi do śmieci domowych! Zgodnie z Dyrektywą
Europejską 2012/19/EG o zużytych przyrządach elektrycznych i elektronicznych i jej
wprowadzeniem do prawa krajowego, niesprawne już elektronarzędzia muszą być
zbierane osobno i doprowadzane do utylizacji zgodnie z zasadami ochrony
środowiska.
POLSKI 73

Obsah Strana
1 Upozornění k bezpečnosti 75
1.1 Použití k určenému účelu 75
1.2 Všeobecná varovná upozornění pro elektronářadí 75
1.3 Speciální bezpečnostní pokyny 77
2 Technické údaje 77
3 Funkce zařízení 77
3.1 Přehled (A) 77
3.2 Připojení na sít 77
3.3 Uvedení do provozu 77
3.4 Obsluha (B) 78
3.5 Výměna pilového kotouče 79
4 Péče a údržba 79
5 Příslušenství 79
6 Likvidace 79
Značky obsažené v textu:
Výstraha!
Tento symbol varuje před nebezpečím úrazu.
Varování!
Tento symbol varuje před nebezpečím škod na majetku a poškozením životního
prostředí.
Výzva k provedení úkonu
74
ČESKY

1 Upozornění k bezpečnosti
1.1 Použití k určenému účelu
Obvodová kotoučová pila ROCUT UKS 160/355 je svojí konstrukční koncepcí určena k
pravoúhlému dělení plastových trubek z PE, PP, PVDF a PVC s vnějším průměrem v rozsahu
160 až 355 mm a s tloušťkou stěny činící minimálně 8 mm a maximálně 40 mm.
1.2 Všeobecná varovná upozornění pro elektronářadí
VAROVÁNÍ!
Čtěte všechna varovná upozornění a pokyny!
Zanedbání při dodržování varovných upozornění a pokynů mohou mít za následek zásah
elektrickým proudem, požár a/nebo těžká poranění.
Všechna varovná upozornění a pokyny do budoucna uschovejte.
Ve varovných upozorněních použitý pojem „elektronářadí“ se vztahuje na elektronářadí provo-
zované na el. síti (se síťovým kabelem) a na elektronářadí provozované na akumulátoru (bez
síťového kabelu).
1) Bezpečnost pracovního místa
a) Udržujte Vaše pracovní místo čisté a uklizené. Nepořádek a neosvětlené pracovní
oblasti mohou vést k úrazům.
b) Se strojem nepracujte v prostředích ohrožených explozí, kde se nacházejí hořlavé
kapaliny, plyny nebo prach. Elektronářadí vytváří jiskry, které mohou prach nebo páry
zapálit.
c) Děti a jiné osoby udržujte při použití elektronářadí daleko od Vašeho pracovního
místa. Při rozptýlení můžete ztratit kontrolu nad strojem.
2) Elektrická bezpečnost
a) Připojovací zástrčka stroje musí lícovat se zásuvkou. Zástrčka nesmí být žádným
způsobem upravena. Společně se stroji s ochranným uzemněním nepoužívejte
žádné adaptérové zástrčky. Neupravené zástrčky a vhodné zásuvky snižují riziko
elektrického úderu.
b) Zabraňte kontaktu těla s uzemněnými povrchy, jako např. potrubí, topení, sporáky
a chladničky. EJe-li Vaše tělo uzemněno, existuje zvýšené riziko elektrického úderu.
c) Chraňte stroj před deštěm a vlhkem. Vniknutí vody do elektrického stroje zvyšuje
nebezpečí elektrického úderu.
d) Dbejte na účel kabelu, nepoužívejte jej k nošení či zavěšení stroje nebo vytažení
zástrčky ze zásuvky. Udržujte kabel daleko od tepla, oleje, ostrých hran nebo
pohyblivých dílů stroje. Poškozené nebo spletené kabely zvyšují riziko elektrického
úderus.
e) Pokud pracujete s elektronářadím venku, použijte pouze takové prodlužovací
kabely, které jsou schváleny i pro venkovní použití. Použití prodlužovacího kabelu,
jež je vhodný pro použití venku, snižuje riziko elektrického úderu.
f) Pokud se nelze vyhnout provozu elektronářadí ve vlhkém prostředí, použijte
proudový chránič. Nasazení proudového chrániče snižuje riziko zásahu elektrickým
proudem.
3) Bezpečnost osob
a) Buďte pozorní, dávejte pozor na to, co děláte a přistupujte k práci s
elektronářadím rozumně. Stroj nepoužívejte pokud jste unaveni nebo pod vlivem
drog, alkoholu nebo léků. Moment nepozornosti při použití elektronářadí může vést k
vážným poraněním.
b) Noste osobní ochranné pomůcky a vždy ochranné brýle. Nošení osobních
ČESKY
75

ochranných pomůcek jako maska proti prachu, bezpečnostní obuv s protiskluzovou
podrážkou, ochranná přilba nebo sluchátka, podle druhu nasazení elektronářadí, snižují
riziko poranění.
c) Zabraňte neúmyslnému uvedení do provozu. Přesvědčte se, že je elektronářadí
vypnuté dříve než jej uchopíte, ponesete či připojíte na zdroj proudu a/nebo
akumulátor. Máte-li při nošení stroje prst na spínači nebo pokud stroj připojíte ke zdroji
proudu zapnutý, pak to může vést k úrazům.
d) Než stroj zapnete, odstraňte seřizovací nástroje nebo šroubovák. Nástroj nebo klíč,
který se nachází v otáčivém dílu stroje, může vést k poranění.
e) Vyvarujte se abnormálního držení těla. Zajistěte si bezpečný postoj a udržujte
vždy rovnováhu. Tím můžete stroj v neočekávaných situacích lépe kontrolovat.
f) Noste vhodný oděv. Nenoste žádný volný oděv nebo šperky. Vlasy, oděv a ruka-
vice udržujte daleko od pohybujících se dílů. Volný oděv, šperky nebo dlouhé vlasy
mohou být zachyceny pohybujícími se díly.
g) Lze-li namontovat odsávací či zachycující přípravky, přesvědčte se, že jsou
připojeny a správně použity. Použití odsávání prachu může snížit ohrožení prachem.
4) Svědomité zacházení a používání elektronářadí
a) Stroj nepřetěžujte. Pro svou práci použijte k tomu určený stroj. S vhodným
elektronářadím budete pracovat v udané oblasti výkonu lépe a bezpečněji.
b) Nepoužívejte žádné elektronářadí, jehož spínač je vadný. Elektronářadí, které nelze
zapnout či vypnout je nebezpečné a musí se opravit.
c) Než provedete seřízení stroje, výměnu dílů příslušenství nebo stroj odložíte,
vytáhněte zástrčku ze zásuvky. Toto preventivní opatření zabrání neúmyslnému zap-
nutí stroje.
d) Uchovávejte nepoužívané elektronářadí mimo dosah dětí. Nenechte stroj
používat osobám, které se strojem nejsou seznámeny nebo nečetly tyto pokyny.
Elektronářadí je nebezpečné, je-li používáno nezkušenými osobami.
e) Pečujte o stroj svědomitě. Zkontrolujte, zda pohyblivé díly stroje bezvadně fungují
a nevzpřičují se, zda díly nejsou zlomené nebo poškozené tak, že je omezena
funkce stroje. Poškozené díly nechte před nasazením stroje opravit. Mnoho úrazů
má příčinu ve špatně udržovaném elektronářadí.
f) Řezné nástroje udržujte ostré a čisté. Pečlivě ošetřované řezné nástroje s ostrými
řeznými hranami se méně vzpřičují a dají se lehčeji vést.
g) Používejte elektronářadí, příslušenství, nasazovací nástroje apod. podle těchto
pokynů a tak, jak je to pro ten určitý speciální typ stroje předepsáno. Respektujte
přitom pracovní podmínky a prováděnou činnost. Použití elektronářadí pro jiné než
určující použití může vést k nebezpečným situacím.
5) Servis
Nechte Váš stroj opravit pouze kvalikovaným odborným personálem a pouze s ori-
ginálními náhradními díly. Tím bude zajištěno, že bezpečnost stroje zůstane zachována.
76
ČESKY

1.3 Speciální bezpečnostní pokyny
Používejte ochranu sluchu. Účinek hluku může způsobit ztrátu sluchu.
Zásuvky umístěné ve venkovních oblastech musí být vybaveny ochrannými vypínači proti
chybnému proudu. Tento požadavek je obsažen v instalačním předpisu platném pro vaše
elektrické zařízení. Mějte jej, prosím, na paměti při používání zařízení.
Před zahájením jakýchkoli prací na stroji vytáhněte zástrčku ze zásuvky.
Stroj se smí připojovat k zásuvce pouze tehdy, je-li vypnutý.
Připojovací kabel musí být trvale umístěn mimo účinnou pracovní oblast stroje. Kabel
umísťujte vždy tak, aby vedl od stroje směrem dozadu.
Stroj smí být používán pouze kvalikovaným a oprávněným obslužným personálem!
2 Technické údaje
Napětí ........................................................................................ 230 V AC, 50/60 Hz
Jmenovitý příkon .......................................................................1750 W
Otáčky při chodu naprázdno ......................................................7600 1/min
Hmotnost.................................................................................... asi 12,9 kg
Zrychlení vyhodnocené jako typické v úseku ruka – rameno .... < 2,5 m/s2
Třída krytí ...................................................................................IP20
Třída ochrany .............................................................................II
Provozní režim ...........................................................................S3
Hladina akustického tlaku (L
) ................................................. 89 dB(A) ¦ K
3 dB (A)
pA
pA
Hladina akustického výkonu (L
) .............................................102 dB(A) ¦ K
3 dB (A)
wA
wA
Vnější Ø pilového kotouče .........................................................180 mm
Ø otvoru ............................................................... 30 mm
Hladina hluku při práci může přesáhnout 85 dB (A). Je nutno nosit ochranu sluchu!
Naměřené hodnoty zjištěny v souladu s EN 60745-1.
3 Funkce zařízení
3.1 Přehled A
1 Ruční kolo 5 Vodicí rukojeti
2 Upínací ramena 6 Přenášecí rukojeť
3 Západkový čep 7 Spínač motoru
4 Přísuvová páka
3.2 Připojení na sít
Připojit pouze do jednofázové střídavé sítě o napětí uvedeném na štítku. Lze připojit i do
zásuvky bez ochranného kontaktu neboť spotřebič je třídy II.
3.3 Uvedení do provozu
Stroj ROCUT UKS 160/355 se smí používat pouze v suchém prostředí! Při
používání ve volném venkovním prostředí musí být stroje připojen k zásuvce
vybavené ochranným vypínačem proti chybnému proudu!
Obrobek / trubku vždy řádně upevněte a zajistěte! Trubka musí být pevně ukotvena,
aby se zamezilo pohybu, ohnutí nebo odpadnutí na řezaném konci.
Prostřednictvím ručního kola (1) otevřete upínací ramena (2) tak, aby pilu bylo možno
nasunout přes popř. zepředu na trubku, která má být obrobena.
ČESKY
77

Dbejte na to, aby se pila po nasazení na trubku nacházela v nejvyšším bodě trubky popř.
vrcholovém bodě obvodu trubky a aby přitom hnací motor vždy směřoval ke konci trubky,
který má být odříznut.
Otáčením ručního kola v opačném směru se upínací ramena zavřou a tím obemknou trub-
ku, která má být obrobena.
Velikost upínací síly ramen by měla být stanovena tak, aby pilu nasazenou na trubce bylo
možno stále lehce vést.
Připojte pilu k přívodu elektrického proudu (střídavý proud, 230 V/50 Hz). Jištění: Pojistka s
proudovou hodnotou 16 A, zpožděná, nebo odpovídající jistič.
Trubka může obsahovat neznámé látky / předměty. Ujistěte se, že v trubce nejsou
obsaženy žádné pevné látky, plyny a kapaliny!
3.4 Obsluha B
Neodstraňujte ochranný kryt! Před každým použitím zkontrolujte řádnou funkci!
Nedotýkejte se rukama pilového kotouče a nevkládejte ruce do pracovní oblasti
pily! Ruce mějte trvale umístěny na obslužných rukojetích! Jestliže obě ruce
pevně drží rukojeti pily, nemohou být zachyceny pilovým kotoučem!
Zapněte hnací motor pomocí spínače (7) a nechejte jej zapnutý v režimu trvalého provozu.
Po vytažení západkového čepu (3) pomalu přibližte pilový kotouč s pohonem
prostřednictvím přísuvové páky (4) k obráběné trubce a nechejte jej zaříznout se do trubky.
Po provedení odpovídajícího pohybu směrem dolů dojde k samočinnému zapadnutí západ-
kového kolíku a tím i k zajištění pily v této poloze.
Při vedení pily dávejte na síťový kabel! Poškozený kabel ihned vyměňte!
Celou obvodovou kotoučovou pilu nyní veďte pomocí přenášecí rukojeti (6) a vodicích ru-
kojetí (5) plynule avšak citlivě okolo trubky ve směru od obsluhující osoby (ve směru šipky).
Při správném zacházení a nastavení dojde po objetí obvodu trubky k vyběhnutí obvodo-
vé kotoučové pily ve stejném místě, ve kterém byl postup řezání zahájen, a odřezávaný
kus trubky tím bude dokonale oddělen. Přesazení dráhy řezu činící max. 3 mm je však
normální.
Při sevření pilového kotouče ihned vypněte hnací motor!
Vypněte hnací motor pomocí spínače (7).
Pilový kotouč při vybíhání nepřibrzďujte bočním přítlakem!
Po zastavení pilového kotouče odpojte pilu od přívodu elektrického proudu, vytáhněte
západkový čep (3) a zvedněte pilový kotouč s pohonem prostřednictvím přísuvové páky do
klidové polohy oddálené od trubky.
Pila se v této poloze zajistí pomocí západkového čepu. Otočením ručního kola (1) je ji pak
možno uvolnit a sejmout z trubky.
Obvodovou kotoučovou pilu při uvolňování vždy přidržujte za rukojeť!
78
ČESKY

