Rothenberger ROCUT UKS 160/355 – страница 3
Инструкция к Rothenberger ROCUT UKS 160/355

1 Indicações sobre a segurança
1.1 Utilização correcta
A serra de circuito ROCUT UKS 160/355 foi concebida para a separação retangular de tubos de
plástico em PE, PP, PVDF e PVC com um diâmetro externo entre 160 e 355 mm, uma espessura de
parede mínima de 8mm e máxima de 40mm.
1.2 Indicações gerais de advertência para ferramentas eléctricas
ATENÇÃO!
Devem ser lidas todas as indicações de advertência e todas as instruções!
O desrespeito das advertências e instruções apresentadas abaixo pode causar choque eléctrico,
incêndio e/ou graves lesões.
Guarde bem todas as advertências e instruções para futura referência.
O termo “Ferramenta eléctrica” utilizado a seguir nas indicações de advertência, refere-se a fer-
ramentas eléctricas operadas com corrente de rede (com cabo de rede) e a ferramentas eléctricas
operadas com acumulador (sem cabo de rede).
1) Segurança da área de trabalho
a) Mantenha a sua área de trabalho sempre limpa e bem iluminada. Desordem ou áreas
de trabalho insuficientemente iluminadas podem levar a acidentes.
b) Não trabalhar com a ferramenta eléctrica em áreas com risco de explosão, nas
quais se encontrem líquidos, gases ou pós inflamáveis. Ferramentas eléctricas produ-
zem faíscas que podem iprovocar a ignição de pó e vapores.
c) Mantenha crianças e outras pessoas afastadas da ferramenta eléctrica durante o
trabalho com a ferramenta. Distrações podem causar a falta de controle sobre o apare-
lho.
2) Segurança eléctrica
a) A ficha da ferramentas eléctricas devem caber na tomada. A ficha não deve ser
modificada de modo algum. Não utilize quaisquer fiches de adaptação junto com
ferramentas eléctricas ligadas à terra. Fichas sem modificações e tomadas adequadas
reduzem o risco de choques eléctricos.
b) Evite que o corpo entre em contacto com superficies ligadas à terra, como por
exemplo tubos, radiadores, fogões e geladeiras. Há um risco elevado de choques
eléctricos, caso o corpo for ligado à terra.
c) A ferramenta eléctrica não deve ser exposta à chuva nem humidade. A penetração
de água na ferramenta eléctrica aumenta o risco de choques eléctricos.
d) Não deverá utilizar o cabo para outras finalidades. Jamais utilizar o cabo para
transporter a ferramenta eléctrica, para pendurá la, nem para puxar a ficha da to-
mada. Manter o cabo afastado de calor, óleo, cantos afiados ou partes do aparelho
em movimento. Cabos danificados ou emaranhados aumentam o risco de um choque
eléctrico.
e) Ao trabalhar com a ferramenta eléctrica ao ar livre, use um cabo de extensão apro-
priado para áreas externas. O uso de um cabo apropriado para áreas externas reduz o
risco de choques eléctricos.
f) Se não for possível evitar o funcionamento da ferramenta eléctrica em áreas
húmidas, deverá ser utilizado um disjuntor de corrente de avaria. A utilização de um
disjuntor de corrente de avaria reduz o risco de um choque eléctrico.
3) Segurança de pessoas
a) Esteja alerta, observe o que está a fazer, e tenha prudencia ao trabalhar com a
a ferramenta eléctrica. Não use a ferramenta eléctrica se estiver fatigado ou sob
a influência de drogas, álcool ou medicamentos. Um momento de falta de atenção
durante a operação da ferramenta eléctrica pode causar graves lesões.
b) Usar um equipamento pessoal de protecção. Sempre utilizar um óculos de pro-
tecção. Equipamento de segurança, como por exemplo, máscara de protecção contra pó,
sapatos de segurança anti-derrapantes, capacete de segurança ou protecção auricular, de
acordo com o tipo e aplicação da ferramenta eléctrica, reduzem o risco de lesões.
PORTUGUES 39

c) Evitar uma colocação em funcionamento involuntária. Assegure-se de que a fer-
ramenta eléctrica esteja desligada, antes de conectá-la à alimentação de rede e/ou
ao acumulador, antes de levantá-la ou de transportá-la. Se tiver o dedo no interruptor
ao transportar a ferramenta eléctrica ou se o aparelho for conectado à alimentação de rede
enquanto estiver ligado, poderão ocorrer acidentes.
d) Remover chaves de ajustes ou chaves de fenda, antes de ligar a ferramenta
eléctrica. Uma chave de fenda ou chave de ajuste que se encontre numa parte móvel do
aparelho, pode levar a lesões.
e) Evite uma posição anormal. Mantenha uma posição firme e mantenha sempre o
equilíbrio. Desta forma é mais fácil controlar a ferramenta eléctrica em situações inespera-
das.
f) Use roupa apropriada. Não use roupa larga ou jóias. Mantenha o cabelo, roupa
e luvas afastadas de partes em movimento. Roupas largas, jóias ou cabelos longos
podem ser agarradas por partes em movimento.
g) Se for prevista a montagem de dispositivos de aspiração de pó e de dispositivos
de recolha, assegure-se de que estão conectados e que sejam utilizados de forma
correcta. A utilização de uma aspiração de pó pode reduzir o perigo devido ao pó.
4) Utilização e manuseio cuidadoso de ferramentas eléctricas
a) Não sobrecarregue a ferramenta eléctrica. Use para o seu trabalho a ferramenta
eléctrica correcta. A ferramenta correcta realizará o trabalho de forma melhor e mais
segura dentro da faixa de potência indicada.
b) Não utilize a ferramenta eléctrica se o interruptor não puder ser ligado nem desli-
gado. Qualquer ferramenta eléctrica que não possa ser controlada através do interruptor
de ligar-desligar, é perigosa e deve ser reparada.
c) Puxar a ficha da tomada e/ou remover o acumulador antes de executar ajustes no
aparelho, de substituir acessórios ou de guardar o aparelho. Esta medida de segu-
rança evita o arranque involuntário da ferramenta eléctrica.
d) Guarde ferramentas eléctricas que não estiverem sendo utilizadas, for a do alcance
de crianças. Não permita que o aparelho seja utilizado por pessoas não familiari-
zadas com o mesmo ou que não tenham lido estas instruções. Ferramentas eléctricas
são perigosas nas mãos de pessoas sem treinamento.
e) Trate a sua ferramenta eléctrica com cuidado. Verifique se as partes móveis do
aparelho funcionam perfeitamente e não emperram, se há peças quebradas ou
danificadas, que possam influenciar o funcionamento do aparelho. Peças danifica-
das devem ser reparadas antes da utilização do aparelho. Muitos acidentes tem como
causa uma manutenção insuficiente das ferramentas eléctricas.
f) Mantenha as ferramentas de corte sempre afiadas e limpas. Ferramentas de cortes
devidamente tratadas, com cantos afiados travam com menos frequência e podem ser
controladas com maior facilidade.
g) Utilizar a ferramenta eléctrica, acessórios, ferramentas de aplicação, etc. conforme
estas instruções. Considerar as condições de trabalho e a tarefa a ser executada.
A utilização de ferramentas eléctricas para outras tarefas a não ser as aplicações previstas,
pode levar a situações perigosas.
5) Serviço
A sua ferramenta eléctrica só deve ser reparada por pessoal qualificado e só devem
ser colocadas peças sobressalentes originais. Desta forma é assegurada a segurança da
ferramenta eléctrica.
PORTUGUES40

1.3 Instruções de segurança especiais
Utilize proteção auditiva. A exposição ao ruído pode causar perda de audição.
As tomadas de áreas exteriores têm de estar sempre equipadas com interruptores de segurança
contra corrente de falha. Assim o exigem as disposições de instalação para o seu sistema elétrico.
Tenha isto em atenção na utilização do aparelho.
Retirar a ficha da tomada antes de realizar qualquer trabalho na máquina.
Apenas ligar a máquina na tomada quando estiver desligada.
Manter sempre o cabo de ligação afastado da área de ação da máquina. Colocar sempre o cabo
atrás da máquina.
A máquina só deve ser utilizada por operadores qualificados e autorizados!
2 Dados técnicos
Tensão ................................................................................230 V AC, 50/60 Hz
Potência absorvida nominal ............................................... 1750 W
Velocidade nominal do motor ............................................. 7600 1/min
Peso ................................................................................... ca. 12,9 kg
Aceleração avaliada de forma típica na área mão-braço ......< 2,5 m/s2
Tipo de protecção ..............................................................IP20
Classe de protecção ...........................................................II
Modo de funcionamento ....................................................S3
Nível de pressão acústica (L
) ............................................ 89 dB(A) ¦ K
3 dB (A)
pA
pA
Nível da potência acústica (L
) .........................................102 dB(A) ¦ K
3 dB (A)
wA
wA
Lâmina de serra circular exterior Ø ......................................180 mm
Perfuração Ø ...............................................30 mm
O nível de ruído durante o trabalho pode ultrapassar os 85 dB (A). Usar protectores de
ouvidos! Valores medidos apurados em conformidade com a norma EN 60745-1.
3 Funcionamento do equipamento
3.1 Vista geral A
1 Volante 5 Pegas de condução
2 Braços de aperto 6 Pega de transporte
3 Pino de encaixe 7 Interruptor de motor
4 Alavanca de distribuição
3.2 Ligação à rede
Só conectar à corrente alternada monofásica e só à tensão de rede indicada na placa de potência.
A conexão às tomadas de rede sem contacto de segurana também é possível, pois trata-se duma
construção da classe de protecção II.
3.3 Primeiro uso
Apenas utilizar o ROCUT UKS 160/355 a seco! Aquando da utilização ao ar livre
utilizar um disjuntor diferencial!
Fixe e proteja a peça de trabalho/tubo! Prender firmemente o tubo de modo a evitar
movimentações, dobras e quedas na ponta de corte.
Abrir os braços de aperto (2) através do volante (1) de modo a que a serra deslize por cima e
pela frente do tubo a tratar.
Prestar atenção para que a serra colocada em cima do tubo fique assente no ponto superior
ou ponto de vértice do tubo e que o motor de acionamento mostre sempre a ponta do tubo
a serrar.
PORTUGUES 41

Ao girar o volante no sentido contrário, os braços de aperto fecham-se e envolvem o tubo a
tratar.
A força de aperto dos braços deve ser calculada de modo a que a serra possa ser utilizada com
facilidade no tubo.
Realizar a ligação elétrica (corrente alternada 230 V/50 Hz). Proteção: 16 A de ação retardada
ou respetivo interruptor de segurança de circuito.
O tubo pode conter materiais/objetos estranhos. Certificar-se de que não se
encontram materiais sólidos, gases ou líquidos no tubo!
3.4 Operação B
Não retirar a cobertura de proteção! Verificar se o funcionamento está correto
antes de cada utilização!
Manter as mãos afastadas da lâmina de serra e da área da serra! Manter as mãos
nas pegas de comando! Se ambas as mãos estiverem a segurar a serra, não
poderão ser alcançadas pela lâmina de serra!
Ligar o motor de acionamento através do interruptor (7) e mantê-lo no funcionamento contí-
nuo.
Depois de retirar o pino de encaixe (3), introduzir a lâmina de serra com o acionamento no
tubo a tratar através da alavanca de distribuição (4).
Após o respetivo movimento descendente, o pino de encaixe encaixa-se automaticamente e
bloqueia a serra nesta posição.
Ao conduzir o dispositivo de serragem prestar atenção ao cabo! Substituir
imediatamente os cabos danificados!
Utilizar eficientemente a serra de circuito completa com a pega de transporte (6) e as pegas
de condução (5), à volta do tubo, afastada do operador (no sentido da seta).
Com o manuseamento e ajuste certos, com a rotação circunferencial do tubo a serra de
circuito vai para a mesma posição inicial do processo de serragem; a parte do tubo a cortar é
separada na totalidade. É normal um desvio de corte de 3 mm no máx.
Desligar imediatamente o motor de acionamento em caso de bloqueio da lâmina de
serra!
Desligar o motor de acionamento através do interruptor (7).
Aquando da saída não travar a lâmina de serra através de contra-pressão lateral!
Após a paragem da lâmina de serra, desligar a ligação elétrica, extrair o pino de encaixe (3) e
levantar a lâmina de serra com o acionamento para fora do tubo, para a posição de espera,
através da alavanca de distribuição.
O pino de encaixe bloqueia a serra, que pode ser libertada ao girar o volante (1) e retirada
pelo tubo.
Aquando da libertação segurar sempre a serra de circuito pela pega!
PORTUGUES42

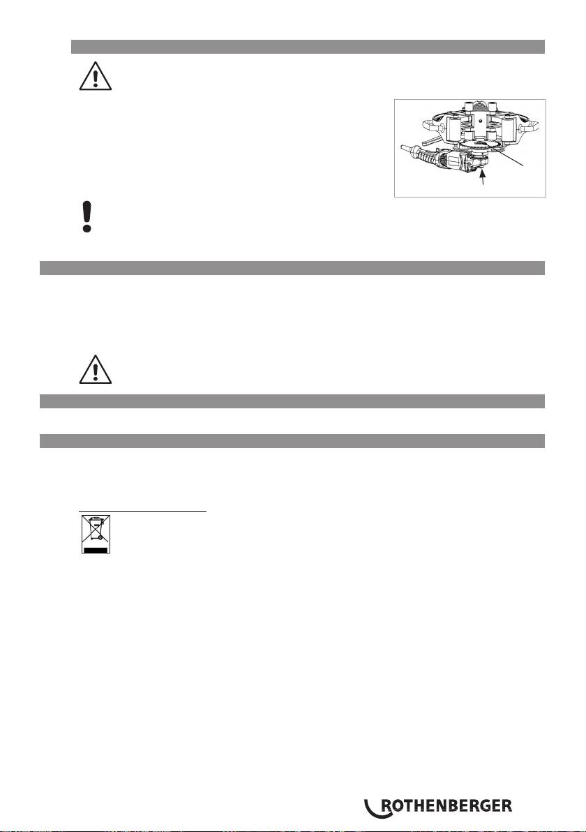
3.5 Substituição da lâmina de serra
Utilizar sempre uma lâmina de serra devidamente afiada e adequada para a
utilização. As lâminas de serra fissuradas ou com um formato alterado represen-
tam perigo e não devem ser utilizadas!
Retirar a ficha da tomada.
Abrir as tampas de proteção no compartimento de proteção.
Pressionar o botão de bloqueio (1).
Rodar a porca de fixação (2) para o centro da lâmina de serra.
2
Trocar a lâmina de serra.
1
Atenção! A bucha de compensação tem de estar devidamente posicionada! Atenção!
Ter em atenção o sentido de rotação do motor de acionamento!
Voltar a apertar a porca de fixação (2).
4 Conservação e manutenção
A serra de circuito não necessita de manutenção por muito tempo.
A lubrificação dos rolamentos e da engrenagem é suficiente durante a vida útil da máquina.
O compartimento do motor só deve ser aberto por uma oficina de serviço autorizada!
Após cada utilização, limpar a máquina completa, sobretudo os roletes, com ar comprimido.
Usar óculos de proteção!
5 Acessório
Informações sobre o acessório adequado e um formulário de encomenda a partir da página 92.
6 Eliminação
Algumas partes do equipamento são materiais valiosos e podem ser reciclados. Para este fim, há
empresas de reciclagem autorizadas e certificadas à sua disposição. Para eliminar as partes não-
recicláveis (p. ex. Sucata electrónica) de modo compatível com o ambiente, por favor, entre em
contacto com a respectiva autoridade de reciclagem local.
Só para países UE:
Não deite ferramentas eléctricas para o lixo doméstico! De acordo com a Directiva
Europeia 2012/19/CE relativa aos resíduos de equipamentos eléctricos e electrónicos e a
sua transposição para Direito nacional é obrigatório recolher separadamente ferramentas
eléctricas fora de uso e conduzi-las à reciclagem.
PORTUGUES 43

Indhold Side
1 Henvisninger til sikkerheden 45
1.1 Formålsbestemt anvendelse 45
1.2 Generelle advarselshenvisninger for el-værktøj 45
1.3 Særlige sikkerhedsanvisninger 47
2 Tekniske oplysninger 47
3 Apparatets funktion 47
3.1 Oversigt (A) 47
3.2 Nettilslutning 47
3.3 Idriftsættelse 47
3.4 Betjening (B) 48
3.5 Udskiftning af savklinge 49
4 Pleje og eftersyn 49
5 Tilbehør 49
6 Affaldsbehandling 49
Symboleri denne dokumentation:
Fare!
Dette tegn advarer mod personskader.
Pas på!
Dette tegn advarer mod ting- eller miljøskader.
Opfordrer til handling
DANSK44

1 Henvisninger til sikkerheden
1.1 Formålsbestemt anvendelse
Rotationsrundsaven ROCUT UKS 160/355 er beregnet til retvinklet overskæring af kunststofrør
af PE, PP, PVDF og PVC med en gennemsnitlig udvendig diameter på 160 til 355 mm og en
vægtykkelse på mindst 8 mm og maksimalt 40 mm.
1.2 Generelle advarselshenvisninger for el-værktøj
ADVARSEL!
Læs alle advarselshenvisninger og instrukser!
I tilfælde af manglende overholdelse af advarselshenvisningerne og instrukserne er der risiko for
elektrisk stød, brand og/eller alvorlige kvæstelser.
Opbevar alle advarselshenvisninger og instrukser til senere brug.
Det i advarselshenvisningerne benyttede begreb „el-værktøj“ refererer til netdrevet el-værktøj
(med netkabel) og akkudrevet el-værktøj (uden netkabel).
1) Sikkerhed på arbejdspladsen
a) Sørg for, at arbejdsområdet er rent og rigtigt belyst. Uorden eller uoplyste arbejdsom-
råder øger faren for uheld.
b) Brug ikke el-værktøjet i eksplosionsfarlige omgivelser, hvor der findes brændbare
væsker, gasser eller støv. El-værktøj kan slå gnister, der kan antænde støv eller dampe.
c) Sørg for, at andre personer og ikke mindst børn holdes væk fra arbejdsområdet,
når maskinen er i brug. Hvis man distraheres, kan man miste kontrollen over maskinen.
2) Elektrisk sikkerhed
a) El-værktøjets stik skal passe til kontakten. Stikket må under ingen omstændighe-
der ændres. Brug ikke adapterstik sammen med jordforbundet el-værktøj. Uæn-
drede stik, der passer til kontakterne, nedsætter risikoen for elektrisk stød.
b) Undgå kropskontakt med jordforbundne over- flader som f.eks. rør, radiatorer,
komfurer og køleskabe. Hvis din krop er jordforbundet, øges risikoen for elektrisk stød.
c) Maskinen må ikke udsættes for regn eller fugt. Indtrængning af vand i maskinen øger
risikoen for elektrisk stød.
d) Brug ikke ledningen til formål, den ikke er beregnet til (f.eks. må man aldrig bære
maskinen i ledningen, hænge maskinen op i ledningen eller rykke i ledningen for
at trække stikket ud af kontakten). Beskyt ledningen mod varme, olie, skarpe kan-
ter eller maskindele, der er i bevægelse. Beskadigede eller indviklede ledninger øger
risikoen for elektrisk stød.
e) Hvis maskinen benyttes i det fri, må der kun benyttes en forlængerledning, der
er godkendt til udendørs brug. Brug af forlængerledning til udendørs brug nedsætter
risikoen for elektrisk stød.
f) Hvis det ikke kan undgås at bruge el-værktøjet i fugtige omgivelser, skal der bru-
ges et HFI-relæ. Brug af et HFI-relæ reducerer risikoen for at få elektrisk stød.
3) Personlig sikkerhed
a) Det er vigtigt at være opmærksom, se, hvad man laver, og bruge el-værktøjet
fornuftigt. Brug ikke noget el-værktøj, hvis du er træt, har nydt alkohol eller er
påvirket af medikamenter eller euforiserende stoffer. Få sekunders uopmærksomhed
ved brug af el-værktøjet kan føre til alvorlige personskader.
b) Brug beskyttelsesudstyr og hav altid beskyttelsesbriller på. Brug af sikkerhedsudstyr
som f.eks. støvmaske, skridsikkert fodtøj, beskyttelseshjelm eller høreværn afhængig af
maskintype og anvendelse nedsætter risikoen for personskader.
DANSK 45

c) Undgå utilsigtet igangsætning. Kontrollér, at el-værktøjet er slukket, før du tilslut-
ter det til strømtilførslen og/eller akkuen, løfter eller bærer det. Undgå at bære
el-værktøjet med fingeren på afbryderen og sørg for, at el-værktøjet ikke er tændt, når det
sluttes til nettet, da dette øger risikoen for personskader.
d) Gør det til en vane altid at fjerne indstillingsværktøj eller skruenøgle, før el-værk-
tøjet tændes. Hvis et stykke værktøj eller en nøgle sidder i en roterende maskindel, er der
risiko for personskader.
e) Undgå en anormal legemsposition. Sørg for at stå sikkert, mens der arbejdes, og
kom ikke ud af balance. Dermed har du bedre muligheder for at kontrollere el-værktøjet,
hvis der skulle opstå uventede situationer.
f) Brug egnet arbejdstøj. Undgå løse beklædningsgenstande eller smykker. Hold hår,
tøj og handsker væk fra dele, der bevæger sig. Dele, der er i bevægelse, kan gribe fat i
løstsiddende tøj, smykker eller langt hår.
g) Hvis støvudsugnings- og opsamlingsudstyr kan monteres, er det vigtigt, at dette
tilsluttes og benyttes korrekt. Brug af en støvopsugning kan reducere støvmængden og
dermed den fare, der er forbundet støv.
4) Omhyggelig omgang med og brug af el-værktøj
a) Undgå overbelastning af maskinen. Brug altid en maskine, der er beregnet til det
stykke arbejde, der skal udføres. Med den rigtige maskine arbejder man bedst og mest
sikkert inden for det angivne effektområde.
b) Brug ikke en maskine, hvis afbryder er defekt. En maskine, der ikke kan startes og
stoppes, er farlig og skal repareres.
c) Træk stikket ud af stikkontakten og/eller fjern akkuen, inden maskinen indstilles,
der skiftes tilbehørsdele, eller maskinen lægges fra. Disse sikkerhedsforanstaltninger
forhindrer utilsigtet start af el-værktøjet.
d) Opbevar ubenyttet el-værktøj uden for børns rækkevidde. Lad aldrig personer,
der ikke er fortrolige med maskinen eller ikke har gennemlæst disse instrukser,
benytte maskinen. El-værktøj er farligt, hvis det benyttes af ukyndige personer.
e) El-værktøjet bør vedligeholdes omhyggeligt. Kontroller, om bevægelige maskinde-
le fungerer korrekt og ikke sidder fast, og om delene er brækket eller beskadiget,
således at el-værktøjets funktion påvirkes. Få beskadigede dele repareret, inden
maskinen tages i brug. Mange uheld skyldes dårligt vedligeholdte el-værktøjer.
f) Sørg for, at skæreværktøjer er skarpe og rene. Omhyggeligt vedligeholdte skæreværk-
tøjer med skarpe skærekanter sætter sig ikke så hurtigt fast og er nemmere at føre.
g) Brug el-værktøj, tilbehør, indsatsværktøj osv. iht. disse instrukser. Tag hensyn til
arbejdsforholdene og det arbejde, der skal udføres. Anvendelse af el-værktøjet til
formål, som ligger uden for det fastsatte anvendelsesområde, kan føre til farlige situationer.
5) Service
Sørg for, at el-værktøj kun repareres af kvalificerede fagfolk, og at der kun benyttes
originale reservedele. Dermed sikres størst mulig maskinsikkerhed.
DANSK46

1.3 Særlige sikkerhedsanvisninger
Bær høreværn. Støjpåvirkninger kan føre til høretab.
Stikkontakter, der er placeret udendørs, skal være forsynet med fejlstrømsrelæer. Det er et krav
iht. installationsforskrifterne til elektroanlægget. Vær opmærksom på dette under anvendelse af
apparatet.
Før ethvert arbejde på maskinen skal stikket trækkes ud af stikkontakten.
Maskinen må kun sluttes til stikkontakten i slukket tilstand.
Hold altid tilslutningskablet væk fra maskinens funktionsområde. Før altid kabler væk fra maski-
nen på maskinens bagside.
Maskinen må udelukkende betjenes af uddannede og autoriserede brugere!
2 Tekniske oplysninger
Spænding ...............................................................230 V AC, 50/60 Hz
Nominel optagen effekt .........................................1750 W
Tomgangshastighed ................................................7600 1/min
Vægt .......................................................................ca. 12,9 kg
Typisk vurderet acceleration i hånd-arm-område ......< 2,5 m/s2
Kapslingsklasse ........................................................IP20
Beskyttelsesklasse .................................................... II
Driftsform ...............................................................S3
Lydtrykniveau (L
) .................................................. 89 dB(A) ¦ K
3 dB (A)
pA
pA
Lydeffektniveau (L
) .............................................. 102 dB(A) ¦ K
3 dB (A)
wA
wA
Rundsavsklinge – udv. Ø .......................................... 180 mm
Boring Ø ..........................................30 mm
Støjniveauet kan under arbejdet overskride 85 dB (A). Brug høreværn! Værdier målt i.h.t.
EN 60745-1.
3 Apparatets funktion
3.1 Oversigt A
1 Håndhjul 5 Styregreb
2 Klemarme 6 Bæregreb
3 Stopbolt 7 Motorkontakt
4 Fremføringsgreb
3.2 Nettilslutning
Tilslutning må kun foretages til enfaset vekselstrøm og kun til en netspænding, som er i
overensstemmelse med angivelsen på mærkepladen. Tilslutning kan også ske til stikdåser uden
beskyttelseskontakt, da kapslingsklasse II foreligger.
3.3 Idriftsættelse
ROCUT UKS 160/355 må udelukkende anvendes i tørre omgivelser! Ved anvendel-
se udendørs skal anvendes et FI-beskyttelsesrelæ!
Fastgør arbejdselementet/røret! Røret skal forankres sikkert for at forhindre bevægelse,
bøjning eller nedfaldning på snitenheden.
Brug håndhjulet (1) til at åbne klemarmene (2) så meget, at saven kan føres ovenfra eller
forfra og på det rør, der skal bearbejdes.
Sørg for, at saven, der er sat på røret, er placeret på rørets øverste punkt eller toppunkt, og at
drivmotoren altid vender mod den ende af røret, der skal afsaves.
DANSK 47

Ved at dreje håndhjulet den modsatte vej lukkes klemarmene, og det rør, der bearbejdes,
gribes og fastholdes.
Armenes spændkraft skal tilpasses, så savklingen kan føres let på røret.
Opret elektrisk forbindelse (vekselstrøm 230 V/50 Hz). Sikring: 16 A modstand eller tilsvarende
beskyttelsesrelæ.
Røret kan indeholde ukendte stoffer/objekter. Kontrollér, at der ikke findes nogen
faststoffer, gasser, væsker i røret!
3.4 Betjening B
Fjern aldrig beskyttelsesafdækningen! Før ethvert brug skal kontrolleres, om
apparatet fungerer korrekt!
Hold hænder væk fra savklinge og saveområdet! Hold hænderne på betjenings-
grebet! Når begge hænder bruges til at holde saven fast, kan de ikke blive fanget
i savklingen!
Tænd drivmotoren vha. kontakten (7), og lad den køre konstant.
Efter udtrækning af stopbolten (3) skal savklingen med drevet føres langsomt ind i det rør, der
skal bearbejdes, vha. fremføringsgrebet (4).
Efter den tilsvarende nedadgående bevægelse indføres stopbolten automatisk og holder saven
fast i denne stilling
Pas på kablet ved fremføring af saveanordningen! Udskift øjeblikkeligt beskadi-
gede kabler!
Før nu hurtigt, men forsigtigt, den samlede rotationsrundsav væk fra betjeningspersonen
(pilens retning) vha. bæregrebet (6) og styregrebet (5) og omkring røret.
Ved korrekt håndtering og indstilling løber rotationsrundsaven efter bevægelse omkring rørdi-
ameteren ud på samme sted, hvor savningen startede, og det rørstykke, der skulle saves af, er
fuldstændigt adskilt. En skæreafvigelse på maks. 3 mm er normal.
Hvis savklingen bliver fastklemt, skal drevmotoren øjeblikkeligt slukkes!
Sluk drevmotoren vha. kontakten (7).
Savklingen må ikke bremses ved tryk mod siderne ved udføringen!
Når savklingen står stille, skal den elektriske tilslutning frakobles, stopbolten (3) skal trækkes
ud, og savklingen med drev skal hæves ud af røret og til udgangsposition vha. fremføringsgre-
bet.
Stopbolten låser saven fast. Den kan nu kun frigøres ved drejning af håndhjulet (1) og derefter
tages ud af røret.
Ved frigørelse af rotationsrundsaven skal den altid bæres i grebet!
DANSK48

3.5 Udskiftning af savklinge
Anvend altid en perfekt slebet savklinge, der er egnet til formålet. Ridsede
savklinger, og klinger, hvis form er ændret, udfør en farekilde og må aldrig
anvendes!
Træk stikket ud af stikkontakten.
Åbn beskyttelsesklapperne i beskyttelseshuset.
Tryk på blokeringsknappen (1).
Skru spændemøtrikken (2) i midten af savklingen af.
2
Udskift savklingen.
1
Bemærk! Udligningsbøsningen skal være placeret! Bemærk! Vær opmærksom på
drevmotorens køreretning!
Skru spændemøtrikken (2) fast igen.
4 Pleje og eftersyn
Rotationsrundsaven er så godt som vedligeholdelsesfri.
Smøringen af kuglelejet og drevet er tilstrækkelig til at vare i hele maskinens levetid.
Motorhuset må udelukkende åbnes af et autoriseret serviceværksted!
Den samlede maskine, og specielt løberullerne, skal rengøres med trykluft efter hvert brug.
Bær beskyttelsesbrille!
5 Tilbehør
Egnet tilbehør og en bestillingsformular findes fra sida 92.
6 Affaldsbehandling
Dele af apparetet er af brugbart materiale og kann genbruges. Hertil står autoriserede og
certificerede genbrugsvirksomheder til rådighed. Til miljøvenlig affaldsbehandling af ikke brugbart
materiale (f.eks. elektronikaffald) vær venlig at spørg den myndighed, hvorunder det sorterer.
Kun til EU-lande:
Elektrisk værktøj må ikke smides ud med det almindelige affald! I henhold til det
Europæiske Direktiv 2012/19/EF om affald af elektrisk- og. elektronisk udstyr og
gennemførelsen i national lovgivning skal ikke længere brugbart elektrisk værktøj
indsamles separat og tilføres en recyclingsproces.
DANSK 49

Innehåll Sida
1 Anvisningar om säkerhet 51
1.1 Föreskriven användning 51
1.2 Allmänna säkerhetsanvisningar för elverktyg 51
1.3 Speciella säkerhetsanvisningar 53
2 Teknisk data 53
3 Apparatens funktion 53
3.1 Översikt (A) 53
3.2 Nätanslutning 53
3.3 Driftsättning 53
3.4 Manövrering (B) 54
3.5 Byte av sågblad 55
4 Skötsel och underhåll 55
5 Tillbehör 55
6 Avfallshantering 55
Symboler i detta dokument:
Fara!
Denna symbol varnar för personskador.
OBS!
Denna symbol varnar för skador på material eller miljö.
Uppmaning till handlande
SVENSKA50

1 Anvisningar om säkerhet
1.1 Föreskriven användning
Den roterande cirkelsågen ROCUT UKS 160/355 är konstruerad för rätvinkelskärning av plaströr
av PE, PP, PVDF och PVC med en ytterdiameter på 160 till 355 mm, väggtjocklek på minst 8 mm
och högst 40 mm.
1.2 Allmänna säkerhetsanvisningar för elverktyg
VARNING!
Läs noga igenom alla säkerhetsanvisningar och instruktioner!
Fel som uppstår till följd av att säkerhetsanvisningarna och instruktionerna inte följts kan orsaka
elstöt, brand och/eller allvarliga personskador.
Förvara alla varningar och anvisningar för framtida bruk.
Nedan använt begrepp ”Elverktyg” hänför sig till nätdrivna elverktyg (med nätsladd) och till batte-
ridrivna elverktyg (sladdlösa).
1) Arbetsplatssäkerhet
a) Håll arbetsplatsen ren och välbelyst. Oordning på arbetsplatsen och dåligt belyst arbets-
område kan leda till olyckor.
b) Använd inte elverktyget i explosionsfarlig omgivning med brännbara vätskor,
gaser eller damm. Elverktygen alstrar gnistor som kann antända dammet eller gaserna.
c) Håll under arbetet med elverktyget barn och obehöriga personer på betryggande
avstånd. Om du störs av obehöriga personer kan du förlora kontrollen över elverktyget.
2) Elektrisk säkerhet
a) Elverktygets stickpropp måste passa till vägguttaget. Stickproppen får absolut inte
förändras. Använd inte adapterkontakter tillsammans med skyddsjordade elverk-
tyg. Oförändrade stickproppar och passande vägguttag reducerar risken för elektriskt slag.
b) Undvik kroppskontakt med jordade ytor som t. ex. rör, värmeelement, spisar och
kylskåp. Det finns en större risk för elektriskt slag om din kropp är jordad.
c) Skydda elverktyget mot regn och väta. Tränger vatten in i ett elverktyg ökar risken för
elektriskt slag.
d) Missbruka inte nätsladden och använd den inte för att bära eller hänga upp el-
verktyget och inte heller för att dra stickproppen ur vägguttaget. Håll nätsladden
på avstånd från värme, olja, skarpa kanter och rörliga maskindelar. Skadade eller
tilltrasslade ledningar ökar risken för elektriskt slag.
e) När du arbetar med ett elverktyg utomhus använd endast förlängningssladdar
som är godkända för utomhusbruk. Om en lämplig förlängningssladd för utomhusbruk
används minskar risken för elektriskt slag.
f) Använd ett felströmsskydd om det inte är möjligt att undvika elverktygets använd-
ning i fuktig miljö. Felströmsskyddet minskar risken för elstöt.
3) Personsäkerhet
a) Var uppmärksam, kontrollera vad du gör och använd elverktyget med förnuft.
Använd inte elverktyget när du är trött eller om du är påverkad av droger, alkohol
eller mediciner. Under användning av elverktyg kan även en kort ouppmärksamhet leda
till allvarliga kroppsskador.
b) Bär alltid personlig skyddsutrustning och skyddsglasögon. Den personliga skyddsut-
rustningen som t. ex. dammfiltermask, halkfria säkerhetsskor, hjälm eller hörselskydd – med
beaktande av elverktygets modell och driftsätt – reducerar risken för kroppsskada.
c) Undvik oavsiktlig igångsättning. Kontrollera att elverktyget är frånkopplat innan
SVENSKA 51

du ansluter stickproppen till vägguttaget och/eller ansluter/tar bort batteriet, tar
upp eller bär elverktyget. Om du bär elverktyget med fingret på strömställaren eller
ansluter påkopplat elverktyg till nätströmmen kann olycka uppstå.
d) Ta bort alla inställningsverktyg och skruvnycklar innen du kopplar på elverktyget.
Ett verktyg eller en nyckel i en roterande komponent kann medföra kroppsskada.
e) Undvik onormala kroppsställningar. Se till att du står stadigt och håller balansen. I
detta fallkan du lätttare kontrollera elverktyget i oväntade situationer.
f) Bär lämpliga kläder. Bär inte löst hängande kläder eller smycken. Håll håret, klä-
derna och handskarna på avstånd från rörliga delar. Löst hängande kläder, smycken
och långt hår kann dras in av roterande delar.
g) När elverktyg används med dammutsugnings -och –uppsamlingsu-trustning, se till
att dessa är rätt monterade och används på korrekt sätt. Användning av dammutsug-
ning minskar de risker damm orsakar.
4) Korrekt användning och hantering av elverktyg
a) Överbelasta inte elverktyget. Använd för aktuellt arbete avsett elverktyg. Med ett
lämpligt elverktyg kan du arbeta bättre och säkrare inom angivet effektområde.
b) Ett elverktyg med defekt strömställare får inte längre användas. Ett elverktyg som
inte kann kopplas in eller ur är farligt och måste repareras.
c) Dra stickproppen ur vägguttaget och/eller ta bort batteriet innan inställningar
utförs, tillbehörsdelar byts ut eller elverktyget lagras. Denna skyddsåtgärd förhindrar
oavsiktlig inkoppling av elverktyget.
d) Förvara elverktygen oåtkomliga för barn. Låt elverktyget inte användas av per-
soner som inte är förtrogna med dess användning eller inte läst denna anvisning.
Elverktygen är farliga om de används av oerfarna personer.
e) Sköt elverktyget omsorgsfullt. Kontrollera att rörliga komponenter fungerar
felfritt och inte kärvar, att komponenter inte brustit eller skadats; orsaker som kan
leda till att elverktygets funktioner påverkas menligt. Låt skadade delar repareras
innan elverktyget återanvänds. Många olyckor orsakas av dåligt skötta elverktyg.
f) Håll skärverktygen skarpa och rena. Omsorgsfullt skötta skärverktyg med skarpa eggar
kommer inte så lätt i kläm och går lättare att styra.
g) Använd elverktyget, tillbehör, insatsverktyg osv. enligt dessa anvisningar. Ta hän-
syn till arbetsvillkoren och arbetsmomenten. Om elverktyget används på ett sätt som
det inte är avsett för kan farliga situationer uppstå.
5) Service
Låt elverktyget repareras endast av kvalificerad fackpersonal och med originalreserv-
delar. Detta garanterar att elverktygets säkerhet upprätthålls.
SVENSKA52

1.3 Speciella säkerhetsanvisningar
Använd hörselskydd. Exponering för buller kan orsaka hörselskador.
Uttag i utomhusområden ska vara utrustade med jordfelsbrytare. Detta kräver
installationsinstruktioner för din elektriska utrustning. Observera detta när du använder enheten.
Innan något arbete utförs på maskinen, dra ut kontakten ur uttaget.
Maskinen får endast anslutas avstängd till vägguttaget.
Anslutningskabeln måste alltid hållas borta från arbetsområdet i maskinen. Led alltid kabeln bort
från maskinen.
Maskinen får endast användas av utbildade och auktoriserade operatörer
2 Teknisk data
Spänning. ....................................................................230 V AC, 50/60 Hz
Nominell ineffekt ........................................................ 1750 W
Tomgångsvarvtal .........................................................7600 1/min
Vikt .............................................................................ca. 12,9 kg
Typisk bedömnd acceleration i hand-arm-området ....... < 2,5 m/s2
Skydd .......................................................................... IP20
Skyddsklass .................................................................II
Driftläge ...................................................................... S3
Ljudtrycksnivå (L
) ..................................................... 89 dB(A) ¦ K
3 dB (A)
pA
pA
Ljudeffektnivå (L
) ....................................................102 dB(A) ¦ K
3 dB (A)
wA
wA
Cirkelsågblad ytttre Ø .................................................. 180 mm
Hål Ø ................................................... 30 mm
Ljudtrycksnivån kan vara högre än 85 dB (A) när man arbetar med produkten. Använd
hörselskydd! Mätvärdena har uppmätts enligt EN 60745-1.
3 Apparatens funktion
3.1 Översikt A
1 handratt 5 styrhandtag
2 klämarmar 6 bärhandtag
3 låsbultar 7 motorbrytare
4 matarspak
3.2 Nätanslutning
Får endast anslutas till 1-fas växelström och till den spänning som anges på dataskylten.
Anslutning kan även ske till eluttag utan skyddskontakt, eftersom konstruktionen motsvarar
skyddsklass II.
3.3 Driftsättning
ROCUT UKS 160/355 får bara användas torrt! När den används utomhus måste en
jordfelsbrytare användas!
Fixera och sätt fast arbetsstycke/rör! Röret måste vara fast förankrat för att förhindra
rörelser, böjning och fall på den kapade änden.
Öppna klämarmarna (2) vid handratten (1) så mycket att sågen kan skjutas igenom eller från
framsidan av röret som ska bearbetas.
Se till att sågen sitter på den översta punkten eller spetsen av röret, medan drivmotorn alltid
visar slutet av röret som ska sågas av.
SVENSKA 53

Genom motsatt vridning av handhjulet stängs klämarmarna och griper tag i det rör som ska
bearbetas.
Spännkraften på armarna ska vara dimensionerad så att sågen fortfarande lätt kan köras på
röret.
Anslutning av elsystem (AC 230 V/50 Hz). Säkring: 16 A trög eller motsvarande brytare.
Röret kan innehålla okända ämnen/föremål. Se till att inga fasta ämnen, gaser
eller vätskor finns i röret!
3.4 Manövrering B
Ta inte bort skyddslocket! Kontrollera korrekt funktion före varje användning!
Håll händerna borta från sågbladet och sågområdet! Håll händerna på styrhand-
tagen! Om båda händerna håller i sågen kan de inte skadas av sågbladet!
Stäng av drivmotorn med brytaren (7) och låt den gå i kontinuerlig drift.
Efter utdragning av låsbulten (3) dras sågbladet med drivenheten via matarspaken (4) lång-
samt tillbaka in i röret som ska bearbetas.
Efter motsvarande rörelse nedåt hakar låsbulten i ingrepp automatiskt och låser fast sågen i
detta läge.
Akta nätsladden vid sågningen! Skadad sladd måste bytas omedelbart!
Hela cirkelsågningen runt utförs med handtaget (6) och styrhandtaget (5) snabbt men
varsamt bort från operatören (pilens riktning) runt röret.
Om sågen hanteras på rätt sätt så kommer cirkelsågen efter att ha sågat runt hela omkret-
sen av röret avslutas på samma ställe som sågprocessen började, så att röret kapas helt. Ett
genomsnittligt snitt på max. 3 mm är normalt.
Stäng genast av drivmotorn om sågbladet fastnar!
Stäng av drivmotorn med brytaren (7).
Bromsa inte sågbladet genom sidotryck!
Efter stopp av sågbladet koppla bort elektriska anslutningar, dra ut låsbulten (3) och lyft bladet
med drivenheten genom matarspaken från röret till viloläge.
Låsbulten låser sågen, den kan lossas genom att vrida handhjulet (1) och tas loss från röret.
Bär alltid roterande cirkelsågar i handtaget!
SVENSKA54

3.5 Byte av sågblad
Använd alltid ett korrekt slipat och ändamålsenligt sågblad. Spruckna sågblad,
och sådana som har ändrat form, utgör en källa till risk och får inte användas!
Dra ut stickkontakten ur vägguttaget.
Öppna spjället i skyddshöljet.
Tryck på låsknappen (1) igen.
Dra av fästmuttern (2) i bladcentret.
2
Byt ut sågbladet.
1
Se upp! Utjämningsbussningen måste positioneras! Se upp! Observera rotationsrikt-
ningen hos drivmotorn!
Dra åt fästmuttern (2) igen.
4 Skötsel och underhåll
Den roterande cirkelsågen är praktiskt taget underhållsfri.
Smörjning av rullager och av transmissionen är tillräckligt för att öka maskinens livslängd.
Motorhuset får endast öppnas av en auktoriserad serviceverkstad!
Hela maskinen, speciellt svängrullarna, måste rengöras med tryckluft efter varje användning.
Använd skyddsglasögon!
5 Tillbehör
Lämpligt tillbehör och ett beställningsformulär återfinns från sidan 92.
6 Avfallshantering
Vissa delar i detta verktyg innehåller ämnen som kan återvinnas. Detta kan utföras av certifierade
återvinningsföretag. Vid skrotning av icke återvinningsbara ämnen (t.ex. elektronikskrot) skall du
ta kontakt med ansvarig kommunal instans.
Gäller endast EU-länder:
Kasta inte elektriska verktyg bland hushållsavfall! Enligt direktiv 2012/19/EG om avfall som
utgörs av eller innehåller elektriska eller elektroniska produkter och nationell lagstiftning
genom vilken direktivet införlivats ska elektriska verktyg som inte längre är användbara
samlas in separat och tillföras miljövänlig återvinning.
SVENSKA 55

Innhold Side
1 Henvisninger angående sikkerhet 57
1.1 Forskriftsmessig bruk 57
1.2 Generelle advarsler for elektroverktøy 57
1.3 Spesielle sikkerhetshenvisninger 59
2 Tekniske data 59
3 Funksjon av maskinen 59
3.1 Oversikt (A) 59
3.2 Nettilkopling 59
3.3 Igangkjøring 59
3.4 Betjening (B) 60
3.5 Skifte av sagblad 61
4 Pleie og vedlikehold 61
5 Tilbehør 61
6 Avfallsdumping 61
Kjennetegn i dette dokumentet:
Fare!
Dette tegnet advarer mot personskader.
OBS!
Dette tegnet advarer mot materielle skader og miljøskader.
Oppfordring til handlinger
NORSK56

1 Henvisninger angående sikkerhet
1.1 Forskriftsmessig bruk
Rotasjonssirkelsagen ROCUT UKS 160/355 er utformet for rettvinklet kapping av plastrør av PE,
PP, PVDF og PVC med utvendig diameter fra 160 til 355mm, veggtykkelse fra minst 8mm og
maksimalt 40mm.
1.2 Generelle advarsler for elektroverktøy
ADVARSEL!
Les gjennom alle advarslene og anvisningene!
Feil ved overholdelsen av advarslene og nedenstående anvisninger kan medføre elektriske støt,
brann og/eller alvorlige skader.
Ta godt vare på alle advarslene og informasjonene.
Det nedenstående anvendte uttrykket «elektroverktøy » gjelder for strømdrevne elektroverktøy
(med ledning) og batteridrevne elektroverktøy (uten ledning).
1) Sikkerhet på arbeidsplassen
a) Hold arbeidsområdet rent og ryddig og sørg for bra belysning. Rotete ar-
beidsområder eller arbeidsområder uten lys kan føre til ulykker.
b) Ikke arbeid med elektroverktøyet i eksplosjonsutsatte omgivelser – der det befin-
ner seg brennbare væsker, gass eller støv. Elektroverktøy lager gnister som kan antenne
støv eller damper.
c) Hold barn og andre personer unna når elektroverktøyet brukes. Hvis du blir forstyrret
under arbeidet, kan du miste kontrollen over elektroverktøyet.
2) Elektrisk sikkerhet
a) Støpselet til elektroverktøyet må passe inn i stikkontakten. Støpselet må ikke
forandres på noen som helst måte. Ikke bruk adapterstøpsler sammen med jordede
elektroverktøy. Bruk av støpsler som ikke er forandret på og passende stikkontakter redu-
serer risikoen for elektriske støt.
b) Unngå kroppskontakt med jordede overflater slik som rør, ovner, komfyrer og
kjøleskap. Det er større fare ved elektriske støt hvis kroppen din er jordet.
c) Hold elektroverktøyet unna regn eller fuktighet. Dersom det kommer vann i et elek-
troverktøy, øker risikoen for elektriske støt.
d) Ikke bruk ledningen til andre formål, f. eks. til å bære elektroverktøyet, henge det
opp eller trekke det ut av stikkontakten. Hold ledningen unna varme, olje, skarpe
kanter eller verktøydeler som beveger seg. Med skadede eller opphopede ledninger
øker risikoen for elektriske støt.
e) Når du arbeider utendørs med et elektroverktøy, må du kun bruke en skjøteled-
ning som er godkjent til utendørs bruk. Når du bruker en skjøteledning som er egnet
for utendørs bruk, reduseres risikoen for elektriske støt.
f) Hvis det ikke kan unngås å bruke elektroverktøyet i fuktige omgivelser, må du
bruke en jordfeilbryter. Bruk av en jordfeilbryter reduserer risikoen for elektriske støt.
3) Personsikkerhet
a) Vær oppmerksom, pass på hva du gjør, gå fornuftig frem når du arbeider med et
elektroverktøy. Ikke bruk elektroverktøy når du er trett eller er påvirket av narkoti-
ka, alkohol eller medikamenter. Et øyeblikks uoppmerksomhet ved bruk av elektroverk-
tøyet kan føre til alvorlige skader.
b) Bruk personlig verneutstyr og husk alltid å bruke vernebriller. Bruk av personlig
verneutstyr som støvmaske, sklisikre vernesko, hjelm eller hørselvern - avhengig av type og
bruk av elektroverktøyet - reduserer risikoen for skader.
NORSK 57

c) Unngå å starte verktøyet ved en feiltagelse. Forviss deg om at elektroverktøyet er
slått av før du kobler det til strømmen og/eller batteriet, løfter det opp eller bærer
det. Hvis du holder fingeren på bryteren når du bærer elektroverktøyet eller kobler elektro-
verktøyet til strømmen i innkoblet tilstand, kan dette føre til uhell.
d) Fjern innstillingsverktøy eller skrunøkler før du slår på elektroverktøyet. Et verktøy
eller en nøkkel som befinner seg i en roterende maskindel, kan føre til skader.
e) Unngå en unormal kroppsholdning. Sørg for å stå stødig og i balanse. Dermed kan
du kontrollere elektroverktøyet bedre i uventede situasjoner.
f) Bruk alltid egnede klær. Ikke bruk vide klær eller smykker. Hold hår, tøy og hansker
unna deler som beveger seg. Løstsittende tøy, smykker eller langt hår kan komme inn i
deler som beveger seg.
g) Hvis det kan monteres støvavsug- og oppsamlingsinnretninger, må du forvisse deg
om at disse er tilkoblet og brukes på korrekt måte. Bruk av et støvavsug reduserer
farer på grunn av støv.
4) Omhyggelig bruk og håndtering av elektroverktøy
a) Ikke overbelast maskinen. Bruk et elektroverktøy som er beregnet til den type
arbeid du vil utføre. Med et passende elektroverktøy arbeider du bedre og sikrere i det
angitte effektområdet.
b) Ikke bruk elektroverktøy med defekt på-/av-bryter. Et elektroverktøy som ikke lenger
kan slås av eller på, er farlig og må repareres.
c) Trekk støpselet ut av stikkontakten og/eller fjern batteriet før du utfører innstil-
linger på elektroverktøyet, skifter tilbehørsdeler eller legger maskinen bort. Disse
tiltakene forhindrer en utilsiktet starting av elektroverktøyet.
d) Elektroverktøy som ikke er i bruk må oppbevares utilgjengelig for barn. Ikke la
maskinen brukes av personer som ikke er fortrolig med dette eller ikke har lest
disse anvisningene. Elektroverktøy er farlige når de brukes av uerfarne personer.
e) Vær nøye med vedlikeholdet av elektroverktøyet. Kontroller om bevegelige
verktøydeler fungerer feilfritt og ikke klemmes fast, og om deler er brukket eller
skadet, slik at dette innvirker på elektroverktøyets funksjon. La disse skadede dele-
ne repareres før elektroverktøyet brukes. Dårlig vedlikeholdte elektroverktøy er årsaken
til mange uhell.
f) Hold skjæreverktøyene skarpe og rene. Godt stelte skjæreverktøy med skarpe skjær
setter seg ikke så ofte fast og er lettere å føre.
g) Bruk elektroverktøy, tilbehør, verktøy osv. i henhold til disse anvisningene og slik
det er foreskrevet for denne spesielle maskintypen. Ta hensyn til arbeidsforhol-
dene og arbeidet som skal utføres. Bruk av elektroverktøy til andre formål enn det som
er angitt kan føre til farlige situasjoner.
5) Service
Elektroverktøyet ditt skal alltid kun repareres av kvalifisert fagpersonale og kun med
originale reservedeler. Slik opprettholdes maskinens sikkerhet.
NORSK58

