Hach-Lange FP 360 sc Basic User Manual – страница 7
Инструкция к Hach-Lange FP 360 sc Basic User Manual

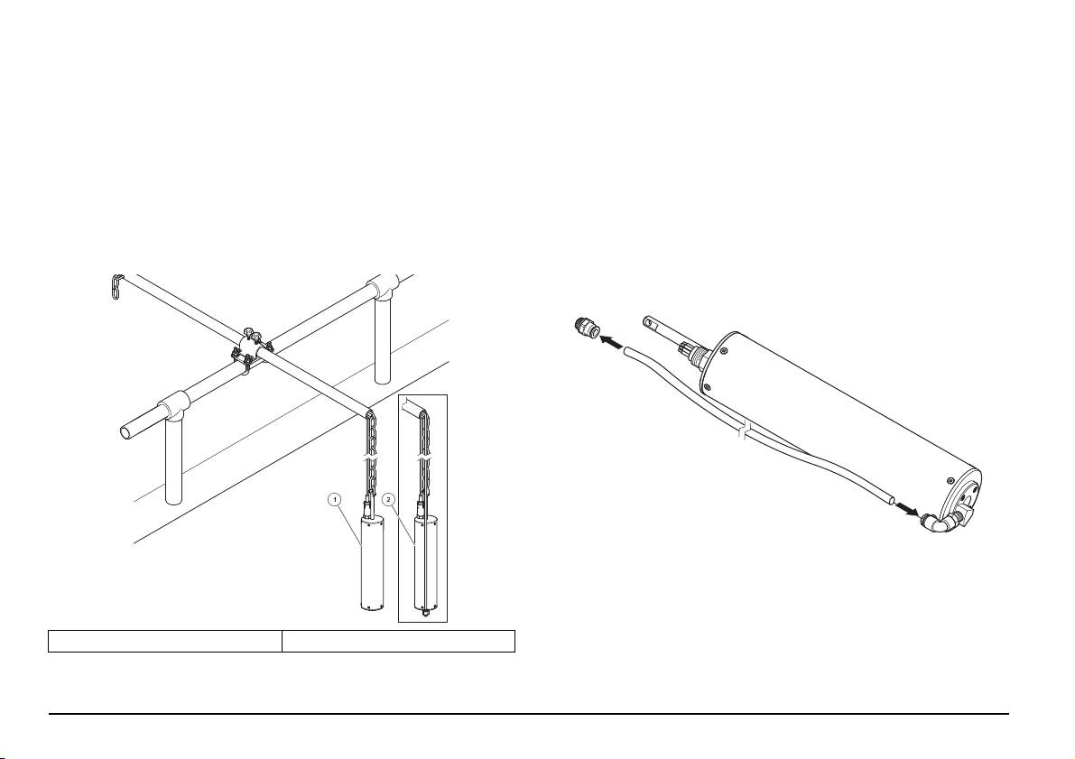
Tilslut sensorkabel
4. Fjern beskyttelseshætten på controller-stikket, og behold det, så du
kan dække stikåbningen i tilfælde af, at sensoren fjernes.
5. Slut sensoren til controlleren med den låsbare quick-connect-
FORSIGTIG
fatning. Stram til i hånden (se Figur 4).
Placer altid kabler og slanger, så de ikke bøjes, eller så nogen
Bemærk: Forbindelseskabler kan fås i forskellige længder. Den samlede
risikerer at snuble i dem.
kabellængde er maksimalt 40 m (131, 23 ft)
Figur 4 Slut sensoren til controlleren
FORSIGTIG
Før strømmen tilsluttes, skal du se i brugervejledningen til
controlleren.
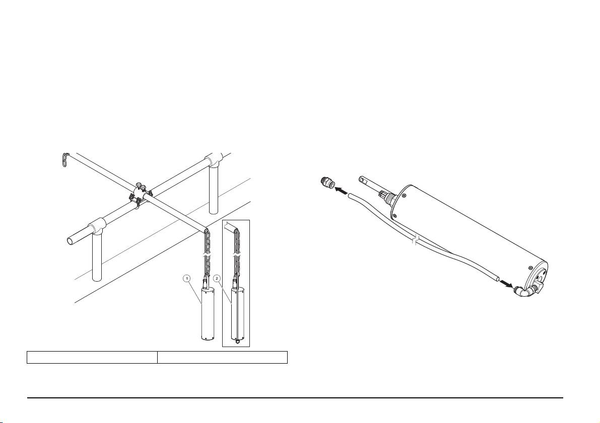
1. Slut det polariserede stik på forbindelseskablet til sensorstikket (8-
bens stik) (se Figur 3 trin 1).
2. Skub sikkerhedsbøsningen på stikket (trin 2).
3. Stram sikkerhedsbøsningen med hånden, så den sidder korrekt
(trin 3).
Figur 3 Slut sensorkablet til sensoren.
Dansk 121

Installationsmuligheder
Installation af kædemonteringssæt til sensorer med
rengøringsenhed
Det kan være nødvendigt at installere sensoren med ekstra, valgfrit
Installer rengøringsenhedens slange
tilbehør, afhængigt af dens anvendelsesområde.
Bemærk: Se den medfølgende dokumentation til tilbehøret for detaljeret
Bemærk: Der kræves en luftslange, når sensoren skal betjenes med den
installationsvejledning.
valgfrie rengøringsenhed. Der kræves også oliefri komprimeret luft
(6 bar) og en magnetventil til HOAB-rengøringssystemet med
Installation med kædemonteringssæt
komprimeret luft.
FP 360 sc-sensoren installeres med kædemonteringssættet i åbne
Med HOAB-rengøringssystemet med komprimeret luft skal enden af
kanaler, brønde og beholdere.
slangeforbindelsen, der er sluttet til den komprimerede luft på
undersiden af instrumentet udskiftes med den lige 6 mm fatning (se
Figur 5 FP 360 sc-målesensor med sæt til kædemontering
Figur 2 på side 120, del 5), der følger med sensoren.
Figur 6 Installer rengøringsenhedens slange
1 Sensor uden rengøringsenhed 2 Sensor med rengøringsenhed
Dansk 122

Figur 7 FP 360 sc-målesensor med rengøringsenhed og
Installation med flow-celle
kædemonteringssæt
FP 360 sc-sensoren med flow-celle er installeret til prøver fri for faste
stoffer og partikelformet materiale samt begrænset prøve-flow.
Figur 8 Installation med flow-celle
Dansk 123

Betjening
SENSOR SETUP
Sensoropsætning
VÆLG SENSOR (hvis der er mere end en sensor)
Når sensoren sluttes til første gang, vises sensorens serienummer som
KALIBRERING
navnet på sensoren. Sådan ændres sensornavnet:
SÆT OUTMODE Output under kalibrering og nulpunktsjustering
1. Åbn HOVEDMENU.
HOLD
2. Vælg SENSOR SETUP, og bekræft.
AKTIV
3. Vælg den tilsvarende sensor, og bekræft.
PROG.TRANSFER
4. Vælg KONFIGURERING, og bekræft.
SENSOR MÅLER Aktuel, ukorrigeret målingsværdi
5. Vælg REDIGER NAVN, og bekræft.
6. Rediger navnet, og bekræft for at vende tilbage til menuen
FAKTOR: 0,1 til 100
KONFIGURERING
SENSOR SETUP.
OFFSET: –1000 til +1000
Fuldfør konfiguration af sensoren på samme måde med valg af følgende
FAKTOR
menuindstillinger:
OFFSET
• PARAM.VALG
2 POINT
• VÆLG ENHEDER
3 POINT
• GENNEMSNIT
4 POINT
• LOG SETUP
5 POINT
• FÅ VÆRDI
Vises, når FAKTOR er valgt under
Menustruktur
FAKTOR
KONFIGURERING. Du kan finde flere oplysninger
under Kalibrering på side 126.
SENSORSTATUS
Vises, når OFFSET er valgt under
OFFSET
KONFIGURERING. Du kan finde flere oplysninger
VÆLG SENSOR (hvis der er mere end én sensor)
under Kalibrering på side 126.
FEJL LISTE Mulig fejlmeddelelse: SENSOR ERROR (SENSORFEJL)
Vises, når 2 POINT er valgt under
2 POINT
KONFIGURERING. Du kan finde flere oplysninger
Mulige advarselsmeddelelser: TEST/KONTROL, PAKNING,
under Kalibrering på side 126.
ALARM LISTE
SIDSTE KONFIG., MÅLEVÆRDI
Vises, når 3 POINT er valgt under
Bemærk: Se Fejlfinding på side 129 for at finde en liste over alle, mulige
3 POINT
KONFIGURERING. Du kan finde flere oplysninger
under Kalibrering på side 126.
fejl- og advarselsmeddelelser samt en beskrivelse af alle de nødvendige
forholdsregler.
Vises, når 4 POINT er valgt under
4 POINT
KONFIGURERING. Du kan finde flere oplysninger
under Kalibrering på side 126.
Dansk 124

SENSOR SETUP (Fortsat)
SENSOR SETUP (Fortsat)
VÆLG SENSOR (hvis der er mere end en sensor)
VÆLG SENSOR (hvis der er mere end en sensor)
KALIBRERING
DIAG/TEST
Vises, når 5 POINT er valgt under
SONDE INFO
5 POINT
KONFIGURERING. Du kan finde flere oplysninger
SENSOR NAVN Enhedsnavn
under Kalibrering på side 126.
REDIGER NAVN
Sikkerhedsforespørgsel, nulstil til (FAKTOR=1,
SÆT KAL STD.
OFFSET=0)
SERIENUMMER Serienummer for enhed
SCALA 0 til 500 eller 0 til 5000
KONFIGURERING
MODELNUMMER Varenr. Sensor
Navnet kan bestå af op til 16 tegn
DEFAULT CONFIG
PROG. VERSION Sensorsoftware
REDIGER NAVN
(STANDARDKONFIGURERING): sensorens
TÆLLER
serienummer
TID TOTALT Tæller af samlet driftstid
PAH: Måleværdi relateret til PAH-
kalibreringsstandard
VEDLIGEHOLD Tæller, der tæller ned i dage
PARAM.VALG
OIL: Måleværdi relateret til oliekalibreringsstandard
PAKNING Tæller, der tæller ned i dage
DEFAULT CONFIG
(STANDARDKONFIGURERING): PAH
TEST/VEDLIGEHOLD
ppb, ppm, µg/l, mg/l,
SÆT OUTMODE Udstyrets output i menuen SERVICE
VÆLG ENHEDER
DEFAULT CONFIG
HOLD
(STANDARDKONFIGURERING): ppb
AKTIV
1 til 300 s,
GENNEMSNIT
DEFAULT CONFIG
PROG.TRANS
(STANDARDKONFIGURERING): 3 s
FER
5 s, 30 s, 1, 2, 3, 4, 5, 6, 10, 15, 30 min.,
SIGNALER
LOG SETUP
DEFAULT CONFIG
LAMPE AMP Intensitet for udladningslampe
(STANDARDKONFIGURERING): 10 min.
Kontrol af nulpunkt og hældning efter eksterne
Skala 0 til 500 ppb: AUTO, 0,01 to 50, 0.01 to 500,
DIAG/TEST
standarder
Skala 0 til 5000 ppb: AUTO, 0,01 til 500, 0,01 til
FÅ VÆRDI
5000
LÆSN. OFFSET
DEFAULT CONFIG
SEKUNDÆR
(STANDARDKONFIGURERING): AUTO
KAL
Sikkerhedsforespørgsel,
Adgangskodebeskyttet adgang til tjenesten
SÆT STANDARDER
nulstil til standardkonfiguration for alle
menuindstillinger anført herover.
Dansk 125

Måleforholdene kan ændre sig med hensyn til
Kalibrering
• Sammensætning af PAH- eller olieurenheder
Fabrikskalibrering
• Fordeling af urenheder i vand
Nulpunktet og hældningen for kalibreringskurven er forudindstillet.
• Temperatur
Retrospektiv kalibrering af disse grundlæggende indstillinger er generelt
• Sammensætning af målemedie
ikke påkrævet uden for inspektionsintervallerne.
• Målesensor og målevindue
Udfør regelmæssigt kontrol af nulpunkt for at sikre, at urenheder eller fejl
opdages (se Kontroller nulpunktet på side 127).
Bestemmelse af faktorer og justering af hældning
Hvis nulsignalet øges på grund af målemediekomponenterne eller
Sådan justeres hældningen:
installationsbetingelserne, kan du kompensere for denne påvirkning vha.
1. På sensorinstallationsstedet skal du tage en prøve af målemediet
forskydningskorrektion. Udfør en laboratorieanalyse af prøven for at
og straks analysere prøven for PAH- og olieindhold.
gøre dette. Hvis der ikke er nogen PAH-/olieforurening i målemediet,
2. Noter den måleværdi, der vises på controlleren på det tidspunkt,
skal du indtaste den måleværdi, der vises på enheden som forskydning
prøven bliver taget. Sørg for, at den korrekte enhed vises for
(se Juster nulpunktet (OFFSET) på side 127).
måleværdien, f.eks. som ppm olie.
Udfør kalibrering/justering
3. Gentag trin 1 og 2 flere gange.
Sensoren er prækalibreret med forskellige koncentrationer af en speciel
4. Brug prøveværdien og den værdi, der vises på controlleren på det
kalibreringsstandard i ultrarent vand. Disse ideelle målebetingelser
tidspunkt, prøven bliver taget, til at beregne en faktor.
forekommer sjældent i virkeligheden. De viste måleværdier er kvalitative
5. Find en gennemsnitsværdi ud fra faktorerne.
tendensindikatorer, hvis der ikke er foretaget justeringer af
6. Indtast faktoren som hældningen (se Juster hældningen (FAKTOR)
målebetingelserne på stedet.
på side 127).
Hvis du skal bruge kvantitativt korrekte måleværdier, skal du udføre
enten en kontrastjustering eller en flerpunktskalibrering. Begge disse
Eksempel for motorolie Eksempel for naphthalen
processer skal udføres på stedet ved hjælp af laboratorieanalysedata.
Laboratorieværdi: 4,0 ppm olie
Laboratorieværdi: 420 ppb PAH
De grundlæggende forudsætninger for kvantitative målinger er præcis
1
1
Vist måleværdi
:
Vist måleværdi
:
viden om olietype i målinger ved forekomster og konstant måling, f.eks. i
2,4 ppm olie
120 ppb PAH
koldt vand i en varmeudveksler. Hvis der forekommer flere olier i
Beregnet faktor 1,67
Beregnet faktor: 3,5
varierende mængder, er det normalt ikke muligt at udføre en kvantitativ
måling.
1 På tidspunktet for prøvetagning
Hvis måleforholdene ændres, skal du kontrollere nøjagtigheden af
Det tilrådes at justere hældningen, hvis følgende forhold gør sig
resultaterne igen via en laboratorieanalyse og foretage justeringer, hvor
gældende:
det er nødvendigt.
• Hvis den målte prøve er PAH-/oliefri, skal måleværdien også være
nul.
• De faktorer, der er beregnet ud fra laboratorieværdierne, skal
muliggøre afledning af en gennemsnitsværdi.
Hvis disse forhold ikke gør sig gældende, skal der foretages en
flerpunktskalibrering.
Dansk 126

Bemærk: Hvis både nulpunktet og hældningen skal ændres, skal der
Justering af hældning og nulpunkt, flerpunktskalibrering
bruges en 2-punktskalibrering (se Flerpunktskalibrering (2 til 5-
Juster hældningen (FAKTOR)
punktskalibrering) på side 128).
1. Åbn HOVEDMENU.
Flerpunktskalibrering
2. Vælg SENSOR SETUP, og bekræft.
I tilfælde af en flerpunktskalibrering skal laboratorieværdien indtastes
3. Vælg den tilsvarende sensor, og bekræft.
som målværdi og den viste værdi som den faktiske værdi. Sørg for, at
4. Vælg KALIBRERING, og bekræft.
alle værdier indtastes i den samme enhed, f.eks. olie i ppm. (se
Flerpunktskalibrering (2 til 5-punktskalibrering) på side 128).
5. Vælg KONFIGURERING, og bekræft.
6. Vælg FAKTOR, og bekræft.
Kontroller nulpunktet
7. Indtast den beregnede faktor, og bekræft.
• Medie: ultrarent vand
8. Gå tilbage til HOVEDMENU eller visning af målertilstand.
• Målværdi: < 1 ppb. Rengør vinduet, hvis der forekommer afvigelser.
Juster nulpunktet (OFFSET)
Brug en glasbeholder (ikke plastik), der er stor nok til, at målingen kan
foretages med en afstand på 8 til 10 cm mellem målevindue og base
1. Åbn HOVEDMENU.
(f.eks. et 1000 ml glasbæger). Placer et sort, ikke-reflekterende underlag
2. Vælg SENSOR SETUP, og bekræft.
under beholderen, og sluk for kunstigt lys under måleprocessen.
3. Vælg den tilsvarende sensor, og bekræft.
Bemærk: I luft er den viste måleværdi ikke præcis nul pga.
4. Vælg KALIBRERING, og bekræft.
refleksionerne på vinduets overflade. Dette er almindeligt for sensoren
5. Vælg KONFIGURERING, og bekræft.
og ikke en indikation på funktionsfejl.
6. Tryk på OFFSET, og bekræft.
Bemærk: Brug altid ultrarent vand. Hverken destilleret eller
7. Indtast påkrævet offset, og bekræft.
demineraliseret vand er egnet, da det kan indeholde organiske
8. Gå tilbage til HOVEDMENU eller visning af målertilstand.
forbindelser.
Dansk 127

Flerpunktskalibrering (2 til 5-punktskalibrering)
Vedligeholdelse
Bemærk: Flerpunktskalibrering betyder, at parrene skal indsættes i
Den indvendige del af sensoren er vedligeholdelsesfri.
stigende rækkefølge.
Det har betydning for nøjagtigheden af målingen, hvor rent målevinduet i
1. Åbn HOVEDMENU.
sensorhovedet er. Kontroller målevinduet med jævne mellemrum for at
sikre, at det er rent. Hvor ofte dette skal gøres afhænger af målemediet.
2. Vælg SENSOR SETUP, og bekræft.
Hvis der forekommer usædvanligt høje måleværdier, bør det også
3. Vælg den tilsvarende sensor, og bekræft.
kontrolleres, og vinduet rengøres, hvis det er nødvendigt (se Rengøring
4. Vælg KALIBRERING, og bekræft.
af målevinduer).
5. Vælg KONFIGURERING, og bekræft.
For sensorer med en rengøringsenhed skal rengøringsfrekvensen
6. Vælg kalibreringstype, f.eks. 2 POINT, og bekræft.
justeres efter måleforholdene. Inspektionsintervallet skal forkortes for at
7. Vælg 1 PAR, og bekræft.
afspejle enhver form for forøgelse af fast stof.
8. Rediger MÅLEVÆRDI, og bekræft.
9. Rediger AKTUEL VÆRDI, og bekræft.
BEMÆRK
10. Gentag processen for 2 PAR, og bekræft.
Individuelle komponenter af ophængningsenheden (sjækler og
11. Gå tilbage til HOVEDMENU eller visning af målertilstand.
kæde til kædemonteringssættet) er lavet af rustfrit stål og kan
korrodere.
Vedligeholdelsesprogram
Vedligeholdelses-
Interval
1
opgave
Undersøg, om der er
Visuel inspektion Anvendelsesafhængigt
forurening eller korrosion
Kontroller stik og
Systeminspektion Hvert andet år
pakning.
Kalibreringstjek Hvert andet år Kontroller kalibrering
1 Ved betjening i henhold til fabriksindstillinger og korrekt brug
Kontakt producentens serviceafdeling hvert andet år for at arrangere
sensorinspektion, test, kalibrering og udskiftning af pakning. UV-lampen
skal udskiftes hvert fjerde år.
Dansk 128

Rengøring af målevinduer
Fejlfinding
Fejlmeddelelser
FORSIGTIG
Mulige sensorfejl, der vises af sc-controlleren.
Rengøringsmidler kan være sundhedsskadelige.
Benyt beskyttelsesudstyr, og undgå direkte kontakt med flydende
Viste fejl Definition Løsning
rengøringsmidler.
SENSOR ERROR
Ring til producentens
Elektronisk defekt
(SENSORFEJL)
kundeservice
BEMÆRK
Advarsler
Andre rengøringsmidler kan beskadige materialerne. Skader
forårsaget af rengøring, der er udført forkert, dækkes ikke af
Mulige sensor-advarselsmeddelelser, der vises af sc-controlleren.
garantien.
Viste advarsler Definition Løsning
1. Skyl sensoren med frisk vand, indtil alt fast stof er fjernet.
2. Brug ren acetone og en blød, ren klud (f.eks. rensepapir til
Ring til producentens
DIAG/TEST Tæller udløbet
kundeservice
kameraobjektiver) til forsigtigt at fjerne aflejringer på målevinduet.
Undgå skarpe genstande på overfladen af målevinduet.
Ring til producentens
PAKNING Tæller udløbet
kundeservice
3. Skyl rester af rengøringsmidler af med rindende vand.
Kanalkonfiguration ikke
SIDSTE KONFIG.
Send konfiguration igen
accepteret
Ved
flerpunktskalibrering,
Indtast kalibreringsværdier i
MÅLEVÆRDI
værdier ikke indtastet i
stigende rækkefølge
stigende rækkefølge
Reservedele
Betegnelse Antal Holdbarhed
UV-lampe 1 4 år
O-ringe 4 2 år
Dansk 129

Dansk 130

Nederlands
Specificaties
Wijzigingen in specificaties voorbehouden.
Meting
UV-fluorescentie meetproces voor polycyclische aromatische koolwaterstoffen (PAK's)
Meetmethode
Excitatiegolflengte: 254 nm Emissiegolflengte (meting): 360 nm
0 tot 50 ppb en 0 tot 500 ppb in relatie tot kalibratiestandaard voor PAK's, evenredig aan
Laag meetbereik
0,1 tot 1,5 ppm en 0,1 tot 15 ppm van de oliekalibratiestandaard.
Meetbereik
0 tot 500 ppb en 0 tot 5000 ppb in relatie tot kalibratiestandaard voor PAK's, evenredig aan
Hoog meetbereik
0,1 tot 15 ppm en 0,1 tot 150 ppm van de oliekalibratiestandaard
Eenheden op het display ppb, ppm, µg/L, mg/L
Reproduceerbaarheid 2,5,% van meetwaarde bij een constante temperatuur
Meetnauwkeurigheid 5% van de meetwaarde ±2% van de meetbereiklimiet bij een constante temperatuur
Detectielimiet 1,2 ppb (PAK's)
Responstijd 10 s (T90)
Kalibratie Kalibratie in fabriek, met UV-fluorescentie kalibratiestandaard, klantspecifieke aanpassing mogelijk
Sensorsoftware
Softwareversie Vanaf 1.14
Eigenschappen van het instrument
Meetsensor Roestvrijstalen uitvoering 2,8 kg, titaniumuitvoering 1,8 kg
Gewicht
Doorstroomcel Circa 0,6 kg, inclusief installatiepaneel circa 2,0 kg
Meetsensor Max. 30 bar
Drukbereik
Doorstroomcel Max. 1 bar
68 mm x 306 mm (2,68 inch × 12,05 inch) (zonder stekkers of ophangpen)
Meetsensor
68 mm x 399 mm (2,68 inch × 15,71 inch) (inclusief ophangpen)
(Ø x lengte)
Afmetingen
68 mm x 413 mm (2,68 inch × 16,26 inch) (met extra reinigingsoptie)
98 mm x 98 mm x 150 mm (3,86 inch × 3,86 inch × 5,91 inch) (zonder fittingen),
Doorstroomcel (L x B x D)
installatiepaneel: 600 x 300 x 10 mm (23,62 inch × 11,81 inch × 0,39 inch)
Nederlands 131

Eigenschappen van het instrument (vervolg)
Behuizing: roestvrij staal 1.4571 of titanium
Optische steun: POM
Bouten van behuizing: roestvrij staal 1.4571
Meetsensor
Meetvenster: synthetisch kwartsglas (Suprasil)
Pakkingen (behuizing): Viton
Pakkingen (meetvenster): NBR (nitrilbutadieenrubber)
Materialen
Behuizing: POM
Installatieplaat: PVC
Doorstroomcel
Pakkingen: NBR (nitrilbutadieenrubber)
Fittingen: vernikkeld messing
Harpsluiting Roestvrij staal 1.4301
Omgevingseisen
Temperatuur van meetmedium 1 tot 40 °C (34 tot 104 °F)
–5 tot +45 °C (23 tot 113 °F)
Omgevingstemperatuur
Meetsensor ten minste voor de helft in het meetmedium ondergedompeld:
–25 tot +55 °C (-13 tot 131 °F)
Sensorafstand - wand/bodem Minimaal 100 mm (3,94 inch) (aanbevolen)
Diversen
Kabellengte 1,5 of 10 m, verlengkabel tot een maximale lengte van 40 m
Sensorzijde 8-polig, beschermingsklasse IP68, PUR
Aansluitingsinformatie
Controllerzijde M12, beschermingsklasse IP67
Inspectie-interval Om de 2 jaar; 1/ jaar, afhankelijk van het servicecontract tot 5 jaar
Onderhoudsvereisten Reinig het meetvenster indien nodig. De intervallen zijn afhankelijk van het meetmedium.
Conformiteit CE
Garantie 2 jaar
Nederlands 132

Afmetingen
Afbeelding 1 Sensor zonder en met reinigingseenheid
1 Sensor zonder reinigingseenheid 2 Sensor met reinigingseenheid
Nederlands 133

Algemene informatie
Waarschuwingsetiketten
Lees alle labels en etiketten die aan en op het instrument zijn bevestigd.
Veiligheidsinformatie
Het negeren van deze waarschuwingen kan leiden tot letsel of
beschadiging van het instrument. Een symbool op het instrument wordt
Lees eerst de gehele gebruiksaanwijzing, voordat u dit instrument
in de handleiding toegelicht met een waarschuwingstekst.
uitpakt, instelt of gebruikt. Besteed speciaal aandacht aan alle
waarschuwingen voor gevaren en aan de voorzorgsmaatregelen.
Dit is het symbool voor een veiligheidswaarschuwing. Volg alle
Wanneer u dit nalaat, kan dit leiden tot ernstig letsel of beschadiging van
veiligheidsaanwijzingen op die na dit symbool volgen, om mogelijk
het instrument.
letsel te voorkomen. Als u dit symbool op het instrument ziet, moet u
Controleer of de veiligheidsvoorzieningen van dit instrument niet
de instructiehandleiding raadplegen voor informatie over de werking
of veiligheid.
beschadigd zijn. Het instrument mag op geen andere wijze worden
gebruikt of geïnstalleerd dan in deze handleiding beschreven.
Dit symbool wijst op het gevaar van een elektrische schok en/of
Gebruik van gevareninformatie
elektrocutie.
GEVAAR
Duidt een potentiële of dreigende gevaarlijke situatie aan die
Dit symbool geeft aan dat een UV-lamp wordt gebruikt in het
instrument.
(indien niet vermeden) zal leiden tot ernstig of dodelijk letsel.
Elektrische apparatuur met dit symbool mag sinds 12 augustus 2005
WAARSCHUWING
in Europa niet bij het huishoudelijke of publieke afval worden
gedeponeerd. Conform de Europese en nationale richtlijnen
Duidt een potentiële of dreigende gevaarlijke situatie aan die
(EU Richtlijn 2002/96/EG), moeten Europese gebruikers van
(indien niet vermeden) kan leiden tot ernstig of dodelijk letsel.
elektrische apparatuur de oude gebruikte apparatuur kosteloos
inleveren bij de fabrikant.
Opmerking: Voor recycling moet u contact opnemen met de
VOORZICHTIG
fabrikant of leverancier van het instrument voor instructies
Duidt een potentieel gevaarlijke situatie aan die kan leiden tot
hoe het versleten instrument en de meegeleverde
minder ernstig of licht letsel.
elektrische- en overige accessoires moeten worden
geretourneerd.
LET OP
Duidt een situatie aan die (indien niet vermeden) kan resulteren in
beschadiging van het instrument. Informatie die speciale aandacht
vereist.
Opmerking: Aanvullende informatie bij onderwerpen in de hoofdtekst.
Nederlands 134

Productoverzicht
Onderdelen
De sensor is leverbaar in diverse uitvoeringen
Zie Afbeelding 2 om te controleren of u alle accessoires hebt ontvangen.
GEVAAR
Stuur de module niet terug zonder dat u hierover van te voren
Dit product is niet geschikt voor gebruik in explosiegevaarlijke
overeenstemming hebt bereikt.
atmosferen.
WAARSCHUWING
De UV-stralen uit de flitslamp zijn schadelijk voor de ogen en
huid. Kijk nooit direct door het meetvenster tijdens gebruik. Stel
de meetsensor buiten bedrijf voordat u onderhouds- of
installatiewerkzaamheden uitvoert.
De FP 360 sc sensor is een UV-fluorescentieimeter waarmee continu de
concentratie van PAK's (polycyclische aromatische koolwaterstoffen) in
water kan worden gemeten. De meetwaarden kunnen worden omgezet
in waarden die het totale oliegehalte voor minerale oliën aangeven met
behulp van laboratoriumgegevens.
Mogelijk moet de sensor samen met extra accessoires worden
geïnstalleerd, afhankelijk van het toepassingsgebied.
Toepassingsgebied Installatie met Sensorvarianten
Open goten, schachten,
Sensor met of zonder
tanks (vaste stof max. 200
Kettingarmatuur
reinigingseenheid
mg/l)
Meetmedia zonder vaste
Sensor zonder
stof, met continue, lage
Doorstroomcel
reinigingseenheid
monsterdoorstroming
Stel de sensor niet bloot aan mechanische effecten
Nederlands 135

Afbeelding 2 FP 360 sc sensor
Functietest
VOORZICHTIG
Lees eerst de bedieningsinstructies voor de controller, voordat u
de spanning inschakelt.
Voer een functietest uit nadat de componenten uit de verpakking zijn
verwijderd.
1. Sluit de aansluitkabel aan op de sensor (8-polige gepolariseerde
stekker) en op een geschikte sc controller (5-polige gepolariseerde
stekker) (zie Sensorkabel aansluiten op pagina 137).
2. Schakel de spanning van de sc controller in. Het display wordt
geactiveerd en de sensor schakelt naar de meetmodus.
De sensor tikt zachtjes en regelmatig.
3. Dek het meetvenster van de sensor af met een vel wit papier
(gebruik geen kringlooppapier).
4. Varieer de afstand tussen het meetvenster en het papier. De
meetwaarde op het display verandert dan.
Opmerking: In lucht is de getoonde meetwaarde niet exact gelijk aan
nul, vanwege reflecties op het oppervlak van het venster (zie Controleer
het nulpunt op pagina 143).
Installatie
1 FP 360 sc meetsensor 5 6mm-fitting voor
reinigingseenheid (afhankelijk
van model)
GEVAAR
2 Basisgebruikershandleiding met
6 Veiligheidshuls
Gevaar voor persoonlijk letsel. Alleen bevoegd personeel mag de
cd
in dit deel van de handleiding beschreven taken uitvoeren.
3 Meetvenster 7 Aansluitkabel
4 Sensor met reinigingseenheid
8 Harpsluiting
LET OP
(afhankelijk van model)
Als de sensor niet volledig is ondergedompeld, moet bij hoge
temperaturen en felle zonnestralen een bescherming tegen de zon
worden gebruikt ter bescherming tegen thermische effecten en
UV-effecten.
Nederlands 136

Sensorkabel aansluiten
4. Schroef de beschermkap van de controllerbus af en bewaar de kap
om de stekkeropening te kunnen afsluiten wanneer de sensor moet
worden verwijderd.
VOORZICHTIG
5. Sluit de stekker aan op de controller met behulp van de
Leg kabels en slangen altijd zo aan, dat ze niet worden geknikt en
gecodeerde snelkoppeling. Handvast aandraaien (zie
er geen struikelgevaar bestaat.
Afbeelding 4).
Opmerking: Aansluitkabels zijn beschikbaar in diverse lengten. De
maximale totale kabellengte bedraagt 40 m.
VOORZICHTIG
Lees eerst de bedieningsinstructies voor de controller, voordat u
Afbeelding 4 Aansluiting van de connector op de controller
de spanning inschakelt.
1. Sluit de gepolariseerde bus van de aansluitkabel aan op de stekker
van de sensor (8-polige stekker) (zie Afbeelding 3, stap 1).
2. Schuif de veiligheidshuls op de stekker (stap 2).
3. Draai de huls handvast (stap 3) op zijn plaats.
Afbeelding 3 Aansluiting van de sensorkabel op de sensor
Nederlands 137

Installatiemogelijkheden
Installatie van kettingarmatuur voor sensoren met
reinigingseenheid
Afhankelijk van het toepassingsgebied kan het zijn dat de sensor met
Slang van de reinigingseenheid monteren
extra optionele accessoires geïnstalleerd moet worden.
Opmerking: Raadpleeg de documentatie die met de accessoires is
Opmerking: Voor gebruik van de sensor met optionele
meegeleverd, voor gedetailleerde installatie-instructies.
reinigingseenheid is een luchtslang vereist. Tevens is olievrije perslucht
(6 bar) en een magneetventiel, of het persluchtreinigingssysteem HOAB
Installatie met de kettingarmatuur
vereist.
In open goten, schachten en tanks wordt de FP 360 sc sensor
Bij gebruik van het persluchtreinigingssysteem HOAB moet de
geïnstalleerd met de kettingarmatuur.
slangkoppeling aan perszijde, aan de onderzijde van het instrument,
worden vervangen door de rechte 6mm-koppeling (zie Afbeelding 2 op
Afbeelding 5 FP 360 sc meetsensor met kettingarmatuur
pagina 136, punt 5) die is meegeleverd met de sensor.
Afbeelding 6 Slang van de reinigingseenheid monteren
1 Sensor zonder reinigingseenheid 2 Sensor met reinigingseenheid
Nederlands 138

Afbeelding 7 FP 360 sc meetsensor met reinigingseenheid en
Installatie met doorstroomcel
kettingarmatuur
De FP 360 sc sensor met doorstroomcel wordt geïnstalleerd voor
monsters zonder vaste stoffen of deeltjes en beperkte
monsterdoorstroming.
Afbeelding 8 Installatie met doorstroomcel
Nederlands 139

Werking
SENSOR SETUP
Sensor instellen
KIES SENSOR (als er meer dan één sensor is)
Als de sensor voor de eerste keer wordt aangesloten, wordt het
KALIBREREN
serienummer van de sensor weergegeven als sensornaam. U kunt de
Gedrag van de uitgangen tijdens de kalibratie of
naam van de sensor als volgt wijzigen:
SET UITGANGEN
nulpuntsinstelling
1. Open het HOOFDMENU.
BLOKKEREN
2. Selecteer SENSOR SETUP en bevestig uw keuze.
AAN
3. Selecteer de desbetreffende sensor en bevestig uw keuze.
TRANS. INSTEL.
4. Selecteer CONFIGUREREN en bevestig uw keuze.
METING SENSOR Stroom, onjuiste meetwaarde
5. Selecteer WIJZIG NAAM en bevestig uw keuze.
FACTOR 0,1 tot 100
6. Wijzig de naam en bevestig de wijziging om terug te keren in het
CONFIGUREREN
menu SENSOR SETUP.
OFFSET: -1000 tot +1000
Voer op dezelfde manier de systeemconfiguratie uit en selecteer daarbij
FACTOR
de volgende menuopties:
OFFSET
• PARAMETERKEUZE
2 PUNT
• SELECT EENHEID
3 PUNT
• GEMIDDELDE
4 PUNT
• LOG SETUP
5 PUNT
• GAINWAARDE
Wordt weergegeven als FACTOR is geselecteerd
Menustructuur
FACTOR
onder CONFIGUREREN. Raadpleeg Kalibratie op
pagina 142 voor meer informatie.
SENSORDIAGNOSE
Wordt weergegeven als OFFSET is geselecteerd
OFFSET
onder CONFIGUREREN. Raadpleeg Kalibratie op
KIES SENSOR (als er meer dan een sensor is)
pagina 142 voor meer informatie.
FOUTMELDIN
Wordt weergegeven als 2 PUNT is geselecteerd
Mogelijke foutmeldingen: SENSORFOUT
GEN
2 PUNT
onder CONFIGUREREN. Raadpleeg Kalibratie op
pagina 142 voor meer informatie.
WAARSCHUW
Mogelijke foutmeldingen: TEST/ONDERHOUD, VERVANG
Wordt weergegeven als 3 PUNT is geselecteerd
INGEN
LAMP, LAATSTE CONFIG, TARGET VALUE
3 PUNT
onder CONFIGUREREN. Raadpleeg Kalibratie op
pagina 142 voor meer informatie.
Opmerking: Zie Storingen, oorzaken en oplossingen op pagina 145 voor
Wordt weergegeven als 4 PUNT is geselecteerd
een lijst van alle mogelijke foutmeldingen en waarschuwingen met een
4 PUNT
onder CONFIGUREREN. Raadpleeg Kalibratie op
beschrijving van alle noodzakelijke maatregelen.
pagina 142 voor meer informatie.
Nederlands 140

