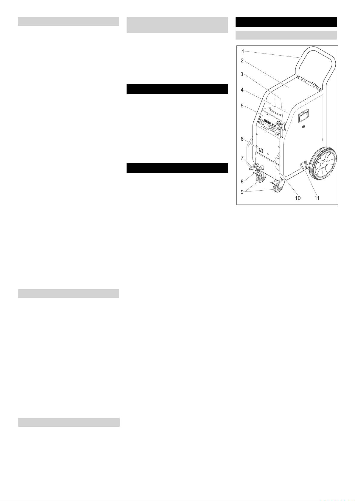
Karcher IB 7/40 Advanced – page 13
Manual for Karcher IB 7/40 Advanced

šu sprauslu atskrūvēšanai ar uzgriežņu at-
Strūklas ierīce
slēgu.
Bīstami
Savainošanās risks aparāta nejaušas ie-
slēgšanās rezultātā. Pirms sprauslas no-
maiņas aparātu izslēdziet.
몇 Brīdinājums
Savainošanās risks, pieskaroties aukstai
sprauslai. Pirms pieskaršanās sprauslai, to
sasildiet vai valkājiet aizsargcimdus.
Uzmanību
Aukstās sametināšanas risks. Pirms mon-
tāžas sprauslas vītni ieziediet ar komplektā
pievienoto ziedi.
Strūklas sprauslas
Bez komplektā piegādātās plakanstrūklas
sprauslas kā papildpiederumi ir pieejamas
citas plakanstrūklas un apaļas strūklas
sprauslas dažādos izpildījumos.
1 Sprausla
2 Strūklas pistole
3 Palaišanas gailītis
1 Skrūvsavienojums
4 Drošības poga
2 Magazīna
5 Strūklošanas materiāla šļūtenes savie-
3 Caurumotā plāksne
nojums
6 Vadības līnijas savienojums
Noskrūvēt skrūvsavienojumu.
Tikai IB 7/40 Advanced:
Izņemt magazīnu ar caurumotām plāk-
7 Sausā ledus dozēšanas ieslēgšanas/iz-
snēm.
slēgšanas poga
Deg sarkanā spuldzīte, ja ir izslēgta
sausā ledus dozēšana
8 Sausā ledus dozēšanas paaugstināša-
nas poga
9 Strūklas spiediena paaugstināšanas
poga
10 Strūklas spiediena samazināšanas
poga
11 Sausā ledus dozēšanas samazināša-
nas poga
Caurumotās plāksnes izkārtot kā parā-
Ekspluatācijas uzsākšana
dīts augšā (3 varianti). Izmēra norāde
Bīstami
attēlā attiecas uz caurlaides atvērumu
1 Apaļas strūklas sprausla, īsa
Traumas iegūšanas bīstamība no lidojo-
lielumu.
2 Apaļas strūklas sprausla, gara
šām sausā ledus granulām.
Ievietot magazī
nu ar caurumotām plāk-
3 Plakanstrūklas sprausla, īsa
Aparāta sagatavošanas laikā apsekot visus
snēm skramblerā.
4 Plakanstrūklas sprausla, gara, piegā-
mezglus, it sevišķi strūklošanas materiāla
Uzskrūvēt skrūvsavienojumu un nostip-
des komplektā
šļūteni, uz pienācīgu stāvokli. Bojātus
rināt to.
mezglus nomainīt pret darbderīgiem.
5 Apaļas strūklas sprausla, sagriezta leņ-
Sprauslu pagarinātājs (papildaprīko-
Notīrīt netīrus mezglus un pārbaudīt pienā-
ķī ar gumijas kātu
jums)
cīgu aparāta darbspēju.
6 Plakanstrūklas sprausla, sagriezta leņ-
Starp strūklas pistoli un sprauslu var uzstā-
Novietot aparātu uz horizontālas, līdze-
ķī ar gumijas kātu
dīt pagarinājumu.
nas virsmas un nobloķēt vadošo skritu-
ļu stāvbremzes.
Uzlikt sprauslu uz vītņu iemavas un pie-
Savienot strūklošanas materiāla šļūteni
griezt ar roku.
ar aparātu.
Skrembleris (papildaprīkojums)
Savienot strūklošanas materiāla šļūteni
Skrembleris sasmalcina sausā ledus gra-
ar aparā
tu un nofiksēt.
nulas un tiek uzstādīts starp strūklas pistoli
Savienot vadības līniju ar aparātu.
un sprauslu.
Savienot vadības līniju ar aparātu.
4 caurumoto plākšņu novietojums skremb-
lerī norāda uz smalcināšanas pakāpi.
Sprauslas
Smalcināšanas pakāpes izvēle:
Piezīme
Sprauslas izvēle ir atkarīga no tīrāmā ob-
jekta materiāla un piesārņojuma.
Visas sprauslas uzskrūvē uz strūklas pisto-
les vītni bez instrumentiem. Uz sprauslas
esošās skaldnes atslēgai kalpo cieši sēdo-
- 3
241LV

Pagarinātājkabelim jānodrošina IPX4 aiz-
Rokturis (papildaprīkojums)
Ekspluatācija
sardzības līmenis un kabeļa izpildījumam
Rokturi var nostiprināt pie pagarinājuma.
jāatbilst vismaz H 07 RN-F 3G1,5 standar-
Veikt apkopes darbus „katru dienu
tam.
pirms darba sākuma“ (skatīt sadaļu
Iespraudiet kontaktdakšu kontakligzdā.
„Tehniskā apkope“).
Bīstami
Apkalpošana
Traumas iegūšanas bīstamība no lidojo-
šām sausā ledus granulām. Nepavērsiet
Sausā ledus uzpildīšana
strūklas pistoli uz cilvēkiem. Aizvākt no dar-
Bīstami
ba vietas trešās personas un ierobežot pie-
Risks gūt apsaldējumus. Sausā ledus tem-
eju darba laikā (piemēram, ar
peratūra ir -79 °C. Sauso ledu un aukstas
aizsprostojumu).
aparāta daļas nekad neaiztikt bez aizsar-
Darba laikā nepieskarties sprauslas atverei
dzības. Valkāt aizsargcimdus un aizsar-
vai sausā ledus strūklai.
Darba apgaismojums (papildaprīko-
gapģērbu.
Pirms savienojuma sadalīšanas starp
jums)
Atvērt sausā ledus tvertnes vāku.
strūklas pistoli un strūklošanas materiāla
Pārbaudīt vai sausā ledus tvertnē nav
šļūteni un starp strūklošanas materiāla šļū-
svešķermeņu un kondensāta, izņemt
teni un aparātu obligāti noslēgt saspiesta
svešķermeņus un atbrīvot no kon-
gaisa padevi, atbrīvot aparātu no spiediena
densāta.
un izvilkt kontaktdakšu no kontaktligzdas.
Nosprostot darba zonu un nepieļaut
Iepildīt tvertnē sausā ledus granulas.
personu piekļuvi darba laikā.
Uzmanību
Bīstami
Aparāta bojājumu risks. Kā strūklošanas
Nosmakšanas bīstamība no ogļskābās gā-
materiālu drīkst izmantot tikai sausā ledus
zes. Sausā ledus granulas sastāv no cietas
granulas. Citu strūklošanas materiālu lieto-
ogļskābes. Aparāta ekspluatācijas laikā
šana noved pie garantijas zuduma.
darba vietā pieaug ogļskābes saturs gaisā.
Darba apgaismojumu piestiprina starp
Aizvērt sausā ledus tvertnes v
āku.
Pietiekami ventilēt darba vietu vai izmantot
strūklas pistoli un sprauslu. Ieslēgšana un
Piezīme
personīgo gāzes signalizatoru. Augstas
izslēgšana ir aprakstīta nodaļā "Apkalpoša-
Lai nepieļautu no sakusušo sausā ledus
ogļskābās gāzes koncentrācijas gaisā pie-
na/pamatiestatījumi".
granulu radušos traucēju, ieteicams pilnīgi
zīmes:
Saspiesta gaisa pieslēgšana
izlietot sausā ledus tvertnes saturu pirms
– 3...5%: galvas sāpes, paātrināta elpo-
atkārtotas uzpildīšanas. Pirms ilgāka eks-
šana.
Piezīme
pluatācijas pārtraukuma darbināt ierīci, līdz
– 7...10%: galvas sāpes, slikta dūša, ie-
Netraucētas darbības nodrošināšanai sa-
sausā ledus tvertne ir tukša vai iztukšot
spējami bezsamaņa.
spiestam gaisam jābūt ar zemu mitruma
sausā ledus tvertni ar sausā ledus iztukšo-
Iestājoties šīm pazīmēm, nekavējoties ap-
saturu (maksimāli 5% relatīvā mitruma, ra-
šanas funkciju.
turēt aparātu un iziet svaigā gaisā, pirms
sas punkts zem 0°C). Saspiestam gaisam
Iestatījumi
darba turpināšanas uzlabot ventilācijas
jābūt attīrītam no eļļas, netīrumiem un
apstākļus vai izmantot elpošanas aparātu.
svešķermeņiem.
Piezīme
Ievērot sausā ledus ražotāja drošības serti-
Saspiestajam gaisam jābūt sausam un bez
Iestatījumi ir atkarīgi no tīrāmā objekta ma-
fikāta datus.
eļļas piejaukumiem, kompresoram ir jāpie-
teriāla un piesārņotības.
slēdz vismaz viens papildu dzesētājs un
Bīstami
Ar pagriešanu atbloķēt avārijas apturē-
separators.
Risku veselībai rada kaitīgas vielas. Ja ap-
šanas slēdzi.
Slēgt spiediena samazināšanas vārstu.
strādes laikā var veidoties veselībai kaitīgi
Aparāta slēdzi pārslēdziet uz „I“.
Pieslēgt saspiesta gaisa pievadu pie ie-
putekļi, pirms darbu sākšanas jāveic atbil-
Grieziet atslēgas slēdzi pulksteņrādīt
ā-
rīces saspiesta gaisa pieslēguma.
stoši drošības pasākumi.
ja virzienā.
Nedrīkst pārsniegt maksimā
li pieļauja-
Bīstami
Ar strūklas spiediena paaugstināšanas/
mo padeves spiedienu - 1MPa (10 bar).
samazināšanas pogu iestatiet strūklas
Sprādzienbīstamība!
Vienlaikus nedrīkst apstrādāt vieglos metā-
Pieslēgšana elektrotīklam
spiedienu.
lus un dzelzi saturošas daļas.
Piezīme
Bīstami
Ja ik pa laikam apstrādā vieglos metālus un
Jo augstāks ir uzstādītais strūklas spie-
Elektriskās strāvas trieciena risks.
dzelzi saturošas daļas, darba telpa un no-
diens, jo augstāka (agresīvāka) tīrīšanas
Izmantojamā kontaktligzda jāuzstāda elek-
sūkšanas iekārta pirms citu materiālu ap-
efektivitāte.
triķim un tai jāatbilst IEC 60364-1 standar-
strādes ir jāiztīra.
Ar sausā ledus dozēšanas paaugstinā-
tam.
Strādājot šaurās telpās, parūpēties par
šanas/samazināšanas pogu iestatiet
Aparātu drīkst pieslēgt tikai energoapgā-
pietiekamu gaisa apmaiņu, lai noturētu
sausā ledus dozēšanu.
des tīklam ar zemējumu.
ogļskābās gāzes koncentrāciju telpas
Pagrieziet atslēgas slēdzi pretēji pulk-
Izmantotajai kontaktligzdai jābūt ērti pieeja-
gaisā zem bīstama līmeņa.
steņa rādītāja kustības virzienam un iz-
mai un tai jāatrodas augstumā no 0,6 m līdz
Vajadzības gadījumā nofiksējiet tīrāmo
ņemiet atslēgu.
1,9 m no grīdas.
objektu.
Automātiski noslēdzot atslēgas cauru-
Izmantotajai kontaktligzdai ir jāatrodas lie-
Bīstami
mu, ekspluatācijas laikā tiek novērsta
totājam pārredzamā vietā.
Ievainojumu gūšanas bīstamība no elek-
netīrumu iekļūšana taj
ā.
Aparātam jābūt aizsargātam ar FI aizsarg-
trostatiskajām izlādēm, elektronisko mez-
Ja atslēga iz izņemta, ierīce ir nodroši-
slēdzi, tips B, 30 mA.
glu bojājumu bīstamība. Tīrīšanas procesa
nāta pret iestatījumu pārregulēšanu un
Pirms katras lietošanas reizes pārbaudīt,
laikā tīrāmais objekts var elektriski uzlādē-
statistikas vērtību atiestatīšanu.
vai nav bojāts pieslēgšanas kabelis. Ne-
ties. Elektriski iezemēt tīrāmo objektu un
ekspluatēt aparātu ar bojātu kabeIi. Bojātu
visa tīrīšanas procesa garumā turēt ieze-
kabeli nomainīt ar elektriķa palīdz
ību.
mējumu taisni.
242 LV
- 4

몇
Brīdinājums
Kondensāta notecināšana
Regulē-
Apraksts
Bojājumu risks, krītot svešķermeņiem sau-
šanas
Ūdens atdalītājs tīra ierīcei pievadīto sa-
sā ledus tvertnē. Darbības laikā turiet sau-
diapa-
spiesto gaisu. Tādā veidā ūdens atdalītājā
sā ledus tvertnes vāku aizvērtu.
zons
sakrājas kondensāts, kas laiku pa laikam ir
Zemējuma elementu (tikai IB 7/
jāiztukšo.
40 Advanced), kurš vada elektrību, sa-
Novietojiet savākšanas tvertni zem
vienojiet ar tīrāmo objektu vai sazemē-
Izvēlnes funkcija
kondensāta nolaišanas daļas.
jiet tīrāmo objektu citādi.
Lēnām atveriet spiediena samazinā
ša-
0, 1, 2, 3,
Liega ieslēgšanās, il-
Valkāt aizsargdrēbas, aizsargcimdus,
nas vārstu un gaidiet, līdz no ierīces iz-
4, 5 se-
gums līdz izvēlētā strūk-
cieši pieguļošas aizsargbrilles un ausu
plūst kondensāts.
kundes
las spiediena
aizsargus.
sasniegšanai
Piezīme
Aktivēt saspiesta gaisa padevi.
Liega palaide
Ar pagriešanu atbloķēt avārijas apturē-
Lai pasargātu apkārtējo vidi, lūgums, kon-
šanas slēdzi.
densātu likvidēt videi nekaitīgā veidā.
1, 2, 3, 4,
Sausā ledus iztukšoša-
Izvēlēties drošu vietu un ieņemt drošu
5 minūtes
nas procesa ilgums
Statistikas funkcija
ķermeņa pozīciju un nezaudēt līdzsva-
T_Dump
ru no strūklas pistoles atsitiena spēka.
Vērtību pieprasīšana
Lai novē
Aparāta slēdzi pārslēdziet uz „I“.
metrisks,
Mēra vienības
rstu atsitiena sitienus, strūklas
imperiāls
metrisks: kg/st., MPa
spiedienu iespējams iestatīt ar pakāpe-
Īslaicīgi nospiediet statistikas pogu, tiek
imperiāls: lbs, psi
niski pieaugošu spiedienu (skatīt "Ap-
uzrādīts ekspluatācijas laiks.
Valoda
kalpošana/pamatiestatījumi"
t: ekspluatācijas laiks kopš pēdējās at-
On/Off
Sprauslu apgaismojuma
apakšizvēlne "Liega palaide").
iestatīšanas.
(iesl./izsl.)
(izvēles) ieslēgšana/iz-
Iespiest strūklas pistoles drošības po-
T: kopējais ekspluatācijas laiks.
slēgšana
gu.
Īslaicīgi nospiediet statistikas pogu, tiek
Aktivēt sausā ledus strūklu ar strūklas
uzrādīts apstrādātais sausā ledus dau-
pistoles palaišanas gaiļa nospiešanu
dzums.
Apgaismojums
un veikt tīrīšanas procesu.
m: sausā ledus daudzums kopš pēdē-
On/Off
Demonstrēšanas re-
Piezīme
jā
s atiestatīšanas.
(iesl./izsl.)
žīms: tiek simulēta vadī-
M: kopējais sausā ledus daudzums.
ba, saspiests gaiss un
Aparāta variantam IB 7/40 Advanced sau-
sausa ledus padeve ir
sā ledus granulu dozēšanu var ieslēgt un
Īslaicīgi nospiediet statistikas pogu, tiek
uzrādīts vidējais sausā ledus patēriņa
bloķēti.
izslēgt ar sausā ledus dozēšanas ieslēgša-
Demo režīms
nas/izslēgšanas slēdzi uz strūklas pistoles.
daudzums.
Pamatiestatīšanas beigšana
Ja dozēšana ir izslēgta, taustiņš ir izgais-
q: vidējais sausā ledus patēriņa dau-
Grieziet atslēgas slēdzi pretēji pulk-
mots sarkanā krāsā un displejā redzams
dzums kopš pēdējās atiestatīšanas.
steņrādītāja kustības virzienam.
"Ice off".
Q: vidējais sausā ledus patēriņš kopā.
Papildus aparāta variantam IB 7/40 Advan-
Ekspluatācijas pārtraukšana
Vērtību atiestatīšana
ced ar strūklas pistoli var regulēt strūklas
Grieziet atslēgas slēdzi pulksteņrādītā-
spiedienu un saus
ā ledus daudzumu.
Bīstami
ja virzienā.
Risks gūt apsaldējumus. Sausā ledus tem-
몇 Brīdinājums
Nospiediet un 4 sekundes turiet no-
peratūra ir -79 °C. Sauso ledu un aukstas
Bojājumu bīstamība dozētājierīcei no netī-
spiestu statistikas taustiņu.
aparāta daļas nekad neaiztikt bez aizsar-
rumiem. Strūklošanas režīmā sausā ledus
Piezīme
dzības. Valkāt aizsargcimdus un aizsar-
tvertnes vāku turēt aizvērt, lai novērstu attī-
Kopējās vērtības nodzēst nav iespējams.
gapģērbu.
rāmo netīrumu iekļūšanu.
Bīstami
Pamatiestatījumi
Izslēgšana avārijas gadījumā
Traumas iegūšanas bīstamība no lidojo-
Vienlaicīgi nospiest un turēt nospiestas
Atlaist strūklas pistoles palaišanas gaili.
šām sausā ledus granulām. Nepavērsiet
str
ūklas spiediena paaugstināšanas un
Nospiest avārijas apturēšanas slēdzi.
strūklas pistoli uz cilvēkiem. Aizvākt no dar-
strūklas spiediena palielināšanas po-
ba vietas trešās personas un ierobežot pie-
Sausā ledus dozēšana tiek apturēta un gai-
gas, pagrieziet atslēgas slēdzi pulkste-
eju darba laikā (piemēram, ar
sa plūsma no sprauslas tiek pārtraukta.
ņa rādītāju kustības virzienā.
aizsprostojumu).
Pārtraukt saspiesta gaisa padevi.
Pamatiestatījumu darbības režīmā pogām
Noslēgt saspiesta gaisa padevi.
Ekspluatācijas atsākšana pēc avāri-
ir šādas funkcijas:
Novietojiet savākšanas tvertni zem
jas apturēšanas
kondensāta nolaišanas daļas.
Ar pagriešanu atbloķēt avārijas apturē-
Lēnām atveriet spiediena samazināša-
šanas slēdzi.
nas vārstu un gaidiet, līdz no ierīces iz-
plūst kondensāts un saspiests gaiss.
Darba pārtraukšana
Zem sausā ledus izvades palieciet sa-
Atlaist strūklas pistoles palaišanas gaili.
vākšanas tvertni.
Darba paužu laikā strūklas pistoli var ie-
Nospiediet sausā ledus tvertnes iztuk-
likt uz aparāta esošā tur
ētājā.
šošanas pogu un gaidiet, līdz sausā le-
dus tvertne ir tukša.
Pēc iepriekš iestatītā laika sausā ledus
Piezīme
iztukšošana apstājas (skatīt "Pamat-
Ilgākos ekspluatācijas pārtraukumos sausā
1Vērtības palielināšana
iestatījumi").
ledus granulas tvertnē var sakust. Pēc ie-
2Vērtības samazināšana
Nepieciešamības gadījumā sausā le-
spējas nepārtraukt darbu ilgāk, nekā uz 20
3 Apakšizvēlne uz augšu
dus tvertnes iztukšošanas pogu spie-
minūtēm. Ilgāka ekspluatācijas pārtrauku-
4 Apakšizvēlne uz leju
diet vairākas reizes.
ma gadījumā iztukšot sausā ledus tvertni.
- 5
243LV

Piezīme
Apkopes līgums
Apkopes darbi
Lai pasargātu apkārtējo vidi, lūgums, kon-
Lai varētu garantēt drošu iekārtas eksplua-
densātu likvidēt videi nekaitīgā veidā.
tāciju, mēs iesakām noslēgt apkopes līgu-
Nomainīt filtra ieliktni ūdens atdalītāja
Pārslēgt aparāta slēdzi „0/OFF“.
mu. Griezieties vietējā "Kärcher" klientu
filtra ieliktni.
Atvienot aparātu no saspiesta gaisa pa-
apkalpošanas dienestā.
deves.
Apkopes grafiks
Atvienojiet kontaktdakšu no kontaktligz-
das.
Katru dienu pirms darba sākuma
Notīriet un uztiniet zemējuma vadu.
Uzmanīgi apsekot strūklošanas mate-
riāla šļūteni uz plaisām, locījuma vietām
Transportēšana
un citiem bojājumiem. Mīkstas vietas uz
šļūtenes norāda uz nodilumiem šļūte-
Bīstami
nes iekšpusē. Defektīvu vai nodilušu
Negadījuma bīstamība no aparātā atlikuša-
šļūteni aizvietot ar jaunu.
jiem sausā ledus pārpalikumiem. Pirms
Pārbaudīt elektrisko kabeli un kontakt-
pārvadāšanas slēgtos transportlīdzekļos
dakšu uz bojājumiem. Defektīvas daļas
1 Skrūve
no aparāta pilnīgi jāizņem sausais ledus, lai
nomainīt apkopes centrā.
2 Apakšdaļa
neapdraudētu līdzi braucošas personas ar
ogļskābi.
Ik pēc 100 ekspluatācijas stundām
3 Uzgrieznis
Uzmanību
Pārbaudīt iespējamos bojājumus un
4 Paplāksne
nodilumus savienojumos uz strūkloša-
5 Filtra ieliktnis
Savainošanās un bojājumu risks! Trans-
nas materiāla šļūtenes, uz aparāta un
6 Augšdaļa
portējot ņemiet vērā aparāta svaru.
uz strūklas pistoles. Defektīvu šļūteni
Pirms pārvadāšanas izpildīt visus sada-
nomainīt, defektīvus savienojumus uz
ļā „Izvešana no ekspluatācijas“ minētos
Izskrūvēt ārā 4 skrūves.
aparāta vai strūklas pistoles nomainīt
punktus.
Noņemiet apakšdaļu.
apkopes centrā.
Novietot aparātu uz transportlīdzekļa.
Noskrūvēt uzgriezni.
Pārbaudīt dozētājierīci uz bojājumiem
Nobloķēt vadošo skrituļu bremzes.
Noņemt paplāksni.
vai nehermētiskumu. Ja tiek atklāti trau-
Nostiprināt apar
ātu uz automašīnas ar
Noņemt filtra ieliktni un nomainīt pret
cējumi/nehermētiskas vietas, informēt
nospriegošanas lentēm.
jaunu.
apkopes centru.
Salieciet ūdens atdalītāju kopā apgriez-
Glabāšana
Pārbaudīt aizmugurējo riteņu stiprināju-
tā kārtībā.
ma skavu ciešu fiksāciju.
Uzmanību
Pārbaudes
Ik pēc 500 ekspluatācijas stundām vai
Savainošanās un bojājumu risks! Uzglabā-
reizi gadā
Saskaņā ar BGV D 26 aparātam jāveic se-
jot ņemiet vērā aparāta svaru.
Veikt aparāta pā
rbaudi apkopes centrā.
kojošas pārbaudes. Pārbaudes rezultāti jā-
Šo aparātu drīkst uzglabāt tikai iekštelpās.
noformē pārbaudes protokolā. Aparāta
Ik pēc 2 gadiem
Bīstami
operatoram jāsaglabā pārbaudes protokols
Mainīt strūklošanas materiāla šļūteni
Nosmakšanas risks, uzkrājoties oglekļa di-
līdz nākamai pārbaudei.
vismaz katrus 2 gadus.
oksīdam. Sausā ledus granulas uzglabājiet
Pēc vairāk nekā 1 gadu ilga ekspluatā-
tikai labi vēdinātās vietās.
Aparāta atvēršana
cijas pārtraukuma
Apkope un kopšana
Dažu apkopes darbu veikšanai ir nepiecie-
Pārbaudīt pienācīgu aparāta stāvokli
šams noņemt aparāta sānu apšuvumu:
un darbspēju.
Norādījumi par apkopi
Pēc uzstādīšanas vietas maiņas
Ekspluatācijā drošas iekārtas pamatprin-
Pārbaudīt pienācīgu aparāta stāvokli,
cips ir regulāra apkope saskaņā ar tālāk
darbspēju un uzstādījumu.
norādīto apkopes grafiku.
Pēc remonta darbiem vai izmaiņām, ku-
Izmantojiet tikai ražotāja oriģinālās vai ra-
ras varētu ietekmēt ekspluatācijas dro-
žotāja ieteiktās rezerves daļas, tādas kā
šību
– rezerves un dilstošās daļas,
Pārbaud
īt pienācīgu aparāta stāvokli,
– piederumus,
darbspēju un uzstādījumu.
– izejmateriālus,
Palīdzība darbības traucēju-
– mazgāšanas līdzekļus.
mu gadījumā
Bīstami!
1Sānu apšuvums
Negadījuma bīstamība no darbiem ar apa-
2 Aizslēgs
Bīstami!
rātu. Pirms darbu veikšanas ar aparātu iz-
Negadījuma bīstamība no darbiem ar apa-
pildīt visus sadaļā „Izvešana no
Atvērt aizslēgus, pagriežot pret pulk-
rātu. Pirms darbu veikšanas ar aparātu iz-
ekspluatācijas“ minētos soļus.
steņrādītāju kustības virzienu.
pildīt visus sadaļā „Izvešana no
Bīstami
Noņemt sānu pārsegu.
ekspluatācijas“ minētos soļus.
Aukstu apdegumu gūšanas bīstamība no
Bīstami
sausā ledus vai aukstām aparāta daļām.
Aukstu apdegumu gūšanas bīstamība no
Strādājot ar aparātu, valkāt piemērotas, no
sausā ledus vai aukstām aparāta daļām.
aukstuma aizsargājošas drēbes vai izvākt
Strādājot ar aparātu, valkāt piemērotas, no
sauso ledu un ļaut aparātam uzsilt.
aukstuma aizsargājošas drēbes vai izvākt
Nekad nelikt sauso Iedu mutē.
sauso ledu un ļaut aparātam uzsilt.
몇 Brīdinājums
Nekad nelikt sauso Iedu mutē.
Bojājumu risks. Netīriet strūklas pistoli ar
šķīdinātājiem, benzīnu vai eļļu saturošiem
tīrīšanas līdzekļiem.
244 LV
- 6

Traucējumi ar indikāciju displejā
Disple-
Kontrolspuldzīte
Iespējamais cēlonis Traucējuma novēršana Izpildītājs
ja indi-
(KS)
kācija
E001 KS vadības sprie-
vadības spriegums ir pārāk
Izslēdziet aparātu, īsu brīdi pagaidiet, pēc tam atkal
Operators
gums deg sarkanā
zems
ieslēdziet aparātu.
krāsā
Pārbaudiet kontaktligzdu.
Ja kļūdas kods parādās atkārtoti, informējiet Kärcher
klientu dienestu
E002 KS avārijas izslēg-
Nospiests avārijas apturēša-
Pagriežot, atbloķējiet avārijas slēdzi. Operators
šana deg sarkanā
nas slēdzis
krāsā
E003 KS saspiests gaiss
Saspiesta gaisa padeves spie-
Paaugstināt spiedienu.
Operators
deg sarkan
ā krāsā
diens ir pārāk zems
Izslēdziet aparātu, īsu brīdi pagaidiet, pēc tam atkal
ieslēdziet aparātu.
E004 KS dozēšana deg
Dozēšanas ierīces traucējums Izslēdziet aparātu, īsu brīdi pagaidiet, pēc tam atkal
Operators
sarkanā krāsā
ieslēdziet aparātu.
Ja kļūdas kods parādās atkārtoti, informējiet Kärcher
klientu dienestu
E005 KS strūklas pistole
Traucēts savienojums no ierī-
Pārbaudīt, vai vadības līnij
ā ir pareizi savienojumi.
Operators
deg sarkanā krāsā
ces uz strūklas pistoli.
Pārbaudīt, vai nav bojāts vadības kabelis.
E006 KS strūklas pistole
Strūklas pistolē vai vadības ka-
Nomainīt strūklas pistoli vai strūklas šļūteni ar vadī-
Operators
deg sarkanā krāsā
belī ir īssavienojums
bas kabeli.
E007 KS saspiests gaiss
Traucējums saspiesta gaisa
Sazināties ar klientu apkalpošanas dienestu. Operators
deg sarkanā krāsā
regulēšanas vārstā
E008 KS strūklas pistole
Ieslēgšanas laikā vai avārijas
Atlaist strūklas pistoles palaišanas gaili. Operators
deg oranžā krāsā
izslēgšanas pogas atbloķēša-
nas laikā bija nospiests strūk-
las pistoles palaišanas gailītis.
- 7
245LV

Traucējumi bez indikācijas displejā
Darbības traucē-
Iespējamais cēlonis Traucējuma novēršana Izpildītājs
jums
Displejs nerāda, kaut
Kontaktdakša nav iesprausta kontaktligzdā. Iespraudiet kontaktdakšu kontakligzdā. Operators
gan ir ieslēgts galve-
Nostrādājis drošinātājs F1 Noņemiet sānu apšuvumu un atbloķējiet drošinā-
Operators
nais slēdzis.
tāju F1, to paspiežot.
Nav saspiesta gaisa
Saspiesta gaisa padevei ir pārāk zems spie-
Pārbaudīt spiedienu. Operators
strūklas, neskatoties
diens
uz nospiestu gailīti
Iestatīts pārāk zems strūklas spiediens Iestatīt lielāku strūklas spiedienu. Operators
Pārtraukta sprieguma padeve Pārbaudīt elektroapgādi. Kontrolspuldzei „Ierīce
Operators
ieslēgta“ j
ādeg zaļā krāsā.
Nospiests avārijas apturēšanas slēdzis Pagriežot atbloķējiet avārijas izslēgšanas pogu.
Operators
Kontrolspuldzei „Ierīce ieslēgta“ jādeg zaļā krā-
sā.
Vadības līnija pieslēgta nepareizi Pārbaudīt savienojumu starp vadības līniju un
Operators
strūklas pistoli, kā arī starp vadības līniju un apa-
rātu.
Vadības līnijas defekts Nomainīt strūklošanas līdzekļa šļūteni. Operators
Saspiesta gaisa strūk-
Iestatīts pārāk zems strūklas spiediens Iestat
īt lielāku strūklas spiedienu. Operators
la pārāk vāja
Saspiesta gaisa padeves līnijai ir pārāk
Pārbaudīt spiedienu un padeves apjomu. Operators
mazs spiediens vai kompresora piegādāja-
mais apjoms pārāk zems.
Nobloķējies filtra ieliktnis ūdens atdalītājā. Nomainīt filtra ieliktni ABS ūdens atdalītāja (pa-
Operators
pildaprīkojums).
Strūklošanas materiāla šļūtene vai pistole ir
Ļaut šļūtenei un pistolei atkausēties un likvidēt
Operators
aizsērējusi
aizsērējumu. Palielināt darba spiedienu un/vai
samazināt sausā ledus dozēšanu.
Saspiesta gaisa strūk-
Izslēgta sausā ledus dozēšana (tikai IB 7/40
Nospiediet sausā ledus dozēšanas podu strūklas
Operators
lā nav ledus granulas
Advanced), sausā
ledus dozēšanas ieslēg-
pistolē.
šanas/izslēgšanas taustiņš uz strūklas pisto-
les deg sarkanā krāsā, displejā redzams "Ice
off".
Sausā ledus tvertne tukša Uzpildīt sausā ledus tvertni Operators
Sausais ledus ir sakusis Iztukšojiet sausā ledus tvertni un uzpildiet ar jau-
Operators
nām sausā ledus granulām.
Vibrators uz sausā ledus tvertne nedarbojas Sazināties ar klientu apkalpošanas dienestu. Operators
Dozētājierīces pievadmotors ir pārslogots Ļaut dozēšanas ierīcei atkausēties Operators
Saspiesta gaisa noplūde ledus tvertnē Iztīrīt spiediena izlīdzināšanas kanālu dozētājie-
Klientu ap-
rīcē.
kalpošanas
dienests
Dozē
šanas paplāksnes defekts dozētājierī-
Nomainīt dozēšanas paplāksni. Klientu ap-
cē
kalpošanas
dienests
246 LV
- 8

Tehniskie dati
Elektropadeve
Spriegums V 220...240
Strāvas veids 1~
Frekvence Hz 50
Pieslēguma jauda kW 0,6
Noplūdes strāva, tip. mA 7,5
FI tipa drošinātājs strāvas kritums A 0,03
Saspiests gaiss
Šļūtenes diametrs Collas 1/2
Padeves spiediens (maks.) MPa (bar) 1,0 (10)
Padeves spiediens (min.) MPa (bar) 0,2 (2)
Saspiesta gaisa patēriņšm
3
/min 0,5...3,5
Saspiesta gaisa kvalitāte *
Tehniskie dati attiecībā uz jaudu
Strūklas spiediens (maks.) MPa (bar) 1,0 (10)
(Maks.) sausā ledus granulu diametrs mm 3
Sausā ledus patēriņš kg/h 15...50
Gabarīti
Sausā ledus konteinera ietilpība kg 15
Platums mm 510
Dziļums mm 768
Augstums mm 1096
"IB 7/40 Classic" svars, gatavs darbam kg 93
Svars IB 7/40 Advanced, darbam gatavā stāvoklī kg 95
Svars IB 7/40 Classic, tukšs, bez piederumiem kg 70
Svars IB 7/40 Advanced, tukšs, bez piederumiem kg 71
Strūklas ierīces svars (strūklošanas materiāla šļūtene, strūklas pistole, instrumentu soma) kg 6,75
Pistoles atsitiena spēks (maks.) N 30
Strūklas pistoles (maks.) piegriešanas spēks, tikai leņķa sprauslai N 8
Aparāta vibrācijas
Strūklas pistole m/s² 1,2
Strūklošanas materiāla šļūtene m/s² 1,2
* sauss un bez eļļas piejaukumiem, kompresoram ir jāpieslēdz vismaz viens papildu dzesētājs un separators
Nepieciešamais saspiestais gaiss Trokšņu līmenis Trokšņa jaudas līmenis
A Spiediens megapaskālos (MPa)
A Spiediens megapaskālos (MPa)
B Spiediens bāros (bar)
B Spiediens bāros (bar)
A Spiediens megapaskālos (MPa)
C Trokšņa spiediena līmenis dB(A)
C Trokšņa jaudas līmenis dB(A)
B Spiediens bāros (bar)
1 Apaļas strūklas sprausla, īsa
1 Apaļas strūklas sprausla, īsa
C Tilpuma plūsma m
3
/min
2 Plakanstrūklas sprausla, īsa
2 Plakanstrūklas sprausla, īsa
1 taisnas sprauslas
3 Plakanstrūklas sprausla, sagriezta leņ-
3 Plakanstrūklas sprausla, sagriezta leņ-
2leņķī sagrieztas sprauslas
ķī
ķī
4 Apaļas strūklas sprausla, gara
4 Apaļas strūklas sprausla, gara
5 Plakanstrūklas sprausla, gara, piegā-
5 Plakanstrūklas sprausla, gara, piegā-
des komplektā
des komplektā
- 9
247LV

Piederumi
EK Atbilstības deklarācija
Ar šo mēs paziņojam, ka turpmāk minētā
Aizsargapģērbs
iekārta, pamatojoties uz tās konstrukciju un
Pilnas redzamības aizsargbrilles, aizsarg-
izgatavošanas veidu, kā arī mūsu apgrozī-
pārklājums, detaļas nr.: 6.321-208.0
bā laistajā izpildījumā
atbilst ES direktīvu
No aukstuma aizsargājoši cimdi ar pretslī-
attiecīgajām galvenajām drošības un vese-
dēšanas profilu, III kategorija pēc EN 511,
lības aizsardzības prasībām. Iekārtā izda-
detaļas nr.: 6.321-210.0
rot ar mums nesaskaņotas izmaiņas, šis
Austiņas ar savienojošo korpusu, detaļas
paziņojums zaudē savu spēku.
nr.: 6.321-207.0
Produkts: Sausā ledus strūklas ierīce
Strūklas ierīce
Tips: 1.574-xxx
Apaļas strūklas sprausla, īsa
Attiecīgās ES direktīvas:
Detaļas nr. 4.321-236.0
2006/42/EK (+2009/127/EK)
2004/108/EK
Apaļas strūklas sprausla, gara
Detaļas nr. 4.321-234.0
Piemērotās harmonizētās normas:
EN 55014–1: 2006 + A1: 2009
EN 55014–2: 1997 + A2: 2008
Plakanstrūklas sprausla, īsa
EN 60335–1
Detaļas nr. 4.321-237.0
EN 61000–3–2: 2006 + A2: 2009
EN 61000–3–3: 2008
Plakanstrūklas sprausla, gara, piegādes
EN 62233: 2008
komplektā
Izmantotie valsts standarti:
Detaļas nr. 4.321-235.0
GS-STE-13 (pēc parauga)
Apaļas strūklas sprausla, sagriezta leņķī
Detaļas nr. 4.321-249.0
Apakšā parakstījušās personas rīkojas uz-
ņēmuma vadības uzdevumā un pēc tās
Plakanstrūklas sprausla, sagriezta leņķī
pilnvarojuma.
Detaļas nr. 4.321-250.0
Skramblers
Detaļas nr. 4.110-015.0
CEO
Head of Approbation
Par dokumentāciju sastādīšanu atbildīgā
Sprauslu pagarinātājs, 300 mm garš
persona:
Detaļas nr. 5.760-001.0
S. Reiser
Rokturis
Alfred Kärcher GmbH & Co. KG
Detaļas nr. 4.321-248.0
Alfred-Kärcher-Str. 28 - 40
71364 Winnenden (Germany)
Darba apgaismojums
Tālr.: +49 7195 14-0
Detaļas nr. 2.815-421.0
Fakss: +49 7195 14-2212
Garantija
Winnenden, 2012/06/01
Katrā valstī ir spēkā mūsu uzņēmuma atbil-
dīgās sabiedrības izdotie garantijas nosa-
cījumi. Garantijas termiņa ietvaros
iespējamos Jūsu iekārtas darbības traucē-
jumus mēs novērsīsim bez maksas, ja to
cēlonis ir materiāla vai ražošanas defekts.
Garantijas remonta nepieciešamības gadī-
jumā ar pirkumu apliecinošu dokumentu
griezieties pie tirgotāja vai tuvākajā pilnva-
rotajā klientu apkalpošanas dienestā.
248 LV
- 10

Prieš pirmą kartą pradedant
Simboliai ant prietaiso
naudotis prietaisu, būtina ati-
džiai perskaityti originalią instrukciją, ja va-
Lietuviškai
dovautis ir saugoti, kad ja galima būtų
naudotis vėliau arba perduoti naujam savi-
ninkui.
Pavojus
Turinys
Šalto nudegimo pavojus. Sauso ledo tem-
peratūra siekia
Aplinkos apsauga . . . . . . . . LT . . 1
Pavojus
Saugos reikalavimai . . . . . . LT . . 1
Pavojus susižeisti lekiančiomis sauso ledo
Naudojimas pagal paskirtį. . LT . . 2
granulėmis. Purkštuvo nenukreipkite į žmo-
Veikimas . . . . . . . . . . . . . . . LT . . 2
nes. Prieš naudodami prietaisą pašalinkite
Valdymo elementai . . . . . . . LT . . 2
iš naudojimo vietos pašalinius asmenis ir
neprileiskite jų naudodami prietaisą (pvz.,
Naudojimo pradžia . . . . . . . LT . . 3
Pavojus
naudodami užtvarą).
Valdymas . . . . . . . . . . . . . . LT . . 4
Pavojus susižeisti lekiančiomis sauso ledo
Naudodami prietaisą, nelieskite antgalio ar
Naudojimo nutraukimas . . . LT . . 5
granulėmis arba nešvarumų dalelėmis.
sauso ledo srovės.
Transportavimas . . . . . . . . . LT . . 6
Naudokite gerai priglundančius apsaugi-
nius akinius.
Laikymas. . . . . . . . . . . . . . . LT . . 6
Pavojus pažeisti klausą. Naudokite klausos
Priežiūra ir aptarnavimas . . LT . . 6
organų apsaugos priemones.
Pagalba gedimų atveju . . . . LT . . 6
Techniniai duomenys . . . . . LT . . 9
Priedai. . . . . . . . . . . . . . . . . LT . 10
Pavojus
Garantija . . . . . . . . . . . . . . . LT . 10
Pavojus uždusti nuo anglies dvideginio.
EB atitikties deklaracija. . . . LT . 10
Sauso ledo granulės sudarytos ir tvirto an-
Aplinkos apsauga
glies dioksido. Naudojant prietaisą, darbo
vietoje padidėja anglies dvideginio koncen-
tracija ore. Pakankamai vėdinkite darbo
Pakuotės medžiagos gali būti
vietą, jei reikia, naudokite įspėjamąją įran-
perdirbamos. Neišmeskite pa-
gą. Didelės anglies dvideginio koncentraci-
kuočių kartu su buitinėmis
jos ore požymiai:
Pavojus
atliekomis, bet atiduokite jas
– 3...5%: galvos skausmas, dažnas kvė-
perdirbti.
Pavojus susižeisti lekiančiomis sauso ledo
pavimas.
granulėmis arba nešvarumų dalelėmis.
Naudotų prietaisų sudėtyje yra
– 7...10%: galvos skausmas, pykinimas,
Mūvėkite apsaugines pirštines pagal EN
vertingų, antriniam žaliavų
galimas sąmonės praradimas.
511 ir dėvėkite apsauginius drabužius ilgo-
perdirbimui tinkamų medžia-
Atsiradus šiems požymiams, nedelsdami
mis rankovėmis.
gų, todėl jie turėtų būti atiduoti
išjunkite prietaisą ir išeikite į gryną orą ir
Pavojus
perdirbimo įmonėms. Akumu-
prieš pradėdami dirbti iš naujo pagerinkite
Pavojus susižaloti dėl srovės smūgio. Prieš
liatoriai, alyvos ir panašios me-
vėdinimą arba naudokite kvėpavimo ap-
atidarydami valdymo spintą, ištraukite tin-
džiagos neturėtų patekti į
saugą.
klo kištuką iš lizdo.
aplinką. Todėl naudotus prie-
Anglies dioksidas yra sunkesnis už orą ir
taisus šalinkite pagal atitinka-
kaupiasi ankštose bei žemai esančiose pa-
Bendrieji saugos reikalavimai
mą antrinių žaliavų surinkimo
talpose ir uždarose talpyklose.
Pavojus
sistemą.
Užtikrinkite, kad darbo vieta būtų pakanka-
mai vėdinama.
Pavojus susižaloti netikėtai įsijungusiu prie-
Nurodymai apie sudedamąsias medžia-
Vadovaukitės sauso ledo gamintojo sau-
taisu. Prieš atlikdami prietaiso priežiūrą, iš-
gas (REACH)
gos duomenų lapu.
traukite tinklo kištuką lizdo.
Aktualią informaciją apie sudedamąsias
Pavojus
dalis rasite adresu:
www.kaercher.com/REACH
Pavojus nudegti sausu ledu arba šaltomis
prietaisų dalimis. Atlikdami prietaiso prie-
Saugos reikalavimai
žiūrą naudokite nuo šalčio apsaugančius
drabužius arba pašalinkite iš prietaiso sau-
Šį prietaisą naudoti gali tik naudojimo ins-
są ledą ir palaukite, kol jis atšils.
trukciją perskaitę ir supratę asmenys. Ypač
Pavojus
Jokiu būdu nedėkite sauso ledo į burną.
svarbu laikytis visų saugos reikalavimų.
Dėl elektrostatinės iškrovos kyla pavojus
Šią naudojimo instrukciją laikykite to-
몇 Įspėjimas
susižaloti ir pažeisti elektroninius elemen-
kioje vietoje, kad ji nuolat būtų pasiekia-
tus. Atliekant valymą, valomas daiktas galį
Nelaimingo atsitikimo pavojus dėl purkštu-
ma naudotojui.
elektriškai įsikrauti. Valomą daiktą įžemin-
vo atatrankos. Prieš paspausdami purkštu-
kite ir išlaikykite įžeminimą, kol jį valysite.
vo spragtuką, raskite purkštuvui tvirtą
Rizikos lygiai
atramą ir jį tvirtai laikykite.
Pavojus
Pavojus
Pavojus
Pavojus susižaloti dėl srovės smūgio. Prieš
Žymi gresiantį tiesioginį pavojų, galintį su-
atidarydami valdymo spintą, ištraukite tin-
Pavojus susižeisti lekiančiais daiktais. Už-
kelti sunkius sužalojimus arba mirtį.
klo kištuką iš lizdo.
fiksuokite mažas valomąsias priemones,
몇 Įspėjimas
kad jos nelėktų kartu su sauso ledo srove.
Žymi galimą pavojų, galintį sukelti sunkius
몇 Įspėjimas
sužalojimus arba mirtį.
Nenaudokite prietaiso, jei jo darbo zonoje
Atsargiai
asmenų, nedėvinčių apsauginės aprangos.
Žymi galimą pavojų, galintį sukelti lengvus
Nenaudokite prietaiso, jei pažeistas jungia-
sužalojimus arba materialinius nuostolius.
masis laidas arba svarbios prietaiso dalys,
- 1
249LT

pvz., apsauginiai įtaisai, purškiamoji žarna,
Valdymo elementai
Valdymo plotas
purškimo pistoletas.
Dozatorius kelia suspaudimo pavojų. Prieš
Prietaisas
pašalindami sauso ledo kameros apsaugi-
nę skardą, būtinai ištraukite prietaiso kištu-
ką iš lizdo.
Teisės aktai ir direktyvos
Naudojant įrenginį Vokietijos Federacinėje
Respublikoje galioja šie teisės aktai ir di-
rektyvos (galima įsigyti iš Carl Heymanns
Verlag KG, Luxemburger Straße 449,
50939 Kelnas):
– BGV D 26 Purškimo darbai
1 Statistikos duomenų mygtukas, skirtas
– BGV D 26 vykdymo instrukcija
pakeisti skaitiklio rodmenis
– BGR 117 Darbai patalpose
2 Mygtukas Sauso ledo kameros ištušti-
– BGR 189 Apsauginių drabužių naudoji-
nimas
mas
3 Ekranas
– BGR 195 Apsauginės avalynės naudo-
4 Mygtukas Padidinti srovės slėgį
jimas
5 Mygtukas Sumažinti srovės slėgį
– BGR 500 darbas purškimo įrenginiais
6 Mygtukas Padidinti sauso ledo kiekį
– BGR 534 Darbai mažose patalpose
7 Mygtukas Sumažinti sauso ledo kiekį
– BGI 836 Dujų signalizacija
8 Prietaiso jungiklis
9 Avarinis išjungiklis
Saugos įranga
10 Raktinis jungiklis
Avarinis išjungiklis
Ekranas
Jei paspaudžiamas avarinis išjungiklis, su-
stabdomas sauso ledo dozavimas ir nu-
traukiama oro srovė iš purkštuko.
1Stūmimo rankena
Avarinis išjungimas
2 Sauso ledo kameros dangtis
3 Purkštuvo laikiklis
Atleiskite purkštuvo spragtuką.
4 Priedų dėtuvė
Paspauskite avarinį išjungiklį.
5 Valdymo plotas
Sauso ledo dozatorius sustabdomas ir iš
6 Valdymo linijos jungtis
antgalio nustojamas pūsti oras.
7 Įžeminimo lynas su gnybtu (tik „IB 7/
Sustabdykite suslėgto oro tiekimą.
40 Advanced“, pasirinktis modeliui „IB
Naudojimas pagal paskirtį
7/40 Classic“)
8 Purškiamosios žarnos jungtis
Prietaisas skirtas šalinti nešvarumus sauso
9 Varomieji ratai su stovėjimo standžiais
ledo granulėmis, kurias greitina oro srovė.
10 Transportavimo rankena, apsauginis
Prietaisą draudžiama naudoti sprogimo at-
gnybtas
žvilgiu pavojingoje aplinkoje.
11 Sauso ledo išleidimo anga kameros iš-
Purškiamai srovei gali būti naudojamos tik
tuštinimui
sauso ledo granulės. Naudodami kitokias
1 Kontrolinė valdymo įtampos lemputė
medžiagas galite pažeisti prietaisą.
žalia: Valdymo įtampa gera
Veikimas
raudona: Valdymo įtampa per žema
geltona: Sauso ledo kameros išleidimo
Suslėgtas oras per slėgio reguliavimo vož-
anga yra įjungta
tuvą patenka į purkštuvą. Paspaudus
2 Avarinio išjungimo kontrolinė
lemputė
purkštuvo spragtuką, atsidaro vožtuvas ir
oro srovė išsiveržia iš purkštuvo. Į oro sro-
raudona: Avarinis išjungiklis įjungtas
vę per dozatorių papildomai įpurškiama
žalia: Avarinis išjungiklis išjungtas
sauso ledo granulių. Naudojant modelį
3 Suslėgto oro kontrolinė lemputė
„IB 7/40 Advanced“, papildomą dozavimą
žalia: Slėgis geras
galima išjungti purkštuvu. Sauso ledo gra-
oranžinė: pasirinktas srovės slėgis ne-
nulės atsimuša į valomą paviršių ir pašalina
pasiektas
nešvarumus. Sauso ledo granulės, kurių
raudona: Slėgis per mažas (mažiau
temperatūra yra -79 °C, sukelia papildomą
negu 0,15 MPa/1,5 bar)
karščio įtampą tarp valomo paviršiaus ir ne-
4 Dozatoriaus kontrolinė lemputė
švarumų, kuri taip pat padeda pašalinti ne-
žalia: Varomasis mechanizmas veikia
švarumus. Be to, purškiamas sausas ledas
gerai
iš karto pavirsta į dujų pavidalo anglies dvi-
raudona: Gedimas varomajame me-
deginį ir taip lemia 700 kartų didesnę apim-
chanizme
1 Kabelio laikiklis
tį. Taip atskirti nešvarumai pašalinami nuo
5 Purkštuvo kontrolinė lemputė
2 Maitinimo kabelis su kištuku
valomo paviršiaus.
žalia: Purkštuvas veikia gerai
3 Redukcinis vožtuvas, kondensato išlei-
Veikiant srovei vienas vibracinis stendas
oranžinė: Purkštuvo spragtukas įjungtas
dimas iš vandens atskyriklio
prie sauso ledo kameros naudojamas nuo-
raudona: Purkštuvas išjungtas arba su-
4 Suslėgto oro jungtis
latinio sauso ledo granulių slydimui.
gadinta valdymo linija
5 Nuosėdų išleidimo vieta
6 Ekranas
6 Saugiklis F1, po šonine uždanga
250 LT
- 2

Purškiamasis įrenginys
Antgaliai
Smulkintuvas (priedas)
Smulkintuvas smulkina sauso ledo granu-
Pastaba
les ir tvirtinamas tarp purkštuvo ir antgalio.
Antgalio pasirinkimas priklauso nuo valomo
4 perforuotųjų plokščių išlygiavimas smul-
objekto medžiagos ir nešvarumo.
kintuve lemia susmulkinimo lygį.
Visi antgaliai be įrankių užsukami ant
Pasirinkite susmulkinimo lygį:
purkštuvo sriegio. Prie antgalių pritvirtinti
plotai raktams skirti raktu atsukti tvirtai be-
silaikančius antgalius.
Pavojus
Pavojus susižaloti netikėtai įsijungusiu prie-
taisu. Prieš keisdami antgalį, išjunkite prie-
taisą.
몇 Įspėjimas
Pavojus susižaloti prisilietus prie šalto ant-
galio. Prieš liesdami palaukite, kol antgalis
įšils arba mūvėkite apsaugines pirštines.
Atsargiai
Nušalimo pavojus. Prieš montuodami, ant-
1 Antgalis
galio sriegį patepkite bet kokiu tirštuoju te-
2 Purkštuvas
palu.
3 Purkštuvo spragtukas
Srovės antgaliai
4 Apsaugos mygtukas
Prie pakuotėje esančio plokščiojo srovės
5 Purškiamosios žarnos jungtis
antgalio kaip priedai galimi kiti skirtingų mo-
6 Valdymo linijos jungtis
delių plokštieji ir apvalieji srovės antgaliai.
Tik „IB 7/40 Advanced“:
7 Mygtukas Sauso ledo tiekimo įjungi-
mas/išjungimas
1 Veržlinė jungtis
Šviečia raudonai, kai sauso ledo doza-
2 Magazinas
torius išjungtas
3 Skylėta plokštelė
8 Mygtukas Padidinti sauso ledo kiekį
9 Mygtukas Padidinti srovės slėgį
Atsukite varžtus.
10 Mygtukas Sumažinti srovės slėgį
Išimkite magaziną su skylėtomis plokš-
11 Mygtukas Sumažinti sauso ledo kiekį
telėmis.
Naudojimo pradžia
Pavojus
Pavojus susižeisti lekiančiomis sauso ledo
granulėmis.
Paruošdami prietaisą naudoti, patikrinkite
visų elementų, o ypač purškiamosios žar-
nos būklę. Pažeistus elementus pakeiskite
tvarkingais.
Užsiteršusius elementus išvalykite ir pati-
krinkite, ar jie tinkamai veikia.
Prietaisą pastatykite ant lygaus, hori-
Skylėtas plokšteles įmontuokite maga-
zontalaus pagrindo ir blokuokite varo-
zine kaip parodyta viršuje (3 galimy-
mųjų ratų stovėjimo stabdį.
bės). Pateikti matmenys paveikslėlyje
1 Apvalusis srovės antgalis, trumpas
Prijunkite prie prietaiso purškiamąją
nurodo skylučių dydį.
2 Apvalusis srovės antgalis, ilgas
žarną ir apsaugokite ją.
Įdėkite magaziną su skylėtomis plokš-
3 Plokščiasis srovės antgalis, trumpas
Purškiamąją žarną prijunkite prie purkš-
telėmis į kodavimo įrenginį.
4 Plokščiasis srovės antgalis, ilgas, yra
tuvo ir apsaugokite.
Įsukite ir užveržkite varžtus.
pakuotėje
Prijunkite prie prietaiso valdymo liniją.
5 Apvalusis srovės antgalis, lenktas, su
Antgalio ilgintuvas (priedas)
Valdymo liniją prijunkite prie purkštuvo.
gumine apsauga
Tarp purkštuvo ir antgalio galite prijungti il-
6 Plokščiasis srovės antgalis, lenktas, su
gintuvą.
gumine apsauga
Antgalį uždėkite ant purkštuvo sriegio ir
prisukite ranka.
- 3
251LT

Naudodami prietaisą, nelieskite antgalio
Rankena (priedas)
Valdymas
angos ar sauso ledo srovės.
Rankeną galima pritvirtinti prie ilgintuvo.
Prieš atjungdami purškiamąją žarną nuo
Sauso oro pripildymas
purkštuvo, būtinai atjunkite suslėgto oro tie-
Pavojus
kimą iš purkštuvo į žarną, pašalinkite slėgį
iš prietaiso ir ištraukite tinklo kištuką iš liz-
Šalto nudegimo pavojus. Sauso ledo tem-
do.
peratūra siekia -79 °C. Be apsauginių prie-
Atitverkite darbo vietą ir užtikrinkite, kad
monių nelieskite sauso ledo ir šaltų
darbo metu ten nepatektų pašaliniai as-
prietaisų dalių. Dėvėkite apsaugines piršti-
menys.
nes ir apsauginius drabužius.
Atidarykite sauso ledo kameros dangtį.
Pavojus
Patikrinkite, ar sauso ledo kameroje
Pavojus uždusti nuo anglies dvideginio.
nėra svetimkūnių ir nuosėdų, radę, juos
Sauso ledo granulės sudarytos ir tvirto an-
pašalinkite.
glies dioksido. Naudojant prietaisą, darbo
Darbinis apšvietimas (priedas)
Pripildykite į kamerą sauso ledo.
vietoje padidėja anglies dvideginio koncen-
tracija ore. Pakankamai vėdinkite darbo
Atsargiai
vietą, jei reikia, naudokite įspėjamąją įran-
Pavojus pažeisti prietaisą. Purškiamai sro-
gą. Didelės anglies dvideginio koncentraci-
vei gali būti naudojamos tik sauso ledo gra-
jos ore požymiai:
nulės. Naudojant kitokias medžiagas
– 3...5%: galvos skausmas, dažnas kvė-
purškimui prarandama garantijos teisė.
pavimas.
Uždarykite sauso ledo kameros dangtį.
– 7...10%: galvos skausmas, pykinimas,
Pastaba
galimas sąmonės praradimas.
Norint išvengti prietaiso gedimų dėl ištirpu-
Atsiradus šiems požymiams, nedelsdami
sių sauso ledo granulių, geriausia sunau-
išjunkite prietaisą ir išeikite į gryną orą ir
doti visą sauso ledo kameros turinį prieš ją
prieš pradėdami dirbti iš naujo pagerinkite
Darbinis apšvietimas pritvirtinamas tarp
vėl pripildant nauju sausu ledu. Prieš ilges-
vėdinimą arba naudokite kvėpavimo ap-
purkštuvo ir antgalio. Į- ir išjungimas yra ap-
nę prietaiso veikimo pertrauką, su juo rei-
saugą.
rašytas skyriuje „Naudojimas/Pagrindiniai
kėtų dirbti tol, kol sauso ledo kamera
Vadovaukitės sauso ledo gamintojo sau-
nustatymai“.
ištuštėja arba ją bū
tina ištuštinti funkcijos
gos duomenų lapu.
Sauso ledo ištuštinimas pagalba.
Suslėgto oro tiekimo prijungimas
Pavojus
Nuostatos
Pastaba
Saugokitės sveikatai pavojingų medžiagų.
Jei dirbant gali atsirasti sveikatai pavojingų
Kad prietaisas veiktų be gedimų, suslėgtame
Pastaba
dulkių, prieš darbo pradžią imkitės reikiamų
ore turi būti mažas drėgmės kiekis (maksima-
Reikalingos nuostatos priklauso nuo to, iš
liai 5% atitinkamos oro drėgmės, prisotinimo
saugos priemonių.
kokios medžiagos pagamintas valomas pa-
temperatūra žemiau 0°C). Suslėgtame ore
Pavojus
viršius ir į užterštumą.
neturi būti naftos, purvo ir svetimkūnių.
Pasukę atblokuokite avarinį išjungiklį.
Sprogimo pavojus!
Suslėgtas oras turi būti sausas ir neužterš-
Prietaiso jungiklį nustatykite ties „I“.
Nedirbinėkite vienu metu lengvųjų metalų ir
tas alyva, o prie kompresoriaus turi būti pri-
geležies sudėtyje turinčių dalių.
Pasukite raktinį jungiklį laikrodžio rody-
jungtas aušintuvas ir atskyriklis.
Jei pakaitomis apdirbami lengvieji metalai ir
klės kryptimi.
Užsukite slėgio sumažinimo sklandį.
geležies sudėtyje turinčios dalys, prieš pra-
Srovės slėgį nustatykite su mygtukais
Suslėgto oro tiekimo laidą prijunkite prie
dėdami apdirbti kitą medžiagą, išvalykite
prietaiso suslėgto oro jungties.
Padidinti/sumažinti srovės slėgį
darbo patalpą ir siurbimo įrenginį.
Negalima viršyti maksimalaus leistino
Pastaba
Dirbdami mažose patalpose, užtikrinki-
1MPa (10 bar) slėgio.
Kuo didesnis nustatytas srovės slėgis, tuo
te gerą vėdinimą, kad anglies dvidegi-
intensyvesnis valymo poveikis.
Įjunkite prietaisą į elektros tinklą
nio koncentracija patalpoje nepasiektų
Sauso ledo tiekimą nustatykite su myg-
pavojingos ribos.
Pavojus
tukais Padidinti/sumažinti sauso ledo
Prireikus pritvirtinkite valomą daiktą.
Srovės smūgio pavojus.
tiekimą.
Pavojus
Naudojamas elektros tinklo lizdas turi būti
Raktinį jungiklį pasukite prieš laikrodžio
Dėl elektrostatinės iškrovos kyla pavojus
sumontuotas elektriko ir atitikti standarto
rodyklę ir ištraukite raktą.
IEC 60364-1 reikalavimus.
susižaloti ir pažeisti elektroninius elemen-
Automatiškai užsiveriant rakto skylutei
Prietaisą junkite tik prie įžeminto srovės
tus. Atliekant valymą, valomas daiktas galį
neleidžiama nešvarumams patekti į
šaltinio.
elektriškai įsikrauti. Valomą daiktą įžemin-
vidų prietaiso veikimo metu.
Naudojamas tinklo lizdas turi būti lengvai
kite ir išlaikykite įžeminimą, kol jį valysite.
Ištraukus raktą, prietaisas apsaugomas
prieinamoje vietoje, 0,6–1,9 m aukštyje virš
몇 Įspėjimas
nuo nustatymų pakeitimų ir statistinių
grindų.
duomenų atstatymo.
Į sauso ledo granulių kamerą patekus sve-
Tinklo lizdas turi būti operatoriui matomoje
timkūniams, kyla pažeidimo pavojus. Nau-
vietoje.
Naudojimas
dojant sauso ledo granulių kamerą, jos
Prietaise turi būti įrengtas apsauginis B tipo
Techninės priežiūros darbus atlikite
dangtelis turi būti uždarytas.
30 mA laikinosios srovės jungiklis.
Kiekvieną kartą prieš naudodami prietaisą,
kasdien prieš darbo pradžią (žr. skyrių
Įžeminimo lyną (tik „IB 7/40 Advanced“
„Priežiū
modelyje) elektros srovei laidžiu būdu
patikrinkite, ar nepažeistas prietaiso maiti-
ra ir aptarnavimas“).
sujunkite su valomu daiktu arba valomą
nimo kabelis. Jei pažeistas maitinimo kabe-
Pavojus
daiktą įžeminkite kitu būdu.
lis, nenaudokite prietaiso. Pažeistą
Pavojus susižeisti lekiančiomis sauso ledo
maitinimo kabelį privalo pakeisti elektrikas.
Naudokite apsauginius drabužius, pirš-
granulėmis. Purkštuvo nenukreipkite į žmo-
Naudojamas ilgintuvas turi užtikrinti IPX4
tines, gerai priglundančius apsauginius
nes. Prieš naudodami prietaisą pašalinkite
apsaugą, o kabelio konstrukcija atitikti bent
akinius ir klausos organų apsaugos
iš naudojimo vietos pašalinius asmenis ir
H 07 RN-F 3G1,5.
priemones.
neprileiskite jų naudodami prietaisą (pvz.,
Įkiškite prietaiso kištuką į rozetę.
Įjunkite suslėgto oro tiekimą.
naudodami užtvarą).
252 LT
- 4

Pasukę atblokuokite avarinį išjungiklį.
Statistikos duomenų funkcija
Nustaty-
Aprašymas
Pasirinkite saugią vietą stovėti ir užti-
mų inter-
krinkite tvirtą kūno laikyseną, kad
Atkurkite duomenis
valas
purkštuvo atatranka negalėtų Jūsų iš-
Prietaiso jungiklį nustatykite ties „I“.
mušti iš pusiausvyros.
Trumpai paspaudus statistikos duome-
Siekiant užkirsti kelią staigiai atatran-
Meniu įrašas
nų mygtuką, parodoma prietaiso veiki-
kai, galima nustatyti lėtą srovės slėgio
mo trukmė.
0, 1, 2, 3,
Švelnus įsibėgėjimas,
didėjimą (žr. skyrių „Naudojimasis/Pa-
t: Prietaiso veikimo trukmė nuo paskuti-
4, 5 se-
trukmė: kol pasiekiamas
grindiniai nustatymai“, meniu įrašą
niojo duomenų atstatymo.
kundės
pasirinktas srovės slėgis
Švelni pradžia).
T: Bendra prietaiso veikimo trukmė.
Paspauskite purkštuvo apsaugos myg-
tuką.
Trumpai paspaudus statistikos duome-
Švelni pradžia
Paspausdami purkštuvo spragtuką,
nų mygtuką, parodomas perdirbtas
1, 2, 3, 4,
Sauso ledo ištuštinimo
įjunkite sauso ledo srovę ir atlikite valy-
sauso ledo kiekis.
5 minutės
veiksmo trukmė
mo veiksmus.
m: Sauso ledo kiekis nuo paskutiniojo
Pastaba
duomenų atstatymo.
M: Bendras sauso ledo kiekis.
Modelyje IB 7/40 Advanced papildomas
T_išmetimas
sauso ledo granulių dozavimas išjungia-
Trumpai paspaudus statistikos mygtu-
metrinė,
Matmenys
mas ir įjungiamas naudojant sauso ledo do-
ką, parodomas vidutiniškai sunaudoja-
nustatyto-
metriniai: kg/h, MPa
zavimo įjungimo/išjungimo mygtuką, esantį
mas sauso ledo kiekis.
ji
standartiniai: lbs, psi
ant purkštuvo. Kai dozavimas išjungtas,
q: Vidutiniškai sunaudojamo sauso ledo
Kalba
mygtukas šviečia raudonai, ekrane rodoma
kiekis nuo paskutiniojo duomenų atsta-
ON/OFF Į-/išjungti antgalio ap-
„Ice off“ (ledo tiekimas išjungtas).
tymo.
švietimą (parinktis)
Modelyje „IB 7/40 Advanced“ purkštuvu
Q: Bendras vidutiniškai sunaudojamas
papildomai galima reguliuoti srovės slėgį ir
sauso ledo kiekis.
sauso ledo kiekį
.
Apšvietimas
Atstatykite duomenis.
몇 Įspėjimas
Pasukite raktinį jungiklį laikrodžio rody-
ON/OFF Demonstracinis veiki-
Pavojus pažeisti dozatorių dėl purvo.
klės kryptimi.
mas: Imituojamas nau-
Purkšdami sauso ledo granules, laikykite
dojimas, suslėgto oro ir
Paspauskite mygtuką Statistikos duo-
uždarytą sauso ledo granulių kamerą, kad į
sauso ledo tiekimas su-
menys 4 sekundes.
ją nepatektų lekiantys nešvarumai.
stabdytas.
Pastaba
Avarinis išjungimas
Bendrųjų duomenų negalima ištrinti.
Atleiskite purkštuvo spragtuką.
Pagrindiniai parametrai
Paspauskite avarinį išjungiklį.
Demonstracinis režimas
Tuo pačiu metu spauskite ir tvirtai laiky-
Sauso ledo dozatorius sustabdomas ir iš
kite mygtukus Padidinti srovę ir Suma-
Užbaigti pagrindinius nustatymus
antgalio nustojamas pūsti oras.
žinti srovę, pasukite raktinį jungiklį
Pasukti raktinį jungiklį prieš laikrodžio
Sustabdykite suslėgto oro tiekimą.
laikrodžio rodyklės kryptimi.
rodyklę.
Esant įjungtam darbo režimui Pagrindiniai
Prietaiso įjungimas po to, kai buvo
Naudojimo nutraukimas
nustatymai, mygtukai atlieka tokias funkci-
paspaustas avarinis išjungiklis
jas:
Pavojus
Pasukę atblokuokite avarinį išjungiklį.
Šalto nudegimo pavojus. Sauso ledo tem-
Darbo nutraukimas
peratūra siekia -79 °C. Be apsauginių prie-
monių nelieskite sauso ledo ir šaltų
Atleiskite purkštuvo spragtuką.
prietaisų dalių. Dėvėkite apsaugines piršti-
Darbo pertraukų metų purkštuvą galite
nes ir apsauginius drabužius.
laikyti ant prietaiso laikiklio.
Pavojus
Pavojus susižeisti lekiančiomis sauso ledo
Pastaba
granulėmis. Purkštuvo nenukreipkite į žmo-
Darant ilgesnę prietaiso veikimo pertrauką
nes. Prieš naudodami prietaisą pašalinkite
sauso ledo kameroje gali ištirpti sauso ledo
iš naudojimo vietos pašalinius asmenis ir
granulės. Nedaryti ilgesnės nei 20 minučių
neprileiskite jų naudodami prietaisą (pvz.,
1 Padidinti vertę
prietaiso veikimo pertraukos. Prieš daryda-
naudodami užtvarą).
mi ilgesnę prietaiso veikimo pertrauką, iš-
2 Sumažinti vertę
Nutraukite suslėgto oro tiekimą.
tuštinkite sauso ledo kamerą.
3 Meniu įrašas į viršų
Po nuosėdų nusėdimo vieta pastatykite
4 Meniu įrašas į apačią
Nupūskite nuosėdas
nuosėdų surinkimo indą.
Lėtai atidarykite slėgio sumažinimo
Vandens filtras valo prietaisui tiekiamą su-
sklandį ir laukite, kol nuosėdos ir su-
slėgtą orą. Todėl nuosėdos nugula van-
slėgtas oras pasišalins iš prietaiso.
dens filtre, kurį laikas nuo laiko reikia
Surinkimo indą pastatykite po sauso
ištuštinti.
ledo išleidimo anga.
Po nuosėdų nusėdimo vieta pastatykite
nuosėdų surinkimo indą.
Paspauskite mygtuką Sauso ledo ka-
meros ištuštinimas ir laukite, kol sauso
Lėtai atidarykite slėgio sumažinimo
ledo kamera ištuštės.
sklandį ir laukite, kol nuosėdos pasiša-
lins iš prietaiso.
Sauso ledo ištuštinimas sustoja po nu-
statyto laiko (žr. skyrių „Pagrindiniai nu-
Pastaba
statymai“).
Dėl aplinkos apsaugos prašome nuosėdas
pašalinti nekenkiant aplinkai.
- 5
253LT

Jei reikia, daug kartų spauskite mygtu-
drabužius arba pašalinkite iš prietaiso sau-
Aptarnavimo darbai
ką Sauso ledo kameros ištuštinimas.
są ledą ir palaukite, kol jis atšils.
Pastaba
Jokiu būdu nedėkite sauso ledo į burną.
Pakeiskite filtro kasetę vandens filtre.
Dėl aplinkos apsaugos prašome nuosėdas
몇 Įspėjimas
pašalinti nekenkiant aplinkai.
Pažeidimo pavojus. Purkštuvo nevalykite
Prietaiso jungiklį nustatykite į padėtį „0/
tirpikliais, benzinu arba alyvos savo sudėty-
OFF“.
je turinčiomis valomosiomis priemonėmis.
Atjunkite suslėgto oro tiekimą prietaisui.
Sutartis dėl aptarnavimo darbų
Ištraukite prietaiso kištuką iš kištukinio
Siekiant užtikrinti patikimą įrangos veikimą,
lizdo.
rekomenduojama sudaryti techninės prie-
Nuvalykite ir suvyniokite įžeminimo lai-
žiūros sutartį. Kreipkitės į vietinę „Kärcher“
dą.
techninės priežiūros tarnybą.
Transportavimas
Aptarnavimo planas
1 Varžtas
Pavojus
Kas dieną prieš darbo pradžią
Atidžiai patikrinkite, ar neįtrūkusi, nesu-
2 Apatinė dalis
Nelaimingo atsitikimo pavojus dėl sauso
ledo likučių prietaise. Prieš transportuoda-
lenkta ir kitaip nepažeista purškiamoji
3 Veržlė
mi prietaisą uždarose transporto priemonė-
žarna. Minkštos vietos žarnoje parodo
4 Diskas
se, visiškai pašalinkite iš prietaiso sausą
vidinės žarnos pusės nusidėvėjimą. Su-
5 Filtro kasetė
ledą, kad apsaugotumėte kartu važiuojan-
gedusią arba panaudotą žarną pakeis-
6 Viršutinė dalis
čius asmenis nuo anglies dvideginio povei-
kite nauja.
kio.
Patikrinkite, ar nepažeisti elektros laidai
Išsukite 4 varžtus.
ir tinklo kištukas. Pažeistas dalis per-
Atsargiai
Nuimkite apatinę dalį.
duokite pakeisti klientų aptarnavimo
Sužalojimų ir pažeidimų pavojus! Transpor-
Nusukite veržlę.
tarnybai.
tuojant prietaisą, reikia atsižvelgti į jo svorį.
Nuimkite diską.
Prieš transportuodami prietaisą, atlikite
Kas 100 eksploatavimo valandų
Išimkite filtro kasetę ir pakeiskite ją nau-
visus skyriuje „Naudojimo nutraukimas“
Patikrinkite purškiamosios žarnos jung-
ja.
nurodytus veiksmus.
tis prie prietaiso ir purkštuvo. Pakeiskite
Vėl surinkite vandens atskyriklį atvirkš-
Įkelkite prietaisą į transporto priemonę.
pažeistą žarną, o pažeistas prietaiso ar
tine tvarka.
Blokuokite varomųjų ratų stovėjimo
purkštuvo jungtis perduokite pakeisti
Patikros
stabdį.
klientų aptarnavimo tarnybai.
Pritvirtinkite prietaisą transporto prie-
Patikrinkite, ar nepažeistas ir sandarus
Pagal BGV D 26 ekspertai turi atlikti šias
monėje įtempiamaisiais diržais.
dozatorius. Radę pažeidimų ar nesan-
patikras. Patikros rezultatai turi būti pateikti
darių vietų, kreipkitės į klientų aptarna-
patikros pažymoje. Patikros pažymą prie-
Laikymas
vimo tarnyb
ą.
taiso naudotojas privalo saugoti iki kitos pa-
Patikrinkite, ar tvirtai laikosi galinių ratų
tikros.
Atsargiai
tvirtinimo uždangos.
Po ilgiau nei vienerius metus trukusios
Sužalojimų ir pažeidimų pavojus! Pastatant
darbo pertraukos
laikyti prietaisą, reikia atsižvelgti į prietaiso
Kas 500 valandų arba kasmet
Patikrinkite prietaiso kokybę ir veikimą.
svorį.
Patikrinkite prietaisą klientų aptarnavi-
Šį prietaisą galima laikyti tik patalpose.
mo tarnyboje.
Pakeitę prietaiso stovėjimo vietą
Pavojus
Kas 2 metus
Patikrinkite prietaiso kokybę, veikimą ir
Pavojus uždusti nuo susikaupusio anglies
Ne rečiau nei kas 2 metus pakeiskite
stabilumą.
dvideginio. Sauso ledo granules laikykite
purškiamąją žarną.
Atlikę remonto darbus arba pakeiti-
tik gerai vėdinamose vietose.
Prietaiso atidarymas
mus, kurie gali paveikti darbo saugą
Patikrinkite prietaiso kokybę, veikimą ir
Priežiūra ir aptarnavimas
Norėdami atlikti tam tikrus priežiūros dar-
stabilumą.
bus, turite nuimti šonines prietaiso uždan-
Pastabos dėl priežiūros
gas:
Pagalba gedimų atveju
Įrenginys saugiai veiks, jei bus reguliariai ti-
Pavojus!
krinamas pagal šį priežiūros planą.
Atliekant prietaiso priežiūrą, kyla nelaimin-
Naudokite tik originalias arba gamintojo re-
go atsitikimo pavojus. Prieš vykdydami
komenduojamas atsargines dalis, pavyz-
prietaiso priežiūra, atlikite visus skyriuje
džiui:
„Naudojimo nutraukimas“ nurodytus veiks-
– atsargines ir susidėvinčias dalis,
mus.
– papildomos įrangos dalis,
Pavojus
– eksploatacines medžiagas,
Pavojus nudegti sausu ledu arba šaltomis
– valiklius.
prietaisų dalimis. Atlikdami prietaiso prie-
Pavojus!
žiūrą naudokite nuo šalčio apsaugančius
Atliekant prietaiso priežiūrą, kyla nelaimin-
1 Šoninė uždanga
drabužius arba pašalinkite iš prietaiso sau-
go atsitikimo pavojus. Prieš vykdydami
2 Fiksatoriai
są ledą ir palaukite, kol jis atšils.
prietaiso priežiūra, atlikite visus skyriuje
Jokiu būdu nedėkite sauso ledo į burną.
„Naudojimo nutraukimas“ nurodytus veiks-
Greitai uždarę, atidarykite sukdami
mus.
prieš laikrodžio rodyklę.
Pavojus
Nuimkite šonines prietaiso uždangas.
Pavojus nudegti sausu ledu arba šaltomis
prietaisų dalimis. Atlikdami prietaiso prie-
žiūrą naudokite nuo šalčio apsaugančius
254 LT
- 6

Ekrane rodomi sutrikimai
Ekrano
Kontrolinė lempu-
Galimos priežastys Šalinimas Kas turi
rodmuo
tė (KL)
pašalinti
E001 KL Valdymo įtampa
Valdymo įtampa per žema Įrenginį išjunkite, truputį palaukę vėl įjunkite.
Naudotojas
šviečia raudonai
Patikrinkite kištukinį lizdą.
Jei vėl rodomas sutrikimo kodas, kreipkitės į Kärcher
klientų aptarnavimo tarnybą.
E002 KL Avarinis išjungi-
Paspaustas avarinis išjungiklis Pasukę atblokuokite avarinį išjungiklį. Naudotojas
mas šviečia raudo-
nai
E003 KL Suslėgtas oras
Per mažas suslėgto oro tieki-
Padidinkite slėgį.
Naudotojas
šviečia raudonai
mo slėgis
Įrenginį išjunkite, truputį palaukę vėl įjunkite.
E004 KL Tiekimas šviečia
Gedimas dozuojant Įrenginį išjunkite, truputį
palaukę vėl įjunkite.
Naudotojas
raudonai
Jei vėl rodomas sutrikimo kodas, kreipkitės į Kärcher
klientų aptarnavimo tarnybą.
E005 KL Purkštuvas švie-
Pažeistas prietaiso ir purkštuvo
Patikrinkite, ar teisingai sujungtos sujungimo movos
Naudotojas
čia raudonai
sujungimas.
valdymo linijoje.
Apžiūrėkite, ar nepažeistas valdymo laidas.
E006 KL Purkštuvas švie-
Trumpas sujungimas purkštu-
Pakeiskite purkštuvą arba purškiamąją žarną valdy-
Naudotojas
čia raudonai
ve arba valdymo laide
mo kabeliu.
E007 KL Suslėgtas oras
Gedimas suslėgto oro jungtyje Kreipkitės į klientų aptarnavimo tarnybą. Naudotojas
šviečia raudonai
E008 KL Purkštuvas švie-
Įjungimo arba avarinio išjungi-
Atjunkite purkštuvo spragtuką. Naudotojas
čia oranžine spalva
mo mygtuko paspaudimo metu
neveikė purkštuvo spragtukas
- 7
255LT

Ekrane nerodomi sutrikimai
Gedimas Galimos priežastys Šalinimas Kas turi
pašalinti
Įjungus pagrindinį jun-
Į kištukinį lizdą įkišti kištuką. Įkiškite prietaiso kišuką į kištukinį lizdą. Naudotojas
giklį, ekrane nepatei-
Suveikė saugiklis F1 Nuimti šoninę uždangą ir spustelint atblokuoti
Naudotojas
kiama jokių rodmenų
saugiklį F1.
Paspaudus spragtu-
Per mažas slėgis suslėgto oro tiekimo siste-
Patikrinti slėgį Naudotojas
ką, nepurškiama su-
moje
slėgto oro srovė
Nustatytas per žemas srovės slėgis Padidinti srovės slėgį Naudotojas
Nutrauktas įtampos tiekimas Kontroliuokite įtampos tiekimą. Kontrolinė lempu-
Naudotojas
tė „Gerät ein“ turi šviesti žaliai.
Paspaustas avarinis išjungiklis Sukdami išjunkite avarinį išjungiklį. Kontrolinė
Naudotojas
lemputė „Gerät ein“ turi šviesti žaliai.
Netinkamai prijungta valdymo linija Patikrinti valdymo linijos ir purkštuvo bei valdymo
Naudotojas
linijos ir prietaiso jungtis.
Sugedusi valdymo linija Pakeisti purškiamąją žarną Naudotojas
Per silpna purškiama
Nustatytas per žemas srovės slėgis Padidinti srovės slėgį Naudotojas
srovė
Suslėgto oro sistemos slėgis yra per žemas
Patikrinti slėgį ir debitą Naudotojas
arba per mažas kompresoriaus debitas
Vandens filtre užsikimšusi filtro kasetė. Pakeisti vandens atskyriklio filtro kasetę Naudotojas
Užsikišusi purškiamoji žarna arba purkštu-
Leiskite vidurinei purškiamajai žarnai ir purkštu-
Naudotojas
vas
vui atšilti ir pašalinkite užsikimšimo priežastis.
Padidinkite darbo slėgį ir / arba sumažinkite sau-
so ledo tiekimą.
Su suslėgtu oru ne-
Išjungtas sauso ledo dozavimas (tik „IB 7/
Paspauskite mygtuką Sauso ledo tiekimas ant
Naudotojas
purškiamos sauso
40 Advanced“), ant purkštuvo esantis sauso
purkštuvo.
ledo granulės
ledo dozavimo įjungimo/išjungimo mygtukas
šviečia raudonai, ekrane rodoma „Ice off“.
Tuščia sauso ledo kamera Pripildykite sauso ledo kamerą Naudotojas
Ištirpęs sausas ledas Ištuštinkite sauso ledo kamerą ir pripildykite nau-
Naudotojas
jomis sauso ledo granulėmis.
Vibracinis stendas prie sauso ledo kameros
Kreipkitės į klientų aptarnavimo tarnybą. Naudotojas
neveikia
Perkrautas dozatoriaus pavaros variklis Leiskite dozatoriui atšilti Naudotojas
Suslėgtas oras patenka į sauso ledo kamerą
Išvalyti dozatoriaus slėgio išlyginimo kanalą Klientų ap-
tarnavimo
tarnyba
Sugedęs dozatoriaus diskas Pakeisti dozatoriaus diską Klientų ap-
tarnavimo
tarnyba
256 LT
- 8

Techniniai duomenys
Elektros įranga
Įtampa V 220...240
Srovės rūšis 1~
Dažnis Hz 50
Prijungiamų įtaisų galia kW 0,6
Nuotėkio srovė, tip. mA 7,5
Apsauginis laikinosios srovės jungiklis delta I A 0,03
Suslėgtas oras
Nominalusis žarnos plotis coliais 1/2
Tiekimo slėgis (maks.) MPa (barai) 1,0 (10)
Tiekimo slėgis (min.) MPa (barai) 0,2 (2)
Suslėgto oro sąnaudos m
3
/min 0,5...3,5
Suslėgto oro kokybė *
Galia
Srovės slėgis (maks.) MPa (barai) 1,0 (10)
Tiekimo slėgis (maks.) mm 3
Sauso ledo sąnaudos kg/h 15...50
Matmenys
Sauso ledo kameros talpa kg 15
Plotis mm 510
Gylis mm 768
Aukštis mm 1096
Svoris IB 7/40 Classic, veikiantis kg 93
„IB 7/40 Advanced“ masė, parengtas naudoti kg 95
„IB 7/40 Classic“ masė, tuščias, be priedų kg 70
„IB 7/40 Advanced“ masė, tuščias, be priedų kg 71
Srovės įrenginio svoris (Vidurinė purškiamoji žarna, purkštuvas, įrankių dėtuvė) kg 6,75
Purkštuvo atatrankos jėga (maks.) N 30
Purkštuvo sukimosi momentas (maks.), tik lenktame antgalyje N 8
Prietaiso vibracija
Purkštuvas m/s² 1,2
Purškiamoji žarna m/s² 1,2
* sausas ir neužterštas alyva, o prie kompresoriaus turi būti prijungtas aušintuvas ir atskyriklis
Suslėgto oro poreikis Triukšmo lygis Triukšmo lygis
ASlėgis, MPa
ASlėgis, MPa
BSlėgis, bar
BSlėgis, bar
ASlėgis, MPa
C Triukšmo lygis dB(A)
C Triukšmo lygis dB(A)
BSlėgis, bar
1 Apvalusis srovės antgalis, trumpas
1 Apvalusis srovės antgalis, trumpas
C Debitas, m
3
/min.
2 Plokščiasis srovės antgalis, trumpas
2 Plokščiasis srovės antgalis, trumpas
1 tiesūs antgaliai
3 Plokščiasis srovės antgalis, lenktas
3 Plokščiasis srovės antgalis, lenktas
2 lenkti antgaliai
4 Apvalusis srovės antgalis, ilgas
4 Apvalusis srovės antgalis, ilgas
5 Plokščiasis srovės antgalis, ilgas, yra
5 Plokščiasis srovės antgalis, ilgas, yra
pakuotėje
pakuotėje
- 9
257LT

Priedai
EB atitikties deklaracija
Šiuo pareiškiame, kad toliau aprašyto apa-
Apsauginiai užtvarai
rato brėžiniai ir konstrukcija bei mūsų į rin-
Gerai priglundantys, nerasojantys apsaugi-
ką išleistas modelis atitinka pagrindinius
niai akiniai, dalys-Nr.: 6.321-208.0
EB direktyvų saugumo ir sveikatos apsau-
Nuo šalčio saugančios pirštinės su slydimą
gos reikalavimus. Jei mašinos modelis kei-
mažinančiu profiliu, III kategorija pagal EN
čiamas su mumis nepasitarus, ši
511, dalys-Nr.: 6.321-210.0
deklaracija nebegalioja.
Klausos organų apsauga su galvos lanke-
Gaminys: Sauso ledo purkštuvas
liu, dalys-Nr.: 6.321-207.0
Tipas: 1.574-xxx
Purškiamasis įrenginys
Specialios EB direktyvos:
Apvalusis srovės antgalis, trumpas
2006/42/EB (+2009/127/EB)
Dalys-Nr.: 4.321-236.0
2004/108/EB
Apvalusis srovės antgalis, ilgas
Taikomi darnieji standartai:
Dalys-Nr.: 4.321-234.0
EN 55014–1: 2006 + A1: 2009
EN 55014–2: 1997 + A2: 2008
EN 60335–1
Plokščiasis srovės antgalis, trumpas
EN 61000–3–2: 2006 + A2: 2009
Dalys-Nr.: 4.321-237.0
EN 61000–3–3: 2008
EN 62233: 2008
Plokščiasis srovės antgalis, ilgas, yra pa-
Taikomi nacionaliniai standartai:
kuotėje
GS-STE-13 (remiantis)
Dalys-Nr.: 4.321-235.0
Apvalusis srovės antgalis, lenktas
Pasirašantys asmenys yra įgalioti parduo-
Dalys-Nr.: 4.321-249.0
tuvės vadovybės.
Plokščiasis srovės antgalis, lenktas
Dalys-Nr.: 4.321-250.0
CEO
Head of Approbation
Kodavimo įrenginys
Dokumentaciją tvarkyti įgaliotas asmuo:
Dalys-Nr.: 4.110-015.0
S. Reiser
Antgalių ilgintuvas, 300 mm ilgio
Alfred Kärcher GmbH & Co. KG
Dalys-Nr.: 5.760-001.0
Alfred-Kärcher-Str. 28 - 40
71364 Winnenden (Germany)
Rankena
Tel.: +49 7195 14-0
Dalys-Nr.: 4.321-248.0
Faksas: +49 7195 14-2212
Darbinis apšvietimas
Winnenden, 2012/06/01
Dalys-Nr.: 2.815-421.0
Garantija
Kiekvienoje šalyje galioja mūsų įgaliotų
pardavėjų nustatytos garantijos sąlygos.
Galimus prietaiso gedimus garantijos galio-
jimo laikotarpiu pašalinsime nemokamai,
jei tokių gedimų priežastis buvo netinka-
mos medžiagos ar gamybos defektai. Dėl
garantinių gedimų šalinimo kreipkitės į
savo pardavėją arba artimiausią
klientų ap-
tarnavimo tarnybą pateikdami pirkimą pa-
tvirtinantį kasos kvitą.
258 LT
- 10

Перед першим застосуванням
Додержуватись вказівок щодо безпеки
Ступінь небезпеки
вашого пристрою прочитайте
виробника сухого льоду.
цю оригінальну інструкцію з
Обережно!
експлуатації, після цього дійте
Для небезпеки, яка безпосередньо
відповідно неї та збережіть її для
загрожує та призводить до тяжких
подальшого користування або для
травм чи смерті.
наступного власника.
몇 Попередження
Перелік
Для потенційно можливої небезпечної
Обережно!
ситуації, що може призвести до
Небезпека ушкодження через
Захист навколишнього
тяжких травм чи смерті.
електричну розрядку, небезпека
середовища. . . . . . . . . . . . UK . . 1
Увага!
пошкодження електросистеми. Під час
Правила безпеки . . . . . . . . UK . . 1
очищення об‘єкт очищення може
Для потенційно можливої небезпечної
Правильне застосування . UK . . 2
отримати електричний заряд. Об‘єкт
ситуації, що може призвести до легких
Призначення . . . . . . . . . . . UK . . 2
очищення заземлюють та зберігають
травм чи спричинити матеріальні
Елементи керування. . . . . UK . . 2
заземлення на весь час очищення.
збитки.
Введення в експлуатацію . UK . . 3
Обережно!
Символи на пристрої
Експлуатація . . . . . . . . . . . UK . . 5
Небезпека поранення електричним
Зняття з експлуатації . . . . UK . . 6
струмом. Перед відкриттям
Транспортування. . . . . . . . UK . . 7
єлектрошкафу витягнути штекер з
Зберігання . . . . . . . . . . . . . UK . . 7
розетки.
Технічне обслуговування й
догляд . . . . . . . . . . . . . . . . UK . . 7
Допомога у випадку
неполадок . . . . . . . . . . . . . UK . . 8
Обережно!
Технічні характеристики . . UK . 10
Небезпека поранення відлітаючими
Аксесуари . . . . . . . . . . . . . UK . 11
Обережно!
частинками сухого льоду. Не
Гарантія . . . . . . . . . . . . . . . UK . 11
націлювати розпилювач на людей. Інші
Небезпека холодового опіку. Сухий лід
Заява при відповідність
люди повинні залишити приміщення під
має температуру -79 С. Ніколи не
Європейського
час роботи приладу і залишатись
торкайтесь без захисту до сухого
співтовариства. . . . . . . . . . UK . 11
осторонь протягом дії приладу
льоду і холодних частин приладу.
Захист навколишнього
(наприклад, за огорожею).
середовища
Під час роботи не триматися за
насадку і не торкатися струменя
сухого льоду.
Матеріали упаковки
піддаються переробці для
Обережно!
повторного використання.
Небезпека поранення відлітаючими
Будь ласка, не викидайте
частинками сухого льоду або
упаковку в побутове сміття, а
забруднення. Одягати тісноприлягаючі
здайте його на переробку.
Обережно!
захисні окуляри.
Старі пристрої містять цінні
Небезпека враження органів слуху.
Небезпека асфіксії діоксидом вуглецю.
матеріали, які можна здати
Необхіден захист органів слуху.
Частинки холодного льоду
на переробку. Батареї та
утворюються з твердого діоксиду
акумулятори містять
вуглецю. Під час роботи приладу
речовини, які не повинні
підвищується вміст діоксиду вуглецю у
потрапити у довкілля.
повітрі на робочому місці. Робоче місце
Утилізуйте, будь ласка, старі
достатньо провітрювати та
пристрої, батареї та
використовувати засоби
акумулятори через
попередження людей. Ознака
відповідні
системи збору
підвищеної концентрації діоксиду
відходів.
вуглецю у повітрі:
Інструкції із застосування
– 3...5%: головний біль, підвищена
компонентів (REACH)
частота дихання.
Небезпека
Актуальні відомості про компоненти
– 7...10%: головний біль, нудота,
Небезпека одержання травми від
наведені на веб-вузлі за адресою:
можливе знепритомлення.
гранул сухого льоду, що розлітаються,
www.kaercher.com/REACH
При появі цих симптомів одразу
або часточок бруду.
виключити прилад та вийти на свіже
Правила безпеки
Носити захисні рукавички на EN 511 і
повітря, перед продовженням роботи
захисний одяг з довгими рукавами.
Прилад повинен керуватися тільки
покращити вентиляцію або
Обережно!
людьми, які ознайомились і зрозуміли
використовувати респіратор.
цей
посібник користувача. Особливо
Небезпека поранення електричним
Вуглекислий газ важче за повітря і
потрібно бути уважними до всіх вказівок
струмом. Перед відкриттям
може накопичуватися в закритих
техніки безпеки.
єлектрошкафу витягнути штекер з
приміщеннях, в приміщеннях,
Цей посібник користувача потрібно
розетки.
розташованих нижче за звичайний
зберігати так, щоб він постійно був
рівень, або в закритих контейнерах.
поряд з користувачем.
Забезпечити достатню вентиляцію
робочого місця.
- 1
259UK

Загальні вказівки щодо безпеки
Виключення у надзвичайному
Елементи керування
випадку
Обережно!
Пристрій
Небезпека ураження через ненавмисне
Відпустити спуск пістолета.
увімкнення приладу. Перед початком
Натиснути кнопку аварийного
роботи з приладом витягнути штекер
вимкнення.
з розетки.
Дозування сухого льоду зупинено та
Обережно!
потік повітря з сопла припинився.
Призупинення забезпечення тиску
Небезпека холодового опіку сухим
повітря.
льодом або холодними частинами
приладу. Під час роботи з приладом
Правильне застосування
носити захисний одяг або видалити
сухий лід та дати приладу нагрітися.
Прилад служить для видалення
Ніколи не брати сухий лід до роту.
забруднення частинками сухого льоду,
що
розпиляються струменем повітря під
몇 Попередження
тиском.
Небезпека нещасного випадку через
Прилад не повинен використовуватися
ударну силу розпилювача. Перед
вибухонебезпечній зоні.
натисканням на спуск пістолету
Для струменя повинен
зайняти безпечне місце та добре
використовуватись тільки сухий лід.
тримати пістолет.
Використання іншого засобу може
Обережно!
привести до пошкодження приладу.
Небезпека поранення відлітаючими
Призначення
предметами. Легкі об‘єкти чищення
зафіксувати так, щоб уникнути їх
Стиснене повітря потрапляє через
зміщення струменем сухого льоду.
редукційний клапан до струменевого
몇 Попередження
пістолету. При натисканні спускового
Пристрій не використовуйте, коли в
важеля струменевого пістолета клапан
зоні досяжності є інші люди, особливо,
відкривається і з пістолета виходить
1 Тягова ручка
якщо вони не мають захисного одягу.
струмінь повітря. Через дозатор
у
Експлуатація пристрою
повітряний потік додатково додаються
2 Кришка контейнера
з сухим льодом
гранули сухого льоду. При застосуванні
3 Тримач пістолету
забороняється в разі пошкодження
мережевого шнура або важливих
пристрою версії "ІB 7/40 Advanced"
4 Полиця для аксесуарів
частин пристрою, наприклад,
підмішування через струменевий
5 Панель управління
запобіжників, шлангу подачі речовини
пістолет відключається. Часточки сухого
6 Зщеплення управління
для очищення, струминних пістолетів.
льоду потрапляють на поверхню, що
7 Заземлювальний трос, оснащений
Небезпека защемлення дозатором.
очищується, та видаляють бруд.
затискачем (тільки в ІB 7/40
Перед зняттям захисної пластини з
Частинки сухого льоду температурою -
Advanced, опціонально для ІB 7/40
контейнера для сухого льоду
79 °С створюють додаткову теплову
Classіc)
обов‘язково витягнути штепсельну
напругу між брудом та очищуваним
8 Зщеплення шлангу з засобом для
вилку пристрою з розетки.
об'єктом, що також сприяє видаленню
очищення
бруду. До
того ж сухий лід на виході
Інструкції та директиви
9 Рульова стійка і гальма зі стопорним
зразу ж перетворюється в газоподібний
пристроєм
Для експлуатації цього приладу у ФРН
діоксид вуглецю і таким чином потребує
10 Рукоятка для транспортування,
діють наступні інструкції та директиви
об‘єму у 700 разів більшого. Таким
захисна передня дуга
(можна отримати у Carl Heymanns Verlag
чином змішаний з сухим льодом бруд
11 Скидання сухого льоду, для
KG, Luxemburger StraЯe 449, 50939 Kцln)
видаляється.
спорожнювання резервуара
– BGV D 26 Робота зі струменями
Під час роботи струменя, вібратор на
– Вказівки щодо виконання до
контейнері із сухим льодом забезпечує
BGV D 26
безперервну подачу часток сухого
льоду.
– BGR 117 Роботи у тісних
приміщеннях
– BGR 189 Застосування захисного
одягу
– BGR 195 Застосування захисних
рукавиць
– BGR 500 Роботи з пристроями для
проведення струминного чищення
– BGI 534 Роботи у тісних приміщеннях
– BGI 836 Застереження щодо газу
Захисні пристрої
Кнопка аварійного вимкнення
При натисненні на кнопку аварійного
виключення дозування сухого льоду
зупиняється і потік повітря з форсунки
уривається.
260 UK
- 2




