Hach-Lange LDO Sensor – страница 18
Инструкция к Hach-Lange LDO Sensor

Pregled sadržaja
Specifikacije na stranici 341 Funkcioniranje na stranici 347
Opći podaci na stranici 342 Održavanje na stranici 353
Prikaz proizvoda na stranici 343 Rješavanje problema na stranici 354
Instalacija na stranici 344 Zamjenski dijelovi i dodaci na stranici 356
Kalibracija za mjerenja na stranici 350
Specifikacije
Specifikacije se mogu promijeniti bez prethodne najave.
Specifikacije Pojedinosti
Hidrofilni materijali (tijelo sonde) CPVC, završetak senzora i završetak kabela
Poliuretan, injekcijsko prešanje na završetku kabela i omot kabela
Vijci i tijelo od nehrđajućeg čelika 316
Viton, prstenasta brtva
Noryl, matica na završetku kabela
IP klasifikacija IP68
Hidrofilni materijali (Kapica senzora) Akril
Raspon mjerenja (otopljeni kisik) 0 do 20 ppm (0 do 20 mg/l)
Zasićenje 0 do 200%
Točnost mjerenja (otopljeni kisik) Ispod 5 ppm: ± 0,1 ppm
Iznad 5 ppm: ± 0,2 ppm
Mogućnost reprodukcije (otopljeni kisik) 0,1 ppm (mg/l)
Vrijeme odziva (otopljeni kisik) T
90
<40 sekundi
T
95
<60 sekundi
Razlučivost, senzor (otopljeni kisik) 0,01 ppm (mg/l); 0,1% zasićenje.
Raspon mjerenja (temperatura) od 0 do 50 °C (32 do 122 °F)
Točnost mjerenja (temperatura) ± 0,2 °C (± 0,36 °F)
+
+
2+
2+
+
Smetnje Nema smetnji od sljedećeg: H
2
S, pH, K
, Na
, Mg
, Ca
, NH
4
,
3+
2+
2+
2+
2+
3+
2+
2+
2+
Al
, Pb
, Cd
, Zn
, Cr (ukupno), Fe
, Fe
, Mn
, Cu
, Ni
,
2+
–
–
2–
2–
3–
–
Co
, CN
, NO
3
, SO
4
, S
, PO
4
, Cl
, anionski aktivni tenzidi,
sirova nafta, Cl
2
< 4 ppm
Temperatura za pohranu –20 do 70 °C (–4 do 158 °F)
Maksimalna temperatura okoline 60 °C (140 °F). Pogodno za uporabu u vodi do 50 °C (122 °F)
Klasifikacija opasne lokacije
Klasa I Odjeljak 2, grupa A–D, T4 / klasa I, zona 2 grupa 2C, T4
(5790001 samo senzor)
Napomena: Ovaj proizvod ne ispunjava zahtjeve Direktive 94/9/EC (ATEX
Direktiva).
Certifikati (5790001 samo senzor) ETL navedeno za ANSI/ISA, CSA i FM standarde za uporabu na
opasnim lokacijama.
Napomena: Ovaj proizvod ne ispunjava zahtjeve Direktive 94/9/EC (ATEX
Direktiva).
Minimalna brzina protoka Nije potrebno
Hrvatski 341

Specifikacije Pojedinosti
Kalibracija/potvrda Kalibracija na zraku: jedna točka, zrak 100% zasićen vodom
Uzorak kalibracije: usporedba standardnim instrumentom
Dubina uranjanja sonde i ograničenja
Ograničenje tlaka na 34 metra (112 ft), maksimalno 345 kPa (50 psi);
tlaka
na ovoj dubini uređaj možda neće biti precizan
Kabel senzora Integrirani kabel od 10 m (30 ft) s utikačem za brzo iskopčavanje
(sve vrste senzora)
Do 100 m moguće s produžnim kabelima (samo za senzore koji nisu
klasa I, odjeljak 2)
Do 1000 m moguće s priključnim ormarićem (samo za senzore koji
nisu klasa I, odjeljak 2)
Masa sonde 1,0 kg (2 lb, 3 oz)
Dimenzije sonde Promjer x dužina: 49,53 x 255,27 mm (1,95 x 10,05 inča)
Potrošnja struje 12 VDC, 0,25 A, 3 W
Jamstvo Sonda: 3 godine od tvorničkih grešaka
Kapica senzora: 2 godine od tvorničkih grešaka
Opći podaci
Ni u kojem slučaju proizvođač neće biti odgovoran za direktne, indirektne, specijalne, slučajne ili
posljedične štete uzrokovane nedostacima ili propustima u ovom priručniku. Proizvođač zadržava
pravo na izmjene u ovom priručniku te na opise proizvoda u bilo kojem trenutku, bez prethodne
najave ili obaveze. Izmijenjena izdanja nalaze se na proizvođačevoj web stranici.
Sigurnosne informacije
O B A V I J E S T
Proizvođač nije odgovoran za štetu zbog nepravilne primjene ili nepravilne uporabe ovog proizvoda uključujući,
bez ograničenja, izravnu, slučajnu i posljedičnu štetu i odriče se odgovornosti za takvu štetu u punom opsegu
dopuštenom prema primjenjivom zakonu. Korisnik ima isključivu odgovornost za utvrđivanje kritičnih rizika
primjene i za postavljanje odgovarajućih mehanizama za zaštitu postupaka tijekom mogućeg kvara opreme.
Prije raspakiravanja, postavljanja ili korištenja opreme pročitajte cijeli ovaj korisnički priručnik.
Poštujte sva upozorenja na opasnost i oprez. Nepoštivanje ove upute može dovesti do tjelesnih
ozljeda operatera ili oštećenja na opremi.
Uvjerite se da zaštita koja se nalazi uz ovu opremu nije oštećena. Ne koristite i ne instalirajte ovu
opremu na bilo koji način koji nije naveden u ovom priručniku.
Upotreba upozorenja
O P A S N O S T
Označava potencijalno ili neposredno opasnu situaciju koja će, ako se ne izbjegne, dovesti do smrti ili ozbiljnih
ozljeda.
U P O Z O R E N J E
Označava potencijalno ili neposredno opasnu situaciju koja će, ako se ne izbjegne, dovesti do smrti ili ozbiljnih
ozljeda.
O P R E Z
Označava potencijalno opasnu situaciju koja će dovesti do manjih ili umjerenih ozljeda.
342 Hrvatski

O B A V I J E S T
Označava situaciju koja, ako se ne izbjegne će dovesti do oštećenja instrumenta. Informacije koje je potrebno
posebno istaknuti.
Naljepnice za upozorenje na oprez
Pročitajte sve naljepnice i oznake na instrumentu. Ako se ne poštuju, može doći do tjelesnih ozljeda
ili oštećenja instrumenta. Simbol na instrumentu odgovara simbolu u priručniku uz navod o mjerama
predostrožnosti.
Ovo je sigurnosni simbol upozorenja. Kako biste izbjegli potencijalne ozljede poštujte sve sigurnosne
poruke koje slijede ovaj simbol. Ako se nalazi na uređaju, pogledajte korisnički priručnik za rad ili
sigurnosne informacije.
Ovaj simbol naznačuje prisutnost izvora svjetla koje bi moglo izazvati manje ozljede oka. Kako biste
izbjegli potencijalne ozljede oka, poštujte sve poruke koje slijede ovaj simbol.
Ovaj simbol naznačuje prisutnost uređaja osjetljivih na električne izboje (ESD), te je potrebno
poduzeti sve mjere kako bi se spriječilo oštećivanje opreme.
Električna oprema označena ovim simbolom ne smije se odlagati u europskim javnim odlagalištima
nakon 12. kolovoza 2005. Sukladno europskim lokalnim i nacionalnim propisima (EU direktiva
2002/98/EC), korisnici električne opreme u Europi sada moraju staru ili isteklu opremu vratiti
proizvođaču koji će je odložiti bez naknade.
Napomena: Za vraćanje opreme za recikliranje obratite se proizvođaču opreme ili dobavljaču koji će vas obavijestiti o
povratu opreme kojoj je istekao rok trajanja, te odlaganju električkih dodataka i sve dodatne opreme.
Prikaz proizvoda
O P A S N O S T
Kemijska ili biološka opasnost. Koristi li se ovaj instrument za praćenje postupka liječenja i/ili sustava
kemijskog punjenja za koji postoje zakonska ograničenja i zahtjevi nadzora povezani s javnim
zdravstvom, javnom sigurnosti, proizvodnjom ili obradom hrane ili pića, odgovornost je korisnika ovog
instrumenta da poznaje i pridržava se primjenjivih propisa i ima dovoljno odgovarajućih mehanizama za
sukladnost s primjenjivim propisima u slučaju kvara instrumenta.
Ovaj senzor namijenjen je za rad s kontrolerom radi prikupljanja podataka i rada. Senzor se može
koristiti s nekoliko kontrolera. Dodatne informacije potražite u korisničkom priručniku za kontroler.
Primarne primjene za ovaj senzor jesu primjena u komunalnim i industrijskim otpadnim vodama.
Tehnologija LDO senzora ne troši kisik, a može mjeriti DO koncentraciju u primjenama s niskim
protokom ili bez protoka. Pogledajte Slika 1.
Hrvatski 343

Slika 1 LDO senzor
1 Kapica senzora 3 NPT od 1 inča
2 Temperaturni senzor 4 Priključak, brzo priključivanje (standardno)
Popis dijelova LDO senzora
Provjerite jeste li dobili sve komponente prikazane na prikazu Slika 2. Ako neki od ovih elemenata
nedostaje ili je oštećen, odmah se obratite proizvođaču ili prodajnom predstavniku. Pogledajte
Slika 2.
Slika 2 Popis dijelova senzora
1
1 LDO senzor
2 Kalibracijske vrećice (2x)
1
Uključeni korisnički priručnik nije prikazan.
Instalacija
Ovjeravanje vrste senzora
O P A S N O S T
Opasnost od eksplozije. Priključite samo periferne dijelove koji su jasno označeni kao certificirani za
opasne lokacije Klase 1, Odjeljka 2.
O B A V I J E S T
Certificirana verzija ovog proizvoda za opasnu lokaciju ne ispunjava zahtjeve Direktive 94/9/EC (ATEX direktiva).
1. Prijeđite na završetak priključka kabela.
2. Pročitajte naljepnicu na završetku priključka kabela. Za senzore certificirane za opasne lokacije,
naljepnica će prikazivati "Rated: Class 1 Division 2" (Klasa 1 Odjeljak 2).
344 Hrvatski

3. Pregledajte priključak.
•
Senzori certificirani za opasne lokacije imaju sigurnosni priključak za zaključavanje. Pogledajte
Slika 3 na stranici 345.
• Senzori koji nisu certificirani za opasne lokacije imaju priključak za brzo priključivanje bez
sigurnosnog zaključavanja.
Priključivanje senzora na opasnoj lokaciji
O P A S N O S T
Opasnost od eksplozije. Oprema je prikladna za korištenje na bezopasnim lokacijama ili opasnim
lokacijama klase 1, odjeljka 2, grupa A, B, C i D s određenim senzorima i opcijama ako su instalirani za
crtanje kontrola za instalaciju opasne lokacije. Za pravilnu instalaciju uvijek pogledajte crtanje kontrola i
primjenjive odredbe za električne priključke.
O P A S N O S T
Opasnost od eksplozije. Nemojte prikopčavati ili iskopčavati nikakve električne dijelove ili sklopove,
osim kad je napajanje isključeno ili ako je poznato da je okruženje bezopasno.
O B A V I J E S T
Na opasnim lokacijama koristite samo senzore certificirane za opasne lokacije i kabele sa zaključavanjem.
Certificirana verzija ovog proizvoda za opasnu lokaciju ne ispunjava zahtjeve Direktive 94/9/EC (ATEX direktiva).
Za više informacija pogledajte Ovjeravanje vrste senzora na stranici 344
.
1. Odvijte kapicu priključka s kontrolera. Neka kapica priključka bude zabrtvljena na otvor priključka
kada se senzor uklanja.
2. Spojite senzor na kontroler. Dodatne informacije potražite u korisničkom priručniku za rukovanje.
3. Zatvorite sigurnosnu bravu na priključku.
4. Za uklanjanje sigurnosne brave priključka koristite mali ravni odvijač. Pogledajte Slika 3.
Slika 3 Sigurnosna brava priključka
Priključivanje senzora na bezopasnoj lokaciji
Za priključivanje LDO senzora na sc kontroler pročitajte Slika 4. Upute o ožičenju potražite u
odgovarajućem priručniku sc kontrolera.
Slika 4 Priključite LDO senzor (prikazana bezopasna lokacija senzora)
Hrvatski 345

Nakon priključenja senzora, skenirajte senzor. Pogledajte Ugradnja senzora na stranici
346.
Ugradnja senzora
Postoje dvije opcije za instaliranje senzora:
• Priključite senzor dok je napajanje kontrolera isključeno. Kontroler će tražiti i instalirati novi senzor
kada se uključi.
• Priključite senzor dok je napajanje kontrolera uključeno. Pomoću naredbe Scan Devices (Skeniraj
uređaje) instalirajte novi senzor:
Opcija Opis
Kontroler sc200 Odaberite MENU>TEST/MAINT>SCAN DEVICE (Izbornik>Test/Održavanje>Skeniraj
uređaj)
Kontroler sc100 Odaberite MENU>TEST/MAINT>SCAN SENSORS (Izbornik>Test/Održavanje>Skeniraj
senzore)
Kontroler sc1000 Odaberite MENU>SYSTEM SETUP>DEVICE MANAGEMENT>SCANNING FOR NEW
DEVICES (Izbornik>Postavka sustava>Upravljanje uređajem>Skeniranje novih uređaja)
Pročitajte Priključivanje senzora na bezopasnoj lokaciji na stranici 345
za priključivanje digitalnog
senzora.
Opcije postavljanja senzora
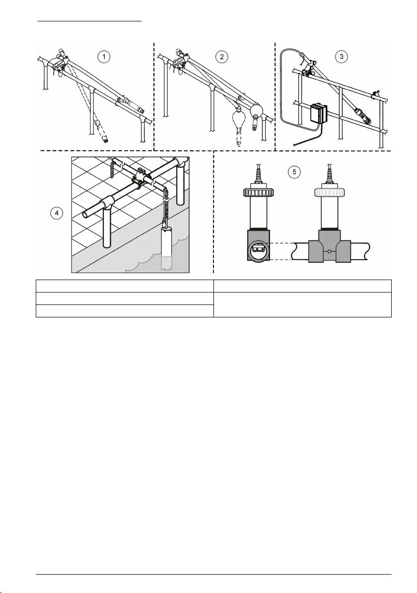
Opcije postavljanja i dodatne opreme dostupne za LDO senzor dostavljaju se s uputama o
postavljanju u hardverskom kompletu. Slika 5 prikazuje nekoliko opcija postavljanja. Kako biste
naručili instalacijski hardver, pogledajte Zamjenski dijelovi i dodaci na stranici 356
346 Hrvatski

Slika 5 Opcije postavljanja
1 Montažni nosač 4 Montažni lanac
2 Montažni plovak 5 Spojna montaža
3 Montaža sustava za raspršivanje zraka
Funkcioniranje
Navigacija korisnika
Pogledajte dokumentaciju o kontroleru radi opisa tipki i informacija o navigaciji.
Konfiguracija senzora
Koristite izbornik Configure (Konfiguracija) za unos podataka o identifikaciji senzora i za promjenu
opcija za upravljanje i pohranu podataka.
Informacije o postavljanju senzora potražite u odjeljku Ugradnja senzora na stranici 346
.
Provjerite jesu li sve vrijednosti izbornika Konfiguracija ispravne za primjenu.
1. Odaberite MENU>SENSOR SETUP>[Select Sensor]>CONFIGURE (Izbornik>Postavke
senzora>Odabir senzora>Konfiguracija).
2. Odaberite opciju, ENTER. Popis dostupnih opcija prikazan je u tablici dalje u tekstu.
Hrvatski 347

Opcija Opis
EDIT NAME (UREDI NAZIV) Mijenja naziv da odgovara senzoru na vrhu mjernog zaslona. Naziv je
ograničen na 10 znamenki u bilo kojoj kombinaciji slova, brojeva, praznih
mjesta ili interpunkcijskih znakova.
SET UNITS (Postavljanje jedinica) TEMP (Temperatura) - Postavlja jedinice temperature na °C (zadano) ili °F.
MEASURE (Mjere) - Postavlja mjerne jedinice u mg/l, ppm ili %.
ALT/PRESS (Visina/tlak) - Postavlja visinu u m ili ft ili postavlja jedinice
atmosferskog tlaka u mmHg ili torr. (Zadano = 0 ft)
ALT/PRESS (VISINA/TLAK) Upišite vrijednost visine ili atmosferskog tlaka. Ova vrijednost mora biti
točna kako bi se dovršilo mjerenje % zasićenja i kalibracija u zraku. (Zadano
= 0 ft).
SALINITY (SALINITET) Upišite vrijednost saliniteta. Raspon saliniteta: 0,00 do 250,00 promila (‰).
Dodatne informacije opisuje Upišite vrijednost korekcije saliniteta
na stranici 349. (Zadana vrijednost = 0)
SIGNAL AVERAGE
Vremenski interval postavite na srednji signal u sekundama
(Usrednjavanje signala)
CLEAN INTRVL (INTER
Postavite vremenski interval za ručno čišćenje senzora u danima (Zadano =
ČIŠĆENJA)
0 dana. Vrijednost 0 dana onemogućuje interval čišćenja).
RESET CLN INTRVL (POST INT
Postavite vremenski interval na posljednji pohranjeni interval čišćenja
ČIŠĆ)
LOG SETUP (POSTAVKE
Postavlja vrijeme intervala za pohranu podataka u dnevniku podataka – 0,5,
ZAPISA)
1, 2, 10, 15 (zadano), 30, 60 minuta.
SET DEFAULTS
Vraća zadane vrijednosti za senzor koje se mogu konfigurirati. Ne mijenja
(POSTAVLJANJE ZADANIH
postavke za nagib ili odmak.
VRIJEDNOSTI)
Upišite vrijednost atmosferskog tlaka
Tvornička postavka atmosferskog (zrak) tlaka je 0 ft ili razina mora. Za promjenu zadane vrijednosti
pridržavajte se koraka iz ovog postupka. Podešavanje za tlak zraka unosi se ili u obliku visine ili u
obliku jedinice tlaka (ima prednost).
Napomena: Točan tlak zraka iznimno je važan za kalibraciju zasićenog zraka (Kalibracija na zraku
na stranici
350). Koristite samo apsolutni tlak, ne podešeni. Ako je apsolutni tlak zraka nepoznat, koristite ispravnu
visinu za lokaciju.
1. Odaberite MENU>SENSOR SETUP>[Select Sensor]>CONFIGURE>SET UNITS>AIR
PRESS/ALT UNITS (Izbornik>Postavke senzora>Odabir senzora>Konfiguracija>Postavljanje
jedinica>Jedinice tlaka zraka/visine).
2. Odaberite jednu od dolje navedenih jedinica :
Opcija Opis
ft Stope - mjerna jedinica za visinu
m Metri - metrička mjerna jedinica za visinu
mmHg Milimetara žive - metrička mjerna jedinica za apsolutni tlak zraka
torr Mjerna jedinica apsolutnog tlaka zraka
3. Potvrdite odabir. Zaslon za upisivanje vrijednosti prikazat će odabrane jedinice.
4. Unesite vrijednost i potvrdite.
348 Hrvatski

Upišite vrijednost korekcije saliniteta
Mjerenje otopljenog kisika u uzorcima soli može prikazati jasnu DO vrijednost koja je različita od
stvarne DO vrijednosti. Kako biste ispravili utjecaj otopljenih soli u uzorku, upišite faktor korekcije
saliniteta.
Napomena: Ako je prisutnost ili količina saliniteta u procesu nepoznata, savjetujte se s inženjerskim osobljem na
postrojenju.
1. Koristite mjerač provodljivosti za mjerenje provodljivosti uzorka u mS/cm pri referentnoj
temperaturi od 20°C (68°F).
2. Koristite Tablica 1 za procjenu faktora korekcije saliniteta u promilima (‰) zasićenja.
Napomena: Koncentracija iona klorida u g/kg jednaka je klorinitetu uzorka. Salinitet se izračunava formulom:
Salinitet = 1,80655 x klorinitet.
Salinitet se može izračunati pomoću odnosa iz odjeljka 2520 B Standardnih metoda za ispitivanje
*
voda i otpadnih voda.
,
3. Odaberite MENU>SENSOR SETUP>[Select Sensor]>CONFIGURE>SALINITY
(Izbornik>Postavke senzora>Odabir senzora>Konfiguracija>Salinitet).
4. Upišite faktor korekcije saliniteta i potvrdite.
Tablica 1 Zasićenje saliniteta (‰) po vrijednosti vodljivosti (mS/cm).
mS/cm ‰ mS/cm ‰ mS/cm ‰ mS/cm ‰
5 3 16 10 27 18 38 27
6 4 17 11 28 19 39 28
7 4 18 12 29 20 40 29
8 5 19 13 30 21 42 30
9 6 20 13 31 22 44 32
10 6 21 14 32 22 46 33
11 7 22 15 33 23 48 35
12 8 23 15 34 24 50 37
13 8 24 17 35 25 52 38
14 9 25 17 36 25 54 40
15 10 26 18 37 26
Konfiguriranje linearnog izlaza kontrolera
Linearni izlazi šalju podatke sonde natrag u sustave PLC, SCADA ili druge sustave za prikupljanje
podataka u ustanovi.
1. Prijeđite na izbornik za postavljanje izlaza kontrolera.
Opcija Opis
sc200 Odaberite MENU>SETTINGS>sc200 SETUP>OUTPUT SETUP>[Select Output]>SET FUNCTION
(Izbornik>Postavke>sc200 postavke>Postavke izlaza>[Odabir izlaza]>Postavljanje funkcije).
*
Standardne metode za ispitivanje voda i otpadnih voda , 20. izdanje. Urednici Lenore S.
Clesceri, Arnold E. Greenberg i Andrew D. Eaton, str. 2-48-2-29 (1998). Odnos između
kloriniteta i topljivosti kisika naveden je u istoj referenci u 4500-O:I str. 4-131.
Hrvatski 349

Opcija Opis
sc100 Odaberite MENU>SYSTEM SETUP>OUTPUT SETUP>[Select Output]>SET FUNCTION
(Izbornik>Postavljanje sustava>Postavke izlaza>[Odabir izlaza]>Postavljanje funkcije).
sc1000 Odaberite MENU>SYSTEM SETUP>OUTPUT SETUP>[Select Output]>SET FUNCTION
(Izbornik>Postavljanje sustava>Postavke izlaza>[Odabir izlaza]>Postavljanje funkcije).
2. Postavite funkciju kontrolera.
Opcija Opis
sc200 LINEAR (Linearno)
sc100 LINEAR CONTROL (Linearna kontrola, zadana vrijednost)
sc1000 LINEAR CONTROL (Linearna kontrola, zadana vrijednost)
Registri modbusa
Za mrežnu komunikaciju dostupan je popis modbus registara. Za više informacija pogledajte
www.hach.com ili www.hach-lange.com.
Kalibracija za mjerenja
Senzor je kalibriran prema specifikaciji u tvornici. Proizvođač ne preporučuje kalibraciju osim ako
regulatorne agencije ne zahtijevaju da se ona povremeno provodi. Ako je kalibracija potrebna, neka
se senzor uravnoteži pomoću postupka prije kalibracije. Senzor ne kalibrirajte prilikom postavljanja.
Tablica 2 prikazuje opcije kalibracije.
Tablica 2 Opcije kalibracije
Opcija Opis
AIR CAL (KALIBRACIJA NA ZRAKU) Preporučena metoda kalibracije. Ovom se kalibracijom modificira
nagib.
SAMPLE CAL (KALIBRACIJA UZORKA) Kalibracija usporedbom pomoću ručnog DO mjerača. Ovom se
kalibracijom modificira odmak.
RESET DFLT CAL (POST ZADA KAL) Ponovno postavljanje povećanja (nagiba) i odmaka prema tvornički
zadanim vrijednostima: zadano povećanje=1,0; zadani odmak=0,0
Kalibracija na zraku
Bilješke korisnika:
•
Provjerite ima li unutar kalibracijske vrećice vode.
• Provjerite je li brtva između kalibracijske vrećice i tijela senzora pričvršćena.
• Provjerite je li senzor tijekom kalibracije suh.
• Provjerite točnost postavke tlaka zraka / povišenja za lokaciju kalibracije.
• Omogućite dovoljno vremena da se temperatura senzora stabilizira prema temperaturi lokacije
kalibracijske vrećice. Velika razlika u temperaturi između lokacije kalibracije i postupka može se
stabilizirati i do 15 minuta.
1. Uklonite senzor iz postupka. Senzor očistite mokrom krpom.
2. Cijeli senzor stavite u kalibracijsku vrećicu s 25-50 ml vode. Kapica senzora ne smije biti u
kontaktu s vodom u kalibracijskoj vrećici i voda ne smije kapati na kapicu senzora (Slika 6).
3. Pomoću gumice, spone ili rukom čvrsto stegnite oko tijela senzora.
4. Ostavite instrument da se stabilizira 15 minuta prije izvršavanja kalibracije. Kalibracijsku vrećicu
držite podalje od izravnog sunčevog svjetla tijekom stabilizacije.
350 Hrvatski

5. Provjerite je li trenutni apsolutni tlak zraka ili povišenje ispravno konfigurirano. Pogledajte Upišite
vrijednost atmosferskog tlaka na stranici 348
.
Napomena: Proizvođač preporučuje uporabu apsolutnog ili stvarnog tlaka zraka kao najbolju praksu.
6. Odaberite MENU>SENSOR SETUP>[Select Sensor]>CALIBRATE>AIR CAL (Izbornik>Postavke
senzora>[Odabir senzora]>Kalibriranje>Kalibracija na zraku).
7. Odaberite opciju za izlazni signal tijekom kalibracije:
Opcija Opis
Active (Aktivno) Instrument šalje trenutačno izmjerenu izlaznu vrijednost tijekom kalibracijskog
postupka.
Hold (Zadržavanje) Izlazna vrijednost senzora je zadržana na trenutačno izmjerenoj vrijednosti tijekom
kalibracijskog postupka.
Transfer (Prijenos) Tijekom kalibracije poslana je unaprijed postavljena vrijednost. Za promjenu prethodno
postavljene vrijednosti pogledajte korisnički priručnik za kontroler.
8. Kontroler će pokazati "Move the probe to bag" (Premjesti sondu u vrećicu). Dopustite da se
vrijednost stabilizira. Pritisnite ENTER za prihvaćanje stabilne vrijednosti. Možete i dopustiti da se
kalibracija nastavi dok se na zaslonu ne prikaže "Complete" (Završeno).
9. Nakon kalibracije senzora, senzor stavite u postupak. Pritisnite ENTER.
Slika 6 Postupak kalibracije na zraku
Ako se vrijednost ne stabilizira, na zaslonu će se prikazati "Unable to Calibrate" (Kalibracija nije
moguća) i poruka o pogrešci. Tablica 3 prikazuje poruku o pogrešci i rješenje problema kalibracije.
Tablica 3 Poruke o pogreškama za kalibraciju zraka
Poruka Opis Rješenje
Cal fail, gain high (Neuspjela kalibracija,
Izračunata vrijednost povećanja je
Ponovite kalibraciju.
povećanje visoko)
previsoka.
Cal fail, gain low (Neuspjela kalibracija,
Izračunata vrijednost povećanja je preniska. Ponovite kalibraciju.
povećanje nisko)
Cal fail, unstable (Neuspjela kalibracija,
Vrijednost se nije stabilizirala u
Ponovite kalibraciju.
nestabilno)
maksimalnom dopuštenom vremenu
kalibracije.
Kalibracija uzorka - kalibriranje usporedbom
Metoda kalibracije koristi alternativni senzor priključen za ručni mjerač.
1. Alternativni senzor uključite u postupak. Drugi senzor stavite što je moguće bliže prvome.
Hrvatski 351

2. Pričekajte da se DO vrijednost stabilizira.
3. Na kontroleru za prvi senzor odaberite MENU>SENSOR SETUP>[Select
Sensor]>CALIBRATE>SAMPLE CAL (Izbornik>Postavka senzora>Odabir
senzora>Kalibriranje>Kalibracija uzorka).
4. Odaberite opciju za izlazni signal tijekom kalibracije:
Opcija Opis
Active (Aktivno) Instrument šalje trenutačno izmjerenu izlaznu vrijednost tijekom kalibracijskog
postupka.
Hold (Zadržavanje) Izlazna vrijednost senzora je zadržana na trenutačno izmjerenoj vrijednosti tijekom
kalibracijskog postupka.
Transfer (Prijenos) Tijekom kalibracije poslana je unaprijed postavljena vrijednost. Za promjenu prethodno
postavljene vrijednosti pogledajte korisnički priručnik za kontroler.
5. Kontroler će prikazati:
•
"Press ENTER when stabilized" (Pritisnite ENTER kad se stabilizira)
• Mjerenje trenutno otopljenog kisika
• Mjerenje trenutne temperature
6. Kada je mjerenje stabilno, pritisnite ENTER. Na zaslonu će se prikazati početni zaslon.
Napomena: Mjerenje će se obično stabilizirati za 2 do 3 minute.
Ako se vrijednost ne stabilizira, na zaslonu će se prikazati "Unable to Calibrate" (Kalibracija nije
moguća) i poruka o pogrešci. Tablica 4 prikazuje poruku o pogrešci i rješenje problema kalibracije.
Tablica 4 Primjeri poruke o pogreškama kalibracije
Poruka Opis Rješenje
Cal fail, offset high (Neuspjela kalibracija,
Izračunata vrijednost odmaka je previsoka. Ponovite kalibraciju.
odmak previsok)
Cal fail, offset high (Neuspjela kalibracija,
Izračunata vrijednost odmaka je preniska. Ponovite kalibraciju.
pomak prenizak)
Cal fail, unstable (Neuspjela kalibracija,
Vrijednost se nije stabilizirala u
Ponovite kalibraciju.
nestabilno)
maksimalnom dopuštenom vremenu
kalibracije.
Izlaz iz postupka kalibracije
1. Tijekom kalibracije pritisnite tipku BACK (NATRAG). Prikazane su tri opcije:
Opcija Opis
ABORT (PREKINI) Zaustavljanje kalibracije. Nova kalibracija mora započeti od početka.
BACK TO CAL (NATRAG U
Povratak na trenutnu kalibraciju.
KALIBRACIJU)
LEAVE (IZLAZ IZ
Privremeni izlazak iz kalibracije. Pristup drugim izbornicima je omogućen
KALIBRACIJE)
dok se kalibracija nastavlja u pozadini. Kalibracija drugog senzora može
početi (ako postoji). Za povratak u kalibraciju pritisnite tipku MENU
(Izbornik) i odaberite Sensor Setup (Postavljanje senzora), [Select sensor]
(Odabir senzora).
2. Odaberite jednu od opcija. Potvrdite.
352 Hrvatski

Ponovno postavljanje zadanih vrijednosti kalibracije
Postavke kalibracije mogu se ponovno postaviti na tvornički zadane vrijednosti. Vrijednosti povećanja
i odmaka postavljene su na 1,0 i 0,0.
1. Odaberite MENU>SENSOR SETUP>[Select Sensor]>CALIBRATE>RESET CAL DEFLT
(Izbornik>Postavke senzora>[Odabir senzora]>Kalibriranje>Ponovno postavljanje zadane
kalibracije).
2. Na zaslonu će se prikazati poruka potvrde. Potvrdite kako biste ponovno postavili senzor na
krivulju kalibracije prema tvornički zadanim vrijednostima.
Održavanje
O P A S N O S T
Višestruka opasnost. Zadatke opisane u ovom odjeljku priručnika treba obavljati isključivo kvalificirano
osoblje.
O P A S N O S T
Opasnost od eksplozije.Nemojte prikopčavati ili iskopčavati nikakvu električne dijelove ili sklopove,
osim kad je napajanje isključeno ili ako je poznato da je okruženje bezopasno.
O P A S N O S T
Opasnost od eksplozije. Zamjena dijelova može umanjiti prikladnost za oznaku Klasa 1, Odjeljak 2.
Nemojte mijenjati nikakvu dijelove, osim kad je napajanje isključeno ili ako je poznato da je okruženje
bezopasno.
O B A V I J E S T
Certificirana verzija ovog proizvoda za opasnu lokaciju ne ispunjava zahtjeve Direktive 94/9/EC (ATEX direktiva).
Raspored održavanja
Raspored održavanja prikazuje minimalne intervale za zadatke redovnog održavanja. Za primjene
koje dovode do prljanja elektrode, zadatke održavanja izvodite učestalije.
Napomena: Ne rastavljajte sondu radi održavanja ili čišćenja.
Zadatak održavanja Preporučena minimalna učestalost
Čišćenje senzora 90 dana
Provjerite je li senzor oštećen 90 dana
Kalibracija senzora Prema preporuci regulatornih agencija
Čišćenje senzora
Očistite vanjski dio senzora mekom, vlažnom krpom.
Napomena: Bude li potrebno ukloniti kapicu senzora radi čišćenja, ne izlažite unutarnji dio kapice izravnom
sunčevom svjetlu na duže vremensko razdoblje.
Postavljanje ili mijenjanje intervala čišćenja
Uvjeti primjene mogu trajati kraće ili duže između ručnih čišćenja senzora. Zadani interval čišćenja je
0 dana. Za mijenjanje intervala pogledajte korake u ovom postupku.
1. Odaberite MENU>SENSOR SETUP>[Select Sensor]>CONFIGURE>CLEAN INTRVL
(Izbornik>Postavke senzora>Odabir senzora>Konfiguracija>Interval čišćenja).
Hrvatski 353

2. Prema potrebi promijenite prikazanu vrijednost. Potvrdite promjenu.
•
Za isključivanje intervala čišćenja postavite vrijednost na "0".
Mijenjanje kapice senzora
U P O Z O R E N J E
Potencijalna opasnost od eksplozije. Kapica senzora za postavljanje nije namijenjena za uporabu na
opasnoj lokaciji.
Zamjenske kapice senzora i kapice za postavljanje dostavljaju se s uputama za sastavljanje.
Pročitajte priložene upute za mijenjanje kapice.
Za najbolji učinak i točnost zamijenite kapicu senzora:
•
Svake dvije godine
• Kada rutinski pregled prikaže značajno nagrizanje kapice senzora
Rješavanje problema
Izbornik dijagnostike i testa
Izbornik dijagnostike i testa prikazuje trenutne i prethodne informacije o LDO senzoru.
Za pristup izborniku dijagnostike i testa odaberite MENU>SENSOR SETUP>[Select
Sensor]>DIAG/TEST (Izbornik>Postavke senzora>Odabir senzora>Dijagnostika/test).
Pogledajte Tablica 5.
Tablica 5 Izbornik DIAG/TEST (Dijagnostika/test)
Opcija Opis
SENSOR INFO (Info o
SOFTWARE VERS (Verzija softvera) - Prikazuje verziju instaliranog softvera
senzoru)
BOOT VERSION (Verz podizanja) - Prikazuje verziju instaliranog podizanja
sustava
DRIVER VERS (Verzija upravljačkog programa) - Prikazuje verziju instaliranog
softvera upravljačkog programa
LOT CODE (Šifra partije) Prikazuje proizvođačku partiju kapice senzora
SERIAL NUMBER (Serijski
Serijski broj senzora
broj)
GAIN CORR (DOB.ISPR.) Podesite vrijednost povećanja kalibracije.
Raspon 0,50 do 2,00
OFFSET CORR
Podesite vrijednost odmaka kalibracije (mg/l ili ppm).
(KOREKCIJA ODMAKA)
Raspon: –3,00 do +3,00
PHASE DIAG (DIJAGRAM
Prikazuje fazu za ukupne, crvene i plave valne dužine. Ažuriranje jednom u
FAZE)
sekundi.
AMPL DIAG
Prikazuje amplitudu za crvene i plave valne dužine. Ažuriranje jednom u sekundi.
(DIJAGNOSTIKA AMPL)
DAYS TO CLEAN (DANA
Prikazuje broj dana do sljedećeg planiranog ručnog čišćenja.
ČIŠĆENJA)
SENSOR LIFE (TRAJANJE
Prikazuje broj dana do sljedeće planirane zamjene kapice senzora
SENZ)
354 Hrvatski

Popis pogrešaka
Dođe li do pogreške, očitanje na zaslonu mjerenja trepti. Izlazno ponašanje određuje se postavkama
kontrolera. Pojedinosti potražite u korisničkom priručniku kontrolera.
Za prikaz pogrešaka trenutnog senzora odaberite MENU>DIAGNOSTICS>[Select Sensor]>ERROR
LIST (Izbornik>Dijagnostika>Odabir senzora>Popis pogrešaka). Pogledajte Tablica 6.
Tablica 6 Popis pogrešaka za LDO senzor
Pogreška Mogući uzrok Rješenje
RED AMPL LOW (NISKA CRVENA AMPLITUDA)
Kapica senzora nije
Uklonite kapicu senzora i
(Vrijednost je ispod 0,01)
postavljena ili nije ispravno
ponovno je postavite.
postavljena.
ILI
BLUE AMPL LOW (NISKA PLAVA AMPLITUDA)
Put svjetla je blokiran
Pregledajte unutrašnjost
(Vrijednost je ispod 0,01)
unutar kapice senzora.
kapice senzora i leću.
Senzor ne radi ispravno. Provjerite trepti li LED
indikator. Obratite se
proizvođaču.
Popis upozorenja
Kada ikona upozorenja trepti (sc100 i sc200) ili kada zaslon postane žut (sc1000), na dnu zaslona
mjerenja prikazat će se poruka. Na sc1000, zaslon postaje žut radi prikazivanja upozorenja. Za
prikaz upozorenja trenutnog senzora odaberite MENU>DIAGNOSTICS>[Select Sensor]>WARNING
LIST (Izbornik>Dijagnostika>Odabir senzora>Popis upozorenja). Pogledajte Tablica 7.
Tablica 7 Popis upozorenja senzora
Upozorenje Definicija Rješenje
EE SETUP ERR (POGREŠKA U
Pohrana je neispravna.
Obratite se tehničkoj podršci.
POSTAVLJANJU SONDE)
Vrijednosti su postavljene na
tvornički zadane vrijednosti.
EE RSRVD ERR (POGREŠKA U
ELEKTRONICI SONDE)
TEMP (TEMPERATURNI
Radna temperatura je ispod 0 °C
Povećajte radnu temperaturu ili
ELEMENT) < 0 C
(32 °F)
prekinite uporabu dok radna
temperatura ne bude u rasponu
specifikacija senzora.
TEMP (TEMPERATURNI
Radna temperatura je iznad
Smanjite radnu temperaturu ili
ELEMENT) > 50 C
50 °C (120 °F)
prekinite uporabu dok radna
temperatura ne bude u rasponu
specifikacija senzora.
RED AMPL LOW (NISKA CRVENA
Vrijednost pada ispod 0,03 Pogledajte Tablica 6 na stranici 355 .
AMPLITUDA)
RED AMPL HIGH (VISOKA
Vrijednost je veća od 0,35 Pozovite tehničku podršku.
CRVENA AMPLITUDA)
BLUE AMPL LOW (NISKA PLAVA
Vrijednost je ispod 0,03 Pogledajte Tablica 6 na stranici 355.
AMPLITUDA)
BLUE AMPL HIGH (VISOKA PLAVA
Vrijednost je veća od 0,35 Pozovite tehničku podršku.
AMPLITUDA)
CAP CODE FAULT (Pogreška šifre
Šifra kapice senzora je
Završite postupak postavljanja kapice
kapice)
neispravna. Šifra će se
senzora. Ako kapica za postavljanje
automatski vratiti na zadane šifre
nije dostupna za kapicu senzora,
kapice i partije.
nazovite tehničku podršku.
Hrvatski 355

Popis događaja
Popis događaja sadrži dnevnik promjena načina na koji senzor bilježi podatke. Za prikaz događaja
senzora odaberite MENU>DIAGNOSTICS>[Select Sensor]>EVENT LIST
(Izbornik>Dijagnostika>Odabir senzora>Popis događaja).
Pogledajte Tablica 8.
Tablica 8 Popis događaja za senzor
Događaj Opis
ALT/PRESSURE UNIT CHANGE (PROMJENA
Jedinice za atmosferski tlak ili visinu su se
JEDINICE VISINE/TLAKA)
promijenile.
ALT/PRESSURE CHANGE (PROMJENA
Vrijednost za visinu ili atmosferski tlak se promijenila.
VISINE/TLAKA)
TEMP UNIT CHANGE (PROMJENA JEDINICE TEMP) Promijenjene su jedinice za temperaturu.
MEAS UNIT CHANGE (PROMJENA JEDINICE MJERE) Nova mjerna jedinica je promijenjena.
SALINITY CHANGE (PROMJENA SALINITETA) Vrijednost saliniteta je promijenjena.
SET DEFAULT (POSTAVLJANJE ZADANE
Postavke senzora su ponovno postavljene na zadane
VRIJEDNOSTI)
vrijednosti.
SENZOR SETUP CHANGE (PROMJENA POSTAVKE
Postavka senzora je promijenjena.
SENZORA)
CLEAN INTERVAL TIMER CHANGE (PROMJENA
Vrijeme između čišćenja senzora je promijenjeno.
VREMENA ZA INTERVAL ČIŠĆENJA)
SENSOR CAP LIFE TIMER CHANGE (PROMJENA
Vrijeme između mijenjanja kapice senzora je
VREMENA KAPICE SENZORA)
promijenjeno.
Zamjenski dijelovi i dodaci
Zamjenski elementi
Opis Broj proizvoda (US / EU)
LDO sonda s jednom senzorskom kapicom i 2 kalibracijske vrećice 9020000 / LXV416.99.20001
LDO sonda za opasne lokacije s jednom senzorskom kapicom i 2 kalibracijske
9020300 / —
vrećice
Kapica senzora, zamjenska (uključuje kapicu senzora za postavljanje koja nije
9021100 / 9021150
označena za uporabu na opasnim lokacijama Klase 1, Odjeljka 2)
Dodaci
Opis Broj proizvoda (US / EU)
Bravica kabela senzora za opasne lokacije 6139900 / —
Sustavi za čišćenje visokim izlazima zraka za raspršivanje, 115 V (nije označeno
6860000 / 6860003.99.0001
za uporabu na opasnim lokacijama)
Sustavi za čišćenje visokim izlazima zraka za raspršivanje, 230 V (nema oznake
6860100 / 6860103.99.0001
ATEX za uporabu na opasnim lokacijama)
Kalibracijska vrećica (1x) 5796600 / 5796600
1
Kabel, produžetak senzora, neopasne lokacije, 7,7 m (25 ft)
SAD: 5796000, 7,7 m (25 ft)
EU: LZX849, 10 m (33 ft)
Hardverski komplet za montiranje cijevi (PVC) 9253000 / LZY714.99.21810
356 Hrvatski

Opis Broj proizvoda (US / EU)
Hardverski komplet za montiranje plovka (PVC) 9253100 / LZX914.99.42200
Hardverski komplet za montiranje sustava za raspršivanje zraka 9253500 / LZY812
Hardverski komplet za montiranje lanca (nehrđajući čelik) — / LZX914.99.11200
Hardverski komplet za spojno montiranje 9257000 / 9257000
HQd mjerač s LDO hrapavom sondom (nije označen za uporabu na opasnim
8505200 / HQ40D.99.310.000
lokacijama)
1
Dostupno i u dužinama od 15 m (49 ft) i 30 m (98 ft)
Hrvatski 357

Πίνακας περιεχομένων
Προδιαγραφές στη σελίδα 358 Λειτουργία στη σελίδα 364
Γενικές πληροφορίες στη σελίδα 359 Συντήρηση στη σελίδα 370
Επισκόπηση προϊόντος στη σελίδα 360 Αντιμετώπιση προβλημάτων στη σελίδα 371
Εγκατάσταση στη σελίδα 361 Ανταλλακτικά και εξαρτήματα στη σελίδα 374
Βαθμονόμηση μετρήσεων στη σελίδα 367
Προδιαγραφές
Οι προδιαγραφές υπόκεινται σε αλλαγές χωρίς προειδοποίηση.
Προδιαγραφή Λεπτομέρειες
Διαβρεχόμενα υλικά (σώμα αισθητηρίου) CPVC, άκρο αισθητηρίου και άκρο καλωδίου
Πολυουρεθάνη, επικαλυμμένο άκρο καλωδίου και μανδύας
καλωδίου
Σώμα από ανοξείδωτο χάλυβα 316 και βίδες
Βιτόν, δακτύλιος O-ring
Noryl, περικόχλιο στο άκρο καλωδίου
Προστασία IP IP 68
Διαβρεχόμενα υλικά (Καπάκι αισθητηρίου) Ακρυλικό
Εύρος μέτρησης (διαλυμένο οξυγόνο) 0 έως 20 ppm (0 έως 20 mg/L)
Κορεσμός 0 έως 200%
Ακρίβεια μέτρησης (διαλυμένο οξυγόνο) Κάτω από 5 ppm: ± 0,1 ppm
Πάνω από 5 ppm: ± 0,2 ppm
Επαναληψιμότητα (διαλυμένο οξυγόνο) 0,1 ppm (mg/L)
Χρόνος απόκρισης (διαλυμένο οξυγόνο) T
90
<40 δευτερόλεπτα
T
95
<60 δευτερόλεπτα
Ανάλυση, αισθητήριο (διαλυμένο οξυγόνο) 0,01 ppm (mg/L), 0,1% κορεσμός.
Εύρος μέτρησης (θερμοκρασία) 0 έως 50 °C (32 έως 122 °F)
Ακρίβεια μέτρησης (θερμοκρασία) ± 0,2 °C (± 0,36 °F)
+
+
Παρεμποδίσεις Τα παρακάτω δεν προκαλούν παρεμποδίσεις: H
2
S, pH, K
, Na
,
2+
2+
+
3+
2+
2+
2+
2+
Mg
, Ca
, NH
4
, Al
, Pb
, Cd
, Zn
, Cr (ολικό), Fe
,
3+
2+
2+
2+
2+
–
–
2–
2–
3–
Fe
, Mn
, Cu
, Ni
, Co
, CN
, NO
3
, SO
4
, S
, PO
4
,
–
Cl
, ενεργά ιόντα τασιενεργών, αργό πετρέλαιο, Cl
2
< 4 ppm
Θερμοκρασία αποθήκευσης –20 έως 70 °C (–4 έως 158 °F)
Μέγιστη θερμοκρασία περιβάλλοντος 60°C (140°F). Κατάλληλο για χρήση σε νερό έως 50 °C (122 °F)
Ταξινόμηση επικίνδυνης τοποθεσίας (μόνο για
Κατηγορία Ι, Βαθμίδα 2, Ομάδες A-D, T4 / Κατηγορία Ι, Ζώνη
το αισθητήριο 5790001)
2 Ομάδα 2C, T4
Σημείωση: Αυτό το προϊόν δεν ανταποκρίνεται στις απαιτήσεις της Οδηγίας
94/9/EΚ (Οδηγία ATEX).
Πιστοποιήσεις (μόνο για αισθητήριο 5790001) Το ETL που παρατίθεται στα πρότυπα ANSI/ISA, CSA και FM
για χρήση σε επικίνδυνες τοποθεσίες.
Σημείωση: Αυτό το προϊόν δεν ανταποκρίνεται στις απαιτήσεις της Οδηγίας
94/9/EΚ (Οδηγία ATEX).
358 Ελληνικά

Προδιαγραφή Λεπτομέρειες
Ελάχιστη παροχή Δεν απαιτείται
Βαθμονόμηση/Επαλήθευση Βαθμονόμηση αέρα: Ενός σημείου, 100% νερό-κορεσμένος
αέρας
Βαθμονόμηση δείγματος: Σύγκριση με πρότυπο όργανο
Βάθος βύθισης αισθητηρίου και όρια πίεσης Μέγιστα όρια πίεσης στα 34 m (112 ft.), 345 kPa (50 psi) - σε
αυτό το βάθος ενδέχεται να μην μπορεί να διατηρηθεί η ακρίβεια
Καλώδιο αισθητηρίου 10 m (30 ft) ενσωματωμένο καλώδιο με βύσμα ταχείας
αποσύνδεσης (όλοι οι τύποι αισθητηρίου)
Έως 100 m με καλώδια επέκτασης (μόνο για τύπους
αισθητηρίου Κατηγορίας εκτός Ι, Βαθμίδας 2)
Έως 1000 m με κουτί διακλάδωσης (μόνο για τύπους
αισθητηρίου Κατηγορίας εκτός Ι, Βαθμίδας 2)
Βάρος αισθητηρίου 1,0 kg (2 lb, 3 oz)
Διαστάσεις αισθητηρίου Διάμετρος x μήκος: 49,53 x 255,27 mm (1,95 x 10,05 in.)
Απαιτήσεις ισχύος 12 VDC, 0,25 A, 3 W
Εγγύηση Αισθητήριο: 3 έτη για κατασκευαστικά ελαττώματα
Καπάκι αισθητηρίου: 2 έτη για κατασκευαστικά ελαττώματα
Γενικές πληροφορίες
Σε καμία περίπτωση ο κατασκευαστής δεν είναι υπεύθυνος για άμεσες, έμμεσες, ειδικές, τυχαίες ή
παρεπόμενες ζημίες που προκύπτουν από οποιοδήποτε ελάττωμα ή παράλειψη του παρόντος
εγχειριδίου. Ο κατασκευαστής διατηρεί το δικαίωμα να πραγματοποιήσει αλλαγές στο παρόν
εγχειρίδιο και στα προϊόντα που περιγράφει ανά στιγμή, χωρίς ειδοποίηση ή υποχρέωση.
Αναθεωρημένες εκδόσεις διατίθενται από τον ιστοχώρο του κατασκευαστή.
Πληροφορίες σχετικά με την ασφάλεια
Ε Ι Δ Ο Π Ο Ι Η Σ Η
Ο κατασκευαστής δεν φέρει ευθύνη για τυχόν ζημιές εξαιτίας της λανθασμένης εφαρμογής ή χρήσης του
παρόντος προϊόντος, συμπεριλαμβανομένων, χωρίς περιορισμό, των άμεσων, συμπτωματικών και παρεπόμενων
ζημιών, και αποποιείται τέτοιες ζημιές στη μέγιστη έκταση που επιτρέπει το εφαρμοστέο δίκαιο. Ο χρήστης είναι
αποκλειστικά υπεύθυνος για την αναγνώριση των σημαντικών κινδύνων εφαρμογής και την εγκατάσταση των
κατάλληλων μηχανισμών με στόχο την προστασία των διεργασιών κατά τη διάρκεια μιας πιθανής δυσλειτουργίας
του εξοπλισμού.
Παρακαλούμε διαβάστε ολόκληρο αυτό το εγχειρίδιο προτού αποσυσκευάσετε, εγκαταστήσετε ή
λειτουργήσετε αυτόν τον εξοπλισμό. Προσέξτε όλες τις υποδείξεις κινδύνου και προσοχής. Η
παράλειψη μπορεί να οδηγήσει σε σοβαρούς τραυματισμούς του χειριστή ή σε ζημιές της συσκευής.
Διασφαλίστε ότι δεν θα προκληθεί καμία βλάβη στις διατάξεις προστασίας αυτού του εξοπλισμού.
Μην χρησιμοποιείτε και μην εγκαθιστάτε τον συγκεκριμένο εξοπλισμό με κανέναν άλλον τρόπο, εκτός
από αυτούς που προσδιορίζονται στο παρόν εγχειρίδιο.
Χρήση των πληροφοριών προειδοποίησης κινδύνου
Κ Ι Ν Δ Υ Ν Ο Σ
Υποδεικνύει κάποια ενδεχόμενη ή επικείμενη επικίνδυνη κατάσταση, η οποία, εάν δεν αποτραπεί, θα οδηγήσει σε
θάνατο ή σοβαρό τραυματισμό.
Π Ρ Ο Ε Ι Δ Ο Π Ο Ι Η Σ Η
Υποδεικνύει ενδεχόμενη ή επικείμενη επικίνδυνη κατάσταση, η οποία, αν δεν αποτραπεί, θα μπορούσε να
προκαλέσει θάνατο ή σοβαρό τραυματισμό.
Ελληνικά 359

Π Ρ Ο Σ Ο Χ Η
Υποδεικνύει κάποια ενδεχόμενη επικίνδυνη κατάσταση, η οποία μπορεί να καταλήξει σε ελαφρό ή μέτριο
τραυματισμό.
Ε Ι Δ Ο Π Ο Ι Η Σ Η
Υποδεικνύει κατάσταση που, εάν δεν αποτραπεί, μπορεί να προκληθεί βλάβη στο όργανο. Πληροφορίες που
απαιτούν ειδική έμφαση.
Ετικέτες προειδοποίησης
Διαβάστε όλες τις ετικέτες και τις πινακίδες που είναι επικολλημένες στο όργανο. Η μη τήρησή τους
μπορεί να προκαλέσει τραυματισμό ή βλάβη στο όργανο. Η ύπαρξη κάποιου συμβόλου επάνω στο
όργανο παραπέμπει στο εγχειρίδιο με κάποια δήλωση προειδοποίησης.
Αυτό είναι το σύμβολο προειδοποίησης ασφάλειας. Για την αποφυγή ενδεχόμενου τραυματισμού,
τηρείτε όλα τα μηνύματα για την ασφάλεια που εμφανίζονται μετά από αυτό το σύμβολο. Εάν
βρίσκεται επάνω στο όργανο, ανατρέξτε στο εγχειρίδιο λειτουργίας ή πληροφοριών ασφαλείας του
οργάνου.
Το σύμβολο αυτό υποδεικνύει την παρουσία πηγής φωτός που μπορεί να προκαλέσει ελαφρύ
τραυματισμό στα μάτια. Για την αποφυγή ενδεχόμενου τραυματισμού στα μάτια, τηρείτε όλα τα
μηνύματα που εμφανίζονται δίπλα σε αυτό το σύμβολο.
Το σύμβολο αυτό υποδεικνύει την παρουσία συσκευών ευαίσθητων σε ηλεκτροστατική εκκένωση και
επισημαίνει ότι πρέπει να δοθεί ιδιαίτερη προσοχή ώστε να αποφευχθεί η πρόκληση βλάβης στον
εξοπλισμό.
Ο ηλεκτρικός εξοπλισμός που επισημαίνεται με αυτό το σύμβολο δεν πρέπει να απορρίπτεται σε
ευρωπαϊκά δημόσια συστήματα απόρριψης από τις 12 Αυγούστου 2005. Σε συμμόρφωση με τους
Ευρωπαϊκούς τοπικούς και εθνικούς κανονισμούς (Οδηγία ΕΕ 2002/98/ΕΚ), οι χρήστες ηλεκτρικού
εξοπλισμού στην Ευρώπη πρέπει να αποστέλλουν τον παλαιό εξοπλισμό ή τον εξοπλισμό του οποίου
η διάρκεια ζωής έχει λήξει στον παραγωγό για απόρριψη, χωρίς χρέωση του χρήστη.
Σημείωση: Κατά την επιστροφή για ανακύκλωση, επικοινωνήστε με τον κατασκευαστή ή τον προμηθευτή του
εξοπλισμού για οδηγίες σχετικά με τον τρόπο επιστροφής εξοπλισμού, ηλεκτρικών εξαρτημάτων που έχει παράσχει ο
κατασκευαστής και όλων των βοηθητικών στοιχείων του, λόγω λήξης της διάρκειας ζωής τους, για κατάλληλη
απόρριψη.
Επισκόπηση προϊόντος
Κ Ι Ν Δ Υ Ν Ο Σ
Χημικοί ή βιολογικοί κίνδυνοι. Εάν το παρόν όργανο χρησιμοποιείται για την παρακολούθηση μιας
διεργασίας επεξεργασίας ή/και χημικού συστήματος τροφοδοσίας, για τα οποία υπάρχουν ρυθμιστικά
όρια και απαιτήσεις παρακολούθησης που αφορούν τη δημόσια υγεία και ασφάλεια, τη βιομηχανία ή
επεξεργασία τροφίμων ή ποτών, αποτελεί ευθύνη του χρήστη του οργάνου να γνωρίζει και να
συμμορφώνεται με τους ισχύοντες κανονισμούς καθώς και να διαθέτει επαρκείς και κατάλληλους
μηχανισμούς για να συμμορφώνεται με τους ισχύοντες κανονισμούς σε περίπτωση δυσλειτουργίας του
οργάνου.
Το αισθητήριο αυτό έχει σχεδιαστεί για να λειτουργεί με έναν ελεγκτή για συλλογή δεδομένων και
χειρισμό. Το αισθητήριο μπορεί να χρησιμοποιηθεί με αρκετούς ελεγκτές. Για περισσότερες
πληροφορίες, ανατρέξτε στο εγχειρίδιο λειτουργίας του ελεγκτή.
Οι κύριες εφαρμογές για αυτό το αισθητήριο είναι αστικές και βιομηχανικές εφαρμογές υγρών
αποβλήτων. Η τεχνολογία του αισθητηρίου
LDO δεν καταναλώνει οξυγόνο και μπορεί να μετρήσει τη
συγκέντρωση DO σε εφαρμογές χαμηλής ή καθόλου ροής. Ανατρέξτε στην ενότητα Εικόνα 1.
360 Ελληνικά

