Hach-Lange LDO Sensor – страница 14
Инструкция к Hach-Lange LDO Sensor

P A V O J U S
Sprogimo pavojus. Nejunkite prie įrangos elektrinių dalių ar grandinių ir jų neatjunkite neišjungę
maitinimo ir nebūdami įsitikinę, kad darbo vieta nepavojinga.
P A S T A B A
Pavojingose vietose naudokite tik naudoti pavojingose vietose patvirtintą jutiklį ir laido užraktą. Pavojingose
vietose naudoti patvirtinta šio gaminio versija neatitinka 94/9/EB direktyvos (ATEX direktyvos) reikalavimų.
Daugiau informacijos rasite skyriuje Jutiklio tipo patvirtinimas Puslapyje 260
.
1. Nuo valdiklio nuimkite jungiklio dangtelį. Pasilikite jungiklio dangtelį jungiklio angai sandariai
uždaryti, kai pašalinamas jutiklis.
2. Sujunkite jutiklį su valdikliu. Daugiau informacijos rasite valdiklio vadove.
3. Jungiklį uždenkite saugos užraktu.
4. Norėdami nuimti jungiklio saugos užraktą, naudokite mažą plokščią atsuktuvą. Žr. Paveikslėlis 3.
Paveikslėlis 3 Jungiklio saugos užraktas
Jutiklio prijungimas nepavojingoje vietoje
Žr. Paveikslėlis 4, kaip prijungti LDO jutiklį prie „sc“ valdiklio. Sujungimo laidais instrukcijas rasite
konkretaus „sc“ valdiklio vadove.
Paveikslėlis 4 LDO jutiklio prijungimas (rodomas nepavojingose vietose skirtas naudoti
jutiklis)
Prijungę jutiklį, ieškokite jutiklio. Žr. skyrių Jutiklio montavimas Puslapyje 261
.
Jutiklio montavimas
Yra dvi jutiklio montavimo parinktys:
• Prijunkite jutiklį, kol valdiklio maitinimas išjungtas. Įjungtas valdiklis ieškos ir įdiegs naujus jutiklius.
• Prijunkite jutiklį, kai valdiklio maitinimas įjungtas. Naujam jutikliui įdiegti naudokite komandą „Scan
Devices“ (ieškoti įrenginių).
Parinktis Aprašymas
„sc200“ valdiklis Eikite į MENU (meniu) > TEST/MAINT (testas / priežiūra) > SCAN DEVICE (ieškoti
įrenginio)
lietuvių kalba 261

Parinktis Aprašymas
„sc100“ valdiklis Eikite į MENU (meniu) > TEST/MAINT (testas / priežiūra) > SCAN DEVICE (ieškoti
įrenginio)
„sc1000“ valdiklis Eikite į MENU (meniu) > SYSTEM SETUP (sistemos sąranka) > DEVICE
MANAGEMENT (įrenginių valdymas) > SCANNING FOR NEW DEVICES (naujų įrenginių
paieška)
Informacijos apie skaitmeninio jutiklio jungtį rasite skyriuje Jutiklio prijungimas nepavojingoje
vietoje
Puslapyje 261.
Jutiklio montavimo parinktys
Galimos LDO jutiklio montavimo ir priedų parinktys pateikiamos su montavimo instrukcijomis
techninės įrangos rinkinyje. Paveikslėlis 5 pateikiama keletas montavimo parinkčių. Norėdami
užsisakyti montavimo techninės įrangos, žr. skyrių Atsarginės dalys ir priedai Puslapyje 272.
Paveikslėlis 5 Montavimo parinktys
1 Sistemos montavimas prie turėklo 4 Sistemos su grandine montavimas
2 Plūduriuojančios sistemos montavimas 5 Jungtinės sistemos montavimas
3 Oro pūtimo sistemos montavimas
Naudojimas
Naudotojo naršymas
Informacijos apie naršymą ir klaviatūros aprašymą žiūrėkite valdiklio dokumentacijoje.
Jutiklio konfigūravimas
Jutiklio identifikavimo duomenims įvesti ir duomenų apdorojimo bei saugojimo parinktims pakeisti
naudokite meniu „Configure“ (konfigūruoti).
262 lietuvių kalba

Informacijos apie jutiklio įrengimą žr. skyriuje Jutiklio montavimas
Puslapyje 261.
Įsitikinkite, kad visos meniu „Configuration“ (konfigūravimas) vertės tinkamos taikyti.
1. Eikite į MENU (meniu) > SENSOR SETUP (jutiklio sąranka) > [Select Sensor] (pasirinkite jutiklį) >
CONFIGURE (konfigūruoti).
2. Pasirinkite parinktį, spauskite ENTER. Galimų parinkčių sąrašas išvardytas toliau pateiktoje
lentelėje.
Parinktis Aprašymas
„EDIT NAME" (redaguoti
Pakeičia pavadinimą, kuris atitinka jutiklio pavadinimą, nurodytą matavimo
pavadinimą)
parametrų ekrano viršutinėje dalyje. Pavadinimą sudaro ne daugiau kaip
10 simbolių - įvairios raidžių, skaitmenų, tarpų arba skyrybos ženklų
kombinacijos.
SET UNITS (nustatyti vienetus) TEMP (temperatūra) – nustato temperatūros vienetus kaip °C (numatytieji)
arba °F.
MEASURE (matavimas) – nustato matavimo vienetus kaip mg/l, ppm arba
% .
ALT/PRESS (aukštis virš jūros lygio / slėgis) – nustato aukštį virš jūros lygio
metrais (m) arba pėdomis (pėd.), arba nustato atmosferos slėgio vienetus
kaip mmHg arba torr. (Numatytoji vertė = 0 pėd.)
ALT/PRESS (aukštis virš jūros
Įveskite aukščio virš jūros lygio arba atmosferos slėgio vertę. Ši vertė turi
lygio / slėgis)
būti tiksli, kad būtų užbaigtas % prisotinimo matavimas ir kalibravimas
vandens garų prisotintame ore. (Numatytoji vertė = 0 pėd.).
SALINITY (druskingumas) Įveskite druskingumo vertę. Druskingumo diapazonas: nuo 0,00 iki
250,00 tūkstantųjų dalių (‰). Daugiau informacijos rasite Druskingumo
koregavimo vertės įvedimas Puslapyje 264. (Numatytoji vertė = 0)
SIGNAL AVERAGE (signalo
Nustato laiko intervalą sekundėmis signalo vidurkiui nustatyti
vidurkis)
CLEAN INTRVL (VALYMO
Nustato rankinio jutiklio valymo laiko intervalą dienomis (numatytoji vertė =
INTRVL)
0 dienų. Įvedus 0 dienų vertę, išjungiamas valymo intervalas.)
RESET CLN INTRVL
Nustato laiko intervalą kaip paskutinį išsaugotą valymo intervalą
(ATST.VAL.INTRV)
LOG SETUP (žurnalo sąranka) Nustato laiko intervalus, kuriais duomenys išsaugomi duomenų žurnale –
0,5, 1, 2, 5, 10, 15 (numatytasis), 30, 60 minučių.
SET DEFAULTS (nustatyti
Atkuria konfigūruojamas numatytąsias jutiklio vertes. Nepakeičia nuotakumo
numatytuosius)
ar nuokrypio nustatymo.
Atmosferos slėgio vertės įvedimas
Atmosferos (oro) slėgio gamyklinis nustatymas yra 0 pėdų, arba jūros lygis. Norėdami pakeisti
numatytąją vertę, naudokite šios procedūros žingsnius. Oro slėgio patikslinimas įvedamas aukščio
virš jūros lygio arba slėgio vienetais (rekomenduojama).
Pastaba: Tikslus oro slėgis – lemiamai svarbus kalibruojant vandens garų prisotintame ore (Kalibravimas
naudojant orą Puslapyje
266). Naudokite tik absoliutų slėgį, o ne patikslintą. Jei absoliutus oro slėgis nežinomas,
naudokite tikslų vietos aukštį virš jūros lygio.
1. Eikite į MENU (meniu) > SENSOR SETUP (jutiklio sąranka) > [Select Sensor] (pasirinkite jutiklį) >
CONFIGURE (konfigūruoti) > SET UNITS (nustatyti vienetus) > AIR PRESS/ALT UNITS (oro
slėgio / aukščio virš jūros lygio vienetai).
2. Pasirinkite vieną iš išvardintų vienetų parinkčių:
Parinktis Aprašymas
ft Pėda – aukščio virš jūros lygio matavimo vienetas
lietuvių kalba 263

Parinktis Aprašymas
m Metrai – metrinis aukščio virš jūros lygio matavimo vienetas
mmHg Gyvsidabrio stulpelio milimetrai – absoliutaus oro slėgio metriniai matavimo vienetai
torr Absoliutaus oro slėgio matavimo vienetai
3. Patvirtinkite pasirinkimą. Vertės įvedimo ekrane bus parodyti pasirinkti vienetai.
4. Įveskite vertę, tada patvirtinkite.
Druskingumo koregavimo vertės įvedimas
Matuojant ištirpusio deguonies kiekį druskinguose mėginiuose, gauta matoma DO vertė gali labai
skirtis nuo realios DO vertės. Norėdami koreguoti ištirpusių druskų mėginyje poveikį, įveskite
druskingumo koregavimo koeficientą.
Pastaba: Jei nežinoma, ar procese esama druskų ir kiek jų yra, pasitarkite su apdorojimo įstaigos inžinieriais.
1. Mėginio specifiniam laidumui matuoti mS/cm 20 °C (68 °F) atskaitos temperatūroje naudokite
specifinio laidumo matuoklį.
2. Druskingumo koregavimo koeficientui nustatyti, kai prisotinimas nurodytas tūkstantosiomis
dalimis (‰), naudokite Lentelė 1.
Pastaba: Chlorido jonų koncentracija g/kg lygi mėginio prisotinimui chloru. Druskingumas apskaičiuojamas
pasitelkus formulę: druskingumas = 1,80655 × prisotinimas chloru.
Druskingumą galima apskaičiuoti pasitelkus santykį leidinio Standard Methods for the
*
Examination of Water and Wastewater 2520 B skyriuje.
,
3. Eikite į MENU (meniu) > SENSOR SETUP (jutiklio sąranka) > [Select Sensor] (pasirinkite jutiklį) >
CONFIGURE (konfigūruoti) > SALINITY (druskingumas).
4. Įveskite druskingumo koregavimo koeficientą ir patvirtinkite.
Lentelė 1 Druskingumo prisotinimo (‰) pagal specifinį laidumą vertė (mS/cm)
mS/cm ‰ mS/cm ‰ mS/cm ‰ mS/cm ‰
5 3 16 10 27 18 38 27
6 4 17 11 28 19 39 28
7 4 18 12 29 20 40 29
8 5 19 13 30 21 42 30
9 6 20 13 31 22 44 32
10 6 21 14 32 22 46 33
11 7 22 15 33 23 48 35
12 8 23 15 34 24 50 37
13 8 24 17 35 25 52 38
14 9 25 17 36 25 54 40
15 10 26 18 37 26
*
Standard Methods for the Examiniation of Water and Wastewater, 20-tasis leidimas. Redaktoriai:
Lenore S. Clesceri, Arnold E. Greenberg ir Andrew D. Eaton, 2-48–2-29 psl. (1998). Prisotinimo
chloru ir deguonies tirpumo santykis pateikiamas tame pačiame literatūros šaltinyje, 4500-O:I
4-131 psl.
264 lietuvių kalba

Valdiklio tiesinės išvesties konfigūravimas
Tiesinės išvestys siunčia zondo duomenis atgal į įstaigos PLC, SCADA ar kitą duomenų surinkimo
sistemą.
1. Eikite į valdiklio išvesties sąrankos meniu.
Parinktis Aprašymas
sc200 Eikite į MENU (meniu) > SETTINGS (nustatymai) > sc200 SETUP („sc200“ sąranka) > OUTPUT
SETUP (išvesties sąranka) > [Select Output] (pasirinkite išvestį) > SET FUNCTION (nustatyti
funkciją).
sc100 Eikite į MENU (meniu) > SYSTEM SETUP (sistemos sąranka) > OUTPUT SETUP (išvesties
sąranka) > [Select Output] (pasirinkite išvestį) > SET FUNCTION (nustatyti funkciją).
sc1000 Eikite į MENU (meniu) > SYSTEM SETUP (sistemos sąranka) > OUTPUT SETUP (išvesties
sąranka) > [Select Output] (pasirinkite išvestį) > SET FUNCTION (nustatyti funkciją).
2. Nustatykite valdiklio funkciją.
Parinktis Aprašymas
sc200 LINEAR (tiesinis)
sc100 LINEAR CONTROL (tiesinis valdymas) (numatytoji vertė)
sc1000 LINEAR CONTROL (tiesinis valdymas) (numatytoji vertė)
„Modbus“ registrai
Pateikiamas „Modbus“ registrų, kurie naudojami ryšių tinklui, sąrašas. Išsamesnė informacija
pateikiama šiuo adresu: www.hach.com or www.hach-lange.com.
Kalibravimas matavimams
Jutiklis pagal techninius duomenis kalibruojamas gamykloje. Gamintojas nerekomenduoja kalibruoti,
nebent reguliuojančios institucijos reikalauja periodiškai kalibruoti. Jei reikia kalibruoti, prieš
kalibruodami leiskite jutikliui pasiekti pusiausvyrą su procesu. Nekalibruokite jutiklio sąrankos metu.
Lentelė 2 pateikiamos kalibravimo parinktys.
Lentelė 2 Kalibravimo parinktys
Parinktis Aprašymas
AIR CAL (kalibravimas vandens garų
Rekomenduojamas kalibravimo metodas. Šis kalibravimas
prisotintame ore)
modifikuoja nuotakumą. ???
SAMPLE CAL (kalibravimas taikant
Kalibravimas lyginant su rankiniu DO matuokliu. Šis kalibravimas
laboratorine analize nustatytą ėminio vertę)
modifikuoja nuokrypį.
RESET DFLT CAL (atstatyti numatytąjį
Atstato kalibravimo prieaugio (nuotakumo) ir nuokrypio
kalibravimą)
numatytąsias gamyklines reikšmes: numatytasis prieaugis = 1,0;
numatytasis nuokrypis = 0,0
lietuvių kalba 265

Kalibravimas naudojant orą
Pastabos naudotojui.
•
Įsitikinkite, kad kalibravimo maišelyje yra vandens.
• Įsitikinkite, kad sujungimas tarp kalibravimo maišelio ir jutiklio korpuso yra sandarus.
• Įsitikinkite, kad kalibravimo metu jutiklis yra sausas.
• Įsitikinkite, kad oro slėgio / aukščio virš jūros lygio nustatymas tiksliai atitinka kalibravimo vietos
parametrus.
• Skirkite pakankamai laiko jutiklio temperatūrai stabilizuotis iki kalibravimo maišelio vietos
temperatūros. Jei proceso ir kalibravimo vietos temperatūros stipriai skiriasi, stabilizavimasis gali
užtrukti iki 15 min.
1. Pašalinkite jutiklį iš technologijos proceso. Jutiklį nuvalykite drėgna šluoste.
2. Visą jutiklį įdėkite į kalibravimo maišelį su 25–50 ml vandens. Įsitikinkite, kad jutiklio dangtelis
nesiliečia su kalibravimo maišelyje esančiu vandeniu ir ant jutiklio dangtelio nėra jokių vandens
lašų (Paveikslėlis 6).
3. Gumine juosta, raiščiu arba ranka sandariai uždenkite jutiklio korpusą.
4. Prieš kalibruodami leiskite prietaisui 15 min. stabilizuotis. Prietaisui stabilizuojantis laikykite
kalibravimo maišelį atokiai nuo tiesioginių saulės spindulių.
5. Įsitikinkite, kad esamas absoliutus oro slėgis ar aukštis virš jūros lygio sukonfigūruoti tinkamai. Žr.
Atmosferos slėgio vertės įvedimas Puslapyje 263.
Pastaba: Gamintojas kaip geriausią praktiką rekomenduoja naudoti absoliutų arba faktinį oro slėgį.
6. Eikite į MENU (meniu) > SENSOR SETUP (jutiklio sąranka) > [Select Sensor] (pasirinkite jutiklį)
>CALIBRATE (kalibruoti) > AIR CAL (kalibravimas vandens garų prisotintame ore).
7. Kalibravimo metu parinkite išvesties signalo parinktį:
Parinktis Aprašymas
Aktyvus Kalibravimo procedūros metu prietaisas siunčia matuojamosios išvesties vertę.
Sulaikyti Kalibravimo procedūros metu einamoji išmatuota jutiklio išvesties vertė sulaikoma.
Perduoti Kalibravimo metu siunčiama iš anksto nustatyta vertė. Kaip pakeisti iš anksto nustatytą vertę
aprašyta valdiklio naudojimo vadove.
8. Valdiklyje bus parodytas pranešimas „Zondą perkelti į maišelį“. Palaukite, kol vertė stabilizuosis.
Norėdami priimti stabilią vertę, spauskite ENTER. Taip pat galite leisti kalibravimui tęstis, kol
ekrane bus parodytas pranešimas „Complete“ (baigta).
9. Kai jutiklis bus sukalibruotas, paleiskite jutiklį veikti. Spauskite „ENTER“.
Paveikslėlis 6 Kalibravimo vandens garų prisotintame ore procedūra
266 lietuvių kalba

Jei nenusistovi stabili vertė, ekrane parodomas pranešimas „Unable to Calibrate“ (nepavyksta
kalibruoti), o po jo - klaidos pranešimas. Lentelė 3 pateikiamas klaidos pranešimas ir kalibravimo
problemų sprendimas.
Lentelė 3 Kalibravimo vandens garų prisotintame ore klaidų pranešimai
Pranešimas Aprašymas Sprendimas
„Cal fail, gain high“ (kalibravimas nepavyko,
Apskaičiuota prieaugio vertė yra per
Kartokite kalibravimą.
didelis prieaugis)
didelė.
„Cal fail, gain low“ (kalibravimas nepavyko,
Apskaičiuota prieaugio vertė yra per maža. Kartokite kalibravimą.
mažas prieaugis)
„Cal fail, unstable“ (kalibravimas nepavyko,
Per ilgiausią leistiną kalibravimo laiką
Kartokite kalibravimą.
nestabilu)
nenusistovėjo stabili vertė.
Mėginio kalibravimas – kalibravimas lyginant
Su šiuo kalibravimo metodu naudojamas alternatyvus jutiklis, pritvirtintas prie rankinio matuoklio.
1. Paleiskite alternatyvų jutiklį veikti. Antrą jutiklį padėkite kiek galima arčiau pirmo jutiklio.
2. Palaukite, kol stabilizuosis DO vertė.
3. Pirmojo jutiklio valdiklyje eikite į MENU (meniu) > SENSOR SETUP (jutiklio sąranka) > [Select
Sensor] (pasirinkite jutiklį) > CALIBRATE (kalibruoti) > SAMPLE CAL (mėginio kalibravimas).
4. Kalibravimo metu parinkite išvesties signalo parinktį:
Parinktis Aprašymas
Aktyvus Kalibravimo procedūros metu prietaisas siunčia matuojamosios išvesties vertę.
Sulaikyti Kalibravimo procedūros metu einamoji išmatuota jutiklio išvesties vertė sulaikoma.
Perduoti Kalibravimo metu siunčiama iš anksto nustatyta vertė. Kaip pakeisti iš anksto nustatytą vertę
aprašyta valdiklio naudojimo vadove.
5. Valdiklyje bus rodoma:
•
„Press ENTER when stabilized“ (kai stabilizuosis, paspauskite ENTER)
• Esamo ištirpusio deguonies matavimas
• Esamos temperatūros matavimas
6. Kai matavimas tampa stabilus, paspauskite ENTER. Ekrane bus rodomas įvedimo ekranas.
Pastaba: Matavimas paprastai stabilizuojasi per 2–3 minutes.
Jei nenusistovi stabili vertė, ekrane parodomas pranešimas „Unable to Calibrate“ (nepavyksta
kalibruoti), o po jo - klaidos pranešimas. Lentelė 4 pateikiamas klaidos pranešimas ir kalibravimo
problemų sprendimas.
Lentelė 4 Mėginio kalibravimo klaidų pranešimai
Pranešimas Aprašymas Sprendimas
„Cal fail, offset high“ (kalibravimas
Apskaičiuota nuokrypio vertė yra per
Kartokite kalibravimą.
nepavyko, didelis nuokrypis)
didelė.
„Cal fail, offset low“ (kalibravimas nepavyko,
Apskaičiuota nuokrypio vertė yra per
Kartokite kalibravimą.
mažas nuokrypis)
maža.
„Cal fail, unstable“ (kalibravimas nepavyko,
Per ilgiausią leistiną kalibravimo laiką
Kartokite kalibravimą.
nestabilu)
nenusistovėjo stabili vertė.
lietuvių kalba 267

Kalibravimo procedūros sustabdymas
1. Kalibravimo metu paspauskite klavišą BACK (atgal). Pasirodo trys parinktys:
Parinktis Aprašymas
ABORT (nutraukti) Sustabdykite kalibravimą. Naują kalibravimo procedūrą reikia pradėti iš
pradžių.
„BACK TO CAL“ (grįžti į
Grįžkite į esamą kalibravimą.
kalibravimą)
LEAVE (baigti) Sustabdykite kalibravimą laikinai. Kai fone tęsiamas kalibravimas, galima
prieiti prie kitų meniu. Galima pradėti antro (jei yra) jutiklio kalibravimo
procedūrą. Norėdami grįžti į kalibravimo procedūrą, spauskite klavišą MENU
(meniu) ir pasirinkite „Sensor Setup“ (jutiklio sąranka), tada – [Select Sensor]
(pasirinkite jutiklį).
2. Pasirinkite vieną iš parinkčių. Patvirtinkite.
Numatytųjų kalibravimo verčių atstatymas
Galima atstatyti numatytuosius gamyklinius kalibravimo nustatymus. Prieaugio ir nuokrypio vertės
atitinkamai nustatomos kaip 1,0 ir 0,0.
1. Eikite į MENU (meniu) > SENSOR SETUP (jutiklio sąranka) > [Select Sensor] (pasirinkite jutiklį)
>CALIBRATE (kalibruoti) > RESET CAL DEFLT (ATST.KAL.NUM.V).
2. Ekrane bus parodytas patvirtinimo pranešimas. Patvirtinkite, jei norite atstatyti numatytąją
gamyklinę jutiklio kalibravimo kreivę.
Techninė priežiūra
P A V O J U S
Įvairūs pavojai. Šiame dokumento skyriuje aprašytas užduotis turi vykdyti tik kvalifikuoti darbuotojai.
P A V O J U S
Sprogimo pavojus. Nejunkite prie įrangos elektrinių dalių arba grandinių ir jų neatjunkite neišjungę
maitinimo ir nebūdami įsitikinę, kad darbo vieta nepavojinga.
P A V O J U S
Sprogimo pavojus. Dalių pakeitimas gali padaryti įrangą netinkamą naudoti 1 klasės, 2 skyriaus
vietose. Nekeiskite dalių neišjungę maitinimo ir nebūdami įsitikinę, kad darbo vieta nepavojinga.
P A S T A B A
Pavojingose vietose naudoti patvirtinta šio gaminio versija neatitinka 94/9/EB direktyvos (ATEX direktyvos)
reikalavimų.
Priežiūros grafikas
Priežiūros grafike pateikti minimalūs laiko intervalai tarp reguliariai vykdomų priežiūros darbų.
Naudojant jutiklius srityse, kuriose ant elektrodų kaupiasi nešvarumai, priežiūros darbus reikia atlikti
dažniau.
Pastaba: Neardykite zondo, norėdami atlikti jo techninę priežiūrą ar valymą.
268 lietuvių kalba

Priežiūros darbas Rekomenduojamas minimalus dažnumas
Jutiklio valymas Kas 90 dienų
Apžiūrėkite, ar jutiklis nepažeistas Kas 90 dienų
Kalibruokite jutiklį Pagal reguliuojančiųjų institucijų rekomendacijas
Jutiklio valymas
Jutiklio išorę nuvalykite minkšta drėgna šluoste.
Pastaba: Jei valymui reikia nuimti jutiklio dangtelį, nepalikite dangtelio vidaus atviro tiesioginiams saulės
spinduliams ilgesiam laikotarpiui.
Valymo intervalo nustatytas ar keitimas
Atsižvelgiant į taikymo sąlygas, laiko tarpas tarp rankinių valymų gali būti trumpesnis arba ilgesnis.
Numatytasis valymo intervalas yra 0 dienų. Norėdami pakeisti intervalą, žr. šios procedūros
žingsnius.
1. Eikite į MENU (meniu) > SENSOR SETUP (jutiklio sąranka) > [Select Sensor] (pasirinkite jutiklį) >
CONFIGURE (konfigūruoti) > CLEAN INTRVL (VALYMO INTRVL).
2. Jei reikia, pakeiskite rodomą vertę. Patvirtinkite pakeitimą.
•
Norėdami išjungti valymo intervalą, nustatykite vertę „0“.
Jutiklio dangtelio keitimas
Į S P Ė J I M A S
Galimas sprogimo pavojus. Neįvertinta, ar jutiklio sąrankos dangtelį galima naudoti pavojingoje vietoje.
Atsarginiai jutiklių dangteliai ir sąrankos dangteliai pristatomi su montavimo instrukcijomis. Kaip
pakeisti dangtelį, žr. pridėtose instrukcijose.
Kad veikimas ir tikslumas būtų geriausi, keiskite jutiklio dangtelį:
•
kas du metus;
• kai per įprastą apžiūrą matomi ryškūs jutiklio dangtelio nusidėvėjimo ženklai.
Trikčių šalinimas
Diagnostikos ir testo meniu
Diagnostikos ir testo meniu galima rasti einamąją ir istorinę informaciją apie LDO jutiklį.
Norėdami pasiekti diagnostikos ir testo meniu, eikite į MENU (meniu) > SENSOR SETUP (jutiklio
sąranka) >[Select Sensor] (pasirinkite jutiklį) > DIAG/TEST (diagnostika / testas).
Žr. Lentelė 5.
Lentelė 5 Meniu DIAG/TEST (diagnostika / testas)
Parinktis Aprašymas
SENSOR INFO (JUTIKLIO
SOFTWARE VERS (programinės įrangos versija) – rodoma įdiegta programinės
INFO)
įrangos versija
BOOT VERSION (ĮKROVOS VERS.) – rodoma įdiegta įkrovos versija
DRIVER VERS (tvarkyklės versija) – rodoma įdiegta programinės įrangos
tvarkyklės versija
LOT CODE (partijos kodas) Rodoma jutiklio dangtelio gamybos partija
lietuvių kalba 269

Lentelė 5 Meniu DIAG/TEST (diagnostika / testas) (tęsinys)
Parinktis Aprašymas
SERIAL NUMBER (serijos
Jutiklio serijos numeris
numeris)
GAIN CORR (prieaugio
Koreguojama kalibravimo prieaugio vertė.
koregavimas)
Diapazonas: nuo 0,50 iki 2,00
OFFSET CORR (nuokrypio
Koreguojama kalibravimo nuokrypio vertė (mg/l arba ppm).
koregavimas)
Diapazonas: nuo –3,00 iki +3,00
PHASE DIAG (fazės
Rodoma bendros, raudonos ir mėlynos bangų ilgio fazė. Naujinama kartą per
diagnostika)
sekundę.
AMPL DIAG (amplitudės
Rodoma raudonos ir mėlynos bangų ilgio amplitudė. Naujinama kartą per
diagnostika)
sekundę.
DAYS TO CLEAN (DIEN.IKI
Rodomas dienų iki kito suplanuoto rankinio valymo skaičius.
VALM.)
SENSOR LIFE
Rodomas dienų iki kito suplanuoto jutiklio dangtelio pakeitimo skaičius.
(JUTKL.EKSPL.TR)
Klaidų sąrašas
Jei įvyksta klaida, matavimo ekrane mirksi parodymas. Išvesties elgseną apibrėžia valdiklio
nustatymai. Išsamios informacijos rasite valdiklio vadove.
Norėdami peržiūrėti esamas jutiklio klaidas, eikite į MENU (meniu) > DIAGNOSTICS (diagnostika) >
[Select Sensor] (pasirinkite jutiklį) > ERROR LIST (klaidų sąrašas). Žr. Lentelė 6.
Lentelė 6 LDO jutiklio klaidų sąrašas
Klaida Galima priežastis Sprendimas
RED AMPL LOW (maža raudonų bangų amplitudė)
Jutiklio dangtelis
Nuimkite jutiklio dangtelį ir vėl
(vertė mažesnė nei 0,01)
nesumontuotas arba
jį sumontuokite.
sumontuotas netinkamai.
ARBA
BLUE AMPL LOW (maža mėlynų bangų
Šviesos kelias blokuojamas
Apžiūrėkite jutiklio dangtelio
amplitudė) (vertė mažesnė nei 0,01)
jutiklio dangtelyje.
vidų ir lęšį.
Jutiklis veikia netinkamai. Įsitikinkite, kad mirksi šviesos
diodas. Kreipkitės į
gamintoją.
Įspėjimų sąrašas
Kai mirksi įspėjimo piktograma („sc100“ ir „sc200“) arba kai ekranas tampa geltonas („sc1000“),
matavimų ekrano apačioje rodomas pranešimas. Kai įspėjimas rodomas modelyje „sc1000“, ekranas
tampa geltonas. Norėdami peržiūrėti esamus jutiklio įspėjimus, eikite į MENU (meniu) >
DIAGNOSTICS (diagnostika) > [Select Sensor] (pasirinkite jutiklį) > WARNING LIST (įspėjimų
sąrašas). Žr. Lentelė 7.
Lentelė 7 Jutiklio įspėjimų sąrašas
Įspėjimas Apibrėžtis Sprendimas
EE SETUP ERR (EE sąrankos
Saugykla sugadinta. Vertės
Kreipkitės į techninės pagalbos
klaida)
atstatytos į numatytąsias
personalą.
gamyklines vertes.
EE RSRVD ERR (rezervuoto EE
klaida)
270 lietuvių kalba

Lentelė 7 Jutiklio įspėjimų sąrašas (tęsinys)
Įspėjimas Apibrėžtis Sprendimas
TEMP < 0 C (temperatūra < 0 °C) Proceso temperatūra yra mažesnė
Padidinkite proceso temperatūrą arba
nei 0 °C (32 °F)
sustabdykite naudojimą, kol proceso
temperatūra pateks į jutiklio
specifikacijose nurodytą diapazoną.
TEMP > 50 C (temperatūra >
Proceso temperatūra yra didesnė
Sumažinkite proceso temperatūrą arba
50 °C)
nei 50 °C (120 °F)
sustabdykite naudojimą, kol proceso
temperatūra pateks į jutiklio
specifikacijose nurodytą diapazoną.
RED AMPL LOW (maža raudonų
Vertė mažesnė nei 0,03 Žr. Lentelė 6 Puslapyje 270.
bangų amplitudė)
RED AMPL HIGH (didelė
Vertė didesnė nei 0,35 Kreipkitės į techninės pagalbos
raudonų bangų amplitudė)
personalą.
BLUE AMPL LOW (maža mėlynų
Vertė mažesnė nei 0,03 Žr. Lentelė 6 Puslapyje 270.
bangų amplitudė)
BLUE AMPL HIGH (didelė
Vertė didesnė nei 0,35 Kreipkitės į techninės pagalbos
mėlynų bangų amplitudė)
personalą.
CAP CODE FAULT (dangtelio
Sugadintas jutiklio dangtelio kodas.
Užbaikite jutiklio sąrankos dangtelio
kodo klaida)
Kodas automatiškai atstatytas į
procedūrą. Jei negalimas joks jutiklio
numatytuosius dangtelio ir partijos
dangtelio sąrankos dangtelis,
kodus.
skambinkite į techninės pagalbos
tarnybą.
Įvykių sąrašas
Įvykių sąraše laikomas pakeitimų, kaip jutiklis įrašo duomenis, žurnalas. Norėdami peržiūrėti jutiklio
įvykius, eikite į MENU (meniu) > DIAGNOSTICS (diagnostika) > [Select Sensor] (pasirinkite jutiklį) >
EVENT LIST (įvykių sąrašas).
Žr. Lentelė 8.
Lentelė 8 Jutiklio įvykių sąrašas
Įvykis Aprašymas
ALT/PRESSURE UNIT CHANGE (aukščio virš jūros lygio /
Pakeisti atmosferos slėgio arba aukščio virš jūros
slėgio vienetų pakeitimas)
lygio vienetai.
ALT/PRESSURE CHANGE (aukščio virš jūros lygio / slėgio
Pakeista aukščio virš jūros lygio arba atmosferos
pakeitimas)
slėgio vertė.
TEMP UNIT CHANGE (temperatūros vienetų pakeitimas) Pakeisti temperatūros vienetai.
MEAS UNIT CHANGE (matavimo vienetų pakeitimas) Pakeisti nauji matavimo vienetai.
SALINITY CHANGE (druskingumo pakeitimas) Pakeista druskingumo vertė.
SET DEFAULT (nustatyti numatytuosius) Atstatytos numatytosios jutiklio nustatymų vertės.
SENSOR SETUP CHANGE (jutiklio sąrankos pakeitimas) Pakeista jutiklio sąranka.
CLEAN INTERVAL TIMER CHANGE (valymo intervalo
Pakeistas laikas tarp jutiklio valymų.
laikmačio pakeitimas)
SENSOR CAP LIFE TIMER CHANGE (jutiklio dangtelio
Pakeistas laikas tarp jutiklio dangtelio pakeitimų.
eksploatacijos laikmačio pakeitimas)
lietuvių kalba 271

Atsarginės dalys ir priedai
Atsarginiai elementai
Aprašymas Eil. Nr. (JAV / ES)
LDO zondas, su vienu jutiklio dangteliu ir 2 kalibravimo maišeliais 9020000 / LXV416.99.20001
LDO zondas pavojingoms vietoms, su vienu jutiklio dangteliu ir 2 kalibravimo
9020300 / —
maišeliais
Jutiklio dangtelis, atsarginis (įskaitant jutiklio sąrankos dangtelį, kuris neskirtas
9021100 / 9021150
naudoti 1 klasės, 2 padalinio pavojingose vietose)
Priedai
Aprašymas Eil. Nr. (JAV / ES)
Jutiklio laido užraktas, skirtas naudoti pavojingose vietose 6139900 / —
Didelės galios oro pūtimo valymo sistema, 115 V (neskirta naudoti pavojingose
6860000 / 6860003.99.0001
vietose)
Didelės galios oro pūtimo valymo sistema, 230 V (pagal ATEX nepatvirtinta
6860100 / 6860103.99.0001
naudoti pavojingose vietose)
Kalibravimo maišelis (1 vnt.) 5796600 / 5796600
Laidas, jutiklio pailginimo, skirtas naudoti nepavojingose vietose, 7,7 m
JAV: 5796000, 7,7 m (25 pėd.)
1
(25 pėd.)
ES: LZX849, 10 m (33 pėd.)
Techninės įrangos rinkinys vamzdinei sistemai montuoti (PVC) 9253000 / LZY714.99.21810
Techninės įrangos rinkinys plūduriuojančiai sistemai montuoti (PVC) 9253100 / LZX914.99.42200
Techninės įrangos rinkinys oro pūtimo sistemai montuoti 9253500 / LZY812
Techninės įrangos rinkinys sistemai su grandine montuoti (nerūdijančio plieno) — / LZX914.99.11200
Techninės įrangos rinkinys jungtinei sistemai montuoti 9257000 / 9257000
HQd matuoklis su LDO grublėtu zondu (neskirtas naudoti pavojingose vietose) 8505200 / HQ40D.99.310.000
1
Taip pat galimas 15 m (49 pėd.) ir 30 m (98 pėd.)
272 lietuvių kalba

Оглавление
Технические характеристики на стр. 273 Эксплуатация на стр. 279
Общая информация на стр. 274 Обслуживание на стр. 285
Основные сведения об изделии на стр. 275 Поиск и устранение неисправностей на стр. 286
Монтаж на стр. 276 Запасные части и принадлежности на стр. 289
Калибровка для измерений на стр. 282
Технические характеристики
В технические характеристики могут быть внесены изменения без предварительного
уведомления.
Характеристика Данные
Материалы, соприкасающиеся с
Хлорированный ПВХ, наконечник датчика и наконечник кабеля
измеряемой средой (корпус датчика)
Полиуретан, заделка конца кабеля и оплетки кабеля
Корпус и винты, нержавеющая сталь 316
Витон, уплотнительное кольцо
Норил, гайка на конце кабеля
Классификация IP IP 68
Материалы, соприкасающиеся с
Полиакрил
измеряемой средой (Сенсорный
колпачок)
Диапазон измерения (растворенный
0 – 20 ppm (0 – 20 мг/л)
кислород)
0 – 200% насыщение
Точность измерения (растворенный
Ниже 5 ppm: ± 0.1 ppm
кислород)
Выше 5 ppm: ± 0.2 ppm
Воспроизводимость (растворенный
0.1 ppm (мг/л)
кислород)
Время отклика (растворенный кислород) T
90
<40 секунд
T
95
<60 секунд
Разрешение, датчик (растворенный
0.01 ppm (мг/л); 0.1% насыщение.
кислород)
Диапазон измерения (температура) от 0 до 50 °C (от 32 до 122 °F)
Точность измерения (температура) ± 0.2 °C (±0.36 °F)
+
+
Мешающие влияния Отсутствие помех от следующих веществ: H
2
S, pH, K
, Na
,
2+
2+
+
3+
2+
2+
2+
2+
3+
Mg
, Ca
, NH
4
, Al
, Pb
, Cd
, Zn
, Cr (total), Fe
, Fe
,
2+
2+
2+
2+
–
–
2–
2–
3–
–
Mn
, Cu
, Ni
, Co
, CN
, NO
3
, SO
4
, S
, PO
4
, Cl
,
анион-активные ПАВ, сырые нефтепродукты, Cl
2
< 4 ppm
Температура хранения от –20 до 70 °C (от –4 до 158 °F)
Максимальная окружающая температура 60 °C (140 °F). Подходит для использования в воде с
температурой до 50 °C (122 °F)
Классификация по отношению к опасным
Класс I раздел 2, группы A–D, T4 / класс I, зона 2 группа 2C, T4
условиям (только датчик 5790001)
Примечание: Настоящий продукт не отвечает требованиям
Директивы ЕС 94/9/EC (Директива ATEX).
Русский 273

Характеристика Данные
Сертификация (только датчик 5790001) ETL приведен в списке соответствия стандартам ANSI/ISA,
CSA и FM для использования в местах повышенной опасности.
Примечание: Настоящий продукт не отвечает требованиям
Директивы ЕС 94/9/EC (Директива ATEX).
Минимальная скорость потока Не требуется
Калибровка/поверка Калибровка по воздуху: одноточечная, 100% водонасыщенный
воздух
Калибровка по образцу: сравнение со стандартным прибором
Предельные глубина погружения
Предельное давление на 34 м (112 фут.) 345 кПа (50 psi)
датчика и давление
максимум; погрешность может не выдерживаться на такой
глубине
Кабель датчика встроенный кабель 10 м (30 футов) с быстросъемным
разъемом (все типы датчиков)
До 100 м с удлинительным кабелем (только для датчиков не
сертифицированных для эксплуатации в опасных условиях,
класс I, раздел 2)
До 1000 м с распределительной коробкой (только для датчиков
не сертифицированных для эксплуатации в опасных условиях,
класс I, раздел 2)
Масса датчика 1.0 кг (2 фунта 3 унции)
Размеры датчика Диаметр x длина: 49.53 x 255.27 мм (1.95 x 10.05 дюйма)
Потребляемая мощность 12 В пост.т., 0,25 А, 3 Вт
Гарантия Датчик: 3 года на производственные дефекты
Сенсорный колпачок: 2 года на производственные дефекты
Общая информация
Производитель ни при каких обстоятельствах не несет ответственности за прямой, непрямой,
умышленный, неумышленный или косвенный ущерб в результате любых недочетов или
ошибок, содержащихся в данном руководстве. Производитель оставляет за собой право
вносить изменения в руководство или описанную в нем продукцию без извещений и
обязательств. Все обновления можно найти на веб-сайте производителя.
Указания по безопасности
У В Е Д О М Л Е Н И Е
Изготовитель не несет ответственности за любые повреждения, вызванные неправильным применением
или использованием изделия, включая, без ограничения, прямой, неумышленный или косвенный ущерб, и
снимает с себя ответственность за подобные повреждения в максимальной степени, допускаемой
действующим законодательством. Пользователь несет исключительную ответственность за выявление
критических рисков в работе и установку соответствующих механизмов для защиты обследуемой среды в
ходе возможных неполадок оборудования.
Внимательно прочтите все руководство пользователя, прежде чем распаковывать,
устанавливать или вводить в эксплуатацию оборудование. Соблюдайте все указания и
предупреждения относительно безопасности. Их несоблюдение может привести к серьезной
травме обслуживающего персонала или выходу из строя оборудования.
Чтобы гарантировать, что обеспечиваемая оборудованием защита не нарушена, не
используйте или не устанавливайте данное оборудование никаким иным способом, кроме
указанного в данном руководстве.
274 Русский

Информация о потенциальных опасностях
О П А С Н О С Т Ь
Указывает на потенциальные или непосредственно опасные ситуации, которые при нарушении могут
привести к серьезным травмам или смерти.
П Р Е Д У П Р Е Ж Д Е Н И Е
Указывает на потенциальные или непосредственно опасные ситуации, которые при нарушении могут
привести к серьезным травмам или смерти.
О С Т О Р О Ж Н О
Указывает на потенциально опасную ситуацию, которая может привести к травмам малой и средней
тяжести.
У В Е Д О М Л Е Н И Е
Указывает на ситуацию, которая, если ее не избежать, может привести и повреждению оборудования.
Информация, на которую следует обратить особое внимание.
Предупредительные надписи
Прочтите все бирки и этикетки на корпусе прибора. При их несоблюдении возникает опасность
телесных повреждений или повреждений прибора. Символ на приборе вместе с
предостережением об опасности включен в руководство.
Это символ предупреждения об опасности. Для предотвращения возможной травмы
соблюдайте все меры по технике безопасности, отображаемые с настоящим символом. Если
символ на приборе, см. руководство по эксплуатации или информацию по технике
безопасности.
Этот символ указывает на наличие источника светового излучения, который может
представлять опасность незначительного вреда для органов зрения. Для предотвращения
возможного повреждения глаз выполняйте все указания, отмеченные этим символом.
Этот символ указывает на наличие устройств, чувствительных к электростатическому разряду,
и указывает, что следует быть очень внимательными во избежание их повреждения.
Начиная с 12 августа 2005 г., электрооборудование, отмеченное данным знаком, не может быть
утилизировано в системах обработки обычных городских отходов в странах Европы. Согласно
действующим местным и национальным положениям (Директива ЕС 2002/98/
EC),
пользователи стран Европейского Союза обязаны возвращать старые или отслужившие свой
срок электроприборы производителю для их утилизации, не неся при этом никаких расходов.
Примечание: По вопросу возврата приборов для утилизации просим связаться с их производителем либо
поставщиком и действовать согласно полученным указаниям в плане возврата отслужившего свой ресурс
оборудования, поставленных производителем электрических и всех прочих вспомогательный
принадлежностей для их надлежащей утилизации.
Основные сведения об изделии
О П А С Н О С Т Ь
Химическая или биологическая опасность. Если этот прибор используется для отслеживания
процесса обработки и/или работы системы подачи химикатов, для которой необходимо
соблюдать нормативные ограничения и требования по мониторингу, связанные со здоровьем
населения, общественной безопасностью, производством пищевых продуктов и напитков, то на
пользователя прибора возлагается ответственность за ознакомление с этими требованиями и их
выполнение, а также за обеспечение наличия и установки необходимых и достаточных
механизмов для соответствия применимым правилам в случае сбоя в работе прибора.
Настоящий датчик предназначен для работы с контроллером, для сбора данных и управления.
Датчик может работать с различными контроллерами. Для более подробной информации
обратитесь к руководствам к соответствующим контроллерам
Русский 275

Данный датчик применяется главным образом в областях, связанных с городскими и
промышленными сточными водами. Технология датчика
LDO не требует поглощения
кислорода и позволяет замерять концентрации растворенного кислорода в условиях слабого
потока или его отсутствия. См. Рисунок 1.
Рисунок 1 Датчик LDO
1 Сенсорный колпачок 3 1-дюймовая NPT резьба
2 Датчик температуры 4 Разъем быстрого подключения (стандартный)
Список компонентов датчика LDO
Убедитесь в наличии всех компонентов, показанных на Рисунок 2. Если какой-либо элемент
отсутствует либо поврежден, свяжитесь с изготовителем или торговым представителем. См.
Рисунок 2.
Рисунок 2 Список компонентов датчика
1
1 Датчик LDO
2 Калибровочные пакеты (2x)
1
Прилагаемое руководство пользователя не показано.
Монтаж
Подтвердите тип датчика
О П А С Н О С Т Ь
Вероятность взрыва. Подключите только периферийные компоненты, четко обозначенные как
сертифицированные для места повышенной опасности по классу 1, разделу 2.
276 Русский

У В Е Д О М Л Е Н И Е
Модификация данного продукта, пригодная к эксплуатации в опасных условиях, не отвечает требованиям
Директивы ЕС 94/9/EC (Директива ATEX).
1. Осмотрите конец кабеля с разъемом.
2. Прочтите этикетку на конце кабеля с разъемом. У датчиков, сертифицированных для
эксплуатации в опасных условиях, на этикетке должно быть указано "Назначение: класс 1,
раздел 2".
3. Проверьте разъем.
•
Датчики, сертифицированные для эксплуатации в опасных условиях, имеют фиксатор
разъема. См. Рисунок 3 на стр. 277.
• Датчики, не сертифицированные для эксплуатации в опасных условиях, имеют разъем
быстрого подключения без фиксатора.
Подключение датчика в опасных условиях
О П А С Н О С Т Ь
Вероятность взрыва. Оборудование пригодно для эксплуатации в безопасных условиях или в
опасных условиях по классу 1, разделу 2, группам
A, B, C, D с указанными сенсорами и опциями
при установке согласно контрольным схемам установки в опасных условиях. Для правильной
установки обязательно следуйте контрольным схемам и действующим электротехническим
правилам и нормам.
О П А С Н О С Т Ь
Вероятность взрыва. Подключение и отключение электрических компонентов и цепей
допускается, только если питание отключено или известно, что условия являются безопасными.
У В Е Д О М Л Е Н И Е
Необходимо использовать только датчики и кабельные разъемы, сертифицированные для эксплуатации в
опасных условиях. Модификация данного продукта, пригодная к эксплуатации в опасных условиях, не
отвечает требованиям Директивы ЕС 94/9/
EC (Директива ATEX).
Подробную информацию см. в Подтвердите тип датчика на стр. 276
.
1. Отсоедините защитный колпачок отверстия разъема от контроллера. Сохраните защитный
колпачок отверстия разъема на случай удаления датчика.
2. Подключите датчик к контроллеру. Для более подробной информации обратитесь к
руководству по эксплуатации контроллера.
3. Закрепите фиксатор на разъеме.
4. Чтобы удалить фиксатор разъема, используйте маленькую отвертку с плоским шлицем.
См. Рисунок 3.
Рисунок 3 Фиксатор разъема
Русский 277

Подключение датчика в неопасных условиях
См. Рисунок 4 для подключения датчика LDO к
sc-контроллеру. Инструкции по подсоединению
конкретной модели см. в руководстве по эксплуатации sc-контроллера.
Рисунок 4 Подключение датчика LDO (показан датчик для неопасных условий)
После подсоединения датчика выполните его определение. См. Установка датчика
на стр. 278
.
Установка датчика
Датчик можно установить двумя способами:
• Подключить датчик, когда питание контроллера отключено. При включении контроллер
выполнит поиск и установку новых датчиков.
• Подключить датчик, когда питание контроллера включено. Для установки нового датчика
используется команда Scan Devices (Поиск устройств):
Опция Наименование
контроллер sc200 Перейдите в меню MENU>TEST/MAINT>SCAN DEVICE
(МЕНЮ>ТЕСТ/ОБСЛУЖ>ПОИСК УСТРОЙСТВА)
контроллер sc100 Перейдите в меню MENU>TEST/MAINT>SCAN SENSORS
(МЕНЮ>ТЕСТ/ОБСЛУЖ>ПОИСК ДАТЧИКОВ)
контроллер sc1000 Перейдите в меню MENU>SYSTEM SETUP>DEVICE MANAGEMENT>SCANNING
FOR NEW DEVICES (
МЕНЮ>НАСТРОЙКА СИСТЕМЫ>УПРАВЛЕНИЕ
УСТРОЙСТВАМИ>ПОИСК НОВЫХ УСТРОЙСТВ)
См. Подключение датчика в неопасных условиях на стр. 278
для информации по
подключению цифровых датчиков.
Установка дополнительных элементов датчика
Дополнительные элементы и принадлежности для датчика LDO поставляются в монтажном
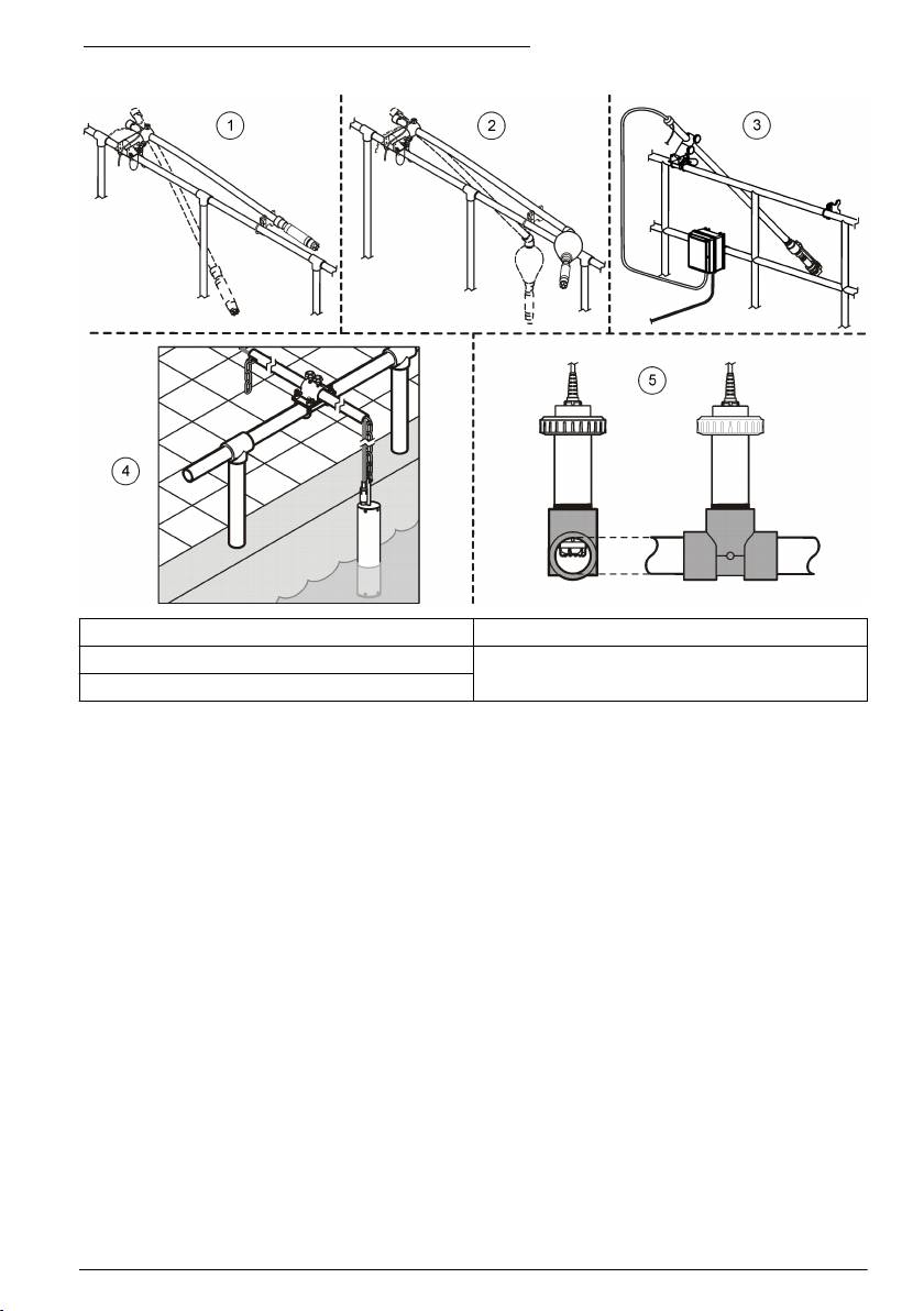
комплекте вместе с инструкциями по установке. На Рисунок 5 показаны некоторые
дополнительные элементы. Для заказа монтажного комплекта обратитесь к разделу Запасные
части и принадлежности на стр. 289.
278 Русский

Рисунок 5 Установка дополнительных элементов
1 Установка на перилах 4 Цепной подвес
2 Плавающая установка 5 Монтаж в кожухе
3 Установка системы продувки воздухом
Эксплуатация
Кнопки и меню перехода пользователя
Описание клавишной панели и сведений о переходах см. в документации на контроллер.
Настройка датчика
Используйте меню НАСТРОЙКИ для ввода идентификационных данных датчика и для
изменения опций обработки и хранения данных.
Сведения об установке датчика см. в Установка датчика на стр. 278.
Убедитесь в правильности всех значений в меню настроек для приложения.
1. Перейдите в MENU>SENSOR SETUP>[Select Sensor]>CONFIGURE (МЕНЮ>НАСТРОЙКА
ДАТЧИКА>[Выбор датчика]>НАСТРОЙКА).
2. Выберите опцию и нажмите
ENTER (ВВОД). Список доступных опций показан в следующей
таблице.
Русский 279

Опция Наименование
РЕДАК. ИМЕНИ Изменяет имя, которое соответствует датчику наверху экрана
измерений. Имя может содержать не более 10 символов в любой
комбинации: буквы, цифры, пробелы и знаки препинания.
SET UNITS (ЕДИНИЦЫ
TEMP (ТЕМПЕРАТУРА) – Устанавливает единицы измерения
ИЗМЕРЕНИЯ)
температуры на °C (по умолчанию) или °F.
MEASURE (ИЗМЕРЕНИЕ) – Устанавливает единицы измерения в мг/л,
ppm или %.
ALT/PRESS (ВЫСОТА/ДАВЛЕНИЕ) – Устанавливает высоту в метрах
или футах или задает атмосферное давление в мм.рт.ст. или торр.
(Значение по умолчанию = 0 фт)
ВЫСОТА/ДАВЛЕНИЕ Ввод высоты или атмосферного давления. Это значение должно быть
точным для выполнения измерений в % насыщения и для калибровки в
воздухе. (Значение по умолчанию = 0 фт)
СОЛЕНОСТЬ Введите значение солености. Диапазон солености: от 0.00 до
250.00 долей на тысячу (‰). Дополнительная информация приведена в
Ввод поправки на соленость на стр. 281. (Значение по умолчанию: 0)
SIGNAL AVERAGE (УСРЕД.
Задает временной интервал для усреднения сигнала в секундах
СИГН)
ИНТЕРВ ОЧИСТКИ Задает временной интервал для ручной очистки датчика в днях
(Значение по умолчанию = 0 дней. Значение 0 дней делает параметр
интервала очистки неактивным.)
СБРОС ИНТ ОЧИС Устанавливает временной интервал на последнее сохраненное
значение интервала очистки
НАСТР. ЗАПИСИ Устанавливает промежуток времени сохранения результатов измерений
в журнале данных — 0.5, 1, 2, 5, 10, 15 (по умолчанию), 30, 60 минут.
SET DEFAULT (ЗАДАТЬ
Восстанавливает значения по умолчанию для настраиваемых
ФУНКЦИЮ ПО УМОЛЧАНИЮ)
параметров. Не меняет значения настроек калибровки.
Ввод значения атмосферного давления
Заводская установка атмосферного давления соответствует высоте 0 фт, то есть уровню
моря. Для изменения значения по умолчанию выполните действия, указанные в следующей
процедуре. Поправка на атмосферное давление вводится в единицах высоты или давления
(предпочтительно).
Примечание: Точное значение атмосферного давления критично для калибровки насыщения воздухом
(Калибровка с воздухом на стр. 282
). Необходимо использовать только абсолютное значение давления,
а не исправленное. Если абсолютное значение давления не известно, необходимо использовать
правильное значение высоты местности.
1. Перейдите в меню MENU>SENSOR SETUP>[Select Sensor]>CONFIGURE>SET UNITS>AIR
PRESS/ALT UNITS (МЕНЮ>НАСТРОЙКА ДАТЧИКА>[Выбор
датчика]>НАСТРОЙКА>ЕДИНИЦЫ ИЗМЕРЕНИЯ>ЕДИНИЦЫ АТМ.ДАВЛЕНИЯ/ВЫСОТЫ).
2. Выберите одну из указанных опций:
Опция Наименование
фт Футы—единицы измерения высоты
м Метры—единицы измерения высоты
мм рт. ст. Миллиметры ртутного столба — метрическая единица абсолютного давления воздуха
торр Единица измерения абсолютного давления воздуха
3. Подтвердите выбор. На экране ввода будут показаны выбранные единицы.
280 Русский

