Rothenberger RE 17 Dreigas-Anlage AMS 10/10 – страница 3
Инструкция к Rothenberger RE 17 Dreigas-Anlage AMS 10/10
ITALIANO
37
1
Indicazioni di sicurezza
1.1
Utilizzo conforme alle disposizioni
Ci congratuliamo con voi per l’acquisto di un prodotto della marca Rothenberger. Il dispositivo
di saldatura autogena che avete acquistato è un prodotto di qualità. Questo dispositivo
dall’utilizzo universale vi consente, utilizzando le bombole di acetilene y di ossigeno in acciaio
da 5L o 10L, un lungo periodo di saldatura in maniera facile e maneggevole.
È un dispositivo molto adatto alla brasatura forte.
1.2
Indicazioni di sicurezza generali
Attenzione! Bisogna leggere tutte le indicazioni.
Gli errori causati da una mancata
osservanza delle presenti indicazioni possono causare incendi o gravi lesioni. Bisogna
assolutamente attenersi alla normativa in materia di sicurezza e alle direttive tecniche. In
caso di danni causati da un errore dell’utente, decade la garanzia.
CONSERVARE CORRETTAMENTE QUESTE ISTRUZIONI.
1) Posto di lavoro
a)
Mantenere l’area di lavoro sempre pulita e in ordine.
Un posto di lavoro disordinato
e con scarsa illuminazione può provocare degli incidenti.
b)
Non lavorare mai col dispositivo in ambienti a rischio di esplosione, nei quali si
trovino liquidi, gas o polveri infiammabili.
Gli utensili generano scintille che possono
infiammare la polvere, i vapori o i gas. Assicurare sempre un’aerazione sufficiente. Se è
possibile, non bisogna lavorare in ambienti chiusi.
c)
Tenere i bambini e altre persone lontane durante l’utilizzo dell’utensile.
In caso di
deviazione è possibile perdere il controllo del dispositivo.
d)
Non usare i flessibili per scopi diversi da quelli previsti, quindi non usarli per
trasportare o per appendere il dispositivo. Tenere lontani i flessibili dal calore, da
olio, da oggetti appuntiti o da componenti in movimento.
I flessibili danneggiati o
ingarbugliati aumentano il rischio di esplosione.
e)
Tenere il dispositivo privo di olio e grasso.
Con l’ossigeno puro è possibile che gli oli
e i grassi di ogni tipo diventino esplosivi. Non posizionare il dispositivo vicino a fonti di
calore (riscaldamento, forni, fiamme libere o simili).
2) Sicurezza delle persone
a)
Siate attenti a tutto ciò che fate e procedete sempre con cautela durante il lavoro
con lo strumento. Non utilizzate il dispositivo se siete stanchi o sotto l’effetto di
droghe, alcool o medicinali.
Un momento di disattenzione durante l’uso del dispositivo
può provocare gravi lesioni.
b)
Indossate i dispositivi di protezione individuale e sempre gli occhiali di
protezione.
Indossando un’attrezzatura di protezione individuale, come scarpe di
sicurezza antiscivolo, abbigliamento ignifugo e occhiali di protezione, in base all’utilizzo
del dispositivo, si ridurrà il rischio di lesioni.
c)
Non sopravvalutatelo. Assumete sempre una postura corretta e mantenete
sempre l’equilibrio.
In questo modo è possibile controllare sempre il dispositivo in
situazioni incontrollate.
d)
Indossate un abbigliamento adeguato. Non indossate abbigliamento largo o
gioielli. Tenete i capelli, l’abbigliamento e i guanti lontani dai componenti in
movimento.
I vestiti larghi, i gioielli o i capelli lunghi possono essere impigliati dai
componenti in movimento.
3) Manipolazione accurata e utilizzo dei dispositivi
a)
Conservare gli utensili non utilizzati lontano dalla portata dei bambini. Non far
usare il dispositivo a persone che non abbiano dimestichezza con queste
istruzioni o che non le abbiano lette.
Gli utensili sono pericolosi se vengono usati da
persone inesperte.
38
ITALIANO
b)
Controllare con cura il dispositivo. Controllare se tutti i componenti in
movimento funzionano bene e non si inceppano, controllare se ci sono
componenti rotti o danneggiati a tal punto da compromettere la funzionalità del
dispositivo. Far riparare i componenti danneggiati prima di utilizzare il
dispositivo.
Molti incidenti hanno come causa un utensile con scarsa manutenzione.
c)
Non lasciare mail il dispositivo di brasatura forte incustodito durante l’utilizzo.
C’è il pericolo di incendio.
d)
Prestare attenzione al manometro sul riduttore di pressione dell acetilene e
dell’ossigeno.
Sostituire il manometro danneggiato solo con il ricambio originale
Rothenberger.
e)
Le valvole di non ritorno di sicurezza per ossigeno e acetilene devono essere
utilizzate in ambito industriale.
4) Assistenza
Far riparare il dispositivo solo da personale specializzato qualificato, utilizzando solo
ricambi originali.
In questo modo si garantisce che la sicurezza del dispositivo rimanga tale.
1.3
Indicazioni di sicurezza speciali
Maxi Gas è altamente infiammabile, incolore, più pesante dell’aria e con un odore
percepibile.
Acetilene e le bombole di ossigeno non devono finire nelle mani dei bambini.
Conservare acetilene e le bombole di ossigeno in un luogo ben aerato.
Non fumare mentre si lavora con le bombole.
Mantenere le ricariche e le bombole di ossigeno lontane da fonti di ignizione.
Verificare la tenuta dei collegamenti a vite con un agente schiumogeno (ad es. acqua
saponosa, spray cerca fughe).
Chiudere la valvola della bombola in caso di malfunzionamenti e dopo il lavoro.
Non utilizzare il dispositivo in posizione orizzontale. Nelle cartucce il gas liquido MAXI-Gas
giunge nella valvola e negli ugelli del cannello comportando dei malfunzionamenti.
Il trasporto del gas acetilene non mentire o operare. (Da acetone) dei flussi.
2
Dati tecnici
RE 17 UNIVERSAL
Sistema a tre gas
AMS 5/5
RE 17 UNIVERSAL
Sistema a tre gas
AMS 10/10
RE 17 STANDARD
Sistema a tre gas
AMS 10/10
Numero
articolo: 3.5400 3.5401
3.5798
Contenuto delle
bombole
5 l acetilene /
5 l ossigeno /
600 ml Maxigas
10 l acetilene /
10 l ossigeno /
600 ml Maxigas
10 l acetilene /
10 l ossigeno /
600 ml Maxigas
Ambito di saldatura:
da 0,5 a 14 mm
da 0,5 a 9mm
Ambito di taglio:
da 3,0 a 50 mm
da 3,0 a 25mm
Saldatura e taglio:
Acetilene con ossigeno
Brasatura forte:
Acetilene con ossigeno ovvero
MAXIGAS con adattatore e cannello (accessorio)
Temperatura di lavoro:
1 250°C
Temperatura della
fiamma:
3 100°C
ITALIANO
39
Le operazioni di saldatura
Operazio
ne di
saldatura
Saldatura
spessore
Articolo
nr.
Tipo di
gas
Pressione
di ossigeno
Pressione
acetilene
Consumo
di
ossigeno
Acetilene
consumo
Größe
[mm
]
[bar] [bar] [l/h] [l/h
]
1
0,5 - 1,0
3.5325
80
80
2
1,0 - 2,0
3.5326
160
160
3
2,0 - 4,0
3.5327 Acetylen
2,5 0,2 315 315
4
4,0 - 6,0
3.5328
500
500
5
6,0 - 9,0
3.5329
800
800
6
9,0 - 14,0
3.5334
1250
1250
Taglio ugelli
Ugello
Spessore di taglio
Articolo nr.
Pressione di
ossigeno
Pressione
acetilene
Gr.
[
mm
]
[
bar
]
[
bar
]
1/32 3-
6 3.5341 2,0
3/64 6-
20 3.5344 2,5
1/16 20-
75 3.5345 3,5
≥
0,5
3
Funzioni
3.1
Panoramica
A
1
Bombola di acetilene
8
Pacchetto di tubi
flessibili doppi
15
Punta da taglio
2
Bombola di ossigeno
9
MAXIGAS 400
16
Chiave per cannello
3
Riduttore di pressione
per bombola di
acetilene
10
Impugnatura RE17
17
Valvola di regolazione
gas MAXIGAS
4
Riduttore di pressione
per bombola di
ossigeno
11
Leva alare RE17
18
Adattatore tubo
flessibile MAXIGAS
5
Carrello per trasporto
12
Operazione di
saldatura RE17
19
Accenditore di sicurezza
6
Cappucci in gomma
rossi
13
Pulisci ugelli
20
Pietre focaie di ricambio
7
Cappucci in gomma blu
14
Punta di riscaldo
3.2
Descrizione della funzione
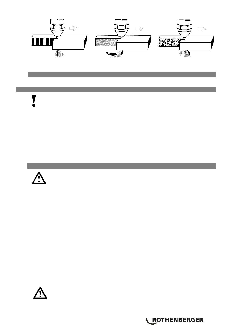
Saldatura con ugelli ad alte prestazioni:
In linea di massima, la fiamma di saldatura deve ardere in modo neutro (il rapporto di miscela
dei gas è bilanciato) e la sua dimensione deve essere proporzionata allo spessore del
materiale, alla forma della giuntura, alla posizione di saldatura e alla conducibilità termica del
materiale.
Per la saldatura dell’acciaio con materiali di grosso spessore, aprire ampiamente entrambe le
valvole, mentre per la saldatura di lamiere di acciaio con materiali di scarso spessore
richiudere un po’ le valvole.
Preriscaldare il materiale e la bacchetta di apporto. Non appena il metallo inizia a fondere su
entrambi i lati della giuntura, aggiungere la bacchetta di apporto. Attenzione: riscaldare in
modo uniforme la zona da saldare. Guidare il cannello con movimenti semicircolari attorno
alla bacchetta da apporto.
40
ITALIANO
Brasatura forte:
Pulire le superfici di accoppiamento, lucidare e sbavare gli angoli. Preriscaldare la zona da
brasare. Applicare la punta della bacchetta di brasatura sulla zona da brasare, far fondere una
goccia della lega per brasatura e distenderla con un movimento continuo della fiamma.
Taglio all’ossigeno:
Î
Scegliere gli ugelli per il taglio all’ossigeno (
23
) in base allo spessore del pezzo da lavorare
(vedere Caratteristiche tecniche) e avvitarli a tenuta di gas nella testa del cannello dei
dispositivi di taglio (
20
) o del cannello ossidrico manuale (
15
).
Î
A tale scopo utilizzare chiavi di montaggio adeguate. Bloccare sulle superfici delle chiavi della
testa del cannello. Utilizzare esclusivamente ugelli per il taglio all’ossigeno nuovi, integri,
originali ROTHENBERGER. Prestare attenzione a superfici di tenuta su ugelli e testa del
cannello.
Impostazione delle pressioni di esercizio
Î
Anzitutto, tenere chiuse le valvole di regolazione per ossigeno e gas combustibile (
16
e
17
)
sull’impugnatura o sul cannello ossidrico manuale (
15
).
Î
Aprire lentamente le valvole delle bombole (
1
e
2
) o le valvole di prelievo (
9
e
10
) sul tubo
ripartitore.
Î
Aprire la valvola di uscita (
7
) sul riduttore di pressione dell’ossigeno, la valvola di regolazione
per l’ossigeno (
16
) sull’impugnatura o sul cannello ossidrico manuale (
15
) e la valvola
dell’ossigeno da taglio (
22
) sul dispositivo di taglio (
20
) o sul cannello ossidrico manuale (
15
).
Î
Girando la vite di registro (
5
) sul riduttore di pressione della bombola per l’ossigeno (
3
)
regolare la pressione di esercizio (vedere Caratteristiche tecniche).
Î
Richiudere la valvola dell’ossigeno da taglio (
22
) e la valvola di regolazione per l’ossigeno.
Î
Aprire la valvola di uscita (
8
) sul riduttore di pressione del gas combustibile e, girando la vite
di registro (
6
), impostare la pressione del gas combustibile (vedere Caratteristiche tecniche)
Attenzione
È necessario verificare se la pressione del tubo è di almeno 0,2 bar superiore ai valori indicati
(vedere Caratteristiche tecniche)!
Accensione e regolazione della fiamma
Î
Per prima cosa, aprire la valvola di regolazione per l’ossigeno (
16
) sull’impugnatura o sul
cannello ossidrico manuale (
15
), quindi aprire la valvola dell’ossigeno di riscaldo (
21
) sul
dispositivo di taglio (
20
) e la valvola di regolazione per il gas combustibile (
17
)
sull’impugnatura o sul cannello ossidrico manuale (
15
).
Î
Accendere subito la miscela di gas in uscita. Impostare su neutro la fiamma regolando la
valvola dell’ossigeno di riscaldo (
21
) e la valvola di regolazione per l’ossigeno (
16
) e la valvola
di regolazione per il gas combustibile (
17
) (come la fiamma di saldatura).
Î
Aprire completamente la valvola dell’ossigeno da taglio (
22
), eventualmente regolare
ulteriormente la pressione dell’ossigeno (vedere Caratteristiche tecniche). Impostare
nuovamente le fiamme su neutro. Richiudere la valvola dell’ossigeno da taglio (
22
).
Taglio
Î
Mettere il cannello in posizione di taglio e con la fiamma di riscaldo scaldare il pezzo
localmente alla temperatura di accensione.
Attenzione! Non sciogliere il materiale! Aprire quindi la valvola dell’ossigeno
da taglio (22) e guidare il cannello nella direzione di taglio.
Velocità di taglio
La velocità di taglio corretta si riconosce dall’uscita di scorie, dalle scintille verticali e dal rumore di
taglio.
ITALIANO
41
3.3 Accessori
Gli accessori adeguati e un modulo d’ordine si trovano a pagina 70.
4
Trasporto e conservazione
Per il trasporto bisogna chiudere la valvola della bombola d’ossigeno e la valvola della
bombola di ricarica del acetilene bottiglia.
Al termine dei lavori di saldatura forte in caso di valvola della bombola di ricarica del
acetilene aperta e di valvola della bombola dell’ossigeno chiusa, bisogna aprire la valvola
dell'ossigeno e del gas sull’impugnatura e far sfiatare il gas residuo (Gauge display nota).
In questo modo si scaricano i flessibili e il riduttore di pressione dell acetilene e
dell’ossigeno.
Smontare il riduttore di pressione dell’ossigeno. Svitare la valvola della bombola di ricarica del
gas maxi. I flessibili devono essere collegati al riduttore di pressione dell’ossigeno e alla valvola
della bombola di ricarica del gas . Assicurare il dispositivo contro eventuali scivolamenti e
cadute sulla superficie di carico. Stoccaggio e trasporto solo con la bombola in verticale.
Le bombole ricaricabili devono essere riempite solo da esercizi autorizzati.
Il riempimento eseguito in maniera errata può causare gravi incidenti.
4.1
Montaggio
Sostituire le ricariche del gas solo in un luogo ben aerato, preferibilmente
all’aperto.
-
Assicuratevi che tutte le valvole siano chiuse prima dell’inizio dei lavori.
-
Durante il montaggio bisogna stringere il riduttore di pressione dell’ossigeno con la chiave.
-
Avvitare la bombola monouso MAXIGAS avvitandola verso destra nella valvola di
regolazione fine del gas. Prestare attenzione ad una corretta accessibilità all’inizio della
filettatura. In caso di avvitamento storto decade la garanzia.
-
Prima di iniziare i lavori dovete accertarvi del fatto che i collegamenti fra i recipienti e le
valvole di regolazione siano a tenuta di gas (con spray cerca fughe o schiuma saponosa).
A
Aprire la valvola della bombola dell’ossigeno.
B
Impostare la pressione di esercizio in base all’ugello e allo spessore del materiale fino a
(vedi dati tecnici).
C
Aprire il riduttore di pressione dell’ossigeno.
D
Aprire la valvola di regolazione del gas di circa ½ giro.
E
Aprire il volantino di manovra dell’ossigeno e miscelare con l’ossigeno.
F
Aprire il volantino di manovra del gas combustibile e accendere la fiamma.
G
Impostare la fiamma del gas; essa deve bruciare in maniera visibile dall’uscita dell’ugello.
H
Regolare la fiamma di riscaldamento aprendo e chiudendo l’alimentazione del gas e
dell’ossigeno.
I
Utilizzare solo occhiali di protezione conformi a DIN4646 e 58210/1.
Tutti i collegamenti devono essere serrati con la chiave fornita in dotazione.
Dopo l’apertura della valvola del gas deve immediatamente avvenire
l’accensione, altrimenti i gas che fuoriescono possono comportare una piccola
esplosione.
corretto
troppo alto
troppo basso
42
ITALIANO
Messa fuori servizio:
La messa fuori servizio del dispositivo avviene in sequenza inversa, ma prima bisogna sempre
spegnere il gas. In caso di interruzione dei lavori bisogna chiudere immediatamente le valvole
della bombola.
5
Messa in servizio
5.1
Accendere il cannello
Prima bisogna aprire la valvola di regolazione del gas e poi accendere il cannello; poi bisogna
aprire la valvola dell’ossigeno e impostare la fiamma del gas. La fiamma deve bruciare in maniera
visibile dall’uscita dell’ugello. Accendere nell’ugello del cannello la miscela gas-ossigeno con
l’aiuto di un accendino adeguato. (E 'possibile creare fuliggine nera).
5.2
Regolare la fiamma
Con il volantino di manovra contrassegnato in rosso sull’impugnatura è possibile regolare
l’intensità della fiamma. Se non si riesce ad accendere la fiamma o essa svanisce, magari la
pressione del gas è eccessiva. In questo caso bisogna chiudere il gas sull’impugnatura del cannello
(volantino di manovra contrassegnato in rosso) girando a destra.
La valvola dell'ossigeno (volantino di manovra contrassegnato in blu) sull’impugnatura del
cannello deve essere del tutto aperta. Se la fiamma è gialla ciò significa che c’è una fuoruscita
eccessiva di gas. Chiudere con cura la valvola del gas (volantino di manovra contrassegnato in
rosso) sull’impugnatura del cannello girando a sinistra.
Impostare una fiamma neutra. Ciò significa che il centro della fiamma, di colore blu - verde deve
essere circondato da un alone di fiamma blu scuro (fiamma secondaria).
5.3
Estinguere la fiamma
Per cancellare la fiamma bisogna prima chiudere la valvola del gas (volantino di manovra
contrassegnato in rosso) e poi la valvola dell'ossigeno (volantino di manovra contrassegnato
in blu) sull’impugnatura girando a destra.
Chiudere la valvola della bombola e girando a destra. Chiudere queste valvole anche per
lunghe pause.
5.4
Sostituire la bombola di ricarica del gas
Î
Chiudere la valvola della bombola di ricarica del gas girando a destra.
Î
Estrarre la bombola di ricarica del gas maxi con la relativa valvola e il flessibile, tirandola
verso l’alto dal suo alloggiamento.
Î
Svitare la ricarica maxi del gas girando a sinistra la relativa valvola.
Î
Prestare attenzione al fatto che la guarnizione presente sulla valvola della bombola di
ricarica del gas sia intatta.
Î
Bisogna utilizzare solo ricariche del gas maxi Rothenberger originali. Montare una maxi
ricarica piena girando a destra la valvola della bombola di ricarica del gas.
Î
Inserire la maxi ricarica piena nell’alloggiamento con la valvola della bombola di ricarica
del gas e il flessibile montati.
ITALIANO
43
5.5
Sostituire la bombola dell’ossigeno e acetilene
Î
Chiudere la valvola della bombola dell’ossigeno girando a destra.
Î
Svitare il riduttore di pressione dell’ossigeno in senso antiorario con il tasto chiuso.
Î
Estrarre la bombola dell’ossigeno dall’alloggiamento. Sostituire la bombola dell’ossigeno
vuota con una piena.
Î
Avvitare il riduttore di pressione della bombola dell’ossigeno in senso orario sulla bombola
stessa.
Î
Prestare attenzione al fatto che la guarnizione presente sulla pressione della bombola
dell’ossigeno sia intatta.
Î
Controllare che i collegamenti siano privi di grasso e di olio.
5.6
Comportamento in caso di malfunzionamenti e manutenzione
Errore
Causa / rimedio
La fiamma diventa gialla
La valvola della bombola di ossigeno è chiusa o la bombola
è vuota.
Aprire la valvola della bombola di ossigeno.
Sostituire la bombola dell’ossigeno vuota con una piena.
La fiamma diventa più
piccola o scompare dal
cannello.
O la valvola della bombola acetilene è chiusa, o non è
abbastanza aperta o la bombola acetilene è vuota.
Aprire la valvola della bombola acetilene ruotandola a
sinistra (ulteriormente) o sostituire la bombola acetilene.
Controllare regolarmente se il flessibile ha fenditure o punti privi di tenuta (ispezione
visiva).
Sostituire il flessibile con la flangia di sicurezza per bombola singola se essa è stata
danneggiata a causa di un ritorno di fiamma.
Il flessibile diventa poroso col passare del tempo, quindi sostituire il flessibile non appena
si vedono delle piccole fenditure su di esso.
6
Smaltimento
6.1
Componenti metallici e bombole di ricarica del gas
I componenti del dispositivo sono materie prime e possono essere riciclate.
Ci sono a disposizione vari centri autorizzati e certificati atti al riciclaggio. I metalli vengono
inviati ad un ente di smaltimento, classificati e separati!
Per lo smaltimento ecocompatibile dei componenti non riciclabili (ad es. rifiuti elettronici)
bisogna rivolgersi alla propria autorità competente in materia.
7
Servizio
clienti
Ci sono a disposizione vari centri assistenza Rothenberger o produttori che hanno a
disposizione un reparto di riparazione. Ovviamente vi invieremo immediatamente i pezzi di
ricambio desiderati. Rivolgetevi al vostro rivenditore o al produttore.
Ordinate i vostri accessori e i pezzi di ricambio presso il rivenditore specializzato o tramite la
nostra linea post-vendita:
Tel.: +49 6195 99 52 14
Fax: +49 6195 99 52 15
44
TÜRKÇE
İ
çindekiler
Sayfa
1 Güvenlik ile ilgili notlar
45
1.1
Kurallara uygun kullan
ı
m 45
1.2
Genel güvenlik notlar
ı
45
1.3
Özel güvenlik notlar
ı
46
2 Teknik veriler
46
3
İş
levler
47
3.1
Genel
bak
ı
ş
A
47
3.2
İş
levlerin aç
ı
klanmas
ı
47
3.3
Aksesuar
49
4 Ta
ş
ı
ma ve muhafaza
49
4.1
Montaj
49
5
İş
letime alma
49
5.1
Brülörü
ate
ş
leme 49
5.2
Alevi
ayarlama
50
5.3
Alevi
söndürme
50
5.4
Gaz
kartu
ş
u de
ğ
i
ş
tirme 50
5.5
Oksijen
tüpünü
de
ğ
i
ş
tirme asetilen ve
50
5.6
Ar
ı
zalar ve bak
ı
mlar s
ı
ras
ı
nda davran
ı
ş
lar 51
6 At
ı
ğ
a ç
ı
kartma
51
6.1
Metal parçalar ve gaz kartu
ş
lar 51
7 Mü
ş
teri hizmetleri
51
Bu dokümandaki i
ş
aretler
Tehlike
Bu i
ş
aret insanlar
ı
yaralanmaya kar
ş
ı
uyar
ı
r.
Dikkat
Bu i
ş
aret maddi ve çevre zararlar
ı
na kar
ş
ı
uyar
ı
r.
Î
Yap
ı
lacaklar ile ilgili uyar
ı
lar
TÜRKÇE
45
1
Güvenlik ile ilgili notlar
1.1
Kurallara uygun kullan
ı
m
Rothenberger markal
ı
ürününü sat
ı
n ald
ı
ğ
ı
n
ı
z için sizi tebrik ediyoruz. Otojen kaynak makinesi
ile kaliteli bir ürün sat
ı
n alm
ı
ş
bulunuyorsunuz. Bu evrensel kullan
ı
labilir cihaz, tekrar
doldurulabilir 5L veya 10L uzun bir kaynak süresine izin vermesine ra
ğ
men yine de hafif ve
kullan
ı
ş
l
ı
d
ı
r. Sert lehim için çok uygun bir cihazd
ı
r.
1.2
Genel güvenlik notlar
ı
D
İ
KKAT! Bütün talimatlar okunmal
ı
d
ı
r.
A
ş
a
ğ
ı
da kullan
ı
lan talimatlara uyulmamas
ı
halinde olu
ş
an hatalar yang
ı
na ve/veya a
ğ
ı
r yaralanmalara neden olabilir. Yasal güvenlik
yönetmeliklerine ve teknik yönergelere mutlaka uyulmal
ı
d
ı
r. Kullan
ı
m hatalar
ı
yüzünden
olu
ş
an hasarlarda garanti biter.
BU TAL
İ
MATLARI
İ
Y
İ
B
İ
R
Ş
EK
İ
LDE MUHAFAZA ED
İ
N.
1)
İş
yeri
a)
Çal
ı
ş
t
ı
ğ
ı
n
ı
z yeri temiz ve düzenli tutun.
Düzensizlik ve ayd
ı
nlat
ı
lmam
ı
ş
çal
ı
ş
ma yerleri
kazalara neden olabilir.
b)
Cihazla, içinde yan
ı
c
ı
s
ı
v
ı
lar, gazlar veya tozlar bulunan, patlama tehlikesi
alt
ı
ndaki ortamlarda çal
ı
ş
may
ı
n.
Aletler, tozu veya buharlar
ı
veya gazlar
ı
tutu
ş
turabilen k
ı
v
ı
lc
ı
mlara neden olur. Yeterli havaland
ı
rma sa
ğ
lay
ı
n. E
ğ
er mümkünse
kapal
ı
mekanlarda çal
ı
ş
may
ı
n.
c)
Aleti kullan
ı
rken çocuklar
ı
ve di
ğ
er insanlar
ı
uzakta tutun.
Dikkatiniz da
ğ
ı
ld
ı
ğ
ı
nda
cihaz üzerindeki kontrolü yitirebilirsiniz.
d)
Cihaz
ı
ta
ş
ı
mak, asmak için hortumlar
ı
yerinden ç
ı
kartmay
ı
n. Hortumlar
ı
s
ı
caktan,
ya
ğ
a, keskin kenarlara veya hareket eden cihaz parçalar
ı
na kar
ş
ı
koruyun.
Hasar
görmü
ş
veya kar
ı
ş
m
ı
ş
hortumlar bir patlama riskini art
ı
r
ı
r.
e)
Cihaz
ı
ya
ğ
a ve grese kar
ş
ı
koruyun.
Saf oksijende her türlü ya
ğ
ve gres kendili
ğ
inden
patlama
ş
eklinde tutu
ş
abilir. Cihaz
ı
ı
s
ı
kaynaklar
ı
n
ı
n (kalorifer, f
ı
r
ı
n, aç
ı
k ate
ş
vs.) yak
ı
n
ı
na
yerle
ş
tirmeyin.
3)
İ
nsanlar
ı
n güvenli
ğ
i
a)
Dikkatli olun, ne yapt
ı
ğ
ı
n
ı
za dikkat edin ve bir aletle çal
ı
ş
ı
rken mant
ı
ğ
ı
n
ı
z
ı
kullanarak hareket edin. Yorgun oldu
ğ
unuzda ve uyu
ş
turucu, alkol veya ilaç
etkisi alt
ı
nda bulundu
ğ
unuzda cihaz
ı
kullanmay
ı
n.
Cihaz
ı
n kullan
ı
m
ı
s
ı
ras
ı
nda bir
anl
ı
k dikkatsizlik, ciddi yaralanmalara neden olabilir.
b)
Ki
ş
isel koruyucu donan
ı
m ve her zaman bir koruyucu gözlük kullan
ı
n.
Aletin
türüne ve kullan
ı
m
ı
na ba
ğ
l
ı
olarak ki
ş
isel koruyucu donan
ı
m, örne
ğ
in kaymaz güvenlik
ayakkab
ı
lar
ı
, zor tutu
ş
abilir giysiler ve koruyucu gözlük kullan
ı
lmas
ı
, yaralanma riskini
dü
ş
ürür.
c)
Kendinizi zora ko
ş
may
ı
n. Güvenli bir duru
ş
sa
ğ
lay
ı
n ve her zaman dengenizi
koruyun.
Bu sayede cihaz
ı
beklenmedik durumlarda daha iyi kontrol edebilirsiniz.
d)
Uygun giysiler giyin. Bol giysiler giymeyin veya mücevher takmay
ı
n. Saçlar
ı
n
ı
z
ı
,
giysilerinizi ve eldivenlerinizi hareketli parçalardan uzak tutun
. Bol giysiler,
mücevher veya uzun saçlar, hareketli parçalar taraf
ı
ndan yakalanabilir.
4) Aletlerin
itinal
ı
bir
ş
ekilde kullan
ı
m
ı
a)
Kullan
ı
lmayan aletleri çocuklar
ı
n ula
ş
abilece
ğ
i yerlerden uzak tutun. Cihaz
ı
kullanmay
ı
bilmeyen veya bu talimatlar
ı
okumam
ı
ş
ki
ş
ilerin cihaz
ı
kullanmas
ı
n
ı
önleyin.
Aletler deneyimsiz ki
ş
iler taraf
ı
ndan kullan
ı
ld
ı
klar
ı
nda tehlikeli olabilir.
b)
Cihaz
ı
n bak
ı
m
ı
n
ı
itinal
ı
bir
ş
ekilde yap
ı
n. Hareketli cihaz parçalar
ı
n
ı
n sorunsuz
çal
ı
ş
ı
p çal
ı
ş
mad
ı
ğ
ı
n
ı
ve s
ı
k
ı
ş
ı
p s
ı
k
ı
ş
mad
ı
ğ
ı
n
ı
, parçalar
ı
n k
ı
r
ı
l
ı
p k
ı
r
ı
lmad
ı
ğ
ı
n
ı
veya
cihaz
ı
n i
ş
levi olumsuz etkilenecek
ş
ekilde hasar görüp görmedi
ğ
ini kontrol edin.
Hasar görmü
ş
parçalar
ı
cihaz
ı
kullanmadan önce tamir ettirin.
Birçok kazan
ı
n
sebebi, bak
ı
m
ı
kötü yap
ı
lm
ı
ş
aletlerdir.
46
TÜRKÇE
c)
Sert lehim cihaz
ı
n
ı
kullan
ı
m s
ı
ras
ı
nda asla denetimsiz b
ı
rakmay
ı
n
. Akut yang
ı
n
tehlikesi söz konusudur.
d)
Manometrenin oksijen
asetilen ve bas
ı
nç dü
ş
ürücü üzerinde s
ı
k
ı
ca oturmas
ı
na
dikkat edin
. Hasar görmü
ş
manometreyi sadece orijinal Rothenberger yedek parças
ı
ile
de
ğ
i
ş
tirin.
e)
Oksijen ve asetilen için emniyet çek valfi, ticari uygulamada kullan
ı
lmal
ı
d
ı
r.
5) Servis
Cihaz
ı
n
ı
z
ı
sadece kalifiye uzman personel taraf
ı
ndan ve sadece orijinal yedek
parçalarla tamir ettirin.
Böylelikle cihaz
ı
n güvenli
ğ
inin korunmas
ı
temin edilmektedir.
1.3
Özel güvenlik notlar
ı
Acetylen gaz yüksek oranda tutu
ş
abilir, renksiz, havadan a
ğ
ı
rd
ı
r ve kokusu al
ı
nabilir.
Asetilen ve oksijen tüpleri çocuklar
ı
na eline geçmemelidir.
Asetilen ve oksijen tüplerini iyi havaland
ı
r
ı
lm
ı
ş
bir yerde muhafaza edin.
Kartu
ş
lar
ı
ve gaz tüplerini ate
ş
kaynaklar
ı
ndan uzak tutun ve sigara içmeyin.
Bütün ba
ğ
lant
ı
lar birlikte verilen anahtar yard
ı
m
ı
yla s
ı
k
ı
lmal
ı
ve s
ı
zd
ı
rmazl
ı
k, köpük olu
ş
turucu
maddelerle(örn. sabunlu su, kaçak arama spreyi) kontrol edilmelidir.
Asetilen ve oksijen tüplerini ate
ş
kaynaklar
ı
ndan uzak tutun.
Ba
ğ
lant
ı
lar
ı
n s
ı
zd
ı
rmazl
ı
ğ
ı
n
ı
köpük olu
ş
turan maddelerle kontrol edin (örn. sabunlu su, kaçak
arama spreyi).
Tüp valflerini ar
ı
za durumunda ve i
ş
bitiminde kapat
ı
n.
Cihaz
ı
yatay konumda kullanmay
ı
n. Kartu
ş
yat
ı
k durumdayken s
ı
v
ı
MAXI gaz
ı
gaz kartu
ş
u
valfine ve brülör memesine gelir ve bu ar
ı
zalara neden olur.
Asetilen tüpü yat
ı
k konumda ta
ş
ı
nmamal
ı
veya çal
ı
ş
t
ı
r
ı
lmamal
ı
d
ı
r. (aseton d
ı
ş
ar
ı
akar).
Kaynak i
ş
lemini bitirdikten sonra: Kapal
ı
oksijen ve asetilen tüpü valfi durumunda tutamaktaki
gaz - oksijen valfini k
ı
saca aç
ı
n ve kalan gaz miktar
ı
n
ı
n d
ı
ş
ar
ı
ç
ı
kmas
ı
n
ı
sa
ğ
lay
ı
n (manometreyi
kontrol et)
2
Teknik veriler
RE 17 UNIVERSAL
Üç Gazl
ı
Cihaz
AMS 5/5
RE 17 UNIVERSAL
Üç Gazl
ı
Cihaz
AMS 10/10
RE 17 STANDARD
Üç Gazl
ı
Cihaz
AMS 10/10
Ürün no.:
3.5400
3.5401
3.5798
Tüp muhteviyat
ı
5l Asetilen /
5l Oksijen /
600ml Maxigas
10l Asetilen /
10l Oksijen /
600ml Maxigas
10l Asetilen /
10l Oksijen /
600ml Maxigas
Kaynak alan
ı
:
0,5 - 14 mm
0,5 - 9mm
Kesme alan
ı
:
3,0 - 50 mm
3,0 - 25mm
Kaynak ve kesme:
Oksijenli asetilen
Sert lehimleme:
Oksijenli asetilen veya
Adaptörü ve yak
ı
c
ı
s
ı
yla (aksam) MAXIGAS
Çal
ı
ş
ma
ı
s
ı
s
ı
:
1 250°C
Alev s
ı
cakl
ı
ğ
ı
:
3 100°C
TÜRKÇE
47
Kaynak
İş
lemleri
Kaynak
eklemek
Kaynak
aral
ı
ğ
ı
Madde
nr.
Gaz türü Oksijen
bas
ı
nc
ı
Asetilen
bas
ı
nc
ı
Oksijen
tüketimi
Asetilen
tüketimi
Boyut
[mm
]
[bar]
[bar]
[l/h]
[l/h
]
1
0,5 - 1,0
3.5325
80
80
2
1,0 - 2,0
3.5326
160
160
3
2,0 - 4,0
3.5327 Acetylen
2,5
0,2
315
315
4
4,0 - 6,0
3.5328
500
500
5
6,0 - 9,0
3.5329
800
800
6
9,0 - 14,0
3.5334
1250
1250
Meme Kesme
A
ğ
ı
zl
ı
k Kesme
kal
ı
nl
ı
ğ
ı
Madde No.
Oksijen kal
ı
n Asetilen
bas
ı
nc
ı
Boyut
[
mm
]
[
bar
]
[
bar
]
1/32 3-
6 3.5341 2,0
3/64 6-
20 3.5344 2,5
1/16 20-
75 3.5345 3,5
≥
0,5
3
İş
levler
3.1
Genel
bak
ı
ş
A
1
Asetilen tüpü
8
Çift hortum paketi
15
Kesici hamlac
ı
2
Oksijen tüpü
9
MAXIGAS 400
16
Yak
ı
c
ı
anahtar
ı
3
Asetilen tüpü bas
ı
nç
azalt
ı
c
ı
s
ı
10
RE17 Kulp
17
Gaz ayarlama valf
ı
MAXIGAS
4
Oksijen tüpü bas
ı
nç
azalt
ı
c
ı
s
ı
11
RE17 Kelebek levye
18
Hortum - Adaptör
MAXIGAS
5
Transport vagonu
12
RE17 Kaynakl
ı
ekler
19
Emniyetli ate
ş
leyici
6
Lastik ba
ş
l
ı
klar k
ı
rm
ı
z
ı
13
Hamlaç temizleyicisi
20
Yedek çakmak ta
ş
lar
ı
7
Lastik ba
ş
l
ı
klar mavi
14
Is
ı
tma hamlac
ı
3.2
İş
levlerin aç
ı
klanmas
ı
Yüksek performansl
ı
memelerle kaynak:
Temel olarak kaynak alevi nötr yanmal
ı
d
ı
r (gazlar
ı
n kar
ı
ş
ı
m oran
ı
dengelidir) ve büyüklü
ğ
ü
malzeme kal
ı
nl
ı
ğ
ı
na, diki
ş
biçimine, kaynak pozisyonuna ve malzemenin
ı
s
ı
iletkenli
ğ
ine
uyumlu olmal
ı
d
ı
r.
Büyük malzeme kal
ı
nl
ı
ğ
ı
na sahip çeli
ğ
i kaynatmak için bu s
ı
rada her iki valfi iyice aç
ı
n ve
dü
ş
ük malzeme kal
ı
nl
ı
ğ
ı
na sahip çelik saclar
ı
kaynatmak için valfleri biraz kapat
ı
n.
Malzemeyi ve kaynak çubu
ğ
unu önden
ı
s
ı
t
ı
n. Diki
ş
in iki taraf
ı
nda metal erimeye ba
ş
lad
ı
ğ
ı
nda,
kaynak çubu
ğ
unu verin. Kaynak yerinin dengeli bir
ş
ekilde
ı
s
ı
nmas
ı
na dikkat edin. Brülörü
yar
ı
m daire
ş
eklindeki hareketlerle kaynak çubu
ğ
unun etraf
ı
nda götürün.
Sert lehim:
Ba
ğ
lant
ı
yüzeylerini temizleyin, pürüzsüz hale getirin ve kenarlar
ı
n pah
ı
n
ı
k
ı
r
ı
n. Lehim yerini
önden
ı
s
ı
t
ı
n. Lehim çubu
ğ
unun ucunu lehim yerinin üzerine oturtun, lehimin bir damlas
ı
n
ı
eritin ve alevin sürekli hareketi alt
ı
nda yay
ı
n.
Oksijenle kesme:
Î
Oksijenle kesme memelerini (
23
) i
ş
parças
ı
kal
ı
nl
ı
ğ
ı
na uygun
ş
ekilde seçin (bkz. teknik veriler)
ve kesme eleman
ı
n
ı
n (
20
) veya elle kesme torcunun (
15
) torç kafas
ı
na gaz kaç
ı
rmayacak
ş
ekilde vidalay
ı
n.
48
TÜRKÇE
Î
Bunun için uygun montaj anahtar
ı
kullan
ı
n. Torç kafas
ı
n
ı
n anahtar yüzeylerine kar
ş
ı
tutun.
Sadece temiz, hasarsýz ROTHENBERGER - Orijinal – Oksijenle kesme memeleri kullanýn.
Memelerde ve torç kafas
ı
nda sorunsuz s
ı
zd
ı
rmaz yüzeylere dikkat edin.
Çal
ı
ş
ma bas
ı
nçlar
ı
n
ı
ayarlama
Î
Oksijen ve yan
ı
c
ı
gaz (
16
ve
17
) için ayarlama valflerini tutamakta veya elle kesme torcunda
(
15
) önce kapal
ı
tutun.
Î
Tüp valflerini (
1
ve
2
) veya bo
ş
altma valflerini (
9
ve
10
) da
ğ
ı
t
ı
c
ı
hatt
ı
ndan yava
ş
ça aç
ı
n.
Î
Oksijen bas
ı
nç dü
ş
ürücüdeki ç
ı
k
ı
ş
valfini (
7
), tutamaktaki veya elle kesme torcundaki (
15
)
oksijen (
16
) için ayarlama valfini ve kesme eleman
ı
ndaki (
20
) veya elle kesme torcundaki (
15
)
kesme oksijen valfini (
22
) aç
ı
n.
Î
Oksijen (
3
) için tüp bas
ı
nc
ı
dü
ş
ürücüsündeki ayar vidas
ı
n
ı
n (
5
) çevrilmesi sayesinde çal
ı
ş
ma
bas
ı
nc
ı
n
ı
(bkz. teknik veriler) ayarlay
ı
n.
Î
Kesme oksijen valfini (
22
) ve oksijen (
16
) için ayarlama valfini tekrar kapat
ı
n.
Î
Yan
ı
c
ı
gaz bas
ı
nç dü
ş
ürücüdeki ç
ı
k
ı
ş
valfini (
8
) aç
ı
n ve ayar c
ı
vatas
ı
n
ı
(
6
) çevirmek suretiyle
yan
ı
c
ı
gaz bas
ı
nc
ı
n
ı
(bkz. teknik veriler) ayarlay
ı
n
Dikkat
Ancak tesisat bas
ı
nc
ı
n
ı
n verilen de
ğ
erlerin en az 0,2 bar üzerinde (bkz. teknik veriler)
bulunup bulunmad
ı
ğ
ı
kontrol edilmelidir!
Alevi ate
ş
leme ve ayarlama
Î
Önce tutamaktaki veya elle kesme torcundaki (
15
) oksijen (
16
) için ayarlama valfini, daha
sonra kesme eleman
ı
nda (
20
)
ı
s
ı
tma oksijen valfini (21) ve tutamaktaki veya elle kesme
torcundaki (
15
) yan
ı
c
ı
gaz (
17
) için ayarlama valfini aç
ı
n.
Î
D
ı
ş
ar
ı
akan gaz kar
ı
ş
ı
m
ı
n
ı
hemen ate
ş
leyin. Alevi,
ı
s
ı
tma oksijeni valfinden (
21
) veya oksijen
(
16
) için ayarlama valfinden ve yan
ı
c
ı
gaz için ayarlama valfi (
17
) üzerinden ayarlayarak nötr
ayarlay
ı
n (kaynak alevi gibi).
Î
Kesme oksijeni valfini (
22
) tamamen aç
ı
n, gerekiyorsa oksijen bas
ı
nc
ı
n
ı
(bkz. teknik veriler)
sonradan ayarlay
ı
n. Alevleri tekrar nötr ayarlay
ı
n. Kesme oksijen valfini (
22
) tekrar kapat
ı
n.
Kesme
Î
Torcu kesme konumuna getirin ve
ı
s
ı
tma aleviyle i
ş
parças
ı
n
ı
bölgesel olarak tutu
ş
ma
s
ı
cakl
ı
ğ
ı
na, yakla
ş
ı
k aç
ı
k k
ı
rm
ı
z
ı
,
ı
s
ı
t
ı
n.
Dikkat!
Malzemeyi eritmeyin! Sonra kesme oksijeni valfini
(22)
aç
ı
n ve torcu kesme
yönünde hareket ettirin.
Kesme h
ı
z
ı
Do
ğ
ru kesme h
ı
z
ı
n
ı
, cüruf ç
ı
k
ı
ş
ı
ndan, k
ı
v
ı
lc
ı
m s
ı
çramas
ı
ndan ve kesme sesinden alg
ı
layabilirsiniz.
Do
ğ
ru
Çok yüksek
Çok dü
ş
ük
TÜRKÇE
49
3.3 Aksesuar
Uygun aksesuarlar
ı
ve bir sipari
ş
formunu 70 sayfas
ı
ndan sonra bulabilirsiniz.
4
Ta
ş
ı
ma ve muhafaza
Ta
ş
ı
ma için oksijen tüpünün valfi ve asetilen
ş
i
ş
e valfi kapat
ı
lm
ı
ş
olmal
ı
d
ı
r. Oksijen bas
ı
nç
dü
ş
ürücüsünü demonte edin.
Lehim i
ş
lemini bitirdikten sonra: Kapal
ı
asetilen
ş
i
ş
e valfi ve kapal
ı
oksijen tüpü valfi
durumunda tutamaktaki asetilen
ve oksijen valfini k
ı
saca aç
ı
n ve kalan gaz miktar
ı
n
ı
n
d
ı
ş
ar
ı
ç
ı
kmas
ı
n
ı
sa
ğ
lay
ı
n (Gauge gösterecektir). Böylece hortumlara ve asetilen ve oksijen
bas
ı
nc
ı
dü
ş
ürücüsüne binen yükü ortadan kald
ı
r
ı
rs
ı
n
ı
z.
Maksi gaz kartu
ş
unun gaz kartu
ş
valfini çevirerek sökün. Hortumlar, oksijen bas
ı
nç
dü
ş
ürücüsünde ve gaz kartu
ş
u valfinde ba
ğ
l
ı
kalabilir.
Cihaz
ı
yükleme alan
ı
nda devrilmeye ve kaymaya kar
ş
ı
emniyete al
ı
n. Depolama ve ta
ş
ı
ma
sadece hazne dik durumdayken yap
ı
lmal
ı
d
ı
r.
Çok yollu hazneler sadece yetkili uzman i
ş
letmeler taraf
ı
ndan doldurulmal
ı
d
ı
r.
Kurallara ayk
ı
r
ı
ş
ekilde yeniden dolum a
ğ
ı
r kazalara neden olabilir.
4.1
Montaj
Gaz kartu
ş
lar
ı
n
ı
sadece iyi havaland
ı
r
ı
lm
ı
ş
bir yerde, tercihen aç
ı
k havada
de
ğ
i
ş
tirin.
-
İş
e ba
ş
lamadan önce tüm valflerin kapal
ı
konumda oldu
ğ
undan emin olun.
-
Oksijen bas
ı
nç dü
ş
ürücüsünü monte ederken anahtarla s
ı
k
ı
n.
-
MAKS
İ
GAZ tek yollu haznesinin vidalanmas
ı
, gaz hassas regülasyon valfine düz sa
ğ
a
çevirerek yap
ı
l
ı
r. Bu s
ı
rada vida di
ş
inin sorunsuz dönmesine ve ba
ş
lamas
ı
na dikkat edin. Çap
vidalama durumunda garanti sona erer.
-
Ate
ş
lemeden önce, hazneler ve regülatör valfleri aras
ı
ndaki ba
ğ
lant
ı
lar
ı
n gaz
kaç
ı
rmad
ı
ğ
ı
ndan emin olun. (kaçak arama spreyi veya sabunlu su)
A
Oksijen tüpü valfinin aç
ı
lmas
ı
.
B
Meme ve malzeme kal
ı
nl
ı
ğ
ı
na ba
ğ
l
ı
olarak çal
ı
ş
ma bas
ı
n
ı
n ayarlanmas
ı
(teknik veriler bak).
C
Oksijen
bas
ı
nç dü
ş
ürücü valfinin aç
ı
lmas
ı
.
D
Ş
imdi gaz regülatör valfini yakl. ½ tur aç
ı
n.
E
Oksijen valf el çark
ı
n
ı
n aç
ı
lmas
ı
ve oksijenin kar
ı
ş
t
ı
r
ı
lmas
ı
.
F
Yan
ı
c
ı
gaz valf çark
ı
n
ı
n aç
ı
lmas
ı
ve gaz alevinin ate
ş
lenmesi.
G
Gaz
alevinin
ayarlanmas
ı
, alev halihaz
ı
rda meme ç
ı
k
ı
ş
ı
nda görünür
ş
ekilde yanmal
ı
d
ı
r.
H
Gaz ve oksijen beslemesini açarak veya k
ı
sarak
ı
s
ı
tma alevini ayarlama.
I
Sadece DIN4646 ve 58210/1'e uygun koruyucu gözlük kullan
ı
n.
Tüm ba
ğ
lant
ı
lar birlikte verilen anahtarla s
ı
k
ı
lmal
ı
d
ı
r.
Gaz valfini açt
ı
ktan sonra ate
ş
leme gecikmeden yap
ı
lmal
ı
d
ı
r, aksi taktirde ç
ı
kan
gazlar parlamaya neden olabilir.
Devre d
ı
ş
ı
b
ı
rakma:
Devre d
ı
ş
ı
b
ı
rakma tersi s
ı
ralamada gerçekle
ş
ir, ancak daima önce gaz
ı
kapat
ı
n. Çal
ı
ş
maya ara
verildi
ğ
inde daima tüp valflerini kapat
ı
n.
5
İş
letime alma
5.1
Brülörü
ate
ş
leme
Önce gaz regülatör valfini aç
ı
n ve ate
ş
leyin ve daha sonra oksijen valfini aç
ı
n ve daha sonra gaz
alevini ayarlay
ı
n. Alev halihaz
ı
rda meme ç
ı
k
ı
ş
ı
nda görünür
ş
ekilde yanmal
ı
d
ı
r.
Oksijen gaz kar
ı
ş
ı
m
ı
n
ı
uygun bir gaz ate
ş
leyicisi yard
ı
m
ı
yla brülör memesinde ate
ş
leyin. (Bu) siyah
is olu
ş
turabilirsiniz.
50
TÜRKÇE
5.2
Alevi
ayarlama
K
ı
rm
ı
z
ı
i
ş
aretlenmi
ş
tutamaktaki el çark
ı
yla alevin büyüklü
ğ
ünü ve görünü
ş
ünü ayarlayabilirsiniz.
E
ğ
er alev tutu
ş
muyorsa veya kopuyorsa, gaz bas
ı
nc
ı
yüksektir. Bu durumda gaz
ı
brülör
tutama
ğ
ı
ndan (k
ı
rm
ı
z
ı
i
ş
aretli el çark
ı
) sa
ğ
a çevirerek k
ı
s
ı
n.
Brülör tutama
ğ
ı
ndaki oksijen valfi (mavi i
ş
aretlenmi
ş
el çark
ı
) tam aç
ı
lm
ı
ş
olmal
ı
d
ı
r.
Alevin sar
ı
görünmesi durumunda gaz fazlas
ı
vard
ı
r. Brülör tutama
ğ
ı
ndaki gaz valfini (k
ı
rm
ı
z
ı
i
ş
aretlenmi
ş
el çark
ı
) sola çevirerek dikkatli bir
ş
ekilde k
ı
smaya devam edin.
Daha sonra nötr bir alev ayarlay
ı
n. Yani kuvvetli
ı
ş
ı
ldayan mavi ye
ş
il alev çekirde
ğ
i, koyu mavi
renkteki alev demetinden (ikincil alev) keskin bir
ş
ekilde ay
ı
rt edilmelidir .
5.3
Alevi
söndürme
Alevi söndürmek için önce brülör tutama
ğ
ı
ndaki gaz valfini (k
ı
rm
ı
z
ı
i
ş
aretlenmi
ş
el çark
ı
) ve
ard
ı
ndan oksijen valfini (mavi i
ş
aretlenmi
ş
el çark
ı
), sa
ğ
a çevirerek kapat
ı
n.
Yak
ı
n iki vanalar
ş
i
ş
e çevirerek. Bu valfleri uzun molalarda da kapat
ı
n.
5.4
Gaz
kartu
ş
u de
ğ
i
ş
tirme
Î
Gaz kartu
ş
u valfini sa
ğ
a çevirerek kapat
ı
n.
Î
Bo
ş
maksi gaz kartu
ş
u tüpünü, gaz kartu
ş
u valfi ve hortum tesisat
ı
ile birlikte yukar
ı
do
ğ
ru
yuvas
ı
ndan d
ı
ş
ar
ı
çekin.
Î
Maksi gaz kartu
ş
unu sola do
ğ
ru çevirerek gaz kartu
ş
u valfinden çevirerek ç
ı
kart
ı
n.
Î
Gaz kartu
ş
u valfindeki contan
ı
n mevcut ve çal
ı
ş
ı
r durumda olmas
ı
na dikkat edin.
Î
Sadece orijinal Rothenberger maksi gaz kartu
ş
lar
ı
kullan
ı
lmal
ı
d
ı
r. Dolu bir maksi gaz
kartu
ş
unu sa
ğ
a do
ğ
ru çevirerek gaz kartu
ş
u valfine monte edin.
Î
Dolu maksi gaz kartu
ş
unu monte edilmi
ş
gaz kartu
ş
u valfi ve hortum tesisat
ı
ile birlikte
yuvan
ı
n içine sürün.
5.5
Oksijen
tüpünü
de
ğ
i
ş
tirme asetilen ve
Î
Oksijen tüpü valfini sa
ğ
a çevirerek kapat
ı
n.
Î
Oksijen bas
ı
nç dü
ş
ürücüsünü saat yönünün tersi istikamette çevirerek sökün kapal
ı
anahtarla.
Î
Oksijen tüpünü yuvas
ı
ndan d
ı
ş
ar
ı
ç
ı
kart
ı
n. Bo
ş
oksijen tüpünü dolusuyla de
ğ
i
ş
tirin.
Î
Oksijen bas
ı
nç dü
ş
ürücüsünü saat yönü istikametinde çevirerek sökün.
Î
Oksijen bas
ı
nç contan
ı
n mevcut ve çal
ı
ş
ı
r durumda olmas
ı
na dikkat edin.
Î
Bu s
ı
rada ba
ğ
lant
ı
lar
ı
n ya
ğ
ve gres içermemesine dikkat edin.
TÜRKÇE
51
5.6
Ar
ı
zalar ve bak
ı
mlar s
ı
ras
ı
nda davran
ı
ş
lar
Hata
Nedeni / yard
ı
m
Alev sar
ı
la
ş
ı
yor
Bu durumda ya oksijen tüpü valfi kapal
ı
d
ı
r veya oksijen
tüpü bo
ş
tur.
Oksijen tüpü valfini aç
ı
n.
Bo
ş
oksijen tüpünü dolusuyla de
ğ
i
ş
tirin.
Alev küçülüyor veya
brülörder yükseliyor.
Ya asetilen valfi kapal
ı
d
ı
r, yeterince aç
ı
k de
ğ
ildir veya
asetilen bo
ş
tur.
Gaz kartu
ş
u valfini sola çevirerek (daha çok) aç
ı
n veya
asetilen de
ğ
i
ş
tirin.
Hortumlar
ı
düzenli olarak çatlak ve kaç
ı
rma bak
ı
m
ı
ndan kontrol edin (gözle kontrol).
Tekli tüp emniyeti bir alev geri tepmesinden sonra devreye girdiyse, hortum paketini tekli
tüp emniyeti ile birlikte de
ğ
i
ş
tirin.
Hortumlar zaman içersinde pürüzlenir. Bu nedenle hortumlarda küçük çatlaklar olu
ş
maya
ba
ş
lar ba
ş
lamaz hortum paketini de
ğ
i
ş
tirin.
6
At
ı
ğ
a ç
ı
kartma
6.1
Metal parçalar ve gaz kartu
ş
lar
Cihaz
ı
n parçalar
ı
de
ğ
erli maddelerdir ve yeniden dola
ş
ı
ma aktar
ı
labilir.
Bunun için onayl
ı
ve sertifikal
ı
de
ğ
erlendirme i
ş
letmeleri bulunmaktad
ı
r. Metaller ay
ı
klanm
ı
ş
ve ayr
ı
lm
ı
ş
ş
ekilde bir at
ı
k
ş
irketine teslim edilmelidir!
Yeniden de
ğ
erlendirilemeyen parçalar
ı
n (örn. elektronik hurda) çevreye duyarl
ı
ş
ekilde at
ı
ğ
a
ç
ı
kart
ı
labilmesi için yetkili at
ı
k makam
ı
ndan bilgi al
ı
n
ı
z.
7
Mü
ş
teri hizmetleri
Rothenberger servis istasyonlar
ı
veya üretici kendi tamirat bölümüyle hizmetinizdedir. Tabii ki
size gecikmeden yedek parça da gönderebiliriz. Lütfen sat
ı
c
ı
n
ı
za veya üreticiye ba
ş
vurun.
Aksesuarlar
ı
n
ı
z
ı
ve yedek parçalar
ı
n
ı
z
ı
uzman sat
ı
c
ı
n
ı
zdan veya sat
ı
ş
sonras
ı
destek hatt
ı
m
ı
zdan
sipari
ş
edin.
Tel. +49 6195 99 52 14
Faks:
+49 6195 99 52 15
52
ΕΛΛΗΝΙΚΑ
Περιεχόμενα
Σελίδα
1
Υποδείξεις
ασφαλείας
53
1.1
Προβλεπόμενη
χρήση
53
1.2
Γενικές
υποδείξεις
ασφαλείας
53
1.3
Ειδικές
υποδείξεις
ασφαλείας
54
2
Τεχνικά
στοιχεία
55
3
Λειτουργίες
56
3.1
Επισκόπηση
A
56
3.2
Περιγραφή
τρόπου
λειτουργίας
56
3.3
Αξεσουάρ
57
4
Μεταφορά
και
φύλαξη
58
4.1
Μοντάρισμα
58
5
Θέση
σε
λειτουργία
59
5.1
Άναμμα
καυστήρα
Brenner zünden
59
5.2
Ρύθμιση
της
φλόγας
59
5.3
Σβήσιμο
φλόγας
59
5.4
Αντικατάσταση
φιαλιδίου
αερίου
59
5.5
Αντικατάσταση
φιάλης
οξυγόνου
Και
ακετυλένιο
60
5.6
Αντιμετώπιση
προβλημάτων
και
Εργασίες
συντήρησης
60
6
Διάθεση
αποβλήτων
60
6.1
Μεταλλικά
μέρη
και
φιαλίδια
αερίου
60
7
Εξυπηρέτηση
πελατών
60
Επισημάνσεις
στο
παρόν
έγγραφο
Κίνδυνος
Αυτό
το
σήμα
προειδοποιεί
για
σωματικές
βλάβες
.
Προσοχή
Αυτό
το
σήμα
προειδοποιεί
για
υλικές
βλάβες
ή
βλάβες
στο
περιβάλλον
.
Î
Απαίτηση
για
τους
χειρισμούς
ΕΛΛΗΝΙΚΑ
53
1
Υποδείξεις
ασφαλείας
1.1
Προβλεπόμενη
χρήση
Σας
συγχαίρουμε
για
την
αγορά
ενός
επώνυμου
προϊόντος
Rothenberger.
Με
τη
συσκευή
αυτογενούς
συγκόλλησης
έχετε
αποκτήσει
ένα
προϊόν
ποιότητας
.
Αυτή
η
γενικής
χρήσης
συσκευή
επιτρέπει
μεγάλο
χρόνο
συγκόλλησης
με
τη
χρήση
επαναπληρώσιμων
χαλύβδινων
φιαλών
ασετυλίνη
και
οξυγόνου
των
5
λίτρων
ή
10
λίτρων
,
και
ωστόσο
είναι
ελαφριά
και
εύχρηστη
.
Μια
συσκευή
που
είναι
κυρίως
κατάλληλη
για
σκληρή
συγκόλληση
.
1.2
Γενικές
υποδείξεις
ασφαλείας
ΠΡΟΣΟΧΗ
!
Πρέπει
να
διαβάσετε
όλες
τις
οδηγίες
.
Τυχόν
σφάλμα
μη
τήρησης
των
υποδείξεων
που
ακολουθούν
μπορεί
να
προκαλέσει
πυρκαγιά
και
/
ή
βαρείς
τραυματισμούς
.
Πρέπει
να
τηρούνται
απαραίτητα
οι
προβλεπόμενοι
από
τη
νομοθεσία
κανονισμοί
ασφαλείας
και
οι
τεχνικές
διατάξεις
.
Η
εγγύηση
δεν
ισχύει
για
ζημιές
από
λανθασμένο
χειρισμό
.
ΦΥΛΑΞΤΕ
ΚΑΛΑ
ΑΥΤΕΣ
ΤΙΣ
ΟΔΗΓΙΕΣ
.
1)
Χώρος
εργασίας
α
)
Διατηρείτε
το
χώρο
εργασίας
σας
καθαρό
και
τακτοποιημένο
.
Η
ακαταστασία
και
ο
κακός
φωτισμός
στο
χώρο
εργασίας
μπορούν
να
οδηγήσουν
σε
ατυχήματα
.
β
)
Μην
εργάζεστε
με
τη
συσκευή
σε
περιβάλλον
όπου
υπάρχει
κίνδυνος
έκρηξης
και
υγρά
,
αέρια
ή
σκόνες
που
μπορούν
να
αναφλεγούν
.
Τα
εργαλεία
προκαλούν
σπινθήρες
οι
οποίοι
μπορούν
να
δημιουργήσουν
ανάφλεξη
στην
σκόνη
,
στους
ατμούς
ή
στα
αέρια
.
Φροντίζετε
να
υπάρχει
επαρκής
αερισμός
.
Εφόσον
είναι
εφικτό
,
μην
εργάζεστε
σε
κλειστούς
χώρους
.
γ
)
Κρατάτε
τα
παιδιά
και
άλλα
άτομα
μακριά
κατά
τη
χρήση
του
εργαλείου
.
Όταν
διασπάται
η
προσοχή
μπορεί
να
χάσετε
τον
έλεγχο
της
συσκευής
.
δ
)
Μη
χρησιμοποιείτε
τους
εύκαμπτους
σωλήνες
για
να
μεταφέρετε
τη
συσκευή
.
Κρατάτε
τους
εύκαμπτους
σωλήνες
μακριά
από
θερμότητα
,
λάδια
,
αιχμηρές
ακμές
και
κινούμενα
μέρη
της
συσκευής
.
Εύκαμπτοι
σωλήνες
που
έχουν
υποστεί
ζημιά
ή
είναι
μπλεγμένοι
αυξάνουν
τον
κίνδυνο
έκρηξης
.
ε
)
Διατηρείτε
τη
συσκευή
καθαρή
από
λάδια
και
γράσα
.
Σε
καθαρό
οξυγόνο
,
λάδια
και
γράσα
κάθε
είδους
μπορούν
να
αυτοαναφλεγούν
με
εκρηκτικό
τρόπο
.
Μην
εγκαθιστάτε
τη
συσκευή
κοντά
σε
πηγές
θερμότητας
(
σώματα
θέρμανσης
,
φούρνο
,
γυμνές
φλόγες
κλπ
.).
3)
Ασφάλεια
των
ατόμων
α
)
Πρέπει
να
είστε
προσεκτικοί
,
να
προσέχετε
τι
κάνετε
και
να
χρησιμοποιείτε
σύνεση
όταν
εργάζεστε
με
ένα
εργαλείο
.
Μη
χρησιμοποιείτε
τη
συσκευή
όταν
είστε
κουρασμένοι
ή
υπό
την
επήρεια
ναρκωτικών
,
οινοπνεύματος
ή
φαρμάκων
.
Μια
στιγμή
απροσεξίας
κατά
τη
χρήση
της
συσκευής
μπορεί
να
οδηγήσει
σε
σοβαρούς
τραυματισμούς
.
β
)
Φοράτε
εξοπλισμό
ατομικής
προστασίας
και
πάντα
προστατευτικά
γυαλιά
.
Η
χρήση
εξοπλισμού
ατομικής
προστασίας
,
όπως
αντιολισθητικών
υποδημάτων
ασφαλείας
,
δύσκολα
αναφλέξιμου
ρουχισμού
και
προστατευτικών
γυαλιών
,
ανάλογα
με
το
είδος
και
τη
χρήση
του
εργαλείου
,
μειώνει
τον
κίνδυνο
τραυματισμών
.
γ
)
Μην
υπερεκτιμάτε
τον
εαυτό
σας
.
Φροντίζετε
για
ασφαλή
στάση
σώματος
και
κρατάτε
πάντα
καλή
ισορροπία
.
Έτσι
μπορείτε
να
ελέγχετε
καλύτερα
τη
συσκευή
σε
μη
αναμενόμενες
καταστάσεις
.
δ
)
Φοράτε
κατάλληλο
ρουχισμό
.
Μην
φοράτε
μακριά
ενδύματα
ή
κοσμήματα
.
Κρατάτε
τα
μαλλιά
,
τα
ενδύματα
και
τα
γάντια
μακριά
από
κινούμενα
μέρη
.
Ο
χαλαρός
ρουχισμός
,
τα
κοσμήματα
ή
τα
μακριά
μαλλιά
μπορεί
να
πιαστούν
από
τα
κινούμενα
μέρη
.
54
ΕΛΛΗΝΙΚΑ
4)
Προσεκτική
μεταχείριση
και
χρήση
των
εργαλείων
α
)
Φυλάσσετε
μακριά
από
παιδιά
τα
εργαλεία
που
δεν
χρησιμοποιούνται
.
Μην
αφήνετε
να
χρησιμοποιούν
τη
συσκευή
άτομα
τα
οποία
δεν
είναι
εξοικειωμένα
με
αυτήν
ή
που
δεν
έχουν
διαβάσει
αυτές
τις
οδηγίες
.
Τα
εργαλεία
είναι
επικίνδυνα
όταν
χρησιμοποιούνται
από
άπειρα
άτομα
.
β
)
Φροντίζετε
τη
συσκευή
με
προσοχή
.
Ελέγχετε
αν
τα
κινούμενα
μέρη
της
συσκευής
λειτουργούν
άψογα
και
δεν
μπλοκάρουν
,
αν
υπάρχουν
σπασμένα
ή
φθαρμένα
εξαρτήματα
,
πράγμα
που
επηρεάζει
την
καλή
λειτουργία
της
συσκευής
.
Φροντίζετε
απαραίτητα
πριν
τη
χρήση
της
συσκευής
να
επιδιορθώνονται
τα
μέρη
που
έχουν
υποστεί
ζημιά
.
Πολλά
ατυχήματα
οφείλονται
σε
εργαλεία
τα
οποία
δεν
έχουν
συντηρηθεί
σωστά
.
γ
)
Ποτέ
μην
αφήνετε
χωρίς
επίβλεψη
τη
συσκευή
σκληρής
συγκόλλησης
κατά
τη
χρήση
της
.
Υπάρχει
μεγάλος
κίνδυνος
πυρκαγιάς
.
δ
)
Προσέχετε
να
εδράζονται
σωστά
τα
μανόμετρα
στο
μειωτήρα
πίεσης
ασετυλίνη
και
οξυγόνου
.
Αντικαθιστάτε
τα
μανόμετρα
που
έχουν
υποστεί
ζημιά
,
χρησιμοποιώντας
μόνο
αυθεντικά
ανταλλακτικά
Rothenberger.
ε
)
Οι
ανεπίστροφες
βαλβίδες
ασφαλείας
για
το
οξυγόνο
και
την
ασετιλίνη
πρέπει
να
χρησιμοποιηθούν
για
επαγγελματική
χρήση
.
5)
Σέρβις
Αναθέτετε
την
επισκευή
της
συσκευής
σας
μόνο
σε
εξειδικευμένο
τεχνικό
προσωπικό
και
μόνο
με
χρήση
γνήσιων
ανταλλακτικών
.
Έτσι
εξασφαλίζεται
η
διατήρηση
της
ασφάλειας
της
συσκευής
.
1.3
Ειδικές
υποδείξεις
ασφαλείας
Το
αέριο
Acetylen
είναι
εξαιρετικά
εύφλεκτο
,
άχρωμο
,
βαρύτερο
από
τον
αέρα
και
με
χαρακτηριστική
οσμή
.
Τα
ασετυλίνη
και
οι
φιάλες
οξυγόνου
δεν
επιτρέπεται
να
φθάνουν
στα
χέρια
παιδιών
.
ασετυλίνη
τα
φιαλίδια
και
τις
φιάλες
οξυγόνου
σε
καλά
αεριζόμενο
χώρο
.
Μην
καπνίζετε
κατά
το
χειρισμό
των
φιαλών
.
Κρατάτε
τα
φιαλίδια
και
τις
φιάλες
αερίων
μακριά
από
πηγές
ανάφλεξης
και
μην
καπνίζετε
.
Συσφίγγετε
όλες
τις
βιδωτές
συνδέσεις
με
το
παρεχόμενο
κλειδί
και
ελέγχετε
τη
στεγανότητά
τους
με
χρήση
υλικών
που
παράγουν
αφρό
(
όπως
σαπωνοδιάλυμα
,
σπρέι
εντοπισμού
διαρροών
).
Ελέγχετε
τη
στεγανότητα
των
βιδωτών
συνδέσεων
με
χρήση
υλικών
που
παράγουν
αφρό
(
όπως
σαπωνοδιάλυμα
,
σπρέι
εντοπισμού
διαρροών
).
Κλείνετε
τις
βαλβίδες
των
φιαλών
σε
περίπτωση
προβλημάτων
,
καθώς
και
μετά
την
εργασία
.
Μη
χρησιμοποιείτε
τη
συσκευή
σε
οριζόντια
θέση
.
Όταν
το
φιαλίδιο
είναι
οριζόντιο
,
φθάνει
υγροποιημένο
αέριο
MAXI
στη
βαλβίδα
του
φιαλιδίου
και
στο
ακροστόμιο
καύσης
και
αυτό
προκαλεί
βλάβες
.
Μη
μεταφέρετε
και
μη
χειρίζεστε
τη
φιάλη
ασετιλίνης
σε
άλλη
θέση
εκτός
από
την
όρθια
.
(
έξοδος
ακετόνης
από
τη
φιάλη
)
Μετά
το
τέλος
της
εργασίας
συγκόλλησης
:
Με
κλειστές
βαλβίδες
φιαλών
οξυγόνου
και
ασετιλίνης
,
ανοίξτε
για
λίγο
τη
βαλβίδα
αερίου
-
οξυγόνου
της
λαβής
και
αφήστε
να
διαφύγει
η
υπολειπόμενη
ποσότητα
αερίου
(
ελέγξτε
το
μανόμετρο
)
ΕΛΛΗΝΙΚΑ
55
2.
Τεχνικά
στοιχεία
Συγκόλλησης
Επιχειρήσεων
Συγκόλ
λησης
λειτουρ
γία
Συγκόλλη
σης
πάχος
Άρθρο
nr.
Αερίου
τύπου
Οξυγόνου
υπό
πίεση
Ακετυλένι
ο
πίεση
Οξυγόνου
κατανάλω
ση
Ακετυλένιο
κατανάλωση
Μέγεθος
[mm
]
[bar] [bar] [l/h] [l/h
]
1
0,5 - 1,0
3.5325
80
80
2
1,0 - 2,0
3.5326
160
160
3
2,0 - 4,0
3.5327 Acetylen
2,5
0,2
315
315
4
4,0 - 6,0
3.5328
500
500
5
6,0 - 9,0
3.5329
800
800
6
9,0 - 14,0 3.5334
1250
1250
Κοπή
ακροφύσια
Στόμιο
Πάχος
κοπής
Άρθρο
nr.
Οξυγόνου
υπό
πίεση
Ακετυλένιο
πίεση
Μέγεθος
[
mm
]
[
bar
]
[
bar
]
1/32 3-
6 3.5341 2,0
3/64 6-
20 3.5344 2,5
1/16 20-
75 3.5345 3,5
≥
0,5
RE 17 UNIVERSAL
Συσκευή
τριών
αερίων
AMS 5/5
RE 17 UNIVERSAL
Συσκευή
τριών
αερίων
AMS 10/10
RE 17 STANDARD
Συσκευή
τριών
αερίων
AMS 10/10
Αριθμός
προϊόντος
:
3.5400 3.5401 3.5798
Περιεχόμενο
φιάλης
5l
ακετυλένιο
/
5l
οξυγόνο
/
600ml Maxigas
10l
ακετυλένιο
/
10l
οξυγόνο
/
600ml Maxigas
10l
ακετυλένιο
/
10l
οξυγόνο
/
600ml Maxigas
Πεδίο
συγκόλλησης
: 0,5
έως
14
χιλ
. 0,5
έως
9
χιλ
.
Πεδίο
κοπής
: 3,0
έως
50
χιλ
.
3,0
έως
25
χιλ
.
Συγκόλληση
και
κοπή
:
Ακετυλένιο
με
οξυγόνο
Χαλκοκόλληση
:
Ακετυλένιο
με
οξυγόνο
ή
MAXIGAS
με
προσαρμογέα
και
καυστήρα
(
ανταλλακτικό
)
Θερμοκρασία
εργασίας
:
1 250°C
Θερμοκρασία
φλόγας
:
3 100°C
56
ΕΛΛΗΝΙΚΑ
3
Λειτουργίες
3.1
Επισκόπηση
A
1
Φιάλη
ακετυλενίου
8
Πακέτο
με
διπλούς
σωλήνες
15
Ακροφύσιο
κοπής
2
Φιάλη
οξυγόνου
9
MAXIGAS 400
16
Κλειδί
καυστήρα
3
Μειωτήρας
πίεσης
φιάλης
ακετυλενίου
10
RE17
Χειρολαβή
17
Βαλβίδα
ρύθμισης
αερίου
MAXIGAS
4
Μειωτήρας
πίεσης
φιάλης
οξυγόνου
11
RE17
Πτερυγωτός
μοχλός
18
Προσαρμογέας
σωλήνα
MAXIGAS
5
Όχημα
μεταφοράς
12
RE17
συγκολλημένων
ένθετα
19
Αναπτήρας
ασφαλείας
6
Λαστιχένιες
καλύπτρες
σε
κόκκινο
13
Καθαριστήρας
ακροφυσίου
20
Τσακμακόπετρες
-
Ανταλλακτικά
7
Λαστιχένιες
καλύπτρες
σε
μπλε
14
Ακροφύσιο
θέρμανσης
3.2
Περιγραφή
τρόπου
λειτουργίας
Συγκόλληση
με
ακροστόμια
συγκόλλησης
υψηλής
απόδοσης
:
Σαν
βασικός
κανόνας
,
η
φλόγα
συγκόλλησης
πρέπει
να
καίει
ουδέτερα
(
υπάρχει
εξισορροπημένη
αναλογία
αερίων
)
και
το
μέγεθός
της
πρέπει
να
είναι
αντίστοιχο
του
πάχους
του
υλικού
,
της
μορφής
της
ραφής
,
της
θέσης
συγκόλλησης
και
της
αγωγιμότητας
του
υλικού
.
Για
τη
συγκόλληση
χάλυβα
σε
περιπτώσεις
μεγάλου
πάχους
υλικού
,
ανοίξτε
πολύ
και
τις
δύο
βαλβίδες
και
κατά
τη
συγκόλληση
ελασμάτων
χάλυβα
με
μικρό
πάχος
υλικού
κλείστε
λίγο
τις
βαλβίδες
.
Προθερμαίνετε
το
υλικό
εργασίας
και
τη
ράβδο
κράματος
συγκόλλησης
.
Μόλις
αρχίσει
να
λειώνει
το
μέταλλο
και
στις
δύο
πλευρές
της
ραφής
,
προσθέστε
τη
ράβδο
συγκόλλησης
.
Προσέξτε
να
θερμαίνεται
ομοιόμορφα
η
θέση
συγκόλλησης
.
Κινείτε
τον
καυστήρα
με
ημικυκλικές
κινήσεις
γύρω
από
τη
ράβδο
συγκόλλησης
.
Σκληρή
συγκόλληση
:
Καθαρίστε
τις
επιφάνειες
σύνδεσης
,
λειάνετε
και
στρογγυλέψτε
τις
ακμές
.
Προθερμάνετε
τη
θέση
συγκόλλησης
.
Ακουμπήστε
την
άκρη
της
ράβδου
κράματος
συγκόλλησης
στη
θέση
συγκόλλησης
,
λιώστε
μια
σταγόνα
κράματος
συγκόλλησης
και
απλώστε
τη
με
συνεχή
κίνηση
της
φλόγας
.
Κοπή
με
φλόγα
:
Î
Επιλέγετε
ακροστόμια
κοπής
με
φλόγα
(
23
)
ανάλογα
με
το
πάχος
του
τεμαχίου
εργασίας
(
βλ
.
Τεχνικά
στοιχεία
)
και
βιδώνετέ
τα
στεγανά
στην
κεφαλή
καυστήρα
του
εξαρτήματος
κοπής
(
20
)
ή
του
καυστήρα
χειροκίνητης
κοπής
(
15
).
Î
Χρησιμοποιήστε
για
το
σκοπό
αυτό
κατάλληλο
κλειδί
συναρμολόγησης
.
Κρατάτε
αντίσταση
στις
επιφάνειες
εφαρμογής
κλειδιού
της
κεφαλής
καυστήρα
.
Χρησιμοποιείτε
μόνο
καθαρά
,
χωρίς
ζημιά
-
Αυθεντικά
-
ακροστόμια
της
ROTHENBERGER
για
κοπή
με
φλόγα
.
Προσέχετε
οι
επιφάνειες
στεγανοποίησης
στα
ακροστόμια
και
στην
κεφαλή
καυστήρα
να
είναι
σε
άψογη
κατάσταση
.
Ρύθμιση
των
πιέσεων
λειτουργίας
Î
Αρχικά
κρατήστε
κλειστές
τις
βαλβίδες
ρύθμισης
οξυγόνου
και
καύσιμου
αερίου
(
16
και
17
)
στη
λαβή
ή
στον
καυστήρα
χειροκίνητης
κοπής
(
15
).
Î
Ανοίξτε
αργά
τις
βαλβίδες
των
φιαλών
(
1
και
2
)
ή
τις
βαλβίδες
λήψης
(
9
και
10
)
στη
σωλήνωση
διανομέα
.

