Hach-Lange CLT10 sc – страница 18
Инструкция к Hach-Lange CLT10 sc

Nadomestni deli in dodatna oprema (nadaljevanje)
Opis Št. elementa
Angl. mere:
9196900 (1/2 palca)
Priključek, kolenski, iztok pretočne celice za pH
Metrični sistem:
9197000 (12 mm)
Plovec, senzor pretoka 9159100
Angl. mere: 9198400
Sklop pretočne celice, klor
Metrični sistem:
9198500
Angl. mere: 9180200
Sklop pretočne celice, pH-kombinacija
Metrični sistem:
9180400
Angl. mere: 9180100
Sklop pretočne celice, pHD
Metrični sistem:
vključno s tesnilnim obročem
9180300
Samo ohišje pretočne celice (pH) 9159700
Blok pretočne celice, klor 9158900
Ventil za regulacijo pretoka 9159000
Komplet ventila za regulacijo pretoka 9198600
Senzor pretoka 9160800
Pretvornik, digitalni 9180500
Zaklepni obroč, pretočna celica za klor 9196200
Zaklepni obroč, pretočna celica za pH 60F2032-001
Tesnilni obroček, ventil za regulacijo pretoka (2 x) (#2-108, Viton) 9159600
Tesnilni obroček, pretočna celica za pH (2-228, Viton) 5H1223
Tesnilni obroček, tesnilni obroč, pretočna celica za klor (2-123 Viton) 9196300
Tesnilni obroček, razcepni obroč (M25 x 2,5) 9181800
Čep, pretočna celica za klor, 1/2 palca 9159500
Vijak, pretočna celica za klor (2 x) (10-32 x valjast vijak 1,75 Lg Phillps) 4422200
Vijak, pretočna celica za pH (2 x) (10-32 x valjast vijak 5 Lg Phillps) 561211
Tesnilna podložka, pretočna celica za pH 9198000
Tesnilni obroč, pretočna celica za klor 9196100
Tesnilni obroč, kombinirani pH-senzor, 3/4 palca 9159800
Tesnilni obroč, pretočna celica za pHD, 1 palec 60F2021-001
Razcepni obroč, pretočna celica za klor 9181700
Cevka, pretok vzorca, 1/4 palca x 2 m 4743800
Cevka, pretok vzorca, 3/8 palca x 18 palcev 9198100
Cevka, odvodni pretok, 1/2 palca x 2 m 9198200
Ventil, vrata za zajem vzorca 9005300
Ventil, hitra spojka, vrata za čiščenje 6166300
Slovenski 341

Pribor
Opis Št. elementa
Komplet za dodajanje kisline LZY051
Komplet za obdelavo vzorcev z regulatorjem tlaka 9159900
342 Slovenski

Sadržaj
Specifikacije na stranici 343 Održavanje na stranici 352
Opći podaci na stranici 343 Rješavanje problema na stranici 356
Instalacija na stranici 348 Zamjenski dijelovi i dodaci na stranici 359
Funkcioniranje na stranici 351
Specifikacije
Specifikacije se mogu promijeniti bez prethodne najave.
Specifikacije Pojedinosti
Opis komponenti Amperometrijski analizator za analizu i praćenje klora
bez reagensa, sa senzorima za klor, protok, opcijskim
pH kombiniranim ili pHD senzorom, protočnim
kivetama, sc kontrolerom i digitalnim pristupnikom
Radna temperatura od 0 do 45°C (0 do 113 °F)
Skladišna temperatura (samo ploča) –20 do 60 °C (–4 do 149 °F)
Potrošnja struje 12 VDC ± 10%, maksimalno 100 mA (putem sc
kontrolera)
Dimenzije ploče (D x Š x V) 48,3 x 49,5 x 15,1 cm (19 x 19,5 x 5,95 inča) s
komponentama postavljenima na ploču
Težina Približno 5,4 kg (12 funti) (samo ploča i prazne
komponente montirane na ploču)
Brzina protoka Raspon: 30–50 L/h (7,9–13,2 gal/h)
Optimalno: 40 L/h (10,5 gal/h)
Platforma kontrolera Modeli sc kontrolera
Opći podaci
Ni u kojem slučaju proizvođač neće biti odgovoran za direktne, indirektne, specijalne, slučajne ili
posljedične štete uzrokovane nedostacima ili propustima u ovom priručniku. Proizvođač zadržava
pravo na izmjene u ovom priručniku te na opise proizvoda u bilo kojem trenutku, bez prethodne
najave ili obaveze. Izmijenjena izdanja nalaze se na proizvođačevoj web stranici.
Sigurnosne informacije
O B A V I J E S T
Proizvođač nije odgovoran za štetu zbog nepravilne primjene ili nepravilne uporabe ovog proizvoda uključujući,
bez ograničenja, izravnu, slučajnu i posljedičnu štetu i odriče se odgovornosti za takvu štetu u punom opsegu
dopuštenom prema primjenjivom zakonu. Korisnik ima isključivu odgovornost za utvrđivanje kritičnih rizika
primjene i za postavljanje odgovarajućih mehanizama za zaštitu postupaka tijekom mogućeg kvara opreme.
Prije raspakiravanja, postavljanja ili korištenja opreme pročitajte cijeli ovaj korisnički priručnik.
Poštujte sva upozorenja na opasnost i oprez. Nepoštivanje ove upute može dovesti do tjelesnih
ozljeda operatera ili oštećenja na opremi.
Uvjerite se da zaštita koja se nalazi uz ovu opremu nije oštećena. Ne koristite i ne instalirajte ovu
opremu na bilo koji način koji nije naveden u ovom priručniku.
Hrvatski
343

Upotreba upozorenja
O P A S N O S T
Označava potencijalno ili neposredno opasnu situaciju koja će, ako se ne izbjegne, dovesti do smrti ili ozbiljnih
ozljeda.
U P O Z O R E N J E
Označava potencijalno ili neposredno opasnu situaciju koja će, ako se ne izbjegne, dovesti do smrti ili ozbiljnih
ozljeda.
O P R E Z
Označava potencijalno opasnu situaciju koja će dovesti do manjih ili umjerenih ozljeda.
O B A V I J E S T
Označava situaciju koja, ako se ne izbjegne će dovesti do oštećenja instrumenta. Informacije koje je potrebno
posebno istaknuti.
Naljepnice za upozorenje na oprez
Pročitajte sve naljepnice i oznake na instrumentu. Ako se ne poštuju može doći do tjelesnih ozljeda ili
oštećenja instrumenta. Simbol na instrumentu odgovara simbolu u priručniku uz navod o mjerama
predostrožnosti.
Ovaj simbol, ako se nalazi na instrumentu, daje korisnički priručnik kao referencu za informacije o
radu i/ili zaštiti.
Električna oprema označena ovim simbolom ne smije se odlagati u europskim javnim odlagalištima
nakon 12. kolovoza 2005. Sukladno europskim lokalnim i nacionalnim propisima (EU direktiva
2002/98/EC), korisnici električne opreme u Europi sada moraju staru ili isteklu opremu vratiti
proizvođaču koji će je odložiti bez naknade.
Napomena: Za vraćanje opreme za recikliranje obratite se proizvođaču opreme ili dobavljaču koji će vas obavijestiti o
povratu opreme kojoj je istekao rok trajanja, te odlaganju električkih dodataka i sve dodatne opreme.
Prikaz proizvoda
Ovaj je uređaj prvenstveno namijenjen za upotrebu s vodom iz vodovoda. Prije instalacije je potrebno
provjeriti je li proizvođač odobrio upotrebu s otpadnim i industrijskim vodama.
Uređaj za analizu klora bez upotrebe reagensa prati koncentraciju slobodnog ili ukupnog rezidualnog
klora u vodi te je najpouzdaniji pri koncentracijama rezidualnog klora koje su više od 0,1 ppm(mg/L).
Kombinacija kontrolera sc modela sa senzorom za klor s tri elektrode, dodatnim pH senzorom i
senzorom protoka omogućava najbolju funkciju praćenja. Oba senzora očitavaju temperaturu uzorka.
pH senzor prenosi očitanje temperature na zaslon kontrolera. Senzor za klor svoja mjerenja
temperature koristi interno i ne prenosi mjerenje na zaslon kontrolera. Komplet za reguliranje tlaka i
acidifikaciju te komplet za pročišćavanje dostupni su u obliku dodatne opreme.
Senzori za klor i pH nalaze se na protočnim kivetama koje su postavljene na ploču i spojene serijski.
Kivete za protok održavaju kontakt između senzora i uzorka i pomažu u sprečavanju isušivanja
senzora dok sustav nije u pogonu. Slika 1, Slika 2, Slika 3 prikazuju preglede sustava i protočnih
kiveta.
Svaki je od senzora priključen na kontroler putem pristupnika koji je postavljen na ploči. Pristupnik
pretvara analogne signale sa senzora u digitalne signale koje koristi kontroler. Kontroler pretvara
digitalne signale u vrijednosti mjerenja klora, pH i temperature i prikazuje očitanja na zaslonu.
Kontroler strujom napaja senzore i digitalni pristupnik.
Kontroler možete konfigurirati tako da uzrokuje stanje alarma ili upozorenje ako vrijednosti mjerenja
prerastu određene vrijednosti ili budu ispod njih. Informacije o alarmima kontrolera potražite u
korisničkom priručniku za kontroler.
Napomena: Dodatne informacije o načinu pohrane senzora dok sustav nije u pogonu potražite u korisničkim
priručnicima za senzor.
344
Hrvatski

Dostupne su dvije konfiguracije uređaja za analizu: opcija za dohvat uzorka (bez senzora pH) i opcija
pH. Opcija za dohvat uzorka uključuje ploču za postavljanje, senzor za klor i protočnu kivetu, pH
protočnu kivetu bez senzora, senzor za protok, digitalni pristupnik i kontroler. Opcija pH uključuje sve
te elemente i pH senzor.
Ventil za kontrolu protoka regulira protok uzorka. Za ispravan rad senzora preporučamo konstantnu
količinu protoka od 30-50 L/h. Optimalna količina protoka je 40 L/h. Jedan LED indikator na senzoru
protoka prikazuje je li količina protoka uzorka dostatna. Ako LED indikator ne svijetli, potrebno je
podesiti količinu protoka sve dok ne zasvijetli. Točna količina protoka nije važna sve dok LED
indikator svijetli, ali protok mora biti konstantan i unutar specifikacija.
Slika 1 Pregled sustava
1 Kontroler 7 Ulaz uzorka
2 Pristupnik 8 Ventil, isključivanje (isporučuje se za kupca)
3 Kabel senzora za klor 9 Protočna kiveta za klor
4 pH senzor (opcionalno) 10 Kabel senzora za protok
5 Ispust za uzorak 11 Senzor za klor
6 pH protočna kiveta
Hrvatski 345

Slika 2 Pregled protočne kivete za klor
1 Senzor za protok 8 Nastavak za izlaz uzorka
• Anglosaksonske mjere: Nastavak za brzo
priključivanje—3/8 inča OD cijev
• Metrički: Nastavak za brzo priključivanje—10 mm
OD cijev
2 Priključak, 1/8 inča NPTF 9 Oznaka za poravnanje senzora za klor
3 Oznaka poravnanja plovka 10 Ventil, priključak za pročišćavanje, 1/4 inča OD
cijev
4 Priključak, 1/2 inča NPTF 11 Ulaz protočne kivete
• Anglosaksonske mjere: Nastavak za brzo
priključivanje—1/4 inča OD cijev
• Metrički: Nastavak za brzo priključivanje—6 mm
OD cijev
5 Pričvrsni prsten 12 Protočna kiveta
6 Brtva 13 Ventil za kontrolu protoka
7 Prstenasta brtva 14 Plovak
346 Hrvatski

Slika 3 Pregled pH protočne kivete
1 Pričvrsni prsten 4 Nastavak za izlaz uzorka
Anglosaksonske mjere: Kutni nastavak za brzo
priključivanje—1/2 inča OD
Metrički: Kutni nastavak za brzo priključivanje—
12 mm OD
2 Mjesto za brtvu 5 Priključak za dohvat uzorka
3 Prstenasta brtva 6 Ulaz protočne kivete
• Anglosaksonske mjere: Nastavak za brzo
priključivanje—3/8 inča OD
• Metrički: Nastavak za brzo priključivanje—10 mm
OD
Komponente proizvoda
Provjerite jeste li dobili sve komponente. Pogledajte Slika 1 na stranici 345. Ako neki od ovih
elemenata nedostaje ili je oštećen, odmah se obratite proizvođaču ili prodajnom predstavniku.
Hrvatski
347

Slika 4 Ploča uređaja za analizu klora bez reagensa
1 Ploča sustava 3 Cijevi, 12 mm (½ inča)
2 Priključni kabel duljine 1 m (3,3 stope) za spajanje
4 Senzor za klor
pristupnika i kontrolera
Instalacija
Smjernice za instalaciju
• Prvo obavite mehaničku instalacijsku pa električnu instalaciju, a naposljetku spojite cijevi.
• Svi nastavci dizajnirani su za ručno pritezanje.
• Ploča je dizajnirana za postavljanje na zid ili nosač. Postavite ili fiksirajte ploču na dostupnu
lokaciju.
• Ploču ne postavljajte pored izvora topline.
• Ploču ne postavljajte u okruženje gdje su učestale vibracije.
• Ploču ne postavljajte na izravnu sunčevu svjetlost.
• Ploču montirajte u zatvorenom prostoru ili unutar zaštitnog kućišta.
• Spriječite nakupljanje kondenzirane vode na ploči i njenim komponentama, osobito na protočnoj
kiveti, senzoru i spoju senzora i kabela.
• Poslužite se Teflon
®
ili PVDF linearnim polietilenskim cijevima niske gustoće za dolazni vod
uzorka, a cijev neka bude što je moguće kraća radi smanjivanja vremena zastoja.
• Tlak uzorka mora biti dovoljan za omogućavanje trajnog dotoka vode do senzora. LED pokazatelj
na senzoru protoka svijetlit će sve dok je protok dostatan.
• Brzina protoka neka bude što konstantnija radi omogućavanja odgovarajućeg rada senzora.
Smjernice za korištenje cijevi za izuzimanje uzorka
Za najbolju izvedbu instrumenta odaberite prikladnu, reprezentativnu točku uzorkovanja. Uzorak
mora biti reprezentativan za cijeli sustav.
Kako biste spriječili neujednačena očitanja:
• Uzorke izuzmite s lokacija koje su dostatno udaljene od točaka kemijskih dodataka u struji koja se
obrađuje.
• Pobrinite se da su uzorci ravnomjerno promiješani.
• Provjerite jesu li sve kemijske reakcije dovršene.
348
Hrvatski

Mehaničko instaliranje
Postavljanje ploče
Slika 5 prikazuje dimenzije kod postavljanja. Za postavljanje ploče pogledajte sliku i slijedite korake.
1. Postavite vijke za postavljanje na površinu za postavljanje. Postavite je na zidne nosače ili se
poslužite tiplama. Ostavite dovoljno prostora između glave svakog od vijaka i površine za
postavljanje kako biste u međuprostor mogli smjestiti ploču.
2. Pogurajte rupe za postavljanje ploče preko glava vijaka za postavljanje kako bi ploča kliznula
prema dolje, sve dok vrh svake od rupa za postavljanje ne nalegne na tijelo vijka.
3. Pritegnite svaki od vijaka kako biste učvrstili ploču na površini za postavljanje.
4. Postavite senzor za klor i pH (opcionalno) u protočne kivete. Informacije o načinu postavljanja
senzora potražite u korisničkom priručniku senzora.
Slika 5 Dimenzije ploče uređaja za analizu klora bez reagensa
Hrvatski 349

Električna instalacija
Ožičenje ploče
U P O Z O R E N J E
Opasnost od strujnog udara. Prije izvođenja električnih spojeva uvijek isključite instrument iz napajanja.
Kontroler strujom napaja senzore i digitalni pristupnik.
1. Isključite kontroler iz napajanja.
2. Priključite kabele pH senzora (opcionalno) na pristupnik. Informacije o načinu postavljanja
senzora u protočne kivete ili o priključivanju senzora na pristupnik potražite u korisničkom
priručniku za senzor.
3. Priključite senzor za klor na pristupnik. Informacije o načinu priključivanja senzora na pristupnik
potražite u korisničkom priručniku za senzor.
Napomena: Prilikom dostave ploče, kabel senzora za klor bit će zalijepljen s prednje strane ploče, blizu
priključka senzora.
4. Kontroler povežite s pristupnikom putem priključnog kabela duljine 1 m koji se isporučuje uz
ploču.
Cijevi
Postavljanje cijevi na ploču
Svakako slijedite specifikacije veličine svih cijevi i nastavaka za ploču. Put protoka potrebno je
povećavati u promjeru prateći protok vode kroz sustav kako biste spriječili porast povratnog tlaka.
Slika 1 na stranici 345 prikazuje pregled cijevnih priključaka.
1. Cijevi priključite na ulazne i izlazne nastavke uzorka.
2. Provjerite je li priključak za pročišćavanje na protočnoj kiveti za klor zatvoren.
3. Provjerite je li zatvoren priključak za dohvat uzorka na pH protočnoj kiveti.
4. Otvorite protočni ventil na liniji uzorka i omogućite vodi protok kroz sustav.
5. Iz cijevi, nastavaka ventila ili protočnih kiveta ne smije curiti.
6. Kako biste smanjili pojavljivanje mjehurića zraka, pH protočnu kivetu možete nagnuti između 0º i
30º, kao što prikazuje Slika 6.
350
Hrvatski

Slika 6 Nagib pH protočne kivete
Funkcioniranje
Navigacija korisnika
Pogledajte dokumentaciju o kontroleru radi opisa tipki i informacija o navigaciji.
Konfiguracija sustava
Konfiguracija sustava i kalibracija vrše se putem korisničkog sučelja kontrolera. Dodatne informacije
o načinu konfiguracije ili kalibracije senzora potražite u korisničkom priručniku za senzor.
Kontroler modela sc mora biti povezan s pristupnikom.
1. U glavnom izborniku kontrolera odaberite Sensor Setup (Postavljanje senzora).
Prikazat će se izbornik za postavljanje pristupnika za klor (Chlorine Gateway, CGW).
2. Odaberite Configure (Konfiguracija) i prilagodite unose. Za spremanje promjena potvrdite nakon
svakog unosa i vratite se na izbornik Configure (Konfiguracija).
Opcija Opis
Edit name (Uređivanje naziva) Uređivanje naziva senzora
Hrvatski 351

Opcija Opis
Select Parameter—Chlorine (Total or Free), pH
Odabir parametra za konfiguraciju. Za
(optional), Temperature (optional) (Odabir parametra -
konfiguriranje odabranog parametra potrebno je
klor (ukupan ili slobodan), pH (opcionalno),
izvršiti dodatne korake. Dodatne informacije
temperatura (opcionalno))
potražite u korisničkom priručniku za senzor.
Reset Defaults—Confirm to do the reset. (Ponovno
Ponovno postavljanje svih postavki na zadane
postavljanje zadanih vrijednosti - potvrdite za ponovno
tvorničke vrijednosti.
postavljanje.)
Pokretanje sustava
Prije pokretanja protoka kroz sustav provjerite jesu li ispravno izvršeni svi mehanički i električni
postupci te postupci vezani uz cijevi.
1. Priključite kontroler na napajanje.
Prilikom prvog pokretanja sustava, kontroler će prikazati zaslone Language (Jezik), Date Format
(Format datuma) i Date/Time (Datum/vrijeme).
2. Ako to dosad nije učinjeno, na kontroleru postavite jezik, datum i vrijeme. Dodatne informacije u
vezi postavljanja tih opcija potražite u korisničkom priručniku za kontroler.
Kontroler će potražiti priključene uređaje.
3. Provjerite jesu li priključak za pročišćavanje i priključak za dohvat uzorka zatvoreni, a zatim
otvorite ventil za uključivanje/isključivanje na vodu za uzorak kako biste pokrenuli protok vode
kroz sustav.
Protočne kivete za klor i pH ispunit će se vodom.
4. Provjerite svijetli li LED indikator senzora za protok. Ako LED indikator ne svijetli, podesite ventil
za kontrolu protoka kako biste povećali protok.
LED indikator senzora za protok zasvijetlit će kada protok bude dovoljan za odgovarajući rad
senzora. Ako je protok prevelik, LED indikator možda neće zasvijetliti. Provjerite je li plovak
ispravno poravnat s oznakom poravnanja za protok.
5. Provjerite ima li curenja ili blokada u cijevima i protočnim kivetama. Uočite li neke probleme, prije
neophodnih popravaka isključite protok kroz ploču.
6. Nakon što sustav dostigne dovoljan protok, uklonite upozorenja koja se prikazuju na zaslonu
kontrolera vršeći predložene radnje.
7. Pritisnite tipku HOME (Početno).
Prikazat će se glavni zaslon mjerenja i prikazati vrijednosti mjerenja za klor, temperaturu i pH
(ako je priključen pH senzor).
Održavanje
O P A S N O S T
Višestruka opasnost. Zadatke opisane u ovom odjeljku priručnika treba obavljati isključivo kvalificirano
osoblje.
Zamjena cijevi
Cijevi mijenjajte barem jednom godišnje. Lomljive, napukle ili cijevi koje cure zamijenite odmah.
Cijevi koje su stare, promijenile boju, prljave ili oštećene zamijenite cijevima istog promjera i vrste
(Teflon
®
ili PVDF cijevi).
Čišćenje senzorne protočne kivete
Prema potrebi očistite protočnu kivetu kako biste uklonili naslage. U slučaju težeg onečišćenja,
očistite protočnu kivetu. Zamijenite protočnu kivetu u slučaju njenog oštećenja, promjene boje ili
gubitka prozirnosti. Kako biste očistili protočnu kivetu, ne morate je uklanjati s ploče.
352
Hrvatski

Napomena: Za čišćenje protočne kivete za klor nikad nemojte koristiti deterdžente ili sredstva za čišćenje.
1. Zaustavite istjecanje izvora na ploču.
2. Uklonite senzor za klor i stavite senzor u spremnik ispunjen uzorkom klorirane vode.
Napomena: Nemojte iskopčavati senzor iz napajanja. Ako senzor za klor iskopčate iz napajanja, prije upotrebe
ga je potrebno regulirati i kalibrirati.
Napomena: Izvadite li senzor iz protočne kivete dok je kabel senzora priključen, doći će do promjene u
izlaznim signalima senzora. Dodatne informacije potražite u korisničkom priručniku za rukovanje.
3. Protočnu kivetu isperite vodom i iščetkajte je mekom četkicom / kistom kako biste uklonili
naslage.
4. Protočnu kivetu isperite vodom.
5. Ako protočna kiveta nije dovoljno čista, 10 do 15 minuta je namačite u mješavini 3-5% otopine
vodikovog peroksida i octa u omjeru 1:3.
6. Protočnu kivetu isperite vodom.
7. Postavite senzor u protočnu kivetu i pokrenite protok uzorka.
Zamjena senzora za protok
U normalnim uvjetima, senzor za protok ne zahtijeva redovno održavanje ili zamjenu. Međutim, ako
LED indikator protoka ne zasvijetli kad uključite napajanje, a plovak se nalazi na oznaci poravnanja ili
iznad nje, možda ćete morati zamijeniti senzor. Kako biste zamijenili senzor protoka, slijedite korake
opisane u nastavku.
Napomena: Za zamjenu senzora protoka nije neophodno ukloniti senzor za klor, ispustiti protočnu kivetu ili isključiti
kontroler.
Hrvatski 353

354 Hrvatski

Zamjena sklopa s ventilom za kontrolu protoka
Hrvatski 355

Rješavanje problema
Dnevnik događaja
Kontroler nudi jedan dnevnik događaja za svaki od senzora. Dnevnik događaja sprema razne
događaje do kojih dolazi na uređajima, npr. izvršene kalibracije, promijenjene opcije kalibracije itd.
Popis mogućih događaja prikazan je u nastavku. Dnevnik događaja može se iščitati u CSV formatu.
Upute o preuzimanju dnevnika potražite u korisničkom priručniku kontrolera.
Tablica 1 Dnevnik događaja
Događaj Opis
Power On (Napajanje uključeno) Napajanje je uključeno.
Flash Failure (Kvar flash memorije) Vanjska flash memorija je oštećena.
1pointpHCalibration_Start Početak kalibracije uzorka u jednoj točki za pH
1pointpHCalibration_End Završetak kalibracije uzorka u jednoj točki za pH
2pointpHCalibration_Start Početak kalibracije uzorka u dvije točke za pH
2pointpHCalibration_End Završetak kalibracije uzorka u dvije točke za pH
1pointBufferpHCalibration_Start Početak kalibracije puferske otopine u jednoj točki za pH
1pointBufferpHCalibration_End Završetak kalibracije puferske otopine u jednoj točki za pH
2pointBufferpHCalibration_Start Početak kalibracije puferske otopine u dvije točke za pH
2pointBufferpHCalibration_End Završetak kalibracije puferske otopine u dvije točke za pH
TempCalibration_Start Početak kalibracije temperature
TempCalibration_End Završetak kalibracije temperature
1pointChemZeroCL2_Start Početak nulte kemijske kalibracije u jednoj točki za klor
1pointChemZeroCL2_End Završetak nulte kemijske kalibracije u jednoj točki za klor
1pointElecZeroCL2_Start Početak nulte električne kalibracije u jednoj točki za klor
1pointElecZeroCL2_End Završetak nulte električne kalibracije u jednoj točki za klor
1pointProcessConc_Start Početak koncentracije postupka u jednoj točki za klor
1pointProcessConc _End Završetak koncentracije postupka u jednoj točki za klor
2pointChemCL2_Start Početak kemijske kalibracije u dvije točke za klor
2pointChemCL2_End Završetak kemijske kalibracije u dvije točke za klor
2pointElecCL2_Start Početak električne kalibracije u dvije točke za klor
2pointElecCL2_End Završetak električne kalibracije u dvije točke za klor
CL2CalSetDefault Kalibracija klora postavljena je na zadanu vrijednost.
pHCalSetDefault Podaci pH kalibracije postavljeni su na zadanu vrijednost.
TempCalSetDefault Podaci kalibracije temperature postavljeni su na zadanu vrijednost.
AllCalSetDefault Svi podaci kalibracije senzora postavljeni su na zadanu vrijednost.
CL2CalOptionChanged Opcija za kalibraciju klora je promijenjena.
pHCalOptionChanged Opcija pH kalibracije je promijenjena.
TempCalOptionChanged Opcija kalibracije temperature je promijenjena.
SensorConfChanged Konfiguracija senzora je promijenjena.
356 Hrvatski

Tablica 1 Dnevnik događaja (nastavak)
Događaj Opis
ResetCL2CalHist Prethodne CL2 kalibracije su ponovno postavljene.
ResetpH CalHist Prethodne pH kalibracije su ponovno postavljene.
ResetTemp CalHist Prethodne kalibracije temperature su ponovno postavljene.
ResetAllSensorsCalHist Sve prethodne kalibracije senzora su ponovno postavljene.
ResetCL2Sensor Podaci CL2 kalibracije (dani senzora, prethodne kalibracije i podaci
kalibracije) postavljeni su na zadane vrijednosti.
ResetpHSensor Podaci pH kalibracije (dani senzora, prethodne kalibracije i podaci
kalibracije) postavljeni su na zadane vrijednosti.
ResetTempSensor Podaci kalibracije temperature (dani senzora, prethodne kalibracije i podaci
kalibracije) postavljeni su na zadane vrijednosti.
ResetAllSensors Svi podaci kalibracije senzora (dani senzora, prethodne kalibracije i podaci
kalibracije) postavljeni su na zadane vrijednosti.
Flow Detection (Detekcija protoka) Stanje senzora udaljenosti je promijenjeno (dostatan ili nedostatan protok).
Popis pogrešaka
Do pogrešaka može doći iz različitih razloga. Na zaslonu mjerenja trepere očitanja senzora. Svi izlazi
su zadržani kada je to specificirano u izborniku kontrolera. Za prikaz pogrešaka senzora pritisnite
tipku MENU (Izbornik) i odaberite Sensor Diag (Dijagram senzora), Error List (Popis pogrešaka). U
nastavku će se prikazati popis mogućih pogrešaka.
Tablica 2 Popis pogrešaka za senzor
Pogreška Opis Rješenje
CL CAL REQD (Potrebna
Potrebna je kalibracija za klor i/ili pH.
Kalibrirajte senzor za klor i/ili pH senzor.
kalibracija za klor)
Mjerenja za klor i/ili pH promijenjena
su dovoljno da bi uzrokovala
kalibracijski alarm (Cal Watch).
Dodatne informacije potražite u
priručniku senzora za klor.
CL MAINT REQD (Potrebno
Potrebno održavanje senzora za klor.
Izvršite održavanje senzora i zatim
održavanje za klor)
ponovite kalibraciju ili zamijenite senzor.
Nagib je manji od 30% ili veći od
Dodatne informacije potražite u
300% od zadanog.
priručniku senzora za klor.
Zadani nagib iznosi 100 mV/ppm
(100%).
CL MAINT REQD (Potrebno
Potrebno održavanje senzora za klor.
Izvršite održavanje senzora i zatim
održavanje za klor)
ponovite kalibraciju ili zamijenite senzor.
Odmak je previsok (viši od ±50 mV).
Dodatne informacije potražite u
priručniku senzora za klor.
PH TOO LOW (pH prenizak) pH vrijednost manja je od 0 pH. Kalibrirajte ili zamijenite pH senzor.
PH TOO HIGH (pH previsok) pH vrijednost veća je od 14 pH.
PH SLOPE FAIL (Pogreška
Nagib je izvan raspona od -45 do
Očistite pH senzor, a zatim ponovite
pH nagiba)
-65 mV/pH.
kalibraciju sa svježom puferskom
otopinom ili uzorkom ili zamijenite
senzor.
PH OFFSET FAIL (Pogreška
Odmak je izvan vrijednosti ±60 mV. Očistite pH senzor, a zatim ponovite
pH odmaka)
kalibraciju sa svježom puferskom
otopinom / uzorkom ili zamijenite
senzor.
Hrvatski 357

Tablica 2 Popis pogrešaka za senzor (nastavak)
Pogreška Opis Rješenje
PH OFFSET FAIL (Pogreška
Odmak je izvan vrijednosti ±60 mV. Očistite pH senzor te zamijenite solni
pH odmaka)
most i standardnu otopinu u kiveti.
Ponovite kalibraciju sa svježom
puferskom otopinom ili uzorkom ili
zamijenite senzor.
TEMP TOO LOW
Temperatura je niža od 0°C. Kalibrirajte temperaturu ili zamijenite pH
(Temperatura preniska)
senzor.
TEMP TOO HIGH
Temperatura je viša od 100°C.
(Temperatura previsoka)
TEMP FAIL (Pogreška
Odmak je viši od 5,0°C ili niži od
Kalibrirajte temperaturu ili zamijenite pH
temperature)
-5,0°C.
senzor.
NO FLOW (Nema protoka) Razina protoka je preniska. Povećajte protok.
Popis upozorenja
Upozorenja ne utječu na rad izbornika, releja i izlaza. Ikone upozorenja trepere i prikazuje se poruka
na dnu zaslona mjerenja. Za prikaz upozorenja senzora pritisnite tipku MENU (Izbornik) i odaberite
Sensor Diag (Dijagram senzora), Warning List (Popis upozorenja). U nastavku je prikazan popis
mogućih upozorenja.
Tablica 3 Popis upozorenja za senzor
Upozorenje Opis Rješenje
CL CAL RECD (Preporučena
Preporučena kalibracija za klor i/ili pH.
Kalibrirajte senzor za klor i/ili
kalibracija klora)
pH senzor.
Mjerenja za klor i/ili pH promijenjena su dovoljno
za pojavljivanje upozorenja za kalibracijski alarm
(Cal Watch). Dodatne informacije potražite u
priručnicima za senzor.
CL CAL RECD (Preporučena
Preporučena kalibracija za klor.
Kalibrirajte senzor za klor.
kalibracija klora)
Podaci kalibracije za klor nisu dostupni (senzor
sa zadanim podacima kalibracije).
PH CAL RECD (Preporučena
Preporučena kalibracija za pH.
Kalibrirajte pH senzor.
pH kalibracija)
Podaci kalibracije za pH nisu dostupni (senzor sa
zadanim podacima kalibracije).
TEMP CAL RECD
Preporučena kalibracija temperature.
Kalibrirajte temperaturu.
(Preporučena kalibracija
Podaci kalibracije temperature nisu dostupni
temperature)
(senzor sa zadanim podacima kalibracije).
CL CAL TO DO (Zadaci
Vrijednost Sensor Days (Dani senzora) za senzor
Kalibrirajte senzor za klor.
kalibracije klora)
klora veća je od vrijednosti Cal Reminder
(Podsjetnik za kalibraciju).
PH CAL TO DO (Zadaci pH
Vrijednost Sensor Days (Dani senzora) za pH
Kalibrirajte pH senzor.
kalibracije)
senzor veća je od vrijednosti Cal Reminder
(Podsjetnik za kalibraciju).
TEMP CAL TO DO (Zadaci
Vrijednost Sensor Days (Dani senzora) za senzor
Kalibrirajte temperaturu.
kalibracije temperature)
temperature veća je od vrijednosti Cal Reminder
(Podsjetnik za kalibraciju).
CL MAINT RECD
Preporučeno održavanje senzora za klor.
Izvršite održavanje senzora i
(Preporučeno održavanje za
zatim ponovite kalibraciju ili
Nagib u iznosu od 30 do 45% od zadanog ili je
klor)
zamijenite senzor.
nagib u iznosu od 250 do 300% od zadanog.
Zadani nagib iznosi 100 mV/ppm (100%).
358 Hrvatski

Tablica 3 Popis upozorenja za senzor (nastavak)
Upozorenje Opis Rješenje
CL MAINT RECD
Preporučeno održavanje senzora za klor.
Izvršite održavanje senzora i
(Preporučeno održavanje za
zatim ponovite kalibraciju ili
Odmak je -50 mV do 45 mV ili je odmak 45 mV
klor)
zamijenite senzor.
do 50 mV.
PH MAINT RECD
Preporučeno održavanje senzora za pH.
Očistite pH senzor, a zatim
(Preporučeno održavanje za
ponovite kalibraciju sa
Nagib je izvan raspona od -50 do -61 mV/pH.
pH)
svježom puferskom otopinom
ili uzorkom ili zamijenite
senzor.
PH MAINT RECD
Preporučeno održavanje senzora za pH.
Očistite senzor, a zatim
(Preporučeno održavanje za
ponovite kalibraciju ili
Odmak je izvan ±45 mV, ali unutar ±60 mV.
pH)
zamijenite senzor.
PH MAINT RECD
Preporučeno održavanje senzora za pH.
Očistite senzor i zamijenite
(Preporučeno održavanje za
solni most te standardnu
Odmak je izvan ±45 mV, ali unutar ±60 mV.
pH)
otopinu u kiveti i ponovite
kalibraciju ili zamijenite
senzor.
T MAINT RECD
Temperaturni odmak je izvan ±3°C, ali unutar
Kalibrirajte temperaturu.
(Preporučeno održavanje
±5°C.
temperature)
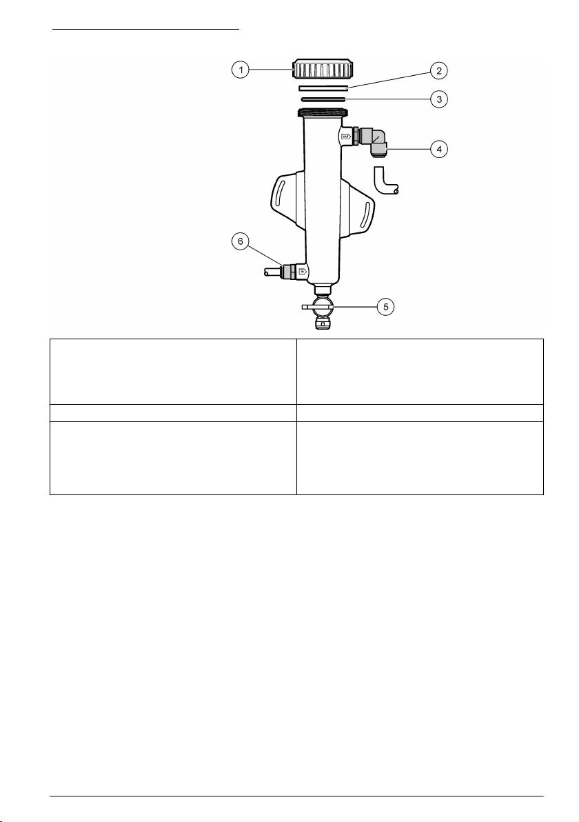
Zamjenski dijelovi i dodaci
U P O Z O R E N J E
Opasnost od ozljede. Korištenje neodobrenih dijelova može uzrokovati osobne ozljede, oštećenje
instrumenta ili neispravno funkcioniranje opreme. Proizvođač je odobrio upotrebu rezervnih dijelova
navedenih u ovom odjeljku.
Napomena: Brojevi proizvoda i artikla mogu varirati za neke regije prodaje. Obratite se odgovarajućem distributeru
ili pogledajte web stranicu tvrtke za kontaktne podatke.
Dijelovi
Opis Broj proizvoda
Kabel, pristupnik do kontrolera, 1 m 6122400
Snop kabela, 4 izvoda, oklopljeni, senzor za protok, 2 m 9160900
Snop kabela, 5 izvoda, oklopljeni, M12, senzor za klor, 1 m 9160300
Anglosaksonske mjere:
9159200 (1/4 inča)
Nastavak, ulazni priključak protočne kivete za klor
Metrički:
9196400 (6 mm)
Anglosaksonske mjere:
Nastavak, nastavak za brzo priključivanje, izlazni priključak protočne kivete za klor ili
9159300 (3/8 inča)
ulazni priključak pH protočne kivete
Metrički:
9196500 (10 mm)
Anglosaksonske mjere:
9196900 (1/2 inča)
Nastavak, kutni, izlazni priključak pH protočne kivete
Metrički:
9197000 (12 mm)
Plovak, senzor protoka 9159100
Hrvatski 359

Zamjenski dijelovi i dodaci (nastavak)
Opis Broj proizvoda
Anglosaksonske mjere:
Sklop protočne kivete, klor
9198400
Metrički: 9198500
Anglosaksonske mjere:
Sklop protočne kivete, pH kombinirani
9180200
Metrički: 9180400
Anglosaksonske mjere:
Sklop protočne kivete, pHD
9180100
uključuje brtvu
Metrički: 9180300
Samo kućište protočne kivete (pH) 9159700
Blok protočne kivete, klor 9158900
Ventil za kontrolu protoka 9159000
Komplet ventila za kontrolu protoka 9198600
Senzor za protok 9160800
Pristupnik, digitalni 9180500
Prsten za blokadu, protočna kiveta za klor 9196200
Prsten za blokadu, pH protočna kiveta 60F2032-001
Prstenasta brtva, ventil za kontrolu protoka (2x) (#2-108, Viton) 9159600
Prstenasta brtva, pH protočna kiveta (#2-228, Viton) 5H1223
Prstenasta brtva, brtva, protočna kiveta za klor ( #2-123, Viton) 9196300
Prstenasta brtva, razdjelni prsten (M25 x 2,5) 9181800
Priključak, protočna kiveta za klor, 1/2 inča 9159500
Vijak, ćelija za protok klora (2x) (10-32 x 1,75 križni ispupčeni vijak) 4422200
Vijak, pH protočna kiveta (2x) (10-32 x 0,5 križni ispupčeni vijak) 561211
Mjesto za brtvu, pH protočna kiveta 9198000
Brtva, kiveta za protok klora 9196100
Brtva, kombinirani pH senzor, 3/4 inča 9159800
Brtva, pHD protočna kiveta, 1 inč 60F2021-001
Razdjelni prsten, protočna kiveta za klor 9181700
Cijevi, protok uzorka, 1/4 inča x 2 m 4743800
Cijevi, protok uzorka, 3/8 inča x 18 inča 9198100
Cijevi, protok otpada, 1/2 inča x 2 m 9198200
Ventil, priključak za dohvat uzorka 9005300
Ventil, nastavak za brzo priključivanje, priključak za pročišćavanje 6166300
360 Hrvatski

