Hach-Lange CLT10 sc – страница 17
Инструкция к Hach-Lange CLT10 sc

Tabuľka 2 Zoznam chýb pre senzor (pokraèovanie)
Chyba Popis Riešenie
PH OFFSET FAIL Posun je väčší ako ±60 mV.. Vyčistite pH senzor, vymeňte soľný mostík a
štandardný roztok jednotky. Následne
zopakujte kalibráciu pomocou nového pufra
alebo vzorky, prípadne vymeňte senzor.
TEMP TOO LOW Teplota je nižšia ako 0 °C.. Nakalibrujte teplotu alebo vymeňte senzor
pH.
TEMP TOO HIGH Teplota je vyššia ako 100 °C..
TEMP FAIL Posun je väčší ako 5,0 °C alebo menší ako
Nakalibrujte teplotu alebo vymeňte senzor
-5,0 °C..
pH.
NO FLOW Úroveň prietoku je príliš nízka.. Zvýšte prietok.
Zoznam varovaní
Varovanie nemá vplyv na fungovanie ponúk, relé a výstupov. Blikajúca ikona varovania a správa sa
zobrazia v dolnej časti obrazovky merania. Ak chcete zobraziť varovania senzorov, stlačte tlačidlo
MENU (PONUKA) a vyberte položky Sensor Diag (Diagnostika senzorov), Warning List (Zoznam
varovaní). Nižšie je uvedený zoznam možných výstrah.
Tabuľka 3 Zoznam varovaní pre senzor
Výstraha Popis Riešenie
CL CAL RECD Odporúča sa kalibrácia chlóru a/alebo pH..
Nakalibrujte senzor chlóru
a/alebo senzor pH.
Meranie chlóru alebo pH sa zmenilo natoľko, že sa spustilo
výstražné upozornenie Cal Watch (Sledovanie kalibrácie).
Ďalšie informácie nájdete v návodoch na použitie senzorov.
CL CAL RECD Odporúča sa kalibrácia chlóru..
Nakalibrujte senzor chlóru.
Údaje o kalibrácii chlóru nie sú k dispozícii (senzor s
predvolenými údajmi o kalibrácii)..
PH CAL RECD Odporúča sa kalibrácia pH..
Nakalibrujte senzor pH.
Údaje o kalibrácii pH nie sú k dispozícii (senzor s
predvolenými údajmi o kalibrácii)..
TEMP CAL RECD Odporúča sa kalibrácia teploty..
Nakalibrujte teplotu.
Údaje o kalibrácii teploty nie sú k dispozícii (senzor s
predvolenými údajmi o kalibrácii)..
CL CAL TO DO Hodnota Sensor Days (Dni senzora) pre senzor chlóru je
Nakalibrujte senzor chlóru.
väčšia ako hodnota Cal Reminder (Pripomenúť kalibráciu)..
PH CAL TO DO Hodnota Sensor Days (Dni senzora) pre senzor pH je
Nakalibrujte senzor pH.
väčšia ako hodnota Cal Reminder (Pripomenúť kalibráciu)..
TEMP CAL TO DO Hodnota Sensor Days (Dni senzora) pre senzor teploty je
Nakalibrujte teplotu.
väčšia ako hodnota Cal Reminder (Pripomenúť kalibráciu)..
CL MAINT RECD Odporúča sa údržba senzora chlóru..
Vykonajte údržbu senzora a
potom zopakujte kalibráciu
Sklon je v rozsahu 30 až 45 % predvolenej hodnoty alebo
alebo vymeňte senzor.
je v rozsahu 250 až 300 % predvolenej hodnoty.
Predvolený sklon je 100 mV/ppm (100 %).
CL MAINT RECD Odporúča sa údržba senzora chlóru..
Vykonajte údržbu senzora a
potom zopakujte kalibráciu
Posun je v rozsahu -50 mV až 45 mV alebo je v rozsahu
alebo vymeňte senzor.
45 mV až 50 mV.
Slovenský jazyk 321

Tabuľka 3 Zoznam varovaní pre senzor (pokraèovanie)
Výstraha Popis Riešenie
PH MAINT RECD Odporúča sa údržba senzora pH..
Vyčistite senzor pH a potom
zopakujte kalibráciu pomocou
Sklon je mimo rozsahu -50 až -61 mV/pH..
nového pufra alebo vzorky,
prípadne vymeňte senzor.
PH MAINT RECD Odporúča sa údržba senzora pH..
Vyčistite senzor a zopakujte
kalibráciu, alebo vymeňte
Posun je mimo rozsahu ±45 mV, ale v rámci rozsahu
senzor.
±60 mV..
PH MAINT RECD Odporúča sa údržba senzora pH..
Vyčistite senzor, vymeňte
soľný mostík a štandardný
Posun je mimo rozsahu ±45 mV, ale v rámci rozsahu
roztok jednotky a potom
±60 mV..
zopakujte kalibráciu alebo
vymeňte senzor.
T MAINT RECD Posun teploty je mimo rozsahu ±3 °C, ale v rámci rozsahu
Nakalibrujte teplotu.
±5 °C..
Náhradné diely a príslušenstvo
V A R O V A N I E
Nebezpečenstvo poranenia osôb. Používanie neschválených častí môže spôsobiť poranenie osôb,
poškodenie prístroja alebo poruchy zariadenia. Náhradné diely uvedené v tejto časti sú schválené
výrobcom.
Poznámka: Čísla produktov a položiek sa môžu odlišovať v niektorých predajných oblastiach. Pre kontaktné
informácie sa obráťte na príslušného distribútora alebo si pozrite webovú stránku spoločnosti.
Diely
Popis Č. položky
Kábel, brána do regulátora, 1 m 6122400
Káblový zväzok, 4-vývodový, tienený, senzor prietoku, 2 m 9160900
Káblový zväzok, 5-vývodový, tienený, M12, senzor chlóru, 1 m 9160300
Anglické:
9159200 (1/4 palca)
Fiting, prívod do prietokovej cely pre chlór
Metrické:
9196400 (6 mm)
Anglické:
Fiting, rýchlospojka, odvod z prietokovej cely pre chlór alebo prívod do prietokovej
9159300 (3/8 palca)
cely pre pH
Metrické:
9196500 (10 mm)
Anglické:
9196900 (1/2 palca)
Fiting, koleno, odvod z prietokovej cely pre pH
Metrické:
9197000 (12 mm)
Plavák, senzor prietoku 9159100
Anglické: 9198400
Súprava prietokovej cely, chlór
Metrické: 9198500
Anglické: 9180200
Súprava prietokovej cely, kombinácia pH
Metrické: 9180400
322 Slovenský jazyk

Náhradné diely a príslušenstvo (pokraèovanie)
Popis Č. položky
Súprava prietokovej cely, pHD
Anglické: 9180100
vrátane tesniacej spojky
Metrické: 9180300
Iba telo prietokovej cely (pH) 9159700
Blok prietokovej cely, chlór 9158900
Ventil na reguláciu prietoku 9159000
Súprava ventilu na reguláciu prietoku 9198600
Senzor prietoku 9160800
Rozhranie, digitálne 9180500
Poistný krúžok, prietoková cela pre chlór 9196200
Poistný krúžok, prietoková cela pre pH 60F2032-001
Tesniaci krúžok, ventil na reguláciu prietoku (2 x) (#2-108, Viton) 9159600
Tesniaci krúžok, prietoková cela pre pH (#2-228, Viton) 5H1223
Tesniaci krúžok, tesniaca spojka, prietoková cela pre chlór (#2-123, Viton) 9196300
Tesniaci krúžok, delený krúžok (M25 x 2,5) 9181800
Zátka, prietoková cela pre chlór, 1/2 palca 9159500
Skrutka, prietoková cela pre chlór (2 x) (10-32 x 1,75 Lg, krížová kónická hlava) 4422200
Skrutka, prietoková cela pre pH (2 x) (10-32 x 0,5 Lg, krížová kónická hlava) 561211
Tesniaca záslepka, prietoková cela pre pH 9198000
Tesniaca spojka, prietoková cela pre chlór 9196100
Tesniaca spojka, kombinačný senzor pH, 3/4 palca 9159800
Tesniaca spojka, prietoková cela pre pHD, 1 palec 60F2021-001
Delený krúžok, prietoková cela pre chlór 9181700
Rúrka pre vzorky, 1/4 palca x 2 m 4743800
Rúrka pre vzorky, 3/8 palca x 18 palcov 9198100
Rúrka pre odpad, 1/2 palca x 2 m 9198200
Ventil, otvor na bodový odber 9005300
Ventil, rýchlospojka, čistiaci otvor 6166300
Príslušenstvo
Popis Č. položky
Okysľovacia súprava LZY051
Súprava regulátora tlaku na úpravu vzoriek 9159900
Slovenský jazyk 323

Kazalo vsebine
Specifikacije na strani 324 Vzdrževanje na strani 333
Splošni podatki na strani 324 Odpravljanje težav na strani 337
Namestitev na strani 329 Nadomestni deli in dodatna oprema na strani 340
Delovanje na strani 332
Specifikacije
Pridržana pravica do spremembe tehničnih podatkov brez predhodnega obvestila.
Tehnični podatki Podrobnosti
Opis dela Plošča za amperometrično merjenje koncentracije klora
brez uporabe reagentov s senzorji klora, pretoka in
izbirnim kombiniranim pH- ali pHD-senzorjem,
pretočnimi celicami, kontrolno enoto sc in digitalnim
pretvornikom
Temperatura delovanja 0 do 45 °C (0 do 113 °F)
Temperatura shranjevanja (samo plošča) od –20 do 60 °C (od –4 do 149 °F)
Napajalne zahteve 12 VDC ± 10 %, največ 100 mA (dovaja kontrolna
enota sc)
Dimenzije plošče (d x š x p) 48,3 x 49,5 x 15,1 cm (19 x 19,5 x 5,95 in) s sestavnimi
deli, nameščenimi na plošči
Teža Približno 5,4 kg (12 lb) (plošča in prazni sestavni deli
na plošči)
Hitrost pretoka Razpon: 30–50 L/h (7,9–13,2 gal/h)
Optimalno: 40 l/h (10,5 gal/h)
Platforma za kontrolno enoto Modeli kontrolnih enot sc
Splošni podatki
V nobenem primeru proizvajalec ne prevzema odgovornosti za neposredno, posredno, posebno,
nezgodno ali posledično škodo, nastalo zaradi kakršnekoli napake ali izpusta v teh navodilih.
Proizvajalec si pridržuje pravico do sprememb v navodilih in izdelku, ki ga opisuje, brez
vnaprejšnjega obvestila. Prenovljene različice najdete na proizvajalčevi spletni strani.
Varnostni napotki
O P O M B A
Proizvajalec ne odgovarja za škodo, ki bi nastala kot posledica napačne aplikacije ali uporabe tega izdelka, kar
med drugim zajema neposredno, naključno in posledično škodo, in zavrača odgovornost za vso škodo v največji
meri, dovoljeni z zadevno zakonodajo. Uporabnik je v celoti odgovoren za prepoznavo tveganj, ki jih predstavljajo
kritične aplikacije, in namestitev ustreznih mehanizmov za zaščito procesov med potencialno okvaro opreme.
Še pred razpakiranjem, zagonom ali delovanjem te naprave v celoti preberite priložena navodila. Še
posebej upoštevajte vse napotke o nevarnostih in varnostne napotke. V nasprotnem primeru obstaja
nevarnost hudih poškodb uporabnika oz. škode na opremi.
Zaščita te opreme mora biti brezhibna. Uporabljajte in nameščajte jo izključno tako, kot je navedeno
v tem priročniku.
324
Slovenski

Uporaba varnostnih informacij
N E V A R N O S T
Označuje morebitno ali neizbežno nevarno stanje, ki lahko povzroči smrt ali hude poškodbe.
O P O Z O R I L O
Označuje možno ali neposredno nevarno situacijo, ki lahko privede do hude poškodbe ali povzroči smrt, če se ji
ne izognete.
P R E V I D N O
Označuje morebitno nevarnost, ki lahko pripelje do majhnih ali srednje težkih poškodb.
O P O M B A
Označuje situacijo, ki lahko, če se ji ne izognete, povzroči poškodbe instrumenta. Podatki, ki jih je potrebno
posebej upoštevati.
Opozorilne oznake
Upoštevajte vse oznake in tablice, ki so nameščene na napravo. Neupoštevanje tega lahko privede
do telesnih poškodb ali škode na inštrumentu. Simbol na napravi se nanaša na opozorilo, ki je
navedeno v navodilih.
Če je na napravi ta simbol, preberite podrobnosti o njem v navodilih za uporabo in/ali v razdelku za
informacije o varnosti.
Električnih naprav, ki so označene s tem simbolom, od 12. avgusta 2005 v Evropi več ni dovoljeno
odložiti med javne odpadke. V skladu z evropskimi lokalnimi in nacionalnimi predpisi (Direktiva EU
2002/98/ES) morajo evropski uporabniki električne opreme sedaj staro ali izrabljeno opremo vrniti
proizvajalcu za odstranjevanje brez stroškov za uporabnika.
Napotek: Za vračilo ali reciklažo stopite v stik s proizvajalcem opreme ali dobaviteljem, kjer boste dobili navodila, kako
izrabljeno opremo, električne dodatke dobavljene s strani proizvajalca in vse dodatne elemente vrniti za ustrezno
odstranjevanje.
Pregled izdelka
Izdelek je namenjen predvsem uporabi pri aplikacijah za pitno vodo v javnem vodovodnem sistemu.
Aplikacije za uporabo v industriji in z odpadnimi vodami mora pred namestitvijo potrditi proizvajalec.
Analizator klora brez uporabe reagentov spremlja koncentracijo prostega in skupnega preostalega
klora v vodi in najzanesljivejše rezultate daje pri koncentracijah preostalega klora nad 0,1 ppm
(mg/L). Najboljše rezultate pri spremljanju zagotovite s kombinacijo kontrolne enote serije sc,
senzorja klora s tremi elektrodami, izbirnega pH-senzorja in senzorja pretoka. Oba senzorja zaznata
temperaturo vzorca. pH-senzor jo pošlje na zaslon kontrolne enote. Senzor klora pa meritve
temperature uporablja notranje in jih ne pošilja na zaslon kontrolne enote. Kot dodatna oprema so
vam na voljo komplet za regulacijo tlaka, komplet za zakislevanje in komplet za čiščenje.
Senzor klora in pH-senzor sta nameščena v serijsko povezanih pretočnih celicah na plošči. Pretočni
celici zagotavljata stik senzorjev z vzorcem in preprečujeta izsušitev senzorjev, kadar sistema ne
uporabljate. Slika 1, Slika 2 in Slika 3 prikazujejo pregled sistema in pretočnih celic.
Vsak senzor je s kontrolno enoto povezan prek digitalnega pretvornika, ki je nameščen na plošči.
Pretvornik pretvarja analogne signale iz senzorja v digitalne signale, ki jih uporablja kontrolna enota.
Kontrolna enota nato digitalne signale pretvori v izmerjene vrednosti klora, pH in temperature ter
meritve prikaže na zaslonu. Kontrolna enota dovaja napajanje do senzorjev in digitalnega
pretvornika.
Kontrolno enoto je mogoče nastaviti tako, da se sproži alarmno stanje ali opozorilo, če meritve
presegajo oz. ne dosegajo določenih vrednosti. Za informacije o alarmih kontrolne enote glejte
uporabniški priročnik za kontrolno enoto.
Napotek: Za informacije o shranjevanju senzorjev, ko sistema ne uporabljate, glejte uporabniške priročnike
senzorjev.
Slovenski
325

Izbirate lahko med dvema konfiguracijama analizatorja – Grab Sample (Zajemni vzorec) in pH.
Zajemni vzorec zajema namestitveno ploščo, senzor klora in pretočno celico, pretočno celico za pH
brez senzorja, senzor pretoka, digitalni pretvornik in kontrolno enoto. Pri možnosti pH je zgornjim
delom dodan še pH-senzor.
Ventil za regulacijo pretoka uravnava pretok vzorca. Za pravilno delovanje senzorjev je priporočena
enakomerna hitrost pretoka med 30 in 50 l/h. Optimalna hitrost pretoka je 40 l/h. LED-indikator na
senzorju pretoka označuje, ali je hitrost pretoka zadostna. Če LED ne sveti, je treba prilagoditi, dokler
znova ne zasveti. Dokler LED-indikator sveti, točna hitrost pretoka ni pomembna, le ostati mora
enakomerna in znotraj določenega razpona.
Slika 1 Pregled sistema
1 Kontrolna enota 7 Dovod vzorca
2 Digitalni pretvornik 8 Ventil, zaporni (priskrbi stranka)
3 Kabel senzorja klora 9 Pretočna celica za klor
4 pH-senzor (izbirno) 10 Kabel senzorja pretoka
5 Odvod vzorca 11 Senzor klora
6 Pretočna celica za pH
326 Slovenski

Slika 2 Pregled pretočne celice za klor
1 Pretočni senzor 8 Priključek za odvod vzorca
• Angleške mere: enostaven priklop – cev z 3/8-
palčnim zunanjim premerom
• Metrični sistem: enostaven priklop – cev z 10 mm
zunanjega premera
2 Čep 1/8-palčni NPTF 9 Oznake za poravnavo senzorja klora
3 Oznaka za poravnavo gladine 10 Ventil, vrata za čiščenje, cev z 1/4-palčnim
zunanjim premerom
4 Čep 1/2-palčni NPTF 11 Dovod pretočne celice
• Angleške mere: enostaven priklop – cev z 1/4-
palčnim zunanjim premerom
• Metrični sistem: enostaven priklop – cev s 6 mm
zunanjega premera
5 Zaklepni obroč 12 Pretočna celica
6 Tesnilni pesto 13 Ventil za regulacijo pretoka
7 Tesnilni obroč 14 Plovec
Slovenski 327

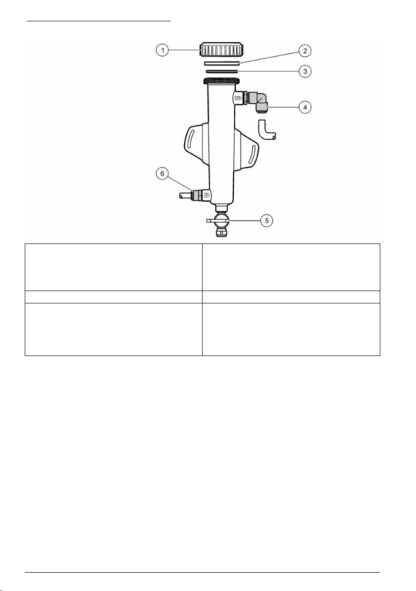
Slika 3 Pregled pretočne celice za pH
1 Zaklepni obroč 4 Priključek za odvod vzorca
Angleške mere: enostavni kolenski priključek – 1/2-
palčni zunanji premer
Metrični sistem: enostaven kolenski priključek –
12 mm zunanjega premera
2 Tesnilna podložka 5 Vrata za zajemanje vzorca
3 Tesnilni obroč 6 Dovod pretočne celice
• Angleške mere: enostaven priklop – 3/8-palčni
zunanji premer
• Metrični sistem: enostaven priklop – 10 mm
zunanjega premera
Sestavni deli izdelka
Preverite, ali ste prejeli vse sestavne dele. Glejte Slika 1 na strani 326. Če katerikoli del manjka ali je
poškodovan, se nemudoma obrnite na proizvajalca ali prodajnega zastopnika.
328
Slovenski

Slika 4 Plošča analizatorja klora brez uporabe reagentov
1 Plošča sistema 3 Cev, 12 mm (½ in)
2 Priključni kabel za povezavo med digitalnim
4 Senzor klora
pretvornikom in kontrolno enoto, 1 m (3,3 ft).
Namestitev
Priporočila za nameščanje
• Najprej opravite mehansko namestitev, nadaljujte z električnimi deli, nazadnje pa opravite
vodovodni priklop.
• Vsi priključki so zasnovani tako, da jih lahko pritrdite z roko.
• Ploščo lahko namestite na steno ali na nosilec. Ploščo pritrdite na lahko dostopno mesto.
• Ne namestite je v bližino vira toplote.
• Plošče ne namestite v okolje s pogostimi tresljaji.
• Ne namestite je tako, da bi bila izpostavljena neposredni sončni svetlobi.
• Plošča mora biti nameščena v zaprtem prostoru ali v ohišju z zaščito pred okoljskimi vplivi.
• Preprečite nabiranje kondenzata na plošči in njenih sestavnih delih, še zlasti na pretočni celici,
senzorju in stiku kabla in senzorja.
• Pri liniji za dovod vzorca uporabite cevi iz linearnega polietilena nizke gostote s prevleko iz
Teflona
®
ali PVDF. Cevi naj bodo čim krajše, da omejite čas zamika.
• Tlak vzorca mora biti dovolj močan, da bo dovod vode do senzorjev neprekinjen. Če je pretok
dovolj močan, LED-indikator na senzorju pretoka sveti.
• Za optimalno delovanje senzorja mora biti hitrost pretoka čim bolj enakomerna.
Priporočila glede linije za vzorec
Za najboljše delovanje instrumenta izberite dobro, reprezentativno mesto za vzorčenje. Vzorec mora
biti reprezentativen za celoten sistem.
Preprečevanje nepovezanih meritev:
• Vzorce zbirajte na mestih, ki so dovolj oddaljena od točk, kjer se procesnemu toku dodajajo
kemikalije.
• Pazite, da bodo vzorci dovolj premešani.
• Počakajte, da se zaključijo vse kemične reakcije.
Slovenski
329

Mehanska namestitev
Namestitev plošče
Slika 5 prikazuje dimenzije za nameščanje. Ploščo namestite, kot je prikazano na sliki in opisano v
spodnjih korakih.
1. Na namestitveno površino pritrdite vijake. Namestite jih na stenski nosilec ali pa uporabite sidrne
vijake. Med glavo posameznega vijaka in namestitveno površino pustite dovolj prostora, da boste
lahko ploščo potisnili vmes.
2. Ploščo potisnite skozi odprtine za nameščanje na pritrdilne vijake in pustite, da plošča zdrsne
navzdol tako, da se vrh vsake namestitvene odprtine ustavi na vijaku.
3. Pritrdite vse vijake, da ploščo trdno namestite na površino.
4. Namestite senzorja klora in pH-vrednosti (izbirno) v pretočne celice. Za informacije o namestitvi
senzorjev glejte uporabniški priročnik senzorja.
Slika 5 Dimenzije plošče analizatorja klora brez uporabe reagentov
330 Slovenski

Električna priključitev
Električna napeljava plošče
O P O Z O R I L O
Možna nevarnost smrti zaradi električnega toka. Pri vzpostavljanju električnih povezav vedno izključite
napajanje naprave.
Kontrolna enota dovaja napajanje do senzorjev in digitalnega pretvornika.
1. Odstranite napajanje iz kontrolne enote.
2. Povežite žice pH-senzorja (izbirno) s pretvornikom. Za informacije o namestitvi senzorjev v
pretočne celice ali o priklopu senzorja na pretvornik glejte uporabniški priročnik senzorja.
3. Priklopite senzor klora na pretvornik. Za informacije o povezavi senzorja s pretvornikom glejte
uporabniški priročnik senzorja.
Napotek: Ob dobavi je kabel senzorja klora pritrjen na sprednji del plošče poleg mesta priklopa na senzor.
4. Z 1-metrskim povezovalnim kablom, ki je priložen plošči, povežite kontrolno enoto s
pretvornikom.
Vodovodne napeljave
Vodovodne napeljave
Upoštevajte vse specifikacije za velikost cevi in priključkov plošče. Premer pretoka se mora
povečevati med pretokom vode skozi sistem, da preprečite nastajanje povratnega tlaka. Slika 1
na strani 326 prikazuje pregled vodovodnih povezav.
1. Pritrdite cevi na vhod vzorca in priključke izhoda.
2. Vrata za čiščenje na pretočni celici za klor morajo biti zaprta.
3. Vrata za zajemanje vzorcev na pretočni celici za pH morajo biti zaprta.
4. Odprite pretočni ventil na liniji za vzorca in spustite, da voda steče po sistemu.
5. Preverite, da cevi, priključki ventilov ali pretočne celice ne puščajo.
6. Za najučinkovitejše preprečevanje zračnih mehurčkov je lahko pretočna celica nagnjena med 0 in
30ºSlika 6
Slovenski
331

Slika 6 Nagib pretočne celice za pH
Delovanje
Uporabnikova navigacija
Za opis tipkovnice in informacije o navigaciji preberite dokumentacijo krmilnika.
Konfiguracija sistema
Senzor lahko konfigurirate in umerite prek uporabniškega vmesnika kontrolne enote. Za dodatne
informacije o konfiguraciji ali umerjanju senzorja glejte uporabniški priročnik senzorja.
Kontrolna enota sc mora biti povezana z digitalnim pretvornikom.
1. V glavnem meniju kontrolne enote izberite možnost Sensor Setup (nastavitev senzorja).
Odpre se meni Chlorine Gateway (CGW) Setup (nastavitev pretvornika za klor).
2. Izberite možnost Configure (konfiguracija) in izberite nastavitve. Vsak vnos potrdite, da shranite
spremembe, in se nato vrnite v meni za konfiguracijo.
Možnost Opis
Urejanje imena Urejanje imena senzorja
Select Parameter (izbira parametrov) – Chlorine
Izbira parametra za konfiguracijo. Za konfiguracijo
(Total or Free) (klor – skupni ali prosti), pH
posameznih parametrov so potrebni dodatni
(izbirno), Temperature (temperatura)
postopki. Za dodatne informacije glejte uporabniški
priročnik senzorja.
Reset Defaults (ponastavitev na privzete) –
Ponastavitev vseh nastavitev na tovarniške privzete
ponastavitev potrdite z možnostjo Confirm.
vrednosti.
332 Slovenski

Zagon sistema
Pred zagonom pretoka skozi sistem se prepričajte, da so vsa mehanska, električna in vodovodna
opravila pravilno zaključena.
1. Vklopite kontrolno enoto
Ob prvem vklopu se na kontrolni enoti v tem vrstnem redu prikažejo zasloni Language (jezik),
Date Format (zapis datuma) in Date/Time (datum/čas).
2. Če še ni, nastavite jezik, datum in čas kontrolne enote. Za dodatne informacije o nastavitvi teh
možnosti glejte uporabniški priročnik kontrolne enote.
Kontrolna enota poišče povezane naprave.
3. Vrata za čiščenje in vrata za zajemanje vzorca morajo biti zaprta. Nato odprite ventil ON/OFF na
liniji za vzorec, da spustite pretok vode skozi sistem.
Pretočni celici za klor in pH se bosta napolnili z vodo.
4. Preverite, ali LED-indikator za pretok sveti. Če ne sveti, z ventilom za uravnavanje pretoka
povečajte pretok.
LED-indikator senzorja pretoka sveti, ko je pretok dovolj močan za primerno delovanje senzorja.
Če je pretok previsok, LED-indikator ne bo zasvetil. Preverite, ali je plovec približno poravnan z
oznako za poravnavo pretoka.
5. Preverite, ali cevi in pretočne celice puščajo ali so zamašene. Če odkrijete težave, odklopite
pretok do plošče in poskrbite za ustrezna popravila.
6. Ko je pretok v sistemu dovolj močan, odstranite vsa opozorila, ki bi se pojavila na zaslonu
kontrolne enote, tako da sledite predlaganim korakom.
7. Pritisnite tipko HOME.
Pojavi se glavni zaslon z meritvami, na katerem so prikazane meritve klora, temperature in pH-
vrednosti (če je priklopljen tudi pH-senzor).
Vzdrževanje
N E V A R N O S T
Različne nevarnosti Opravila, opisana v tem delu dokumenta, lahko izvaja samo usposobljeno osebje.
Zamenjava cevi
Cevi zamenjajte vsaj enkrat letno. Če so cevi krhke, napokane ali puščajo, jih zamenjajte takoj.
Stare, razbarvane, onesnažene, ali poškodovane cevi zamenjajte s cevmi enakega premera in vrste
(Teflon
®
ali PVDF).
Čiščenje pretočne celice s senzorjem
Pretočno celico očistite, da z nje odstranite obloge. Če se pretočna celica močno umaže, jo očistite.
Če se poškoduje, razbarva ali ni več prozorna, jo zamenjajte. Pred čiščenjem vam pretočne celice ni
treba odstraniti s plošče.
Napotek: Pretočne celice za klor nikoli ne čistite z detergenti ali surfaktanti.
1. Zaustavite pretok do plošče.
2. Odstranite senzor klora in ga postavite v posodo, napolnjeno z vzorcem klorirane vode.
Napotek: Senzorja ne odklopite z napajanja. Če je senzor klora odklopljen z napajanja, ga je treba pred
uporabo obdelati in umeriti.
Napotek: Če senzor odstranite s pretočne celice in je kabel senzorja še povezan, se izhodni signali senzorja
spremenijo. Za dodatne informacije glejte priročnik za kontrolno enoto.
3. Pretočno celico sperite z vodo in jo zdrgnite z mehko krtačko, da odstranite obloge.
4. Pretočno celico sperite z vodo.
Slovenski
333

5. Če je pretočna celica še vedno umazana, jo za 10 do 15 minut namočite v raztopino 3–5 %
vodikovega peroksida in kisa v razmerju 1:3.
6. Pretočno celico sperite z vodo.
7. Namestite senzor v pretočno celico in zaženite pretok vzorca.
Zamenjava senzorja pretoka
V običajnih pogojih senzorja pretoka ni treba redno vzdrževati ali menjati. Če pa LED-indikator
pretoka ne zasveti, ko je gladina večja ali enaka oznaki za poravnavo gladine in je enota vklopljena,
je senzor morda treba zamenjati. Za zamenjavo senzorja pretoka sledite ilustriranim korakom v
nadaljevanju.
Napotek: Pred zamenjavo senzorja pretoka vam ni treba odstraniti senzorja klora, izprazniti pretočne celice ali
izklopiti kontrolne enote.
334 Slovenski

Slovenski 335

Zamenjava sklopa regulacijskega ventila za pretok
336 Slovenski

Odpravljanje težav
Dnevnik dogodkov
Kontrolna enota za vsak senzor izdela dnevnik dogodkov. Dnevnik dogodkov vsebuje različne
dogodke, do katerih pride pri napravi, na primer spremembe konfiguracije, alarmi in opozorila itd.
Spodaj je naveden seznam mogočih dogodkov. Dnevnik dogodkov si lahko ogledate v obliki CSV. Za
navodila o prenosu dnevnikov glejte uporabniški priročnik kontrolne enote.
Tabela 1 Dnevnik dogodkov
Dogodek Opis
Vklop Napajanje je bilo vključeno.
Flash Failure (Napaka pomnilnika) Pri zunanjem bliskovnem pomnilniku je prišlo do napake ali pa je
poškodovan..
1pointpHCalibration_Start Začetek enotočkovnega umerjanja vzorca za pH
1pointpHCalibration_End Konec enotočkovnega umerjanja vzorca za pH
2pointpHCalibration_Start Začetek dvotočkovnega umerjanja vzorca za pH
2pointpHCalibration_End Konec dvotočkovnega umerjanja vzorca za pH
1pointBufferpHCalibration_Start Začetek enotočkovnega umerjanja pufra za pH
1pointBufferpHCalibration_End Konec enotočkovnega umerjanja pufra za pH
2pointBufferpHCalibration_Start Začetek dvotočkovnega umerjanja pufra za pH
2pointBufferpHCalibration_End Konec dvotočkovnega umerjanja pufra za pH
TempCalibration_Start Začetek umerjanja temperature
TempCalibration_End Konec umerjanja temperature
1pointChemZeroCL2_Start Začetek enotočkovnega umerjanja kemične ničle za klor
1pointChemZeroCL2_End Konec enotočkovnega umerjanja kemične ničle za klor
1pointElecZeroCL2_Start Začetek enotočkovnega umerjanja električne ničle za klor
1pointElecZeroCL2_End Konec enotočkovnega umerjanja električne ničle za klor
1pointProcessConc_Start Začetek enotočkovne procesne koncentracije za klor
1pointProcessConc _End Konec enotočkovne procesne koncentracije za klor
2pointChemCL2_Start Začetek dvotočkovnega kemičnega umerjanja za klor
2pointChemCL2_End Konec dvotočkovnega kemičnega umerjanja za klor
2pointElecCL2_Start Začetek dvotočkovnega električnega umerjanja za klor
2pointElecCL2_End Konec dvotočkovnega električnega umerjanja za klor
CL2CalSetDefault Umerjanje klora je bilo ponastavljeno na privzeto.
pHCalSetDefault Podatki o umerjanju pH-vrednosti so bili ponastavljeni na privzete.
TempCalSetDefault Podatki o umerjanju temperature so bili ponastavljeni na privzete.
AllCalSetDefault Vsi podatki o umerjanju senzorja so bili ponastavljeni na privzete.
CL2CalOptionChanged Možnost umerjanja klora je bila spremenjena.
pHCalOptionChanged Možnost umerjanja pH-vrednosti je bila spremenjena.
TempCalOptionChanged Možnost umerjanja temperature je bila spremenjena.
Slovenski 337

Tabela 1 Dnevnik dogodkov (nadaljevanje)
Dogodek Opis
SensorConfChanged Konfiguracija senzorja je bila spremenjena.
ResetCL2CalHist Zgodovina umerjanja Cl2 je bila ponastavljena.
ResetpH CalHist Zgodovina pH-umerjanja je bila ponastavljena.
ResetTemp CalHist Zgodovina umerjanja temperature je bila ponastavljena.
ResetAllSensorsCalHist Celotna zgodovina umerjanja senzorja je bila ponastavljena.
ResetCL2Sensor Podatki o umerjanju Cl2 (dnevi senzorja, zgodovina umerjanja in podatki
umerjanja) so bili ponastavljeni na privzete.
ResetpHSensor Podatki o umerjanju pH-vrednosti (dnevi senzorja, zgodovina umerjanja in
podatki umerjanja) so bili ponastavljeni na privzete.
ResetTempSensor Podatki o umerjanju temperature (dnevi senzorja, zgodovina umerjanja in
podatki umerjanja) so bili ponastavljeni na privzete.
ResetAllSensors Vsi podatki o umerjanju senzorja (dnevi senzorja, zgodovina umerjanja in
podatki umerjanja) so bili ponastavljeni na privzete.
Flow Detection (Zaznavanje pretoka) Stanje senzorja bližine se je spremenilo (zadosten ali nezadosten pretok).
Seznam napak
Do napak lahko pride iz različnih vzrokov. Odčitek senzorja na merilnem zaslonu utripa. Vsi izhodni
signali so zadržani, če je tako določeno v meniju kontrolne enote. Za prikaz napak senzorja pritisnite
tipko MENU in izberite Sensor Diag (Diagnostika senzorja), Error List (Seznam napak). Spodaj je
naveden seznam mogočih napak.
Tabela 2 Seznam napak senzorja
Napaka Opis Rešitev
CL CAL REQD (Potrebno je
Treba je izvesti umerjanje klora in/ali
Umerite senzor klora in/ali pH-senzor.
umerjanje klora)
pH-ja..
Merjenje klora in/ali pH-vrednosti se je
toliko spremenilo, da se je sprožil
alarm Cal Watch za umerjanje. Za
dodatne informacije glejte priročnik za
senzor klora.
CL MAINT REQD (Potrebno je
Treba je opraviti vzdrževanje senzorja
Opravite vzdrževanje senzorja in
vzdrževanje klora)
klora..
ponovite umerjanje ali zamenjajte
senzor. Za dodatne informacije glejte
Naklon se od privzetega razlikuje za
priročnik za senzor klora.
manj kot 30 % ali več kot 300 %..
Privzeti naklon je 100 mV/ppm
(100 %).
CL MAINT REQD (Potrebno je
Treba je opraviti vzdrževanje senzorja
Opravite vzdrževanje senzorja in
vzdrževanje klora)
klora..
ponovite umerjanje ali zamenjajte
senzor. Za dodatne informacije glejte
Odmik je prevelik (več kot ±50 mV).
priročnik za senzor klora.
PH TOO LOW (pH je prenizek) pH-vrednost je nižja od 0 pH. Umerite ali zamenjajte pH-senzor.
PH TOO HIGH (pH je
pH-vrednost je višja od 14 pH.
previsok)
PH SLOPE FAIL (Napaka pri
Naklon je izven območja med -45 in
Očistite pH-senzor in ponovite
naklonu pH)
-65 mV/pH.
umerjanje s svežim pufrom ali
vzorcem oziroma zamenjajte senzor.
338 Slovenski

Tabela 2 Seznam napak senzorja (nadaljevanje)
Napaka Opis Rešitev
PH OFFSET FAIL (Napaka pri
Odmik presega ±60 mV. Očistite pH-senzor in ponovite
odmiku pH)
umerjanje s svežim pufrom ali
vzorcem oziroma zamenjajte senzor.
PH OFFSET FAIL (Napaka pri
Odmik presega ±60 mV. Očistite pH-senzor in zamenjajte solni
odmiku pH)
most in standardno raztopino v celici.
Nato ponovite umerjanje s svežim
pufrom ali vzorcem oziroma
zamenjajte senzor.
TEMP TOO LOW
Temperatura je nižja od 0 °C. Umerite temperaturo ali zamenjajte
(Temperatura je prenizka)
pH-senzor.
TEMP TOO HIGH
Temperatura je višja od 100 °C.
(Temperatura je previsoka)
TEMP FAIL (napaka pri
Odmik je višji od 5,0 °C ali nižji od
Umerite temperaturo ali zamenjajte
temperaturi)
-5,0 °C.
pH-senzor.
NO FLOW (Ni pretoka) Raven pretoka je prenizka. Povečajte pretok.
Seznam opozoril
Opozorilo ne vpliva na delovanje menijev, relejev in izhodnih signalov. Opozorilna ikona utripa, pojavi
pa se tudi sporočilo na dnu merilnega zaslona. Za prikaz opozoril senzorja pritisnite tipko MENU in
izberite možnost Sensor Diag. (Diagnostika senzorja), Warning List (Seznam opozoril). Spodaj je
naveden seznam mogočih opozoril.
Tabela 3 Seznam opozoril za senzor
Opozorilo Opis Rešitev
CL CAL RECD (Priporočeno
Priporočeno je umerjanje klora in/ali pH-ja.
Umerite senzor klora in/ali
umerjanje klora)
pH-senzor.
Meritev klora in/ali pH-ja se je toliko spremenila,
da se je sprožilo opozorilo Cal Watch (Čas
umerjanja) za umerjanje. Za dodatne informacije
glejte priročnike za senzorje.
CL CAL RECD (Priporočeno
Priporočeno je umerjanje klora.
Umerite senzor klora.
umerjanje klora)
Podatki o umerjanju klora niso na voljo (senzor s
privzetimi podatki o umerjanju).
PH CAL RECD (Priporočeno
Priporočeno je umerjanje pH-ja.
Umerite senzor pH-ja.
umerjanje pH-ja)
Podatki o umerjanju pH-ja niso na voljo (senzor s
privzetimi podatki o umerjanju).
TEMP CAL RECD
Priporočeno je umerjanje temperature.
Umerite temperaturo.
(Priporočeno umerjanje
Podatki o umerjanju temperature niso na voljo
temperature)
(senzor s privzetimi podatki o umerjanju).
CL CAL TO DO (Opomin za
Vrednost Sensor Days (Dnevi senzorja) senzorja
Umerite senzor klora.
umerjanje klora)
klora je višja od vrednosti Cal Reminder (Opomnik
za umerjanje).
PH CAL TO DO (Opomin za
Vrednost Sensor Days (Dnevi senzorja) pH-
Umerite senzor pH-ja.
umerjanje pH-ja)
senzorja je višja od vrednosti Cal Reminder
(Opomnik za umerjanje).
TEMP CAL TO DO (Opomin
Vrednost Sensor Days (Dnevi senzorja) senzorja
Umerite temperaturo.
za umerjanje temperature)
temperature je višja od vrednosti Cal Reminder
(Opomnik za umerjanje).
Slovenski 339

Tabela 3 Seznam opozoril za senzor (nadaljevanje)
Opozorilo Opis Rešitev
CL MAINT RECD
Priporočeno je vzdrževanje senzorja klora.
Opravite vzdrževanje
(Priporočeno vzdrževanje
senzorja in ponovite
Naklon je med 30 in 45 % privzete vrednosti ali
klora)
umerjanje ali zamenjajte
med 250 in 300 % privzete vrednosti.
senzor.
Privzeti naklon je 100 mV/ppm (100 %).
CL MAINT RECD
Priporočeno je vzdrževanje senzorja klora.
Opravite vzdrževanje
(Priporočeno vzdrževanje
senzorja in ponovite
Odmik je med -50 in 45 mV ali pa med 45 in
klora)
umerjanje ali zamenjajte
50 mV.
senzor.
PH MAINT RECD
Priporočeno je vzdrževanje pH-senzorja.
Očistite pH-senzor in
(Priporočeno vzdrževanje
ponovite umerjanje s svežim
Naklon je zunaj razpona med -50 in -61 mV/pH.
pH-ja)
pufrom ali vzorcem oziroma
zamenjajte senzor.
PH MAINT RECD
Priporočeno je vzdrževanje pH-senzorja.
Očistite senzor in ponovite
(Priporočeno vzdrževanje
umerjanje ali zamenjajte
Odmik je zunaj razpona ±45 mV, vendar znotraj
pH-ja)
senzor.
±60 mV.
PH MAINT RECD
Priporočeno je vzdrževanje pH-senzorja.
Očistite senzor in
(Priporočeno vzdrževanje
zamenjajte solni most in
Odmik je zunaj razpona ±45 mV, vendar znotraj
pH-ja)
standardno raztopino v celici
±60 mV.
ter ponovite umerjanje ali
zamenjajte senzor.
T MAINT RECD (Priporočeno
Odmik temperature je zunaj razpona ±3 °C,
Umerite temperaturo.
umerjanje temperature)
vendar znotraj ±5 °C.
Nadomestni deli in dodatna oprema
O P O Z O R I L O
Nevarnost telesnih poškodb. Z uporabo neodobrenih delov tvegate telesne poškodbe, materialno
škodo na instrumentih ali okvaro opreme. Nadomestne dele v tem razdelku je odobril proizvajalec.
Napotek: Za nekatere prodajne regije se lahko številka izdelka in artikla razlikuje. Za kontaktne informacije stopite
v stik z ustreznim prodajalcem ali pa jih poiščite na spletni strani podjetja.
Deli
Opis Št. elementa
Kabel med digitalnim pretvornikom in kontrolno enoto, 1 m 6122400
Kabelski sklop, 4-pinski, oklopljen, pretočna celica, 2 m 9160900
Kabelski sklop, 5-pinski, oklopljen, M12, senzor klora, 1 m 9160300
Angl. mere:
9159200 (1/4 palca)
Dovodni priključek na pretočno celico za klor
Metrični sistem:
9196400 (6 mm)
Angl. mere:
9159300 (3/8 palca)
Priključek, hitra spojka, iztok pretočne celice za klor ali iztok pretočne celice za pH
Metrični sistem:
9196500 (10 mm)
340 Slovenski

