Electrolux EHG30235 x: L'incasso nei mobili componibili
L'incasso nei mobili componibili: Electrolux EHG30235 x
65
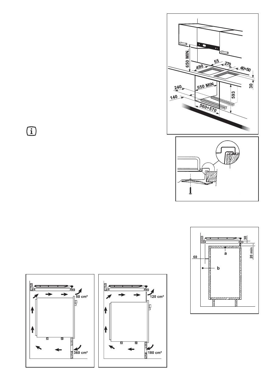
Quote espresse in millimetri
Questo piano è previsti per l’inserimento in mobili com-
ponibili da cucina aventi una profondità compresa tra 550
mm. e 600 mm. e opportune caratteristiche.
Le dimensioni del piano sono indicate nelle figure 11.
L'incasso nei mobili componibili
A
= Bruciatore ausiliario
R
= Bruciatore rapido
Per aprire il coperchio morsettiera e accedere ai morsetti
di collegamento, procedete come segue:
- inserite la punta a taglio di un cacciavite nelle spor-
genze poste sul lato in vista della morsettiera;
- premete leggermente e fate leva verso l’alto (Fig. 9).
Fig. 11
290
510
R
A
Fig. 9
Fig. 10
66
Inserimento e fissaggio al mobile
Il piano di cottura può essere montato in un mobile avente
un’apertura per l’incasso dalle dimensioni illustrate nella Fig. 12.
L’apertura dell’incasso deve essere distante almeno 55 mm.
dalla parete di fondo. L’eventuale parete laterale destra o sini-
stra la cui altezza superi quella del piano di cottura dovrà trovar-
si ad almeno 100 mm. dalla sfondatura nel top.
Il fissaggio del piano al mobile deve essere effettuato come
segue:
•
posizionate l’apposita guarnizione sigillante, fornita in dota-
zione, sul bordo della sfondatura avendo cura che le estremità
combacino senza sormontarsi;
•
sistemate il piano nella sfondatura del mobile curandone la
centratura;
•
fissate il piano al mobile con gli appositi squadretti (vedi Fig.
13). La trazione delle viti è sufficiente a tracciare il sigillante,
il cui eccesso potrà così essere agevolmente asportato.
Il bordo del piano realizza un doppio labirinto di tenuta che offre
un’assoluta garanzia contro le infiltrazioni di liquidi.
Se desiderate posizionare più piani di cottura di 30 cm a
fianco l’uno dell’altro nello stesso incasso, è disponibile
presso i Centri Assistenza autorizzati un kit di
assemblaggio contenente la staffa di collegamento e le
istruzioni per il montaggio.
Fig. 12
a
a) Sigillante
Fig. 13
"
"
"
"
"
FO 0199
Possibilità di inserimento
Su mobile base con portina
Nella costruzione del mobile è necessario vengano presi adeguati
accorgimenti in modo da evitare possibili contatti con la scatola
del piano surriscaldata durante il funzionamento dello stesso. La
soluzione consigliata per evitare tale inconveniente è illustrata nel-
la figura 14. Il pannello sotto il piano dovrà essere facilmente
rimovibile per consentire, in caso di intervento dell'assistenza tec-
nica, il bloccaggio e lo sbloccaggio del piano.
Su mobile base con forno
Il vano dovrà avere le dimensioni riportate nella figura 12 e dovrà
essere munito di supporti per consentire una efficace aerazione.
Due possibili soluzioni per evitare eccessivi surriscaldamenti
sono descritte nelle figure 15 e 16. L’allacciamento elettrico del
piano e quello del forno devono essere realizzati separatamente,
sia per ragioni elettriche che per facilitare l’estraibilità frontale del
forno. Pensili o cappe d’aspirazione dovranno trovarsi ad almeno
650 mm dal piano di cottura (Fig. 12).
a) pannello del mobile
smontabile
b) eventuale spazio utile per gli
allacciamenti
Fig. 14
Le dimensioni sono espresse in millimetri
Fig. 15
Fig. 16
Table of contents
- Para su seguridad
- Indice
- Descripción del aparato
- Instrucciónes para el usuario
- Limpieza y mantenimiento
- Asistencia Tecnica - Piezas derecambio originalesGarantía/Servicio postventa
- Garantía europea
- Caracteristicas Tecnicas Instrucciónes para el instalador
- Conexión eléctrica
- Adaptación de los quemadores de lasencimera a los diversos tipos de gas
- Empotrado en los muebles de cocina
- Posibilidades de colocación
- Para a sua segurança
- Índice
- Instruções para o utilizador
- Limpeza e manutenção
- Garantia/Assistência Técnica
- Garantia europeia
- Instruções para o técnico instalador Características técnicas
- Ligação eléctrica
- Adaptação aos diferentes tipos de gás
- Encastre nos móveis de cozinha
- Possibilidade de encastrar
- Для Вашей безопасности
- СодержаниеУказания для пользователя Описание прибора
- Чистка и уход
- Эвpoрейскaя гарантия
- Технические характеристики Указания для установщика
- Электрическое подключение
- Переоборудование на другие типы газа
- Встраивание
- Варианты установки
- För din säkerhet
- Innehåll Beskrivning av produkten
- Instruktioner för användaren
- Rengöring och underhåll
- Tekniska dataInstruktioner för installatören
- Elektrisk anslutning
- Anpassning för olika gastyper
- Inbyggnad
- Alternativ för inbyggnad
- Garanti/Kundtjänst
- Europa-garanti
- Turvallisuuden vuoksi
- Sisältö Laitteen kuvaus
- Ohjeita käyttäjälle
- Puhdistus ja kunnossapito
- Tekniset tiedotOhjeita asentajalle
- Sähköliitäntä
- Eri kaasutyyppien edellyttämät toimenpiteet
- Asentaminen
- Asennusmahdollisuudet
- Takuu
- Euroopan takuu
- Per la Vostra sicurezza
- Indice
- Istruzioni per l'uso
- Pulizia e manutenzione
- Caratteristiche tecniche
- Istruzioni per l'installatore
- Collegamento alimentazione gas
- Collegamento elettrico
- L'incasso nei mobili componibili
- Assistenza e ricambi
- Garanzia/Servizio clienti
- Garanzia europea
- English
- Contents
- Instruction for the User !
- Cleaning and Maintenance
- Instruction for the Installer
- Electrical connection
- Gas connection
- Adaptation to different types of gas
- Building In
- Possibilities for insertion
- Service and original Spare Parts
- European guarantee
- Română
- Cuprins
- Instrucţiuni pentru utilizator
- Curăţarea și întreţinerea
- Instrucţiuni pentru instalator
- Racordarea electrică
- Racordarea la gaz
- Adaptarea la diferitele tipuri de gaz
- Încorporarea
- Posibilităţi de încorporare
- Asistenţă și piese de schimb
- Garanţie/Service






