Sigma ELECTRONIC FLASH EF-610 DG SUPER SA-STTL (シグマ用): PANTALLA ANGULAR
PANTALLA ANGULAR: Sigma ELECTRONIC FLASH EF-610 DG SUPER SA-STTL (シグマ用)
49
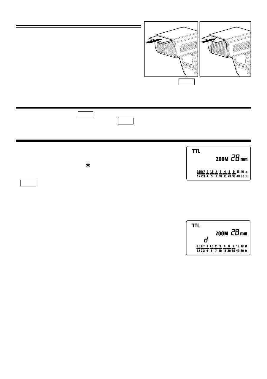
PANTALLA ANGULAR
Este flash está equipado con un panel angular, que
proporciona un ángulo de cobertura ultra angular de
17mm. Extraiga el panel angular y el panel de luz
rebotada y déjelo caer hasta cubrir el cabezal del
flash. (Sea cuidadoso a la hora de deslizar los
paneles). Después recoja el panel de luz rebotada a
su lugar. El ángulo de cobertura del flash se ajustará
automáticamente a 17mm.
■
Si la pantalla angular incorporada, sale accidentalmente, el botón ZOOM no funcionará. En este
caso póngase en contacto con el establecimiento dónde compró el flash o con el servicio técnico.
ILUMINACIÓN DE LA PANTALLA LCD
Cuando presiona el botón LIGHT, la pantalla LCD se iluminará acerca de 8 segundos. La iluminación
se prolongará si vuelve a presionar el botón LIGHT otra vez.
FLASH AUTOMÁTICO TTL
En el modo TTL AUTO, la cámara controlará la cantidad de luz para
obtener la exposición correcta del sujeto.
1.
Ajuste la exposición de la cámara al modo
P
( En el caso de la SA-300,
SA300N y SA-5 ajústelo a “ ” modo totalmente automático)
2.
Conecte el flash, la marca TTL aparecerá en la pantalla LCD y el flash
empezará a cargarse.(Si la marca TTL no aparece, presione el botón
MODE varias veces para seleccionar el modo TTL)
3.
Enfoque el sujeto.
4.
Compruebe que el sujeto está localizado en el rango efectivo de distancia que se indica en la
pantalla LCD
5.
Presione el botón de disparo después que el flash esté completamente cargado.
Cuando el flash está completamente cargado, la luz de preparado aparecerá en el visor y en la unidad
de flash.
■
La exposición TTL se controla con el sistema S-TTL de la cámara
digital. Si el flash se ajusta a TTL, aparecerá en la pantalla LCD la
letra “
d
” (Digital)
■
Cuando la cámara recibe la exposición adecuada, la marca TTL en la
pantalla LCD aparecerá durante 5 segundos. Si esta indicación no
aparece, la iluminación del flash no es suficiente para esta situación.
Por favor vuelva a realizar la fotografía a una distancia menor.
■
La luz auxiliar AF se activará automáticamente como cuando enfoca en un lugar oscuro.
Nota:
La
distancia efectiva es aproximadamente de 0.7 a 9 metros.
■
Cuando la cámara se ajusta a la Zona Creativa, por favor recuerda que el flash se ajustará cada
vez al último modo escogido.
■
Cuando el flash está completamente cargado, la marca del flash aparecerá en el visor. Si se realiza
el disparo antes de que el flash esté completamente cargado, la cámara realizará la fotografía a la
velocidad más lenta.
UTILIZACIÓN DEL FLASH CON OTROS MODELOS DE CÁMARAS
Ajuste para la prioridad de velocidad
Seleccionando el modo de la
S
de la cámara, se puede seleccionar la velocidad desde 30seg. a 1/X
de velocidad sincro. Cuando seleccione la velocidad de obturación deseada, la cámara seleccionará
el diafragma apropiado para el fondo. Si el sujeto es demasiado oscuro o demasiado claro, el
diafragma parpadeará y mostrará el valor límite. (Máximo o mínimo diafragma). En este caso la
cámara procede a tomar fotografías con flash al valor límite. De esta manera, el sujeto principal de la
imagen se expondrá correctamente, pero el fondo quedará sub o sobreexpuesto.
Оглавление
- 安全上のご注意
- 各部の名称( 1 ページ)
- 発光部のセット
- ワイドパネルについて
- 連続撮影時のご注意
- FP 発光
- モデリング発光
- バウンス撮影
- スレーブ発光
- 主要諸元
- PRECAUTIONS
- DESCRIPTION OF THE PARTS
- ADJUSTING THE FLASH HEAD
- WIDE PANEL
- LIMITS OF CONTINUOUS SHOOTING
- FP FLASH
- MODELING FLASH
- BOUNCE FLASH
- SLAVE FLASH
- SPECIFICATIONS
- VORSICHTSMAßNAHMEN
- BESCHREIBUNG DER TEILE
- EINSTELLEN DES BLITZKOPFES
- WEITWINKELSTREUSCHEIBE
- GRENZEN DER SERIENAUSLÖSUNG
- KURZZEITBLITZSYNCHRONISATION (FP)
- REDUZIERUNG ROTER AUGEN
- INDIREKTES BLITZEN
- „SLAVE“ GERÄT
- TECHNISCHE DATEN
- PRECAUTIONS
- DESCRIPTION DES ELEMENTS
- AJUSTEMENT DE LA TETE FLASH
- ELARGISSEUR D'ANGLE
- LIMITES DES PRISES DE VUE CONSECUTIVES AU FLASH
- FLASH HAUTE VITESSE FP (sauf SA-300)
- REDUCTION DE L'EFFET "YEUX ROUGES"
- FLASH INDIRECT
- FLASH ESCLAVE
- CARACTERISTIQUES TECHNIQUES
- PRECAUCIONES
- DESCRIPCIÓN DE LAS PARTES
- AJUSTE DEL CABEZAL DEL FLASH
- PANTALLA ANGULAR
- LIMITACIONES DEL DISPARO CONTINUO
- SINCRONIZACIÓN CON LA SEGUNDA CORTINILLA
- LUZ DE MODELADO
- FLASH REFLEJADO
- FLASH ESCLAVO
- ESPECIFICACIONES
- ATTENZIONE
- DESCRIZIONE DELLE PARTI
- REGOLAZIONE DELLA TESTA DEL FLASH
- DIFFUSORE GRANDANGOLARE
- LIMITAZIONI QUANDO SI SCATTA IN SEQUENZA
- SINCRONIZZAZIONE DELLA SECONDA TENDINA
- FLASH DI RIEMPIMENTO
- FLASH INDIRETTO
- FLASH AUSILIARIO
- SPECIFICHE
- BEMÆRK
- BESKRIVELSE AF FLASHENS DELE
- MONTERING OG AFMONTERING AF FLASHEN
- LCD-DISPLAY BELYSNING
- KONTINUERLIG OPTAGELSE
- SYNKRONISERING MED ANDET LUKKERGARDIN
- MULTI-FLASH FUNKTION
- TRÅDLØS FLASH
- SLAVE-FLASH
- SPECIFIKATIONER
- VOORZORGSMAATREGELEN
- OMSCHRIJVING VAN DE ONDERDELEN
- HET AFSTELLEN VAN DE FLITSKOP
- GROOTHOEK ADAPTER
- MAXIMALE PRESTATIES BIJ CONTINU FOTOGRAFEREN.
- FP FLITS (BEHALVE SA-300)
- MODEL / TESTFLITS
- INDIRECT FLITSEN
- SLAVE FUNCTIE
- TECHNISCHE GEGEVENS:
- 注 意各部位名稱
- 關於電池
- 安裝閃光燈到相機及其解除
- 液晶顯示屏夜光照明
- 閃燈連發限制
- 第二簾幕 ( 後簾 ) 閃燈同步
- 頻閃模式
- 相機與閃燈無線配合操控 ( 不適用於 SD9)
- 離機無線從屬( Slave )閃光模式
- 規 格
- 사용상 주의점
- 각부의 명칭
- 플래시 헤드 조정
- 와이드 패널
- 연속 촬영시 주의점
- 고속 싱크로(FP) 촬영
- 모델링 플래시
- 바운스 촬영
- 슬레이브 플래시
- 제품 사양
- ПРЕДОСТОРОЖНОСТИ
- ОПИСАНИЕ СОСТАВНЫХ ЧАСТЕЙ
- НАСТРОЙКА ГОЛОВКИ ВСПЫШКИ
- РАССЕИВАЮЩАЯ ПАНЕЛЬ
- ОГРАНИЧЕНИЯ ДЛЯ НЕПРЕРЫВНОЙ СЪМКИ
- СИНХРОНИЗАЦИЯ ПО ВТОРОЙ ШТОРКЕ
- МОДЕЛИРОВАНИЕ ВСПЫШКИ
- НАПРАВЛЕННОСТЬ ВСПЫШКИ
- ДОПОЛНИТЕЛЬНАЯ ВСПЫШКА
- ХАРАКТЕРИСТИКИ
- PRECAUÇÕES
- DESCRIÇÃO DOS COMPONENTES
- COMO AJUSTAR A CABEÇA DO FLASH
- PAINEL DE GRANDE ANGULAR
- LIMITES DE DISPAROS CONTÍNUOS
- FLASH FP
- O FLASH EM MODO DE PRÉ-VISÃO (FLASH MODELING)
- FLASH INDIRECTO
- FLASH ESCRAVO
- ESPECIFICAÇÕES

