Ridgid SLIDING LADDER RACK 250: Upute za uporabu
Upute za uporabu: Ridgid SLIDING LADDER RACK 250
Tools For The Professional
TM
KLIZNI NOSAČ ZA LJESTVE
Ridge Tool Company
49
HR
Upute za uporabu
KLIZNI NOSAČ ZA LJESTVE
MODEL 250
www.ridgid.eu/jobsitestorage
POTREBAN ALAT
• Električna bušilica
• Šestbridni nasadni nastavak od 5/16”
• Izvijač s križnim završetkom
• Ravnalo
• Ključ 7/16”
• Duboki nasadni nastavak 7/16”
• Ručica zapornog ključa
• Litijeva mast
POPIS DIJELOVA
Pročitajte i pridržavajte se sljedećih uputa i upozorenja prije montaže ili korištenja ovog proizvoda, kako biste smanjili
opasnost od ozbiljne ozljede.
RIDGID preporučuje da klizni nosač za ljestve Model 250 montirate u servisnom ili dostavnom kombiju koji je opremljen pre
-
gradnom stijenom.
Pregradna stijena između tovarnoga i putničkog prostora smanjuje vjerojatnost prodora materijala u prednji dio vozila i izazi
-
vanja tjelesne ozljede prilikom sudara.
UPOZORENJE
-POZOR-
NAPOMENA: Ovaj proizvod predviđen je samo za korištenje unutar kombija,
zatvorene prikolice ili kamiona s metalnim zatvaračem.
(1) Vodilica užeta
(24)Ravna
podloška 1/4”
(1) Prednje postolje
(2) Nosač za
povezivanje
(4) Matica za
profilni nosač
(1) Vijak sa zaobljenom
glavom, 1/4 x 20 x 7/8
(1) Zapor s unutarnje
strane
(3) Nosač za
montažu
(2) Pločasti
graničnik
(2) Opleteno uže
(1) Zapor s vanjske
strane
(1)Vinilni čep
(1) Podloška
1,25 VP
(4) Sigurnosna
podloška
(1) Fiksni zapor
(8) Samobušeći
vijak 1/4 x 14
(4) Vijak sa šestbridnom
glavom,1/4 x 20 x 1
(1) Podesivi nosač
(17) Torband vijak,
1/4 x 20 x 3/4
(1) Stražnji nosač za mon
-
tažu
(20) Sintetička
protumatica, 1/4 x 20
(1) Fiksno postolje
(1) Sklop zaštitnih
kabela.
(2) Glavni vijak,
1/4 x 20 x 1-1/2
(1) Podesiva ručica
(3) Rampa
09_sliding_CROA.indd 49
30/04/2009 12:25:24
Tools For The Professional
TM
KLIZNI NOSAČ ZA LJESTV
E
Ridge Tool Company
50
Kako biste smanjili opasnost od tjelesne ozljede koju mogu izazvati ljestve koje mogu pasti ili postati projektilom za vrijeme
naglog kočenja ili pri nezgodi vozila:
• Prije montaže ili korištenja ovog proizvoda sa razumijevanjem pročitajte sve upute i upozorenja.
• Klizni nosač za ljestve smije se koristiti samo za prijevoz ljestvi. Nikad nemojte preinačivati ili koristiti nosač za ljestve za
bilo koju drugu svrhu.
• Nosač se mora montirati u skladu s uputama.
• Klizni nosač za ljestve montirajte samo u kombiju, zatvorenoj prikolici ili na kamionu s metalnim zatvaračem.
• Maksimalna težina ljestvi je 36 kg i ne smije se prekoračiti
• Prilikom korištenja električnog alata slijedite upozorenja i upute koje je dao proizvođač alata.
• Zaštitite svoje oči. Nosite sigurnosne naočale.
• Nikad nemojte montirati klizni nosivi sustav za ljestve unutar putničkog prostora.
• Provjerite da na mjestima gdje ćete izbušiti rupe nema električnih vodova. U priručniku vozila provjerite da na tim mjestima
nema ožičenja.
UPUTE ZA MONTAŽU
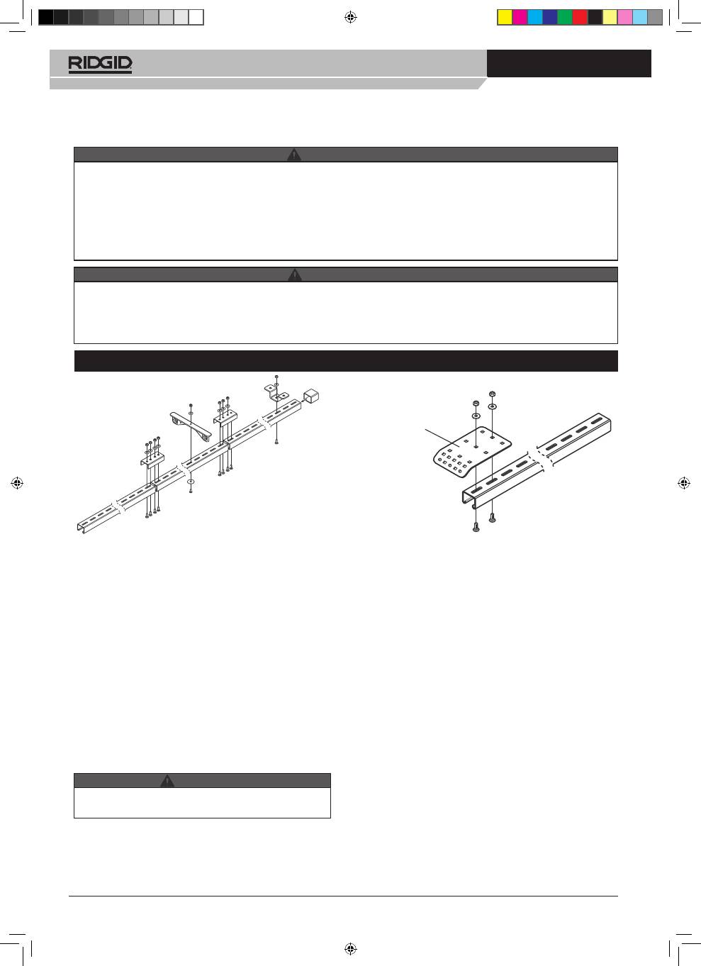
Korak 1: MONTAŽA SKLOPA TRAČNICA
Nosačima za povezivanje (2), povežite odsječke tračnica (3)
pomoću osam torband vijaka 1/4-20 x 3/4”, ravnih podloški
1/4” i 1/4-20 plastičnih sigurnosnih matica.
NAPOMENA:
Donje upute za montažu napisane su za
montažu ovog proizvoda na rebra krovnog zatvarača kombi
-
ja ili kamiona. Ovaj nosač može se po potrebi montirati na
bočnu stranu prikolice, pomoću istih koraka koji su opisani
dolje.
NAPOMENA:
Ovisno o veličini i vrsti vašeg vozila, sklop
tračnica će se možda morati odrezati u duljinu koja je
prikladna za montažu. Izmjerite razmak unutar kombija, i
odrežite sastavljane tračnice na točnu duljinu.
Odredite mjesto montaže tračnica unutar vozila (sredina,
izvan sredine, sa strane). Izmjerite lokaciju prva tri rebra
kombija, počevši od gornje unutarnje strane stražnjeg
dovratnika, mjerite prema naprijed. Zabilježite izmjerene
vrijednosti.
• Sklop tračnica mora se radi pravilne montaže prvo
postaviti na sva tri krovna rebra.
Pričvrstite stražnji nosač za montažu na stražnji dio sklopa
tračnica (završetak nasuprot odrezanom kraju)pomoću dva
torband vijka 1/4-20 x 3/4”, ravnih podloški 1/4” i plastičnih
sigurnosnih matica 1/4-20 . Pogledajte sliku 1a.
Na stražnjoj strani stražnjeg nosača za montažu označite
sklop tračnica na zabilježenim mjestima rebara. Pričvrstite
nosač za montažu toliko čvrsto da se još uvijek može vršiti
ručno podešavanje, centrirajte ga na svakoj oznaci, uz
pomoć jednoga torband vijka 1/4-20 x 3/4”, ravnih podloške
1/4” i plastične sigurnosne matice 1/4-20.
Postavite sklop tračnica na svoje mjesto u vozilu. Odredite
da li su potrebne preinake na stražnjem nosaču za monta
-
žu. Možda će ga prema potrebi, trebati pomaknuti prema
sklopu tračnica ili odstraniti jedan njegov dio ili promijeniti
kut prirubnice kako bi ravno prisjedao uz dovratnik vrata.
Prema potrebi podesite položaje nosača za montažu na
sklopu tračnica kako biste osigurali pravilno pričvršćenje
nosača za montažu na krovna rebra.
Skinite sklop tračnica s krovnih rebara i čvrsto stegnite
nosače za montažu.
Vratite sklop tračnica natrag na svoje mjesto i pričvrstite ga
na krovna rebra i dovratnik stražnjih vrata s dva samobu
-
šeća vijka 1/4-14 x 3/4” i ravnim podložaka 1/4” po jednom
nosaču.
Pričvrstite vodilicu užeta na približno 30” inča od stražnje
strane sklopa tračnica uz pomoć vijka sa zaobljenom
glavom 1/4-20 x 7/8”, podloške vanjskog promjera 1-1/4”,
ravne podloške 1/4” i plastične sigurnosne matice 1/4-20.
Prilagodite mjeru od 30” ako vam nešto smeta.
Slika 1
Slika 1a
Stražnji
nosač za
montažu
UPOZORENJE
UPOZORENJE
OPREZ
09_sliding_CROA.indd 50
30/04/2009 12:25:24
Tools For The Professional
TM
KLIZNI NOSAČ ZA LJESTVE
Ridge Tool Company
51
Slika 2
Korak 2: MONTAŽA NEPOMIČNOG NOSAČA
Izmjerite udaljenost od baze ljestvi do donje prečke. Izmjerite
istu udaljenost od stražnjeg dijela sklopa tračnice i označite
je na tračnici. Ovo će predstavljati približnu lokaciju nepo
-
mičnog nosača. Montirajte nepomični nosač sa žljebovima
okrenutima prema prednjoj strani vozila. Omogućite podeša
-
vanje položaja pomoću stezača koji su prikazani na sl. 2.
Korak 3: MONTAŽA KLIZNOG NOSAČA
Umetnite klizni nosač u sklop tračnice s ožlijebljenim dijelom
okrenutim prema stražnjoj strani vozila. Montirajte plastični
čep na odrezani kraj sklopa tračnice.
Korak 4: MONTAŽA PREDNJEG SKLOPA
POSTOLJA
NAPOMENA:
Ako montirate ovaj klizni nosač za ljestve na
bočnu stranu prikolice, prijeđite na korak 10 radi montaže
sklopa bočnog zapora.
Pomoću dva torband vijka 1/4-20 x 7/8”, ravnih podloški 1/4”
i plastičnih sigurnosnih matica and 1/4- 20, pričvrstite pred
-
nje postolje na produžni krak. Pričvrstite na klizni nosač.
Jednim torband vijkom 1/4-20 x 1-1/2”, ravnom podloškom
1/4” i plastičnom sigurnosnom maticom 1/4-20, prilagodite
dubinu postolja da odgovara visini vaših ljestvi. Stegnite do
kraja torband vijak (slika 3).
Nemojte prejako stezati stezače.
Korak 5: NEPOMIČNI ZAPOR
Jednim torband vijkom 1/4-20 x 1-1/2”, ravnom podloškom
1/4” i plastičnom sigurnosnom maticom 1/4-20, pričvrstite
nepomični zapor i sigurnosno uže na nepomični nosač omo
-
gućavajući podešavanje dubine kako ona odgovarala donjoj
prečki ljestvi. Stegnite do kraja torband vijak (slika 4).
Korak 6: PRILAGOĐIVANJE POLOŽAJA ZA
MONTAŽU
Postavite ljestve na prednje postolje i povucite ga pre
-
ma tovarnom položaju. Postavite donju prečku ljestvi na
nepomični zapor. Ovo će predstavljati konačnu lokaciju
sklopa nepomičnog zapora. Pažljivo skinite ljestve tako da
ne pomaknete nepomični zapor i dovršite stezanje sklopa
nepomične brave na svom mjestu.
Korak 7: MONTAŽA UDARNOG UŽETA
• Provucite udarna užeta kroz rupe na podesivom nosaču
udarnog užeta. Provjerite da stezni prsten na stražnjoj
strani jedinice. Zatim provucite užad kroz rupe za vođenje
udarnog užeta i zatim kroz rupe za udarno uže na nepomič
-
nom nosaču.
• Sigurnosno uže mora se postaviti prema uputama za
pravilno pričvršćenje ljestvi na sklop i vozilo.
• Nemojte prejako stezati stezače.
• Sklop nepomičnog zapora nije još u ovom trenutku
do kraja stegnut. Ako stavite ljestve na svoje mjesto,
mogle bi pasti.
• Ne dozvolite nikome pristup neposredno ispod ljestvi
ili pokraj njih za vrijeme ovoga koraka montaže, osim
osobe koja vam pomaže u montaži.
• Elastični konopci mogu odskočiti i udariti vas po očima.
Nemojte ih prejako rastezati. Tijelo i lice držite dalje.
• Ljestve postavite na nosač i povucite ih prema naprijed i
pritom držite udarno uže. Kad ljestve budu u zaglavljenom
položaju, čvrsto povucite udarno uže i uvucite ga u utor za
držanje na stražnjoj strani nepomičnog nosača (pogledajte
sliku 5).
OPREZ
UPOZORENJE
OPREZ
UPOZORENJE
Nepomični nosač
Ravna podloška 1/4”
Sigurnosna podloška
1/4-20 x 1
Vijak sa šestbridnom
glavom
Matica za
profilni
nosač
Prilagodljivi
nosač
Prilagodljivi krak
Prednje postolje
Slika 3
Slika 4
Nepomični
zapor
Slika 5
Sigurnosno uže
09_sliding_CROA.indd 51
30/04/2009 12:25:24
Tools For The Professional
TM
KLIZNI NOSAČ ZA LJESTV
E
Ridge Tool Company
52
Elastični konopci mogu odskočiti i udariti vas po očima. Nemojte ih prejako rastezati. Tijelo i lice držite dalje.
Prednja granična ploča mora se postaviti kako bi onemogućila izlazak iz zahvata zapornog nosača prilikom naglog kočenja ili
pri nezgodi vozila.
Prije postavljanja ljestava na nosač:
1. RIDGID preporučuje da klizni nosač za ljestve Model 250 montirate u servisnom ili dostavnom kombiju koji je opremljen
pregradnom stijenom. Pregradna stijena između tovarnoga i putničkog prostora smanjuje vjerojatnost prodora materijala u
prednji dio vozila i izazivanja tjelesne ozljede prilikom sudara.
2. Klizni nosač za ljestve predviđen je za postavljanje ljestvi sa stražnje strane teretnog kombija ili dostavnog vozila s metal
-
nim krovom.
3. Prije postavljanja ljestava, provjerite da li su elastični konopci i nosač graničnika postavljeni na ročno mjesto. Pogledajte
korake za montažu 7 i 8 na stranicama 3 i 4. Ako će se postaviti ljestve druge veličine, mora se izvršiti prilagođavanje
graničnog nosača i elastičnih konopaca ili će ljestve pasti s nosača.
4. Pregledajte dijelove ljestvi prije njihove upotrebe. Ako je ikoji dio slomljen, savijen ili na koji drugi način oštećen, nemojte
koristiti nosač. U odjeljku Održavanje potražite zamjenske dijelove.
UPUTE ZA KORIŠTENJE
Slika 6
UPOZORENJE
Elastična užad mora se podesiti kako treba. Ako uže podesite neprikladno duljini ljestava, to može dovesti do pada ljestava.
Korak 8: MONTIRAJTE PREDNJE I STRAŽNJE GRANIČNIKE
Preporučeni položaj prednjeg graničnika nalazi se približno 1” ispred kliznog nosača u zaglavljenom položaju. Položaj granič
-
nika mora omogućiti dovoljni hod za povlačenje ljestvi u prema naprijed kako bi donja prečka mogla sjesti na podesiti zapor
kao i za skidanje ljestvi.
Korak 9: PODMAZIVANJE TRAČNICE
Nanesite dovoljnu količinu litijeve masti s unutarnje strane
tračnice kako biste osigurali glatko pomicanje prednjega
kliznog postolja.
Montaža prema želji
Korak 10: UPUTE ZA MONTAŽU NA BOČNOJ
STRANI
(SAMO)
Montirajte bočne zaporne nosače na prilagodljivi nosač
s dva torband vijka 1/4-20 x 7/8”, ravne podloške 1/4” i
plastične sigurnosne matice 1/4-20, prema prikazu na slici
6. Montirajte sklop tračnice na bočnu stranu zatvorene
prikolice.
• Pregledajte klizni nosač za ljestve prije svake upotrebe. Nemojte koristiti nosač ako je oštećen ili propao na bilo koji drugi
način.
• Nemojte stavljati kraće ljestve na nosač koji je prilagođen za duže ljestve. Uvijek prilagodite ploču graničnika i elastične
konopce duljini ljestava koje ćete postaviti na nosač.
• Nepravilno postavljanje ili skidanje s kliznog nosača za ljestve može dovesti do pada ljestvi, ozbiljne tjelesne ozljede i
oštećenja imovine.
• Nikad ne koristite nosač za ljestve ako ispod ili u blizini nosača ili ljestvi sjede osobe.
• Pazite prilikom postavljanja ljestvi u klizni nosač ako stojite na skliskom ili zaleđenom podu.
• Nemojte postavljati ili skidati ljestve dok je vozilo u kretanju.
• Provjerite da li je napetost udarnog užeta dovoljno visoka da može zadržati ljestve na svom mjestu. Zavežite dvostruki čvor
na završetku udarnog užeta i umetnite užad u utore na nepomičnom nosaču. Presavijte višak u stražnji dio nepomičnog
nosača (pogledajte sliku 5).
UPOZORENJE
UPOZORENJE
Stražnji graničnik mora se postaviti dovoljno daleko kako bi ograničio hod kliznog nosača i omogućio vam lako skidanje ljestvi s
prednjeg postolja tako da njima ne udarite u nepomični nosač.
UPOZORENJE
09_sliding_CROA.indd 52
30/04/2009 12:25:25
Tools For The Professional
TM
KLIZNI NOSAČ ZA LJESTVE
Ridge Tool Company
53
• Uvijek pričvrstite sigurnosno uže oko prečke. Sigurnosno uže će smanjiti opasnost oslobađanja ljestvi u prometnoj nezgodi
vozila.
• Pregledajte ljestve prije svake upotrebe. Ljestve mogu biti oštećene od udaraca na cesti i od vibracija na vozilu. Poskakiva
-
nje i kretnje u bočnim smjerovima mogu dovesti do istrošenosti i slabljenja ljestvi. Korištenje oštećenih ljestvi može dovesti
do urušavanja njihove konstrukcije i ozbiljnih tjelesnih ozljeda.
• Ruke držite dalje od zone u kojoj ljestve ulaze u zahvat s nosačem.
Postavljanje ljestava na nosač:
1. Provjerite da li su ljestve čiste i suhe.
2. Otvorite stražnja vrata kombija ili stražnji poklopac vozila
radi pristupa do nosača.
3. Povucite elastične konopce kako biste povukli klizni
zapor prema stražnjoj strani.
4. Postavite ljestve s nogostupom okrenutim prema dolje
(strana na koju se ne staje okrenuta je gore).
5. Podignite gornji dio ljestvi i stavite ga u prednje postolje.
Pogledajte sliku 7.
6. Pomicanjem do baze ljestvi, podignite ih i gurnite prema
naprijed, tako da se klizni nosač kreće prema naprijed i
elastični konopci zatežu. Stanite ako ljestve prikliješte ela
-
stične konopce. Izravnajte elastične konopce i nastavite.
7. Uhvatite ljestve s dvije ruke, gurnite ih i dignite tako da se
donja strana donjeg nogostupa poravna s licem nepomič
-
nog zapora. Popustite pritisak prema naprijed i omogućite
Skidanje ljestava s nosača:
1. Skidanje ljestava s nosača obavite obrnutim redom i
slijedite sljedeće korake.
2. Provjerite da li vam je iza vozila podloga čvrsta i put
slobodan prilikom skidanja i vađenja ljestvi iz vozila.
3. Provjerite da se ljestve nisu pomakle u nosaču i da su još
uvijek u čvrstom zahvatu s nepomičnim zaporom.
4. Skinite sigurnosno uže s prečke.
Slika 7
Slika 8
elastičnim konopcima da privuku ljestve uz nepomični
zapor.
Napomena:
Prednja strana nepomičnog zapora je predvi
-
đena da uđe u zahvat s raznim izvedbama prečki na
ljestvama. Ako donja prečka na vašim ljestvama nije
u čvrstom zahvatu s nepomičnim zaporom, pokušaj
-
te promijeniti položaj prečke. Ako morate prilagoditi
položaj montaže nepomičnog zapora, pogledajte
upute za ugradnju u koraku 4 na stranici 3.
8. Provjerite da li su ljestve u pravilnom zahvatu s nepomič
-
nim zaporom.
9. Napravite omču sigurnosnim užetom oko donje prečke i
zakvačite ga kako je prikazano na slici 8. Uvijek pričvrstite
sigurnosno uže oko prečke. Drugi dijelovi ljestvi ne mogu
biti dovoljno čvrsti kako bi u slučaju premetne nezgode
zadržali ljestve na svom mjestu.
5. Gurnite ljestve naprijed i zatim prema dolje kako bi se
prečka oslobodila zahvata s prednjom stranom nepo
-
mičnog zapora. Pripremite se na povratno djelovanje
elastičnih konopaca.
6. Udaljavajte se od vozila sve dok gornji dio ljestvi ne skli
-
zne do najbližega nepomičnog zapora.
7. Kod dugih i teških ljestava postavite donji dio ljestava na
tlo i zatim podignite jednu stranu ljestava kako biste po
-
stavili i podigli gornju stranu ljestava s prednjeg postolja.
• Ne koristite vozilo dok sigurnosno uže nije na svom mjestu. Sigurnosno uže će smanjiti opasnost od pada ljestvi ili njihova
pretvaranja u projektilu prometnoj nezgodi vozila.
• Nikad ne dozvolite osobama sjedenje ispod ili u blizini zaglavljenih ljestava dok je vozilo u pokretu.
• Ako je vaše vozilo sudjelovalo u prometnoj nezgodi ili ste prejako pritisnuli kočnicu, smjesta se ZAUSTAVITE i uvjerite se
da nije došlo do pomicanja ljestava iz njihova položaja u nosaču.
• Vožnja neravnim terenom ili jako, poskakivanje može dovesti do ispadanja ljestava. Bit će potrebno dodatno pričvrstiti
ljestve kako biste osigurali da ostanu na svom mjestu.
UPOZORENJE
UPOZORENJE
09_sliding_CROA.indd 53
30/04/2009 12:25:25
Tools For The Professional
TM
KLIZNI NOSAČ ZA LJESTV
E
Ridge Tool Company
54
Provedite periodički pregled kliznog nosača za ljestve kako biste utvrdili da nema istrošenosti, poderotina, oštećenja ili olabav
-
ljenih dijelova. Prema potrebi popravite ili zamijenite.
Nanesite dovoljnu količinu litijeve masti s unutarnje strane tračnice kako biste osigurali glatko pomicanje prednjega kliznog
postolja.
Provjerite da na elastičnim konopcima nema oštećenja ili istrošenosti. Ako je platno opleta raščupano, konopac bi se mogao
neočekivano prekinuti. Zamijenite konopce prije korištenja nosača.
Provjerite da na sigurnosnoj užadi nema oštećenja ili prekida. Pregledajte da nema pokidanih niti. Ako ima, zamijenite uže prije
korištenja nosača.
OPĆENITO ODRŽAVANJE
• Smanjivanje opasnosti od tjelesne ozljede:
• Nemojte koristiti nosač za ljestve na kojemu nedostaju dijelovi ili su oštećeni.
• Pregledajte da na elastičnim konopcima nema istrošenosti. Ako je platno opleta raščupano, konopac bi se mogao neočeki
-
vano prekinuti. Nemojte koristiti nosač.
• Održavajte količinu masti na tračnici.
Bilo koja izmjena ili nenamjenska uporaba ovog proizvoda će odmah poništiti sva jamstva proizvođača. Proizvođač se
ograđuje od odgovornosti za ozljede osoba ili oštećenja imovine do kojih dođe uslijed izmjena ili nenamjenske uporabe ovog
proizvoda.
OGRANIČENO JAMSTVO
Ovo OGRANIČENO JAMSTVO daje RIDGID on-site storage equipment, 420 E. Terra. Cotta Ave., Crystal Lake, Illinois izvornom kupcu
RIDGID
®
proizvoda u maloprodaji.
RIDGID on -site storage equipment JAMČI DA NA RIDGID PROIZVODIMA NEĆE BITI KVAROVA U MATERIJALU ILI IZRADI U
PERIODU OD TRI (3) GODINE OD DANA KUPNJE KOD PRODAVAČA ORIGINALNOG PROIZVODA. OVO JAMSTVO ODNOSI SE
SAMO NA OVU OPREMU ZA SKLADIŠTENJE. JAMSTVA ZA OSTALE RIDGID PROIZVODE MOGU SE RAZLIKOVATI
Ako prije isteka perioda valjanosti jamstva kupac otkrije da RIDGID proizvod ne ispunjava Jamstvo, kupac mora kontaktirati RIDGID
opremu za skladištenje na lokaciji kako bi dogovorio pregled proizvoda. Ako RIDGID utvrdi da postoji kvar, RIDGID će, po vlastitom
izboru i trošku, popraviti ili zamijeniti neispravan dio. Sve popravke u jamstvenom roku mora izvršiti ovlašteni prodavač RIDGID
proizvoda ili servisno poduzeće koje je dobilo odobrenje od RIDGIDA.
Ovo jamstvo neće vrijediti ako je RIDGID proizvod neispravno korišten, ako se njime neispravno rukovalo ili je servisiran na
neodgovarajući način, u slučaju neprimjerenog održavanja ili ako je izmjene izvršio itko drugi osim prodavača RIDGID proizvoda ili
servisnog poduzeća koje je odobrio RIDGID.
GORE ISPISANO JAMSTVO JEDINO JE JAMSTVO KOJE VRIJEDI ZA OVU KUPOVINU. SVA OSTALA JAMSTVA, IZRIČITA ILI
PODRAZUMIJEVANA, UKLJUČUJUĆI ALI NE OGRANIČAVAJUĆI SE NA PODRAZUMIJEVANA JAMSTVA, KOJA SE ODNOSE NA
PRIKLADNOST ZA PRODAJU I PODOBNOST ZA ODREĐENU NAMJENU NE PRIZNAJU SE.
RIDGID on -site storage equipment NEĆE SE SMATRATI ODGOVORNIM ZA BILO KAKVA SLUČAJNA ILI POSLJEDIČNA
OŠTEĆENJA DO KOJIH MOŽE DOĆI USLIJED NEPOŠTIVANJA OVOG JAMSTVA NITI ZA OŠTEĆENJA ČIJA CIJENA PRELAZI
IZNOS KOJI JE KUPAC PLATIO
Ovo jamstvo vrijedi umjesto svih izričitih ili podrazumijevanih jamstava. Uvjete ovog jamstva ne smije mijenjati nijedna strana, njeni
nasljednici ili pravni nasljednici. Jamstvo vam pruža posebna zakonska prava, tako da možete imati i druga prava koja se razlikuju u
različitim zemljama.
UPOZORENJE
-OBAVIJEST-
SERVISNI DIJELOVI
2
1
RADI REZERVNIH DIJELOVA POĐITE NA
www.ridgid.eu/jobsitestorage
STAVKA BR.
BROJ DIJELA
OPIS
1
34213
Sigurnosno uže
2
34208
Udarno uže (1 par)
3
34218
Komplet vijaka
(nije prikazan)
Ridge Tool Europe, Interleuvenlaan 50, 3001 Leuven - Belgium www.ridgid.eu
09_sliding_CROA.indd 54
30/04/2009 12:25:25

