Ridgid SLIDING LADDER RACK 250: Brugsvejledning
Brugsvejledning: Ridgid SLIDING LADDER RACK 250
Tools For The Professional
TM
GLIDENDE STIGEHOLDER
Ridge Tool Company
37
DK
Brugsvejledning
GLIDENDE STIGEHOLDER
MODEL 250
www.ridgid.eu/jobsitestorage
PÅKRÆVET VÆRKTØJ
• Elektrisk boremaskine
• 5/16” sekskantdrevet bor
• Stjerneskruetrækker
• Lineal
• 7/16” skruenøgle
• 7/16” lang top
• Skraldenøgle
• Lithiumfedt
RESERVEDELSLISTE
Reducer risikoen for alvorlig personskade ved at læse og følge alle vejledninger og advarsler, før du installerer eller bruger
dette produkt.
RIDGID anbefaler, at den glidende stigeholder, Model 250, monteres i service- eller varevogne, som er udstyret med en
kantplade. En kantpladeadskiller mellem lad og fører-/passagerkabinen reducerer sandsynligheden for, at materialet skubbes
forud og derved forårsager personskade i et eventuelt biluheld.
ADVARSEL
-PAS PÅ!-
BEMÆRK: Dette produkt er kun tiltænkt anvendelse i en varevogn, en lukket trailer eller en lastbil med metaltag.
(1) Ledningsholder
(24) 1/4” flad
spændeskive
(1) Forreste slæde
(2) Samlebeslag
(4) Afstivningsmøtrik
(1) Panhovedet maskin-
skrue 1/4 x 20 x 7/8
(1) Indvendig
sideholder
(3) Monterings-
beslag
(2) Stopplade
(2) Elastisk kabel
(1) Udvendig
sideholder
(1) Vinylmuffe
(1) 1,25
spændeskive
(4) Låseskive
(1) Fast holder
(8) 1/4 x 14
selvskruende skrue
(4) sekskantet cylin-
derskrue 1/4 x 20 x 1
(1) Justerbart beslag
(17) Bræddebolt,
1/4 x 20 x 3
(1) Monteringsbeslag
til bagside
(20) Låsemøtrik med
nylonindlæg ¼ x 20
(1) Fastgjort beslag
(1) Tester af
sikkerhedskabel.
(2) Slædebolt
1/4 x 20 x 1-1/2
(1) Justerbar arm
(3) Stang
07_sliding_DA.indd 37
30/04/2009 12:00:49
Tools For The Professional
TM
GLIDENDE STIGEHOLDER
Ridge Tool Company
38
For at reducere risikoen for alvorlig personskade ved at stigen falder ned eller bliver til et flyvende projektil under en hård
opbremsning eller i et trafikuheld:
• Læs og følg alle vejledninger og advarsler, før du monterer eller bruger dette produkt.
• Den glidende stigeholder bør kun anvendes ved transport af stiger. Du må aldrig ændre eller bruge den glidende stigehol-
der til andre formål.
• Holderen skal monteres i overensstemmelse med vejledningen.
• Den glidende stigeholder må kun monteres på en varevogn, en lukket trailer eller en lastbil med metaltag.
• Den maksimale stigevægt bør ikke overstige 36 kg.
• Ved anvendelse af maskinværktøj skal producentens advarsler og vejledning følges.
• Beskyt dine øjne. Brug sikkerhedsbriller.
• Det glidende stigeholdersystem må under ingen omstændigheder monteres inde i passagerkabinen.
• Kontroller, om der findes elektriske ledninger i de områder, hvor der skal bores huller. Se manualen for motorkøretøjet for at
afdække ledningsnettet.
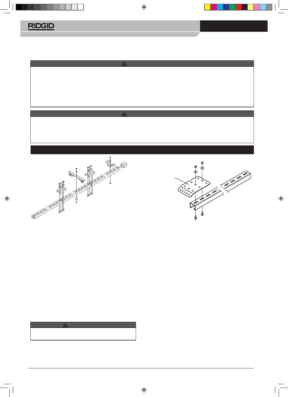
MONTERINGSVEJLEDNINGEN
Trin 1: SAMLING OG MONTERING AF SKINNER
Brug samlebeslag (2), og monter skinnesektionerne (3) med
otte 1/4-20 x 3/4” bræddebolte, 1/4” flade spændeskiver og
1/4-20 nylonlåsemøtrikker.
BEMÆRK:
Monteringsvejledningen nedenfor gælder for
montering af dette produkt på tagskinnerne på en varevogn
eller på et metaltag på en lastbil. Holderen kan monteres
på sidevæggen af en trailer, hvis dette ønskes, ved at følge
anvisningerne beskrevet nedenfor.
BEMÆRK:
Afhængigt af motorkøretøjets størrelse og type
kan det være nødvendigt at tilskære længden af den sam-
lede skinne for at kunne justere den korrekt; mål afstanden
inde i varevognen, og skær den samlede skinne ned til
korrekt længde.
Fastslå, hvor i varevognen skinnen skal monteres (midt
i, til siden for midten, i siden). Mål de tre første steder på
varevognens ribber, begynd indvendigt øverst oppe ved
bagdørsrammen, og mål derfra og fremefter. Noter målene.
Noter målene.
• Skinnesamlingen skal fastgøres til alle tre tagribber for
at være korrekt monteret.
Fastgør det bageste monteringsbeslag på bagsiden af skin-
nesamlingen (i enden modsat den afskårne ende) med to
1/4-20 x 3/4” bræddebolte, 1/4” flad spændeskive og 1/4-20
nylonlåsemøtrik. Se Fig. 1a.
Fra bagsiden af det bageste monteringsbeslag markeres
skinnesamlingen ved den noterede ribplacering. Fastgør et
monteringsbeslag således, at det lige netop sidder så fast,
at det kan justeres med håndkraft, med en 1/4-20 x 3/4”
bræddeboltmøtrik, 1/4” flad spændeskive og 1/4-20 nylonlå-
semøtrik midt for hvert mærke.
Placer skinnesamlingen i motorkøretøjet i position. Fast-
slå, hvorvidt det bageste monteringsbeslag skal justeres.
Det kan være forskudt i forhold til skinnesamlingen, og en
del af det skal fjernes, eller flangen skal evt. ændres for at
passe med dørrammen. Hvis det er nødvendigt, justeres
placeringerne til monteringsbeslaget på skinnesamlingen
for at sikre, at monteringsbeslagene kan fastgøres korrekt til
tagribbene.
Fjern skinnesamlingen fra tagribbene, og fastgør monte-
ringsbeslagene.
Placer skinnesamlingen i positionen igen, og fastgør det til
tagribbene og til den bageste dørramme med to 1/4-14 x 3/4”
selvskruende skruer og 1/4” flade spændeskiver pr. beslag.
Fastgør ledningsholderen ca. 30” fra den bageste del af
skinnesamlingen med en 1/4-20 x 7/8” panhovedet maskin-
skrue, 1-1/4” spændeskive, 1/4” flad spændeskive og 1/4-20
nylonlåsemøtrik. Juster evt. 30”-dimensionen for at undgå
blokeringer.
Figur 1
Figur 1a
Bageste
monteringsbeslag
ADVARSEL
ADVARSEL
FORSIGTIG
07_sliding_DA.indd 38
30/04/2009 12:00:49
Tools For The Professional
TM
GLIDENDE STIGEHOLDER
Ridge Tool Company
39
Figur 2
Trin 2: MONTERING AF FAST OPHÆNG
Mål fra foden af stigen til nederste trin. Mål den samme
afstand fra bagsiden af skinnesamlingen, og marker skin-
nen. Dette vil være den omtrentlige placering af det faste
ophæng. Monter det faste ophæng med riller, der vender
ud mod forenden af motorkøretøjet. Giv plads til justering af
placeringen ved at bruge beslag som vist i Figur 2.
Trin 3: MONTERING AF GLIDEBESLAG
Indsæt glidebeslaget i skinnesamlingen således, at den
rillede del vender ud mod motorkøretøjets bagende. Monter
vinylmuffen over den afskårne ende af skinnesamlingen.
Trin 4: MONTERING AF FORRESTE
SLÆDESAMLING
BEMÆRK:
Gå direkte til trin 10 om samling af sideholder,
hvis den glidende stigeholder skal monteres på siden af en
trailer.
Fastgør den forreste slæde til forlængerarmen med to
1/4-20 x 7/8” bræddebolte, 1/4” flade spændeskiver og
1/4- 20 nylonlåsemøtrikker. Fastgør til glidebeslaget. Juster
slædedybden med en 1/4-20 x 1-1/2” bræddebolt, 1/4” flad
spændeskive og en 1/4-20 nylonlåsemøtrik for at tilpasse
den til stigens højde. Spænd bræddebolten helt (Figur 3).
Overspænd ikke beslagene.
Trin 5: FAST HOLDER
Fastgør den faste holder og sikkerhedskablet til det faste
beslag med en 1/4-20 x 1-1/2” bræddebolt, 1/4” flad spæn-
deskive og 1/4-20 nylonlåsemøtrik på en sådan måde, at
der bliver plads til at justere dybden, som skal passe med
det nederste stigetrin. Spænd bræddebolten helt (Figur 4).
Trin 6: JUSTER MONTERINGSPOSITIONERNE
Placer stigen på den forreste slæde, og lad den glide
fremad, indtil den er i opbevaringsposition. Placer stigen
med det nederste stigetrin på den faste holder. Dette er den
endelige placering af den faste holdemekanisme. Fjern for-
sigtigt stigen for ikke at flytte den faste holder, og færdiggør
derefter sikringen af den faste holdemekanisme.
Trin 7: MONTERING AF ELASTISK KABEL
• Træk de elastiske kabler igennem de dertil indrettede
huller i det justerbare beslag. Sørg for, at krogen er placeret
på bagsiden af enheden. Træk herefter de elastiske kabler
gennem de dertil indrettede styrehuller og derefter igennem
ledningshullerne i det faste ophæng.
• Sikkerhedskablet skal fastgøres i henhold til vejlednin-
gen for at sikre, at stigen er sikkert fastgjort til stativet
og motorkøretøjet.
• Du må ikke overspænde beslagene.
• Den faste holdemekanisme er ikke helt fastgjort på
nuværende tidspunkt. Stigen kan falde ned, når den
sættes på plads.
• Lad kun personer, der hjælper med monteringen,
færdes direkte nedenfor eller ved siden af stigen under
monteringen.
• De elastiske kabler kan slå tilbage og ramme dig i øjet.
Stræk det ikke for meget. Beskyt din krop og dit ansigt.
• Placer stigen på holderen, og lad den glide fremad sam-
tidig med, at du holder det elastiske kabel. Når stigen er i
holdeposition, skal du trække forsigtigt i det elastiske kabel
og lade det glide ind i holdepostionen på bagsiden af det
faste ophæng (se Figur 5).
FORSIGTIG
ADVARSEL
FORSIGTIG
ADVARSEL
Fast ophæng
1/4” flad spændeskive
Låseskive
1/4-20 x 1
Sekskantet
cylinderskrue
Afstivnings-
møtrik
Justerbar
beslag
Justerbar arm
Forreste slæde
Figur 3
Figur 4
Fast holder
Figur 5
Sikkerhedskabel
07_sliding_DA.indd 39
30/04/2009 12:00:49
Tools For The Professional
TM
GLIDENDE STIGEHOLDER
Ridge Tool Company
40
De elastiske kabler kan slå tilbage og ramme dig i øjet. Overstræk ikke. Beskyt din krop og dit ansigt.
Forreste stopplade skal monteres for at undgå, at den glidende holder river sig løs under en hård opbremsning eller i et trafik-
uheld.
Før stigen placeres i holderen:
1. RIDGID anbefaler, at stigeglidestativet Model 250 monteres i service- eller varevogne, som er udstyret med en forplade.
En forplade, som adskiller ladet fra fører-/passagerkabinen, reducerer sandsynligheden for, at materialet vil forskubbe sig
fremad og dermed forårsage personskade i et eventuelt biluheld.
2. Den glidende stigeholder er konstrueret til påsætning fra bagenden af en fragtbil eller en pickup med metaltag.
3. Før stigen påsættes, sikres det, at de elastiske kabler og stopbeslaget er korrekt monteret og placeret. Se installationsvej-
ledningens trin 7 og 8 på side 3 og 4. Hvis en stige af en anden størrelse skal påsættes, skal stopbeslaget og de elastiske
kabler justeres, ellers vil stigen falde ned af holderen.
4. Efterse delene på stigeholderen før brug. Hvis en del er beskadiget, bøjet eller skadet på nogen måde, må holderen ikke
anvendes. Se afsnittet om Vedligeholdelse for at få oplysninger om reservedele.
BRUGSANVISNING
Figur 6
ADVARSEL
De elastiske kabler skal være justeret korrekt. Manglende justering af kablernes spænding i forhold til stigens længde kan
medføre, at stigen falder ned.
Trin 8: INSTALLER FORRESTE OG BAGESTE STOP.
Den anbefalede placering af det forreste stop ligger ca. 1” foran på den glidende montering i opbevaringspositionen. Place-
ringen af stoppet bør give akkurat nok plads til, at stigen kan skubbes fremad, og det nederste stigetrin kan placeres på den
justerbare holder, og stigen bør lige så nemt kunne fjernes fra holderen igen.
Trin 9: SMØRING AF SKINNER
Påfør en generøs mængde lithiumfedt på indersiden af
skinnerne for at muliggøre nem indførsel af den glidende
forreste slæde.
Valgfri montering
Trin 10: VEJLEDNING TIL SIDEMONTERING
(ONLY)
Monter sideholderbeslagene på det justerbare beslag med
to 1/4-20 x 7/8” bræddebolte, 1/4” flade spændeskiver og
1/4-20 nylonlåsemøtrikker som vist i figur 6. Monter skin-
nesamlingen på siden af den lukkede trailer.
• Efterse den glidende stigeholder før hvert brug. Brug ikke holderen, hvis den er beskadiget eller forringet på nogen måde.
• Placer ikke kortere stiger på en holder, der er justeret efter længere stiger. Juster altid stop stoppladen og de elastiske
kabler efter længde på den stige, der skal lastes.
• Ukorrekt påsætning og nedtagning af den glidende stigeholder kan medføre, at stigen falder af og forårsage alvorlig per-
son- eller tingskade.
• Betjen aldrig holderen, hvis der befinder sig personer under eller nær holderen og stigen.
• Vær forsigtig, når du sætter stigen på holderen, hvis du står på et glat eller isglat underlag.
• Undlad at påsætte eller nedtage stigen, mens motorkøretøjet er i bevægelse.
• Sørg for, at der er nok spænding på det elastiske kabel til at holde stigen sikkert på plads. Bind herefter en dobbeltknude på
enden af det elastiske kabel, og indsæt kablerne i rillerne i det faste ophæng. Stop den overskydende del af kablet ind på
bagsiden af det faste ophæng (se figur 5).
ADVARSEL
ADVARSEL
Bagstopperen bør være placeret langt nok fremme til at forhindre, at glidemonteringen flytter sig, og til at gøre det nemt at
fjerne stigen fra den forreste slædesamling uden at ramme den faste holder.
ADVARSEL
07_sliding_DA.indd 40
30/04/2009 12:00:50
Tools For The Professional
TM
GLIDENDE STIGEHOLDER
Ridge Tool Company
41
• Fastgør altid et sikkerhedskabel omkring et trin på stigen. Sikkerhedskablet reducerer risikoen for, at stigen river sig løs i
tilfælde af et trafikuheld.
• Efterse stigen før hver brug. Stigen kan beskadiges af rystelser på vejen og motorkøretøjets vibration. Hop og bevægelse
fra side til side kan forårsage slid og svække stigen. Brug af en beskadiget stige kan føre til strukturel kollaps, der kan
medføre alvorlig legemsbeskadigelse eller død.
• Placer ikke hænderne på det sted, hvor stigen er fastgjort til holderen.
Sæt stigen på holderen:
1. Sørg for, at stigen er ren og tør.
2. Åben varevognens bagdør eller lastbilens bagklap for at
komme til holderen.
3. Sæt de elastiske kabler på for at skubbe den glidende
holder bagud.
4. Placer stigen med trædesiden nedad (ikke-træde siden
op).
5. Løft øverste del af stigen, og placer den i den forreste
slæde. Se figur 7.
6. Bevæg dig mod nederste del af stigen ved at løfte og
skubbe stigen fremad, hvorved glidebeslaget skubbes
fremad, og de elastiske kabler strammes. Stop, hvis de
elastiske kabler bliver viklet ind i stigen. Stram kablerne,
og fortsæt.
7. Hold et fast greb om stigen med begge hænder, skub og
Nedtagning af stigen fra holder:
1. Stigen tages ned af holderen ved at gentage ovenstå-
ende fremgangsmåde for påsætning samtidig med, at du
følger disse trin.
2. Sørg for, at du står sikkert, og at der er plads nok bag dit
køretøj til, at du kan trække stigen ud.
3. Kontroller, at stigen ikke har flyttet sig rundt i holderen,
men stadig sidder fast på den faste holder.
4. Fjern sikkerhedskablet, som sidder fast omkring trinnet.
Figur 7
Figur 8
løft således, at understørrelsen af det nederste trin står
på linje med den fastgjorte holder. Mindsk det fremadret-
tede pres, og lad de elastiske kabler skubbe trinnet op
mod den fastgjorte holder.
Bemærk:
Forsiden på den fastgjorte holder er konstrueret,
så den passer til en række forskellige trinudform-
ninger. Hvis det nederste trin på stigen ikke passer
sikkert ind i den fastgjorte holder, kan du forsøge at
flytte trinnet. Hvis det er nødvendigt at justere mon-
teringsplaceringen af den fastgjorte holder henvises
til installationsvejledningen på side 3, trin 4.
8. Sørg for, at stigen er korrekt sat på den fastgjorte holder.
9. Fastgør sikkerhedskablet omkring det nederste trin i en
løkke som vist i figur 8. Fastgør altid sikkerhedskablet
rundt om et trin. Andre dele af stigen er eventuelt ikke
stærke nok til at holde stigen i tilfælde af et trafikuheld.
5. Skub stigen fremad og derefter nedad for at løsne trinnet
fra forsiden af den faste holder. Vær forberedt på tilbage-
slag fra de elastiske kabler.
6.Gå væk fra motorkøretøjet, indtil den øverste del af stigen
er gledet nærmere den fastgjorte holder.
7. Drejer det sig om lange eller tunge stiger, placeres det
nederste af stigen på jorden, og du bevæger dig derefter
hen langs siden af stigen og løfter den øverste del ud fra
den forreste slæde.
• Betjen ikke motorkøretøjet uden, at sikkerhedskablet er på plads. Sikkerhedskablet reducerer risikoen for, at stigen falder
ned eller bliver til et projektil i tilfælde af et trafikuheld.
• Sørg for, at der aldrig befinder sig personer under eller tæt på stigen, når motorkøretøjet er i bevægelse.
• Hvis dit motorkøretøj bliver involveret i et uheld, eller du har lavet en meget hård opbremsning, skal du straks STOPPE for
at sikre dig, at stigen ikke har flyttet sig.
• Kørsel over ujævnt terræn eller et hårdt, rystende bump kan muligvis få stigen til at falde ned. Det kan være nødvendigt at
sikre stigen yderligere for at være sikker på, at stigen bliver på plads.
ADVARSEL
ADVARSEL
07_sliding_DA.indd 41
30/04/2009 12:00:50
Tools For The Professional
TM
GLIDENDE STIGEHOLDER
Ridge Tool Company
42
Foretag periodiske eftersyn af din glidende stigeholder for at kontrollere, om der er opstået slitage eller skade eller, om der er
nogle løse dele. Reparer, eller udskift om nødvendigt.
Påfør en generøs mængde lithiumfedt på indersiden af skinnerne for at muliggøre nem indførsel af den glidende forreste slæde.
Efterse de elastiske kabler for skader og slid. Hvis det dækkende materiale er flosset, kan kablet knække pludseligt. Udskift
kablerne før brug af holderen.
Efterse sikkerhedskablet for skader og brud. Se efter knækkede tråde. I tilfælde heraf skal kablet udskiftes, før holderen tages i
brug.
ALMINDELIG VEDLIGEHOLDELSE
• For at reducere risikoen for personskade:
• Anvend ikke stigeholderen, såfremt dele er mangelfulde eller beskadigede.
• Efterse de elastiske kabler for slitage. Hvis det dækkende materiale er flosset, kan kablet knække pludseligt. Anvend ikke
holderen.
• Sørg for, at skinnen er smurt.
Enhver ændring eller uhensigtsmæssig anvendelse af dette produkt vil øjeblikkeligt gøre alle producentens garantier ugyl-
dige. Producenten fralægger sig ethvert ansvar for personskader eller skader på ejendom, der skyldes ændringer ved eller
uhensigtsmæssig anvendelse af dette produkt.
BEGRÆNSET GARANTI
Denne BEGRÆNSEDE GARANTI fremsættes af RIDGID on-site storage equipment, 420 E. Terra. Cotta Ave., Crystal Lake, Illinois,
USA, til den oprindelige detailkøber af RIDGID
(r)
produkter.
RIDGID on-site storage equipment GARANTERER, AT RIDGID-PRODUKTER ER FRI FOR DEFEKTER I MATERIALER OG
UDFØRELSE I EN PERIODE PÅ 3 (TRE) ÅR FRA DATOEN, HVOR DEN OPRINDELIGE DETAILKØBER FORETOG KØBET. DENNE
GARANTI GÆLDER SÆRSKILT FOR DETTE OPBEVARINGSUDSTYR. GARANTIER FOR ANDRE RIDGID-PRODUKTER KAN
VARIERE
Hvis Køber inden garantiperiodens udløb opdager, at RIDGID-produktet ikke opfylder garantien, skal Køber kontakte RIDGID on-site
storage equipment og arrangere et eftersyn af produktet. Hvis RIDGID mener, at der er tale om en defekt, skal RIDGID efter eget
valg og for egen regning reparere eller udskifte alle defekte dele. Alle garantireparationer skal udføres af en autoriseret RIDGID-
produktforhandler eller af en af RIDGID godkendt servicevirksomhed.
Denne garanti kan ikke gøres gældende, dersom RIDGID-produktet er blevet udsat for misbrug, unormal service eller håndtering,
forkert vedligeholdelse eller ændringer foretaget af enhver anden end en RIDGID-produktforhandler eller en servicevirksomhed, der er
godkendt af RIDGID.
DEN OVENFOR TRYKTE GARANTI ER DEN ENESTE GARANTI, DER ER GÆLDENDE FOR DETTE KØB. ALLE ANDRE
GARANTIER, UDTRYKKELIGE ELLER INDFORSTÅEDE, HERUNDER MEN IKKE BEGRÆNSET TIL UNDERFORSTÅEDE
GARANTIER FOR SALGBARHED OG EGNETHED TIL ET BESTEMT FORMÅL, FRASKRIVES HERMED.
RIDGID on-site storage equipment KAN IKKE HOLDES ERSTATNINGSANSVARLIG FOR NOGEN TILFÆLDIGE SKADER ELLER
FØLGESKADER, DER MÅTTE OPSTÅ VED ETHVERT BRUD PÅ DENNE GARANTI, OG ERSTATNINGEN KAN IKKE OVERSTIGE
RETURBELØBET AF DEN KØBSPRIS, SOM DEN OPRINDELIGE KØBER HAR BETALT
Denne garanti gives i stedet for alle garantier, udtrykkelige eller underforståede. Denne garantis betingelser må ikke ændres af nogen
part, dennes efterfølgere og delegerede. Denne garanti giver dig specifikke lovmæssige rettigheder, og du kan også have andre
rettigheder, der kan variere fra land til land.
ADVARSEL
-BEMÆRK-
RESERVEDELE
2
1
DER KAN FIDNES FLERE OPLYSNINGER OM
RESERVEDELE PÅ
www.ridgid.eu/jobsitestorage
VARENR.
DELNR.
BESKRIVELSE:
1
34213
Sikkerhedskabel
2
34208
Elastisk kabel (1 par)
3
34218
Boltsæt (ikke vist)
Ridge Tool Europe, Interleuvenlaan 50, B-3001 Leuven www.ridgid.eu
07_sliding_DA.indd 42
30/04/2009 12:00:50

