Ridgid SLIDING LADDER RACK 250: Instruções de operação
Instruções de operação: Ridgid SLIDING LADDER RACK 250
Tools For The Professional
TM
SUPORTE DE ESCADA DESLIZANTE
Ridge Tool Company
25
PT
Instruções de operação
*
SUPORTE DE
ESCADA DESLIZANTE
MODELO 250
www.ridgid.eu/jobsitestorage
FERRAMENTAS NECESSÁRIAS
• Berbequim eléctrico
• Ponta Hex de 5/16”
• Chave de Parafusos Phillips
• Régua
• Chave inglesa de 7/16”
• Chave de caixa de 7/16”
• Chave com catraca
• Massa lubrificante de lítio
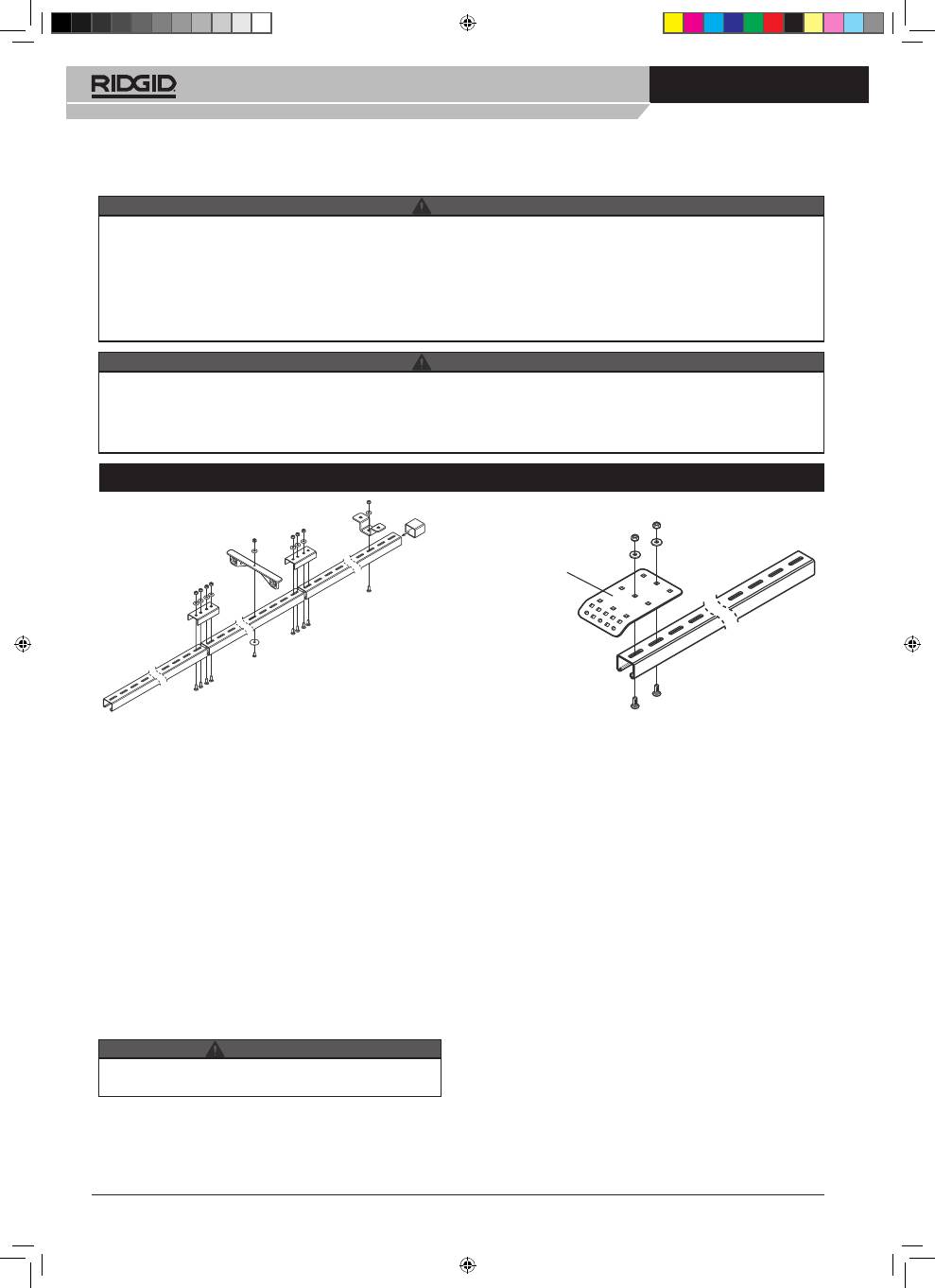
LISTA DE PEÇAS
Para reduzir o risco de ferimentos graves, leia e siga todas as instruções e avisos antes de instalar ou utilizar este produto.
A A RIDGID recomenda que o suporte de escada deslizante Modelo 250 seja instalado em carrinhas de serviço ou entregas
equipadas com uma antepara.
Uma antepara de divisão entre o compartimento de carga e do condutor/passageiros reduz a probabilidade de o material ser
projectado para a frente e causar ferimentos pessoais em caso de acidente com o veículo.
AVISO
-ATENÇÃO-
NOTA: Este produto destina-se apenas a ser utilizado dentro de uma carrinha,
reboque fechado ou vagoneta com cobertura metálica.
(1) Guia de cabo
(24) Arruela chata
de 1/4”
(1) Suporte frontal
(2) Suporte de ligação
(4) Porca do canal
de escora
(1) Parafuso de cabeça
arredondada,
1/4 x 20 x 7/8
(1) Trinco lateral
interior
(3) Suporte de
instalação
(2) Chapa de
encosto
(2) Cabo amortecedor
(1) Trinco lateral
exterior
(1)Tampa de vinilo
(1) Arruela 1.25 OD
(4) Arruela de pressão
(1) Trinco fixo
(8) Parafuso
auto-roscante 1/4 x 14
(4) Parafuso de
cabeça hexagonal,
1/4 x 20 x 1
(1) Suporte ajustável
(17)Parafuso de
pressão,1/4 x 20 x 3/4
(1) Suporte de
instalação traseiro
(20) Porca de bloqueio
em nylon, 1/4 x 20
(1) Suporte fixo
(1) Conjunto do cabo
de segurança.
(2) Parafuso de pres-
são, 1/4 x 20 x 1-1/2
(1) Braço ajustável
(3) Calha
05_sliding_PT.indd 25
27/04/2009 11:21:12
Tools For The Professional
TM
SUPORTE DE ESCADA DESLIZANTE
Ridge Tool Company
26
Para reduzir o risco de ferimentos graves causados pela queda da escada, ou por esta ser tornar um projéctil em caso de
travagens bruscas ou acidente com o veículo:
• Leia e siga todas as instruções e avisos antes de instalar ou utilizar este produto.
• O suporte de escada deslizante só deve ser utilizado para transportar escadas. Nunca modifique nem utilize o suporte de
escada deslizante para qualquer outro fim.
• O suporte deve ser instalado conforme as instruções.
• O suporte só deve ser montado numa carrinha, reboque fechado ou vagonete com cobertura metálica.
• O peso máximo da escada não deve exceder 36Kg
• Ao utilizar ferramentas eléctricas, siga os avisos e instruções do fabricantes da ferramentas.
• Proteja os olhos. Utilize óculos de segurança.
• Nunca instale o sistema de suporte de escada deslizante dentro de compartimentos de transporte de passageiros.
• Verifique se não existem cabos eléctricos nas áreas onde devem ser feitos buracos. Consulte os percursos da cablagem no
manual de manutenção do veículo.
INSTRUÇÕES DE INSTALAÇÃO
Passo 1: INSTALAÇÃO DO CONJUNTO DE CALHAS
Utilizando os suportes de ligação (2), ligue as secções das
calhas (3) utilizando oito parafusos de pressão de 1/4-20 x
3/4”, arruelas chatas de 1/4” e porcas de bloqueio em nylon
de 1/4-20.
NOTA:
As instruções de instalação abaixo foram escritas
para a instalação deste produto nas abas do tejadilho de
uma carrinha ou vagoneta. Este suporte pode ser montado
na parede lateral de um reboque, caso se pretenda, seguin-
do os mesmos passos descritos abaixo.
NOTA:
Dependendo do tamanho e tipo de veículo, o con-
junto de calhas pode ter de ser cortado para permitir uma
instalação correcta. Meça a distância no interior da carrinha
e corte as calhas montadas com o comprimento correcto.
Determine a localização de montagem das calhas no
interior do veículo (centrada, descentrada, lateral). Meça as
três primeiras localizações das abas na carrinha a partir da
traseira da carrinha, começando a partir do lado superior
interior da ombreira da porta traseira para a frente. Marque
essas medições.
• O conjunto de calhas deve ser fixo às três abas do teja-
dilho para ser instalado correctamente.
Fixe o suporte de instalação traseiro do conjunto de calhas
(extremidade oposta à extremidade cortada) utilizando dois
parafusos de pressão de 1/4-20 x 3/4”, arruelas chatas de
1/4” e porcas de bloqueio em nylon de 1/4-20. Ver Figura 1a.
A partir da parte posterior do suporte de instalação traseiro,
marque o conjunto de calhas nas localizações marcadas
nas abas. Fixe um suporte de instalação o suficiente para
que possa ser ajustado manualmente, centrado em cada
marca, utilizando um parafuso de pressão de 1/4-20 x 3/4”,
uma arruela chata de 1/4” e uma porca de bloqueio em
nylon de 1/4-20.
Coloque o conjunto de calhas em posição no veículo.
Determine se o suporte de instalação traseiro necessita
de ser modificado. Este pode ser desviado do conjunto de
calhas ou ter uma parte deslocada, ou o ângulo da flange
pode ser modificado para encostar à ombreira da porta, se
necessário. Ajuste as localizações do suporte de instalação
na conjunto de calhas, se necessário, para garantir que os
suporte de instalação podem ser fixados correctamente às
abas do tejadilho.
Remova o conjunto de calhas das abas do tejadilho e fixe
bem os suportes de instalação.
Coloque o conjunto de calhas de volta em posição e fixe-o
às abas do tejadilho e à ombreira da porta traseira com dois
parafusos auto-roscantes de 1/4-14 x 3/4” e arruelas chatas
de 1/4” por suporte.
Fixe a guia de cabo aproximadamente 75 cm a partir
da parte posterior do conjunto de calhas, utilizando um
parafuso de cabeça arredondada de 1/4-20 x 7/8”, uma
arruela 1-1/4” OD, uma arruela chata de 1/4” e uma porca
de bloqueio em nylon de 1/4-20. Se necessário, ajuste o
comprimento de 75 cm para evitar obstruções.
Figura 1
Figura 1a
Suporte de
Instalação
Traseiro
AVISO
AVISO
ATENÇÃO
05_sliding_PT.indd 26
27/04/2009 11:21:12
Tools For The Professional
TM
SUPORTE DE ESCADA DESLIZANTE
Ridge Tool Company
27
Figura 2
Passo 2: INSTALAÇÃO DO SUPORTE FIXO
Meça a partir da base da escada até ao degrau inferior.
A partir da parte posterior do conjunto de calhas, meça a
mesma distância e marque a calha. Esta será a localização
aproximada do suporte fixo. Instale o suporte fixo com as
ranhuras voltadas para a frente do veículo. Permita o ajuste
de posição com fixadores conforme ilustrado na Figura 2.
Passo 3: INSTALAÇÃO DO SUPORTE DESLIZANTE
Introduza o suporte deslizante no conjunto de calhas com
a parte com ranhuras voltada para a traseira do veículo.
Instale a tampa de vinilo sobre a extremidade cortada do
conjunto de calhas.
Passo 4: INSTALAÇÃO DO CONJUNTO DE
SUPORTE FRONTAL
NOTA:
Se estiver a instalar este suporte de escada desli-
zante à parede lateral de um reboque, siga para o Passo
10 para o conjunto de trinco lateral.
Com dois parafusos de pressão de 1/4-20 x 7/8”, arruelas
chatas de 1/4” e porcas de bloqueio em nylon de 1/4- 20,
fixe o suporte frontal ao braço extensível. Fixe ao suporte
deslizante. Com um parafuso de pressão de 1/4-20 x 1/-1”,
uma arruela chata de 1/4” e uma porca de bloqueio em
nylon de 1/4-20, ajuste a profundidade do suporte para ficar
de acordo com a altura da sua escada. Aperte o parafuso
de pressão completamente (Figura 3).
Não aperte demasiado os fixadores.
Passo 5: TRINCO FIXO
Com um parafuso de pressão de 1/4-20 x 1/-2”, uma
arruela chata de 1/4” e uma porca de bloqueio em nylon de
1/4- 20, fixe o trinco fixo e o cabo de segurança ao suporte
fixo para ajustar profundidade do suporte para encaixar no
degrau inferior da escada. Aperte o parafuso de pressão
completamente (Figura 4).
Passo 6: AJUSTAR AS POSIÇÕES DE MONTAGEM
Coloque a escada no suporte frontal e faça-a deslizar para
a frente para a posição arrumada. Coloque o degrau infe-
rior da escada no trinco fixo. Esta será a posição final do
conjunto do trinco fixo. Remova cuidadosamente a escada
para não mover o trinco fixo e acabe de fixar o conjunto do
trinco fixo no local.
Passo 7: INSTALAÇÃO DO CABO AMORTECEDOR
• Deslize os cabos amortecedores através dos orifícios para
os cabos amortecedores no suporte ajustável. Certifique-
se de que o aro se encontra na traseira da unidade. Em
seguida, deslize os cabos através dos orifícios de guia dos
cabos amortecedores e através dos orifícios dos cabos
amortecedores do suporte fixo.
• O cabo de segurança deve ser fixado de acordo com
as instruções para que a escada fique correctamente
presa ao suporte e ao veículo.
• Não aperte demasiado os fixadores.
• O conjunto do trinco fixo não está completamente fixo
neste momento. Ao colocar a escada em posição, esta
pode cair.
• Não deixe que ninguém se posicione directamente
debaixo ou ao lado da escada durante este passo da
instalação, excepto para ajudar na montagem.
• Os cabos elásticos podem soltar-se e atingi-lo nos
olhos. Não estique demasiado. Mantenha o corpo e a
cara afastados.
• Coloque a escada no suporte e deslize-a para a frente
segurando no cabo amortecedor. Quando a escada estiver
na posição de arrumada, puxe o cabo amortecedor com fir-
meza e faça-o deslizar para a ranhura de bloqueio na parte
traseira do suporte fixo (veja a figura 5).
ATENÇÃO
AVISO
ATENÇÃO
AVISO
Suporte fixo
Arruela chata de 1/4”
Arruela de pressão
1/4-20 x 1
Parafuso de
Cabeça hexagonal
Porca do
canal de
escora
Suporte
ajustável
Braço ajustável
Suporte frontal
Figura 3
Figura 4
Trinco fixo
Figura 5
Cabo de
segurança
05_sliding_PT.indd 27
27/04/2009 11:21:13
Tools For The Professional
TM
SUPORTE DE ESCADA DESLIZANTE
Ridge Tool Company
28
Os cabos elásticos podem soltar-se e atingi-lo nos olhos. Não estique demasiado. Mantenha o corpo e a cara afastados.
A Chapa de Encosto Frontal deve ser instalada para evitar que o trinco deslizante se solte durante uma travagem brusca ou
em caso de acidente com o veículo.
Antes de carregar a escada no suporte:
1. A RIDGID recomenda que o suporte de escada deslizante Modelo 250 seja instalado em carrinhas de serviço ou entre-
gas equipadas com uma antepara. Uma antepara de divisória entre o compartimento de carga e do condutor/passageiros
reduz a probabilidade de o material ser projectado para a frente e causar ferimentos pessoais em caso de acidente com
o veículo.
2. O suporte de escada deslizante foi concebido para ser carregado a partir da traseira de uma carrinha de carga ou de
uma vagonete com cobertura metálica.
3. Antes de carregar uma escada, certifique-se de que os cabos elásticos e o suporte de encosto estão instalados e posi-
cionados correctamente. Veja os passos de instalação 7 e 8 nas páginas 3 e 4. Para carregar uma escada de tamanho
diferente, o suporte de encosto e os cabos elásticos têm de ser ajustados, ou a escada pode cair do suporte.
4. Inspeccione as peças do suporte de escada antes da utilização. Se qualquer peça estiver partida, dobrada ou danificada
de qualquer forma, não utilize o suporte. Consulte a secção Manutenção para obter informações sobre as peças sobres-
selentes.
INSTRUÇÕES DE UTILIZAÇÃO
Figura 6
AVISO
Os cabos elásticos devem ser ajustados correctamente. Se a tensão dos cabos não for a correcta para o comprimento da
escada, esta pode cair.
Passo 8: INSTALAR AS CHAPAS DE ENCOSTO À FRENTE E ATRÁS
A posição recomendada para a chapa de encosto à frente é aproximadamente 2,5 cm à frente do suporte deslizante na po-
sição arrumada. A posição da chapa de encosto deve dar folga suficiente para que a escada deslize para a frente de modo a
que o degrau inferior fique no trinco ajustável e para permitir a remoção da escada.
Passo 9: LUBRIFICAÇÃO DA CALHA
Aplique uma quantidade generosa de massa lubrificante de
lítio no interior da calha para permitir uma deslocação suave do
suporte frontal deslizante.
Instalação Opcional
Passo 10: INSTRUÇÕES DE INSTALAÇÃO PARA
MONTAGEM LATERAL
(APENAS)
Instale os suportes de trinco lateral no suporte ajustável com dois
parafusos de pressão de 1/4-20 x 7/8”, arruelas chatas de 1/4” e
porcas de bloqueio em nylon 1/4-20 conforme ilustrado na Figura
6. Instale o conjunto de calhas no lado do reboque fechado.
• Inspeccione o suporte de escada deslizante antes de cada utilização. Não utilize o suporte se este estiver danificado ou
deteriorado de qualquer forma.
• Não coloque uma escada mais curta num suporte ajustado para uma escada mais comprida. Ajuste sempre a chapa de
encosto e os cabos elásticos para o comprimento da escada a colocar no suporte.
• Colocar ou retirar a escada no suporte de escada deslizante de forma incorrecta incorrecto pode levar à queda da escada
e a causar ferimentos pessoais graves ou danos materiais.
• Nunca opere o suporte com pessoas sentadas por baixo ou perto do suporte e da escada.
• Tenha cuidado ao colocar a escada no suporte de escada deslizante se estiver sobre uma superfície escorregadia ou
gelada.
• Não coloque nem retire a escada com o veículo em movimento.
• Certifique-se de que tem tensão suficiente no cabo amortecedor para manter a escada no lugar. Faça um nó duplo na ponta
do cabo amortecedor e introduza os cabos nas ranhuras no suporte fixo. Coloque o excesso na parte de trás do suporte
fixo (veja a figura 5).
AVISO
AVISO
A chapa de encosto traseira deve ser colocada suficientemente para a frente para limitar o deslocamento do suporte deslizan-
te, permitindo que seja fácil remover a escada do conjunto de suporte frontal sem bater no trinco fixo.
AVISO
05_sliding_PT.indd 28
27/04/2009 11:21:13
Tools For The Professional
TM
SUPORTE DE ESCADA DESLIZANTE
Ridge Tool Company
29
• Fixe sempre o cabo de segurança em redor do degrau da escada. O cabo de segurança reduz o risco da escada se soltar
em caso de acidente do veículo.
• Inspeccione a escada antes de cada utilização. A escada pode ser danificada através de choques e vibrações do veículo.
Os ressaltos e os movimentos laterais podem causar desgaste e enfraquecer a escada. Utilizar uma escada danificada
pode causar o respectivo colapso da estrutura e ferimentos graves ou mesmo a morte.
• Mantenha as mãos afastadas da área onde a escada encaixa no suporte.
Carregar a escada no suporte:
1. Assegure-se de que a escada está limpa e seca.
2. Abra as portas traseiras da carrinha para aceder ao
suporte.
3. Puxe os cabos elásticos para mover o trinco deslizante
para trás.
4. Posicione a escada com o lado dos degraus para baixo
(lado sem degraus para cima).
5. Levante o cimo da escada e coloque-o no suporte frontal.
Vide figura 7.
6. Passando para a base da escada, levante e empurre
para a frente, fazendo com que o suporte deslizante se
mova para a frente e com que os cabos elásticos fiquem
esticados. Pare se os cabos elásticos ficarem enrolados
na escada. Endireite os cabos e continue.
7. Pegando na escada com as duas mãos, empurre-a e
levante-a de modo a que a parte de baixo do degrau
Retirar a escada do suporte:
1. Para retirar a escada do suporte, siga o processo inverso
da colocação, seguindo estes passos.
2. Certifique-se de que tem os pés bem fixos e o caminho
atrás do veículo desimpedido para sair com a escada.
3. Verifique se a escada não se deslocou no suporte e
continua bem fixa no trinco fixo.
4. Remova o cabo de segurança do degrau.
Figura 7
Figura 8
inferior fique alinhada com a face do trinco fixo. Alivie
a pressão para a frente e deixe que os cabos elásticos
empurrem o degrau contra o trinco fixo.
Nota:
A face do trinco fixo foi concebida para encaixar
em diversos tipos de degraus. Se o degrau inferior
da escada não encaixar bem no trinco fixo, tente
reposicionar o degrau. Se necessitar de ajustar a
posição de montagem do trinco fixo, consulte as
instruções de instalação no Passo4 na página 3.
8. Assegure-se de que a escada está bem encaixada no
trinco fixo.
9. Passe o cabo de segurança em volta do degrau inferior
e prenda-o como ilustrado na Figura 8. Prenda sempre
o cabo de segurança em volta de um degrau. As outras
partes da escada podem não ter força suficiente para
segurar a escada em caso de acidente do veículo.
5. Empurre a escada para a frente e para baixo para a de-
sencaixar o degrau da face do trinco fixo. Esteja prepara-
do para a pressão dos cabos elásticos.
6. Afaste-se do veículo até que o cimo da escada tenha
deslizado para junto do trinco fixo.
7. Para escadas compridas ou pesadas, coloque a parte
inferior da escada no chão, coloque-se ao lado da escada
e levante o topo do suporte frontal.
• Não opere o veículo sem que o cabo de segurança esteja colocado. O cabo de segurança reduz o risco da escada se
soltar ou se transformar num projéctil em caso de acidente do veículo.
• Nunca permita que pessoas se sentem debaixo ou perto da escada montada no suporte quando o veículo estiver em
movimento.
• Se o veículo for envolvido num acidente ou tiver de fazer uma travagem brusca, PARE imediatamente e certifique-se de
que a escada não saiu do sítio no suporte.
• A passagem por terrenos desnivelados ou por lombas pode causar a queda da escada. Pode ser necessário fixar melhor
a escada para garantir que esta se mantém no sítio.
AVISO
AVISO
05_sliding_PT.indd 29
27/04/2009 11:21:13
Tools For The Professional
TM
SUPORTE DE ESCADA DESLIZANTE
Ridge Tool Company
30
Efectue uma inspecção periódica do suporte de escada deslizante e verifique o desgaste, se existem danos ou peças soltas.
Repare ou substitua, conforme necessário.
Aplique uma quantidade generosa de massa lubrificante de lítio no interior da calha para permitir uma deslocação suave do
suporte frontal deslizante.
Verifique se os cabos elásticos estão danificados ou gastos. Se a cobertura de tecido estiver desfiada, o cabo pode partir-se
inesperadamente. Substitua os cabos antes de utilizar o suporte.
Verifique se o cabo de segurança está danificado ou gasto. Verifique se há fios partidos. Se houver, substitua o cabo antes de
utilizar o suporte.
MANUTENÇÃO GERAL
• Para reduzir o risco de ferimentos pessoais:
• Não utilize o suporte de escada com peças em falta ou danificadas.
• Verifique o desgaste dos cabos elásticos. Se a cobertura de tecido estiver desfiada, o cabo pode partir-se inesperadamen-
te. Não utilize o suporte.
• Mantenha a calha lubrificada.
Qualquer modificação ou utilização não prevista deste produto invalida imediatamente todas as garantias do fabricante.
O fabricante não assume a responsabilidade por ferimentos ou danos materiais resultantes de qualquer modificação ou
utilização não prevista deste produto.
GARANTIA LIMITADA
A presente GARANTIA LIMITADA é dada pela RIDGID on-site storage equipment, 420 E. Terra. Cotta Ave., Crystal Lake, Illinois ao
comprador original dos produtos RIDGID
(r)
.
A RIDGID on-site storage equipment GARANTE QUE OS PRODUTOS RIGID NÃO APRESENTAM DEFEITOS DE MATERIAL OU DE
MÃO-DE-OBRA POR UM PERÍODO DE TRÊS (3) ANOS A PARTIR DA DATA DE AQUISIÇÃO PELO COMPRADOR ORIGINAL. ESTA
GARANTIA É ESPECÍFICA E ESTE EQUIPAMENTO DE ARMAZENAMENTO. AS GARANTIAS DE OUTROS PRODUTOS RIDGID
PODEM VARIAR
Se, antes da expiração do período de garantia, o comprador detectar que o produto da RIGID não cumpre a Garantia, o comprador
deve contactar a RIGID on-site storage equipment para combinar uma inspecção do produto. Caso a RIGID determine que existe
um defeito, a RIDGID, à sua discrição e custos, reparará ou substituirá qualquer peça defeituosa. Todas as reparações ao abrigo da
garantia serão realizadas por um representante autorizado da RIDGID ou por uma empresa de serviço aprovada pela RIDGID.
Esta Garantia não se aplica se o produto da RIDGID tiver sido sujeito a abuso, serviço ou manuseamento anormais, manutenção
desadequada ou alterações feitas por qualquer outra pessoa além de um representante da RIDGID ou de uma empresa de serviços
aprovada pela RIDGID.
A GARANTIA IMPRESSA ACIMA É A ÚNICA GARANTIA APLICÁVEL A ESTA COMPRA. TODAS AS OUTRAS GARANTIAS,
EXPRESSAS OU IMPLÍCITAS, INCLUINDO, MAS NÃO LIMITADO A, GARANTIAS IMPLÍCITAS DE EXPLORABILIDADE E
ADEQUAÇÃO PARA DETERMINADO OBJECTIVO SÃO POR ESTE MEIO NEGADAS.
A RIDGID on-site storage equipment NÃO É RESPONSÁVEL POR QUAISQUER DANOS INCIDENTAIS OU INDIRECTOS
DERIVADOS DE QUALQUER VIOLAÇÃO DESTA GARANTIA, NEM ESSES DANOS DEVERÃO EXCEDER O VALOR DE RETORNO
DO PREÇO DE COMPRA PAGO PELO COMPRADOR ORIGINAL
Esta Garantia substitui todas as garantias expressas ou implícitas. Os termos desta Garantia não deverão ser alterados por qualquer
parte, seus assistentes e cessionários. Esta Garantia concede direitos legais específicos e também poderá implicar outros direitos, que
variam conforme o estado.
AVISO
-NOTA-
PEÇAS SOBRESSELENTES
2
1
PARA OBTER PEÇAS SOBRESSELENTES, VISITE
www.ridgid.eu/jobsitestorage
N.º DE ITEM
N.º DE PEÇA
DESCRIÇÃO
1
34213
Cabo de segurança
2
34208
Cabo amortecedor (1 par)
3
34218
Conjunto de fixação
(não ilustrado)
Ridge Tool Europe, Interleuvenlaan 50, B-3001 Leuven www.ridgid.eu
05_sliding_PT.indd 30
27/04/2009 11:21:13

