Ridgid SLIDING LADDER RACK 250: Çalıştırma Talimatları
Çalıştırma Talimatları: Ridgid SLIDING LADDER RACK 250
Tools For The Professional
TM
SÜRGÜLÜ MERDİVEN ASKISI
Ridge Tool Company
67
TR
Çalıştırma Talimatları
SÜRGÜLÜ MERDİVEN RAFI
MODEL 250
www.ridgid.eu/jobsitestorage
GEREKLİ ALETLER
• Elektrikli Matkap
• 5/16” Altıgen Matkap Ucu
• Yıldız Tornavida
• Cetvel
• 7/16” Anahtar
• 7/16” Uzun Lokma
• Cırcır Anahtar
• Lityumlu Gres
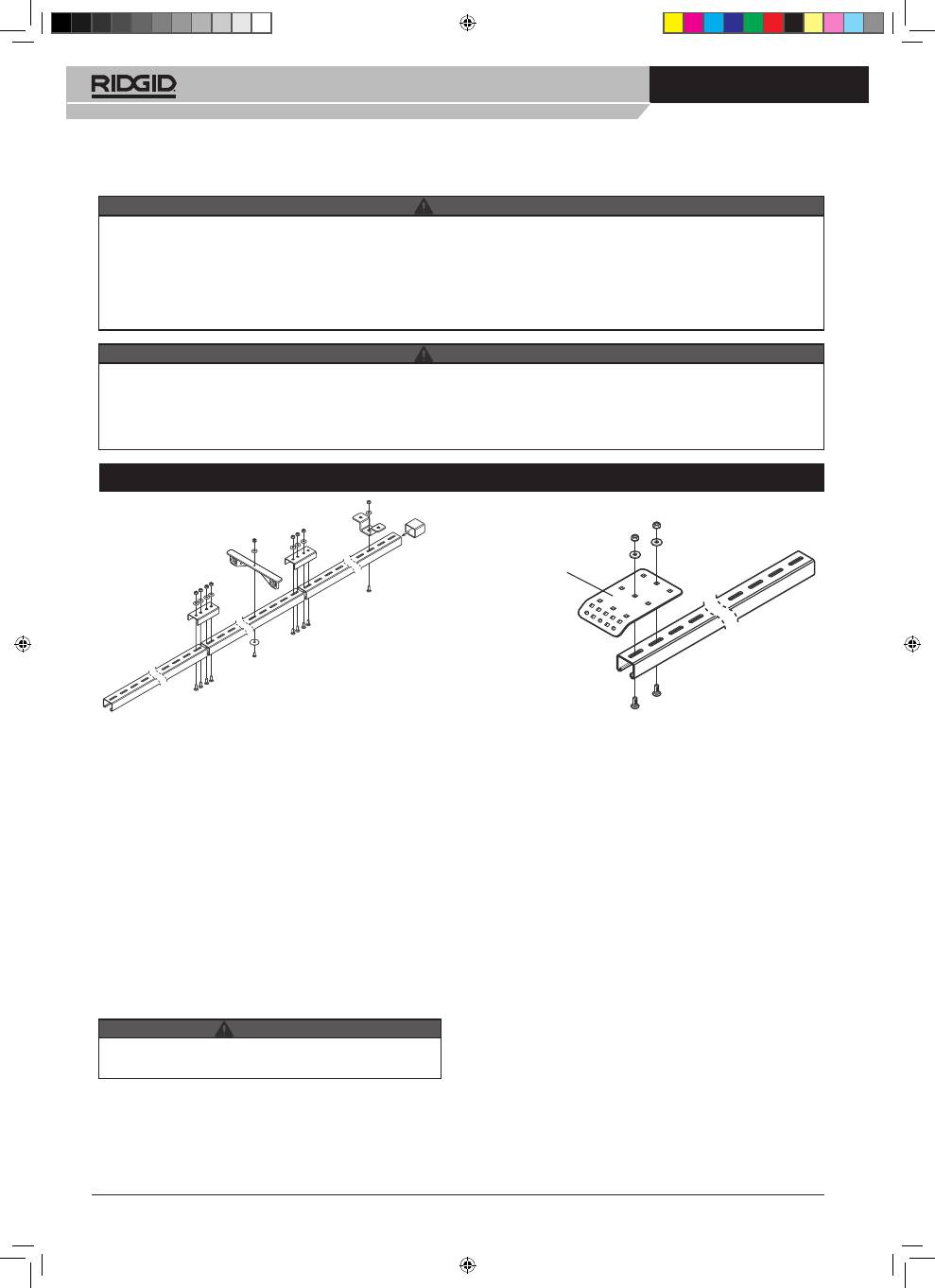
PARÇA LİSTESİ
Ciddi kişisel yaralanma riskini azaltmak için bu ürünü kurmadan veya kullanmadan önce tüm talimat ve uyarıları okuyun ve
uygulayın.
RIDGID, Model 250 sürgülü merdiven askısının bölmeli servis ve dağıtım minibüslerine kurulmasını tavsiye eder.
Kargo bölümü ile sürücü/yolcu bölümü arasında yer alan bir bölme ayırıcısı, kaza esnasında malzemelerin öne doğru gelip
kişisel yaralanmalara sebep olması olasılığını azaltır.
UYARI
-DİKKAT-
DİKKAT: Bu ürün yalnızca minibüs, kapalı römork veya metal kapaklı kamyonet içerisinde kullanılmak üzere tasarlanmıştır.
(1) Kablo
kılavuzu
(24)1/4” Düz Rondela
(1) Ön kızak
(2) Bağlantı dirseği
(4) Kanal destek
somunu
(1) Yassı başlı makine
vidası, 1/4 x 20 x 7/8
(1) İç kenar
kavrayıcısı
(3) Montaj dirseği
(2) Tespit plakası
(2) Darbe teli
(1) Dış kenar
kavrayıcısı
(1)Vinil kapak
(1) 1,25 (Dış Çap)
Rondela
(4) Tespit rondelası
(1) Sabit kavrayıcı
(8) 1/4 x 14 matkap
uçlu vida
(4) Altıgen kapak
vidası,1/4 x 20 x 1
(1) Ayarlanabilir
tutucu
(17) Ağaç cıvatası,
1/4 x 20 x 3/4
(1) Arka montaj
dirseği
(20) Naylon kilit
somunu, 1/4 x 20
(1) Sabit tutucu
(1) Güvenlik kablosu
tertibatı
(2) Ağaç cıvatası,
1/4 x 20 x 1-1/2
(1) Ayarlanabilir Kol
(3) Ray
12_sliding_TU.indd 67
30/04/2009 14:26:19
Tools For The Professional
TM
SÜRGÜLÜ MERDİVEN ASKISI
Ridge Tool Company
68
Sert fren nedeniyle veya kazadan dolayı merdivenin düşmesi ya da ileriye doğru fırlamasını önlemek için şunları yapın:
• Ürünü kurmadan veya kullanmadan önce tüm talimatları ve uyarıları dikkatlice okuyun.
• Sürgülü merdiven askısı sadece merdivenleri taşımak için kullanılmalıdır. Sürgülü merdiven askısını başka bir amaçla
kullanmayın veya üzerinde değişiklik yapmayın.
• Askı, talimatlara göre kurulmalıdır.
• Sürgülü merdiven askısını sadece minibüs, kapalı römork veya metal kapaklı kamyonete takın.
• Merdivenin maksimum ağırlığı 36 kg.ı geçmemelidir.
• Elektrikli aletleri kullanırken, üreticinin uyarılarına ve talimatlarına uyun.
• Gözlerinizi koruyun. Koruyucu gözlükler kullanın.
• Sürgülü merdiven askısı sistemini asla yolcu bölümlerine kurmayın.
• Delik deleceğiniz bölgelerdeki elektrik kablolarını kontrol edin. Kabloların geçtiği yerleri tespit etmek için aracın servis el
kitabına bakın.
KURULUM TALİMATLARI
1. Adım: RAY TERTİBATININ KURULUMU
Bağlantı dirseklerini (2), sekiz adet 1/4-20 x 3/4” ağaç cıva-
tasını, 1/4” düz rondelaları ve 1/4-20 naylon kilit somunlarını
kullanarak ray bölmesini birleştirin.
DİKKAT:
Aşağıdaki kurulum talimatları, bu ürünün minibü-
sün tavan iskeletine veya kamyonet kapağına kurulumu-
nu anlatmak için yazılmıştır. İstenirse aşağıda açıklanan
adımları uygulayarak bu askı bir römorkun yan duvarlarına
takılabilir.
DİKKAT:
Aracınızın büyüklüğüne ve türüne bağlı olarak, ray
tertibatının uygun uzunlukta kesilmesi gerekebilir. Minibüsün
içindeki uzunluğu ölçün ve ray tertibatını uygun uzunlukta
kesin.
Aracın içinde rayın takılacağı yeri tespit edin (merkez, mer-
kezin dışı, yan). Arka kapının üst iç pervazından başlayıp
ileri doğru giderek, minibüsün arkasından itibaren ilk üç
iskeletin yerini ölçün. Bu uzunlukları kaydedin.
• Uygun kurulum için ray tertibatı her üç iskelete de takıl-
malıdır.
İki adet 1/4-20 x 3/4” ağaç cıvatasını, 1/4” düz rondelaları
ve 1/4-20 naylon kilit somunlarını kullanarak, arka montaj
direğini ray tertibatının arka kısmına (kesilmiş ucun karşısın-
daki uca) bağlayın. Bkz. Şekil 1a.
Ray tertibatını, arka montaj dirseğinin arkasından kaydetti-
ğiniz iskelet bölgesine işaretleyin. Tüm işaretleri ortalayarak
ve bir adet 1/4-20 x 3/4” ağaç cıvatası, 1/4” düz rondela ve
her biri için bir adet 1/4-20 naylon kilit somunu kullanarak
montaj dirseğini elle ayarlanabilecek kadar sıkın.
Ray tertibatını aracın içerisindeki yerine yerleştirin. Arka
montaj desteğinin değiştirilmesinin gerekip gerekmediğini
tespit edin. Kapı pervazıyla aynı seviyeye gelmek için ray
tertibatından kayması veya bir kısmının çıkması ya da bağ-
lantı açısının değişmesi gerekebilir. Gerekiyorsa, montaj
dirseklerinin tavan iskeletine uygun şekilde bağlandığından
emin olmak için montaj dirseklerinin ray tertibatı üzerindeki
yerlerini ayarlayın.
Ray tertibatını tavan iskeletlerinden çıkarın ve montaj dir-
seklerini iyice sıkın.
Ray tertibatını tekrar yerine yerleştirin ve dirsek başına iki
adet 1/4-14 x 3/4” matkap uçlu vida ve 1/4” düz rondela
kullanarak tavan iskeletlerine ve arka kapının pervazına
sabitleyin.
Kablo kılavuzunu bir adet 1/4-20 x 7/8” yassı başlı makine
vidası, 1-1/4” (dış çap) rondela, 1/4” düz rondela ve 1/4-20
naylon kilit somunu kullanarak, arka kısmından yaklaşık
30” olacak şekilde ray tertibatına sabitleyin. Herhangi bir
aksaklığa sebep olmaması için gerekiyorsa 30” uzunluğu
değiştirin.
Şekil 1
Şekil 1a
Arka Montaj
Desteği
UYARI
UYARI
DİKKAT
12_sliding_TU.indd 68
30/04/2009 14:26:19
Tools For The Professional
TM
SÜRGÜLÜ MERDİVEN ASKISI
Ridge Tool Company
69
Şekil 2
2. Adım: SABİT TUTUCUNUN KURULUMU
Merdivenin ayağından en üst basamağına kadar ölçün. Ray
tertibatının arka kısmından aynı uzunluğu ölçün ve rayın
üzerine işaretleyin. Bu, sabit tutucunun yaklaşık olarak yeri-
ne gösterecektir. Sabit tutucuyu, delikleri aracın ön kısmını
gösterecek şekilde yerleştirin. Şekil 2’de gösterilen şekilde
konumunun ayarlanması için bağlantı elemanlarını kullanın.
3. Adım: SÜRGÜLÜ TUTUCUNUN KURULUMU
Sürgülü tutucuyu, delikli kısmı aracın arka kısmını göste-
recek şekilde ray tertibatına yerleştirin. Vinil kapağı, ray
tertibatının kesilmiş ucuna yerleştirin.
4. Adım: ÖN KIZAK TERTİBATININ KURULUMU
DİKKAT:
Sürgülü merdiven askısını bir römorkun yan duva-
rına yerleştiriyorsanız, kenar kavrayıcısı tertibatındaki 10.
Adım’a geçin.
Ön kızağı iki adet 1/4-20 x 7/8” ağaç cıvatası, 1/4” düz
rondelalar ve 1/4- 20 naylon kilit somunları kullanarak ge-
nişleme koluna sabitleyin. Sürgülü tutucuyu takın. Bir adet
1/4-20 x 1-1/2” ağaç cıvatası, 1/4” düz rondela ve 1/4-20
naylon kilit somunu ile kızağın derinliğini merdiveninize
uyacak şekilde ayarlayın. Ağaç cıvatasını tamamen sıkın.
(Şekil 3).
Bağlantı elemanlarını aşırı sıkılamayın.
5. Adım: SABİT KAVRAYICI
Bir adet 1/4-20 x 1-1/2” ağaç cıvatası, 1/4” düz rondela ve
1/4- 20 naylon kilit somunu ile sabit kavrayıcıyı ve güvenlik
kablosunu merdivenin alt basamağına uygun uzunlukta
ayarlanmasını sağlayacak şekilde sabit tutucuya bağlayın.
Ağaç cıvatasını tamamen sıkın. (Şekil 4).
6. Adım: YERLEŞTİRME KONUMLARININ
AYARLANMASI
Merdiveni kızağın önüne yerleştirin ve yerleşeceği yere
kaydırın. Merdivenin alt basamağını sabit kavrayıcıya yer-
leştirin. Bu, sabit kavrayıcı tertibatının son konumu olacaktır.
Merdiveni, sabit kavrayıcı yerinden oynatmayacak şekilde
kenara alın ve sabit kavrayıcı tertibatını yerine sabitlemeyi
bitirin.
7. Adım: DARBE KABLOSUNUN YERLEŞTİRİLMESİ
• Darbe kablolarını, ayarlanabilir tutucunun darbe kablosu
deliklerine kaydırın. Halkanın ünitenin arkasında olduğun-
dan emin olun. Daha sonra kabloları darbe kablosu delikleri-
ne ve sabit tutucunun darbe kablosu deliklerine itin.
• Merdivenin askıya ve araca uygun şekilde sabitlenmesi
için, güvenlik kablosu, talimatlara göre takılmalıdır.
• Bağlantı elemanlarını aşırı sıkılamayın.
• Bu noktada, Sabit Kavrayıcı tertibatı tamamen sabitlen-
miş değildir. Merdiven yerine yerleştirilirken düşebilir.
• Kurulum aşamasında yerleştirmeye yardımcı olması
dışında, kimsenin merdivenin altında veya yanında
durmasına izin vermeyin.
• Elastik kablolar geri esneyip gözünüze çarpabilir. Aşırı
germeyin. Vücudunuzu ve yüzünüzü uzak tutun.
• Darbe kablosunu tutarken merdiveni askıya yerleştirin ve
ileriye doğru kaydırın. Merdiven, yerleşeceği konumdaysa,
darbe kablosunu sıkıca çekin ve sabit tutucunun arka kıs-
mındaki tutma boşluğuna kaydırın (bkz. şekil 5).
DİKKAT
UYARI
DİKKAT
UYARI
Sabit Tutucu
1/4” Düz Rondela
Tespit Rondelası
1/4-20 x 1
Altıgen Kapak Vidası
Kanal
Destek
Somunu
Ayarlanabilir
tutucu
Ayarlanabilir Kol
Ön Kızak
Şekil 3
Şekil 4
Sabit Kavrayıcı
Şekil 5
Güvenlik
Kablosu
12_sliding_TU.indd 69
30/04/2009 14:26:20
Tools For The Professional
TM
SÜRGÜLÜ MERDİVEN ASKISI
Ridge Tool Company
70
Elastik kablolar geri esneyip gözünüze çarpabilir. Aşırı germeyin. Vücudunuzu ve yüzünüzü uzak tutun.
Sürgülü kavrayıcının sert fren veya kaza esnasında sürüklenmesini önlemek için ön tespit plakası takılmalıdır.
Merdiveni askıya yerleştirmeden önce:
1. RIDGID Model 250 sürgülü merdiven askısının bölmeli servis ve dağıtım minibüslerine kurulmasını tavsiye eder. Kargo
bölümü ile sürücü/yolcu bölümünün arasında bulunan bir bölme ayırıcısı bir kaza esnasında malzemelerin öne doğru
gelip kişisel yaralanmalara sebep olması olasılığını azaltır.
2. Sürgülü merdiven askısı, kargo minibüsünün veya metal kapaklı bir kamyonetin arka kısmından kullanılmak üzere tasar-
lanmıştır.
3. Merdiveni yerleştirmeden önce, elastik kabloların ve durdurucu kelepçenin takılı ve doğru yerde olduğundan emin olun.
Sayfa 3 ve 4’teki 7. ve 8. kurulum adımlarına bakın. Farklı boydaki bir merdiven yerleştirilecekse, durdurucu dirsek ve
elastik kablo ayarlanmalıdır, yoksa merdiven askıdan düşer.
4. Kullanmadan önce merdiven askısının parçalarını inceleyin. Herhangi bir parçası bozuksa, bükülmüş veya hasar görmüş-
se askıyı kullanmayın. Yedek parçalar için Bakım bölümüne bakın.
KULLANIM TALİMATLARI
Şekil 6
UYARI
Elastik kablolar uygun şekilde ayarlanmalıdır. Kablo gerginliğinin merdivenin boyuna göre ayarlanmaması merdivenin düşme-
sine sebep olabilir.
8. Adım: İLERİ VE GERİ DURDURUCULARIN YERLEŞTİRİLMESİ
İleri durdurucu için tavsiye edilen yer, merdivenin yerleşeceği konumdayken sürgülü tutucunun 1” önüdür. Durdurucu, merdi-
venin alt basamağını ayarlanabilir kavrayıcının üzerine yerleştirmek ve geri almak üzere kaydırmaya izin verecek konumda
olmalıdır.
9. Adım: RAYIN YAĞLANMASI
Kayan ön sürgünün kolayca hareket etmesini sağlamak için
bol miktarda lityumlu gresi rayın içerisine sürün.
İsteğe Bağlı Kurulum
10. Adım: YANA MONTAJ KURULUM
TALİMATLARI
(SADECE)
Dış kenar kavrayıcısı dirseklerini 1/4-20 x 7/8” ağaç cıva-
taları, 1/4” düz rondelalar ve 1/4-20 naylon kilit somunları
ile Şekil 6. Ray tertibatının kapalı bir römorkun yan kısmına
yerleştirilmesi’nde gösterilen şekilde ayarlanabilir tutucuya
yerleştirin.
• Her kullanımdan önce sürgülü merdiven askısını inceleyin. Herhangi bir şekilde bozulmuşsa veya hasar görmüşse, askıyı
kullanmayın.
• Uzun merdiven için ayarlanmış askıya kısa merdiven yerleştirmeyin. Tespit plakası ve elastik kabloları her zaman yerleştiri-
lecek merdivenin uzunluğuna göre ayarlayın.
• Sürgülü merdiven askısının yanlış şekilde yüklenmesi ve boşaltılması merdivenin düşmesine, önemli yaralanmalara ve
hasarlara yol açabilir.
• Askıyı, askı ve merdivenin altında veya yanında birileri otururken asla kullanmayın.
• Kaygan ve buzlu zeminde merdiveni sürgülü merdiven askısına yerleştirirken dikkatli olun.
• Araç hareket ederken asla merdiveni askıdan almayın ve askıya yerleştirmeyin.
• Darbe kablosunda, merdiveni güvenli şekilde yerinde tutacak kadar gerginlik olduğundan emin olun. Bu noktada, darbe
kablosunun ucuna çift düğüm atın ve kabloları sabit tutucudaki yarıklara sokun. Fazlalıkları, sabit tutucunun arkasına sokun
(bkz. şekil 5).
UYARI
UYARI
Arka durdurucu, sürgülü tutucunun hareketini sınırlayacak ve merdiveni sabit kavrayıcıya çarpmadan ön kızak tertibatından
kolaylıkla alabileceğiniz kadar yeterli bir uzaklığa yerleştirilmelidir.
UYARI
12_sliding_TU.indd 70
30/04/2009 14:26:20
Tools For The Professional
TM
SÜRGÜLÜ MERDİVEN ASKISI
Ridge Tool Company
71
• Güvenlik kablosu daima bir basamağa takılı olsun. Güvenlik kablosu, merdivenin bir kaza esnasında serbest kalması
riskini azaltır.
• Her kullanımdan önce merdiveni inceleyin. Merdiven yol sarsıntısından veya aracın titreşiminden zarar görebilir. Merdi-
venin sekmesi ve bir yandan diğer yana hareket etmesi aşınmasına ve zayıflamasına sebep olabilir. Hasarlı bir merdiven
kullanmak, merdivenin aşağı çökmesine, ciddi yaralanmalara ve ölüme sebep olabilir.
• Ellerinizi merdivenin askıya bağlandığı yerlerden uzakta tutun.
Merdiveni askıya yerleştirme:
1. Merdivenin temiz ve kuru olduğundan emin olun.
2. Askıya ulaşmak için minibüsün arka kapılarını ve kamyo-
netin arka kısmını açın.
3. Sürgülü kavrayıcıyı geriye doğru hareket ettirebilmek için
elastik kabloları çekin.
4. Merdiveni yukarıya doğru ayarlayın (aşağıya doğru değil).
5. Merdivenin üst kısmını kaldırın ve ön kızağa yerleştirin.
Bkz. Şekil 7.
6. Merdivenin ayaklarını hareket ettirerek, sürgülü tutucunun
ileri doğru hareket etmesine ve elastik kabloların geril-
mesine sebep olacak şekilde kaldırın ve ileri itin. Elastik
kablolar merdivene takılırsa durun. Kabloları gerginleştirin
ve devam edin.
7. Merdiveni iki elinizle sıkıca tutup itin ve alt basamağın altı
sabit kavrayıcı ile aynı hizaya gelecek şekilde kaldırın.
Merdiveni askıdan almak:
1. Merdiveni askıdan almak için, bu adımları takip ederken
yerleştirme işleminin tersini yapın.
2. Merdiveni çıkarmak için aracınızın arkasının açık oldu-
ğundan ve yere sağlam bastığınızdan emin olun.
3. Merdivenin askıdan kayıp kaymadığını ve hala sabit kav-
rayıcı tarafından sağlam bir şekilde tutulup tutulmadığını
kontrol edin.
Şekil 7
Şekil 8
İleriye doğru uyguladığınız basıncı azaltın ve elastik kab-
loların sabit kavrayıcıya doğru itmesini sağlayın.
Dikkat:
Sabit kavrayıcının yüzü, birçok farklı basamak ta-
sarımına uygun olarak tasarlanmıştır. Merdiveninizin
alt basamağı, sabit kavrayıcıya sağlam bir şekilde
oturmuyorsa, basamağın konumunu değiştirmeyi
deneyin. Sabit kavrayıcının tutma konumunu değiş-
tirmeniz gerekiyorsa, sayfa 3’te bulunan 4. Adım’daki
kurulum talimatlarına bakın.
8. Merdivenin sabit kavrayıcıya uygun şekilde bağlandığın-
dan emin olun.
9. Güvenlik kablosunu alt basamağın etrafında döndürün ve
Şekil 8’de gösterildiği gibi tekrar yerine yerleştirin. Güven-
lik kablosu daima bir basamağa sarılmış olsun. Merdive-
nin diğer parçaları, bir kaza esnasında merdiveni yerinde
tutabilecek kadar sağlam olmayabilir.
4. Güvenlik kablosunun basamağın etrafından çıkarın.
5. Merdiveni sabit kavrayıcının yüzünden ayırmak için önce
ileri sonra da geriye doğru itin. Elastik kablolar nedeniyle
geriye sekmesine karşı hazırlıklı olun.
6. Merdivenin üst kısmını sabit kavrayıcının yanına kaydıra-
rak araçtan uzaklaşın.
7. Uzun veya ağır merdivenler için, merdivenin alt kısmını
yere koyun ve merdivenin yanını havaya kaldırın ve üst
kısmını ön kızaktan kaldırın.
• Güvenlik kablosunu yerine yerleştirmeden aracı çalıştırmayın. Güvenlik kablosu kazadan dolayı merdivenin düşmesi ya da
ileriye doğru fırlaması riskini azaltır.
• Araç hareket halindeyken, hiç kimsenin askıya yerleştirilmiş merdivenin altında veya yanında oturmasına izin vermeyin.
• Aracınız bir kazaya karıştıysa veya çok sert fren yaptıysanız, derhal DURUN ve askıdaki konumundan hareket etmemiş
olduğundan emin olmak için merdiveni kontrol edin.
• Engebeli arazilerden, sert ve sarsıcı tümseklerden geçmek, merdivenin düşmesine sebep olabilir. Merdivenin yerinde dur-
masını sağlamak için ilave sabitleme gerekebilir.
UYARI
UYARI
12_sliding_TU.indd 71
30/04/2009 14:26:20
Tools For The Professional
TM
SÜRGÜLÜ MERDİVEN ASKISI
Ridge Tool Company
72
Sürgülü merdiven askınızı aşınma, yırtılma, hasar ve eksik parçalara karşı periyodik olarak inceleyin. Gerekiyorsa tamir edin
veya değiştirin.
Kayan ön sürgünün kolayca hareket etmesini sağlamak için bol miktarda lityumlu gresi rayın içerisine sürün.
Elastik kabloları hasar ve aşınmaya karşı kontrol edin. Üzerindeki koruyucu aşınmışsa, kablo beklenmedik bir anda kopabilir.
Askıyı kullanmadan önce kabloları değiştirin.
Güvenlik kablosunu hasar veya kopmaya karşı kontrol edin. Kopmuş telleri kontrol edin. Bulursanız, askıyı kullanmadan önce
kabloyu değiştirin.
GENEL BAKIM
• Kişisel yaralanma riskini azaltmak için:
• Merdiven askısını eksik veya hasarlı parçalarla kullanmayın.
• Elastik kabloları aşınmaya karşı inceleyin. Üzerindeki koruyucu aşınmışsa, kablo beklenmedik bir anda kopabilir. Askıyı
kullanmayın.
• Rayın üzerine gres sürün.
Bu ürünün üzerinde değişiklik yapılması veya amacı dışında kullanılması üreticinin sağladığı tüm garantileri geçersiz kıla-
caktır. Üretici, ürün üzerinde değişiklik yapılması veya ürünün amacı dışında kullanımından kaynaklanan yaralanmalar ve
mal kayıpları ile ilgili sorumluluk kabul etmez.
SINIRLI GARANTİ
Bu SINIRLI GARANTİ, RIDGID şantiye depolama ekipmanı, 420 E. Terra. Cotta Ave., Crystal Lake, Illinois tarafından RIDGID
(r)
ürünlerinin asıl perakende müşterilerine sağlanır.
RIDGID şantiye depolama ekipmanları, RIDGID ÜRÜNÜNÜN ASIL PERAKENDE MÜŞTERİSİ TARAFINDAN SATIN ALINDIĞI
TARİHTEN İTİBAREN (3) YIL BOYUNCA MALZEME VE İŞÇİLİKTEN KAYNAKLANAN HATALARA KARŞI GARANTİ SAĞLAR. BU
GARANTİ, BU DEPOLAMA EKİPMANINA ÖZELDİR. DİĞER RIDGID ÜRÜNLERİNİN GARANTİLERİ FARKLILIK GÖSTEREBİLİR
Garanti süresinin sona ermesinden önce müşterinin RIDGID ürünü ile ilgili Garanti kapsamında olan bir hata belirlemesi durumunda,
müşteri ürünün incelenmesi için gereken işlemlerin yapılması için RIDGID şantiye depolama ekipmanları ile iletişim kuracaktır.
RIDGID’in bir hata belirlemesi durumunda, RIDGID masraflar kendine ait olacak şekilde ve kendi tercihi doğrultusunda arızalı parçayı
onaracak veya değiştirecektir. Garanti kapsamındaki tüm onarımlar yetkili bir RIDGID ürünleri bayisi veya RIDGID’in onayladığı bir
servis tarafından yapılacaktır.
RIDGID ürünlerinin amacı dışında kullanımı, olağandışı servisi veya nakli, yanlış bakımı veya bir RIDGID Ürün bayisi ya da RIDGID
onaylı servis şirketinden başka biri tarafından değiştirilmesi durumunda bu Garanti geçerliliğini yitirir.
YUKARIDA YAZILI OLAN GARANTİ BU ÜRÜN İÇİN GEÇERLİ OLAN TEK GARANTİDİR. TİCARETE ELVERİŞLİLİK VE BELİRLİ
BİR AMACA UYGUNLUK İLE İLGİLİ ÖRTÜLÜ GARANTİLERİ İÇEREN ANCAK BUNLARLA SINIRLI OLMAYAN AÇIK VEYA ÖRTÜLÜ
DİĞER TÜM GARANTİLERDEN BÖYLELİKLE FERAGAT EDİLMİŞ OLUR.
RIDGID şantiye depolama ekipmanları, BU GARANTİNİN İHLALİNDEN KAYNAKLANAN ARIZA VEYA BİR FİİLİN SONUCU OLARAK
MEYDANA GELEN ZARARLARDAN VE ASIL MÜŞTERİ TARAFINDAN ÖDENEN SATIN ALMA FİYATININ İADE MİKTARINI AŞAN
ZARARLARDAN SORUMLU OLMAYACAKTIR.
Bu Garanti, açık veya örtülü tüm Garantilerin yerine geçer. Bu Garanti’nin şartları herhangi bir şahıs, yardımcıları veya vekilleri
tarafından değiştirilemez. Bu garanti size belirli haklar verir ve bu haklar ülkeden ülkeye değişiklik gösterebilir.
UYARI
-BİLDİRİM-
SERVİS PARÇALARI
2
1
YEDEK PARÇALAR İÇİN ŞU ADRESİ ZİYARET EDİN
www.ridgid.eu/jobsitestorage
PARÇA NO.
PARÇA NO.
AÇIKLAMA
1
34213
Güvenlik Kablosu
2
34208
Darbe Kablosu (1 çift)
3
34218
Cıvata Seti (gösterilmiyor)
Ridge Tool Europe, Interleuvenlaan 50, B-3001 Leuven www.ridgid.eu
12_sliding_TU.indd 72
30/04/2009 14:26:20

