Ridgid SLIDING LADDER RACK 250: Gebruiksaanwijzing
Gebruiksaanwijzing: Ridgid SLIDING LADDER RACK 250
Tools For The Professional
TM
glijdend ladderrekysteem
ridge tool Company
13
NL
Gebruiksaanwijzing
glijdend ladder- rekysteem
mOdel 250
www.ridgid.eu/jobsitestorage
BenOdigd gereedsCHaP
• Elektrische boormachine
• 5/16” inbussleutel
• Kruiskopschroevendraaier
• Liniaal
• 7/16” steeksleutel
• 7/16” dopsleutel
• Ratelsleutel
• Lithiumvet
Onderdelenlijst
Om het gevaar voor ernstig letsel te beperken, moet u voorafgaand aan het installeren of het gebruiken van dit product alle
instructies en waarschuwingen doorlezen en opvolgen.
RIDGID raadt aan het Model 250 glijdend ladderrekysteem in bestelwagens met een schutwand te monteren.
Door een schutwandscheiding tussen de vracht- en de passagiersruimte neemt de kans af dat er bij een botsing materiaal
naar voren schiet en zo letsel veroorzaakt.
WaarsCHUWing
-let OP-
Opmerking: dit product is enkel bedoeld voor gebruik in een bestelwagen of gesloten aanhanger.
(1) Koordgeleider
(24)1/4” platte vulring
(1) Voorste slede
(2) Verbindingssteun
(4) Steungootmoer
(1) Afgeknotte-
kegelmachineschroef,
1/4 x 20 x 7/8
(1) Binnenzijpal
(3) Montagesteun
(2) Aanslagplaat
(2) Schokkoord
(1) Buitenzijpal
(1)Vinyl kap
(1) 1,25 OD vulring
(4) Borgring
(1) Vaste pal
(8) 1/4 x 14 zelfborende
schroef
(4) Inbusschroef,
1/4 x 20 x 1
(1) Verstelbare houder
(17) Sledebout,
1/4 x 20 x 3/4
(1) Montagesteun
achter
(20) Nylon borgmoer,
1/4 x 20
(1) Vaste houder
(1) Veiligheidskabel
met onderdelen .
(2) Sledebout,
1/4 x 20 x 1-1/2
(1) Verstelbare arm
(3) Rail
03_sliding_NL.indd 13
27/04/2009 11:15:31
Tools For The Professional
TM
glijdend ladderrekysteem
ridge tool Company
14
Ga als volgt te werk om bij een noodstop of een botsing letsel als gevolg van een vallende of losschietende ladder te voorkomen:
• Zorg dat u alle instructies en waarschuwingen hebt gelezen en opvolgt voordat u dit product inbouwt of in gebruik neemt.
• Gebruik het glijdend ladderrekysteem enkel voor het vervoeren van ladders. Wijzig het glijdend ladderrekysteem nooit of
gebruik het in geen geval voor andere doeleinden.
• Monteer het rek volgens de instructies.
• Monteer het glijdend ladderrekysteem enkel in een bestelwagen of gesloten aanhanger.
• Het gewicht van de ladder mag maximaal 36 kg zijn
• Volg bij het gebruik van elektrisch gereedschap de waarschuwingen en instructies van de betreffende fabrikant op.
• Bescherm uw ogen. Draag een veiligheidsbril.
• Monteer het glijdend ladderrekysteemsysteem nooit in passagiersruimtes.
• Controleer dat u geen gaten boort op plaatsen waar bekabeling loopt. Raadpleeg de werkplaatsliteratuur van de wagen voor
kabeltrajecten.
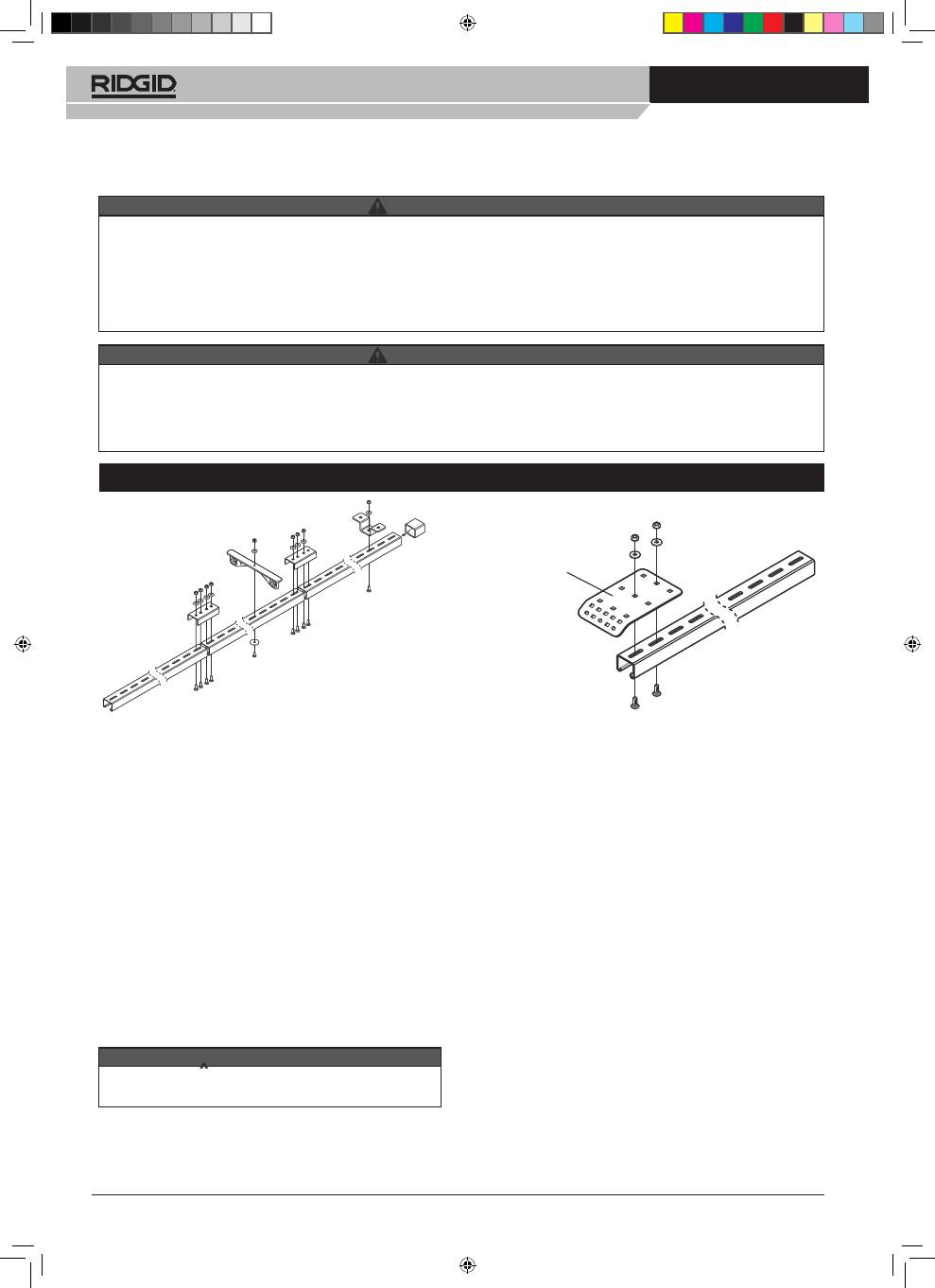
mOntage-instrUCties
stap 1: rail mOnteren
Verbind de railstukken (3) met verbindingssteunen (2), acht
1/4-20 x 3/4” sledebouten, 1/4” platte vulringen en 1/4-20
nylon borgmoeren.
OPmerking:
De onderstaande montage-instructies be-
schrijven het monteren van dit product op de dakribben van
een bestelwagen of een vrachtwagenkap. Zo nodig kan dit
rek volgens dezelfde onderstaande stappen op de zijwand
van een aanhangwagen worden gemonteerd.
OPmerking:
Afhankelijk van de afmetingen en het type
voertuig moet de rail wellicht worden afgekort om deze
goed te kunnen inbouwen. Meet de afstand in de bestelwa-
gen en kort de rail met onderdelen op de gewenste lengte
af.
Bepaal de plaats waar de rail in het voertuig zal worden ge-
monteerd (in het midden, niet in het midden, aan de zijkant).
Meet de locaties van de eerste drie dakribben. Begin daarbij
achteraan vanaf de binnenkant van de achterdeurstijl boven
en werk naar voren toe. Noteer deze maten.
• De rail met onderdelen is pas goed gemonteerd als deze
aan alle drie de dakribben wordt bevestigd.
Bevestig de montagesteun achter met twee 1/4-20 x 3/4”
sledebouten, 1/4” platte vulringen en 1/4-20 nylon borgmoe-
ren op de achterkant van de rail met onderdelen (niet op het
afgekorte uiteinde). Zie figuur 1a.
Teken de rail op de genoteerde plekken van de ribben vanaf
de achterkant van de montagesteun achter af. Draai een
montagesteun met een 1/4-20 x 3/4” sledebout, 1/4” platte
vulring en een 1/4-20 nylon borgmoer, midden op elke mar-
kering, precies zodanig vast dat u deze nog met de hand
kunt bijstellen.
Breng de rail op zijn plaats in het voertuig aan. Bepaal of
de montagesteun achter nog moet worden gewijzigd. Zo
nodig moet deze ten opzichte van de rail worden verzet of
moet een stukje ervan worden verwijderd of moet de hoek
van de flens worden veranderd om met de deurstijl samen
te vallen. Verplaats zo nodig de montagesteunen op de rail
zodanig dat de montagesteunen goed aan de dakribben
kunnen worden bevestigd.
Haal de rail van de dakribben en draai de montagesteunen
stevig vast.
Breng de rail weer aan en bevestig deze met twee 1/4-14
x 3/4” zelfborende schroeven en 1/4” platte vulringen per
steun aan de dakribben en de achterdeurstijl.
Bevestig de koordgeleider met een 1/4-20 x 7/8” afgeknotte-
kegelmachineschroef , 1-1/4” OD vulring, 1/4” platte vulring
en een 1/4-20 nylon borgmoer ongeveer 75cm van de
achterkant van de rail. Hanteer een andere maat dan 75cm
als dat fysiek nodig is.
Figuur 1
Figuur 1a
montagesteun
achter
WaarsCHUWing
WaarsCHUWing
VOOrZiCHtig
03_sliding_NL.indd 14
27/04/2009 11:15:31
Tools For The Professional
TM
glijdend ladderrekysteem
ridge tool Company
15
Figuur 2
stap 2: Vaste HOUder mOnteren
Meet de afstand van de voet van de ladder tot aan de on-
derste sport. Meet dezelfde afstand vanaf de achterkant van
de rail af en teken de rail af. Dit is ongeveer de plek waar
de vaste houder wordt bevestigd. Monteer de vaste houder
met de groeven richting de voorkant van het voertuig. Ge-
bruik de bevestigingsmiddelen zoals getoond in figuur 2 en
laat iets ruimte voor verstellen vrij.
stap 3: sCHUiFHOUder mOnteren
Steek de schuifhouder in de rail en zorg dat het deel met
de groeven naar de achterkant van het voertuig gericht is.
Breng de vinyl kap op het afgekorte uiteinde van de rail aan.
stap 4: VOOrste slede met Onderdelen
mOnteren
OPmerking:
Als u dit glijdend ladderrekysteem op de zij-
wand van een aanhangwagen monteert, gaat u verder met
stap 10 voor de zijpal met onderdelen.
Bevestig de voorste slede met twee 1/4-20 x 7/8” sledebou-
ten, 1/4” platte vulringen en 1/4- 20 nylon borgmoeren aan
de verlengarm. Bevestig deze aan de schuifhouder. Stel de
diepte van de slede met een 1/4-20 x 1-1/2” sledebout, 1/4”
platte vulring en 1/4- -20 nylon borgmoer op de hoogte van
uw ladder af. Draai de sledebout helemaal vast (figuur 3).
Draai de bevestigingen niet te strak vast.
stap 5: Vaste Pal
Bevestig de vaste pal en de veiligheidskabel met een
1/4-20 x 1-1/2” sledebout, 1/4” platte vulring en 1/4- 20
nylon borgmoer op de vaste houder en stel de diepte daar-
bij precies op de onderste sport van de ladder af. Draai de
sledebout helemaal vast (figuur 4).
stap 6: mOntagePOsities Bijstellen
Leg de ladder op de voorste slede en schuif deze naar
voren op zijn plaats. Plaats de onderste sport van de ladder
op de vaste pal. Dit is precies de plek waar de vaste pal met
onderdelen wordt bevestigd. Haal de ladder voorzichtig weg
zonder de vaste pal te verplaatsen en monteer de vaste pal
definitief op zijn plaats.
stap 7: sCHOkkOOrd mOnteren
• Schuif de schokkoorden door de schokkoordgaten in de
verstelbare houder. Hierbij moet de schotelring achterop de
module zitten. Schuif de koorden daarna door de schok-
koordgeleidegaten en door de schokkoordgaten van de
vaste houder.
• Bevestig de veiligheidskabel zoals beschreven in de
instructies, opdat de ladder goed aan het rek en het
voertuig bevestigd is.
• Draai de bevestigingen niet te strak vast.
• De vaste pal met onderdelen is nog niet geheel beves-
tigd. Als u de ladder plaatst, kan deze vallen.
• Laat niemand tijdens deze montagestap direct onder of
in de buurt van de ladder komen, tenzij als hulp bij het
monteren.
• Elastische koorden kunnen terugschieten en in uw
ogen terechtkomen. Rek ze niet te ver uit. Houd een
gepaste afstand aan.
• Leg de ladder op het rek en schuif deze naar voren. Houd
hierbij het schokkoord vast. Trek na het plaatsen van de
ladder stevig aan het schokkoord en schuif het in de spang-
leuf op de achterkant van de vaste houder (zie figuur 5).
VOOrZiCHtig
WaarsCHUWing
VOOrZiCHtig
WaarsCHUWing
Vaste houder
1/4” platte vulring
Borgring
1/4-20 x 1
inbusschroef
steungootmoer
Verstelbare
houder
Verstelbare arm
Voorste slede
Figuur 3
Figuur 4
Vaste pal
Figuur 5
Veiligheidskabel
03_sliding_NL.indd 15
27/04/2009 11:15:32
Tools For The Professional
TM
glijdend ladderrekysteem
ridge tool Company
16
Elastische koorden kunnen terugschieten en in uw ogen terechtkomen. Rek ze niet te ver uit. Houd een gepaste afstand aan.
Monteer de voorste aanslagplaat zodanig dat de schuifpal bij een noodstop of een botsing niet loskomt.
Voordat u de ladder in het rek plaatst:
1. RIDGID raadt aan het Model 250 glijdend ladderrekysteem in bestelwagens met een schutwand te monteren. Door een
schutwandscheiding tussen de vracht- en de passagiersruimte neemt de kans af dat er bij een botsing materiaal naar
voren schiet en zo letsel veroorzaakt.
2. Het glijdend ladderrekysteem is zodanig ontworpen dat deze vanaf de achterkant van een vrachtwagen of een open
bestelwagen met een metalen kap kan worden geladen.
3. Controleer voor het plaatsen van een ladder of de elastische koorden en de aanslagsteun goed zijn gemonteerd en
geplaatst. Zie de montagestappen 7 & 8 op pagina’s 3 & 4. Voor het plaatsen van een ladder met andere afmetingen
moeten de aanslagsteun en de elastische koorden goed worden afgesteld om te voorkomen dat de ladder uit het rek valt.
4. Inspecteer de onderdelen van het ladderrek voordat u het gebruikt. Gebruik het rek niet als er een onderdeel gebroken,
verbogen of beschadigd is. Zie het hoofdstuk Onderhoud voor reserveonderdelen.
geBrUiksinstrUCties
Figuur 6
WaarsCHUWing
Stel elastische koorden goed af. Bij niet afstellen van de koordspanning op de lengte van de ladder kan de ladder vallen.
stap 8: VOOrste en aCHterste aanslagen mOnteren
Wij raden aan de voorste aanslag op ongeveer 2,5cm voor de schuifhouder met geplaatste ladder aan te brengen. De aan-
slag moet zodanig worden geplaatst dat er precies voldoende ruimte is om de ladder naar voren te schuiven, met de onderste
sport op de verstelbare pal te plaatsen en om de ladder weer weg te halen.
stap 9: rail smeren
Breng ruim lithiumvet op de binnenkant van de rail aan,
opdat de schuivende voorste slede zich soepel kan ver-
plaatsen.
Optionele montage
stap 10: instrUCties VOOr mOntage OP
ZijWand
(enkel)
Monteer de zijpalsteunen met twee 1/4-20 x 7/8” sledebou-
ten, 1/4” platte vulringen en 1/4-20 nylon borgmoeren zoals
getoond in figuur 6 aan de verstelbare houder. Monteer de
rail aan de zijkant van de gesloten aanhangwagen.
• Inspecteer het glijdend ladderrekysteem elke keer voordat u het gebruikt. Gebruik het rek niet als het beschadigd of in een
slechte staat is.
• Plaats geen kortere ladder in een rek dat op een ladder met een specifieke lengte afgesteld is. Stel de aanslagplaat en de
elastische koorden altijd af op de te plaatsen ladder.
• Bij het onjuist laden of uitladen van het glijdend ladderrekysteem zou de ladder kunnen vallen en ernstig letsel of materiële
schade kunnen veroorzaken.
• Gebruik het rek nooit als er personen onder of in de buurt van het rek en de ladder zitten.
• Ga voorzichtig te werk als u op een gladde of bevroren ondergrond de ladder in het glijdend ladderrekysteem plaatst.
• Plaats of pak de ladder niet als het voertuig rijdt.
Houd de schokkoord zodanig gespannen dat de ladder goed op zijn plaats blijft. Leg op dit punt een dubbele knoop in het uit-
einde van de schokkoord en steek de koorden in de sleuven in de vaste houder. Stop het resterende deel in de achterkant van
de vaste houder (zie figuur 5).
WaarsCHUWing
WaarsCHUWing
Monteer de achterste aanslag zodanig naar voren dat de schuifhouder precies genoeg ruimte biedt om de ladder moeiteloos
van de voorste slede te kunnen trekken zonder de vaste pal te raken.
WaarsCHUWing
03_sliding_NL.indd 16
27/04/2009 11:15:32
Tools For The Professional
TM
glijdend ladderrekysteem
ridge tool Company
17
• Leg de veiligheidskabel altijd rondom een trede van de ladder. Door de veiligheidskabel neemt de kans dat de ladder
tijdens een botsing losschiet af.
• Inspecteer de ladder elke keer voordat u deze gebruikt. De ladder kan als gevolg van oneffenheden in het wegdek en tril-
len van het voertuig beschadigd raken. Door stuiterende en heen-en-weer slingerende bewegingen kan de ladder slijten
en als geheel zwakker worden. Als u een beschadigde ladder gebruikt, kan deze instorten met ernstig letsel of de dood als
gevolg.
• Houd uw handen uit de buurt van de zone waar de ladder in het rek grijpt.
ladder in het rek plaatsen:
1. Controleer of de ladder schoon en droog is.
2. Open de achterdeuren van de bestelwagen of het vracht-
wagenluik om bij het rek te kunnen komen.
3. Trek aan de elastische koorden om de schuifpal naar
achteren te verplaatsen.
4. Plaats de ladder met de kant met de treden omlaag (kant
zonder treden omhoog).
5. Til de bovenkant van de ladder op en plaats deze in de
voorste slede. Zie figuur 7.
6. Ga naar de voet van de ladder, til deze op en duw deze
naar voren. Zo gaat de schuifhouder naar voren en gaan
de elastische koorden strak staan. Stop als de elastische
koorden in de ladder verstrikt raken. Ontwar in dat geval
de koorden en ga weer verder.
7. Pak de ladder stevig met twee handen vast en duw deze
ladder uit het rek halen:
1. U haalt de ladder uit het rek door de bovenstaande pro-
cedure in omgekeerde volgorde met inachtneming van de
volgende punten te doorlopen.
2. Zorg dat u bij het uitladen van de ladder op een stevige
ondergrond staat en dat er voldoende ruimte achter de
wagen is.
3. Controleer of de ladder niet in het rek verschoven is en
nog steeds stevig in de vaste pal zit.
Figuur 7
Figuur 8
zodanig omhoog dat de onderkant van de onderste trede
met het vlak van de vaste pal samenvalt. Druk iets minder
hard naar voren en laat de elastische koorden de trede
tegen de vaste pal drukken.
Opmerking:
Het vlak van de vaste pal is geschikt voor
meerdere soorten treden. Als de onderste trede van
uw ladder niet stevig in de vaste pal grijpt, moet u
de ladder anders plaatsen. Als u de vaste pal alsnog
iets moet verplaatsen, gaat u te werk zoals beschre-
ven in de montage-instructies in stap 4 op pagina 3.
8. Laat de ladder goed in de vaste pal grijpen.
9. Leg de veiligheidskabel in een lus rondom de onderste
trede en klik deze zoals getoond in figuur 8 aan zichzelf
vast. Leg de veiligheidskabel altijd rondom een trede. Bij
een botsing zijn andere onderdelen van de ladder wellicht
niet sterk genoeg om de ladder in toom te houden.
4. Haal de veiligheidskabel weg van de trede.
5. Duw de ladder naar voren en omlaag om de trede van
het vlak van de vaste pal te halen. Wees voorbereid op
de terugveerkracht van de elastische koorden.
6. Loop van het voertuig weg totdat de bovenkant van de
ladder tot in de buurt van de vaste pal verschoven is.
7. Laat de onderkant van een lange of zware ladder op de
grond zakken, til de zijkant van de ladder iets op en til de
bovenkant uit de voorste slede.
• Rijd niet weg zonder dat de veiligheidskabel aangebracht is. Door de veiligheidskabel neemt de kans dat de ladder tijdens
een botsing eruit valt of losschiet af.
• Laad niemand onder of in de buurt van de ladder in het rek zitten als het voertuig rijdt.
• Als uw voertuig bij een botsing betrokken is of als u een noodstop hebt gemaakt, moet u meteen STOPPEN en controleren
of de ladder in het rek niet van zijn plaats gekomen is.
• Bij ritten op een ruw terrein of bij heftige schokken kan de ladder vallen. In dat geval moet de ladder wellicht nog eens
extra goed worden bevestigd, opdat deze op zijn plaats blijft.
WaarsCHUWing
WaarsCHUWing
03_sliding_NL.indd 17
27/04/2009 11:15:32
Tools For The Professional
TM
glijdend ladderrekysteem
ridge tool Company
18
Inspecteer uw glijdend ladderrekysteem van tijd tot tijd op slijtage, schade of loszittende onderdelen. Repareer of vervang het
zo nodig.
Breng ruim lithiumvet op de binnenkant van de rail aan, opdat de schuivende voorste slede zich soepel kan verplaatsen.
Inspecteer de elastische koorden op schade en slijtage. Als het koordomhulsel gerafeld is, kan het koord onverwacht breken.
Vervang in dat geval de koorden voordat u het rek gebruikt.
Inspecteer de veiligheidskabel op schade of breuken. Kijk of er strengen gebroken zijn. Vervang in dat geval de kabel voordat u
het rek gebruikt.
algemeen OnderHOUd
• Ga als volgt te werk om de kans op letsel terug te brengen:
• Gebruik het ladderrek niet als er onderdelen ontbreken of beschadigd zijn.
• Inspecteer de elastische koorden op slijtage. Als het koordomhulsel gerafeld is, kan het koord onverwacht breken. Gebruik
het rek niet.
• Zorg dat de rail voldoende ingevet is.
Bij wijziging of onbedoeld gebruik van dit product vervallen terstond alle garanties van de fabrikant. De fabrikant wijst elke
aansprakelijkheid af voor persoonlijk letsel of eigendomsschade als gevolg van wijzigingen aan of onbedoeld gebruik van dit
product.
BePerkte garantie
Deze BEPERKTE GARANTIE wordt verstrekt door RIDGID on-site storage equipment, 420 E. Terra. Cotta Ave., Crystal Lake, Illinois,
aan de oorspronkelijke koper van RIDGID
(r)
-producten in de detailhandel.
RIDGID on -site storage equipment GARANDEERT DAT RIDGID-PRODUCTEN GEDURENDE EEN PERIODE VAN DRIE (3) JAAR
VANAF DE DATUM VAN AANKOOP DOOR DE OORSPRONKELIJKE KOPER IN DE DETAILHANDEL VRIJ ZULLEN BLIJVEN VAN
MATERIAAL- EN FABRICAGEFOUTEN. DEZE GARANTIE IS SPECIFIEK BEDOELD VOOR DIT OPBERGMATERIAAL. GARANTIES
VOOR ANDERE RIDGID-PRODUCTEN KUNNEN HIERVAN AFWIJKEN
Als de koper vóór het verstrijken van de garantietermijn ontdekt dat het RIDGID-product niet aan de garantie voldoet, dient de koper
contact op te nemen met RIDGID on-site storage equipment om een afspraak te maken voor inspectie van het product. Indien RIDGID
vaststelt dat er inderdaad sprake is van een gebrek, zal RIDGID, naar eigen oordeel en voor eigen kosten, het gebrekkige onderdeel
repareren of vervangen. Alle reparaties onder garantie dienen te worden verricht door een erkende verkoper van RIDGID-producten of
een door RIDGID goedgekeurd reparatiebedrijf.
Deze garantie is niet geldig als het RIDGID-product het voorwerp is geweest van oneigenlijk gebruik, abnormale reparaties of
toepassingen, verkeerdelijk onderhoud, of wijzigingen aangebracht door iemand anders dan een erkende verkoper van RIDGID-
producten of een door RIDGID goedgekeurd reparatiebedrijf.
DE HIERBOVEN AFGEDRUKTE GARANTIE IS DE ENIGE GARANTIE DIE VAN TOEPASSING IS OP DEZE AANKOOP. ALLE
ANDERE GARANTIES, UITDRUKKELIJK DAN WEL IMPLICIET, WAARONDER, MAAR NIET BEPERKT TOT, DE IMPLICIETE
GARANTIES VAN VERKOOPBAARHEID EN GESCHIKTHEID VOOR EEN BEPAALD DOEL, WORDEN HIERBIJ AFGEWEZEN.
RIDGID on -site storage equipment IS NIET AANSPRAKELIJK VOOR EVENTUELE BIJKOMENDE OF GEVOLGSCHADE DIE
VOORTVLOEIT UIT EEN SCHENDING VAN DEZE GARANTIE EN EEN EVENTUELE VERGOEDING KAN NOOIT MEER BEDRAGEN
DAN DE AANKOOPPRIJS BETAALD DOOR DE OORSPRONKELIJKE KOPER.
Deze garantie vervangt alle andere garanties, uitdrukkelijk dan wel impliciet. De bepalingen van deze garantie mogen door geen enkele
partij, rechtsopvolger of gemachtigde worden gewijzigd. U kunt aan deze garantie specifieke rechten ontlenen, en mogelijk hebt u ook
andere rechten, die verschillen per rechtsgebied.
WaarsCHUWing
-OPgelet-
reserVeOnderdelen
2
1
ga VOOr reserVeOnderdelen naar
www.ridgid.eu/jobsitestorage
artikel-
nr.
Onder-
deelnr.
BesCHrijVing
1
34213
Veiligheidskabel
2
34208
schokkoord (1 paar)
3
34218
Boutenset (niet afgebeeld)
ridge tool europe, interleuvenlaan 50, B-3001 leuven www.ridgid.eu/jobsitestorage
03_sliding_NL.indd 18
27/04/2009 11:15:32

