Ridgid SLIDING LADDER RACK 250: Istruzioni per l’uso
Istruzioni per l’uso: Ridgid SLIDING LADDER RACK 250
Tools For The Professional
TM
PORTASCALE TELESCOPICO
Ridge Tool Company
19
IT
Istruzioni per l’uso
PORTASCALE
TELESCOPICO
MODELLO
250
www.ridgid.eu/jobsitestorage
ATTREZZI RICHIESTI
• Trapano elettrico
• Cacciavite a croce con punta esagonale da 5/16”
• Cacciavite Phillips
• Metro
• Chiave per dadi da 7/16”
• Chiave a tubo lunga da 7/16”
• Chiave a cricchetto
• Grasso al litio
ELENCO PARTI
Per ridurre il rischio di infortunio personale grave, leggere e seguire attentamente tutte le istruzioni e le avvertenze prima di
installare o utilizzare questo prodotto.
RIDGID raccomanda di installare il portascale telescopico modello 250 sui furgoni e su quelli per le consegne dotati di paratia
di separazione tra cabina e vano di carico.
La presenza di una paratia di separazione tra cabina e vano di carico riduce la probabilità che il materiale venga proiettato in
avanti e che possa essere causa di infortuni nel corso di un incidente che coinvolga il veicolo.
AVVERTENZA
-ATTENZIONE-
NOTA: questo prodotto è ideato per un utilizzo interno relativamente ad un
furgone, ad un rimorchio chiuso oppure un autocarro con copertura metallica.
(1) Guida corda
(24) Rondella piatta
da 1/4”
(1) Culla anteriore
(2) Staffa di
collegamento
(4) Dado scanalatura
montante
(1) Vite a testa tonda
appiattita, 1/4 x 20 x 7/8
(1) Fermo lato interno
(3) Staffa di
montaggio
(2) Piastra di
arresto
(2) Corda elastica
ammortizzatrice
(1) Fermo lato esterno
(1) Copertura vinilica
(1) Rondella OD
da 1,25
(4) Rondella di
bloccaggio
(1) Fermo fisso
(8) Vite autofilettante
1/4 x 14
(4) Vite a testa esa
-
gonale, 1/4 x 20 x 1
(1) Supporto
regolabile
(17) Bullone a testa
tonda e quadro
sottotesta,1/4 x 20 x 3/4
(1) Staffa di montaggio
posteriore
(20) Dado di sicurez
-
za in nylon, 1/4 x 20
(1) Staffa di fissaggio
(1) Cavo di sicurezza.
(2) Dado per carrello
1/4 x 20 x 1-1/2
(1) Braccio regolabile
(3) Barra guida
04_sliding_it.indd 19
27/04/2009 11:18:03
Tools For The Professional
TM
PORTASCALE TELESCOPICO
Ridge Tool Company
20
Per ridurre il rischio di infortunio grave derivante dalla caduta della scala o dalla sua violenta proiezione in avanti nel corso di una
brusca frenata o di un incidente che coinvolga il veicolo:
• Leggere e seguire attentamente tutte le istruzioni e le avvertenze prima di installare o utilizzare il prodotto.
• Il portascale telescopico deve essere utilizzato solo per il trasporto delle scale. Non modificare o utilizzare mai portascale tele
-
scopico per altro scopo.
• Il portascale deve essere installato seguendo le istruzioni.
• Montare il portascale telescopico solo in un furgone, in un rimorchio chiuso oppure in un autocarro con copertura metallica.
• Il peso massimo della scala non deve superare i 36 Kg
• Quando si utilizzano strumenti ad alimentazione elettrica, seguire le avvertenze e le istruzioni del produttore.
• Proteggere gli occhi. Indossare occhiali protettivi.
• Non installare mai il portascale telescopico nella cabina.
• Verificare che non vi siano cavi elettrici nelle zone dove vengono praticati i fori. Consultare il manuale del veicolo fornito all’atto
dell’acquisto per controllare dove sono ubicati i cavi elettrici.
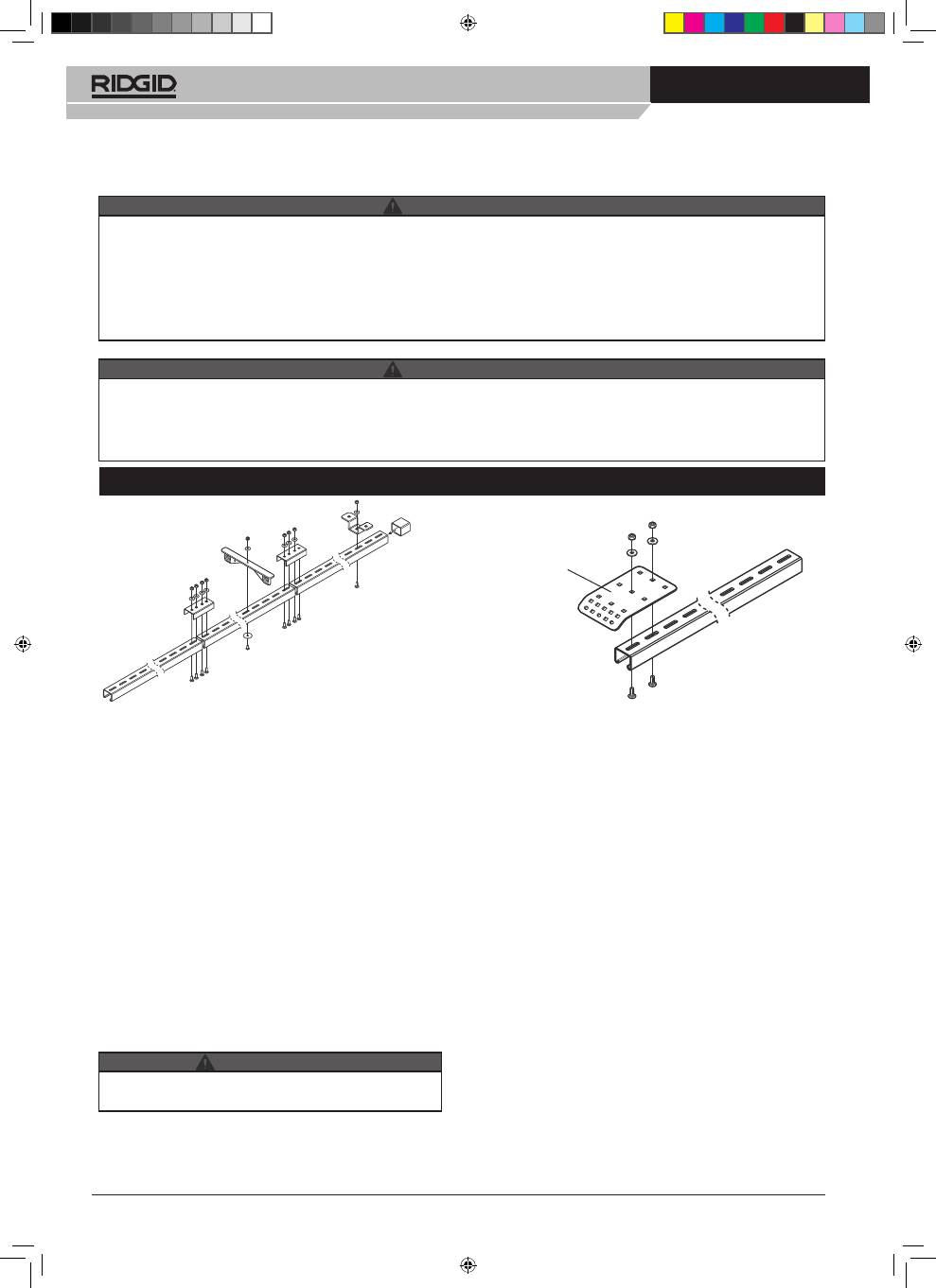
ISTRUZIONI PER L’INSTALLAZIONE
1ª fase: INSTALLAZIONE ASSEMBLAGGIO DELLA
GUIDA
Utilizzando le staffe di collegamento (2), collegare le sezioni
della guida (3) utilizzando 8 bulloni a testa tonda e quadro sot
-
totesta 1/4-20 x 3/4”, rondelle piatte da 1/4” e dadi di sicurezza
in nylon 1/4-20.
NOTA:
le seguenti istruzioni di installazione sono state redatte
per l’installazione del prodotto in questione in corrispondenza
delle nervature del tetto di un furgone o della copertura di un
autocarro. È inoltre possibile montare questo portascale tele
-
scopico sulla parete laterale di un rimorchio, ripercorrendo le
stesse fasi descritte di seguito.
NOTA:
in funzione del tipo e della dimensione del veicolo, è
possibile che sia necessario tagliare l’assemblaggio della guida
in lunghezza per una corretta installazione. Misurare la parte
interna del furgone e tagliare la guida assemblata in modo da
renderla della lunghezza corretta.
Determinare la posizione di montaggio della guida all’interno
del veicolo (al centro, decentrato, su un lato). Eseguire la
misurazione relativamente alle prime tre posizioni delle ner
-
vature del furgone, partendo dalla parte superiore interna del
portellone posteriore e procedendo nella misura verso la parte
anteriore. Annotare le misure ottenute.
• Per una corretta installazione, l’assemblaggio della guida
deve essere fissato a tutte le tre nervature del tetto.
Fissare la staffa di montaggio posteriore alla parte posteriore
dell’assemblaggio della guida (parte terminale opposta alla
estremità tagliata) utilizzando due bulloni a testa tonda con
sottotesta quadra 1/4-20 x 3/4”, rondelle piatte da 1/4” e dadi di
sicurezza in nylon 1/4-20. Vedere la figura 1a.
A partire dalla parte posteriore della staffa di montaggio poste
-
riore, contrassegnare l’assemblaggio della guida in corrispon
-
denza delle posizioni delle nervature annotate. Fissare una
staffa di montaggio senza fissarla definitivamente, in modo che
possa essere regolata a mano, centrata in corrispondenza di
ogni segno, utilizzando un bullone a testa tonda con sottotesta
quadra 1/4-20 x 3/4”, una rondella piatta da 1/4” e un dado di
sicurezza in nylon 1/4-20 per ogni staffa.
Posizionare l’assemblaggio della guida nella corretta posizione
all’interno del veicolo. Verificare e se sia necessario modificare
la staffa di montaggio posteriore. Potrebbe essere disallineata
rispetto all’assemblaggio della guida, o presentare una parte
rimossa oppure l’angolo della flangia potrebbe essere modifi
-
cato in modo da adattarlo al vano del portellone, se necessario.
Regolare, se necessario, le posizioni della staffa di montaggio
sull’assemblaggio della guida, allo scopo di garantire che le
staffe di montaggio possano essere fissate appropriatamente
alle nervature del tetto.
Rimuovere l’assemblaggio della guida dalle nervature del tetto
e fissare in modo sicuro le staffe di montaggio.
Riposizionare l’assemblaggio della guida e fissarlo alle nervatu
-
re del tetto e al vano del portellone posteriore mediante due
viti autofilettanti 1/4-14 x 3/4” e rondelle piatte da 1/4” per ogni
staffa.
Fissare la guida della corda a circa 76,2 centimetri a partire
dalla parte posteriore dell’assemblaggio della guida, utilizzando
una vite a testa tonda appiattita 1/4-20 x 7/8” , una rondella
OD 1-1/4”, una rondella piatta da 1/4” e un dado di sicurezza
in nylon 1/4-20. Regolare i 76,2 centimetri, se necessario, in
modo da evitare problemi legati a eventuali ostruzioni.
Figura 1
Figura 1a
Staffa di
montaggio
posteriore
AVVERTENZA
AVVERTENZA
ATTENZIONE
04_sliding_it.indd 20
27/04/2009 11:18:03
Tools For The Professional
TM
PORTASCALE TELESCOPICO
Ridge Tool Company
21
Figura 2
2ª fase: INSTALLAZIONE DEL SUPPORTO FISSO
Prendere la misura dai piedi della scala al piolo più basso. A
partire dalla parte posteriore dell’assemblaggio della guida
eseguire la medesima misurazione e contrassegnare la guida.
In questo modo è possibile ottenere la posizione corretta del
supporto fisso. Installare il supporto fisso con le scanalature
poste in corrispondenza della parte anteriore del veicolo. Re
-
golare la posizione utilizzando i dispositivi di fissaggio mostrati
nella Figura 2.
3ª fase: INSTALLAZIONE DEL SUPPORTO
SCORREVOLE
Inserire il supporto scorrevole nell’assemblaggio della guida
con la parte scanalata in corrispondenza della parte posteriore
del veicolo. Installare la copertura vinilica sulla parte tagliata
dell’assemblaggio della guida.
4ª fase: INSTALLAZIONE DELL’ASSEMBLAGGIO
DELLA CULLA ANTERIORE
NOTA:
nel caso questo dispositivo scorrevole di trasporto sca
-
la venga installato sulla parete laterale di un rimorchio, andare
alla fase 10 per l’assemblaggio del fermo laterale. Utilizzando
due bulloni a testa tonda e quadro sottotesta 1/4-20 x 7/8”, ron
-
delle piatte da 1/4” e dadi di sicurezza in nylon 1/4- 20, fissare
la culla anteriore al braccio estensibile. Fissare al supporto
scorrevole. Con un bullone a testa tonda e quadro sottotesta
1/4-20 x 1-1/2”, una rondella piatta da 1/4” e dado di sicurezza
in nylon 1/4-20, regolare la profondità della culla in modo che
sia adeguata all’altezza della scala. Stringere il bullone a testa
tonda e quadro sottotesta completamente (Figura 3).
Non stringere eccessivamente i dispositivi di fissaggio.
5ª fase: FERMO FISSO
Utilizzando un bullone a testa tonda e quadro sottotesta 1/4-20
x 1-1/2”, una rondella piatta da 1/4” e un dado di sicurezza
in nylon 1/4- 20, fissare il fermo fisso e il cavo di sicurezza al
supporto fisso consentendo la regolazione della profondità in
modo che possa essere adattata al piolo più basso della scala.
Stringere il bullone a testa tonda e
quadro sottotesta comple
-
tamente (Figura 4).
6ª fase: REGOLAZIONE DELLE POSIZIONI DI
MONTAGGIO
Posizionare la scala sulla culla anteriore e farla scorrere in
avanti fino alla posizione definitiva in cui verrà trasportata.
Posizionare il piolo più basso della scala sul fermo fisso. Que
-
sta sarà la posizione finale dell’assemblaggio del fermo fisso.
Rimuovere con cautela la scala in modo tale da non spostare il
fermo fisso e terminare il lavoro fissando in posizione l’assem
-
blaggio del fermo fisso.
7ª fase: INSTALLAZIONE DELLA CORDA
ELASTICA AMMORTIZZATRICE
• Far scorrere le corde elastiche ammortizzatrici attraverso i
relativi fori del supporto regolabile. Verificare che l’anello ela
-
stico si trovi in corrispondenza della parte posteriore dell’unità.
Successivamente far scorrere le corde attraverso i fori di guida
della corda elastica ammortizzatrice e quindi attraverso i fori
della corda elastica ammortizzatrice del supporto fisso.
• Il cavo di sicurezza deve essere fissato seguendo le
istruzioni in modo tale che la scala venga assicurata in
maniera corretta al dispositivo di trasporto e al veicolo.
• Non stringere eccessivamente i dispositivi di fissaggio.
• A questo punto l’assemblaggio del fermo fisso non è
ancora completamente fissato. Quando si posiziona la
scala è possibile che cada.
• Non consentire a nessuno l’accesso alla zona sotto la
scala o lateralmente rispetto ad essa durante questa fase
dell’installazione, fatta eccezione per chi sta effettuando
la procedura di montaggio.
• È possibile che le corde elastiche scattino improvvisa
-
mente all’indietro colpendo gli occhi. Non tenderle in
modo eccessivo. Tenere riparati il corpo e il volto.
• Posizionare la scala sul dispositivo di trasporto e farla scorre
-
re in avanti tenendo allo stesso tempo con una mano la corda
elastica ammortizzatrice. Quando la scala è nella posizione
definitiva di trasporto, tirare fermamente la corda elastica
ammortizzatrice e farla scorrere nella scanalatura di fissaggio
posta sulla parte posteriore del supporto fisso (vedere figura 5).
ATTENZIONE
AVVERTENZA
ATTENZIONE
AVVERTENZA
Supporto fisso
Rondella piatta da 1/4”
Rondella di bloccaggio
1/4-20 x 1
Vite a testa esagonale
Dado
scanalatura
montante
Supporto
regolabile
Braccio regolabile
Culla anteriore
Figura 3
Figura 4
Fermo fisso
Figura 5
Cavo di
sicurezza
04_sliding_it.indd 21
27/04/2009 11:18:03
Tools For The Professional
TM
PORTASCALE TELESCOPICO
Ridge Tool Company
22
È possibile che le corde elastiche scattino improvvisamente all’indietro colpendo gli occhi. Non tenderle in modo eccessivo. Tene
-
re riparati il corpo e il volto.
La piastra di arresto anteriore deve essere installata per impedire lo spostamento del fermo scorrevole durante una frenata
brusca oppure in caso di incidente.
Prima di caricare la scala nel dispositivo di trasporto:
1. RIDGID raccomanda di installare il portascale telescopico Modello 250 sui dotati di una paratia di separazione. La presenza
di una paratia di separazione tra cabina e vano di carico riduce la probabilità che il materiale venga proiettato in avanti e che
possa essere causa di infortuni nel corso di un incidente che coinvolga il veicolo.
2. Il portascale telescopico è progettato per essere caricato dalla parte posteriore di un furgone da carico oppure di un autocarro
pick-up con copertura metallica.
3. Prima di caricare una scala, verificare che le corde elastiche e le staffe di arresto siano installate e posizionate in modo
corretto. Vedere le fasi di installazione 7 e 8 alle pagine 3 e 4. Nel caso si debba caricare una scala di dimensioni diverse, è
necessario regolare la staffa di arresto e le corde elastiche. In caso contrario, la scala cadrà dal portascale telescopico.
4. Ispezionare le parti del dispositivo di trasporto scala prima dell’utilizzo. Nel caso qualche parte sia rotta, curvata o danneggia
-
ta in qualunque modo, non utilizzare il portascale telescopico. Vedere la sezione Manutenzione per quanto riguarda le parti di
ricambio.
ISTRUZIONI PER L’USO
Figura 6
AVVERTENZA
Le corde elastiche devono essere regolate in modo corretto. Nel caso venga scelta in modo errato la tensione della corda
relativamente alla lunghezza della scala, è possibile che la scala stessa cada.
8ª fase: INSTALLAZIONE DEI BLOCCHI ANTERIORI E POSTERIORI
La posizione raccomandata per il blocco anteriore è a circa 2,54 centimetri davanti al supporto scorrevole, in posizione di definitiva
di trasporto. La posizione del blocco deve consentire uno spostamento sufficiente a far scorrere la scala in avanti in modo da posi
-
zionare il piolo più basso della scala sul fermo regolabile,e deve inoltre consentire la rimozione della scala.
9ª fase: LUBRIFICAZIONE DELLA GUIDA
Applicare una notevole quantità di grasso al litio alla parte in
-
terna della guida, in modo da consentire uno scorrimento dolce
della culla anteriore scorrevole.
Installazione opzionale
10ª fase: ISTRUZIONI PER L’INSTALLAZIONE IN
CASO DI MONTAGGIO LATERALE
(SOLO)
Installare le staffe dei fermi laterali sul supporto regolabile
mediante due bulloni a testa tonda e quadro sottotesta 1/4-20 x
7/8”, rondelle piatte da 1/4” e dadi di sicurezza in nylon 1/4-20
come mostrato nella Figura 6. Installare l’assemblaggio della
guida su un lato del rimorchio chiuso.
• Ispezionare il portascale telescopico prima di ciascun utilizzo. Non utilizzare il portascale telescopico nel caso sia danneggiato
o deteriorato in qualunque modo.
• Non posizionare scale di lunghezza minore in un portascale telescopico regolato per scale di lunghezza maggiore. Regolare
sempre la piastra di arresto e le corde elastiche in funzione della lunghezza della scala da caricare.
• Il carico o lo scarico non corretto del portascale telescopico può essere causa della caduta della scala stessa e di infortuni o di
danni alla proprietà.
• Non utilizzare mai il portascale telescopico con persone sedute sotto o in prossimità del portascale e della scala.
• Prestare attenzione quando si carica la scala nel portascale telescopico nel caso si operi in piedi su un terreno scivoloso o
ghiacciato.
• Non caricare o scaricare la scala quando il veicolo è in movimento.
• Verificare che la corda elastica ammortizzatrice sia tesa abbastanza da mantenere la scala in posizione in modo sicuro. A questo
punto fare un nodo doppio all’estremità della corda elastica ammortizzatrice e inserire le corde nelle scanalature del supporto
fisso. Ripiegare la parte in eccesso della corda nella parte posteriore del supporto fisso (vedere figura 5).
AVVERTENZA
AVVERTENZA
Il blocco posteriore deve essere posizionato abbastanza distante in avanti per limitare lo spostamento del supporto scorrevole,
in modo da consentire di estrarre la scala con facilità dall’assemblaggio della culla anteriore senza urtare il fermo fisso.
AVVERTENZA
04_sliding_it.indd 22
27/04/2009 11:18:04
Tools For The Professional
TM
PORTASCALE TELESCOPICO
Ridge Tool Company
23
• Attaccare sempre il cavo di sicurezza attorno attorno allo scalino della scala. Il cavo di sicurezza riduce il rischio che la scala
possa staccarsi dal dispositivo durante un incidente.
• Ispezionare la scala prima di ogni utilizzo. La scala può essere danneggiata da contraccolpi dovuti alle irregolarità della superfi
-
cie stradale e dalle vibrazioni del veicolo. Lo sballottolamento e il movimento da un lato all’altro potrebbe essere causa di usura
e di indebolimento della scala. L’utilizzo di una scala danneggiata può portare a un cedimento strutturale e comportare lesioni
gravi o la morte.
• Tenere le mani lontane dalla zona nella quale la scala è incastrata nel portascale.
Carico della scala nel portascale:
1. Verificare che la scala sia pulita e asciutta.
2. Aprire i portelloni posteriori del furgone oppure il portello
dell’autocarro per accedere al portascale.
3. Infilare le corde elastiche per spostare il fermo scorrevole
verso la parte posteriore.
4. Posizionare la scala con il lato degli scalini verso il basso
(non con il lato degli scalini verso l’alto).
5. Sollevare la parte superiore della scala e posizionarla nella
culla anteriore. Vedere la figura 7.
6. Sollevare e spingere in avanti la parte inferiore della scala,
provocando il movimento in avanti del supporto scorrevole
e mettendo in tensione le corde elastiche. Fermarsi nel
caso le corde elastiche si aggroviglino intorno alla scala.
Risolvere il problema e poi continuare.
7. Con una presa ferma della scala con due mani, spingere
e sollevare in modo che la parte inferiore del gradino più
basso sia allineata con la faccia del fermo fisso. Alleviare
Scarico della scala dal portascale:
1. Per scaricare la scala dal portascale, è necessario invertire
il processo di carico riporato sopra, seguendo le fasi se
-
guenti.
2. Verificare che vi sia spazio libero dietro il veicolo e che
sia possibile spostarsi in tale spazio in tutta sicurezza, allo
scopo di estrarre la scala dal veicolo.
3. Verificare che la scala non si sia spostata dalla posizione
originaria nel portascale e che sia ancora trattenuta in modo
sicuro dal fermo fisso.
Figura 7
Figura 8
la pressione in avanti e consentire alle corde elastiche di
spingere lo scalino contro il fermo fisso.
Nota:
la faccia del fermo fisso è progettata in modo da
essere adeguata per una certa varietà di scalini, con
disegno diverso. Nel caso lo scalino più basso della
scala non si incastri in modo sicuro con il fermo fisso,
tentare di riposizionare lo scalino. Nel caso sia ne
-
cessario regolare la posizione di montaggio del fermo
fisso, fare riferimento alle istruzioni di installazione
relative alla fase 4 a pagina 3.
8. Verificare che la scala sia incastrata in modo corretto con il
fermo fisso.
9. Allacciare il cavo di sicurezza attorno allo scalino più in
basso e agganciarlo su se stesso come mostrato nella
figura 8. Attaccare sempre il cavo di sicurezza attorno a uno
scalino. Altre parti della scala potrebbero non essere abba
-
stanza forti da trattenere la scala in caso di incidente.
4. Rimuovere il cavo di sicurezza dallo scalino.
5. Spingere in avanti la scala e quindi in basso per liberare lo
scalino dall’incastro con la faccia del fermo fisso. Prevedere
la forza di richiamo esercitata dalle corde elastiche.
6.Allontanarsi dal veicolo fino a quando la parte superiore
della scala sia giunta, per scorrimento, in prossimità del
fermo fisso.
7. In caso di scale lunghe o pesanti, appoggiare la parte infe
-
riore della scala a terra e quindi spostare il lato della scala
fino a una data posizione e sollevare la parte superiore
della scala dalla culla anteriore.
• Non mettere in moto il veicolo senza il cavo di sicurezza in posizione. Il cavo di sicurezza riduce il rischio che la scala possa
cadere o possa essere proiettata violentemente in avanti in caso di incidente che coinvolga il veicolo.
• Non consentire mai alle persone di sedere al di sotto oppure in prossimità della scala in posizione definitiva di trasporto mentre
il veicolo è in moto.
• In caso il veicolo venga coinvolto in un incidente oppure in caso di una frenata molto brusca, FERMARSI immediatamente e
verificare che la scala non si sia spostata dalla sua posizione nel portascale telescopico.
• Viaggiare su terreni dissestati o un forte, rilevante urto potrebbero causare la caduta della scala. Potrebbe essere necessario
assicurare ulteriormente la scala al portascale per garantire che essa resti nella posizione corretta.
AVVERTENZA
AVVERTENZA
04_sliding_it.indd 23
27/04/2009 11:18:04
Tools For The Professional
TM
PORTASCALE TELESCOPICO
Ridge Tool Company
24
Condurre ispezioni periodiche relativamente al portascale telescopico, per verificare che non sia usurato, fessurato, danneggiato o
che non presenti parti mancanti. Eseguire le riparazioni e le sostituzioni eventualmente necessarie.
Applicare una notevole quantità di grasso al litio alla parte interna della guida, in modo da consentire uno scorrimento dolce della
culla anteriore scorrevole.
Controllare le corde elastiche per verificare che non siano usurate o danneggiate. Se il rivestimento in tessuto è logoro, è possibile
che la corda si rompa improvvisamente. Sostituire le corde prima di utilizzare il portascale.
Controllare il cavo di sicurezza per verificare che non presenti danni o rotture. Verificare che non vi siano filamenti rotti. Nel caso
vengano rilevati filamenti rotti, sostituire il cavo prima di utilizzare il dispositivo.
MANUTENZIONE GENERALE
• Per ridurre il rischio di infortuni:
• Non utilizzare il portascale telescopico nel caso presenti parti mancanti o danneggiate.
• Ispezionare le corde elastiche per verificare l’assenza di usura. Se il rivestimento in tessuto è logoro, è possibile che la
corda si rompa improvvisamente. Non utilizzare il portascale.
• Verificare che sia sempre presente grasso sulla guida.
Qualsiasi modifica non autorizzata o uso improprio di questo prodotto annulla immediatamente la validità delle garanzie del
produttore. Il produttore declina ogni responsabilità per lesioni personali o danni alla proprietà derivanti da qualsivoglia modifica
o uso improprio del prodotto.
GARANZIA LIMITATA
La presente GARANZIA LIMITATA è rilasciata da RIDGID, 420 E. Terra Cotta Ave., Crystal Lake, Illinois all’acquirente o al rivenditore di
prodotti RIDGID
(r)
.
RIDGID GARANTISCE CHE I PRODOTTI RIDGID NON PRESENTANO DIFETTI DI FABBRICAZIONE O VIZI DI MATERIALE PER
LA DURATA DI TRE (3) ANNI DALLA DATA DI ACQUISTO DA PARTE DELL’ACQUIRENTE ORIGINALE. LA PRESENTE GARANZIA
È SPECIFICA PER QUESTA SOLUZIONE DI IMMAGAZZINAMENTO. LE GARANZIE DEGLI ALTRI PRODOTTI RIDGID POSSONO
QUINDI VARIARE DALLA PRESENTE.
Nel caso in cui, prima della scadenza del periodo di garanzia, l’acquirente dovesse riscontrare che il prodotto RIDGID non soddisfa i
requisiti della garanzia, dovrà mettersi in contatto con RIDGID per stabilire un’ispezione del prodotto. Se RIDGID stabilisce la presenza
di un difetto, RIDGID dovrà, a propria discrezione e spese, riparare o sostituire qualsiasi pezzo difettoso. Tutte le riparazioni in garanzia
devono essere effettuate da un rivenditore RIDGID o da un centro di assistenza autorizzato da RIDGID.
La presente garanzia non si applica se il prodotto RIDGID è stato danneggiato a causa di uso improprio, applicazioni o gestione errate,
manutenzione effettuata non correttamente o da modifiche eseguite da rivenditori o centri di assistenza non autorizzati da RIDGID.
LA STAMPA DELLA GARANZIA DI CUI SOPRA È LA SOLA E UNICA GARANZIA APPLICABILE AL PRESENTE ACQUISTO. SONO
ESCLUSE TUTTE LE ALTRE GARANZIE, ESPRESSE O IMPLICITE, INCLUSE MA NON LIMITATE ALLE GARANZIE IMPLICITE DI
COMMERCIABILITÀ E DI CONFORMITÀ A UN PARTICOLARE SCOPO.
RIDGID DECLINA OGNI RESPONSABILITÀ PER EVENTUALI DANNI ACCIDENTALI O CONSEQUENZIALI DERIVANTI DA
QUALSIVOGLIA VIOLAZIONE DELLA PRESENTE GARANZIA E IN OGNI CASO I DANNI NON POTRANNO SUPERARE IL VALORE
RIMBORSABILE DEL PREZZO DI ACQUISTO PAGATO DALL’ACQUIRENTE ORIGINALE.
La presente garanzia si sostituisce a tutte le altre implicite o esplicite. I termini della presente garanzia non devono essere modificati da
nessuna parte, incluse le loro subentranti o aventi causa. La presente garanzia consente di avvalersi di specifici diritti legali e offre la
possibilità di usufruire di ulteriori diritti che possono variare da uno Stato all’altro.
AVVERTENZA
-NOTA-
RICAMBI
2
1
PER LE PARTI DI RICAMBIO VISITARE IL SITO
www.ridgid.eu/jobsitestorage
N. ARTI-
COLO
N. DI CATA-
LOGO
DESCRIZIONE
1
34213
Cavo di sicurezza
2
34208
Corda elastica ammortiz-
zatrice (1 coppia)
3
34218
Kit bulloni (non mostrato)
Ridge Tool Europe, Interleuvenlaan 50, B-3001 Leuven www.ridgid.eu
04_sliding_it.indd 24
27/04/2009 11:18:04

