Karcher Mono пылесос самообслуживания anthrac – page 8
Manual for Karcher Mono пылесос самообслуживания anthrac

Допомога у випадку неполадок
Обережно!
Користувач
Фахівці-електрики
Небезпека травмування! Під час
Роботи з позначкою "Користувач"
Винятково особи, що одержали
проведення усіх ремонтних робіт та
дозволяється проводити тільки
професійну підготовку в сфері
робіт з технічного обслуговування
проінструктованим особам, здатним
електротехніки
.
необхідно вимикати головний вимикач.
безпечно управляти й обслуговувати
Служба підтримки користувачів
Хто повинен усувати неполадки?
встаткування високого тиску.
Роботи з позначкою "Служба
підтримки користувачів"
дозволяється проводити тільки
монтерам служби підтримки
користувачів фірми "Kдrcher".
Несправність Можливі причини Усунення ким
Пристрій не
Перервана подача живлення. Відновити електричне з'єднання. Перевірити
Користувач/
працює.
запобіжник, кабель, штекер та з’єднання.
Фахівець-
електрик
Спрацював захисний автомат двигуна
Повернути у вихідну позицію вимикач
Користувач
(тільки для 1.247-xxx і 1.263-xxx).
захисту двигуна, у випадку повторення
зверніться в сервісну службу.
Монетний контрольник забруднений. Очистити монетний контрольник. Користувач
Недостатня
Ємність для бруду невірно
Правильно установити на місце ємність для
Користувач
потужність
встановлена під корпусом фільтра.
бруду.
всмоктування
Фільтрувальний мішок засмічено. Стряхнути фільтрувальний мішок, очистити
Користувач
або замінити.
Усмоктувальна форсунка або
Перевірити усмоктувальну форсунку або
Користувач
усмоктувальний шланг забиті або
усмоктувальний шланг, прочистити або
ушкоджені.
замінити.
Ущільнення ємності для бруду
Очистити або замінити ущільнення. Користувач
засмічене або ушкоджено.
Усмоктувальний шланг невірно
Перевірити щільність фіксування
Користувач
встановлений.
усмоктувального шланга в корпусі фільтра.
Засмічено вхід усмоктуваного повітря. Зняти корпус фільтра. Видалити
Користувач
усмоктувальний шланг і очистити вхідний
отвір.
Неправильний напрямок обертання
Перемінити фазу. Фахівець-
усмоктувальних турбін (тільки для
електрик/сервісна
1.247-xxx і 1.263-xxx).
служба
Усмоктувальна турбіна несправна. Перевірити вугільні
щітки, при необхідності
Фахівець-
замінити (тільки для 1.224-xxx і 1.261-xxx).
електрик
При всмоктуванні
Фільтрувальний мішок неправильно
Перевірити сідло фільтра, при необхідності
Користувач
виходить пил
встановлений або ушкоджений.
замінити фільтрувальний мішок.
Гарантія Приладдя й запасні деталі
Назва №
У кожній країні діють умови гарантії,
– При цьому будуть використовуватись
замовлення
наданої відповідною фірмою-
лише ті комплектуючі та запасні
Усмоктувальний
4.440-606
продавцем. Неполадки в роботі
частини, що надаються виробником.
шланг NW 50,5 м
пристрою ми усуваємо безплатно
Оригінальні комплектуючі та запасні
протягом терміну дії гарантії, якщо вони
частини замовляються по гарантії,
викликані браком матеріалу чи
щоб можна було безпечно та без
помилками виготовлення. У випадку
перешкод використовувати пристрій.
чинності гарантії звертіться до продавця
– Асортимент запасних частин, що
чи в найближчий авторизований
часто необхідні
, можна знайти в кінці
сервісний центр з документальним
інструкції по експлуатації.
підтвердженням покупки.
– Подальша інформація по запасним
частинам є на сайті
www.kaercher.com в розділі Сервіс.
Українська 141

Установити й затягти гвинти.
Установка приладу
Установити верхню частину колони
(див. прикладену монтажну
Тільки для авторизованого
інструкцію 0.082-374).
Цим ми повідомляємо, що нижче
персоналу!
зазначена машина на основі своєї
конструкції та конструктивного
виконання, а також у випущеної у
Зняти корпус фільтра.
продаж моделі, відповідає спеціальним
Електричні з'єднання
Потягнути усмоктувальні шланги
основним вимогам щодо безпеки та
– Значення щодо підключення див.
назовні через отвори в задній стінці.
захисту здоров'я представлених нижче
Технічні дані та заводську табличку.
Засунути кінці усмоктувальних
директив ЄС. У випадку неузгодженої з
– Електричні з’єднання повинні бути
шлангів у патрубки корпуса фільтра.
нами зміни машини ця заява втрачає
виконані електромонтажником та
При цьому виступи кріплень потрібно
свою силу.
відповідати IEC 60364-1.
зафіксувати у виїмках патрубків.
– Зазначена напруга на заводській
Установити корпус фільтра.
табличці повинна збігатися з
Повісити
всмоктувальни сопла на
напругою у джерелі току.
тримач.
Вказівка
При закріпленні кабелю
електроживлення не можна видаляти
вже закріплений перешкодозахисний
конденсатор.
Підготовка місця для установки
Для установки прилада належним
чином, будь ласка,
дотримуйтеся
наступних положень:
– Необхідно знайти горизонтальне,
Тільки для пристрою з колоною:
рівне місце з мінімальними
Зачепити гачок із затиском
розмірами 700 мм x 900 мм (700 мм x
усмоктувального шланга у вушках
750 мм, пристрій без колони).
системи тросів.
– Подача електроенергії відповідно до
листка з розмірами (A), див. додаток.
4 монтажних отвори d=12 мм,
Встановити електричне з'єднання.
5.957-585
глибина 75 мм, свердлити відповідно
Тільки для 1.247-xxx і 1.263-xxx:
5.957-597
до листка з розмірами.
Перевірити напрямок обертання
усмоктувальних турбін, якщо буде
Ті, хто підписалися діють за запитом та
Установити й вирівняти прилад
потреба перемінити фазу.
дорученням керівництва.
Відкрити дверцята пристрою.
Вставити ємкість для бруду.
Вийняти із пристрою резервуар для
Вставити резервуар для сміття у
сміття
й ємності для бруду і
дверці пристрою.
поставити осторонь.
Перевірити функціонування приладу.
Обережно!
Настроїти час всмоктування за
Alfred Kaercher GmbH & Co. KG
Небезпека поранення від ушкодженого
бажанням клієнта.
Alfred-Kaercher-Str. 28 - 40
приладу. Прилад слід пригвинтити до
D - 71364 Winnenden
З'єднати кабель, проведений через
твердої, носкої поверхні.
Тел.: +49 7195 14-0
отвір підставки, з головним
Факс: +49 7195 14-2212
вимикачем відповідно до схеми
електричних з'єднань, що додається.
1 Шайба
2 Гвинт
3 Дюбель
Закріпити прилад за допомогою
матеріалу, що додається:
Вставити дюбелі у зроблені отвори.
Поставити прилад на призначене
місце. При цьому провести кабель
для електричного підключення через
отвір у підставці приладу.
Вставити шайби, як показано
на
малюнку.
142 Українська
!
Заява про відповідність
вимогам CE
Установити усмоктувальний
шланг
Продукт: пилосос для сухого
прибирання
Тип: 1.224-xxx
Тип: 1.247-xxx
Тип: 1.261-xxx
Тип: 1.263-xxx
Відповідна директива ЄС
2006/95/ЄС (до 28.12.2009)
2006/42/ЄС (з 29.12.2009)
2004/108/ЄС
Прикладні гармонізуючі норми
EN 55014–1: 2006
EN 55014–2: 1997 + A1: 2001
EN 60335–1
EN 60335–2–69
EN 61000–3–2: 2006
1.247-xxx, 1.263-xxx:
EN 61000–3–3: 1995 + A1: 2001 + A2:
2005
1.224-xxx, 1.261-xxx:
EN 61000–3–11: 2000
Введення в експлуатацію
CEO
Head of Approbation

Cihazınızı ilk defa
Güvenlik uyarıları
Kurallara uygun kullanım
kullanmadan önce bu kullanım
kılavuzunu okuyup buna göre davranınız.
Tehlike
Not
Bu kullanım kılavuzunu, daha sonra tekrar
Yangın ve patlama tehlikesi!
Kärcher, cihazda, temizlenecek müşteri
kullanmak ya da cihazın sonraki
– Asla patlayıcı sıvılar, yanıcı gazlar,
araçlarında bu kullanım kılavuzundaki
kullanıcılarına iletmek üzere saklayın.
patlayıcı tozlar ve de inceltilmiş asit ve
düzenlemelere uyulmaması sonucu ortaya
– İlk kullanımdan önce, 5.956-249
çözücü madde temizlemeyin. Bu
çıkan hasarlar ve diğer hasarlar için hiçbir
numaralı güvenlik uyarılarını mutlaka
maddeler emme havası ile türbülans
sorumluluk üstlenmemektedir.
okuyun!
oluşturulduğunda patlayıcı buharlar
– Cihaz, motorlu taşıtların iç
–Kullanım kılavuzunun ve emniyet
veya karışımlar oluşturulabilir.
bölümlerindeki kuru kirlerin emilmesi
uyarılarının dikkate alınmaması halinde
– Cihazı tehlikeli bölgelerin dışına kurun.
için üretilmiştir.
cihazda hasar, kullanıcıda ve diğer
Tehlikeli bölgelere örnekler:
–Yanıcı maddeler, sağlığa zararlı tozlar
kişilerde tehlike oluşabilir.
– Benzin tabancalarının etki bölgeleri.
ve sıvıların emilmesi kurallara aykırı ve
– Nakliye hasarlarını hemen yetkili
– Benzin doldurulan araçlara 1 metre
bununla birlikte yasaktır.
satıcıya bildirin.
mesafedeki alan.
– Bu cihaz sanayi amaçlı kullanım için
– Depo hava boşaltım direğinin
uygundur.
İçindekiler
çevresindeki bölge.
Çevre koruma 143
– Benzin ayırıcısına bağlantılı hortumlara
Kullanım kılavuzu ile ilgili notlar 143
2 metreye mesafeye kadar olan bölge.
Güvenlik uyarıları 143
– Kule kasalarına 2 metre mesafeye
kadar olan bölge.
Kurallara uygun kullanım 143
– Teslimat yapan benzin tankerlerinin
Cihaz elemanları 144
çevresindeki bölge.
Kullanımı 145
Tehlike
Teknik Bilgiler 146
Cihaz, zararlı tozların emilmesi için
Koruma ve Bakım 146
kullanılmamalıdır.
Arızalarda yardım 148
Tehlike
Garanti 148
Elektrik çarpması nedeniyle yaralanma
Aksesuarlar ve yedek parçalar 148
tehlikesi!
Cihazı kurulumu 149
– Cihaz sadece topraklanmış bir akım
CE Beyanı 149
kaynağında çalıştırılmalıdır.
– Elektrik bağlantı kablosuna düzenli
Çevre koruma
olarak hasar ve eskime kontrolü
yapılmalıdır. Hasarların belirlenmesi
durumunda cihaz bir daha
Ambalaj malzemeleri geri
kullanılmamalıdır.
dönüştürülebilir. Ambalaj
malzemelerini evinizin çöpüne
Tehlike
atmak yerine lütfen tekrar
Devrilen cihaz nedeniyle yaralanma
kullanılabilecekleri yerlere
tehlikesi. Cihaz, sağlam, taşıma özelliğine
gönderin.
sahip bir zemine vidalanmalıdır.
– Yasa koyucunun ilgili ulusal
Eski cihazlarda, yeniden
talimatlarına uyulmalıdır.
değerlendirme işlemine tabi
– Kurulum, işletime alma, bakım, onarım
tutulması gereken değerli geri
ve kullanımla ilgili tüm kişiler gerekli
dönüşüm malzemeleri
kalifikasyona sahip olmalı, bu kullanım
bulunmaktadır. Aküler, yağ ve
kılavuzu ve gerekli talimatları öğrenmeli
benzeri maddeler doğaya
ve uymalıdır.
ulaşmamalıdır. Bu nedenle
eski cihazları lütfen öngörülen
Kullanım kılavuzundaki semboller
toplama sistemleri aracılığıyla
Tehlike
imha edin.
Doğrudan tehdit edici tehlikeleri tanımlar.
Kullanım kılavuzu ile ilgili
Uyarının dikkate alınmaması durumunda
ölüm ya da ağır yaralanma tehlikesi
notlar
bulunmaktadır.
Bu kullanım kılavuzu DUO SB süpürgeyi
몇 Uyarı
açıklamaktadır. MONO SB süpürgenin
Muhtemel tehlikeli bir durumu tanımlar.
yapısı prensip olarak aynıdır. Süpürgeler
Uyarının dikkate alınmaması durumunda
esas olarak emme tertibatlarının sayısında
hafif yaralanmalar olabilir ya da maddi
farklılık gösterir.
hasarlar ortaya çıkabilir.
Not
Uygulama önerileri ve önemli bilgileri
tanımlar.
Türkçe 143

Cihaz elemanları
1 Muhafaza
18 Ana şalter
2 Cihaz kapıları
19 Kapak
3 Cihaz kapılarının kilidi
4Kolon
5 Çekme teli
6 Emme hortumu
7 Vakum memesi
8 Vakum memesi tutucusu
9 Sallama tertibatının kolu
10 Filtre muhafazası
11 Çöp deposu
12 Çöp deposunu çıkartmak için tutucu sac
13 Atık haznesi
14 Emme türbini
15 Metal para kontrol cihazı
16 Metal para haznesi
17 Elektronik ünite
144 Türkçe

Kullanımı
Tellerin kuvvetinin ayarlanması
(Sadece kolonlu cihazlarda)
Cihazı açın
Ana şalteri "1" konumuna getirin.
Koruyucu kapağın üst tarafındaki
cıvataları sökün.
Emme tertibatını çalıştırmak için metal
Koruyucu kapağı öne doğru (cihaz
para atın.
kapıları yönünde) çekin.
– Emme süresi boyunca metal para
atılması engellenir. Monety nie sumuj si.
– Ayarlanan emme süresinin
dolmasından sonra cihaz otomatik
olarak kapanır.
몇 Uyarı
Vakum türbinlerinin aşırı ısınma tehlikesi!
Emme havasının sıcaklığı maksimum +
40°C olmalıdır.
Emme süresinin ayarlanması
Çekme kuvvetini ayarlayın.
Tehlike
– Kuvvetin artırılması: El çarkını saat
Elektrik çarpması nedeniyle yaralanma
yönünde (+) döndürün.
tehlikesi. Ayarlama çalışmalarından önce
– Kuvvetin azaltılması: El çarkını saat
cihazı kapatın.
yönünün tersine doğru (-) döndürün.
Cihaz kapılarını açın.
Koruma kapağını tekrar yerleştirin ve
Kapağı yukarı katlayın ve geriye itin.
vidalayın.
Ana şalteri "0" konumuna getirin.
Elektronik ünitede ilgili zaman rölesinin
düğmesini istediğiniz değere (0...10
dakika) ayarlayın.
Ana şalteri "1" konumuna getirin.
Kapağı kapatın.
Cihaz kapılarını kapatın.
Not
Ayarlanan değeri bir kronometre ile kontrol
edin ve gerekirse düzeltin.
Metal para haznesinin boşaltılması
Not
Metal para haznesini her gün boşaltın.
Cihaz kapılarını açın.
Metal para haznesini açın ve boşaltın.
Metal para haznesini kapatın.
Cihaz kapılarını kapatın.
Türkçe 145

Teknik Bilgiler
MONO MONO DUO DUO
Parça No. 1.261-xxx 1.263-xxx 1.224-xxx 1.247-xxx
Elektrik türü -- 1~ 3~ 1~ 3~
Frekans Hz 50/60 50 50/60 50
Gerilim V 230 400 230 400
Bağlantı gücü kW 2x 0,8 1,5 4x 0,8 2x 1,5
Elektrik sigortası (gecikmeli) A 16 16 16 16
İzin verilen maksimum şebeke empedansı Ohm (0.312+j0.195) -- (0.312+j0.195) --
Vakum kPa (mbar) 18 (180) 21 (210) 18 (180) 21 (210)
Hava miktarı l/s 2x 50 56 4x 50 2x 56
Filtre yüzeyi m
2
0,4 0,4 2x 0,4 2x 0,4
Kap içeriği l 25 25 2x 25 2x 25
Ses şiddeti seviyesi (EN 60704-2-1) dB(A) 65 64 65 64
Çevre sıcaklığı °C -20...+40 -20...+40 -20...+40 -20...+40
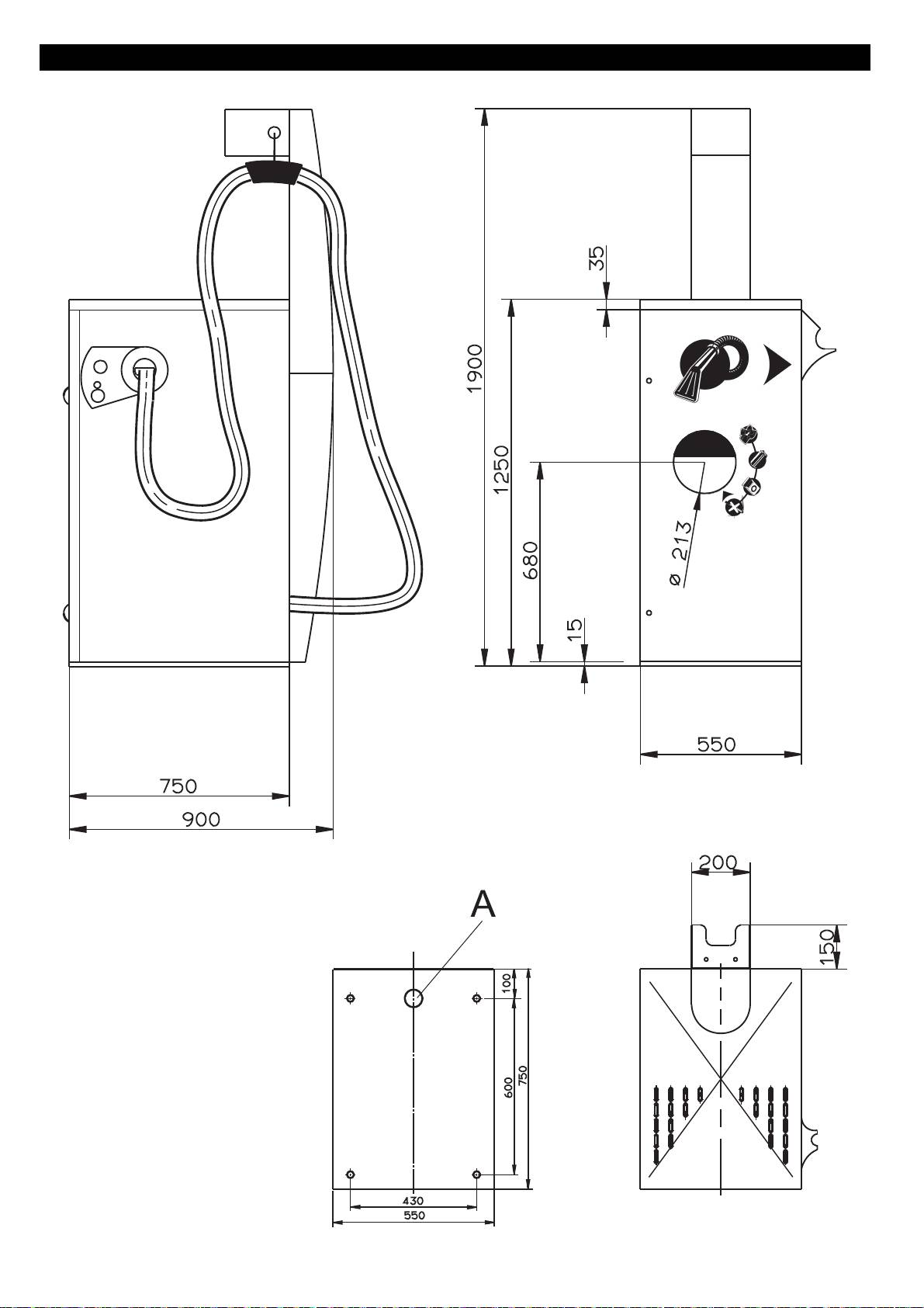
Genişlik mm 550 550 700 700
Kolon hariç genişlik mm 750 750 750 750
Kolon dahil genişlik mm 900 900 900 900
Kolon hariç yükseklik mm 1250 1250 1250 1250
Kolon hariç yükseklik mm 1915 1915 1915 1915
Ağırlık kg 100 110 120 130
Cihazın muhafazasını ev temizlik
Plakayı (2) yerleştirin, bu sırada metal
Koruma ve Bakım
maddeleriyle temizleyin.
para boşaltma hattındaki boşaltma
Tehlike
yayını (3) bükmeyin.
Metal para kontrol cihazının
Geri yayını (1) itin.
Yaralanma tehlikesi! Tüm bakım ve onarım
temizlenmesi
çalışmalarında ana şalter kapatılmalıdır.
Kapağı kapatın.
Dış etkiler ya da metal paraların üstündeki
Cihaz kapılarını kapatın.
Cihazın temizlenmesi
kirler zamanla metal para kontrol cihazının
Filtre muhafazasının sökülmesi
Cihazı her gün ya da düzenli aralıklarla
kirlenmesine neden olur.
temizleyin (süpürme işletimi ve kir
Not
Çöp deposunu çıkartın.
oluşumuna bağlı olarak).
Bükülen boşaltma yayı nedeniyle çalışma
Cihaz kapılarını açın.
arızası. Metal para hareket hattındaki
Atık haznesini çıkartın, boşaltın ve
bo
şaltma yayını bükmeyin.
tekrar yerine takın.
Cihaz kapılarını açın.
Sallama tertibatının koluna 5-10 kez
Kapağı yukarı katlayın ve geriye itin.
basarak her iki filtre torbasını sallayın.
Tozun yere inmesini sağlayın, bu
amaçla yaklaşık 1 dakika bekleyin.
Çöp deposunu almak için kullanılan
tutucu sacları aşağı çevirin ve iki çöp
deposunu çıkartın.
A Kanatlı somun
Çöp deposunu boşaltın.
B Filtre muhafazası
İlgili çöp deposunun keçesini temizleyin
Kanatlı somunu sökün.
ve keçeye hasar kontrolü yapın.
Filtre muhafazasını cihaz kapılarının
Çöp deposunu tekrar yerine yerleştirin.
yönünde çekin ve dışarı çıkartın.
Bu sırada, ilgili çöp deposunun kolunun
Geri yayını (1) çekerek çıkartın.
direkt olarak öne bakmamasına dikkat
Plakayı (2) çıkartın.
edin.
Metal para atma bölümünü fırça ve
Tutucu sacları yukarı çevirin.
temizleme sıvısıyla (Örn; yıkama
Cihaz kapılarını kapatın.
benzini, ispirto) dikkatli bir şekilde
Not
temizleyin.
Çöp depolarıınn boşaltılmasını gösteren
Not
resimli bir kısa açıklama, kapağa
Parçaları yağlamayın.
yerleştirilmiştir.
146 Türkçe

Emme hortumunun çıkartılması
Çöp deposundaki keçenin
değiştirilmesi
Filtre muhafazasını sökün
Emme hortumunun burunlarını büyük
Gerekirse, yapışmış, hasarlı keçeyi
bir tornavidayla içeri bastırın ve emme
kopartarak çıkartın ve girintiyi
hortumunu dışarı çekin.
temizleyin.
Yeni keçeyi piyasada bulunan kontak
Filtre torbasının değiştirilmesi
tutkalıyla yapıştırın.
Sökülmesi
Filtre muhafazasını sökün
Filtre torbasının iki gözünü filtre
muhafazasının kancalarından dışarı
kaldırın.
Filtre muhafazasını döndürün ve 4
sıkıştırma kolunu yana doğru döndürün.
Filtre torbasını filtre muhafazasından
çıkartın.
Not
Filtre torbaları çamaşır makinesinde
+40°C''de ince deterjanla yıkanabilir.
Tekrar kullanmadan önce filtre torbalarını
iyice kurutun.
Takılması
Filtre torbasın
ı alttan filtre
muhafazasının içine itin.
Filtre muhafazasını döndürün ve filtre
torbasının iki gözünü filtre
muhafazasının kancasına asın.
Filtre muhafazasını döndürün ve
filtrenin gergi halkasını büyük bir
tornavidayla filtre muhafazasındaki
yuvanın içine itin.
4 sıkıştırma kolunu geriye döndürerek
filtre torbasını kilitleyin.
몇 Uyarı
Hasar tehlikesi! Gergi halkasını itmek için
sivri cisimler kullanmayın.
Türkçe 147

Arızalarda yardım
Tehlike
Elektrik teknisyenleri
Müşteri hizmeti
Yaralanma tehlikesi! Tüm bakım ve onarım
Sadece elektrik tekniği alanında
"Müşteri hizmetleri" uyarılı çalışmalar,
çalışmalarında ana şalter kapatılmalıdır.
mesleki eğitim almış kişiler.
sadece Kärcher müşteri hizmetleri
Arızaları kim gidermelidir?
montajcıları tarafından yapı
lmalıdır.
İşletmeci
"İşletmeci" uyarılı çalışmalar, sadece
yüksek basınçlı sistemleri güvenli bir
şekilde kullanabilen ve bu sistemlere
bakım yapabilen eğitimli kişiler
tarafından yapılmalıdır.
Arıza Olası nedeni Arızanın giderilmesi Kimin tarafından
Cihaz çalışmıyor Elektrik beslemesinde kopukluk. Elektrik bağlantısını kurun. Sigorta, soket, kablo
İşletmeci/Elektrik
ve bağlantıyı kontrol edin.
teknisyeni
Motor koruma şalteri devreye girdi
Motor koruma şalterini geri alın, arızanın
İşletmeci
(sadece 1.247-xxx ve 1.263-xxx'de)
tekrarlanması durumunda müşteri hizmetlerini
çağırın.
Metal para kontrol cihazı kirlenmiş. Metal para kontrol cihazını temizleyin İşletmeci
Yetersiz emme
Çöp deposu filtre muhafazasının altında
Çöp deposunu doğru şekilde oturtun. İşletmeci
kapasitesi
doğru oturmuyor.
Filtre torbası kirlenmiş. Filtre torbasını sallayı
n, temizleyin veya
İşletmeci
değiştirin.
Emme memesi veya emme hortumu
Emme memesi ve emme hortumunu kontrol
İşletmeci
tıkanmış veya hasarlı.
edin, temizleyin veya değiştirin.
Çöp deposundaki keçe kirlenmiş ya da
Keçeyi temizleyin veya değiştirin. İşletmeci
hasarlı.
Emme hortumu yanlış takılmış. Emme hortumunun filtre muhafazasında sıkı
İşletmeci
oturup oturmadığını kontrol edin.
Emme havası girişi tıkanmış. Filtre muhafazasını çıkartın. Emme hortumunu
İşletmeci
çıkartın ve giriş deliğini temizleyin.
Emme türbinlerinin dönme yönü ynalış
Fazı deği
ştirin. Elektrik teknisteni/
(sadece 1.247-xxx ve 1.263-xxx'de)
Müşteri hizmetleri
Emme türbini arızalı . Kömür fırçaları kontrol edin, gerekirse değiştirin
Elektrik teknisyeni
(sadece 1.224-xxx ve 1.261-xxx'de).
Emme sırasında
Filtre torbası doğru takılmamış veya
Filtrenin oturmasını kontrol edin, gerekirse filtre
İşletmeci
dışarı toz çıkıyor
arızalı.
torbasını değiştirin.
Garanti Aksesuarlar ve yedek
parçalar
Her ülkede yetkili distribütörümüz
tarafından verilmiş garanti şartları
– Sadece üretici tarafından onaylanmış
geçerlidir. Garanti süresi içinde cihazınızda
aksesuar ve yedek parçalar
oluşan muhtemel hasarları, arızanın
kullanılmalıdır. Orijinal aksesuar ve
kaynağı üretim veya malzeme hatası
orijinal yedek parçalar, cihazın güvenli
olduğu sürece ücretsiz olarak karşılıyoruz.
ve arızasız bir biçimde çalışmasının
Garanti hakkınızdan yararlanmanızı
güvencesidir.
gerektiren bir durum olduğu zaman, ilgili
–En sı
k kullanılan yedek parça çeşitlerini
faturanız ile birlikte satıcınıza veya size en
kullanım kılavuzunun sonunda
yakın yetkili servisimize başvurunuz.
bulabilirsiniz.
– Yedek parçalar hakkında diğer bilgileri,
www.kaercher.com adresindeki Servis
bölümünden alabilirsiniz.
Tanımlama Sipariş No.
Emme hortumu NW
4.440-606
50, 5 m
148 Türkçe

Cihazı kurulumu
Filtre muhafazasını sökün
İşbu belge ile aşağıda tanımlanan
Sadece yetkili teknik
Emme hortumlarını, deliklerden
makinenin konsepti ve tasarımı ve
personel için
geçirerek dıştan arka panoya
tarafımızdan piyasaya sürülen modeliyle
kılavuzlayın.
AB yönetmeliklerinin temel teşkil eden ilgili
Emme hortumlarının ucunu filtre
güvenlik ve sağlık yükümlülüklerine uygun
muhafazasının ağzına takın. Bu sırada,
olduğunu bildiririz. Onayımız olmadan
Elektrik bağlantısı
sabitleme burunları ağzıdaki girintilere
cihazda herhangi bir değişiklik yapılması
kilitlenmelidir.
durumunda bu beyan geçerliliğini yitirir.
–Bağlantı değerleri için Bkz. Teknik
Özellikler ve Tip Plakası.
Filtre muhafazasını takın.
– Elektrik bağlantısı bir elektrik tesisatçısı
Emme memelerini emme memesi
tutucusuna takın.
tarafından yapılmalı ve IEC 60364-1'e
uygun olmalıdır.
– Tip etiketinde belirtilen voltaj ile akım
kaynağının voltajı aynı olmalıdır.
Not
Gerilim beslemesi bağlanırken, bağlı
durumdaki parazit önleme kondansatörü
sökülmemelidir.
Kurulum yerinin hazırlanması
Cihazı düzgün şekilde kurmak için, daha
önce aşağıdakileri dikkate alın:
Sadece kolonlu cihazlarda: Emme
– En az 700 mm x 900 mm (700 mm x
hortumlarının karabiner kancasını
750 mm, kolon hariç cihaz) ebadında
tellerin gözlerine asın.
yatay, düz bir yer mevcut olmalıdır.
– Ölçü sayfasına (A) göre akım
beslemesi, Bkz. Ek.
Elektrik bağlantısını kurun.
Sadece 1.247-xxx ve 1.263-xxx'de:
5.957-585
d=12 mm, 75 mm derinlikte 4 sabitleme
deliği delin.
Emme türbinlerinin dönme yönünü
5.957-597
kontrol edin, gerekirse fazı değiştirin.
Cihazın kurulması ve teraziye
İmzası bulunanlar, işletme yönetimi adına
Çöp deposunu yerleştirin.
alınması
ve işletme yönetimi tarafından verilen
Atık deposunu cihaz kapılarına asın.
vekalete dayanarak işlem yapar.
Cihaz kapılarını
açın.
Cihazın çalışmasını kontrol edin.
Atık deposu ve çöp deposunu cihazdan
Eme süresini müş
teri isteğine göre
çıkartın ve kenara koyun.
ayarlayın.
Tehlike
Taban deliğinden daha önce geçirilmiş
Devrilen cihaz nedeniyle yaralanma
kabloyu ekteki elektrik akım şemasına
Alfred Kärcher GmbH & Co. KG
tehlikesi. Cihaz, sağlam, taşıma özelliğine
göre ana şaltere bağlayın.
Alfred-Kärcher-Str. 28 - 40
sahip bir zemine vidalanmalıdır.
D - 71364 Winnenden
Tel.: +49 7195 14-0
Faks: +49 7195 14-2212
1Pul
2Cıvata
3 Dübel
Cihazı ekteki sabitleme malzemesi ile
sabitleyin:
Dübeli açmış olduğunuz deliğe takın.
Cihazı öngörülen yere koyun. Bu
sırada, elektrik bağlantı kablosunu
cihazın tabanındaki delikten geçirin.
Çizimde gösterildiği gibi pulları takı n.
Cıvataları takın ve sıkın.
Kolon üst parçasını takın (Bkz. Ekteki
montaj kılavuzu 0.082-374).
Türkçe 149
!
Emme hortumlarının takılması
CE Beyanı
Ürün: Kuru süpürge
Tip: 1.224-xxx
Tip: 1.247-xxx
Tip: 1.261-xxx
Tip: 1.263-xxx
İlgili AB yönetmelikleri
2006/95/EG (28.12.2009'a kadar)
2006/42/EG (29.12.2009'dan itibaren)
2004/108/EG
Kullanılmış olan uyumlu standartlar
EN 55014–1: 2006
EN 55014–2: 1997 + A1: 2001
EN 60335–1
EN 60335–2–69
EN 61000–3–2: 2006
1.247-xxx, 1.263-xxx:
EN 61000–3–3: 1995 + A1: 2001 + A2:
2005
1.224-xxx, 1.261-xxx:
İşletime alma
EN 61000–3–11: 2000
CEO
Head of Approbation

enne seadme esmakordset
Ohutusalased märkused
Sihipärane kasutamine
kasutamist tuleb lugeda
käesolevat kasutusjuhendit ja toimida selle
Oht
Märkus
kohaselt. Juhend tuleb hilisemaks
Tule- ja plahvatusoht!
Kärcher ei saa võtta vastutust seadmele või
kasutamiseks või järgmise omaniku tarvis
– Ärge kunagi imege masinasse
puhastatavatele klientide sõidukitele
alles hoida.
plahvatusohtlikke vedelikke,
tekitatud kahjustuste eest või muude
– Enne esmakordset kasutuselevõttu
tuleohtlikke gaase plahvatusohtlikku
kahjustuste eest, mille põhjuseks on selle
lugege kindlasti ohutusjuhiseid nr.
tolmu ega lahusteid või lahjendamata
kasutusjuhendi nõuete mittejärgimine.
5.956-249!
happeid. Need võivad imiõhu keerises
– Seade on ette nähtud kuiva mustuse
– Kasutusjuhendi ja ohutuseeskirjade
moodustada plahvatusohtliku auru või
eemaldamiseks sõidukite siseruumist.
eiramine võib põhjustada seadme
gaasisegu.
– Mittesihipärane ja seega keelatud on
rikkeid ja ohtu kasutaja ning teiste
– Paigutage seade ohualase väljapoole.
põleva materjali, tervisele ohtliku tolmu
isikute jaoks.
Ohualadeks on näiteks:
ja vedelike imemine.
– Transpordil tekkinud vigastuste puhul
– Tankimispüstolite toimeala.
– Seade sobib tööstuses kasutamiseks.
teavitage toote müüjat.
– Tsoon 1 m raadiuses tangitavatest
sõidukitest.
Sisukord
– Paagi õhutusmasti ümbrus.
Keskkonnakaitse 150
– Piirkond kuni 2 m raadiuses šahtidest,
Märkus kasutusjuhendi kohta 150
millel on ühendus bensiini
Ohutusalased märkused 150
separaatoriga.
– Piirkond kuni 2 m aurukambri šahtidest.
Sihipärane kasutamine 150
– Kütust kohaletoovate kütuseautode
Seadme elemendid 151
ümbrus.
Käsitsemine 152
Oht
Tehnilised andmed 153
Seade ei sobi tervisele ohtliku tolmu
Korrashoid ja tehnohooldus 153
imemiseks.
Abi häirete korral 155
Oht
Garantii 155
Elektrilöögist lähtuv vigastusoht!
Lisavarustus ja varuosad 155
– Seadet tohib kasutada ainult
Seadme paigaldamine 156
maandatud vooluallikast.
CE-vastavusdeklaratsioon 156
– Toitekaablit tuleb regulaarselt
kontrollida vigastuste ja vananemise
Keskkonnakaitse
osas. Kui märgatakse vigastusi, ei tohi
seadet enam kasutada.
Pakendmaterjalid on
Oht
taaskasutatavad. Palun ärge
Ümberkukkuvast seadmest lähtuv
visake pakendeid
vigastusoht. Seade tuleb poltidega
majapidamisprahi hulka, vaid
kinnitada tugevale, kandevõimelisele
suunake need taaskasutusse.
pinnale.
– Järgida tuleb kõiki riigis kehtivaid
Vanad seadmed sisaldavad
seaduslikke eeskirju.
taaskasutatavaid materjale,
– Kõik paigaldamise, kasutuselevõtu,
mis tuleks suunata
hoolduse, remondi ja käitamisega
taaskasutusse. Patareid, õli ja
seotud isikud peavad omama vastavat
muud sarnased ained ei tohi
kvalifikatsiooni, olema lugenud seda
jõuda keskkonda. Seetõttu
kasutusjuhendit ja tundma ning järgima
palume vanad seadmed
vastavaid eeskirj.
likvideerida vastavate
kogumissüsteemide kaudu.
Kasutusjuhendis leiduvad
sümbolid
Märkus kasutusjuhendi kohta
Oht
Selles kasutusjuhendis selgitatakse DUO
Tähistab vahetult ähvardavat ohtu. Kui
SB-imuri kasutamist. MONO SB-imuri
märkusega ei arvestata, võib see kaasa
konstruktsioon on põhimõtteliselt sama.
tuua surma või väga tõsiseid vigastusi.
Imurid erinevad vaid imemisseadiste arvu
몇 Hoiatus
poolest.
Tähistab võimalikku ohtlikku olukorda. Kui
märkusega ei arvestata, võib see kaasa
tuua kergemaid vigastusi või materiaalset
kahju.
Märkus
Tähistab näpunäiteid kasutamiseks ja
olulist infot.
150 Eesti

Seadme elemendid
1Korpus
18 Pealüliti
2 Seadme uks
19 Kate
3 Seadme ukse lukustus
4 Sammas
5 Kaabel
6 Imemisvoolik
7 Imiotsak
8 Imiotsiku hoidja
9 Raputusseadise hoob
10 Filtrikorpus
11 Mustusemahuti
12 Kinnitusplaat mustusemahuti
väljavõtmiseks
13 Prahimahuti
14 Imiturbiin
15 Müntide kontrollija
16 Mündihoidja
17 Elektroonika
Eesti 151

Käsitsemine
Reguleerige kaablite
tagasitõmbejõudu
Seadme sisselülitamine
(Ainult sambaga seadmetel)
Keerake pealüliti asendisse "1".
Eemaldage kattel olevad kruvid.
Imiseadise käivitamiseks visake münt
Tõmmake kate ette (seadme ukse
sisse.
suunas).
– Imemisaja vältel on mündi
sisseviskeava kinni. Üksikute müntide
väärtust ei saa kokku liita.
– Pärast määratud imiaja möödumist
lülitub seade välja.
몇 Hoiatus
Imiturbiinide ülekuumenemisoht! Imiõhu
temperatuur võib ollam maksimaalselt
+40 °C.
Imiaja seadistamine
Reguleerige tagasitõmbejõudu.
Oht
– Jõu suurendamine: Keerake käsiratast
Elektrilöögist lähtuv vigastusoht. Lülitage
päripäeva (+).
seade enne seadistustöid välja.
– Jõu vähendamine: Keerake käsiratast
Avage seadme uks.
vastupäeva (-).
Tõstke kaas üles ja lükake taha.
Pange kate uuesti kohale ja kruvige
Keerake pealüliti asendisse "0".
kinni.
Seadke elektroonika aegrelee
pöördnupp soovitud väärtusele (0...10
minutit).
Keerake pealüliti asendisse "1".
Sulgege kate.
Sulgege seadme uks.
Märkus
Kontrollige stopperiga seadistatud väärtust
ja korrigeerige vajadusel.
Mündihoidja tühjendamine
Märkus
Tühjendage mündihoidjat iga päev.
Avage seadme uks.
Avage mündihoidja ja tühjendage see.
Sulgege mündihoidja.
Sulgege seadme uks.
152 Eesti

Tehnilised andmed
MONO MONO DUO DUO
Detaili nr.: 1.261-xxx 1.263-xxx 1.224-xxx 1.247-xxx
Voolu liik -- 1~ 3~ 1~ 3~
Sagedus Hz 50/60 50 50/60 50
Pinge V 230 400 230 400
Tarbitav võimsus kW 2x 0,8 1,5 4x 0,8 2x 1,5
Elektriline kaitse (inaktiivne) A 16 16 16 16
Maksimaalselt lubatav võrguimpedants oomi (0.312+j0.195) -- (0.312+j0.195) --
Alarõhk kPa
18 (180) 21 (210) 18 (180) 21 (210)
(millibaari)
Õhukogus l/s 2x 50 56 4x 50 2x 56
Filtripind m
2
0,4 0,4 2x 0,4 2x 0,4
Paagi maht l 25 25 2x 25 2x 25
Helirõhupeel (EN 60704-2-1) dB(A) 65 64 65 64
Ümbritsev temperatuur °C -20...+40 -20...+40 -20...+40 -20...+40
Laius mm 550 550 700 700
Sügavus ilma sambata mm 750 750 750 750
Sügavus sambaga mm 900 900 900 900
Kõrgus ilma sambata mm 1250 1250 1250 1250
Kõrgus sambaga mm 1915 1915 1915 1915
Kaal kg 100 110 120 130
Puhastage seadme korpust
Lükake pingutusvedru (1) peale.
Korrashoid ja tehnohooldus
universaalpuhastusvahendiga.
Sulgege kate.
Oht
Sulgege seadme uks.
Mündikontrollija puhastamine
Vigastusoht! Kõgi hooldus- ja remonttööde
Filtrikorpuse mahamonteerimine
Välised mõjutused või müntidel olev
ajaks tuleb pealüliti välja lülitada.
mustus toob aja jooksul kaasa
Võtke prahimahutid ära.
Seadme puhastamine
mündikontrollijate määrdumise.
Puhastage seadet iga päev või
Märkus
regulaarsete ajavahemike tagant (olenevalt
Kõverast väljastusvedrust tingitud
kasutusest ja mustusest).
funktsionaalne rike. Vältige mündi teel
Avage seadme uks.
oleva väljastusvedru deformeerumist.
Võtke jäätmemahuti välja, tühjendage
Avage seadme uks.
ja pange sisse tagasi.
Tõstke kaas üles ja lükake taha.
Raputage mõlemad filtrikotid puhtaks,
vajutades raputusseadise hooba 5 kuni
10 korda.
Laske tolmul maha langeda, selleks
A Tiibmutter
oodake u. 1 minut.
B Filtrikorpus
Keerake mustusemahutite väljavõtmise
Kruvige tiibmutter maha.
hoideplaadid alla ja võtke mõlemad
Tõmmake filtrikorpus seadme ukse
mustusemahutid välja.
suunas maha ja võtke ära.
Tühjendage tolmumahuti.
Puhastage mustusemahutite tihendit ja
kontrollige vigastuste puutumist.
Eemaldage pingutusvedru (1).
Pange mustusemahutid uuesti tagasi.
Võtke plaat (2) ära.
Jälgige seejuures, et mõlema
Puhastage mündi sisseviskekohta
mustusemahuti käepide ei oleks
hoolikalt pintsli ja puhastusvedelikuga
suunatud otse ette.
(nt pesubensiin, piiritus).
Lükake hoideplaadid üles.
Märkus
Sulgege seadme uks.
Ärge õlitage osi.
Märkus
Pange plaat (2) kohale, seejuures ei
Kaanel on joonised, mis kujutavad
tohi mündi teel olev väljastusvedru (3)
lühijuhendit prahimahutite tühjendamiseks.
deformeeruda.
Eesti 153

Imivooliku eemaldamine
Prahimahuti tihendi vahetamine
Monteerige filtrikorpus maha.
Vajadusel kiskuge kinnikleebitud
Suruge imivooliku 'ninad' suure
vigastatud tihend välja ja puhastage
kruvikeerajaga sisse ja tõmmake
süvendit.
imivoolik välja.
Liimige uus tihend kaubanduses
saadaoleva kontaktliimiga tagasi.
Filtrikoti vahetamine
Mahamonteerimine
Monteerige filtrikorpus maha.
Võtke filtrikoti mõlemad aasad
filtrikorpuse konksude küljest ära.
Keerake filtrikorpus ümber ja keerake 4
kinnitushooba küljele.
Tõmmake filtrikott filtrikorpusest välja.
Märkus
Filtrikotte saab pesumasinas +40 °C juures
õrnpesuvahendiga pesta. Enne kasutamist
laske filtrikottidel korralikult kuivada.
Paigaldamine
Lükake filtrikott alt filtrikorpusse.
Keerake filtrikorpus ümber ja kinnitage
filtrikoti aasad filtrikorpusel olevate
konksude otsa.
Keerake filtrikorpus ümber ja lükake filtri
kinnitusrõngas suure kruvikeerajaga
filtrikorpusel olevasse õnarusse.
Keerake 4 kinnitushooba tagasi ja
lukustage filtrikott.
몇 Hoiatus
Vigastusoht! Ärge kasutage kinnitusrõnga
pealelükkamiseks teravaid esemeid.
154 Eesti

Abi häirete korral
Oht
Elektrikud
Vigastusoht! Kõgi hooldus- ja remonttööde
Ainult inimesed, kes on läbinud
ajaks tuleb pealüliti välja lülitada.
kutseõppe elektrotehnika valdkonnas.
Kes tohib rikkeid kõrvaldada?
Klienditeenindus
Käitaja
Töid märkusega „Klienditeenindus“
Töid märkusega „Käitaja“ tohivad teha
tohivad teha ainult firma Kärcher
ainult instrueeritud inimesed, kes
klienditeeninduse montöörid.
oskavad kõrgsurveseadmeid kindlalt
käitada ja hooldada.
Rike Võimalik põhjus Kõrvaldamine kelle poolt
Seade ei tööta Katkestage vooluvarustus. Taastage elektriühendus. Kontrollige kaitset,
Käitaja/elektrik
kaablit, pistikut ja ühenduspesa.
Vallandus mootori kaitselüliti (ainult
Lähtestage mootori kaitselüliti, rikke kordumisel
Käitaja
1.247-xxx ja 1.263-xxx juures).
pöörduge klienditeeninduse poole.
Mündikontrollija must. Puhastage mündikontrollijat Käitaja
Ebapiisav
Prahimahuti ei ole filtrikorpuse all õiges
Paigaldage prahimahuti õigesti. Käitaja
imivõimsus
asendis.
Filtrikott must. Raputage filtrikott puhtaks, puhastage või
Käitaja
vahetage välja.
Imiotsak või imivoolik ummistunud või
Kontrollige imiotsakut ja imivoolikut, puhastage
Käitaja
defektne.
või vahetage välja.
Prahimahuti tihend on must või defektne. Puhastage tihendit või vahetage välja. Käitaja
Imivoolik valesti paigaldatud. Kontrollige, kas imivoolik on korralikult
Käitaja
filtrikorpuses kinni.
Imiõhu sissepääsuava ummistunud. Võtke filtrikorpus maha. Eemaldage imivoolik ja
Käitaja
puhastage sisselaskeava.
Imiturbiinide pöörlemissuund vale (ainult
Vahetage faas. Elektrik/
1.247-xxx ja 1.263-xxx juures).
klienditeenindus
Imiturbiin defektne. Kontrollige söeharju, vajadusel vahetage välja
Elektrik
(ainult 1.224-xxx ja 1.261-xxx puhul).
Tolm pääseb
Filtrikott ei ole õigesti paigaldatud või on
Kontrollige filtri asendit, vajadusel vahetage
Käitaja
imemisel välja
defektne.
filtrikott välja.
Garantii Lisavarustus ja varuosad
Igas riigis kehtivad meie volitatud
– Kasutada tohib ainult tarvikuid ja
müügiesindaja antud garantiitingimused.
varuosi, mida tootja aktsepteerib.
Seadmel esinevad rikked kõrvaldame
Originaaltarvikud ja -varuosad annavad
garantiiajal tasuta, kui põhjuseks on
teile garantii, et seadmega on võimalik
materjali- või valmistusviga. Garantiijuhtumi
töötada turvaliselt ja tõrgeteta.
korral palume pöörduda müüja või lähima
– Valiku kõige sagedamini
volitatud klienditeenistuse poole, esitades
vajaminevatest varuosadest leiate te
ostu tõendava dokumendi.
kasutusjuhendi lõpust.
– Täiendavat infot varuosade kohta leiate
aadressilt www.kaercher.com lõigust
Service.
Nimetus Tellimisnr.
Imivoolik NW 50,5 m 4.440-606
Eesti 155

Paigaldage samba ülaosa (vt
Seadme paigaldamine
juuresolevat paigaldusjuhist 0.082-
374).
Käesolevaga kinnitame, et allpool
Ainult volitatud
kirjeldatud seade vastab meie poolt turule
spetsialistidele!
toodud mudelina oma kontseptsioonilt ja
Monteerige filtrikorpus maha.
konstruktsioonilt EÜ direktiivide
Tõmmake imivoolikud väljast läbi
asjakohastele põhilistele ohutus- ja
tagaseinas olevate avade.
tervisekaitsenõetele. Meiega
Elektriühendus
Lükake imivoolikute otsad filtrikorpuse
kooskõlastamata muudatuste tegemise
tutsidesse. Seejuures peavad
korral seadme juures kaotab käesolev
– Ühendamiseks vajalikke andmeid
kinnitusninad kinnituma tutsi
deklaratsioon kehtivuse.
Tehnilistest andmetest ja tüübisildilt.
õnarustesse.
– Elektriühenduse peab teostama
Paigaldage filtrikorpus.
elektrimontöör ja see peab vastama
normile IEC 60364-1.
Kinnitage imiotsakud imiotsaku
hoidjasse.
– Tüübisildil märgitud pinge peab
vastama vooluahela pingele.
Märkus
Pingevarustust ühendades ei tohi
eemaldada juba ühendatud
lahtisidestuskondensaatorit eemaldada.
Paigaldamiskoha ettevalmistamine
Seadme nõuetekohaseks paigutamiseks
palume eelnevalt arvestada järgnevaga:
– Vajalik on horisontaalne tasane koht,
mille suurus on vähemalt 700 mm x
Ainult sambaga seadmetel: Kinnitage
900 mm (700 mm x 750 mm, ilma
imivoolikute karabiinkonksud kaablite
sambata seade).
aasadesse.
– Voolutoide vastavalt mõõtmetega
joonisele (A), vt lisa.
Puurige vastavalt mõõtmetega
Taastage elektriühendus.
5.957-585
joonisele 4 kinnitusauku läbimõõduga
5.957-597
Ainult 1.247-xxx ja 1.263-xxx:
d=12 mm, sügavus 75 mm.
Kontrollige imiturbiinide
Allakirjutanud toimivad juhatuse korraldusel
pöörlemissuunda, vajadusel vahetage
Pange seade kohale ja rihtige asend
ja volitusel.
faas.
õigeks
Pange prahimahuti kohale.
Avage seadme uks.
Kinnitage jäätmemahuti seadme ukse
Võtke jäätmemahuti ja prahimahuti
külte.
seadmest välja ja pange kõrvale.
Kontrollige seadme tööd.
Oht
Alfred Kärcher GmbH & Co. KG
Reguleerige imiaega vastavalt kliendi
Alfred-Kärcher-Str. 28 - 40
Ümberkukkuvast seadmest lähtuv
soovile.
D - 71364 Winnenden
vigastusoht. Seade tuleb poltidega
Ühendage juba august läbitõmmatud
Tel: +49 7195 14-0
kinnitada tugevale, kandevõimelisele
kaabel vastavalt juuresolevale
Faks: +49 7195 14-2212
pinnale.
elektriskeemile pealülitiga.
1Seib
2Kruvi
3 Tüüblid
Kinnitage seade juuresoleva
kinnitusmaterjaliga:
Torgake tüüblid aukudesse.
Paigutage seade ettenähtud kohale.
Seejuures viibe elektriühenduse kaabel
läbi seadme põrandas oleva ava.
Pange seibid kohale nagu joonisel
kujutatud.
Keerake kruvid sisse ja pingutage.
156 Eesti
!
CE-vastavusdeklaratsioon
Imivoolikute paigaldamine
Toode: Kuivimur
Tüüp: 1.224-xxx
Tüüp: 1.247-xxx
Tüüp: 1.261-xxx
Tüüp: 1.263-xxx
Asjakohased EÜ direktiivid:
2006/95/EÜ (kuni 28.12.2009)
2006/42/EÜ (alates 29.12.2009)
2004/108/EÜ
Kohaldatud ühtlustatud standardid:
EN 55014–1: 2006
EN 55014–2: 1997 + A1: 2001
EN 60335–1
EN 60335–2–69
EN 61000–3–2: 2006
1.247-xxx, 1.263-xxx:
EN 61000–3–3: 1995 + A1: 2001 + A2:
2005
1.224-xxx, 1.261-xxx:
EN 61000–3–11: 2000
Kasutuselevõtt
CEO
Head of Approbation

MONO
157

DUO
158



