Salter 9147 BK3R Stow-A-Weigh Analyser Scale – страница 2
Инструкция к Весам ювелирным Salter 9147 BK3R Stow-A-Weigh Analyser Scale

HVORDAN FUNGERER DENNE SALTER-VEKTEN?
KROPPSFETT – HVA BETYR DET?
Denne Saltervekten benytter BIA-teknologi (bioelektrisk impedansanalyse) som
Menneskekroppen er blant annet sammensatt av en prosentdel med fett. Dette er
N
sender en liten elektrisk impuls gjennom kroppen for å bestemme fett fra magert
livsviktig for en sunn og fungerende kropp – fettet tar av for støt på leddene og
vev. Den elektriske impulsen kan ikke bli følt og er helt trygg. Kroppskontakt skjer
beskytter livsviktige organer, hjelper å regulere kroppstemperatur, lagrer vitaminer og
via stålputer i rustfritt stål på vektplattformen (eller et nesten usynlig ITO-belegg på
hjelper å holde kroppen i gang når den ikke får tilstrekkelig mat. For mye fett eller for
glassoveraten*).Dennemetodenkalkulererdinpersonligevekt,BMI,kroppsfett,totalt
lite fett er faktisk skadelig for helsen din. Det er vanskelig å måle hvor mye kroppsfett vi
kroppsvann og kroppsmasse samtidig som gir deg en mer nøyaktig avlesning om helsen
har i kroppen vår ved bare å se på oss selv i speilet.
og kondisjonen din. Vekten lagrer personlig data for opp til 4 brukere I tillegg til at den
Dette er hvorfor det er viktig å måle og overvåke kroppsfettprosenten. Kroppsfettpros-
er en analysevekt, kan den også bli brukt som en vanlig vekt.
enten gir deg en bedre måling av kondisjonen din enn bare kroppsvekten alene – sam-
mensetningen av vekttapet ditt kan bety at du taper muskelmasse i stedet for fett – du
kan fremdeles ha en høy fettprosent selv om vekten indikerer «normal vekt».
HVA ER BMI?
BMI (Kroppsmasseindeks el. Body Mass Index) er et nyttig verktøy som mange helsepro-
fesjonelle bruker for å bestemme et sunt vektområde for en person. BMI er et mål som
NORMAL SUNN KROPPSFETTPROSENT
bruker høyde og vekt for å bestemme totalt kroppsfett.
En sunn BMI for en voksen ligger mellom 18,5 og 24,9. En person med en BMI som
Kroppsfettt%Nivå for gutter*
tilsvarer eller er større enn 25, er de vurdert «overvektig». En person med en BMI som
Alder Lav Optimal Moderat Høy
tilsvarer eller er større enn 30, er vurdert «fet». En person med en BMI som tilsvarer
10 ≤12.8 12.9 - 22.8 22.9 - 27.8 ≥27.9
eller er større enn 40, er vurdert «ekstrem fet». En person med BMI som er mindre enn
18,5 er vurdert «undervektig».
11 ≤12.6 12.7 - 23.0 23.1 - 28.2 ≥28.3
Merknad: BMI har noen begrensninger. Den kan overvurderes hos personer som er
12 ≤12.1 12.2 - 22.7 22.8 - 27.8 ≥27.9
veldig muskuløse fordi muskel veier mer enn fett, og undervurderes hos personer som
13 ≤11.5 11.6 - 22.0 22.1 - 26.9 ≥27.0
har tapt mye muskelmasse, f.eks eldre person.
14 ≤10.9 11.0 - 21.3 21.4 - 25.8 ≥25.9
Rådfør deg med doktor / lege for å bestemme hva som er det mest ideelle for deg
15 ≤10.4 10.5 - 20.7 20.8 - 24.9 ≥25.0
16 ≤10.1 10.2 - 20.3 20.4 - 24.2 ≥24.3
HVA BETYR BMI-VERDIEN MIN?
17 ≤9.8 9.9 - 20.1 20.2 - 23.8 ≥23.9
Kroppmasseindeks (BMI) er et forhold mellom vekt og høyde som vanligvis brukes for
18 ≤9.6 9.7 - 20.1 20.2 - 23.5 ≥23.6
å klassifisere undervekt, overvekt og fedme hos voksne. Denne kroppsanalysevekten
Kroppsfettt%Nivå for jenter*
kalkulerer BMI-verdien for deg. BMI-kategoriene som er vist i tabellen nedenfor er
anerkjente av WHO (Verdens Helseorganisasjon) og kan brukes til å tolke
Alder Lav Optimal Moderat Høy
BMI-verdien din.
10 ≤16.0 16.1 - 28.2 28.3 - 32.1 ≥32.2
11 ≤16.1 16.2 - 28.8 28.9 - 32.7 ≥32.8
kg
12 ≤16.1 16.2 - 29.1 29.2 - 33.0 ≥33.1
13 ≤16.1 16.2 - 29.4 29.5 - 33.2 ≥33.3
14 ≤16.0 16.1 - 29.6 29.7 - 33.5 ≥33.6
15 ≤15.7 15.8 - 29.9 30.0 - 33.7 ≥33.8
16 ≤15.5 15.6 - 30.1 30.2 - 34.0 ≥34.1
17 ≤15.1 15.2 - 30.1 30.2 - 34.3 ≥34.4
18 ≤14.7 14.8 - 30.8 30.9 - 34.7 ≥34.8
Kroppsfettt%Nivå for menn**
Alder Lav Optimal Moderat Høy
19 - 39 ≤8 8.1 - 19.9 20 - 24.9 ≥25
ft
m
40 - 59 ≤11 11.1 - 21.9 22 - 27.9 ≥28
60+ ≤13 13.1 - 24.9 25 - 29.9 ≥30
Kroppsfettt%Nivå for kvinner**
Alder Lav Optimal Moderat Høy
19 - 39 ≤21 21.1 - 32.9 33 - 38.9 ≥39
40 - 59 ≤23 23.1 - 33.9 34 - 39.9 ≥40
60+ ≤24 24.1 - 35.9 36 - 41.9 ≥42
*Kilde: hentet fra HD McCarthy, TJ Cole, T Fry, SA Jebb og AM Prentice: (Kroppsfett referansekurver for barn).
(Internasjonalt tidsskrift for fedme) (2006) 0, 598–602.
**Kilde: hentet fra Dympna Gallagher, Steven B Heymsfield, Moonseong Heo, Susan A Jebb, Peter R Murgatroyd, og
Yoichi Sakamoto: (Sunt prosentnivå med kroppsfett): (en fremgangsmåte for utvikling av veiledninger basert på
st
kroppsmasse indeks1– ). Am J Clin Nutr 2000;72:694–701.
BMI-kategorien din kan bli identifisert ved å bruke tabellen nedenfor.
Publiserte % nivåer med kroppsfett er kun for veiledning. Profesjonell medisinsk veiledning skal alltid søkes
før det settes i gang med diett og øvelsesprogrammer.
Betydningen av
BMI-kategori
Helserisiko basert kun på BMI
BMI-verdien
KROPPSVANN – HVORFOR MÅLE DET?
< 18.5 Undervektig Moderat
Kroppsvann er den ene og mest viktige komponenten av kroppsvekten. Kroppsvan-
18.6-24.9 Normal Lav
net representerer over halvparten av din totalvekt og nesten to tredjedeler av mager
25-29.9 overvektig Moderat
kroppsmasse (hovedsakelig muskel).
30+ fet Høy
Vann utfører en rekke viktige roller i kroppen:
Alle cellene i kroppen, om dette er i huden, kjertlene, musklene, hjernen eller andre
VIKTIG: Hvis diagrammet / tabellen viser at du er utenfor et «normalt» sunt vektområde,
steder, kan bare fungere ordentlig hvis de har nok vann. Vann spiller også en livsviktig
rådfør deg med legen før du tar aksjon.
rolle ved å regulere kroppens temperatvurbalanse, spesielt gjennom perspirering.
BMI-klassifikasjoner er kun for voksne (alderen 20 år og over).
Kombinasjonen av din vekt og fettmåling kan tilsynelatende være normal, men hydrati-
* Velg kun modeller
seringsnivået for kroppen din kan være utilstrekkelig for et friskt og sunt liv.
21
IB-9147-1009-02.indd 21 09/11/2009 16:40

NORMAL SUNN KROPPSVANNPROSENT
Vennen min har en kroppsfettanalysator laget av en annen produsent.
N
Kroppsvæskediagram***
Når jeg brukte den oppdaget jeg at kroppsfettavlesningen var forskjellig.
Hvorfor det?
Kroppsfett (BF)
Optimal total kroppsvæske
Forskjellige analysevekter for kroppsfett måler rundt forskjellige deler av kroppen og
%-område
(TBW) %-område
bruker forskjellige matematiske algoritmer for å beregne kroppsfettprosenten. Det
beste rådet er at du ikke foretar sammenligninger fra en anordning til en annen, men å
Menn
4 til 14% 70 til 63%
bruke den samme anordningen hver gang for å overvåke eventuell endring.
15 til 21% 63 til 57%
Hvordan tolker jeg min avlesning for kroppsfett og vannprosent?
22 til 24% 57 til 55%
Det henvises til tabellene som følger med produktet for kroppsfett og kroppsvann.
25 og over 55 til 37%
Tabellene viser deg om avlesningen for kroppsfett og kroppsvann er i en sunn kategori
(i forhold til din alder og kjønn).
Kvinner
4 til 20% 70 til 58%
21 til 29% 58 til 52%
Hva skal jeg gjøre hvis avlesningen for kroppsfett er veldig høy?
Et fornuftig kosthold, væskeinntak og øvelsesprogram kan redusere kroppsfettpros-
30 til 32% 52 til 49%
enten. Profesjonell medisinsk veiledning skal alltid søkes før det settes i gang med et
33 og over 49 til 37%
slikt program.
*** Kilde: Utledet fra Wang & Deurenberg: “Hydration of fat-free body mass”. American Journal Clin Nutr 1999, 69 833-841.
Hvorfor er kroppsfettprosenten for menn og kvinner så forskjellig?
For de som bruker «Atlet-modus»: legg merke til at idrettsmenn/kvinner kan ha et
Kvinner av natur har en høyere fettprosent enn menn fordi sammensetningen av
lavere kroppsfett-område og et høyere kroppsvann-område enn vist ovenfor, avhengig
kroppen er forskjellig med hensyn til eventuelt svangerskap, amming osv.
av typen idrett eller aktivitet.
Hva skal jeg gjøre hvis avlesningen for kroppsvannet er lav?
Resultater fra kroppsvannmåling er påvirket av forholdet mellom kroppsfett og muskel.
Forsikre deg om at du drikker tilstrekkelig med vann regelmessig og hele tiden prøver å
Hvis fettforholdet er høyt eller muskelforholdet er lavt, vil resultatet for kroppsvann ha
holde fettprosenten på et sunt nivå.
en tendens til å være lavt.
Det er viktig å huske at målinger slik som kroppsvekt, kroppsfett og kroppsvann er verktøy
Hvorfor skulle jeg unngå å bruke kroppsanalysatoren når gravid?
du kan bruke som del av en sunn livsstil. Da kortsiktige svingninger er normalt, forslår vi at
Under svangerskap vil sammensetningen av en kvinnekropp endre seg betydelig
du registrerer fremgangen din over tid i stedet for å fokusere på en enkel avlesning.
for å kunne støtte barnet som er under utvikling. Under disse omstendighetene kan
Publiserte %-nivåer med kroppsvann er kun for veiledning.
kroppsfettprosenten være unøyaktig og villedende. Gravide kvinner skal derfor kun
Profesjonell medisinsk veiledning skal alltid søkes før det settes i gang med diett
bruke vektfunksjonen.
og øvelsesprogrammer.
HVORFOR SKULLE JEG VITE HVA MUSKELMASSEN MIN ER?
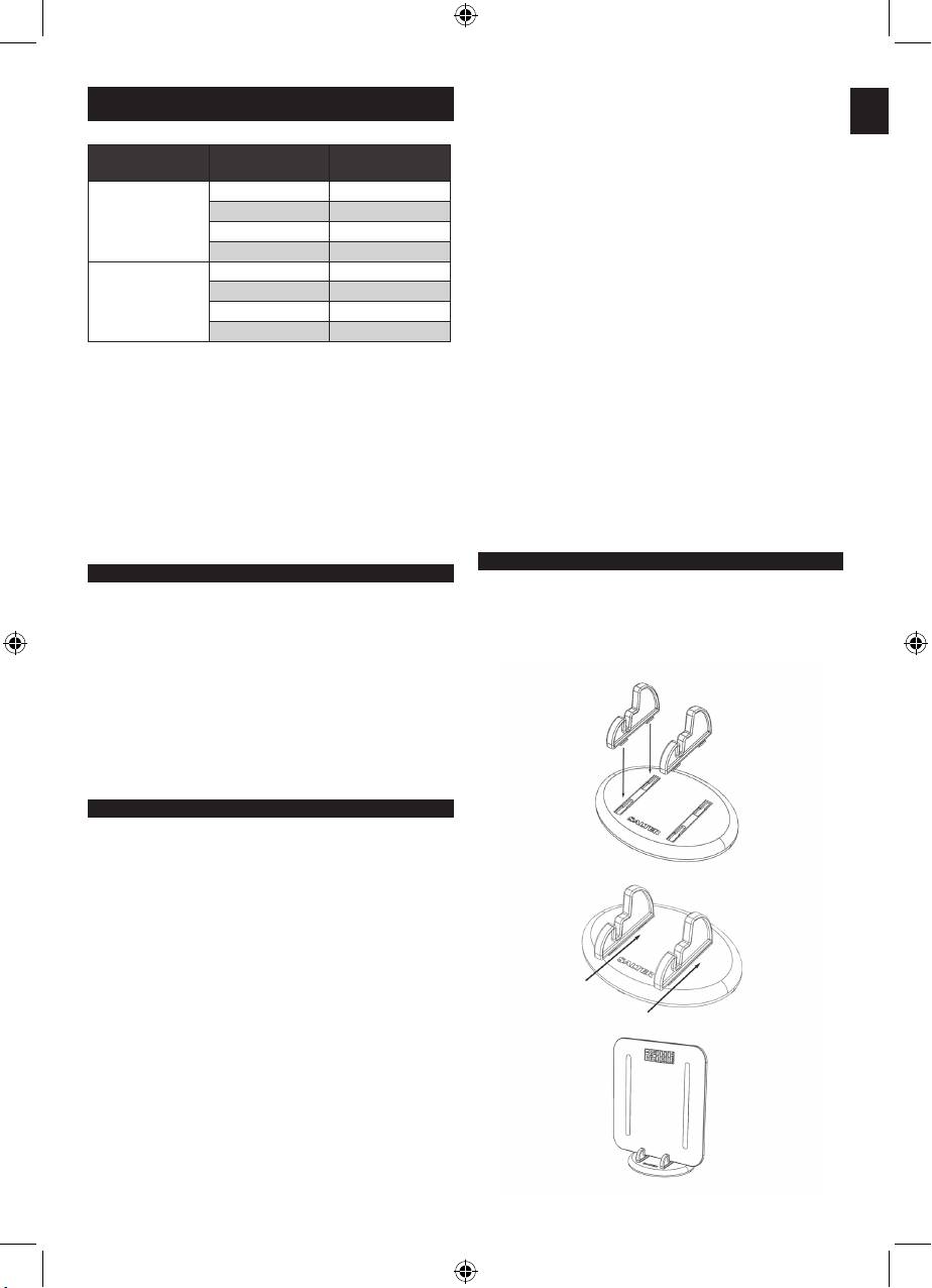
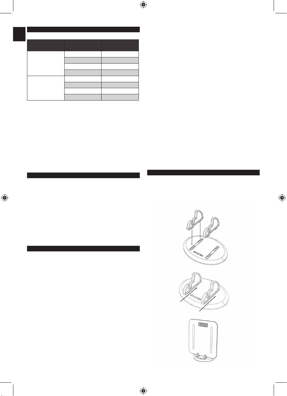
STOWAWEIGH-STATIV
Ifølge American College of Sports Medicine (ASCM), kan mager muskelmasse minske
Denne Salter-vekten har en unik løsning for lagring. Når den ikke brukes kan vekten
med nesten 50 prosent mellom alderen 20 og 90 år. Hvis du ikke gjør noen ting for å
lagres trygt og beleilig i et lett-å-montere lagringsstativ som frigjør plass på badet.
erstatte det tapet, taper du musklene og øker fettet. Det også viktig å vite hva prosenten
er for muskelmasse under nedgang i vektreduksjon. Når kroppen hviler forbrenner den
cirka 110 ekstra kalorier for hver kilo muskel du går opp i vekt. Noen fordeler med å gå
opp i muskelmasse inkluderer:
• Opphevernedgangenistyrke,bentetthetogmuskelmassesomfølgermedalderen
• Vedlikeholderbøyeligeledd
• Styrervektreduksjonnårkombinertmedsuntkosthold.
Dette produktet er kun til bruk i hjemmet. Gravide kvinner skal kun bruke vektfunksjonen.
ADVARSEL: Dette produktet må ikke brukes hvis du har pacemaker eller annen
medisinsk anordning montert. Hvis du er i tvil, må du rådføre deg med lege.
SPØRSMÅL OG SVAR
Hvor nøyaktig blir kroppsfettet og kroppsvannet mitt målt?
Denne Saltervekten bruker målemetoder kjent som bioelektrisk impedansanalyse
(BIA). En ubetydelig mengde strøm blir sendt gjennom kroppen din, via føttene og bena.
Strømmen(1mA)yterlettgjennomdetmagremuskelvevetsomharethøytvæskein-
nhold, men ikke så lett gjennom fett. Ved å måle kroppsimpedansen din (dvs. kroppens
motstand mot strøm) kan muskelmengden på den måten bli fastlagt. Fra dette kan det
nå beregnes fett- og vannmengde.
Hva er strømverdien som går gjennom meg under måling?
Er den trygg?
Strømverdien som er mindre enn 1mA, er helt lav og fullstendig trygg. Du vil ikke
føle den. Som en forholdsregel imidlertid mot forstyrrelse på denne anordningen,
legg merke til at anordningen ikke skal brukes av personer med en intern elektronisk
medisinsk anordning, slik som en pacemaker.
Hvis jeg måler kroppsfettet og kroppsvannet på forskjellige tider av dagen, kan
målingen variere ganske betydelig.
Hvis jeg måler kroppsfettet og kroppsvannet på forskjellige tider av dagen,
kan målingen variere ganske betydelig.
Hvilken verdi er korrekt?
Avlesningen for kroppsfettprosenten din varierer med kroppsvanninnholdet, og det
sistnevnte endrer seg hele dagen.
Det er ingen riktig eller gal tid for å ta en avlesning, men ta sikte på å ta regelmessige
målinger når du anser at kroppen din har normal hydrering. Unngå å ta avlesninger etter
at du har badet eller etter badstue, etter intense øvelser, eller innen 1-2 timer etter at
du har drukket noe mengde eller etter et måltid.
22
IB-9147-1009-02.indd 22 09/11/2009 16:40

OVERSIKT OVER SKJERM
RAD FOR BRUK OG VEDLIKEHOLD
• Veidegalltidpåsammevektogsammeunderlag.
N
Kroppsfett
Mann / Kvinne Alder
Ikkesammenligntallfraerevekter,ettersomdetpågrunnavkonstruksjonenalltid
vil være små forskjeller fra vekt til vekt.
BMI (Kroppsmasseindeks)
• Plasservektenpåethardt,attgulvforåfåensånøyaktigavlesningsommulig.
• Veidegalltidtilsammetidpådagen,førmåltiderogutenfottøy.
For eksempel når du står opp om morgenen.
Kroppsvann
• Vektenrunderoppellernedtilnærmestevekttrinn.Hvisduveierdegtogangerog
får to forskjellige avlesninger, ligger vekten din mellom disse avlesningene.
Muskelmasse
Høyde
• Tørkavvektenmedenfuktigklut.Brukikkekjemikalier.
Normal / Atlet
• Laikkevektenkommeikontaktmedvann,dadettekanødeleggeelektronikken
i vekten.
KLARGJØRE VEKTEN
• Behandlevektenforsiktig–deneretpresisjonsinstrument.Unngååmistedeni
1. Åpne batterirommet på undersiden av vekten.
bakken og å hoppe på den.
2. Sett inn batterier (1 x CR2032) samtidig som du merker deg polariteten (+ og -)
innvendig batterirommet.
3. Lukk batterirommet.
FEILSØKNINGSGUIDE
4. Velg vektmodus (kg, st eller lb) ved hjelp av bryteren på undersiden av vekten.
• Dumåværebarbentundermålingavkroppsfettogtotaltkroppsvann.
5. For å bruke på teppe, fjern gripeputene fra føttene på vekten og monter føttene for
• Tilstandenpåhudenunderføttenedinekanhainnvirkningpåavlesningen.
teppe som følger med.
For å få den mest nøyaktige og konsekvente avlesningen, tørk føttene dine med en
fuktig klut slik at føttene er litt fuktig før du går på vekten.
AVLESNING KUN FOR VEKT
1.Plasservektenpåetfast,attunderlag.
2. Slå lett på midten av veieplattformen (vekten aktiveres av vibrasjon) og ta bort foten.
3. Vent helt til 0.0 vises
WEEE FORKLARING
4. Gå på vekten og stå stille mens vekten din blir kalkulert.
Denne merkingen indikerer at innen EU skal dette produktet ikke kastes sammen
5. Når du hører en bippetone, gå av.
med annet husholdningssøppel. For å forebygge mulig skade på miljøet eller
6. Vekten din blir vist i noen få sekunder før vekten slår seg av.
menneskelig helse forårsaket av ukontrollert avfallstømming, skal produktet
gjenvinnes ansvarlig for å støtte holdbar gjenbruk av materialressurser. For å returnere
PERSONLIG DATAINNGANG
den brukte anordningen, vennligst bruk retur- og hentesystemet, eller ta kontakt
1. Når 0.0 vises trykk på SET-knappen (Innstilling) for å aktivere oppsettprosedyren.
med detaljisten hvor produktet ble kjøpt.De kan sørge for miljøvennlig gjenvinning av
2. Brukernummer vil blinke. Trykk på ▲ eller ▼ knappen etter behov for å innstille
produktet..
brukernummeret, trykk på SET for å bekrefte.
3. Vektenheter vil blinke. Trykk på ▲ eller ▼ knappen etter behov for å innstille på
vektenhet (kg, lb. eller st.), trykk på SET for å bekrefte.
4. Symbolet for mann eller kvinne vil blinke. Trykk på ▲ eller ▼ knappen helt til det
GARANTI
riktige symbolet blinker, trykk på SET for å bekrefte.
5. Skjermbilde for alder vil blinke. Trykk på ▲ eller ▼ knappen etter behov for å
Dette produktet er utelukkende beregnet på bruk i hjemmet. Salter vil reparere eller
innstille på alder, trykk på SET for å bekrefte.
erstatte et produkt eller deler av et produkt (ikke inkludert batterier) vederlagsfritt
6. Skjermbilde for høyde vil blinke. Trykk på ▲ eller ▼ knappen etter behov for å
dersom det innen 15 år fra kjøpsdato kan påvises feil i utførelse eller materialer. Denne
innstille på høyde, trykk på SET for å bekrefte.
garantier gjelder deler som påvirker bruken av vekten. Den dekker ikke kosmetisk
7. Normal- / Atlet-symbolet vil blinke. Trykk på ▲ eller ▼ knappen etter behov for å
forringelse forårsaket av vanlig slitasje eller skader forårsaket av uhell eller feil bruk.
innstille på atlet eller normal modus, trykk på SET for å bekrefte.
Garantien gjøres ugyldig dersom vekten eller noen av vektens komponenter åpnes
Merknad: Definisjonen på en atlet (idrettsmann/kvinne) er en person som driver intens
eller demonteres. Erstatningskrav dekket av garantien må understøttes av kjøpsbevis
fysisk aktivitet i ca. 12 timer per uke og som har en hjertehastighet på ca. 60 slag per
og returneres til Salter (eller en avtalt lokal Salter-representant utenfor Storbritannia)
minutt eller mindre når kroppen hviler.
for avsenders regning. Vekten må emballeres nøye, slik at den ikke skades under
8. Brukernummer vil blinke. Brukerdataen din er nå innstilt. Vent for at vekten skal slå
transport. Denne garantien gjelder i tillegg til eventuelle lovbestemte rettigheter og får
seg av.
ingen innvirkning på disse. Hvis du er hjemmehørende et annet sted enn Storbritannia,
9. Gjenta prosedyren for bruker nummer to, eller for å endre brukerdetaljer.
kontakter du din lokale Salter-representant.
AVLESNINGER FOR VEKT OG KROPPSFETT
1.Plasservektenpåetfast,attunderlag.
2. Slå lett på midten av veieplattformen (vekten aktiveres av vibrasjon) og ta bort foten.
3. Vent helt til 0.0 vises
4. Trykk på SET knappen. Brukernummer vil blinke. Trykk på ▲ eller ▼ knappen etter
behov for å velge brukernummeret ditt.
5. Brukerdataen din blir bekreftet, vent helt til 0.0 vises.
6. Gå barfot på vekten og stå stille.
7. Når du hører en bippetone, gå av.
8. Vekten din vises fulgt av BMI, kroppsfett, kroppsvann og muskelmasse.
9. Vekten din vises for andre gang før vekten slår seg av.
VARSELINDIKATORER
Err utenfor område, uriktig bruk eller dårlig kontakt med føttene.
Ustabil vekt. Stå stille.
O-Ld Vekten overskrider maksimum kapasitet
Lo skift ut batteri.
TEKNISK SPESIFIKASJON
100 cm - 220 cm Mann/Kvinne d = 0,1 BMI
3’2” - 7’02” 4 brukerminne d = 0,1 % kroppsfett
10 - 80 år Atlet-modus d = 0,1 % kroppsvann
d = 0,1 % muskelmasse
23
IB-9147-1009-02.indd 23 09/11/2009 16:40

HOE WERKT DEZE SALTER-WEEGSCAAL?
LICHAAMSVET - WAT BETEKENT DAT?
NL
De Salter-weegschaal gebruikt BIA-technologie (Bio-elektrische Impedantie Analyse),
Het menselijk lichaam bestaat onder andere uit een percentage vet. Dit vet is onmisbaar
die een heel kleine elektrische stroomstoot door het lichaam laat gaan om vet van
voor een gezond, goedwerkend lichaam. Het vormt een kussentje rond de gewrichten en
mager weefsel te onderscheiden. U voelt de elektrische stroomstoot niet en deze
beschermt vitale organen, het helpt bij het regelen van de lichaamstemperatuur, slaat
is volledig veilig. Er wordt via roestvrijstalen kussentjes op het platform van de
vitamines op en helpt het lichaam zichzelf te onderhouden wanneer er weinig voedsel
weegschaal (op een praktisch onzichtbare ITO coating op het glasoppervlak*) contact
is. Teveel lichaamsvet, maar ook te weinig lichaamsvet kan echter een gevaar voor
met het lichaam gemaakt. Deze methode berekent gelijktijdig uw eigen gewicht, BMI,
uw gezondheid vormen. Het is moeilijk om te schatten hoeveel lichaamsvet we in ons
lichaamsvet, totale lichaamswatergehalte en spiermassa, wat u een nauwkeuriger beeld
lichaam hebben door simpelweg in de spiegel te kijken.
geeft van uw algemene gezondheid en lichamelijke conditie. Deze weegschaal kan de
Daarom is het belangrijke om uw lichaamsvetpercentage te meten en in de gaten te
persoonlijke gegevens van maximaal 4 gebruikers opslaan. U kunt deze weegschaal als
houden. Lichaamsvetpercentage geeft u een beter inzicht in uw fitheid dan alleen
analyse-weegschaal en als conventionele weegschaal gebruiken.
gewicht - de samenstelling van uw gewichtsverlies kan betekenen dat u meer
spiermassa dan vet verliest - u kunt zelfs nog een hoog percentage vet hebben wanneer
een weegschaal een ‘normaal gewicht’ aangeeft.
WAT IS BMI?
Body Mass Index of BMI is een nuttig hulpmiddel dat veel gezondheidswerkers
NORMAAL GEZOND BEREIK VAN PERCENTAGE LICHAAMSVET
gebruiken om te bepalen wat een gezond lichaamsgewicht voor iemand is. BMI gebruikt
lengte en gewicht om het totale gehalte aan lichaamsvet te meten.
Bereik van % lichaamsvet voor jongens*
Een gezonde BMI voor volwassene ligt tussen de 18,5 en 24,9. Als iemands BMI meer
Leeftijd Laag Optimaal Gematigd Hoog
dan 25 bedraagt, is die persoon te zwaar. Iemand met een BMI gelijk aan of hoger dan 30
10 ≤12.8 12.9 - 22.8 22.9 - 27.8 ≥27.9
wordt als ‘vetzuchtig’ beschouwd. Iemand met een BMI gelijk aan of hoger dan 40 wordt
als ‘extreem vetzuchtig’ beschouwd. Iemand met een BMI van minder dan 18,5 is te licht.
11 ≤12.6 12.7 - 23.0 23.1 - 28.2 ≥28.3
Let op! BMI heeft enkele beperkingen. Bij zeer gespierde mensen kan BMI overschat
12 ≤12.1 12.2 - 22.7 22.8 - 27.8 ≥27.9
worden, omdat spieren zwaarder wegen dan vet, en bij mensen die spiermassa verloren
13 ≤11.5 11.6 - 22.0 22.1 - 26.9 ≥27.0
hebben, zoals ouderen, kan BMI onderschat worden. Raadpleeg een (huis)arts om vast
14 ≤10.9 11.0 - 21.3 21.4 - 25.8 ≥25.9
te stellen wat ideaal voor u is.
15 ≤10.4 10.5 - 20.7 20.8 - 24.9 ≥25.0
16 ≤10.1 10.2 - 20.3 20.4 - 24.2 ≥24.3
WAT BETEKENT MIJN BMI?
17 ≤9.8 9.9 - 20.1 20.2 - 23.8 ≥23.9
De Body Mass Index (BMI) is een cijfer dat de verhouding tussen uw gewicht en
lengte weergeeft. Het wordt algemeen gebruikt om ondergewicht, overgewicht en
18 ≤9.6 9.7 - 20.1 20.2 - 23.5 ≥23.6
zwaarlijvigheid te classificeren bij volwassenen. Deze weegschaal berekent uw BMI voor
Bereik van % lichaamsvet voor meisjes*
u. De BMI-categorieën in de onderstaande grafiek en tabel worden erkend door de WGO
Leeftijd Laag Optimaal Gematigd Hoog
(Wereldgezondheidsorganisatie) en kunnen gebruikt worden om uw BMI te interpreteren.
10 ≤16.0 16.1 - 28.2 28.3 - 32.1 ≥32.2
11 ≤16.1 16.2 - 28.8 28.9 - 32.7 ≥32.8
kg
12 ≤16.1 16.2 - 29.1 29.2 - 33.0 ≥33.1
13 ≤16.1 16.2 - 29.4 29.5 - 33.2 ≥33.3
14 ≤16.0 16.1 - 29.6 29.7 - 33.5 ≥33.6
15 ≤15.7 15.8 - 29.9 30.0 - 33.7 ≥33.8
16 ≤15.5 15.6 - 30.1 30.2 - 34.0 ≥34.1
17 ≤15.1 15.2 - 30.1 30.2 - 34.3 ≥34.4
18 ≤14.7 14.8 - 30.8 30.9 - 34.7 ≥34.8
Percentages lichaamsvet voor mannen**
Leeftijd Laag Optimaal Gematigd Hoog
ft
m
19 - 39 ≤8 8.1 - 19.9 20 - 24.9 ≥25
40 - 59 ≤11 11.1 - 21.9 22 - 27.9 ≥28
60+ ≤13 13.1 - 24.9 25 - 29.9 ≥30
Percentages lichaamsvet voor vrouwen**
Leeftijd Laag Optimaal Gematigd Hoog
19 - 39 ≤21 21.1 - 32.9 33 - 38.9 ≥39
40 - 59 ≤23 23.1 - 33.9 34 - 39.9 ≥40
60+ ≤24 24.1 - 35.9 36 - 41.9 ≥42
*Bron: Afgeleid van; HD McCarthy, TJ Cole, T Fry, SA Jebb en AM Prentice: “Body fat reference curves for children”.
International Journal of Obesity (2006) 30, 598–602.
**Bron: Afgeleid van; Dympna Gallagher, Steven B Heymsfield, Moonseong Heo, Susan A Jebb, Peter R Murgatroyd en
st
Yoichi Sakamoto: “Healthy percentage body fat ranges: an approach for developing guidelines based on body mass
index1–3”. Am J Clin Nutr 2000;72:694–701.
Met de onderstaande tabel kunt u vaststellen in welke BMI-categorie u valt.
De gepubliceerde bereiken voor % lichaamsvet zijn slechts een richtlijn. Altijd professioneel medisch advies
inwinnen alvorens een dieet of regime voor lichamelijke oefening te beginnen.
BMI
Gezondheidsrisico uitsluitend
BMI categorie
waardebetekenis
gebaseerd op BMI
LICHAAMSWATER - WAAROM MOET IK DIT METEN?
< 18.5 Ondergewicht Gemiddeld
Lichaamswater is het allerbelangrijkste bestanddeel van het lichaamsgewicht. Het
vertegenwoordigt meer dan de helft van uw totale gewicht en bijna tweederde van uw
18.6-24.9 Normaal Laag
magere lichaamsmassa (voornamelijk spieren).
25-29.9 Overgewicht Gemiddeld
Water is in meerdere opzichten belangrijk voor uw lichaam:
30+ Zwaarlijvig Hoog
Alle cellen in het lichaam, of het nu in de huid, de klieren, de spieren, de hersenen of
ergens anders is, kunnen alleen goed functioneren als ze voldoende water hebben.
BELANGRIJK: Als u volgens het diagram/de tabel in een andere categorie dan ‘normaal’
Water speelt ook een belangrijke rol bij het regelen van de temperatuurbalans van
valt, raadpleeg dan eerst uw huisarts voordat u enige actie onderneemt.
het lichaam, met name door transpiratie. De combinatie van uw gewicht en vetmeting
BMI-categorieën zijn alleen voor volwassenen (20 jaar en ouder).
kan ‘normaal’ lijken, maar het kan zijn dat het niveau van de waterhuishouding van uw
* Alleen bepaalde modellen.
lichaam onvoldoende is voor een gezond leven.
24
IB-9147-1009-02.indd 24 09/11/2009 16:40

NORMAAL GEZOND BEREIK VAN LICHAAMSWATERGEHALTE
Een kennis van mij heeft een lichaamsvetanalysator van een ander merk.
Diagram lichaamswater***
Toen ik deze gebruikte, kreeg ik een andere lichaamsvetwaarde. Hoe kan dit?
NL
De verschillende apparaten voor lichaamsvetanalyse doen metingen op verschillende
Optimale percentages TBW
delen van het lichaam en gebruiken verschillende wiskundige algoritmes om het
Percentages lichaamsvet
(totaal lichaamswater)
percentage lichaamsvet te berekenen. Het beste advies is om geen vergelijkingen
tussen apparaten te maken, maar altijd hetzelfde apparaat te gebruiken, zodat u een
Mannen
4 tot 14% 70 tot 63%
goed beeld krijgt van de veranderingen.
15 tot 21% 63 tot 57%
Hoe moet ik de metingen van mijn lichaamsvet en waterpercentage
22 tot 24% 57 tot 55%
interpreteren?
25 en meer 55 tot 37%
Raadpleeg de tabellen Lichaamsvet en Water die bij dit product horen. Hier kunt u
aezenofuwlichaamsvetenwatermetingenbinneneengezondecategorievallen
Vrouwen
4 tot 20% 70 tot 58%
(in relatie tot uw leeftijd en geslacht).
21 tot 29% 58 tot 52%
Waarom zijn de niveaus voor lichaamsvetpercentages zo verschillend voor
30 tot 32% 52 tot 49%
mannen en vrouwen?
33 en meer 49 tot 37%
Vrouwen hebben van nature een hoger vetpercentage dan mannen, omdat hun lichaam
anders gebouwd is in verband met zwangerschap, borstvoeding, etc.
*** Bron: Ontleend aan Wang & Deurenberg: “Hydration of fat-free body mass”. American Journal Clin Nutr 1999, 69 833-841.
Voor mensen die de atleetstand gebruiken: denk erom dat atleten een lager niveau
Wat moet ik doen als mijn waterpercentagemeting ‘laag’ is?
voor lichaamsvet kunnen hebben en een hoger niveau voor water dan hierboven staat
Zorg ervoor dat u regelmatig voldoende water drinkt en doe uw best om uw
aangegeven, afhankelijk van het type sport of activiteit dat zij beoefenen.
vetpercentage naar een gezond niveau te krijgen.
De resultaten van lichaamswatermetingen worden beïnvloed door het aandeel
Waarom moet ik het gebruik van de lichaamsvetanalysator vermijden tijdens
lichaamsvet en spieren. Als het aandeel lichaamsvet hoog is, of het aandeel spieren
zwangerschap?
laag, zullen de resultaten voor lichaamswater meestal laag zijn.
Tijdens de zwangerschap verandert de samenstelling van het lichaam van de vrouw
Het is belangrijk u te realiseren dat metingen zoals lichaamsgewicht, lichaamsvet en
sterk, omdat het moet zorgen voor het zich ontwikkelende kind. Onder dergelijke
lichaamswater hulpmiddelen voor u zijn als onderdeel van een gezonde leefstijl. Omdat
omstandigheden kunnen metingen van lichaamsvetpercentages onnauwkeurig en
schommelingen over een korte periode normaal zijn, raden wij u aan uw voortgang
misleidend zijn.
gedurende langere tijd bij te houden. Dit is beter dan u te richten op de uitkomsten van
Zwangere vrouwen dienen daarom alleen de gewichtfunctie te gebruiken.
een enkele dag.
De gepubliceerde bereiken voor % lichaamswater zijn slechts een richtlijn.
U dient altijd medisch advies te vragen voordat u begint met diëten en
trainingsprogramma’s.
STOWAWEIGH-STANDAARD
Deze Salter-weegschaal biedt een unieke opslagoplossing. Wanneer de weegschaal
WAAROM MOET IK MIJN SPIERMASSA WETEN?
niet gebruikt wordt, kan hij veilig en handig worden opgeborgen in een makkelijk te
Volgens het American College of Sports Medicine (ASCM) kan de magere spiermassa met
monteren opslagstandaard.
bijna 50 procent afnemen tussen de leeftijd van 20 en 90 jaar. Indien u niets doet om dat
verlies op te vangen, krijgt u steeds minder spieren en meer vet. Het is ook belangrijk
om uw spiermassapercentage te weten als u aan het afvallen bent. In rust verbrandt het
lichaam ongeveer 110 calorieën extra voor elke kilo spieren die u ontwikkelt.
Enkele voordelen van het ontwikkelen van spiermassa:
• Ubrengteenommekeerteweegindeafnamevankracht,botdichtheidenspiermassa
die gepaard gaat met het ouder worden.
• Onderhoudvansoepelegewrichten.
• Leidtincombinatiemeteengezonddieettotgewichtsafname.
Dit product is alleen bedoeld voor huishoudelijk gebruik. Zwangere vrouwen dienen
alleen de gewichtfunctie te gebruiken.
PAS OP! Gebruik dit product niet als u een pacemaker of een ander medisch apparaat
hebt. Indien u twijfelt, raadpleeg uw dokter.
VRAGEN EN ANTWOORDEN
Hoe worden mijn lichaamsvet en water precies gemeten?
Deze Salter-weegschaal gebruikt een meetmethode die Bio-elektrische Impedantie
Analyse (BIA) wordt genoemd. Via uw voeten en benen wordt een uiterst lichte
stroomstoot door uw lichaam gevoerd. Dit stroompje gaat gemakkelijk door mager
spierweefsel, dat een hoog vloeistofgehalte heeft, maar niet gemakkelijk door vet. Door
de impedantie (d.w.z. de weerstand van het stroompje) te meten, kan de hoeveelheid
spieren worden vastgesteld. Hieruit kan de hoeveelheid vet en water worden berekend.
Wat is de waarde van het stroompje dat door mij heengaat als de meting
plaatsvindt? Is het veilig?
Het stroompje is minder dan 1 mA, wat heel weinig is en volkomen veilig. U kunt het niet
voelen. U moet er echter wel om denken dat u dit apparaat niet mag gebruiken als u
een intern elektronisch medisch apparaat draagt, zoals een pacemaker. Dit uit voorzorg
tegen een mogelijke verstoring van dat apparaat.
Als ik mijn lichaamsvet en water op verschillende momenten van de dag
meet, kan er behoorlijk veel verschil in zitten. Welke waarde is correct?
De meting van uw lichaamsvetpercentage varieert naar gelang de hoeveelheid lichaam-
swater, en deze verandert gedurende de dag. Er is geen goed of fout moment van de
dag om een meting te doen, maar probeer wel vaste tijden aan te houden en kies een
moment waarop de waterhuishouding van uw lichaam naar uw mening normaal is. Doe
geen metingen nadat u een bad of sauna hebt genomen, nadat u intensief getraind hebt
of binnen 1-2 uur nadat u veel gedronken hebt of een maaltijd hebt genuttigd.
25
IB-9147-1009-02.indd 25 09/11/2009 16:40

UITLEG VAN DISPLAY
WAARSCHUWINGSMELDINGEN
NL
Err Valt buiten bereik, onjuiste handeling of slecht voetcontact.
Lichaamsvet
Man / Vrouw Leeftijd
Instabiel gewicht. Blijf stil op de weegschaal staan.
O-Ld Gewicht is zwaarder dan maximale capaciteit.
BMI
Lo Batterij vervangen.
TECHNISCHE SPECIFICATIE
Lichaamswater
100 cm - 220 cm Man/Vrouw d = 0,1 BMI
3’2” - 7’02” Geheugen voor 12 gebruikers d = 0,1 % lichaamsvet
Spiermassa
Lengte
10 - 80 jaar Atleetstand d = 0,1 % lichaamswater
Normaal / Atleet
d = 0,1 % spiermassa
DE WEEGSCHAAL KLAARMAKEN
ADVIES VOOR GEBRUIK EN ONDERHOUD
1. Open het batterijvak aan de onderkant van de weegschaal.
• Zetbijhetwegendezelfdeweegschaalaltijdopdezelfdeplaatsopdevloer.Vergelijk
2. Breng de batterijen (1 x CR2032) met de + en - aan de juiste kant aan in het
geen meetwaarden van verschillende weegschalen, aangezien er verschillen
batterijvak.
ontstaan door het fabricageproces.
3. Sluit het batterijvak.
• Plaatsdeweegschaalopeenharde,vlakkevloervoordegrootstenauwkeurigheiden
4. Selecteer de gewichtweergave “kg”, “st” of “lb” met de schakelaar aan de onderkant
herhaalbaarheid van de meting.
van de weegschaal.
• Hetwordtaangeradendemetingsteedstedoenophetzelfdemomentvandedag,bij
5. Indien u hem op een tapijt gebruikt, de antislip kussentjes van de poten verwijderen
voorkeur in de vroege avond voor de maaltijd, voor de meest constante resultaten.
en de meegeleverde vloerbedekkingvoetjes gebruiken.
• Deweegschaalrondtnaardeeerstvolgendestapnaarbovenofbenedenaf.Indien
u zichzelf tweemaal weegt en u krijgt twee verschillende resultaten, dan ligt uw
ALLEEN GEWICHTMETING
gewicht er tussenin.
1. Zet de weegschaal op een stevige, vlakke ondergrond.
• Reinigdeweegschaalmeteenvochtigedoek.Gebruikgeenchemische
2. Tik op het midden van het plateau (de trilling activeert uw weegschaal) en haal uw
reinigingsmiddelen.
voet weg.
• Ermaggeenwaterindeweegschaaldringen,omdathierdoordeelektronica
3. Wacht totdat 0.0 wordt weergegeven.
beschadigd kan raken.
4. Stap op de weegschaal en blijf heel stil staan terwijl de weegschaal uw gewicht berekent.
• Behandeldeweegschaalvoorzichtig;hetiseenprecisie-instrument.Laatde
5. Stap van de weegschaal af zodra u een piepje hoort.
weegschaal niet vallen en spring er niet op.
6. Uw gewicht verschijnt gedurende enkele seconden op het display, daarna schakelt de
weegschaal uit.
PROBLEMEN OPLOSSEN
PERSOONLIJKE GEGEVENSINVOER
• Udientdemetingenvoorlichaamsvetentotaallichaamswaterblootsvoetsuittevoeren.
1. Wanneer 0.0 wordt weergegeven, drukt u op SET om de instelprocedure te activeren.
• Deconditievandehuidonderuwvoetenkanvaninvloedzijnopdemeting.Om de meest
2. Het gebruikersnummer knippert. Druk op ▲ of ▼ om het gebruikersnummer in te
precieze en constante resultaten te bereiken, dient u uw voeten af te vegen met een
stellen en druk op SET om te bevestigen.
vochtig doek, zodat ze licht vochtig zijn voordat u op de weegschaal stapt.
3. De gewichtseenheden knipperen. Druk op ▲ of ▼ om de eenheden (kg, lb, St) in te
stellen en druk op SET om te bevestigen.
4. Het symbool voor man/vrouw knippert. Druk op ▲ of ▼ totdat het juiste symbool
knippert en druk op SET om te bevestigen.
UITLEG OVER AEEA
5. De leeftijdsweergave knippert. Druk op ▲ of ▼ om uw leeftijd in te stellen en druk
Deze markering geeft aan dat dit product binnen de EU niet met ander huisvuil
op SET om te bevestigen.
mag worden weggeworpen. Om eventuele schade aan het milieu of de menselijke
6. De lengteweergave knippert. Druk op ▲ of ▼ om uw lengte in te stellen en druk op
gezondheid door het ongecontroleerd wegwerpen van afval te voorkomen, dient
SET om te bevestigen.
dit apparaat op verantwoorde wijze gerecycled te worden om duurzaam hergebruik van
7. Het symbool voor normaal/atleet knippert. Druk op ▲ of ▼om de modus ‘normaal’
materiaalbronnen te bevorderen. Wilt u het gebruikte apparaat retourneren, gebruik dan de
of ‘atleet’ in te stellen en druk op SET om te bevestigen.
retour- en ophaalsystemen of neem contact op met de winkelier waar het product gekocht
Let op: De definitie van een atleet is iemand die zich ongeveer 12 uur per week
is. Deze zal het product voor milieuveilige recycling accepteren.
bezighoudt met intensieve fysieke activiteiten en een hartslag in rust heeft van
ongeveer 60 slagen per minuur of minder.
8. Het gebruikersnummer knippert. Uw gebruikersgegevens zijn nu ingesteld. Wacht
totdat de weegschaal wordt uitgeschakeld.
9. Herhaal deze procedure om een tweede gebruiker in te stellen of de gebruikersge-
GARANTIA
gevens te wijzigen.
Dit product is alleen bedoeld voor huishoudelijk gebruik. Salter zal het product, of
een onderdeel van dit product (behalve batterijen), gratis repareren of vervangen mits
METINGEN GEWICHT EN LICHAAMSVET
binnen 15 jaar na de aankoopdatum kan worden aangetoond dat het product defect
1. Zet de weegschaal op een stevige, vlakke ondergrond.
is geraakt vanwege tekortschietend vakmanschap of gebrekkige materialen. Deze
2. Tik op het midden van het plateau (de trilling activeert uw weegschaal) en haal uw
garantie heeft betrekking op werkende onderdelen die van invloed zijn op de werking
voet weg..
van de weegschaal. De garantie heeft geen betrekking op cosmetische aantastingen
3. Wacht totdat 0.0 wordt weergegeven.
veroorzaakt door slijtage of beschadigingen die per ongeluk of door verkeerd gebruik
4. Druk op SET. Het gebruikersnummer knippert. Druk op ▲ of ▼ om uw
zijn ontstaan. Worden de weegschaal of onderdelen ervan geopend of gedemonteerd,
gebruikersnummer te selecteren.
dan komt de garantie te vervallen. Claims die onder de garantie worden ingediend,
5. Uw gebruikersgegevens worden bevestigd. Wacht totdat 0.0 wordt weergegeven.
moeten vergezeld gaan van een aankoopbewijs en op kosten van de verzender worden
6. Stap met blote voeten op het platform en sta stil.
geretourneerd aan Salter (of de plaatselijke Salter-agent indien buiten het Verenigd
7. Stap van de weegschaal af zodra u een piepje hoort.
Koninkrijk). De weegschaal dient zodanig te worden verpakt dat deze tijdens het
8. Uw gewicht wordt weergegeven, gevolgd door uw BMI, lichaamsvet, lichaamswater
transport niet beschadigd kan raken. Deze handelingen vormen een aanvulling op de
en spiermassa.
wettelijk vastgelegde rechten van de consument en is hierop niet van invloed. Buiten
9. Uw gewicht wordt nogmaals weergegeven, waarna de weegschaal wordt
het Verenigd Koninkrijk kunt u contact opnemen met de plaatselijke, erkende dealer
uitgeschakeld.
van Salter.
26
IB-9147-1009-02.indd 26 09/11/2009 16:40

KUINKA SALTER-VAAKA TOIMII?
RASVAPITOISUUS – MITÄ SE TARKOITTAA?
Tässä Salter-vaa’assa käytetään bioimpedanssimittaustekniikkaa (BIA), mikä johtaa
Ihmiskeho koostuu muiden aineiden lisäksi rasvasta. Tämä on elintärkeää terveellisen ja
FIN
erittäin pienen sähköimpulssin kehon läpi määrittääkseen rasvan rasvattomasta
toimivan kehon kannalta. Se toimii pehmusteena nivelille ja suojaa elintärkeitä elimiä,
kudoksesta. Sähköimpulssia ei tunne, ja menetelmä on täysin vaaraton. Kosketus
auttaa säätelemään kehon lämpötilaa, varastoi vitamiineja ja auttaa kehoa toimimaan,
kehoon tapahtuu vaa’an alustalla olevien ruostumattomasta teräksestä valmistettujen
kun ruoan saanti on vähäistä. Mutta liian suuri tai liian pieni määrä rasvaa voi olla
laattojen (tai lasipinnalla olevan lähes näkymättömän ITO-pinnoituksen kautta*).
vahingollista terveydelle. On vaikea arvioida, kuinka paljon kehossamme on rasvaa
Menetelmällä lasketaan samanaikaisesti kehon paino, BMI, rasvaprosentti, vesipitoisuus
pelkästään katsomalla peiliin.
ja lihasmassa. Näin saat entistä tarkemman kuvan yleisestä terveydentilastasi ja
Tästä syystä on tärkeää mitata ja seurata kehon rasvaprosenttia. Kehon rasvaprosentti
kunnostasi. Vaakaan voidaan tallentaa jopa 4 käyttäjän henkilökohtaiset tiedot.
antaa paremman kuvan kunnosta kuin pelkkä painolukema. Painon pudotus voi
Analyysivaa’an lisäksi tätä vaakaa voidaan käyttää myös tavallisena vaakana.
tarkoittaa, että lihasmassa pienenee rasvan sijasta. Kehosi rasvaprosentti voi silti olla
korkea vaikka vaaka näyttäisi ’normaalia painoa’.
MIKÄ ON BMI?
Kehon massaindeksi eli BMI on hyödyllinen työkalu, jota monet terveydenhoidon
KEHON RASVAPROSENTIN NORMAALI TERVE VAIHTELUALA
ammattilaiset käyttävät yksilön terveen painon määrittämiseen. BMI on mitta, jolla
Rasvaprosentti pojilla*
määritetään kehon kokonaisrasvaprosentti pituuden ja painon avulla.
Aikuisen terve BMI on 18,5– 24,9. Jos yksilön BMI on vähintään 25, häntä voidaan pitää
Ikä Alhainen
Ihanteellinen
Kohtalainen Korkea
ylipainoisena. Jos yksilön BMI on vähintään 30, häntä voidaan pitää liikalihavana. Jos
10 ≤12.8 12.9 - 22.8 22.9 - 27.8 ≥27.9
yksilön BMI on vähintään 40, häntä voidaan pitää erittäin liikalihavana. Jos yksilön BMI
11 ≤12.6 12.7 - 23.0 23.1 - 28.2 ≥28.3
on alle 18,5, häntä voidaan pitää alipainoisena.
12 ≤12.1 12.2 - 22.7 22.8 - 27.8 ≥27.9
Huomautus: BMI-arvolla on joitakin rajoitteita. BMI-arvo voi olla liian suuri yksilöillä,
jotka ovat erittäin lihaksikkaita, koska lihakset painavat enemmän kuin rasva, ja liian
13 ≤11.5 11.6 - 22.0 22.1 - 26.9 ≥27.0
pieni yksilöillä, jotka ovat menettäneet lihaspainoa, erityisesti vanhukset.
14 ≤10.9 11.0 - 21.3 21.4 - 25.8 ≥25.9
Selvitä oma ihanteellinen BMI-arvosi ottamalla yhteyttä lääkäriin.
15 ≤10.4 10.5 - 20.7 20.8 - 24.9 ≥25.0
16 ≤10.1 10.2 - 20.3 20.4 - 24.2 ≥24.3
MITÄ BMI-ARVO TARKOITTAA?
17 ≤9.8 9.9 - 20.1 20.2 - 23.8 ≥23.9
Kehon massaindeksi (BMI) näyttää painon ja pituuden välisen suhteen, ja sitä käytetään
18 ≤9.6 9.7 - 20.1 20.2 - 23.5 ≥23.6
yleisesti aikuisten alipainon, ylipainon ja liikalihavuuden määrittämisessä. Vaaka laskee
BMI-arvon puolestasi. Alla olevassa kaaviossa ja taulukossa näkyvät BMI-luokat ovat
Rasvaprosentti tytöillä*
maailman terveysjärjestön WHO:n tunnustamia ja niitä voidaan käyttää BMI-arvon
Ikä Alhainen
Ihanteellinen
Kohtalainen Korkea
tulkitsemiseen.
10 ≤16.0 16.1 - 28.2 28.3 - 32.1 ≥32.2
11 ≤16.1 16.2 - 28.8 28.9 - 32.7 ≥32.8
kg
12 ≤16.1 16.2 - 29.1 29.2 - 33.0 ≥33.1
13 ≤16.1 16.2 - 29.4 29.5 - 33.2 ≥33.3
14 ≤16.0 16.1 - 29.6 29.7 - 33.5 ≥33.6
15 ≤15.7 15.8 - 29.9 30.0 - 33.7 ≥33.8
16 ≤15.5 15.6 - 30.1 30.2 - 34.0 ≥34.1
17 ≤15.1 15.2 - 30.1 30.2 - 34.3 ≥34.4
18 ≤14.7 14.8 - 30.8 30.9 - 34.7 ≥34.8
Rasvaprosentti miehillä**
Ikä Alhainen
Ihanteellinen
Kohtalainen Korkea
ft
m
19 - 39 ≤8 8.1 - 19.9 20 - 24.9 ≥25
40 - 59 ≤11 11.1 - 21.9 22 - 27.9 ≥28
60+ ≤13 13.1 - 24.9 25 - 29.9 ≥30
Rasvaprosentti naisilla**
Ikä Alhainen
Ihanteellinen
Kohtalainen Korkea
19 - 39 ≤21 21.1 - 32.9 33 - 38.9 ≥39
40 - 59 ≤23 23.1 - 33.9 34 - 39.9 ≥40
60+ ≤24 24.1 - 35.9 36 - 41.9 ≥42
*Lähde: Derived from; HD McCarthy, TJ Cole, T Fry, SA Jebb and AM Prentice: HD McCarthy, TJ Cole, T Fry, SA Jebb ja
AM Prentice: “Body far reference curves for children”. International Journal of Obesity (2006) 0, 598–602.
**Lähde: Dympna Gallagher, Steven B Heymsfield, Moonseong Heo, Susan A Jebb, Peter R Murgatroyd ja Yoichi
Sakamoto: “Healthy percentage body fat ranges: an approach for developing guidelines based on body mass index1– ”.
st
Am J Clin Nutr 2000;72:694–701.
Julkaistut kehon rasvaprosentit ovat vain viitteellisiä. Terveydenhoitoalan ammattilaiselta tulisi aina kysyä
neuvoa ennen dieetin ja kuntoiluohjelman aloittamista.
BMI-luokkasi voidaan määrittää alla olevan taulukon avulla.
BMI-luokka BMI-arvon merkitys Vain BMI-arvoon perustuva terveysriski
KEHON VESIPROSENTTI – MIKSI SE TULISI MITATA?
< 18.5 Alipainoinen Kohtalainen
Kehon vesipitoisuus on tärkein yksittäinen kehon paino-osista. Sen osuus on yli
18.6-24.9 Normaali Pieni
puolet koko painostasi ja lähes kaksikolmasosaa rasvattomasta kehon massasta
25-29.9 Ylipainoinen Kohtalainen
(pääasiassa lihaksista).
30+ Liikalihava Korkea
Vedellä on useita tärkeitä tehtäviä kehossamme: Kaikki kehon solut, olivatpa ne
ihossa, rauhasissa, lihaksissa, aivoissa tai missä tahansa muualla, pystyvät toimimaan
HUOMAUTUS: Jos painosi ei kaavion tai taulukon mukaan vastaa normaalia tervettä
ainoastaan, jos ne saavat riittävästi vettä. Vedellä on myös tärkeä tehtävä kehon
painoa, ota yhteyttä lääkäriisi, ennen kuin ryhdyt mihinkään toimenpiteisiin.
lämpötasapainon sääntelyssä, erityisesti hikoilun kautta.
BMI-luokitukset on tarkoitettu vain aikuisille (yli 20-vuotiaille).
Paino- ja rasvalukemasi yhdistelmä saattaa vaikuttaa normaalilta, mutta kehosi
* Vain joissakin malleissa.
vesipitoisuus voi olla riittämätön terveellisen hyvinvoinnin kannalta.
27
IB-9147-1009-02.indd 27 09/11/2009 16:40

KEHON VESIPITOISUUDEN NORMAALI TERVE VAIHTELUALA
Ystävälläni on toisen valmistajan kehon rasvaprosentin analyysivaaka.
FIN
Kehon vesipitoisuustaulukko***
Kun käytin sitä, huomasin, että kehoni rasvaprosenttilukema oli erilainen.
Miksi?
Kehon rasva-% Ihanteellinen vesipitoisuus
Eri kehon rasvaprosenttianalysaattorit tekevät mittaukset eri kohdista kehoa ja
käyttävät erilaisia matemaattisia algoritmeja kehon rasvaprosentin laskemiseen.
Miehet
4 - 14% 70 - 63%
Laitteita ei kannata vertailla toisiinsa, vaan käyttää samaa laitetta joka kerta muutoksen
15 - 21% 63 - 57%
seuraamiseksi.
22 - 24% 57 - 55%
Kuinka kehon rasva- ja vesiprosenttilukemat tulkitaan?
25 tai yli 55 - 37%
Katso laitteen mukana toimitettuja Kehon rasvaprosentti- ja vesipitoisuustaulukoita.
Ne antavat viitteitä siitä, ovatko kehosi rasvaprosentti- ja vesipitoisuuslukemat
Naiset
4 - 20% 70 - 58%
terveellisissä rajoissa (ikä ja sukupuoli vaikuttavat tähän).
21 - 29% 58 - 52%
Mitä minun pitäisi tehdä, jos kehoni rasvaprosenttilukema on erittäin
30 - 32% 52 - 49%
korkea?
33 tai yli 49 - 37%
Kehon rasvaprosenttia voi pienentää järkevällä ruokavalio-, neste- ja kunto-ohjelmalla.
Terveydenhoitoalan ammattilaisilta tulisi aina kysyä neuvoa ennen tällaisen ohjelman
*** Lähde: perustuu artikkeliin: Wang & Deurenberg: Hydration of fat-free body mass. American Journal Clin Nutr
1999, 69 833-841.
aloittamista.
Urheilijatoiminnon käyttäjät: Huomaa, että urheilulajista riippuen urheilijoilla saattaa
Mitkä ovat kehon rasvaprosenttilukemat miehillä ja naisilla?
olla alhaisempi kehon rasvaprosentti ja korkeampi vesipitoisuus kuin yllä näkyy
Naisten rasvaprosentti on luonnostaan korkeampia kuin miesten, koska kehon
urheilu- tai aktiviteettityypistä riippuen.
koostumus on erilainen johtuen valmistautumisesta raskauteen, imettämiseen jne.
Kehon vesipitoisuuslukemiin vaikuttaa kehon rasvan ja lihasten osuus. Jos kehon rasvan
Mitä minun pitäisi tehdä, jos kehoni vesiprosenttilukema on erittäin alhainen?
osuus on korkea tai lihasten osuus alhainen, kehon vesipitoisuus on yleensä alhainen.
Varmista, että juot säännöllisesti ja riittävästi vettä ja pyrit saamaan kehosi
On tärkeää muistaa, että lukemat kuten paino, kehon rasvapitoisuus ja vesiprosentti
rasvaprosentin terveellisiin lukemiin.
ovat vain työvälineitä osana terveellistä elämäntyyliä. Koska lyhytaikaiset vaihtelut
Miksi kehon koostumuksen analyysivakaa ei tulisi käyttää raskauden
ovat normaaleja, ehdotamme, että kirjaat kehityksesi pitkällä aikavälillä sen sijaan että
aikana?
keskittyisit yhden päivän lukemiin.
Naisen kehon koostumus muuttuu huomattavasti raskauden aikana tukeakseen
Vesipitoisuuden julkaistut vaihteluarvot ovat vain viitteellisiä.
vauvan kehitystä. Tällöin kehon rasvaprosenttilukemat saattavat olla epätarkkoja ja
Terveydenhoitoalan ammattilaisilta tulisi aina kysyä neuvoa ennen dieetin ja
harhaanjohtavia. Raskaana olevien tulisi tästä syystä käyttää vain painotoimintoa.
kuntoiluohjelman aloittamista
MIKSI MINUN TULISI TIETÄÄ, MIKÄ LIHASMASSANI ON?
Amerikkalaisen urheilulääketieteellisen opiston (American College of Sports Medicine
STOWAWEIGH STAND
(ASCM)) mukaan rasvaton lihasmassa voi pienentyä jopa lähes 50 prosenttia 20- –
Tässä Salter-vaa’assa on ainutlaatuinen säilytysratkaisu. Kun vaaka ei ole käytössä, sitä
90-ikävuoden välillä. Jos et tee mitään tämän hävikin korvaamiseksi, lihasten osuus
voidaan säilyttää turvallisesti ja kätevästi helposti koottavassa säilytystelineessä. Näin
pienenee ja rasvan osuus kasvaa. Myös painon pudottamisen aikana on tärkeää tietää
voit säästää tilaa kylpyhuoneessa.
lihasmassaprosentti. Levossa keho polttaa noin 110 ylimääräistä kaloria per kilo
lisääntynyttä lihasta. Seuraavassa on mainittu joitakin lihasmassan kasvattamisen
tuomia hyötyjä:
• ikääntymisestäjohtuvanvoiman,luuntiheydenjalihasmassanvähenemisen
estäminen
• niveltenliikkuvuudenylläpitäminen
• ohjaapainonpudotustaterveelliseenruokavalioonyhdistettynä.
Tämä laite on tarkoitettu ainoastaan kotikäyttöön. Raskaana olevien tulisi käyttää vain
painotoimintoa.
VAARA: Tätä tuotetta ei saa käyttää, jos sinulla on tahdistin tai muita lääkinnällisiä
laitteita. Jos olet epävarma, ota yhteyttä lääkäriisi.
KYSYMYKSIÄ JA VASTAUKSIA
Kuinka laite mittaa kehon raspitoisuuden ja vesipronsetin?
Tässä Salter-vaa’assa käytetään bioimpedanssimittaukseksi kutsuttua mittaus-
menetelmää. Äärimmäisen pieni määrä sähkövirtaa johdetaan kehon läpi jalkojen ja
säärien kautta. Tämä sähkövirta kulkee helposti rasvattoman lihaskudoksen läpi, jossa
on korkea nestepitoisuus, mutta ei niin helposti rasvan läpi. Näin ollen mittaamalla
kehon impedanssi (ts. sähkövirran vastuksen) voidaan määritellä lihasmassa. Tästä
lukemasta voidaan sitten arvioida rasvan ja veden osuus..
Kuinka suuri sähkövirta kehoni läpi kulkee mittauksen aikana?
Onko se turvallista?
Sähkövirta on alle 1 mA, mikä on äärimmäisen vähäistä ja täysin turvallista. Sitä ei
edes tunne. Tästä huolimatta, tätä laitetta eivät saa käyttää henkilöt, joille on asennettu
sisäinen lääkinnällinen laite, kuten sydämen tahdistin, välineeseen mahdollisesti
aiheutuvien häiriöiden varalta.
Jos mittaan kehoni rasva- ja vesiprosentit eri vuorokauden aikaan, ne
vaihtelevat melko paljon. Mikä lukema on oikea?
Kehon rasvaprosenttilukema vaihtelee kehon vesipitoisuuden mukaan, ja vesipitoisuus
muuttuu päivän aikana.
Ei ole olemassa oikeaa tai väärää aikaa ottaa lukemaa, mutta mittaukset tulisi pyrkiä
tekemään säännöllisesti silloin kun arvioit kehosi nestetasapainon olevan normaali.
Vältä mittaamista kylvyn tai saunan jälkeen, tehokkaan kuntoilun jälkeen tai 1-2 tunnin
sisällä juomisesta tai syömisestä.
28
IB-9147-1009-02.indd 28 09/11/2009 16:40

NÄYTÄ OPAS
KÄYTTÖ- JA HOITO-OHJEET
• Punnitseitsesiainasamallavaa’allajasamallalattialaustalla.
FIN
Kehon rasvaprosentti
Mies / Nainen Ikä
Älä vertaile eri vaakojen välisiä lukemia, sillä vaaoissa on valmistustoleransseista
johtuvia eroja.
BMI
• Tarkkuusjatoistettavuusovatparhaimmillaan,kunvaakaasetetaankovalle,
tasaiselle lattialle.
• Punnitseitsesisamaanaikaanjokakerta,ennenruokailuajailmanjalkineita.
Kehon
Hyvä aika punnita paino on aamulla ensimmäisenä.
vesipitoisuus
• Vaakapyöristääpainonlähimpäänlukemaanylös-taialaspäin.Jospunnitsetitsesi
Lihasmassa
Pituus
kahdesti ja saat eri lukemat, painosi on näiden kahden välillä.
Normaali / Urheilija
•Puhdistavaakakosteallarätillä.Äläkäytäkemiallisiapuhdistusaineita.
• Pidähuolisiitä,ettävaakaeikastukokonaan,silläsenelektronisetosatsaattavat
VAA’AN ESIVALMISTELUT
vahingoittua.
1. Avaa vaa’an alapuolella oleva paristotila.
•Käsittelevaakaavaroen–seonhienomekaaninenlaite.Äläpudotavaakaaäläkä
2. Laita paristot (1 x CR2032) paikoilleen oikein päin huomioiden paristokotelossa
hyppää sen päälle.
olevat (+)- ja (-)-merkit.
3. Sulje paristotila.
4. Valitse painoyksiköt (kg, st tai lb) vaa’an alapuolella olevalla katkaisimella.
VIANMÄÄRITYSOHJEITA
5. Jos vaaka asetetaan matolle, irrota vaa’an jalkojen liukumattomat pehmusteet ja
• Kehonrasva-javesiprosenttiamitattaessatäytyyollapaljainjaloin.
käytä vaa’an mattojalkoja.
• Jalkapohjienihonkuntovoivaikuttaalukemaan.
Saadaksesi mahdollisimman tarkan ja yhtenäisen lukeman, pyyhi jalkasi kostealla
PELKKÄ PAINON MITTAUS
liinalla jättäen ne vähän kosteiksi ennen kuin astut vaa’alle.
1. Aseta vaaka tasaiselle, kiinteälle alustalle.
2. Näpäytä alustan keskiosaa (tärähdys aktivoi vaa’an) ja nosta jalka sen jälkeen pois.
3. Odota, kunnes näytössä näkyy 0.0.
4. Astu vaa’alle ja seiso aivan liikkumatta vaa’an punnitessa painosi.
WEEE-SELITYS
5. Kun kuulet äänimerkin, astu pois vaa’alta.
Tämä merkki tarkoittaa, että tätä tuotetta ei saa hävittää muiden talousjätteiden
6. Painosi näytetään muutaman sekunnin ajan, jonka jälkeen vaaka kytkeytyy pois päältä.
mukana missään EU-maassa. Kontrolloimattomasta jätteiden hävittämisestä
mahdollisesti aiheutuvien ympäristöhaittojen tai terveysvaarojen estämiseksi
HENKILÖKOHTAISTEN TIETOJEN SYÖTTÄMINEN
hävitä tämä tuote vastuullisesti edistääksesi materiaalivarojen uudelleenkäyttöä.
1. Kun näytössä näkyy 0.0, aloita asetusten määrittäminen painamalla SET-painiketta.
Palauta käytetty laite käyttäen palautus- ja noutojärjestelmää tai ota yhteyttä laitteen
2. Käyttäjänumero vilkkuu näytössä. Määritä käyttäjänumero painamalla
myyneeseen liikkeeseen. He voivat kierrättää tämän tuotteen ympäristöturvallisesti.
▲ tai ▼-painikkeita ja vahvista painamalla SET-painiketta.
3. Painoyksiköt vilkkuvat näytössä. Määritä painoyksiköt (kg, lb, St) painamalla
▲ tai ▼-painikkeita ja vahvista painamalla SET-painiketta.
4. Miestä tai naista tarkoittava symboli vilkkuu. Paina ▲ tai ▼-painiketta, kunnes
TAKUU
oikea symboli vilkkuu, ja vahvista painamalla SET-painiketta.
5. Ikänäyttö vilkkuu. Määritä ikäsi painamalla ▲ tai ▼-painikkeita ja vahvista
Tämä tuote on tarkoitettu vain kotitalouskäyttöön. Salter korjaa tai vaihtaa tämän
painamalla SET-painiketta.
tuotteen, tai minkä tahansa tämän tuotteen osan (lukuun ottamatta paristoja) maksutta,
6. Pituusnäyttö vilkkuu. Määritä pituutesi painamalla ▲ tai ▼-painikkeita ja vahvista
jos 15 vuoden aikana ostopäiväyksestä voidaan osoittaa, että vika johtuu valmistus-
painamalla SET-painiketta.
virheestä tai viallisista valmistusmateriaaleista. Tämä takuu kattaa vaa’an toimintaan
7. Normaalia tai urheilijaa tarkoittava symboli vilkkuu. Määritä urheilijan tai normaali
vaikuttavat liikkuvat osat. Se ei kata tavallisesta käytöstä aiheutuvaa kulumista, tai
tila painamalla ▲ tai ▼-painikkeita ja vahvista painamalla SET-painiketta.
vahingosta tai väärinkäytöstä johtuvia vaurioita.
Huom: Urheilijaksi määritellään henkilö, joka harrastaa vaativaa fyysistä liikuntaa n.
Takuu mitätöityy, jos vaaka tai sen osia avataan tai puretaan osiin. Takuuvaateisiin
12 tuntia viikossa ja jonka sydämen leposyke on n. 60 lyöntiä minuutissa tai vähemmän.
täytyy liittää ostotodistus ja ne tulee palauttaa toimituskulut maksettuina Salter
8. Käyttäjänumero vilkkuu näytössä. Käyttäjätietosi on nyt määritetty. Odota, että vaaka
–yhtiölle (tai Britannian ulkopuolella paikalliselle valtuutetulle Salter-edustajalle).
kytkeytyy pois päältä.
Vaaka täytyy pakata niin, että se ei vahingoitu kuljetuksessa. Tämä takuu on täydennys
9. Toista toimenpide toiselle käyttäjälle tai jos haluat muuttaa käyttäjän tietoja.
lakisääteisiin kuluttajaoikeuksiin, eikä se vaikuta kyseisiin oikeuksiin millään tavalla.
Muissa maissa ota yhteyttä paikalliseen valtuutettuun Salter-edustajaan.
PAINO JA KEHON RASVAPROSENTTILUKEMA
1. Aseta vaaka tasaiselle, kiinteälle alustalle.
2. Näpäytä alustan keskiosaa (tärähdys aktivoi vaa’an) ja nosta jalka sen jälkeen pois.
3. Odota, kunnes näytössä näkyy 0.0.
4. Paina SET-painiketta. Käyttäjänumero vilkkuu näytössä. Valitse käyttäjänumero
painamalla ▲ tai ▼-painikkeita.
5. Käyttäjätietosi vahvistetaan. Odota, kunnes näyttöön tulee 0.0.
6. Astu paljain jaloin vaaka-alustalle ja seiso paikallasi.
7. Kun kuulet äänimerkin, astu pois vaa’alta.
8. Näkyviin tulevat kehosi paino, BMI, rasvaprosentti, vesipitoisuus ja lihasmassa.
9. Painosi tulee näkyviin toisen kerran ja vaaka kytkeytyy pois päältä.
VAROITUSMERKKIVALOT
Err Alueen ulkopuolella, jalkapohjien huono kosketus.
Epävakaa paino. Seiso paikallasi.
O-Ld Paino ylittää maksimirajan.
Lo Vaihda paristo.
TEKNISET TIEDOT
100 cm - 220 cm Mies/nainen d = 0,1 BMI
3’2” - 7’02” 4 käyttäjän muisti d = 0,1 % rasvaprosentti
10 - 80 vuotta Urheilijatila d = 0,1 % vesiprosentti
d = 0,1 % lihasmassa
29
IB-9147-1009-02.indd 29 09/11/2009 16:40

HUR FUNGERAR DENNA SALTER VÅG?
KROPPSFETT - VAD BETYDER DET?
S
Denna Salter-våg använder BIA (Bio Impedans Analys) teknik som skickar en liten
Den mänskliga kroppen består av, bland annat, en viss procent fett. Detta är viktigt för
elektrisk impuls genom kroppen för att skilja fet från mager vävnad, den elektriska
en hälsosam, fungerande kropp – det skyddar leder och skyddar viktiga organ, hjälper
impulsen känns inte och är helt säker. Kontakt med kroppen görs via dynor av rostfritt
till att reglera kroppstemperatur, förvarar vitaminer och hjälper kroppen att hålla igång
stål på vågens plattform (eller ett nästan osynligt lager med ITO på glasets yta*).
då det är ont om mat. För mycket fett eller för lite fett kan dock vara skadligt för din
Denna metod beräknar samtidigt din personliga vikt, BMI, kroppsfett, totala andel vatten
hälsa. Det är svårt att avgöra hur mycket kroppsfett våra kroppar har bara genom att
i kroppen, muskelmassa, vilket ger dig en mer korrekt avläsning av din övergripande
titta på oss själva i spegeln.
hälsa och kondition. Denna våg sparar personlig information för upp till 4 användare
Detta är varför det är så viktigt att mäta och övervaka din kroppsfettsprocenthalt.
Såväl som att den är en analyseringsvåg så kan denna våg användas som en vanlig våg.
Kroppsfettsprocenthalten ger dig bättre mätning av din condition än enbart vikt – kom-
positionen av din viktnedgång kan betyda att du förlorar muskelmassa snarare än fett
– du kan fortfarande har en hög procenthalt fett även om vågen indikerar ‘normal vikt’.
VAD ÄR BMI?
Kroppsmasseindex eller BMI är ett användbart verktyg som sjukvårdspersonal använder
NORMAL HÄLSOSAM RÄCKVIDDSPROCENT FÖR KROPPSFETT
för att avgöra en hälsosam räckvidd för en individ. BMI är ett mått som använder
Kroppsfettprocentsräckvidder för pojkar*
längd och vikt för att avgöra total kroppsfett. En hälsosam BMI för en vuxen är mellan
18,5 och 24,9. Om en individ har en BMI lika med eller större än 25 anses denna vara
Ålder Låg Optimal Moderat Hög
“överviktigt”. En individ med en BMI lika med eller större än 30 anses ha “fetma”. En
10 ≤12.8 12.9 - 22.8 22.9 - 27.8 ≥27.9
individ med en BMI lika med eller större än 40 anses ha “extrem fetma”. Individ med en
11 ≤12.6 12.7 - 23.0 23.1 - 28.2 ≥28.3
BMI mindre än 18,5 anses vara “underviktig”.
12 ≤12.1 12.2 - 22.7 22.8 - 27.8 ≥27.9
OBS! Det finns vissa begränsningar för BMI. Den kan överskatta BMI hos personer som
har mycket muskler eftersom muskler väger mer än fett, och underskatta BMI hos
13 ≤11.5 11.6 - 22.0 22.1 - 26.9 ≥27.0
personer som har förlorat mycket muskelmassa, såsom de äldre.
14 ≤10.9 11.0 - 21.3 21.4 - 25.8 ≥25.9
Konsultera med en läkare för att avgöra vad som är bäst för dig.
15 ≤10.4 10.5 - 20.7 20.8 - 24.9 ≥25.0
16 ≤10.1 10.2 - 20.3 20.4 - 24.2 ≥24.3
VAD BETYDER MITT BMI-VÄRDE?
17 ≤9.8 9.9 - 20.1 20.2 - 23.8 ≥23.9
Kroppsmasseindex (BMI) är ett index för vikt-för-längd som ofta används för att klas-
18 ≤9.6 9.7 - 20.1 20.2 - 23.5 ≥23.6
sificera undervikt, övervikt och stor övervikt hos vuxna. Vågen räknar ut ditt BMI-värde
Kroppsfettprocentsräckvidder för flickor*
åt dig. BMI-kategorierna visas i diagrammet och tabellen nedan såsom erkänt av WHO
(World Health Organisation) och kan användas för att tolka ditt BMI-värde.
Ålder Låg Optimal Moderat Hög
10 ≤16.0 16.1 - 28.2 28.3 - 32.1 ≥32.2
11 ≤16.1 16.2 - 28.8 28.9 - 32.7 ≥32.8
kg
12 ≤16.1 16.2 - 29.1 29.2 - 33.0 ≥33.1
13 ≤16.1 16.2 - 29.4 29.5 - 33.2 ≥33.3
14 ≤16.0 16.1 - 29.6 29.7 - 33.5 ≥33.6
15 ≤15.7 15.8 - 29.9 30.0 - 33.7 ≥33.8
16 ≤15.5 15.6 - 30.1 30.2 - 34.0 ≥34.1
17 ≤15.1 15.2 - 30.1 30.2 - 34.3 ≥34.4
18 ≤14.7 14.8 - 30.8 30.9 - 34.7 ≥34.8
Kroppsfettprocentsräckvidder för män**
Ålder Låg Optimal Moderat Hög
ft
m
19 - 39 ≤8 8.1 - 19.9 20 - 24.9 ≥25
40 - 59 ≤11 11.1 - 21.9 22 - 27.9 ≥28
60+ ≤13 13.1 - 24.9 25 - 29.9 ≥30
Kroppsfettprocentsräckvidder för kvinnor**
Ålder Låg Optimal Moderat Hög
19 - 39 ≤21 21.1 - 32.9 33 - 38.9 ≥39
40 - 59 ≤23 23.1 - 33.9 34 - 39.9 ≥40
60+ ≤24 24.1 - 35.9 36 - 41.9 ≥42
*Källa: Hämtat från; HD McCarthy, TJ Cole, T Fry, SA Jebb och AM Prentice: “Body fat reference curves for children”.
International Journal of Obesity (2006) 0, 598–602.
**Källa: Hämtat från; Dympna Gallagher, Steven B Heymsfield, Moonseong Heo, Susan A Jebb, Peter R Murgatroyd, och
Yoichi Sakamoto: “Healthy percentage body fat ranges: an approach for developing guidelines based on body mass
st
index1– ”. Am J Clin Nutr 2000;72:694–701.
Kroppsfettsprocenträckvidderna anges endast som vägledning. Professionell medicinsk vägledning bör alltid
sökas innan du påbörjar bantnings- och träningsprogram.
Din BMI-kategori kan identifieras med hjälp av tabellen nedan.
BMI-kategori
Betydelse av BMI-värde
Hälsorisk baserat endast på BMI
KROPPSVATTEN – VARFÖR SKA MAN MÄTA DET?
< 18.5 Undervikt Moderat
Kroppsvatten är den viktigaste komponenten av din kroppsvikt. Det representerar över
18.6-24.9 Normal Låg
hälften av din totala vikt och nästan två tredjedelar av din magra kroppsmassa (till
25-29.9 Övervikt Moderat
största delen muskler).
30+ Fetma Hög
Vatten har ett antal viktiga roller i kroppen: Alla kroppens celler, vare sig i huden,
körtlarna, musklerna, hjärnan eller någon annanstans, kan endast fungera korrekt om
VIKTIG! Om diagrammet/tabellen visar att du är utanför en ”normal” hälsosam vikträck-
de har tillräckligt med vatten. Vatten spelar dessutom en viktig roll i regleringen av
vidd, konsultera med din läkare innan du vidtar någon åtgärd.
kroppens temperatur, speciellt genom svettning.
BMI-klassificiering är endast för vuxna (ålder 20+ år).
Kombinationen av din vikt- och fettmätning kan verka vara “normal” men din kropps
* Endast utvalda modeller. v
hydratiseringsnivå kan vara otillräcklig för hälsosamt leverne.
30
IB-9147-1009-02.indd 30 09/11/2009 16:40

NORMAL HÄLSOSAM RÄCKVIDDSPROCENT FÖR
Min kompis har en kroppsfettsanalyserare av ett annat märke. När jag
ANDEL VATTEN I KROPPEN
använder den så får jag en annan avläsning. Varför då?
S
Olika kroppsfettsanalyserare tar mått runt olika delar av kroppen och använder
Tabell för kroppsvätska***
matematiska algoritmer för att beräkna kroppsfettsprocenthalten. Det bästa rådet är att
Mätområde för kroppsfett
Optimalt TBW-område
inte göra jämförelser från en enhet till en annan, utan använda samma enhet varje gång
(BF) i %
(total kroppsvätska) i %
för att övervaka eventuella ändringar.
Män
4 till 14% 70 till 63%
Hur tyder jag mina kroppsfetts- och vattenprocenthaltavläsningar?
15 till 21% 63 till 57%
Se kroppsfetts- och vattentabellerna som medföljer denna produkt. De guidar dig så att
du vet om dina kroppsfetts- och vattenavläsningar faller i en hälsosam kategori
22 till 24% 57 till 55%
(relativt till din ålder och ditt kön).
25 och däröver 55 till 37%
Vad bör jag göra om min kroppsfettsavläsning är mycket hög?
Kvinnor
4 till 20% 70 till 58%
En förnuftig kost, vätskeintag och träningsprogram kan reducera din
21 till 29% 58 till 52%
kroppsfettsprocenthalt. Professionell medicinsk vägledning bör alltid sökas innan du
påbörjar ett sådant program.
30 till 32% 52 till 49%
Varför är kroppsfettsprocenthalterna för män och kvinnor så olika?
33 och däröver 49 till 37%
Kvinnor har naturligt en högre procenthalt med fett än män, eftersom deras
*** Källa: Hämtat från Wang & Deurenberg: “Hydration of fat-free body mass”. American Journal Clin Nutr 1999, 69 833-841.
kroppssammansättning är olika och inriktad mot graviditet, amning etc.
För de som använder idrottarläge: Observera att idrottare kan ha lägre kroppsfett
och högre kroppsvatten än vad som visas ovan, beroende på deras typ av sport eller
Vad bör jag göra om min vattenprocenthalt är låg?
Setillattduregelbundetintartillräckligtmedvattenocharbetarmotattyttadin
aktivitet. Kroppsvattenmätningsresultat påverkas av proportionen av kroppsfett och
kroppsfettsprocenthalt in i ett hälsosamt stadie.
muskler. Om proportionen av kroppsfett är hög, eller om proportionen av muskler är låg
så tenderar kroppsvattenresultatet att vara lågt.
Varför bör jag undvika att använda kroppsanalysvågen då jag är gravid?
Det är viktigt att komma ihåg att mätningar såsom kroppsvikt, kroppsfett och
Under graviditet ändras en kvinnas kroppssammansättning avsevärt för
kroppsvatten är verktyg för dig att använda som del av en hälsosam livsstil. Eftersom
att kunna stödja en utvecklande barn. Under dessa förhållanden kan
kortsiktiga skiftningar är normalt, så föreslår vi att du skriver ner dina framsteg över
kroppsfettprocenthaltsavläsningar vara felaktiga och missvisande. Gravida kvinnor
tiden, snarare än att fokusera på en enda dags avläsning.
bör därför endast använda viktfunktionen.
Procenträckvidderna för total andel vatten i kroppen anges endast som
vägledning.
Professionell medicinsk vägledning bör alltid sökas innan du påbörjar bantnings-
och träningsprogram.
STOWAWEIGH STÄLL
VARFÖR BÖR JAG KÄNNA TILL MIN MUSKELMASSA?
Denna Salter-våg har en unik förvaringslösning. När vågen inte används kan den
Enligt American College of Sports Medicine (ASCM) kan mager muskelmassa minska
förvaras säkert och praktiskt i ett enkelt monterad förvaringsställ, och på så sätt öppnar
med nära 50 procent mellan åldrarna 20 och 90. Om du inte gör något för att ersätta
upp mer plats i badrummet.
denna förlust kommer du att förlora muskelmassa och öka fetthalten. Det är även
viktigt att känna till din muskelmassas % under viktreduktion. Vid vila bränner kroppen
omkring 110 ytterligare kalorier för varje kilo av muskler som ökar. En del fördelar med
att öka muskelmassa inkluderar:
• Omkastningavstyrkeminskningen,benmassaochmuskelmassasomkommermedåldern
• Underhållavexiblaleder
• Guideförviktreduktionvidkombinationmedhälsosamkost
Denna produkt är endast ämnad för hemmabruk. Gravida kvinnor bör endast använda
viktfunktionen.
FARA! Använd inte denna produkt om du har en pacemaker eller annan liknande
medicinsk enhet. Om du tvivlar, konsultera med din läkare.
FRÅGOR OCH SVAR
Hur exakt mäts min kropps fett- och vattenhalt?
Denna Salter-våg använder en mätningsmetod känd som Bioelektrisk Impedans Analys
(BIA) En liten ström skickas genom din kropp, via dina fötter och ben. Denna ström
ödarenkeltgenommagermuskulärvävnad,vilkenharetthögvätskeinnehåll,men
inte enkelt genom fett. Därför, genom att mäta din kropps impedans (dvs. dess motstånd
mot strömmen), kan kvantiteten av muskler avgöras. Från detta kan kvantiteten av fett
och vatten beräknas.
Vad är värdet av strömmen som går genom mig när mätningen görs?
Är det säkert?
Strömmen är mindre än 1mA, vilket är mycket lågt och helt säkert. Du kommer inte att
känna något. Observera dock att denna enhet inte bör användas av någon med en intern
medicinsk elektrisk enhet, såsom en pacemaker, som extra försiktighetsåtgärd mot
störningar av denna enhet.
Om jag mäter min kroppsfett och vatten vid olika tidpunkter på dagen kan
det variera ganska mycket. Vilket värde är korrekt?
Din kroppsfettsprocentavläsning varierar med kroppsvatteninnehållet, och det senare
ändras under dagens gång.
Det finns ingen rätt eller fel tidpunkt under dagen att göra en avläsning, men försök
att göra avläsningar på en regelbunden tid när du anser att din kropp är väl hydrerad.
Undvik att göra avläsningar efter att du har badat eller suttit i bastun, efter intensiv
träning, eller inom 1-2 timmar från att du har druckit rejält eller intagit en måltid.
31
IB-9147-1009-02.indd 31 09/11/2009 16:40

DISPLAYGUIDE
RÅD VID ANVÄNDNING OCH SKÖTSEL
S
• Vägdigalltidpåsammavågplaceradpåsammagolvyta.
Kroppsfett
Man / Kvinna Ålder
Jämför inte viktavläsningar från en våg till en annan eftersom olikheter kommer att
existera på grund av tillverkningsavvikelser.
BMI
• Placeringavdinvågpåetthårt,jämtgolvgerbästaprecisionigenochigen.
• Vägdigvidsammatidpunktvarjedag,innanmåltiderochutanskor.
Med en gång på morgonen är en bra tidpunkt.
Kroppsvatten
• Dinvågrundaruppellernertillnärmasteenheten.Omduvägerdigtvågångerochfår
två olika avläsningar ligger din vikt emellan de två.
Muskelmassa
Längd
• Rengördinvågmedenfuktigtrasa.Användintekemiskarengöringsmedel.
Normal / Idrottare
• Låtintedinvågbliindränktmedvatteneftersomdettakanskadaelektroniken.
• Hanteradinvågvarsamt–denärettprecisionsinstrument.Tappadeninteellerhoppa
FÖRBEREDELSE AV DIN VÅG
på den.
1. Öppna batterifacket på vågens undersida.
2. Sätt i batterier (1 x CR2032) observera polaritetstecknen (+ och -) på insidan av
batterifacket.
3. Stäng batterifacket.
FELSÖKNINGSGUIDE
4. Välj kg (kilo), st (stone) eller lb (pund) viktläge med kontakten på vågens undersida.
• Dumåstevarabarfotanärduanvänderkroppsfetts-ochtotalkroppsvattenavläsningar.
5. För användande på matta, ta av de glidfria dynorna från vågens fötter och fäst mat-
• Dinhudpåundersidanavdinafötterkanpåverkaavläsningen.
tfötterna som bifogas.
För att få bästa möjliga avläsning och konsekvent avläsning, torka fötterna med en
ENDAST VIKTAVLÄSNING
fuktig trasa och lämna dem något fuktiga innan du kliver upp på vågen.
1. Placera vågen på en stadig platt yta.
2. Nudda plattformens mitt (vibrationer aktiverar din våg) och avlägsna din fot.
3. Vänta tills 0.0 visas
WEEE-FÖRKLARING
4. Kliv på pch stå stilla medan vågen räknar ut din vikt.
Denna markering indikerar att denna produkt inte får avyttras med annat
5. När du hör ett pip, kliv av.
hushållsavfall inom EU. För att förhindra möjlig skada på miljö eller person från
6. Din vikt visas under ett par sekunder och sedan stängs vågen av.
okontrollerat avfallsavyttrande, återvinn på ansvarsfullt vis för att främja det
fortsatta återanvändandet av materialresurser. För att returnera din använda enhet,
PERSONLIG DATAINSKRIVNING
använd retur och insamlingssystemen eller kontakta återförsäljaren där produkten
1. När 0.0 visas tryck på SET-knappen för att aktivera inställningsproceduren.
köptes. De kan se till att produkten återvinns på ett miljösäkert vis.
2. Användarnummer kommer att blinka. Tryck ▲ eller ▼ knapparna enligt behov för
att ställa in användarnumret, tryck SET för att bekräfta.
3. Viktenheter kommer att blinka. Tryck ▲ eller ▼ knapparna enligt behov för att
ställa in enheterna (kg, lb, St), tryck SET för att bekräfta.
4. Symbolen för man eller kvinna kommer att blinka. Tryck ▲ eller ▼ knapparna tills
GARANTI
korrekt symbol blinkar, tryck sedan på SET-knappen.
5. Åldersdisplayen kommer att blinka. Tryck ▲ eller ▼ knapparna enligt behov för att
Denna produkt är endast ämnad för hushållsanvändning. Salter kommer att reparera
ställa in åldern, tryck SET för att bekräfta.
eller byta ut produkten, eller del av denna produkt, (med uteslutande av batterier)
6. Längddisplayen kommer att blinka. Tryck ▲ eller ▼ knapparna enligt behov för att
gratis om det inom 15 år efter inköpsdatumet, det kan visas att den har slutat fungera
ställa in längden, tryck SET för att bekräfta.
på grund av bristfälligt utförande eller material. Denna garanti täcker de fungerande
7. Normal/idrottare-symbolen kommer att blinka. Tryck ▲ eller ▼ knapparna för att
delar som påverkar vågens funktion. Den täcker inte kosmetisk förslitning som
ställa in idrottare eller normal-läge, tryck SET för att bekräfta.
orsakats av vanligt användande och slitage eller skada orsakad genom olycka eller
OBS! AEn idrottare är definierat som en person som är håller på med intensiv fysisk
felaktigt användande. Öppnande eller isärtagande av vågen eller dess komponenter
aktivitet ungefär 12 timmar i veckan och som har en vilopuls på ungefär 60 slag i
ogiltigförklarar garantin. Fodringar under garanti måste stödjas genom inköpsbevis
minuten eller mindre.
och returneras med betald frakt till Salter (eller lokal Salter-handlare om det rör sig
8. Användarnummer kommer att blinka. Din användardata är nu inställd. Vänta tills
om utanför Storbritannien). Försiktighet bör iakttagas i paketeringen av vågen så att
vågen stängs av.
den inte skadas under frakten. Detta åtagande är förutom konsumentens lagstadgade
9. Upprepa processen för en andra användare, eller för att ändra användarinformationen.
rättigheter och påverkar inte dessa rättigheter på något vis. Utanför Storbritannien,
kontakta din lokala Salter-handlare.
VIKT- & KROPPSFETTSAVLÄSNINGAR
1. Placera vågen på en stadig platt yta.
2. Nudda plattformens mitt (vibrationer aktiverar din våg) och avlägsna din fot.
3. Vänta tills 0.0 visas
4. Tryck på SET-knappen. Användarnummer kommer att blinka. Tryck ▲ eller ▼
knapparna enligt behov för att välja ditt användarnummer.
5. Din användardata kommer att bekräftas, vänta tills 0.0 visas.
6. Kliv upp på plattformen barfota och stå still.
7. När du hör ett pip, kliv av.
8. Din vikt kommer att visas följt av BMI, kroppsfett, kroppsvatten och muskelmassa.
9. Din vikt kommer att visas en andra gång och sedan kommer vågen att stängas av.
VARNINGSINDIKATORER
Err utom räckvidd, felaktig drift eller dålig kontakt med fötterna.
Instabil vikt. Stå stilla.
O-Ld Maximal viktkapacitet överskriden
Lo byt ut batteriet.
TEKNISKA SPECIFIKATIONER
100 cm - 220 cm Kvinna/man d = 0,1 BMI
3’2” - 7’02 ” 4 användarminnen d = 0,1 % kroppsfett
10 - 80 år Idrottar-läge d = 0,1 % kroppsvatten
d = 0,1 % muskelmassa
32
IB-9147-1009-02.indd 32 09/11/2009 16:40

HVORDAN FUNGERER DENNE SALTER VÆGT?
KROPSFEDT – HVAD BETYDER DET?
Denne Salter personvægt anvender bioimpedansteknologi, hvor en meget svag elektrisk
Menneskekroppen består bl.a. af en vis procentdel fedt. Det er livsnødvendigt for, at
DK
impuls sendes igennem kroppen for at bestemme henholdsvis fedtvæv og magert væv -
kroppen holder sig sund og velfungerende – fedtet virker som en stødpude for vores
den elektriske impuls kan ikke mærkes og der er ingen risiko forbundet med målingen.
led og beskytter de livsvigtige organer, hjælper med at regulere kropstemperaturen,
Kontakten med kroppen foregår via puder af rustfrit stål på vægtens platform (eller en
oplagrer vitaminer og giver næring til kroppen, når den mangler føde. For meget såvel
næstenusynligITO-coatingpåglassetsoverade*).Dennemetodeberegnerpåsamme
som for lidt kropsfedt kan imidlertid være skadeligt for helbredet. Det er vanskeligt at
tid din vægt, kropsmasseindeks (BMI), kropsfedt, total kropsvand og muskelmasse,
måle, hvor meget kropsfedt vi har i kroppen ved blot at se os selv i spejlet.
hvilket giver dig et mere præcist mål for din generelle sundhedstilstand og kondition.
Derfor er det vigtigt at kunne beregne og kontrollere kroppens fedtprocent. Kropsfedt-
Vægten kan gemme personlige data for op til 4 brugere. Vægten kan både bruges til
procenten giver dig et bedre mål for konditionen end vægten alene – sammensætningen
ovennævnte analyser og fungere som en normal vægt.
af dit vægttab kan betyde, at du mister muskelmasse snarere end fedt – du kan stadig
være ‘over-fed’, selv når en vægt angiver ‘normal vægt’.
HVAD ER BMI?
Kropsmasseindeks eller BMI er et nyttigt værktøj, som mange sundhedsfaglige personer
NORMALT SUNDT OMRÅDE FOR KROPSFEDTPROCENT
bruger til at bestemme det sunde vægtområde for en person. BMI er en måling, der
Kropsfedt %-områder for drenge*
bruger højde og vægt til at måle total kropsfedt.
Et sundt BMI for en voksen er mellem 18,.5 og 24,9. Hvis en person har et BMI, der er lig
Alder Lav Optimal Moderat Høj
eller højere end 25, anses denne for at være ‘overvægtig’. Hvis en person har et BMI, der
10 ≤12.8 12.9 - 22.8 22.9 - 27.8 ≥27.9
er lig eller højere end 30, anses denne for at være ‘fed’. Hvis en person har et BMI, der er
11 ≤12.6 12.7 - 23.0 23.1 - 28.2 ≥28.3
lig eller højere end 40, anses denne for at være ‘ekstremt fed’. Personer med et BMI på
12 ≤12.1 12.2 - 22.7 22.8 - 27.8 ≥27.9
under 18,5 anses for at være “undervægtig”.
Bemærk: BMI har visse begrænsninger. Det kan overvurdere BMI hos personer, der
13 ≤11.5 11.6 - 22.0 22.1 - 26.9 ≥27.0
er meget muskuløse, da muskelvæv vejer mere end fedt, og undervurdere BMI hos
14 ≤10.9 11.0 - 21.3 21.4 - 25.8 ≥25.9
personer, der har mistet muskelmasse, som fx ældre personer.
15 ≤10.4 10.5 - 20.7 20.8 - 24.9 ≥25.0
Konsultér en læge for at bestemme, hvad der er mest ideelt for dig.
16 ≤10.1 10.2 - 20.3 20.4 - 24.2 ≥24.3
17 ≤9.8 9.9 - 20.1 20.2 - 23.8 ≥23.9
HVAD BETYDER MIT KROPSMASSEINDEKS (BMI)?
18 ≤9.6 9.7 - 20.1 20.2 - 23.5 ≥23.6
Kropsmasseindeks (BMI) er et vægt-for-højde-indeks, der normalt bruges til at klas-
Kropsfedt %-områder for piger*
sificere undervægt, overvægt og fedme hos voksne. Denne vægt beregner din BMI-værdi
Alder Lav Optimal Moderat Høj
for dig. BMI-kategorierne, der er vist i skemaet og tabellen nedenfor, er anerkendt af
WHO (World Health Organisation) og kan bruges til at fortolke din BMI-værdi.
10 ≤16.0 16.1 - 28.2 28.3 - 32.1 ≥32.2
11 ≤16.1 16.2 - 28.8 28.9 - 32.7 ≥32.8
kg
12 ≤16.1 16.2 - 29.1 29.2 - 33.0 ≥33.1
13 ≤16.1 16.2 - 29.4 29.5 - 33.2 ≥33.3
14 ≤16.0 16.1 - 29.6 29.7 - 33.5 ≥33.6
15 ≤15.7 15.8 - 29.9 30.0 - 33.7 ≥33.8
16 ≤15.5 15.6 - 30.1 30.2 - 34.0 ≥34.1
17 ≤15.1 15.2 - 30.1 30.2 - 34.3 ≥34.4
18 ≤14.7 14.8 - 30.8 30.9 - 34.7 ≥34.8
Kropsfedt %-områder for mænd**
Alder Lav Optimal Moderat Høj
19 - 39 ≤8 8.1 - 19.9 20 - 24.9 ≥25
ft
m
40 - 59 ≤11 11.1 - 21.9 22 - 27.9 ≥28
60+ ≤13 13.1 - 24.9 25 - 29.9 ≥30
Kropsfedt %-områder for kvinder**
Alder Lav Optimal Moderat Høj
19 - 39 ≤21 21.1 - 32.9 33 - 38.9 ≥39
40 - 59 ≤23 23.1 - 33.9 34 - 39.9 ≥40
60+ ≤24 24.1 - 35.9 36 - 41.9 ≥42
*Kilde: Stammer fra: HD McCarthy, TJ Cole, T Fry, SA Jebb & AM Prentice: “Body fat reference curves for children”.
International Journal of Obesity (2006) 0, 598–602..
**Kilde: Stammer fra: Dympna Gallagher, Steven B Heymsfield, Moonseong Heo, Susan A Jebb, Peter R Murgatroyd &
Yoichi Sakamoto:: “Healthy percentage body fat ranges: an approach for developing guidelines based on body mass
st
index1–3”. Am J Clin Nutr 2000;72:694–701.
Din kropsmasseindeks-kategori kan identificeres ved hjælp af nedenstående tabel.
Kropsfedt %-områderne er kun vejledende. PDer bør altid indhentes professionel lægelig vejledning inden
man starter på diæt og motionsprogrammer.
Kropsmasseindeks-
Kropsmasseindeks-
Helbredsrisiko kun baseret på
kategori
værdi betyder
kropsmasseindeks
MÅLING AF KROPSVAND – HVORFOR MÅLE DET?
< 18.5 Under-vægtig Moderat
Kropsvand er den vigtigste enkeltbestanddel i din kropsvægt. Den står for mere end
18.6-24.9 Normal Lav
halvdelen af din samlede vægt og næsten to tredjedele af din magre kropsmasse
25-29.9 Over-vægtig Moderat
(overvejende muskler). Vand varetager en række vigtige funktioner i din krop.
30+ Fed Høj
Alle kroppens celler kan kun fungere ordentligt, hvis de har tilstrækkeligt med vand. Det
er uanset, om det drejer sig om celler i huden, kirtler, muskler eller et hvilket som helst
VIGTIGT: Hvis skemaet/tabellen viser, at du er udenfor ‘normalt’ sundt vægtområde, skal
andet sted. Vand spiller også en afgørende rolle i forbindelse med kroppens temperatur-
du konsultere din læge, før du gør noget som helst.
balance. Den reguleres især ved svedafsondring.
Kropsmasseindeks-klassifikationer er kun for voksne (over 20 år).
Kombinationen af din vægt og fedtmåling kan godt se ud til at være “normal”, men dit
* Kun udvalgte modeller.
indtag af væske er måske ikke stort nok til at leve et sundt liv.
33
IB-9147-1009-02.indd 33 09/11/2009 16:40

NORMALT SUNDT OMRÅDE FOR KROPSVANDPROCENT
Min ven har en kropsfedtanalysator af et andet fabrikat. Da jeg brugte den,
DK
Vandprocentoversigt***
opdagede jeg, at jeg fik en anden fedtprocentmåling. Hvordan kan det være?
De forskellige kropsfedtanalysatorer foretager målinger på forskellige steder på kroppen
Fedtprocentområde Optimal total
og bruger forskellige matematiske algoritmer til at beregne procenten af kropsfedt. Det
vandprocentområde
bedste råd er ikke at lave sammenligninger mellem det ene apparat og det andet, men at
bruge det samme apparat hver gang til at holde øje med evt. forandringer.
Mænd
4 til 14% 70 til 63%
15 til 21% 63 til 57%
Hvordan fortolker jeg mine målinger af kropsfedt- og –vandprocent?
Der henvises til kropsfedt- og –vandtabellerne, der medfølger med produktet.
22 til 24% 57 til 55%
De vil vise, om målingen af din kropsfedt- og vandværdi falder indenfor en sund
25 og derover 55 til 37%
kategori (i forhold til din alder og dit køn).
Kvinder
4 til 20% 70 til 58%
Hvad skal jeg gøre, hvis min måling af kropsfedt er meget ’høj’?
21 til 29% 58 til 52%
En sund kost, et fornuftigt væskeindtag og en motionsplan kan nedsætte din
kropsfedtprocent. Du bør altid få professionel vejledning, f.eks.fra din læge, inden du
30 til 32% 52 til 49%
begynder at følge en eventuel plan.
33 og derover 49 til 37%
Hvorfor er der så stor forskel på krosfedtområderne for mænd og kvinder?
***Kilde:AedtafWang&Deurenberg:
Kvinder har fra naturens side en højere fedtprocent end mænd, eftersom kvindekroppen
“Hydration of fat-free body mass”. American Journal Clin Nutr 1999, 69 833-841.
er opbygget med henblik på graviditet, amning osv.
For dem, der bruger atlet indstilling: bemærk at atleter kan have et lavere kropsfedt
område og et højere kropsvand område end vist herover, afhængig af deres type
Hvad skal jeg gøre, hvis min måling af vandprocent er ’lav’?
sport eller aktivitet. Resultaterne af kropsvandsmåling påvirkes af forholdet mellem
Husk at drikke vand med jævne mellemrum og arbejd mod at få fedtprocenten ind i det
kropsfedt- og muskelmasse. Hvis kropsfedtproportionen er stor, og muskelmassepro-
sunde område. Hvorfor bør jeg ikke bruge kropsanalysevægten, hvis jeg er gravid?
portionen er lille, vil der være en tendens til en lav kropsvandsproportion.
Under graviditet ændres kvindekroppens opbygning ganske betydeligt, så den er i stand
Det er vigtigt at huske, at målinger af f.eks. kropsvægt, kropsfedt og kropsvand
til at støtte barnets udvikling. Under disse omstændigheder kan målinger af kropsfedt
er værktøjer, du kan bruge som et led i din sunde livsstil. Det er helt normalt med
være unøjagtige og vildtledende. Gravide kvinder bør derfor kun bruge vægtfunktionen.
kortvarige udsving, og derfor foreslår vi, at du noterer dine resultater over tid frem for at
fokusere på målingen på en enkelt dag.
Kropsvand %-områderne er kun vejledende.
Der bør altid indhentes professionel lægelig assistance inden starten på diæt og
motionsprogrammer.
STOWAWEIGH STATIV
HVORFOR BØR JEG KENDE MIN MUSKELMASSE?
Denne Salter vægt er udstyret med en unik opbevaringsløsning. Når den ikke er i brug,
Ifølge American College of Sports Medicine (ASCM) kan den rene muskelmasse falde
kan den opbevares sikkert og bekvemt i et opbevaringsstativ, der er nemt at samle,
med næsten 50 % fra 20-års- til 90-års-alderen. Hvis du intet gør for at erstatte dette
hvormed der frigøres plads i badeværelset.
tab, vil du miste muskelmasse og få mere fedtvæv. Det er også vigtigt at kende din
muskelmasse, når du taber dig. I hvile forbrænder kroppen ca. 110 ekstra kalorier for
hverkilomuskelmasse,dutagerpå.Derererefordelevedatøgesinmuskelmasse,fx:
• Vendedetfaldistyrke,knogletæthedogmuskelmasse,derfølgermedalderen
• Opretholdesmidigeled
• Styrevægttabet,nårdetkombineresmedensunddiæt.
Dette produkt er kun beregnet til hjemmebrug. Gravide kvinder bør kun bruge
vægtfunktionen.
ADVARSEL: Du må ikke anvende dette produkt, hvis du har indopereret pacemaker
eller andre lignende apparater. Spørg din læge, hvis du er i tvivl.
SPØRGSMÅL OG SVAR
Præcis hvordan bliver mit kropsfedt og –vand målt?
Denne Salter personvægt anvender en målemetode, der kaldes bioimpedansanalyse
(BIA).En ganske lille strøm sendes gennem kroppen via fødderne og benene. Strømmen
løber let gennem det magre muskelvæv, som har et højt væskeindhold, men ikke let
gennem fedt. Derfor kan muskelmængden bestemmes ved at måle kroppens impedans
(dvs. dens modstand mod strømmen). På baggrund heraf kan man så anslå mængden
af fedt og vand.
Hvad er værdien af den strøm, som passerer gennem mig, når målingen
foretages? Er det sikkert?
Strømmen er mindre end 1 mA, hvilket er meget lidt og helt sikkert. Du vil ikke
kunne føle det. Bemærk dog, at denne anordning ikke bør bruges af nogen med en
intern elektronisk medicinsk anordning, f.eks. en pacemaker, som forholdsregel mod
afbrydelse af den pågældende anordning.
Hvis jeg måler mit kropsfedt og -vand på forskellige tidspunkter på dagen,
kan det svinge ganske betragteligt. Hvilken visning er den rigtige?
Målingen af din kropsfedtprocent svinger i takt med indholdet af vand i din krop, og
vandindholdet ændrer sig i løbet af dagen.
Derndesintetrigtigtellerforkerttidspunktpådagenatforetageaæsningen,mendet
er bedst at foretage målingerne regelmæssigt på et tidspunkt, hvor du mener, kroppen
ernormalthydreret.Undgåataæseefterathaveværetibadellersauna,efterintensiv
motion eller inden for 1-2 timer efter, at du har drukket meget eller indtaget et måltid.
34
IB-9147-1009-02.indd 34 09/11/2009 16:40

DISPLAYVEJLEDNING
GODE RÅD OM BRUG OG VEDLIGEHOLDELSE
• Duskalaltidvejedigselvpådensammevægt,dererplaceretpådensammegulvade.
DK
Kropsfedt
Mand/kvinde Alder
Dumåikkesammenlignevægtaæsningerfraenvægttilenanden,dadervilvære
forskelle på grund af fremstillingstolerancer.
Kropsmasseindeks
• Placérdinvægtpåenhård,jævngulvade,detvilsikredenstørstepræcision
(BMI)
og gentagelsesnøjagtighed.
• Vejdigselvpådetsammetidspunkthverdag,førmåltiderogudenfodtøj.
Kropsvand
Når du står op om morgenen er et godt tidspunkt.
• Vægtenrunderopellernedtildetnærmestevægttrin.Hvisduvejerdigselvtogange
Muskelmasse
Højde
ogfårtoforskelligeaæsninger,vildinvægtliggemellemdetoaæsninger.
Normal / Atlet
• Rengørvægtenmedenfugtigklud.Dermåikkebrugeskemiskerengøringsmidler.
• Vægtenmåikkeblivegennemvædetmedvand,dadetkanbeskadigeelektronikken.
KLARGØR VÆGTEN
• Vægtenskalbehandlesmedomsorg–deneretpræcisionsinstrument.Denmåikke
1. Åbn batterirummet på undersiden af vægten.
tabes og man må ikke hoppe på den.
2. Isæt batterier (1 x CR2032) i overensstemmelse med polaritetstegnene (+ og -) inden
i batterirummet.
3. Luk batterirummet.
PROBLEMLØSNINGSGUIDE
4. Vælg kg, st eller lb vægtmodus med omskifteren på undersiden af vægten.
• Duskalhavebarefødder,nårdumålerkropsfedtogsamletkropsvand.
5. Fjern de skridsikre puder fra vægtens fødder og sæt de vedlagte tæppeben på
• Dentilstand,hudenunderfødderneeri,kanpåvirkemålingen.
vægten, hvis den skal stå på et gulvtæppe.
Du får den mest nøjagtige og ensartede måling, hvis du tørrer fødderne med en fugtig
klud og lader dem være en anelse fugtige, før du træder op på vægten.
KUN VÆGTAFLÆSNING
1.Sætvægtenpåenfast,planade.
2. Bank let med foden midt på platformen (vibration aktiverer vægten) og tag foden væk.
3. Vent indtil 0.0 vises
WEEE FORKLARING
4. Stå op på og stå helt stille, mens vægten beregner din vægt.
Denne afmærkning angiver, at dette produkt ikke må bortskaes med andet
5. Når du hører et bip, skal du stå af vægten.
husholdningsaald inden for EU. For at forhindre mulig skade for miljøet eller
6. Din vægt vises i et par sekunder, og så slukker vægten.
menneskers sundhed på grund af ukontrolleret aaldsbortskaelse, skal
det genanvendes på ansvarlig vis for at fremme den bæredygtige genanvendelse af
PERSONLIGE DATA - INDLÆSNING
materielle ressourcer. Gør brug af returnerings- og indsamlingssystemer eller kontakt
1. Tryk på SET knappen, når 0.0 vises, for at aktivere indstillingsproceduren.
den detailhandler, hvor produktet blev købt, for at returnere det brugte produkt. Disse
2. Brugernummeret vil blinke. Tryk på ▲ eller ▼ knapperne som nødvendigt for at
kan videresende produktet til miljøsikker genanvendelse.
indstille brugernummeret og tryk derefter på SET for at bekræfte.
3. Vægtenheder vil blinke. Tryk på ▲ eller ▼ knapperne som nødvendigt for at
indstille enhederne (kg,lb, St) og tryk derefter på SET for at bekræfte.
4. Mand- eller kvindesymbolet blinker. Tryk på ¬▲ eller ▼ knappen, indtil det rigtige
GARANTI
symbol blinker, og tryk derefter på SET for at bekræfte.
5. Alder displayet blinker. Tryk på ▲ eller ▼ knapperne som nødvendigt for at indstille
Produktet er beregnet til hjemmebrug. Salter vil reparere og udskifte produktet,
din alder og tryk derefter på SET for at bekræfte.
eller enhver del af dette produkt, (ekslusiv batterier) gratis, hvis det indenfor 15
6. Højde displayet blinker. Tryk på ▲ eller ▼ knapperne som nødvendigt for at
år fra købsdatoen kan vises, at det er svigtet på grund defekte materialer eller
indstille din højde og tryk derefter på SET for at bekræfte.
udførelse. Denne garanti dækker arbejdende dele, som påvirker vægtens funktion.
7. Normal/atlet symbolet blinker. Tryk på ▲ eller ▼ knapperne for at indstille atlet
Den dækker ikke kosmetisk forringelse, som er forårsaget af normalt slid og brug,
eller normal indstilling og tryk derefter på SET for at bekræfte.
eller beskadigelse, som er forårsaget af vanvare eller misbrug. Hvis vægten eller dens
Bemærk: En atlet defineres som en person, der er involveret i intens fysisk aktivitet ca. 12
komponenter åbnes, vil garantien ugyldiggøres. Erstatningskrav under garanti skal
timer om ugen, og som har en hvilehjertefrekvens på ca. 60 slag i minuttet eller mindre.
understøttes af købsbevis og skwal returneres fragt betalt til Salter (eller den lokale
8. Brugernummeret vil blinke. Dine brugerdata er nu indstillet. Vent på at vægten slukker.
udnævnte Salter agent, hvis udenfor Storbritannien). Man skal være omhyggelig med
9. Gentag proceduren for en anden bruger eller for at ændre brugerdata.
at indpakke vægten, så den ikke bliver beskadiget under transport. Denne garanti
erudoverforbrugerenslovbestemterettighederogharingenindydelsepådisse
VÆGT OG & MÅLING AF KROPSFEDT
rettigheder på nogen som helst måde. Udenfor Storbritannien skal du kontakt din lokale
udnævnte Salter agent.
1.Sætvægtenpåenfast,planade.
2. Bank let med foden midt på platformen (vibration aktiverer vægten) og tag foden væk.
3. Vent indtil 0.0 vises.
4. Tryk på SET knappen. Brugernummeret vil blinke. Tryk på ▲ eller ▼ knappen som
nødvendigt for at vælge dit brugernummer.
5. Dine brugerdata vil blive bekræftet, vent indtil 0.0 vises.
6. Stå op på vægtplatformen med bare fødder og stå stille.
7. Når du hører et bip, skal du stå af vægten.
8. Din vægt vil blive vist efterfulgt af kropsmasseindeks (BMI), kropsfedt, kropsvand og
muskelmasse.
9. Din vægt vil blive vist endnu en gang, hvorefter vægten vil slukke.
ADVARSELSINDIKATORER
Err uden for område, forkert funktion eller dårlig fodkontakt. Ikke-konstant vægt.
Stå stille.
O-Ld Vægten overstiger maksimum kapacitet.
Lo udskift batteri.
TEKNISK SPECIFIKATION
100 cm - 220 cm Mand/kvinde d = 0,1 BMI
3’ 2” - 7’02 ” Hukommelse til 4 brugere d = 0,1 % kropsfedt
10 - 80 år Atlet indstilling d = 0,1 % kropsvand
d = 0,1 % muskelmasse
35
IB-9147-1009-02.indd 35 09/11/2009 16:40

HOGYAN MŰKÖDIK EZ A SALTER MÉRLEG?
TESTZSÍR – MIT JELENT?
HU
A Salter mérleg BIA (Bioimpedancia elemzés) technológiát használ, amely alacsony
A testtömeg bizonyos százalékát testzsír alkotja. Ez alapvetően fontos a test egészséges
erősségű elektromos impulzust vezet át a testen, és meghatározza a testben található
működéséhez, mert körbeveszi az ízületeket, védi a létfontosságú szerveket, segíti a
zsírszövet mennyiségélt. Az elektromos impulzus nem érezhető, és teljesen biztonságos.
testhőmérséklet szabályozását, tárolja a vitaminokat és elősegíti a test fenntartását
A testtel történő érintkezést a mérleg platformján található rozsdamentes acél
táplálékhiány esetén. Azonban a túl magas vagy a túl alacsony testzsír-százalék
csatlakozók biztosítják (vagy az üveg* felületén található csaknem teljesen láthatatlan
károsíthatja az egészséget. Nehéz olyan módon megmérni, mennyi testzsírral
ITO-bevonatok).Ez a módszer egyszerre számolja ki a súlyt, a BMI-t, a testzsírtömeget,
rendelkezünk, hogy egyszerűen megnézzük magunkat a tükörben.
a teljes testvíz mennyiséget és izomtömeget, amellyel sokkal pontosabb képet kaphat
Ezért fontos mérni és figyelemmel követni a test testzsír-százalékát. A testzsírszázalék
az általános egészségi állapotáról és fittségéről. Ez a mérleg legfeljebb 4 felhasználó
sokkal jobban méri a jó kondíciót, mint pusztán maga a testtömeg – a fogyás abból
személyes adatait rögzíti. A mérleget az analizátoros üzemmód mellett hagyományos
is állhat, hogy izomtömeget, nem pedig zsírt veszít, ekkor testének magas lehet a
mérlegként is lehet használni.
testzsírszázaléka, miközben a mérleg „normális testtömeget” jelez.
MI A BMI?
A testtömeg index vagy BMI egy olyan hasznos eszköz, amelyet számos egészségügyi
A TESTZSÍRTÖMEG SZOKÁSOS EGÉSZSÉGES TARTOMÁNYA
szakember használ egy adott személy egészséges testsúlyának megállapításához. A
Testzsír % Tartományok fiúk esetén*
BMI olyan mrtékegység, amely a magasságot és a testsúlyt használva számolja ki a
teljes testzsírt. Felnőtteknél az egészséges BMI 18,5 és 24,9 között van. Amennyiben egy
Életkor Alacsony Optimális Mérsékelt Magas
személy BMI értéke nagyobb vagy egyenlő, mint 25, “túlsúlyosnak” számít. Amennyiben
10 ≤12.8 12.9 - 22.8 22.9 - 27.8 ≥27.9
egy személy BMI értéke nagyobb vagy egyenlő, mint 30, “kövérnek” számít. Amennyiben
11 ≤12.6 12.7 - 23.0 23.1 - 28.2 ≥28.3
egy személy BMI értéke nagyobb vagy egyenlő, mint 40, “súlyosan kövérnek” számít. A
12 ≤12.1 12.2 - 22.7 22.8 - 27.8 ≥27.9
18,5-nél kisebb BMI-vel rendelkező személy „alultápláltnak” számít.
Megjegyzés: A BMI néhány korlátozással bír. A BMI túlértékelt lehet a kifejezetten izmos
13 ≤11.5 11.6 - 22.0 22.1 - 26.9 ≥27.0
személyek esetén, mert az izom nagyobb súlyú, mint a zsír. A BMI alulértékelt lehet
14 ≤10.9 11.0 - 21.3 21.4 - 25.8 ≥25.9
olyan személyek esetén, akik elveszítették az izomtömegüket, mint például az idősek.
15 ≤10.4 10.5 - 20.7 20.8 - 24.9 ≥25.0
Az Ön számára legideálisabb állapot meghatározásához forduljon orvoshoz
16 ≤10.1 10.2 - 20.3 20.4 - 24.2 ≥24.3
MIT JELENT AZ ÉN BMI-ÉRTÉKEM?
17 ≤9.8 9.9 - 20.1 20.2 - 23.8 ≥23.9
A testtömeg index (BMI) súly-magasság index, amelyet gyakran használnak a felnőttek
18 ≤9.6 9.7 - 20.1 20.2 - 23.5 ≥23.6
alultáplált, túlsúlyos vagy kövér kategóriába történő besorolásához.
Testzsír % Tartományok lányok esetén*
Ez a mérleg kiszámolja az Ön BMI értékét. Az alábbi ábrán és táblázatban található BMI
kategóriákat elismeri a WHO (Egészségügyi Világszervezet), és az Ön BMI értékének
Életkor Alacsony Optimális Mérsékelt Magas
értelmezésére használhatók.
10 ≤16.0 16.1 - 28.2 28.3 - 32.1 ≥32.2
11 ≤16.1 16.2 - 28.8 28.9 - 32.7 ≥32.8
kg
12 ≤16.1 16.2 - 29.1 29.2 - 33.0 ≥33.1
13 ≤16.1 16.2 - 29.4 29.5 - 33.2 ≥33.3
14 ≤16.0 16.1 - 29.6 29.7 - 33.5 ≥33.6
15 ≤15.7 15.8 - 29.9 30.0 - 33.7 ≥33.8
16 ≤15.5 15.6 - 30.1 30.2 - 34.0 ≥34.1
17 ≤15.1 15.2 - 30.1 30.2 - 34.3 ≥34.4
18 ≤14.7 14.8 - 30.8 30.9 - 34.7 ≥34.8
Testzsír % Tartományok férfiak esetén**
Életkor Alacsony Optimális Mérsékelt Magas
ft
m
19 - 39 ≤8 8.1 - 19.9 20 - 24.9 ≥25
40 - 59 ≤11 11.1 - 21.9 22 - 27.9 ≥28
60+ ≤13 13.1 - 24.9 25 - 29.9 ≥30
Testzsír % Tartományok nők esetén**
Életkor Alacsony Optimális Mérsékelt Magas
19 - 39 ≤21 21.1 - 32.9 33 - 38.9 ≥39
40 - 59 ≤23 23.1 - 33.9 34 - 39.9 ≥40
60+ ≤24 24.1 - 35.9 36 - 41.9 ≥42
Forrás: Származási hely: HD McCarthy, TJ Cole, T Fry, SA Jebb és AM Prentice: “Body fat reference curves for children”.
International Journal of Obesity (2006) 30, 598–602. **Forrás: Származási hely: Dympna Gallagher, Steven B
Heymsfield, Moonseong Heo, Susan A Jebb, Peter R Murgatroyd, és Yoichi Sakamoto: “Healthy percentage body fat
ranges: an approach for developing guidelines based on body mass index1–3”. Am J Clin Nutr 2000;72:694–701. A
st
publikált testzsír %-ok csak útmutatóul szolgálnak. Mindig forduljon szakértő orvosi tanácsért mielőtt diéta
és testedzési programokba kezdene.
A BMI kategóriája az alábbi táblázattal azonosítható.
Kifejezetten a BMI-re alapuló
BMI kategória: BMI érték értelme
egészségi kockázat
TESTVÍZ – MIÉRT MÉRJÜK?
< 18.5 Alultáplált Mérsékelt
A testvíz az egyik legfontosabb összetevője a testtömegnek. Több mint a teljes
18.6-24.9 Normál Alacsony
testtömeg felét teszi ki és majdnem kétharmadát teszi ki a zsírmentes testtömegnek
25-29.9 Túlsúlyos Mérsékelt
(túlnyomóan az izomnak).
30+ Kövér Magas
A víz számos fontos szerepet tölt be a testben: Testünk minden sejtje, függetlenül
attól, hogy a bőrben, a mirigyekben, az izomzatban, az agyban vagy bárhol máshogy
FONTOS: Ha az ábra/táblázat azt mutatja, hogy az Ön súlya kívül esik a „normál”
helyezkednek el, csak akkor tud helyesen működni, ha elegendő vízzel rendelkezik. A víz
súlytartományom, mielőtt bármit is tenne, forduljon orvoshoz.
továbbá fontos a test hőmérsékletegyensúlyának szabályozásában, főleg az izzadáson
A BMI osztályozások csak felnőttek számára (több mint 20 év) készültek.
keresztül. Előfordulhat, hogy a kombinált testtömeg és a testzsír mérés „normál” értéket
* Csak a kiválasztott modellek.
ad, de testének hidratációs szintje elégtelen az egészséges élethez.
36
IB-9147-1009-02.indd 36 09/11/2009 16:40

A TELJES TESTVÍZ MENNYISÉG SZOKÁSOS
Barátomnak egy másik gyártó által gyártott testtömeg analizátora van.
EGÉSZSÉGES TARTOMÁNYA
Amikor azt használtam, különböző eredményt adott a testzsír mérés. Miért van ez?
HU
Testvíz táblázat***
Különböző testzsír analizátorok a test különböző részeit mérik és különböző
matematikai algoritmusokat használnak a testzsír-százalék algoritmus kiszámolásához.
TZS % tartomán Optimális össz testvíz %
A legjobb tanács az, ha nem veti össze a különböző készülékeket, hanem mindig
tartomány
ugyanazt a készüléket használja a változások nyomon követéséhez.
Férfiak
4 to 14% 70 to 63%
Hogyan értelmezzem a testzsír- és a testvíz százalék értéket?
15 to 21% 63 to 57%
Kérjük, tekintse meg a termékhez mellékelt testzsír- és testvízszázalék táblázatot.
A táblázat alapján eldöntheti, hogy az Ön testzsír és testvíz százalék értéke
22 to 24% 57 to 55%
(az életkorhoz és a nemhez viszonyítva) az egészséges kategóriába tartozik-e.
25 and over 55 to 37%
Mit tegyek, ha a testzsír értékem nagyon „magas”?
Nők
4 to 20% 70 to 58%
A megfelelő diéta, folyadékbevitel és edzésprogram csökkenti a testzsír-százalékot.
21 to 29% 58 to 52%
Egy ilyen program elkezdése előtt ki kell kérni szakorvos tanácsát.
30 to 32% 52 to 49%
Miért különbözik ennyire a férfiak és a nők testzsír-százaléka?
33 and over 49 to 37%
A nők természetes módon nagyobb mennyiségű zsírral rendelkeznek, mert
testfelépítésük különböző.
*** Forrás: Levezetve Wang & Deurenberg: “Hydration of fat-free body mass”. American Journal Clin Nutr 1999, 69 8 -841.
A nagyobb mennyiségű zsír a terhesség, szoptatás stb. során is szükséges.
Az atléta üzemmódot használóknak: vegyék figyelembe, hogy előfordulhat, hogy az atléták a
fent bemutatottaknál alacsonyabb testzsír tartománnyal és magasabb testvíz-tartománnyal
Mit tegyek, ha a testvíz értékem „alacsony”?
rendelkeznek, a sport- vagy tevékenységtípus függvényében.
Gondoskodjon róla, hogy mindig elegendő vizet igyon és dolgozzon azon, hogy
A testvíz-mérés eredményeit befolyásolja a testzsír és az izom aránya. Ha a testzsír aránya
zsírszázaléka az egészséges tartományba essen.
magas vagy az izom aránya alacsony, akkor a testvíz eredményei inkább alacsonyabbak.
Miért kerüljem a testzsíranalizátoros mérleg használatát terhesség közben?
Fontos észben tartani, hogy a mérések mint pl. a testtömeg, testzsír vagy testvíz mérések
Terhesség közben a női test összetétele jelentősen megváltozik a fejlődő gyermek
eszközöket jelentenek Önnek, amelyeket az egészséges életmód részeként használhat fel.
táplálása érdekében. Ilyen körülmények mellett a testzsír-százalék értékek pontatlanok
Mivel a rövid ideig tartó ingadozások szokásosnak mondhatók, javasoljuk, hogy a súlya
és félrevezetők lehetnek. A terhes nők ebből kifolyólag csak a
alakulását időben kövesse, és ne csak egy nap mérésére alapozzon.
súlyfunkciót használhatják.
A publikált testvíz %-ok csak útmutatóul szolgálnak.
A diéta vagy testedzési program elkezdése előtt mindig ki kell kérni szakorvos
tanácsát.
MIÉRT KELL ISMERNEM AZ IZOMTÖMEGEMET?
STOWAWEIGH KONZOL
Az American College of Sports Medicine (ASCM) kutatásai szerint a a sovány izomtömeg
Ezt a Salter mérleget egyedi tárolási megoldás jellemzi. Ha nincs használatban, akkor
kb. 50 százalékkal csökkenthet
a mérleg biztonságosan és Kényelmesen tárolható egy könnyen összeszerelhető
20 és 90 éves kor között. Ha semmit nem tesz a veszteség helyettesítése érdekében,
tárolókonzolban, ezáltal helyet szabadítva fel a fürdőszobában.
akkor izmot veszít és testzsírt növel. Testsúly-csökkentés során is fontos tudni az
izomtömeg %-ot. Nyugalmi állapotban a test kb. 110 további kalóriát éget el minden
egyes megszerzett kilogramm izom után. Az izomnövelés néhány előnye:
• Megfordítjaazéletkorraljáróerő,csontsűrűségésizomtömegcsökkenést
• Fenntartjaarugalmasizületeket
• Egészségesdiétávalkombinálvavezetiatesttömegcsökkentést.
Ez a termék kizárólag otthoni használatra készült. A terhes nők csak a súlyfunkciót
használhatják.
FIGYELMEZTETÉS: Ne használja a terméket, ha szívritmus-szabályzóval vagy egyéb
beépített orvosi műszerrel rendelkezik. Kétség esetén forduljon orvosához
KÉRDÉSEK ÉS VÁLASZOK
Pontosan hogyan mérik a testzsírt és a testvizet?
Ez a Salter mérleg a BIA (Bioelectrical Impedance Analysis – Bioelektromos impedancia
elemzés) mérési módszert használja.
A mérleg a lábakon és a testen keresztül kis erősségű áramot vezet át. Ez az áram
könnyen áthalad a nagyobb nedvességtartalmú zsírmentes izomszöveten, azonban
nehezen halad át a zsírszöveten. Ezért a test impedanciájának
(vagyis az árammal szembeni ellenállásának) megmérésével meghatározható az izom
mennyisége.Ebből megbecsülhető a zsír és víz mennyisége.
Méréskor milyen áramerősség halad át rajtam? Biztonságos?
Az áramerősség kisebb, mint 1mA, amely nagyon kevés és tökéletesen biztonságos.
Nem lehet érzékelni. Kérjük jegyezze meg, hogy ezt az eszközt nem használhatják
beépített elektromos orvosi eszközzel, például szívritmus-szabályzóval rendelkező
személyek, mert fennáll a beépített orvosi eszköz károsodásának esélye.
Ha a testzsír és testvíz százalékot különböző napszakokban mérem, az
értékek jelentősen eltérnek. Melyik érték a helyes?
A testzsír százalék mérés a test víztartalmának függvényében változik, a test
víztartalma pedig a nap folyamán változik.Nincs jó vagy rossz idő a mérés elvégzésére,
de törekedjen arra, hogy a méréseket rendszeres időközönként végezze el, amikor úgy
véli, hogy teste megfelelően hidratált. Ne végezzen méréseket fürdés vagy szauna
után, intenzív edzést után vagy 1-2 órán belül a nagyobb mennyiségű élelmiszer- vagy
italfogyasztást követően.
37
IB-9147-1009-02.indd 37 09/11/2009 16:40

SEGÉDLET
MŰSZAKI LEÍRÁS
HU
100 cm - 220 cm Férfi/Nő d = 0,1 BMI
Testzsír
Férfi/Nő Életkor
3’2” - 7’02” 4 felhasználói memória d = 0,1 % testzsír
10 - 80 év Atléta mód d = 0,1 % testvíz
BMI
d = 0.1 % izomtömeg
Testvíz
HASZNÁLAT ÉS GONDOZÁS
Izomtömeg
Magasság
Szokásos / atléta
• Mindigugyanarraafelületrehelyezettugyanazonmérlegenméretkezzen.
Ne hasonlítsa össze a mért eredményt más mérlegeken mért eredménnyel, mert a
gyártói tűréshatárok miatt az értékek eltérők lehetnek.
A MÉRLEG ELŐKÉSZÍTÉSE
• Alegnagyobbpontosságésismételhetőségeléréseérdekébenamérlegethelyezze
1. Nyissa fel a mérleg alatt található elemtartó nyílásának fedelét.
kemény, vízszintes felületre.
2. Helyezze be az elemeket (1 x CR2032) az elemtartó rekesz belsejében feltüntetett
• Napontamindigugyanakkorméretkezzen,ruhaéslábbelinélkül.
polaritás jelek (+ és -) figyelembe vételével.
Például kiváló időpont a reggeli méretkezés.
3. Zárja vissza az elemtartó fedelét.
• Amérlegfelfelevagylefelekerekítalegközelebbiértékre.Hakétszerméretkezikés
4. A mérleg alatt található kapcsolóval válassza ki a mérési mértékegységet
két különböző értéket kap, az Ön súlya a két érték között van.
(kilogramm, stone (6,35 kg) vagy font).
• Amérlegetnedvesronggyaltisztítsa.Nehasználjontisztítószereket.
5. Szőnyegen történő használathoz távolítsa el a csúszásmentes alátéteket a mérleg
• Amérlegbenemkerülhetvíz,mertazkárosíthatjaazelektronikát.
lábairól és szerelje fel a mellékelt szőnyegen alkalmazható lábat.
• Mivelamérlegprecíziósműszer,kezeljeóvatosan.Neejtseel,ésneugorjonrá.
CSAK TÖMEGMÉRÉS
1. Helyezze a mérleget kemény és sík felszínre.
2. Érintse meg a lábával platform közepét (a rázkódás bekapcsolja a mérleget), majd
HIBAKERESÉSI ÚTMUTATÓ
vegye le a lábát.
3. Várjon, amíg meg nem jelenik a 0.0 jelzés.
• Mezítlábkellamérlegreállnia,hatestzsírésössztestvízméréseketkívánvégezni.
4. Álljon mozdulatlanul a mérlegen, amíg az ki nem számítja az Ön súlyát.
• Atalpánlévőbőrállapotabefolyásolhatjaamérést.
5. Ha hangjelzést hall, lépjen le a mérlegről.
A legpontosabb és legkövetkezetesebb mérés érdekében egy nedves ruhával törölje
6. A mérleg pár másodpercig kijelzi az Ön súlyát, majd kikapcsol..
meg a talpát, és még enyhén
nedves állapotban lépjen a mérlegre.
SZEMÉLYES ADATOK BEVITELE
1. A 0.0 megjelenésekor nyomja meg a SET gombot a beállítási folyamat aktiválásához.
2. A felhasználói szám villogni kezd.. Nyomja meg a ▲ vagy ▼ gombot szükség szerint
a felhasználói szám beállításához, majd nyomja meg a SET gombot a nyugtázáshoz.
3. A mértékegységek villogni kezdenek. Nyomja meg a ▲ vagy ▼ gombot szükség szerint a
WEEE-MAGYARÁZAT
mértékegység beállításához (kg, lb, St), majd nyomja meg a SET gombot a nyugtázáshoz.
Ez a jelölés azt jelzi, hogy ezt a terméket az Európai Unióban nem szabad a
4. A férfi vagy nő szimbólum villogni kezd. Nyomja meg a ▲ vagy ▼ gombot, amíg a
háztartási hulladék közé dobni. Az ellenőrizetlen hulladékkezelésből származó
megfelelő szimbólum villogni nem kezd, majd nyomja meg a SET gombot a nyugtázáshoz.
környezeti vagy egészségügyi kár elkerülése végett, és a tárgyi készletek fen-
5. Az életkor kijelző villogni kezd. Nyomja meg a ▲ vagy ▼ gombot szükség szerint az
ntartható kezelése jegyében felelősségteljesen hasznosítsa újra. A használt eszköz
életkor beállításához, majd nyomja meg a SET gombot a nyugtázáshoz.
visszaküldéséhez kérjük, használja a visszaküldő és gyűjtő rendszereket, vagy lépjen
6. Az magasság kijelző villogni kezd. Nyomja meg a ▲ vagy ▼ gombot szükség szerint
kapcsolatba azzal a forgalmazóval, ahonnan a készüléket vásárolta. A terméket ezek
a magasság beállításához, majd nyomja meg a SET gombot a nyugtázáshoz.
a szolgáltatók környezetvédelmileg biztos újrahasznosító helyre viszik.
7. A szokásos/atléta szimbólum villogni kezd. Nyomja meg a ▲ vagy ▼ gombot az atléta
vagy szokásos mód megadásához, majd nyomja meg a SET gombot a nyugtázáshoz.
Megjegyzés: Az atléta meghatározása: olyan személy, aki intenzív fizikai
tevékenységben vesz részt legalább napi 12 órát, és akinek pihenési szívritmusa
GARANCIA
körülbelül 60 percenként, vagy ennél kevesebb.
Ez a termék csak háztartási felhasználásra készült. A Salter díjmentesen megjavítja
8. A felhasználói szám villogni kezd. A felhasználói adatok ezzel beállításra kerültek.
vagy kicseréli a terméket vagy a termék bármely részét (az elemek kivételével)
Várja meg, amíg a mérleg kikapcsol.
a vásárlástól számított 15 éven belül, ha igazolható, hogy a hibát a gyártási vagy
9. Ismételje meg az eljárást egy második felhasználóhoz vagy a felhasználói adatok
anyaghiba okozza. A garancia lefedi a mérleg működését befolyásoló mozgó
módosításához.
gépalkatrészeket. A garancia nem fedi le a természetes kopás és elhasználódás által
SÚLY ÉS TESTZSÍR ÉRTÉKEK
okozott kozmetikai értékcsökkenést vagy a baleset vagy rongálódás miatti károsodást.
A mérleg vagy részeinek kinyitása vagy szétszerelése a garancia megszűnését
1. Helyezze a mérleget kemény és sík felszínre.
eredményezi. A garanciaigényt alá kell támasztani a vásárlást igazoló nyugtával, és a
2. Érintse meg a lábával platform közepét (a rázkódás bekapcsolja a mérleget), majd
terméket vissza kell küldeni a postai díjat megfizetve a Salter céghez (vagy az Egyesült
vegye le a lábát.
Királyságon kívüli területek esetén a Salter által kinevezett helyi képviselőhöz).
3. Várjon, amíg meg nem jelenik a 0.0 jelzés.
Gondosan kell eljárni a mérleg csomagolásakor, hogy szállítás közben ne sérülhessen
4. Nyomja meg a SET gombot. A felhasználói szám villogni kezd. Nyomja meg a
meg. Ez a kötelezettségvállalás kiegészíti a vásárló törvényi jogait és semmilyen
▲ vagy ▼ gombokat szükség szerint a felhasználói szám kiválasztásához.
módon nem befolyásolja azokat. Az Egyesült Királyságon belül az értékesítés és
5. A rendszer nyugtázza felhasználói adatait, várjon, amíg a 0.0 meg nem jelenik.
szervizelés érdekében forduljon a HoMedics Group Ltd-hez, PO Box 460, Tonbridge,
6. Mezítláb lépjen rá a mérlegplatformra, és ne mozogjon.
Kent,TN9 9EW, UK. Segélyvonal telefonszáma: (01732) 360783.
7. Ha hangjelzést hall, lépjen le a mérlegről.
Egyesült Királyságon kívül, forduljon a Salter által kinevezett helyi képviselőhöz.
8. Megjelenik a testsúly, amelyet a BMI, a testzsír, a testvíz és az izomtömeg követ.
9. A súly másodszorra is megjelenik, majd a mérleg kikapcsol.
FIGYELMEZTETŐ JELZÉSEK
Err tartományon kívül, helytelen működés vagy a láb nem érintezik megfelelően.
Instabil súly. Álljon mozdulatlanul.
O-Ld A súly meghaladja a maximális teljesítményt.
Lo cserélje ki az elemet.
38
IB-9147-1009-02.indd 38 09/11/2009 16:40

NA JAKÉM PRINCIPU TATO VÁHA SALTER PRACUJE?
MNOŽSTVÍ TUKU VTĚLE – CO TO ZNAMENÁ?
Váha Salter používá technologii BIA (Bio Impedance Analysis – analýza bioelektrické
Lidské tělo se mimo jiné skládá zurčitého množství tuku. Ten je nezbytný pro zdravé,
CZ
impendance), která do těla vysílá nepatrný elektrický impuls, jež rozlišuje tuk od
funkční tělo – odpružuje klouby a chrání životně důležité orgány, pomáhá regulovat
beztukové hmoty. Tento elektrický impuls neucítíte a je zcela bezpečný. Kontaktu
tělesnou teplotu, skladuje vitamíny a je zásobou energie vpřípadě nedostatku jídla.
stělem je dosaženo polštářky znerezové oceli na ploše váhy (nebo téměř neviditelného
Přílišné množství tuku vtěle, ale i nedostatečné množství tuku vtěle může škodit zdraví.
povlaku ITO na povrchu skla*). Tato metoda současně vypočítává hmotnost, množství
Pouhým pohledem do zrcadla je velmi těžké odhadnout, kolik tuku vtěle máme.
tuku v těle, celkové množství vody vtěle, bazální metabgolický výdej a množství svalové
Proto je důležité měřit a monitorovat podíl tuku vtěle.
tkáně a poskytuje tak přesnější obraz o celkovém zdravotním stavu a tělesné kondici.
Podíl tuku vtěle je přesnějším ukazatelem tělesné kondice než samotná hmotnost –
Díky této metodě si současně vypočítáte tělesnou hmotnost, index tělesné hmotnosti
rozložení úbytku na váze by mohlo znamenat, že ztrácíte svalovou tkáň a ne tuk – i když
(BMI), množství tuku v těle, celkové množství vody a svalové hmoty, a získáte tak
váha ukazuje “normální hmotnost“, můžete mít vysoký podíl tuku vtěle.
přesnější údaje o svém celkovém zdraví a kondici. Váha může uložit osobní data až 4
uživatelů. Váhu lze použít nejen jako analyzátor, ale také jako běžnou váhu.
ZDRAVÉ ROZMEZÍ MNOŽSTVÍ TUKU V TĚLE
CO JE INDEX TĚLESNÉ HMOTNOSTI (BMI)?
Procentuální rozmezí množství tuku v těle u chlapců*
Index tělesné hmotnosti neboli BMI je užitečná metoda, jejíž pomocí mnoho zdravotních
odborníků určuje zdravé rozmezí hmotnosti. BMI je měřítko, které používá poměr výšky
Věk Nízký Optimální Průměrný Vysoký
a váhy k určení celkového množství tuku v těle. Zdravá hodnota BMI u dospělého se
10 ≤12.8 12.9 - 22.8 22.9 - 27.8 ≥27.9
pohybuje mezi 18,5 a 24,9. Osoba s BMI přes 25 je považována osobu s “nadváhou”. BMI
11 ≤12.6 12.7 - 23.0 23.1 - 28.2 ≥28.3
přes 30 je považováno za “obezitu”. BMI přes 40 je považováno za “těžkou obezitu”. Osoba
12 ≤12.1 12.2 - 22.7 22.8 - 27.8 ≥27.9
s BMI pod 18,5 se považuje za osobu “s podváhou”. Upozornění: BMI má jistá omezení.
U lidí se silně vyvinutým svalstvem může být BMI nadhodnoceno, protože svalstvo váží
13 ≤11.5 11.6 - 22.0 22.1 - 26.9 ≥27.0
více než tuk, a naopak u lidí s úbytkem svalstva, například u starých lidí, může být
14 ≤10.9 11.0 - 21.3 21.4 - 25.8 ≥25.9
hodnota BMI podhodnocena. Poraďte se s lékařem, jaká hodnota je pro vás ideální.
15 ≤10.4 10.5 - 20.7 20.8 - 24.9 ≥25.0
16 ≤10.1 10.2 - 20.3 20.4 - 24.2 ≥24.3
17 ≤9.8 9.9 - 20.1 20.2 - 23.8 ≥23.9
CO ZNAMENÁ MOJE HODNOTA BMI?
18 ≤9.6 9.7 - 20.1 20.2 - 23.5 ≥23.6
Index tělesné hmotnosti (BMI) je měřítko poměru hmotnosti k výšce, jež se obecně
používá k určování podváhy, nadváhy a obezity u dospělých. Tato váha vám vypočítá
Procentuální rozmezí množství tuku v těle u dívek*
vaši hodnotu BMI. Kategorie BMI v tomto grafu a tabulce jsou uznávané Světovou
Věk Nízký Optimální Průměrný Vysoký
zdravotnickou organizací a můžete je používat k výkladu své hodnoty BMI.
10 ≤16.0 16.1 - 28.2 28.3 - 32.1 ≥32.2
11 ≤16.1 16.2 - 28.8 28.9 - 32.7 ≥32.8
12 ≤16.1 16.2 - 29.1 29.2 - 33.0 ≥33.1
kg
13 ≤16.1 16.2 - 29.4 29.5 - 33.2 ≥33.3
14 ≤16.0 16.1 - 29.6 29.7 - 33.5 ≥33.6
15 ≤15.7 15.8 - 29.9 30.0 - 33.7 ≥33.8
16 ≤15.5 15.6 - 30.1 30.2 - 34.0 ≥34.1
17 ≤15.1 15.2 - 30.1 30.2 - 34.3 ≥34.4
18 ≤14.7 14.8 - 30.8 30.9 - 34.7 ≥34.8
Procentuální rozmezí množství tuku v těle u mužů**
Věk Nízký Optimální Průměrný Vysoký
19 - 39 ≤8 8.1 - 19.9 20 - 24.9 ≥25
ft
m
40 - 59 ≤11 11.1 - 21.9 22 - 27.9 ≥28
60+ ≤13 13.1 - 24.9 25 - 29.9 ≥30
Procentuální rozmezí množství tuku v těle u žen**
Věk Nízký Optimální Průměrný Vysoký
19 - 39 ≤21 21.1 - 32.9 33 - 38.9 ≥39
40 - 59 ≤23 23.1 - 33.9 34 - 39.9 ≥40
60+ ≤24 24.1 - 35.9 36 - 41.9 ≥42
*Zdroj: Čerpáno z: HD McCarthy, TJ Cole, T Fry, SA Jebb a AM Prentice: “Body fat reference curves for children”
(„Referenční křivka množství tuku v těle u dětí“). International Journal of Obesity (Mezinárodní žurnál o obezitě)
(2006) 30, 598–602. **Zdroj: Čerpáno z: Dympna Gallagher, Steven B Heymsfield, Moonseong Heo, Susan A Jebb, Peter
R Murgatroyd, a Yoichi Sakamoto “Healthy percentage body fat ranges: („Zdravé procentuální podíly tuku v těle:) an
approach for developing guidelines based on body mass index1–3” (postup při rozvoji směrnic založených na indexu
st
tělesné hmotnosti 1–3”). Am J Clin Nutr 2000; 72:694–701.
Publikované podíly tuku v těle jsou určeny pouze jako ilustrace. Před započetím jakéhokoli dietního či
cvičebního programu je nutné se vždy poradit se zdravotním odborníkem.
Svou kategorii BMI můžete určit pomocí této tabulky.
Kategorie BMI Význam hodnoty BMI Zdravotní riziko založené pouze na BMI
< 18.5 Podváha Průměrné
MNOŽSTVÍ VODY VTĚLE – PROČ JE MĚŘIT?
18.6-24.9 Normální váha Nízké
Voda vtěle je nejdůležitější komponentem tělesné hmotnosti. Představuje více než
25-29.9 Nadváha Průměrné
polovinu celkové hmotnosti a téměř dvě třetiny beztukové hmoty (což jsou především
30+ Obezita Vysoký
svaly).
Voda plní vtěle řadu důležitých úkolů: Všechny buňky vtěle, ať se jedná o kůži, žlázy,
UPOZORNĚNÍ: Pokud tato graf/tabulka ukazuje, že se vaše hmotnost pohybuje mimo
svaly, mozek nebo cokoli jiného, jsou schopné fungovat pouze pokud mají dostatek vody.
‘normální’ zdravé hmotnostní rozmezí, obraťte se na svého lékaře, než podniknete
Voda také hraje nezbytnou roli při regulaci tělesné teploty, především formou perspirace.
jakékoli kroky. Klasifikace BMI platí pouze pro dospělé (osoby starší než 20 let).
Kombinace hladiny vody a tuku vtěle se může zdát „normální”, výše hydratace těla však
* Pouze u určitých modelů.
nemusí být postačující pro zdravý životní styl.
39
IB-9147-1009-02.indd 39 09/11/2009 16:40

ZDRAVÉ ROZMEZÍ MNOŽSTVÍ VODY V TĚLE
Můj přítel má analyzátor množství tuku vtěle od jiného výrobce. Když jsem ji
CZ
Graf vody vtěle***
použil, naměřil mi jiné množství tuku vtěle.
Proč tomu tak je?
Rozmezí procentuálního
Optimální rozmezí
Různé analyzátory množství tuku vtěle měří tuky vodlišných částech těla a používají
podílu tuku v těle
procentuálního podílu
odlišné matematické algoritmy kvýpočtu procentuálního množství tuku vtěle. Pro
vody v těle
sledování změn je nejlepší nesrovnávat výsledky z různých přístrojů, ale pokaždé
4 to 14% 70 to 63%
používat stejný přístroj.
Muži
15 to 21% 63 to 57%
Jak si mám vyložit své naměřené hodnoty množství tuku a vody v těle?
Porovnejte je s tabulkami množství tuku a vody vtěle, která je součástí balení. Pomohou
22 to 24% 57 to 55%
vám určit, zda naměřené hodnoty množství tuku a vody vtěle spadají do zdravé
25 and over 55 to 37%
kategorie (úměrně kvašemu věku a pohlaví).
Ženy
4 to 20% 70 to 58%
Co mám dělat, pokud je naměřené množství tuku vtěle příliš „vysoké“?
21 to 29% 58 to 52 %
Zdravá dieta, příjem tekutin a cvičební režim mohou snížit množství tuku vtěle. Před
započetím takového programu je nutné se vždy poradit se zdravotním odborníkem.
30 to 32 % 52 to 49%
33 and over 49 to 37%
Proč je takový rozdíl mezi procentuálním podílem tuku u mužů a žen?
Ženy mají přirozeně větší obsah tuku než muži, protože mají jinou tělesnou skladbou,
*** Zdroj: Čerpáno z Wang & Deurenberg: “Hydratace tělesné hmoty prosté tuků“. Americký Journal Clin Nutr 1999, 69 8 -841.
připravenou na těhotenství, kojení atd.
Pro osoby užívající atletický režim: berte na vědomí, že atleti mohou mít vzávislosti na
druhu sportu či činnosti nižší množství tuku vtěle a vyšší množství vody vtěle než je
Co mám dělat, pokud je naměřené množství vody vtěle příliš „nízké“?
Ujistěte se, že máte dostatečný příjem vody a usilujte se o dosažení zdravého podílu
zobrazeno shora. Výsledky měření množství vody vtěle jsou ovlivněny i proporcí tuku a
tuku vtěle.
svalů vtěle. Pokud je proporce tuku vtěle vysoká nebo proporce svalů nízká, výsledky
měření množství vody vtěle bývají zpravidla nízké.
Proč se mám vyvarovat použití váhy pro analýzu složení těla během
Je důležité pamatovat, že míry jako jsou tělesná hmotnost, množství tuku vtěle
těhotenství?
a množství vody vtěle jsou pomůcky používané jako součást zdravého životního
Během těhotenství se tělesné složení značně mění za účelem podpory vyvíjejícího
stylu.Jelikožkrátkodobéuktuacejsouběžné,doporučujemezaznamenávatpokrok
se dítěte. Za těchto okolností by mohly být hodnoty množství tuku vtěle nepřesné a
vprůběhu času a nesoustředit se na výsledky zjediného dne.
zavádějící. Těhotné ženy by tudíž měly používat pouze funkci kměření hmotnosti.
Publikované podíly vody v těle jsou určeny pouze jako ilustrace.
Před započetím jakéhokoli dietního či cvičebního programu je nutné se vždy poradit
se zdravotním odborníkem.
PROČ JE DOBRÉ ZNÁT SVÉ MNOŽSTVÍ SVALOVÉ TKÁNĚ?
STOJAN STOWAWEIGHT
Podle Amerického vědeckého institutu American College of Sports Medicine (ASCM)
Součástí této váhy Salter je ojedinělé řešení uskladnění. Když není váha používána,
se může množství svalové tkáně ve věku od 20 do 90 snížit o téměř 50%. Pokud tuto
můžete ji jednoduše a bezpečně uložit ve snadno sestavitelném stojanu a uvolnit tak
ztrátu nijakým způsobem nenahrazujete, ztrácíte svaly a nabýváte tuky. Procentuální
místo na podlaze koupelny.
podíl svalové tkáně je důležité znát i při snižování hmotnosti. Tělo vklidu spaluje zhruba
další 110 kalorií za každý kilogram nabytého svalu. Některé zvýhod zvýšení množství
svalové tkáně jsou:
• Odvrátitsvěkemspojenýúbyteknasíle,vhustotěkostíamnožstvísvalovétkáně
• Udržovánípohyblivostikloubů
• Snižováníhmotnostivespojenísezdravoustravou.
Tento výrobek je určen pouze pro domácí použití.Těhotné ženy by měly používat pouze
funkci kměření hmotnosti.
UPOZORNĚNÍ:Pokud máte kardiostimulátor nebo jinou lékařskou pomůcku, výrobek
nepoužívejte. Pokud jste na pochybách, poraďte se slékařem.
OTÁZKY A ODPOVĚDI
Jak přesně se množství tuku a vody vtěle měří?
Tato váha Salter používá kměření metodu známou jako Analýza bioelektrické
impedance (BIA).Do těla je skrz plosky nohou a nohy vysílán nepatrný elektrický proud.
Tento proud snadno prochází beztukovou svalovou tkání, která má vysoký obsah tekutin,
tukem však neprochází tak snadno. Měřením impedance těla (tj. odpor proudu) je tudíž
možné určit množství svalové tkáně. Ztoho lze poté odhadnout množství tuku a vody.
Jaká je hodnota proudu, který mi během měření prostupuje tělem?
Je to bezpečné?
Proud má méně než 1mA, což je zanedbatelná a zcela bezpečná hodnota. Ani tento
proud neucítíte. Berte prosím na vědomí, že přístroj by neměly používat osoby svnitřní
elektronickou lékařskou pomůckou, jako je kardiostimulátor, jako patření proti narušení
chodu tohoto přístroje.
Když si měřím množství tuku a vody v různou denní dobu, hodnoty bývají
velmi rozlišné.
Která hodnota je správná?
Procentuální podíl tuku vtěle se mění souvisle s množstvím vody vtěle a toto množství
se mění vprůběhu dne.Neexistuje správný nebo špatný čas kměření, usilujte se však
o měření v pravidelnou dobu, kdy se domníváte, že je vaše tělo normálně hydratovaný.
Pokud možno neměřte hodnoty po koupeli nebo sauně, po intenzivním cvičení nebo 1-2
hodiny po jídle nebo požití většího množství tekutin.
40
IB-9147-1009-02.indd 40 09/11/2009 16:40

