Stiebel Eltron DHE 18 SLI 25 A – страница 4
Инструкция к Водонагревателю Stiebel Eltron DHE 18 SLI 25 A

STIEBEL ELTRON
3« InsCelling comfortfuncCies VÚOI* d6 gébt'uìkéi' Éti dfe installatéur
3»1 Functietoets met instelmogeiijkheden
O verzicht - com fortfuncties
{voor inst€llir\g com forcfuncU es, zi€ 3.3)
30
DCrp
DOC"'"
JO J
JU.U
JU.J
nr
pn
Q.Ll
LI J
ECO
^5
_____
fnn»
ECO encK^o- en Kindci'beveítigíng
Progr^unma-
Autom atische
waterb^pdrin^functS e
in& balK ng
ìnstellìng w ater-
Fabfidistnsttlting
I
weltness*douchen
hoeveelheid
3.2 Tweede display voor* opvpaagmogelijlclieden
v>
A
z
<c
_i
QC
UJ
A
3.3 Comfortfurtcties instellen
De com fortfuncties kunnen na
elkaar w oixfen ingesteld resp.
START 2 sccondcn indnjkttcn
geselecteeixl. D e insteltingen
worden diiect overgenom en.
Functie selecteian en waarde instellen
(7)
Bladeren in hec m enu
START
f
EIN DE
2 seconden indrukken ^ op elke willekeui'ige plaats
2 seconden indrukken
è
^ autom atisch na 30 seconden vanaf de laatste instelling.
Funktietoets Program eren van de funktietoets
Energie* en
watcrbcspa*
Er kuii'-é'* iree'dere furoeste^ljjl^' t’jd 'A orcen 2e<*aK-ee'd E en geselecteerde 'uncte lc.n li -
ringsfunceic
deis c's bedien r(g m et detosts (^ vsorce^ i* .''uitgeschaield
KindctbevciM *
g‘"g
Functie selecceren.
Program m a*
.V.n'Aijz^¿:
instelling
wetlness-
ico. ft»K . D e funcies w erden ¿e^ictiveerd doer het indr ul«&'- Atn de toets &'■ p<*.s 'Aec
douchen
s^( • nxf I ivx :(:••: I wh • • n: í¡ ir ¡ í I < >: íI r')) >r ii< :. .vv I i "g( :< li i jk I.
Autom atische
installing w a-
Dc iunr.ic ••AX)r-:'l Vn:'h <■. ¡it:"'i*Wrtl v:V:- dc v()lgc":l:i niln|)hH"(l(;l n^^gcHi I'vniinl donrhcl
cerhoeveelheid
hdr^<ken van de toetsi^^ en 'Aorct n.i ¡rioop và'- he: r.fcr.ppe'- a^toir:T:Ì!3ch u't¿ésc^<*.lteld.
61


STIEBEL ELTRON
v>
A
z
<c
_l
ÛC
UJ
A

4. Montageaanwijzing voor de installaeeur
4.1 Beknopte beschrijving
4.2 Belangrijke
4.3 Voorschriften en
|}:i mi( •;:| Ic c i^k.rvhc
aanwijzingen
bepalingen
(k:oi !-lfX )rr:T D HE ... SLi ric. vx)ll(;:rji c :'k-
* D e irc'tfige (w <*.te M i'sLdng en elekir -
/X Lucht in de koudwacorloiding kan het
sehe instillate;.de eerste ingebru knane
csildc iilcklnv:!):^ cciX'sIrxM vc' xiKi c:i\(h k' \
vcrwarmingssystccin met blanke draad
e.1 he: once •'•o^d van dittoeste m ögen
!i:il vCfv.-H-rvc" v^n '/xv.xi v.-nlcr r on’bav
ernsdg beschädigen of hccvc1ligheidss;/s(ccfYi
^:sD :e'd doo'een e-ke'd nstalateur
i\\ vx)orh(:l ¡ Hvcfwwi’icfi vH" v.-h-
acovenen 4zic **I.S Bclangrijkc aanwrj*
vo gens deze vccrsc' iften w orce'. u’tge-
U:r iU lU d .^!? “C > vcixvx; ••.•VrtfTn:l.
zitig").
veerd-
I>:i rTr-ixi riH nl rt:-iiiV‘X)(:r.iiri:):x<il....''
De D HE ... SLi is uitgeruse m cc cen
* H et cc № 01 Diiöonei'en en ce bedrljrs-
•«iilfrtH cl io "C M ir.cn::):xH l..'iii; k^in
Iuchtdcteccor,dic bcschadigingvan hcc
\-e ligheic is diee' iret de voor he:toes:el
IccsU : h-iv.(h.?:lic!l ":-ikx:".V .inH -:x:" .i'ii-:-
verwarm ingssysteem voof cen groot
oesieirde orig'eie cccessoires en leserx-e-
."i!? ”C vx;;s;bij 'l o:) "cl ili:>|)ny
dcci voorkom t:
cnce dele' geg<:r<:ndeerc.
(ki fn:ikiin;^''E rror". M cl ":H \;):triHk: lochch-::-
W arm ocr djdcns hetgebruik van de
* D e l<:ndsoedf e<e vcoi'schrnen e' beoa-
•c" "f cn.rvik: lh(:-"i"i-:isl«H ." :'/"1Q .S peciale
DH E... S U lucht door licc coesed w ordt
inge' m et betrekdngtot v/a:eraciisufti'g
toebelioren' ) k<^ri (k": nH X 'riH l:^ ^H rivoiV ' :^ri-
gevoerd, wci'dt de w erkir^g gedurende een
en elektrische nsta latie, oijv. D 'N 198S .
:ycfA\....' o\) (iC “C ." 7v::fx::.v h<;crx:nsk
m inuue ui^cschakdd.w aaiidoor licc vci'w ar-
Dl\ <109. D N 'VBí^ etc., diene' i' ac't
M c. hcl Iccvlc k.."i'.!in oi rriiiinlcrx: '«i)-
m ir^ssv'scccm w erde beveiligd.
te w x?rde' genom en.
:)un :ir. v.onicfi hcxibnd.
* D e beoal'n^n \*a' he: pla<.t5eliike e'srg'e
I k:l (k>r: '(k'l■:¡rfX)(on':)lJ.iXrt:•^íls¿ (:.•i uijrxk:
Kranen:
osdrij'en het desbst'sffe'ds '*aterleidin§-
(: (:•; :r^ U x x )r' i • ):.ij}ix:r t/ ‘'' l ¡.'I /’•: *r^ c:rv-:«>r
• St's:'el Eftron dr.,kbein:€'di§s opbcjw ^<ra
osdrij'in Ächt 'S nen.
CH . c!i ¡••^:islck::i ccvvx:nslc 'ivniüy'H luu- nTjd
f.en voor slekirisc's coorTtrone's (sie “10.
* H et toestel d sn: rrst de c'dera.de van de
Vvxxxll •):irx:i'<l.
Speciale toebeboren').
¿ch:8r.vanc v ak :sgen ds m uur te vvoresr.
I k'l v:x.vHi"ni‘'^'-syslc(:m rn:i h'«rikc ilr«:-«: is
• lnst?.l *:ie in cc nb'natie net ¿nde'e r de
genonteei'd (let O y m aat [S >' 10 m r)
k, v::-:x kH'<h()ij(k;.‘:d cn knlkn^Tv -.vhUx
hancel ve'k'i.gbi.re cnj^bestencige K ranen
* H et <8npl*a^e v'a' he: tosstel in acht r.s
\/i:'."7.2 ln:etbef«iken").
is rrogeli.k
.nen (W ep v*n toestel <ap openen).
• Drtkbem ie'digsthei'nc'rtai.tiri'en Ize
* z 8 oo<''7.1echnl5che gegevens''
Ibestei m et selecteerbaar aansluTtver-
aa'w izing' 1.3 Aanbevo len i ns cel ling« n
m ogen
cherm
06 taatk raan’
De specifieke elektrische vyeersuind
ßij d(: (!•:« vs' • •:« v nv: i v.-w ttic :r Oll 1 d.91P 4 Sl i
• De nfcTTÄ de n csze geb-'u ks- en nom a
< 1 N van liet w ater m ug niet kleiner zijn
V.in ":4 :-iH "\l..i'vi';rm ojjcn in sl^nilcri -.viv-
geai.nw ijz'g oevat beb.ngrij'<- a?.nvvijz'gen
dar op liet type- plaatje is aangegeven! Bij
ci';r. c:>!(:k:cl-"Cfx:. ßi kv:yvc < -nl ncs d
net oe:r8kk'ngtotv8irgheic, osdie'ing
een water-koppelnet dient rekening geliou-
njiC !>l<;':l iii: /1 kW Ali: "cl ms.il w n
inst?.ll*t's en o'dertiouc v*n hettoeste en
den te worden m et de lua^te elektrisclie
«• • s k :r vs irrt« )^( :n i r i< x: %v( y'. k :r i :Y; :s' hI s is I.
die'tzorgvjidig n ach: 1e'worden ^no
weerstand van het w ater (zic "7.2 Inzet-
.nosilc" volcsvsk:H|::)Sin v.onlcri uils^cv-sicrx::
nen.
bci\2ikcn").lnform ccr voor de specifieke
• K.r:(kcr<.lc(kx:-. H..I des CicfHlcck'don k
elektrische w eerscand of de elektrische
()b^:r•«II:■ s k;t. li• wx;'va..\<k:l:<;• s». c:rils>:)rx:-
geleidbaarbeid van het w ater bij uw drink-
(hc;id csxcsr-A'Hhllcn I cMunc ijrr\.sirkx:n.
waterlcvcrancier.
•Nnnmlrcrr unc Ahvir hcrijn;^ le
* Toe“8l ¿llee' rrc'tere' i' geslot«',
ih <.( "c Onlcri.
vorstv'iis ruim te. C ederonteerc :o85:sl
♦ H e: geselecteerc'e \-ernoge'- op ^et
•vorstv'i; bew a'S f., vanw e^ rsst'^ater in 'st
Typeplv.t e ¿¡ink'uisen ne: een onubA is-
tosstel.
Ixre per..
* Vsili^h« ds'C 'n IP 25 Ispatwatercicht) is
¿llee.a ge'*ac.rborgd bi. een desaind'g gs
.nom ss'de 'iabshule
W ateraansiuiting:
- H atenaal van de koudw aterleiding:
st?.len, koperen of k'j'Tistofbvistr-sterrsn.
- M ateriaal van de w arniw aterleiding:
kope'&' o' <unststo'ouissvstenenV
* Bi. C8 elektnsche doc'strorrsr
DH E ... S Li <uiinen bed'ijfsienofeiritu'e'
vi.n naxna?.l 6C *’C w orce' b-e'siki. I'
geval vvi' een sterrg <uniien in de nsbi-
l*:ie gsdurends körte tid be'*sti'?sn van
.J
m =ixina<:l SD *C ; 1.D M ^<: optrecs'. H et
to8gepi.5:8 !<^nststo'ouis5Y 5tee.n nost
¿eschic zi 11 'vocr deze •»var.iden.
* Ee' x-eilig'sids'.-siTiiel is nist ncodzal<e'ijk.
* <r<:nen voor coen toestel &n zjii 'ie: to& -
£fes:=u'!
Elektrische inscallatie;
» E'ekrr sehe aa'sLring uitsluitenc a?.n vi.st
¿angeoraclns k?.bels!
* H et toestel m eet bi V ccor n dee v*n
zekeringe'.overee' scheidingsa'sta'd van
len n'ivtlc 1 rn*i :-d:x>lic vrn hcl i.iil kc"-
"C " v.r: :k:n gn<.-:'"ni(k:rL
f>4

STIEBEL ELTRON
5. Standaardmontage voar- dfi installateui*
Elekbro: IB (Inbouw) — bétiedéti; IB
• C ;| )l iH • -jjlx:gi il I x :v< :sl :n • r i<:. 7 w I ux )i i-
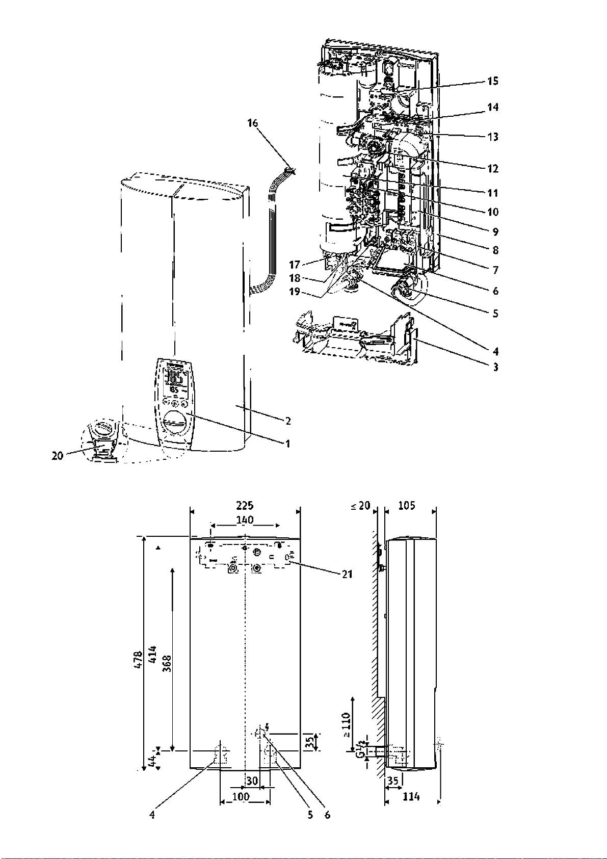
Legenda afbceldingen [Ä]- (S
alcijd in de KW-draadsiinsluiting worden
vi ii •. (:r 11 )l. :r I (w: i • < l< :n • • i<: r ni ü ijjr :l<
1 ßed snin§5?ecssh8
ingeboiiwd.Bij vervwgirxg dient liet nieuvi№
2 Tosrelki-p
vnftl. (liiViv' ()viirx:0;nknrn^.ic hc. -nHlcri-
coestel te worderx ^controleerd op de üsn-
3 O nderete gsdeelte *chter.va'd
rui vr.n ci.i ij^ns^svvrtfxl U; -.v:i- ;l:.in
wezigheid varx de zeef.
4 W w :iw ;i\(:1н:-Ал(Ih «i .‘.I..i.iric
giiko/'iv).
De 3-wegafskiiter fSj m»g niet vrarden
5 K().l-.VrtI(:r-(\r-w\A-.nsliliIiric 1л1|ji.:ir)
gebruikt voor liet smoren vün de doorstro-
Ó Kh ^ }: . I jl( : (( ;l( ;kl r ise h: Ч < ): ^v< ): ^r* i *i( I I x :•
5.5 Aansluitkabel op maat
ming!
^éden)
maken _
7 N eisU '-slu'tdem
Aa'sl'j txabel op rr*3t naxe' Ü J.
5.8 ElektHsche aansluiting
8 ßov8r.ite §8deelte *chter.va'd
Aa'Vi’jzi'g: K ao iaj; dient *ls m c'tajP ehubirid
IX: (;'(;V.lr rAlK: HrtnvluilkH-)i.il op -Ho i.o"lHi;li»lr':)
9 El8ktii?nici.
del voo'cs a?.ns;^f:kai8l.
aa'äluften (zie elel<ir’<ch sch.ikelsc'e'n.i fri).
10 V8'lt?h8dssch3k8k3r 3) rr.et r8s8t to8ts
11 '/( :rv/Hf•! г I njis^ysl ( :< :r n
5.6 Montage van het toestel E
! ^i iln; i^rijk(: m iwi '/ir ic: i- •;
12 I ÌV’-,Ift)()!гi;ч)^:vx;<; • • i.ii<:r>f'ч;Г• • fl Я 11
• De eie c-ische <*.!inslu’f <abe coor de <:i-
13 Instóelooiit'èV TJi k*.be rréhA'-ia'de-
/S. De veiligheidsnorm IP 25 ispacw atcr-
oeltule (6) steken eii de adtieivvanc c*/&'
sig-<-.ige‘.er
¿-Lj dicho is allocn gew aarborgd blj cen
de taibou: A:n de op'<*.ng'i&u^l d.\*«n.
14 L£D -di/igno<el«*.r:i=*
deskundig gernenceerde l^beltuleiÄj (6) erx
» Toenel nonteren, de bevest'jPingsk'evel
15 ßev8stj?i'§sk'8v‘8l
een aldichting van de l^belm ancel.
(14) bevest j?en.
16 S':8<kerv*' ka:«'insteK v3ai’ce s'j?n3a§8ve'
Het coestel m oet op randaarde vvorden
17 '/d'is^hc (lsl(:fn|)(:rH .ijijffx:^rx:n/:T f5 I R i
aar\geslocen.
ia иИ <:1г:огп<(:п<:г:-(\ C i
5«7 Wateraansiuiting ^
19 '/нл л:11|ллк vo:v fv:H lijl(:-(:->tc:v (S ervii <:)
Be ang'r<& a<*.iv.vi zinge''
5.9 Montage voitooien g
20 Tyjèpl«*..itje
Koudwüteraarwoerle'iding grondig
1. 3 w egafeluiter ooenen [G ] (5).
21 O phi'-gbeugél
c-iJspoelen!
2. O nce'ste geceehevan асЬгегл'зпс rrc'te es
22 Zeefin koudsvater-c'aadaa'.sLring
De meegeleverde zeef en liet vormstuk (22
23 Voim stuk
■i
en 23, in Z3k}8 a:in KW-üanslu'iüng) moeterx
LED'diagnoseLam p
rood brandi bü storine
___________
|г:т:-, geel brandt tijrians varw arniingsw erking
5.10 Eet*$te inbedriifname
KfQ gn krnpperl: Toglici d<in hei n«l
_
(rvng uili-ui.crxl (kxX'CC " irisUU i^urvvxxxlcri
uilgcvOcr-;-!)
5«1 Algemene
montageaanwijzingen
О loescel vullen en onduchten.
Hct eoeste) is doot* de fabrtek voorbe*
Lee op: droogkookgevaai4
reid op een standaard insealiaeie
Alle aangesloten l<ranen zo lang
(zie afb, iCi - II):
herhaaldelijk open en dicht draaien.
• I ( У.Л ,!.ilf n: >• • I « m i -.'/яг к : (ai.
totdat zieh geen lucht m eer in het
• Ir il j : r. : vv-( : ! я« < Ih « n\'.. i. ir ic \<х x )r \'.-й I < :гнн • -
leidingnec en het coestel bevindt.Voor
si.’tingle] (4 8Г. S).
aanwtjziri^n over lucht, zìe
• Elehrisc'- é i эо1Р л<* ¡inslu’t r.g in c '•déi sté
"4.2 Belangrìjke aanw ijzingen’\
j?8deelte va' he: toestel E (6).
о Veiligheidsschakeiaai* activerenl
» A3nduitveTr:o§8'i 21 kW bij C 8
De DHE ... SU electronic comfort
DI-E1S;21.^-1S J
wordt geleverd met gedeaeüveerde
veiligheidsscliakelaar (AE 3j {reset-
5«2 Plaats van montage
toets indrukken).
De D HE ...SU den: v-erticu overeentoivdg
0 Stekker van de kabe) van de
а'Ъ ее'й';? E (а л'зпстю гг.з?« of b i'bouvv-
ln5teiwaarde«signaa)gever op de
nontagej; n een vorjCvr ie '•irrte te w oixre'
elektronica aanbrengen!
jP err.c'tee'd
0 loeseelkap monieren en met
5«3 Montage van het toestel
schroef vastzeteen!
voorbereiden
0 Netspanning insehakelent
• Toèfièl ebenen О :
О Werking van de elektrische doon*
a Klei n«*..ir vo-en trel<e'.
Stromer controleren!
b Klei n«*..ir c'deren toe cienen.
0 Beschemtende folre van het bedi-
c Bevei^i'jPi'gsschi'oe:* 'osdraa'en.
eningsgedeeite verwijderen.
d To85:8lki.p ver.vijderen.
• O nderite gédeelte va' ac'teлv<*.nd ver-
O vcrdracht van hct tocstclJ
w ice'8' E :
De gebruike' ce V /e'klng va' he: toestel urt-
a Beide v*it28:'3ken incpjiken.
leggen en ret he: gebruikvenro.w d m a'<e'.
b O nderite gedeelte va' ac'te'**nd
'за' M oren t'e<ken 8' veiv/idere'.
Bclangrijke aanwijzingen:
• R ( :\4 :sl ’¿ì • j}sV .i • i ч-i il fi Sì v< :r v.-i < l< :r x :r i.
• De geor. iker ca nogel’jke gevai en attent
riater. (gevaar ■-.•'oorvei brancing).
54 OphangbeMgelbevestìgenlE
• Deze geb-'u kü- en TioiTrageaan-.vrzing
• R ( X )fì^rt I n- • \4 X )r •: li i ( )| ir. n;^l j ì ì. .jjr ;l r' •< : I
af^4-en on zorgv-ldig te Ь ел-.1геп.
x:hijl:) v4n •ri(:(:j^(:'i44:rxl(: r'4)rilrtciiri^l
on
^i'iV iiirXin.

6. Montage-alternatieven voor de Installateur Eleltcro: IB - boven,
OB (Opbouw) - onder / boven^ uitschakelrelais; water: OB; gedraaide coescell^p; offset wandtegelmontage
lini^ilic "I :k: (:tü^y"\ гнн- vorxrn :v
• .Ai h.iMWHiKigdcidcfx (c) l-nl «HndHc op ik:
M ontage*aÍternatieven w orden
пан- Hc!ilc-nn k: •и'Л)гх1с ' j>csrh(r-/:ín.
«rh.iMWHnc v«n ;:cl locsic vr'hijivx •.
toond in de afbeelditigen ITI - fs
• I ():.í4 U:l <“>1: v<i.4 •>(.•': • (:(У-л; • •.
Bevestigiiig van het toestel
6.1 Ophangbeugel bij ver-
IVj aHnduili "g -;i|> 1ci< l)dc WH.nr'ni(:'n;^cn
6.5 Montage kabeltule
in-:«:. c:i HC'ilC'Vvrtnd w de (vilcr/i :k: van
vanging van toestel U]
Eeii toestel kau ook met iiaderliaiid inge-
!i:il :il •nc. een nx ra «•••rtx:l w:'i d:in
♦ äij veiv<*.n2r2 V!in St’eoel Ekron toestellen
bouwde kabeltule worden genioiiteerd (E.
Ixivxitvl’gd (d).
kr.n cfe /VJTvvai^ ojli:in£oeuge w o-den
• Krthdlu’ii i:::íI hclr; |) van :inn srhrxxrvxm-
• l(x:.-i :ilkrt|) ib) «an :k: •xr-/iv/iicn v-iSlha-'.iv.
geor^iltt (oehavife iij ’D l-F').
:lr-iH:.v cmil dr..kkcn (a).
c.'i aa^; (in onder/’jdc oo dn a: h :x.vari(!
O esberi elende doo-voe' r de ¡ic^ter-
• A|):)w-!>fl -;i|: (k: o:)lwgh(:ug:d •xívc'-li^iín.
dran ¡er I.
w:inc ccorneltfin.
• h j <:<:•• скхМч: hc tanvluilkahcl v«i; 10 rx:s|).
IXi vla^^gx:n -/an :k; ka,>gx;k; ik:r> •not: i.ir.
♦ äij veivrjigrg von "D IH F" m ost de
In п-тг n'ivl ••nl s^hI in :k: <al?nl ulcwxM i
n e:i «('¡iliyw-tridgiilcieiMS Si'i.pcn iv. (ic/e
be^2‘l (^) vvc'den £fedr<’.id (cpsch'ift
den vergj'oct (na-ke'Inger. E).
•-A'g.'c'ilclen.
"D H- r leesrclrrin^ en noe: c8"3p:)out
• Kaoelcj t o.«r de elek'i isiC '-fe !ianülul:<!±el
ib) op de oph3n§:)eu?e na?.r ^dnsboven
schuK-en (b.ircnt^ehubniedel)-.op de adi-
6.8 OB-soldeeraansluiting
wo^en vsrplaatm :
ter./anc noine.'en (c) en v.istkJ <k& r. (d).
Dankzij spccialc coebeboren ^ (a),voor
♦ äij v'erv'i.nipi'g van es- losrel van ssn
bcscclnr. zic “11. Spcciale cocbchorcn".
andere febrika^t k?.n gsijr^ikvvcrcsr.
6.6 Voorrangsschakeling |o
is cen draadaanslulüng m cc bouw zijdigc
§e natf-k: v*n ^assence p n??¿te^ ic; voor
Bij de co'nbm atie m et ¡ince-e elett'isdie
12 m m koperen leidingen m ogelijk.
de bevesti^'j? van de nee§e'8vsrde oo
•roesrelle'-.bij-aelekti’sC '-e boi’ers. dient '•et
• Delen V iin de speci.ile toeoelKireii dienen
ha'jPbe^gel.
uilidi:ike reíais "re w c'den gebrui'<L
te •-.vorce'- ge'noin&fd.
6.2 Elektrische aansluiting
а Utscha<elre<*.ii (ze "lO -Spccialc tocbc-
• Inlegdeel oo de kops-en eid n^n vastsol-
-OB
horeft";.
deren.
• Orderste gedeelte V:in de achter./a''d cn-
♦ Vcor de <*..inslu!t'obe c is it : r een doo--
b Stj' eid' 'j? ' aar lelais va^ het tw -eede
der<.3nsluitle'di'gen van de '/r*an sch-j ven
voeropen r.g in de <*.clT :ei'.v!inc en de toe-
toeste' Íríijv. elek'ti’ische bc ler).
e.i i.i he: bo^venmie geesehs 'vz-n zchter-
ste •-/.O lden ges'-eden /esp. ui^eoio-
c Stuпог.'гг.с:, oper.t b j ' et inscha /eien
ken
(\ioor nogel jke ukbree <punten.
va- de DHE .. SL'.
vx'a'd vast'di/ken.
De belasdri^uicschakeling vindc plaats bij
» Aansluitle 'di'gen op het toestel var
zielK l).
werking van de D HE ...SLif
schroe^ven.
♦ äij slek'ti’ischs a^-ns uiti'j? 03 •ve'anden
Het uicschakelrelais m ag uitslultend op de
Lee op:
de ve\ i§'eids'C TT r \P2-' (soat^vafrerd ein).
m iddelste ^e van de netaanslukklem van
De zanw -fzinge' va^ "6.7 O B»krane':“ in
Let op: hs: kenola^-t e van 'st •;ceí;:8l dient
het coescel w orden aangeslo^n.
acht 'enen:
rret een :>ab8n te v\'on:8'. aí-n^epí-st
» Toe~8lk?.p. zch:8r.v3nc en :>evestiging
P 25 doerw epen 8' 'ol^e P 2'1 aankr.,'i;8'.
6.7 OB-kranen
noete' •voor deze inir?.rz:ie vx-oitfe'
Stiebei Eitron drukbestendige opbouw-
vooi'be'eic.
6.3 Elektrische aansluiting
kr^n WKMD ofWBMO
» Toe“elbe've“ig r.g
- boven \n
(v-:ior ):rJdn-../:^ "10. Speciale toebelioreii'):
» Kapm ontage
♦ 'f. C8 kabeltu 8 c'8rr; een j?at vcor de
• WHlcf'slop C: ;•*; n:cl H c': h.inc:íi-, (а) ;гюп-
ele<idsche aansluitkí.be' •re worden aa'j?e-
6.9 Montag« van ondorst«
I с •! г' ('• ?: >:'>'? Ml I () к •••л • • i • 'с ч< м: :уаг ig vA n
b'ac't
5l d)d I llr:in !lr..kh(;!>-l:.r :lic:' о|)Ьс..-уЛгн-
gedeelte achterwand
♦ De corr.i.c:sti'ip die^t va^ onder na?.r
Bij de O B-draadaansluicingcn kan bcc on
nnn). IVj dr..khcsl!v:liv:i k anc ' vh - h^^iIcíx:
boven te w orden •ve'p aatst hiertoe ce
der scc gedeelte van de achterw and ook na
id?-ikan.!Mi •f •%|)(:('1ан1 lo(;h(:h-:irx:n'•Monta•
•vasizet'aak (a) orrlaa^? cm :ken e' de
de m ontage van de kraan w orden aange-
geset waterstop 2 stuks” i/ic '•Ю. Specials
contactstdp •.er\'.i deren.
toebel loren'') • • c к: /г. kt;l jk.
bracht [S ]:
Let op:
• K:hh 'i::(r^lcfx: '.
• (^••ilcrJi: giiilccllc van Hii'ilcrwyil i3)
í>(hH''.nl(! Hí:iv vncfxrn in :1c (Ihh•••/(:•;x hc-
• Oi(!c-4lc gcdcc Ic vH ' Hc!i iMv/and tvilcr
•.'.\:(:"/'A^(:i\ /oaK j/clix:' :! n -¡ihcclcing (a).
(!-;idd(! !''.H:cjjo(>l;'l<l(”rifrnn (b)l
:k: aHTisluil nid ni^cn va- de кг-:нп "..ivcn
• Verb n:l •'jiv.s ..kken (b uil Cidr'n sni) v«n
Cj()rilH:1s ri:) ««n de ■•?(ax: v'¡(!c (c) v«sI-
!.ir. 'n h<;l •.)(г-/:.УкП g:.iik:dU: VHn ^к.hlcf^
•!:.h.:.Mx:n in •(;1 |■Г!k:(;••JJ^:ikx:ll(; •>k;kx:n.
k'il«i.v!
wand v<i.-: kl kken.
• Mkkicngniicclli: onciM cn k:'!li••JJí:n (kx:-
• Aa''s'..i.lt:iding:Ti o:) ••<: kx^icl у н ч sctirxxrvcn.
.•:«ar h(r-/nn s: hur-/:in cri o:i ••(:! (vilcrt.ii
6.4 Gedraaide toestelkap
ciiilccllc -/an :k: «ihlcrwa ’d mon'ii'lin.
De toestelkap kan bij iribouwmontage wor
Toestelkap m occ voor deze inscallacic w or
• 0^^ikx‘>k: g:.iik:x:lk: van :k: -.(.hküwa ’d 0|:
den gedraaid E:
den voorbercid [E ]:
eil «K'lViMw-irxl n;-:ink;rx:n.
♦ iédie^m ^^edee te {a) uit toeste kao -.'e--
• Doc'vce.'cpeningé'' (а) г ю &г.е1кг.р voc.'-
I IcI -:vdiir>i^:i }/cd:i!il.!i v«n de A: h.:M wan(:
wfderen, hiertoe V;isne:li:ike^ rdr^kken.
zichtig и tnreken, zc nodig'vij §e:>r.,iken.
•fioiil n'iH nun C idf« srhrxx: "•vvorxlc. i vax.-
♦ Tbeste kao (b) c-a<-.ien (niet '•et .ipo.iraat).
• L'ppen •j t de desbeiie"8-d8 kapgeleiden;
c!.i/x;l ic).
äedie^in^gedeete vvee' ar.nbre^g^'''
(b) b'e/e.i. {1пс1ел de z.z.n5lu'tle;din^n v¿n
• Aa • ’sli jil k :i( iif ig( :n -/ar i cc V. nan o:) h: H . c( ¡x!: i
ale w isaethake'- •A-.stk.'ik'<e'-.
de k'aan en'gszins Jr. elkaa^sraan, ainne^ de
riiil cc C'S>a:laan'-luilin^:v •-/a\ s: •••oir-ATi.
Let oprEen oed'é'-ingsgeeééké irst be-
kapgsleider? (b) vx-orden a?.'ge:)rac't zon-
sdi.ici2C fe v<-.nzét':<-.ken nagét w c'den
derce lippe' te ve'-zv'derer. Hieib i w erce^
6.10 Montage bij offset
rgebouw d.
de ac'terw andgeede'5 (0 'ietg8br., lc)
wandtegelmonta^
« i> likkcr vJT' krthcl inslckv«afx;':>VvnnHls^f:vx:r
• Kz.pge eide's in de doo^voenoeninge' v*n
IVj CC. I oikc. wa' il.iijicl rion aj/c ( [B,' riaK.
op de elektronicz. aanb'e'jP en (zie O "S.10
de toeste /ар ’.¿stk'ikke'
2ü 'nm ) •-.vordt m ei oehub •a:ii ee k'-evel (B
Eerste inbediijfnaine").
• De deibeti'effence acht8'-/v*ndg8leic8r5
1S) serst de •vvancztst.ind atgesteld en 'vvoret
♦ Tbeste kao ib; az.n de once'zijce i'^aken
(c) op de 'sid'ngen m onteren (bovenste er.
vervolge'-s hettoeste -vzftiieze:.
en aa' de bovenzijde op de achtem a^d
o'dersre gedeelte op le'di'g cip^ve' en in
d'aaien.Voor ee' j.,iste :>evest'j?in§ van de
е1кг.зг sch.,iveny
roncom aan?e:)racln8 achte^-zvandafdic'
(>{>

STIEBEL ELTRON
7« Technische gegevens en ínzetbereíken voor de Installateur
7.1 Technische gegevens
(betrefcde gegevens op het kenpU-itjev;4n hettoe’.tel)
Type
DH E 18 SU 25A D HE 18/21/24 S Li DH E 27 SLi
electronic electronic electronic
com fort com fort com fort
ü'cem tTm er
227492 227493 227494
Nom loa vg'Tocen
<w
18 16 21 24 27
Nom ; lie $trcon
A
26 29 31 35 39
Zekft'irx
A
25 32 32 35 40
Ve'm cser. cir^c'iiÄlbaar
nee
ja
ja
ja
nee
UrKver ies ^
M Pa (cí*.:)} !.•'гnin D .C 4 ;d .4) / bl
0.0^ ip.4)./
J.2 C .06fD 6:i.'6.0
0.08 (0.èi./-V C .1 fl C ) / /../
Ncm i'ii^ nojd
l'* • 1
1
UíTv’oe'irtí»
geslotsi
NunT'i/iü o‘/x;fxJrjk
1 M "rj roba)
ÜU vvich.
lyjirj viv, D N IN 60335
1
RftSchftiTT if vlg. FN fiC 5?9
P 7.5 (’>j 07R-ft'©rtm ■¡.•■ilii.t lg)
Ke.:'rs'l:
7íe“y'epl-!-!t]e
</>
Vs'.'itft'rrrd'jrirg (bl. terrim ad)
n 'Ó
A
z
F pktrisc ig aanjl'.iiting
3PF - 'COV
<c
_i
Rlanke H raad-v? v/í'ning^systftpm
zie 'co’csiukToepaisingsnoge ijrheden
oc
lU
loepcS2:^<r&g'?bieij
kalkari* ei «.Ikkoudeid \va:er
A
Kcjdv/o.ter tc»vo6rt‘?rnper3:jur
max '’C
loeptisi'ijrsgebiedfcf: «psctete
900 lim
e sktriscie'-vfefe'rj.'ic ./ seleidbo^is'd
píe ..-.b:; 2
N ihif• lii c coursirc-O i ’ il iocv:;cll iC id' 'ih<(.l • r.ko i -g'
> 2,:- Ir nifi
Ti.bel 2
Ds •*a<.rden voc' c'ukvsr ies ^Iden ook voc' ce rrinina s •«vaterc'uk v'j?. DIN -1"1851 / ccorstroonhoeveehsic b i v8rvv*r.Tihg 10 '’C tot 60
(Ai) 5C K). n a?.ri5ufti'g a?.n D IN lv88 deel 3 t¿bel < w orctv'oc'hetdim ens c^e^n v*n leicing‘:etten ee' c'ukveriesv'S ' C ,l ’^P a (1 ba^j; ¿anbe
VC sn.
7«2 Inzetbereiken
Toepasslng^gebieden voor geiser: gerelateerd aan de specifieke elel<crische w eerstand van w ater / de spec1fiel<e elektrische geleidbaartield
O pgiTv« <*.ls
1bcpas«ing:^cb1cdcn voor vem chil lende
refci-cncicccm pcracurert** vr<n de w r<terartr<ly5c
St-jidar-rege^evens
b‘j15"C
Ci 20 "C
aij 25 X
«pecneke elektrisc's w senranc
s 900 C cm
¿ 800 0cm
ä 735 0cm
kont overee'- rret
specrleke elektri& c'-e gelsko-ia heic
<111 m S/m
s 125 m S i'm
s 136 m S i'm
<1110 pS ^cm
< 1250 |i5'cm
< 1360 pS/cm
Tibe 3
1v.H ^riIcfI v()f:• • (!(: Í:>:'.f i i(:kx: ek:kl ifi b:í v.-ei:r.Ñ .w i<: rx::i;). •:In <:k:< dsr 11<: ^ek: <Ib^w rf k :i<I -•.-•»•x>rxk:• • rx:g r:• • ^h ' :íIw jkeri<: b j v:biIk:rn
tenpe ature^ be.'e<er.d. Bij de cecc.'delr^ Tiofet hie rrede re<er.ing ge!iouceii w orden.
67

8. Het verhelpen van storingen door de gebruiker en de installateur
Storing O orzaak Rem edie
O oors.rxM ’i'ng Ic goring 1 C IC % no(i..4 is goHcl!v:í:ínl (:in сгх^п^-л<ялгх!с 1ч
C::v)r:.ikx:r: 1 :loH cl!v:irxin (:r-/:vr. :.:í:íI grxinvvv,íHfxi(:
()|) iTt!" Ugorx: vV rtH fx:^ i' go!-k:ld‘;
лнп| :«Х х:г;).
Douche'<cyst'!iilrond-nuH<e'- verkilla G ebn il<er: om lalten. evt vervvi'gen.
Ve^'tieniging In5ti.ll*"s.,r: 288* 'sinigsn.
M iilorvxiriliy (iylccl IriüU lU :.i..r: • f lol ()rvy • • Г :.il < •: V • Irx )ly • :.in, yvl. vy • V Hr igy •.
C:vl nu:.i v.-o:.irvH v:.i E rror-ny -
í/.ínv()r;' :.^loklrx>rik'H (Í:íÍ:.íí i
lrii¡U ll» :.i..r:
i¡l ()rif ic i • ¡ sy; vix y-rr:«Ji jv- (rr :.r •.. • rx >r) v:.v i kvr
cing oi oedie'-in^^ceeie
<*.n¡ilyseien.
Com nu' catie lusss' bedien ngsgsdeelte en
lnst?.ll*"8.,r: :>8die.‘:'ng5j?edeete sn ve'bi'dingskr.bel corrrro-
refe'ing verstoc^
eren.
1 CID-:lis|jl«/w or-;' n':il
Cío:ín s|w i-.ific
C::r)r:.ikcr: /okorinc (on.fx)loixiri (huisirislH in io).
Lcsse \«rb''-diiigjc.bel '•r.^rbecier.ingjgsdeetelnsf.ll«"e. r: \-e'bindingslí2oel cjsteixen.
A£3 gede^ictivee'd lnsf.ll<"e. r: úoi'ZsiK úp'8fTe.i en A :3 vvee' r<ch«*.telen.
Ele^i^'ica de'ect 1плг.11г"8.,г: e'scfo'ica conti'olere' evt s'eiví.nipen.
Vhrw wni"g vrtw xll "io. V'(:-VvrtrTrw ics4ys.:í:ín dclox 1 InsIxlU :i..r: vx: • Vvrt fTTiif igsv.ys.: v: ii ■ I f on. fX )kiror i. c.v I. v: vrvH • gxin.
cy:>tfiH k:.il(i gccfi w nm W iilc-
D4 defect cf niet besestgd InsfJkie- r: •-.-e'i-inding D 4 contrúle'e'iccúrstrúonnerring h
service-nodus contrólele'.
Error ne'di'j? ve'schij't a'leen L-rsa' v*n ее' 'ass Cs:Ttiker: zekering com roleren (huisin5t?.l ¿:ie).
water vADrct ?el3pt
Si orine i;i (k: hovx:'licings:iloklrx)rr:4
Insl^ll« оог/ннк VH fi i lo s ¡vine оркжчоп- v:irw Hrni"g4: li
m ón. cnorsii-nc :in.om con :VA - v;i hil.¡nc v^n hcl
e'enentte \10С'1<01Г8г ...АЕ З лее' i'schakelen (let
op de juisie д<*.п5 ulting -л:п de 5TB)
Ai'.vce.4em perif;uur 55 ’C 1п1Я:г.11г"8.,г:atf.nvosnsnps'at'j'j' begrenzsr..
•ric(i..-:.in:lc kor .ijd «nid
'M ill• • 1..• • i ixi c:.iH( |j--/yy•: |
Ciy)r..ikxir. v.-(il • • :.i)V ^ 1..• • i ixi (J:.iH í 1 Í'-a ;•:in.
v.H lor
Kx )r ki! lo: V i¡l - o( )rr: r •: kirf ¡.ikir ig lo:.V)X l ■•.•■л)гх:1 ни loi"« live" v,-:.i:.ir n h:.';ilr'j’‘gxinori(:" ляппус- or
sp'iilxe bvTJi s-oldoe'de doc'strom ing.
Luchtdetector 'Sr.^ert (koud w *ts' ^duren •
App?.r¿ir: svordt ne: vedi'ag'n? a'Jton^tisc' v/ss'i' bedr'i*
de СЭ. 1 П '.)
jP enone'.
Tabel 5
Bi) reparnie van liet apparaat dient de v«i hbriekswege asiigebraclite avdgeleidiiig weer te worden aangebracht. Netspaiiiiiiigsvoereiide
leidingeii mögen riiet in aaiirakiiig körnen met laagspanriing^voereiide leidingeii.
ЛК

STIEBEL ELTRON
9. Service-modus voor de installateur
v>
A
z
<c
_l
ÛC
lU

EJNDE в tüets
indKukken De ingestelde tempentuurwurde кап worden opgevraagd
I ■
resp. gewijzigd met de geheugentoetsen M1 en М2:
(m^ ingestelde cemperatuurwaarde = 20 *"C
(h^ ingestelde cemperatuurwaarde = 60 “C

STIEBEL ELTRON
10. speciale toebehoren
Afstandsbedíéning váúr DHE SLi
* FFB 1 5L - radioafstandsbadietiing
* FFB 2 5L — radiDafstandsbediening
• FB 1 5L - l<abei-af$tandsbediening
Bestelnr.22 24 19
Besteliir.22 33 40
Bestehir.2213 33
Bedieiiiiig op twee locaties.
Rsdiobed'ieriingsgedeelte als uitbreidiiigop
Bedienifig uitsluiterid met;ifscmdbedieiiiiig!
D^nk/i. c:í fviilk'i^h.wicdiCfJicrr ji 11IM S'
de FFB 1 SL.
D:.' ky!hd«í^lH"(Wíi.'ili<;n FB 1 SL -.v:y<l
ki^n c:.^ )l II ... SI fi !.H nkicn Ik:I locSld
M èt de iVidìo:rit*.nd5oed ening FFB 2 SL
vx:ili¡4":íi(lslH«^'‘;)Hfi;:'n!^. I cn c ;-lir-nlc
/:ír‘vv-::rx::v lx:(Ji(:fi(j,;n>w ook I'lcl di'.ru-
ka'- ce inifJLrJe v.-orde.': uilgeorek tot
■:'(: rirr.."i(Hl ;^is lo ccri hh' sIu ll!^n;>l(: vwi
( : if i? IH • •( J! ii lie : : ini^. /: in< I l;x :< ^i J< :n. i( : 1
rix zes iv-dicbedie^ingsgedee tes. Ze^'d-
1S • f I v.vHH • • )(’>• |4(:. SI ui Ifi(: IÍ • g:
I /, ■ )i( : if x^i I irtf i( :< :l, I >: v : iik ( h. '/.S n •.
freqjen’e 36S.3 M Hz b'di-& c:ior.& el. bere'<
I c:l<; l()()nkH • >: il I y: )^: J-'^Y '/x'/ x( ).(i
^:v^:r ini^si >• r IV« ni^: Or 11 v« ni^cif • r n « I.. I:.i. r« i li-: >
oi 25 ir.
(/•::fic:v mi^nlcri l<H'):ilHls(h(:n'i n^).
Ixidicri '^v^i^ilcdlc :^r. rniJurfic'-A:.-: ii4ni4-
Lever’ '•gsoi vivvi'-g: R :ic ’coed’ e'- ingsgeo eehe
I(>:r)(:h()rx:n: >iH"sl..'l‘ri()(lu•.v«n(:"-;r.:(kT
en nuurbeveniginj
S'- bedenr^sgédeelte.
v>
A
z
<c
_l
oc
UJ
d
Drukbestendige tw ccgrccpsm cng»
Persfittiiig • kuriststoftiuis:
* O m bouw set vervanging gas*w atci^
kranen
Bestelnr. 22 23 BI
boiler
• W K MD > kcukcnkfaan
-- 7 X 7Vrtlc sl-:':|: Ci 'A.
Bestelnr. 22 05 10
Bcsttlnr.22 24 37
- - 7 X :H:n> i. inix x ' i> rri'i (V Swi-
besttande uit
• W BM D - badkraan
fix-Plus of S/Wx-Fofti).met d chtinge'-.
LiiK-e-'see m o'ttgerzre \vcor tedt'.
Bcscclnr.22 24 38
beschrijving. zie beste nr 22 02 91L
• U niverseel m ont^efram e
Bcc't “ukke.t vx?o' i' s:al latie bi i voortia' -
M onta^etoebehoren
Bestelnr. 22 02 91
de' aa'sLhinge' vx?orgas w ater:>oiler
• OmbDuwset inbouwmontage
be~aa'd8 Lt:
{'C vV links en W W r^chts).
Besteliir.07 05 6S
Tiorr;a§efrarr.8 met
.•^w i>li li r • '^cif i: ( >: )l u iv,-. iti. \ y. ivx:r i
e ekir'iche bec^acin^
« Uitsehakerroiais LR 1-A
Deze nontage^e: zorel voc' een '«j'nte
Bestelnr 00 17 86
• M ontageset watcK seop 2 stuks O 'Á
v*n 30 Tirr tusi^en ce achten^v^nd va' het
V-;«)r;vtfigw h>ikx:!in!^ v>i" (ic I7 I ...S I'
Bcsttlnr.07 43 26
toerel er. ce i'~al atiewa'd.
i1c( Ifx'irii-:' (•:':fr.ii:-1 hi; gili.k.ijxiig ¡deli'll k
NoodzA '<elij< oij druH ^es:end’ge ovi'-e'- Atn
D't m*akt de inbouw vat elektrische <zr\
v<i • • I ?'jv. <; l:.ik ,r >< '• :<: b-: *i ¡.'i S.V-:«>r « w i>li ji I i •
¿nde'e fabdonten ('3 a).
sluiti'.een op eke gewenste pl¿ats achter
vvi' '_K 1 -A. zie IS.
Aanw izing: \iet 'oodZi.kelijk bi cs Stiebe
hettoestel rrcgeli k De diepte va' hettoe-
Ehror. kra^e'VVK M O en’vV BM D.
• Toebehoren voor gebruik van een
ste wo'± .Tie: 30 rr.n vergroct Doo'toe-
• M ontageset opbouw instalPatic
DH E ...S Li m et voorverw arm d
p?.5sing VÄ' ceze nontagese: ve'aneen de
Soidccrschrocfkoppclii\g - l^pcrbuisi
water
ve ligheicsnonn n P 21 (spí.t'.v^terdichtL
ZTA 3/4 - centrale therm ostaatleraan
BesteInrO T 4019{l0]a)
* O m bouw set offset-m ontage
Bestelnr. 07 38 64
:>e5ta?-nde iir:
Bestelnr. 22 02 90
De direct boven ce be ler eeinr.z.ree'de
2 X'.vatenne? C 3i.
bes:aa'dé -'t:
centrz.le the.'rostz.atki*an zc'^ e.' d?.nkzi
2 X sc^^sfnoer A" .net i'zetdee' voor
Jnivèi sèèl TioiT:!igef'!iiviè I veor techn.
bi re'ging v*n rc..d water v'z.««' by
sole88fai.n>!.,ring 0 12 nn.
oèsch'rvrg.zè bes:elnr 22 D2 9')
pass eid ng voc' d?.t de uitloopterr?er*t....r
Pcrsfittiixg - koperbuis:
Boclitftukxen vcor verticale x'erschuiving
v<i" 60 ''C ni<;l vvcixil (Ax; s.'hrx:<l<;ri.
Bcscclnr.22 23 80
Viin hettoe3:el v¡in 9Ü mm nzsir or-deien
2 X w ate.'stop G 'A.
ten oozic'te vat de 'Avtteratns'iiring.
2 X oeisfrting I"'" X '5 rr:Ti. ret
cichti'een.
11. Milieu en
12. Garantie
recycling
Recycling van oude toestellen
.A.!in5or<t:ik oo giirziitie oestv.t uitsluitenc i'
/X D c m ontage, dc cicctrischc installatic,
Tbestellen net dit renne dc hören 'iet
het la'd w az.r 'et toestel geVjocht is.
6-^ het onderhoud en de eerste inbe*
-} dicfil .drh Ic -.xc' ilcn l-;'i. c :í vxisl 'jii”^ vw i
thuis in ce vvil.t'5bc.k sr. zi in ¿pa't in te
dr'ijfname mag uitsluiterid worden uitgevo-
Stiebel E bo' o'de ’ripc'teu' hie'V sin in 'et
zam ele' en te recyclen.
erd door gckwalificccrd pcrsonocl.
17c cryilini^ vH" oude l{';(:slc'lcri n-:«:. sIccxK
bet'effe'de land.
De fabril^nt is niet aansprakelijk voor de*
vH ';kuri(:i|4 :íh vxY^cn'- dc Ic- p 'h h Is :^ ¡^c'llcridii
fecte toestellen, welke iiiet volgens de biige-
voc s.’hniU;;: x:n vvx:l|4(;vin!4 |jI«hU vi"i.k:n.
Icvcrdc gebruiks -cn m ontagcaanw ijzii\g zijn
aai\^sloten of worden gebruikt.
/1


Indice
1
Instrucciones de m anejo para el usuarlo y el instalador
_
78
1,1
, /»
1.';
l^)lc"ii« cc j>:’iicr«ri:'v "h ìc iì
_______________
,/fí
1.3
Rtcorr.éncación de :ius‘.e oi viu'-a ¿rre'fete'iriO stii’cr..
.
i.'i
Noia scxe see^r'd*d ... _
_____
__
_
_____
_
je
i.h
lndi:'H('i<)ri i.ii|:r':r h-' ¡'.
_________________________________
.7H
1.6
G'-ir. ràbida para gtsos de rddencia
____________________
.75
1.7
Narrtenimienio y cu di.dos
..................................................
/ ^
1.6
Instrucciones de use y Tiont3> ...........................................
78
2
Guia ràpida de manejo para el usuario y el instalador^
79
Dé visiazo
___________________________________
7«
2.2
Aj.,5te ds l¿ tenperatu'a..................................................... 7?
Ir i( ii : Hí 'i( )f i< : s < !( : .í ( iv< l< : ' ' < i>r
____________________
79
/.4
lundón I <:o
________________________________________
3
Ajusto do las funciones de confort para el usuario y
el instalador
___________________________________
___
80
y'
InrU de hjnciófi f :>n ();){i::nc''(In njiislc.
__
ÍV.)
12
Seguida paniall/i pani ccns..lt:is____________
___
80
13
.Alaste dé las 'jnc'ones dé (Xinfo-t
__________
___
80
4
Instrucciones de m ontaje para el instalador.
__
83
I3:>cr’|:ci()" H )i :?ki:-K:H
______________________
__
a?
4.1
4.2
Indicaciones ¡irpo'tmes
_____________________
__
53
i3
Norm as y disoosic ones...........................
53
5
M ontaje estándar para el instalador
_____
___
84
lridi:.H (,ion:.", ^(jnur«lyi ¡w rvi c cnonl«jc^^_
__
84
Joicadón de nor-tae___________________
___
84
5.5
Preparativos oa^a e rr.orrta.je del aparato
81
5.4
Ií;h'c |)!t'Í (:n monl^jc
_____________________
__
ÍM
5.3
-Aconai el ciols ds red
______________
___
84
5.Ó
M ontasC éhiM vite
_________________
___
84
5.7
Conexión hidráulica
_______________
___
81
S.H
■C'.oncxiotiíido nl('r l ir::
___________________
__
«4
5.$
Corrp éiaciór- ¿t| no^ta e
____________
___
84
5.-Ì0
Prirrera puesta en m arcr’a. _
_____
__
_
_ .81
6
Alternativas de m ontaje para el instalador
______
___
85
<‘..1
Pnríil :l<; rrnn.Hjf: iwr« '•ii’-.iliX-iln cf: ..n CH'nnl.ídf':-
__
as
Ó.2
Conexión sléct-ÍCri so'i-re c^peiflclé
_____________________
___
55
6.3
Cc'sxión e éctnca. superior
...................................
85
(1.4
l.i|;H d(;! h |)h iv : :: vù-mIa
__
as
(‘...5
M orilH u cd fvH figu .o ci'l'inciJci.'H nlc.
__
as
Ó .6
Ci 'cuito de priorieac
_____________
___
85
6.7
Crfsrias de s.,pe-4cis.................................
85
uc
(i.H
í'.oncKÍón \<>:U:U jwrH <k: su.xirüric.
6.9
M ontaos ce a oa ts interior del pa^-sl iivissro_
6.10
M onta s sob^ s*l catados irreeula^s
______
.85
7
Datos técnicos y cam pos de aplicación para el instalador
_86
.'I
Dh Io -- hirri ío'-
86
7.2
Int* valns dé aalicac ón
86
8
Resolución de incidencias por parte del usuario y
el iiistiilR dor
87
9
M ndn dp S ervicio técnico par» el instalador
B8
10
Accesorios especiales
90
11
M edio am biente y reciclado
90
12
G arantía
90
7“<

в
Æ V
•/4

D
STIEBEL ELTROri
T
...........
W W
®
о
tz
<
4« Brilli IC -
Q_
(/>
„ Щ0Г
-------
--•? -C i'
i '•Vv-I.
_________
J
3 S P
®
H
I»
lüO nn
1 _
1
tMi:
30 nm
¡ 1 1
i»-
i LJ
í —
'Ü V¿^
Г"И
II
i
23
-----------
-
....
I
----
1' li
L1V L2> L34
a
lì
ttl
.......
"■ ■
L fe L
I ■. I
.
..............
.......
: дщщ
3/PE - 400V


STIEBEL ELTRON
'dl/
1 « Instrucciones de manejo para el usuario y el instalador
1.1 Descripción del aparato
1.5 Indicación importante
O j = 38 “C íTerroeratv'a del ag..a
Descripción:
m odada)
yX C uando d sum inistro de aguad
El C !i'fe'‘t*.dor DH E... S U
18 kW 21 kW 24 leW 27 kW
DH E... S U ha sido interrum pido, p.ej.
Electronic ccirfc't ieiT!! e I <*.2u a a redic<*.
l/n ' ^
debido al riesgo de congelación o a traba
que Éraflu}« <*. tr<'.vé< del !ip¡ir<'.tc. L*. teirpe-
6"C
8.0 9.1 10.? 12.1
jos en las tuberías, antes de poner nueva
del O lí EntE se puecE q'ac^at sr
a'-
10 "C
:07
12.3 12.Ô
m ente en funcionam iento el aparato hay
soU dón ¿E corrti^^ d/id dE sce los 20 Ivist*.
14 "C ÍC J 125 11.5 16.1
que ejecutar los pasos siguientes;
los 6C *’C . U lerroerí.U 'a aj..>:3c¿ <.pa'ecs
.'1
incicada s' el d spiay C u*'do e caudal re:»as?.
íf J = 60iT eiTO Er,*.t^'a de sa id;
1. Desconeeiar los fusibles o el interruptor
autom ático correspondiente al aparato^
los 2,5 l••■fnln.. el circ..f:c electrón'co conecta
18 kW
21 kW 24 kW 27 k
o bien desconectar el O HE ... SU por
el í.pa'ato.
l/m ' *•
»1
G racias al regulador tocalm ence electrónico
6*C
4,<f h.(y 6.4
m edio dcl botón roblador (posición
7.7
10 "C 6.0 é.9
7.7
•O FF*').
y a la m ocoválvula el a^a es calentada exac*
14 "C
Iá 6.5 ?.5 3.1
2. Abrir un grifo instalado a continuación
cam ente a la cem peratui'a ajustada.
dcl aparato hasta que tanto el aparato
Tibnl
com o la tubería de a^a fría estén libres
Display en la unidad de m anejo:
Los Víilcres ¿E las ttblas están refe'ices a
de aire.
Las indicaciones del d'spiay se ouede.i perso
u'a tensión nominal de 4úD 'v' El caucal
3. Volver a conectar los fusibles o el in^
na'izar
CE salida depe'dE ¿e la prEsió.t de rEd
terruptor autom ático, o bien encender
El aparato viene de fábrica con el nodo E CO
eyscEiTtE y de la tensión eléctrca reanente
nuevam ente el DH E ... SU .
aj..>:aco a cz.udal ce 3 It'os rrinuto y la
aol Cíica.
re:roiluni'¿ción autonát ea activac*.
Con era co'fguración. I* retroi'urr inació' se
1.6 Guía rápida para casos
1.3 Recomendación de
coneca e'. c..arr:o se actúa sobre el botón
de incidencia
regg ador o uñatéela C valc.,iera,a5i' corro
ajuste para una grifería
• Corrprobzr es f^SÍb-85
cua'do el aparato esta ca e'U ndo. La. reti'oi •
termostàtica
• Corrprobare g'acc de incrustación 3orc?.l
lum ¡rin!.i()n vunlvx; Ar.\yA^ni (uH "(l()hnn
^ara ga'a't'Ztf.re correcto "unció'arriento
Y s'suc'arriento ce los gri*o> y roc adores
l"H "S f urri-H o «igundiis s'n ( ij :í sn Iw y« a:-
ce la «nfera ternostát'ca na;/que gradua'el
de duc'*.Ver tam bién ''8. R esolución de ¿
ri nriH-Ho rr '^Ún l'lnl '.(lo.
DH E.. S U a !a te nperatura m axi na (60 '^C).
incidencias por parce del usuario". *5
I r.:« njuslcü "Á‘)f'.:.Aaofi riodilit/dr^.í^
i A Nota sobre seguridad
::l iJM i/id-:: (vcr^l rr';|>:" c '^3.3 A juste -Je las
1.7 Mantenimiento y
funciones de confort'').
/X A tem peiticuras de salida superiores
cuidados
Pa'a restaurar el ajuste de fáb-dc?. ouls?.r las
^-^a 43 "C existe peligro de quem aduras.
tedas M I ;/ M 2:
Los trabajos de m an ceñim iento, tales
Si niños o personas dcscapacitadas. tanto
pu sa' estas tec as sS nultá'earrer.te d^'ante 2
¿-^com o la com probación de la seguridad
sensorial com o m entalm ente, operan el
>eg..'do5
eléctrica, deben ser realizados siem pre por
aparato debe aserrarse de que dicha
el instalador.
operación se realice después de liaber
Este aparato se ouede na^eja- con .,n m anee
recibido la instrucción adecuada por una
^'a el cuicado de a C 3rcz.sa b¿sta con p3s?.r-
a dist?.ncia íver "10. A ccesorios especíales'’).
persona a su cargo. Los niños deben per
le una bayeta húm eda ¡N o em plez.r productos
m anecer vigilados en todo m om ento para
ce l'm pieza ab'asis'os c con discvsntes'
1»2 Potencia de generación
asegurar que no juegan con el aparato.
de agua caliente
Peligro de escaldamiento!
1.8 Instrucciones de uso y
Fn fm dór ce Ifi époc-i >s obtienen
Si no puede eviuirlo le recom endam os que
montaje
lüs sijíuienles caudc e> ’náxir’cs de A¡>yA
ajuste un lim ite de tem peratura perm a
Conservar cuidadosam ente esos
m ezclada o de salida cr •jndón de la tem -
nente. Este puede activarse m ediante las
¿JA instrucciones. E n caso de cam bio de
pftrzl.j'a dcl agua fría (ver <: Tjbl? 1):
funciones '*se¿ui*o para níH os” (consulte
propietario, entregárselas al nuevo pro
el aparodo 3.Ajuste de las funciones de
if, = k:n'¡H:f'«l..r>i d<; í.íi'. Hg..« Ir h
piciarlo. Facilitárselas al instalador para su
confort) o ’^protección antiescaJda-
“ temperatura de agua mezcLica
consulta durante los trabajos de m anccnl-
m iento” fconsulce el apartado 10. M odo
O, - teiroerat^ra de salica ¿eI agua caliente.
m ienco o eventuales reparaciones.
de servicio al cliente) en la consola de
« Tem peintura útil:
operación -Jel DH E...SLÍ.
— 33 *C :|:.c .:)»'« {íur fw .l«v>ifx:, bH "C'*H .
i.:k.
- rt|)? ::x. 60 el írxrgndcrx) iín 1« c-ncínH
y oara la ^tlizadón de grifos tErincstsiricos
y?

2. Guía rápida de manejo para el usuario y el instalador
2.1 De un vistazo
Lectura de tem peratura
Servicio técnico
G ráfico de barra? de potencia
Error ! Indicación de fallo
Segundo dísplay
________________
Retroiluininaeión
I |)H'H !.'l CHUCHI
Teclas de m em oria M I y M 2
______
Tecla de función
________________
p 4ic :c :
Indicador de peli^o de escaldam iento
Bocón roblador de la tem peratura
2»2 Ajuste de la temperatura
posibilidad de graduar la temperatura sin solución de continuidad
• íT 20 hasta 60 *C
« (Г
OFF ^
La resistencia est4 desconectada.
Teclas de memoria
?згг гЬ етгг •¿pidam sm s entre dos te Т1ре.'г:игг5 preaiustadas
* grabación de una tem peratura:
puls:ir o d. 'ante 2 se^unccs.
el valor de tem peratura parpadea 1 vez y queda grabado.
recuperación de una tem peratura;
|iul:>ai .
2.3 Indicaciones de advertencia
Parpadeo de advertencia por temperatura excesiva
Cu/vdo l«*.teirper<*t..ivi de agua éritovte es supedor <* la<*.just*da en el грд'Ло pe .si se 'ealzr.
precr.lentariient6 сел una nstalidon sola' el d.<p'av de teirper".ura p<*.rpr.dea y el segg.'-do d'splay
nuest'a la tenpe'atura del a^jc éntrem e.
El display de tem peratura parpadea
Segundo display para la tem peratura del agua entrante
Indicación de riesgo de escaldamiento
Atención: ¡C ui'uido se gradúa una cem peratuia igual o superiora 43 existe riesgo de
escaldam iento!
Cam bia de color verde a rojo
2.4 Función ECO
Ahorro de aguay cficrgctico
El caudal de agua que recorre ci aparato queda lim itado a un valor m áxim o,
(ajuste de fábrica B lfm in.S e puede ajustar otro valor desde el m enú).
EC O activado ^ ы1''')()1о СО (;:i d (l¡:í|jU y,
EC O desactivado '=I> E sín:>olo ECO no aparece en el cis?lay
Vf>

STIEBEL ELTRON
3« Ajuste de las funciones de confort para el usuario y el instalador
3»1 Tecla de función con opciones de ajuste
Resumen de las funciones de confort
(Ver h aaivación de las funciones de confort en el apdo. 3.3)
3Qj-”C
KCfF
ijnc^^
JIJ.J
JOjJ JIJ.J
ILI J
nn
j—1 ^ i/vm
r r
inr ,, iñr
bu
lü.b
lu.j
ECO
mav
p.
Función de ahotro Seguro para nifios Ducha de bienestar Reculación
energético y de ECO Selección de automática
Ajuste de fábrica pn^rama del caudal
J.2 Segunda pantalla para consultas
o
tz
<
Q _
(/>
3.3 Ajuste de las funciones de confort
Las fundones de confort se
pueden ajustar y seleccionar
INICIO Pulsar durante 2 segundos
sucesivamente.
Los ajustes quedan salvados
Seleccionar función / ajustar valor
directamente.
Navegar por el menú
INICIO
Pulsar durante
FINAL Pulsar durante 2 segundos desde cualquier función
2 segundos
automáticamente transcurridos
30 segundos desde el último ajuste.
Tecla de función
Función ;isignfld3 a la tecla
Función de
ahorro ener
gético Y de
Se ouece:* actwi'vwi.*« Lncicnes a la vez Durante el •undo^sur lento se p^ede activvv ! cesact Vsir
agua
con la"sd* Cwí.lc^ier función seleccionada
Seguro para
niños
Selección de la función.
Programa du*
Noi«:
cha de
bienestar
6«s m ?).. P ' La> Lrdones se activan pulsancc la tscl* y desactivan pulsanccla r^evam ents
Regulación
'C^ ' ñ « l..!‘ri()n .^(! A: ¡V« cc ivTT'H .'.'/k a |!«rH d Vgij¡(;.'ilc ronsu.'no cc A'¿i¡A !)ijUHri":: Ih
automática
lf:fU CC.ÍHÍ livHau.fv'iHrí'wnnri n cc riuCvï) H:'; cori< lui-el í'ori>.. rio.
dcl caudal
T)


