Brennenstuhl Remote Control Set RCS 2044 N Comfort – страница 3
Инструкция к Brennenstuhl Remote Control Set RCS 2044 N Comfort

Manual de instrucciones RCS 2044 N
Conectar dispositivos
El alcance de la señal inalámbrica del emisor manual es de
máx. 25 metros y depende de factores de construcción.
El alance se puede ver interferido por factores de cons-
trucción (por ejemplo, hormigón armado), eléctricos (por
ejemplo, conducciones eléctricas) o electromagnéticas
(por ejemplo, teléfonos). Si es necesario, retire la fuente
de interferencia o mantenga una distancia adecuada con
la fuente de interferencia.
Para conectar los enchufes de conexión
• conecte los enchufes de conexión en una toma de pared.
(¡Tenga en cuenta la dirección en el conector negro IP 44!)
Para activar la funcionalidad del emisor manual
• introducir la batería en el compartimiento de la batería (13).
MANEJO
Encender enchufe de conexión
1.
Conectar el enchufe de conexión (1) o (3) en una toma de pared.
2. Conectar el dispositivo que debe ser conectado en el
enchufe de toma de tierra (5).
3. Presionar el botón preestablecido ON (11), (por ejemplo A)
para encender el enchufe de conexión (1) o (3).
La luz funcional del emisor manual (8) se enciende al
presionar el teclado. La luz funcional (2) en el enchufe de
conexión IP 20 se enciende.
Apagar enchufe de conexión
1. Presionar el botón preestablecido OFF (9), (por ejemplo A)
para apagar el enchufe de conexión (1) o (3).
La luz funcional del emisor manual (8) se enciende al
presionar el teclado. La luz funcional (2) en el enchufe de
conexión IP 20 se apaga.
41
096812 BA_Funkschaltset RCS 2044 N 24.09.14 13:45 Seite 41

Manual de instrucciones RCS 2044 N
LIMPIEZA
Tenga en cuenta: ¡Riesgo de descarga eléctrica!
Antes de limpiar el dispositivo desconéctelo del
suministro de energía.
Tenga en cuenta: ¡Riesgo de descarga eléctrica!
Asegúrese de que no entre líquido en el dispositivo.
La entrada de líquido puede provocar un cortocircuito.
Tenga en cuenta: Peligro por el contacto con agentes
de limpieza agresivos.
No utilice productos agresivos o abrasivos para la limpieza.
Limpie el dispositivo con un paño suave y húmedo y un
detergente suave.
Antes del siguiente uso asegúrese de que el dispositivo esté
completamente seco.
MANTENIMIENTO
Verifique periódicamente el estado de la batería.
DATOS TÉCNICOS
Tensión de funcionamiento 230 V ~ 50 Hz
Tensión de conexión 230 V ~ 4,35 A
Capacidad de tensión
del enchufe de conexión máx. 1000 W
Alcance de la señal inalámbrica máx. 25 m
Frecuencia de funcionamiento 433,92 MHz
Temperatura ambiente 0 ° a 35 °C
Temperatura de almacenamiento - 40 ° a 70 °C
Batería de 12 voltios, Tipo A 23
Protección 2 x IP 20, 1 x IP 44
Conformidad
42
096812 BA_Funkschaltset RCS 2044 N 24.09.14 13:45 Seite 42

Manual de instrucciones RCS 2044 N
Declaración de conformidad
Se colocó el símbolo CE en concordancia con las siguientes
directivas europeas:
• 1999/5/CE Directiva de R&TTE
• 2006/95/CE Directiva de baja tensión
• 2004/108/CE Directiva de compatibilidad electromagnética
(CEM)
• 2011/65/EU (RoHS II)
La declaración de conformidad aparece en el siguiente link:
www.brennenstuhl.com/konformitaetserklaerung/ke_1507400.pdf
Fabricante
Hugo Brennenstuhl GmbH u. Co. KG
Seestraße 1-3
72074 Tübingen
Alemania
Para más información, recomendamos las secciones de
Servicio / FAQ’s de nuestro sitio web
www.brennenstuhl.com
43
096812 BA_Funkschaltset RCS 2044 N 24.09.14 13:45 Seite 43

RCS 2044 N Komfort
távkapcsoló készlet kezelési
utasítása
BIZTONSÁG
Rendeltetésszerű használat
A készülékek távkapcsoló készletben kaphatók, magánhaszná-
latra. Nem alkalmasak ipari használatra. A távkapcsoló készlet
lámpák és elektromos készülékek be- és kikapcsolására
szolgál. Az IP 20 védettségű kapcsoló dugaljak csak beltéri
használatra alkalmasak. Az IP 44 védettségű kapcsoló dugalj
(lecsapható fedéllel) kültéri használatra is alkalmas.
A készülékeket csak egyenként szabad üzemeltetni. Tilos több
dugaljat egymásba csatlakoztatni. Minden ilyen további
alkalmazás nem rendeltetésszerű használatnak minősül.
A nem rendeltetésszerű használatból keletkező károkért a
gyártómű nem vállal felelősséget.
Kezelési utasítás
A készülék használatba vétele előtt gondosan olvassa el a
teljes kezelési utasítást. Őrizze meg a kezelési utasítást. Ha
továbbadja a készüléket, adja vele együtt a kezelési utasítást is.
Alapvető biztonsági figyelmeztetések
• Gyermekek nem képesek felismerni azokat a veszélyeket,
amelyek elektromos készülékek szakszerűtlen kezelése
közben keletkezhetnek. Ne engedje, hogy gyermekek
felügyelet nélkül használjanak elektromos készülékeket.
• Fulladásveszély! A csomagoló-anyagot ne hagyja mindenfelé
heverni. A gyermekek a kisalkatrészeket lenyelhetik és tőlük
megfulladhatnak.
• A kapcsoló dugaljakat csak szokványos védőérintkezős
dugaljakba csatlakoztassa, 220 - 240 V, 50 Hz áramnemre.
•
A kapcsoló dugaljakat ne csatlakoztassa hosszabbító kábelhez.
• A kapcsoló dugaljakhoz csak a megadott teljesítményhatá-
rokon belüli fogyasztókat csatlakoztasson.
• Ne csatlakoztasson olyan fogyasztókat, amelyek felügyelet
nélkül bekapcsolva tüzet (pl. vasaló) vagy egyéb károkat
okozhatnak.
44
096812 BA_Funkschaltset RCS 2044 N 24.09.14 13:45 Seite 44

Kezelési utasítás RCS 2044 N
• Ne csatlakoztasson olyan fogyasztókat, amelyek motorja
segédfázis-indítókondenzátort vagy kondenzátoros
fázisjavítást igényel (pl. hűtőszekrény).
• Ne fedje le a kapcsoló dugaljakat. A fedél alatt meggyülemlik
a hő. Tűzveszély keletkezhet.
• A készülékeket rendszeresen ellenőrizze károsodásra. A sérült
alkatrészeket ne cserélje. Forduljon a gyártóműhöz vagy
selejtezze a készülékeket környezetbarát módon.
• Ne nyúljon a készülékekhez nedves kézzel.
• A kapcsoló dugaljak feszültségmentesítésére válassza le a
kapcsoló dugaljakat a hálózatról.
Elemeket különös gondossággal kezeljen.
• Robbanásveszély! Ne kíséreljen meg feltölteni nem tölthető
elemeket.
• A lemerült elemeket vegye ki az elemtartóból, és ártalmatla-
nítsa környezetbarát módon.
• Elemeket nem dobjon tűzbe és ne tegyen ki magas
hőmérsékletnek.
• Az elemeket ne nyissa fel, és ne zárja rövidre.
• Az elemekből kifolyó sav ingerelheti a bőrt. A folyadékot, ha
érintkezésbe került vele, bő vízzel kell lemosni. Ha a folyadék
szembe jutott, a szemét ne dörzsölje, hanem azonnal mossa
ki bő vízben, és feltétlenül forduljon orvoshoz.
• Ha nem használja az elemeket, vegye ki az elemtartóból,
hogy felesleges lemerülésüket elkerülje.
ÁRTALMATLANÍTÁS
Elektromos készülékeket környezetbarát módon
ártalmatlanítson!
Elektromos készülékeket tilos a háziszemétbe dobni.
Az elhasznált elektromos és elektronikus készülékekről szóló
2012/19/EK Európai Irányelv szerint az elhasznált elektromos
készülékeket külön kell gyűjteni, és át kell adni környezetbarát
újrafelhasználásra. A kiszolgált készülékek ártalmatlanításáról
tájékozódjon a helyi vagy városi közigazgatási szerveknél.
Környezeti károk az elemek helytelen
ártalmatlanításánál!
Az elemeket tilos a háziszemétbe dobni. Mérgező
45
096812 BA_Funkschaltset RCS 2044 N 24.09.14 13:45 Seite 45

Kezelési utasítás RCS 2044 N
nehézfémeket tartalmazhatnak, és ártalmatlanításuk a veszé-
lyes hulladékra vonatkozó szabályok szerint történik. Ezért az
elhasznált elemeket adja le a kommunális begyűjtőhelyen.
KÉSZÜLÉKEK
Szállítási terjedelem
A szállítási terjedelem az alábbiakat foglalja magában:
– két IP 20 védettségű kapcsoló dugaljat (fehér)
– egy IP 44 védettségű kapcsoló dugaljat (fekete)
– egy távirányítót, benne A23 elemmel
A készülékek áttekintő képe
1
7
8
2
3
6
4
5
1011 9
1 IP 20 védettségű kapcsoló
7 Távirányító
dugaljak
8 Távirányító működésjelző
2 Működésjelző lámpák
lámpa
3 IP 44 védettségű kapcsoló
9 KI-nyomógombok
dugalj
(A,B,C,D)
4 IP 44 védettségű lecsap-
10 Elemtartó fedél
ható fedél
11 BE-nyomógombok
5 Védőérintkezős dugaljak
(A,B,C,D)
gyermekvédelemmel
12 DIP-kapcsoló
6 Védőérintkezős dugasz
13 Elemtartó
46
096812 BA_Funkschaltset RCS 2044 N 24.09.14 13:45 Seite 46

Kezelési utasítás RCS 2044 N
Készülékek előkészítése
A készülék használatba vétele előtt
– helyezze be az elemet,
– szinkronizálja a rendszerkódot a távirányító és a kapcsoló
dugaljak között, és
– a távirányító egyes BE/KI nyomógombpárjait rendelje hozzá
1-1 kapcsoló dugaljhoz.
Figyelmeztetés: A kapcsoló dugaljakat mindig közvetlenül
dugaszolja be a fali dugaszolóaljzatba. Az IP 44 védettségű
kapcsoló dugaljat (fekete) csak a készülék címkéjén feltünte-
tett irányban szabad csatlakoztatni a fali dugaszolóaljzatba,
hogy ezzel biztosítsa a freccsenő víz elleni védettséget
(a nyílnak
h felfelé kell mutatnia).
Elem behelyezése a távirányítóba
Vigyázat! Ügyeljen az elem helyes polaritására. A hibásan
behelyezett elem anyagi károkat okozhat.
1. Nyissa ki az elemtartó (13) fedelét (10).
2. Helyezze be az elemet az ábrán látható módon.
3. Csukja be az elemtartót (13).
4. A távirányítón (7) nyomjon meg egy tetszőleges gombot.
Kigyullad a működésjelző lámpa (8), ahányszor megnyom
egy gombot. Ha a gomb megnyomására a működésjelző
lámpa (8) nem gyullad ki, a készülék nem kap energiát az
elemtől. Ellenőrizze, hogy helyesen rakta-e be az elemet.
Rendszerkód szinkronizálása
A készülék első használata előtt a rendszerkódot szinkronizálni
kell, hogy az összes kapcsoló dugalj reagáljon a távirányító
rádiójelére. Ehhez mindegyik kapcsoló dugalj részére hozzá
47
096812 BA_Funkschaltset RCS 2044 N 24.09.14 13:45 Seite 47

Kezelési utasítás RCS 2044 N
kell rendelni a távirányító egyik nyomógombpárjának az egyik
frekvenciáját, hogy minden kapcsoló dugaljat egyenként
lehessen kezelni.
Állítsa el a DIP-kapcsolót egy alkalmas tárggyal, pl. egy kis
csavarhúzóval, mellyel a DIP-kapcsolót fel vagy le tolja el.
Rendszerkód beállítása a távirányítón
1. Nyissa ki az elemtartó (13) fedelét (10).
2. Az 1-5 DIP-kapcsolókkal (12) állítson be egy tetszőleges
rendszerkódot.
3. Csukja be az elemtartót (13).
Rendszerkód beállítása a kapcsoló dugaljon
Kapcsoló dugalj hátoldala
1. A kapcsoló dugalj hátoldalán a (18) fedélből csavarozza ki a
(16) csavart egy megfelelő kereszt-csavarhúzóval.
2. A fedelet (18) kissé emelje meg a csavar furata (17) fölött, és
húzza ki.
3. Az 1-5 DIP-kapcsolókkal (14) állítsa be ugyanazt a rendszer-
kódot , mint a távirányítón.
48
096812 BA_Funkschaltset RCS 2044 N 24.09.14 13:45 Seite 48

Kezelési utasítás RCS 2044 N
Kapcsoló dugalj hozzárendelése a távirányító egyik
kezelőgombjához (A, B, C vagy D)
1. Az A-D DIP-kapcsolókkal (14) állítsa be a távirányító egyik
kezelőgombját:
Az E-jelű DIP-kapcsoló nincs beültetve.
Távirányító
kezelőgomb DIP-kapcsoló a kapcsoló dugaljon
ABCDE
A ON OFF OFF OFF OFF
B OFF ON OFF OFF OFF
C OFF OFF ON OFF OFF
D OFF OFF OFF ON OFF
2. A fedelet (18) hajtsa befelé és zárja be.
3. A (16) csavart dugja át a csavarfuraton (17), helyezze a
menetre (15), és húzza szorosra.
Példa
Állítsa be a távirányítón a 123 rendszerkódot.
Állítsa be az összes kapcsoló dugaljon a 123 rendszerkódot.
Ezen kívül állítson be egy kezelőgombot is. Az ábrán az A-jelű
billentyűpárat állítottuk be az A-jelű DIP-kapcsolóhoz:
49
096812 BA_Funkschaltset RCS 2044 N 24.09.14 13:45 Seite 49

Kezelési utasítás RCS 2044 N
Készülék csatlakoztatása
A távirányító rádiójelének a hatótávolsága max. 25 m és függ
az építési adottságoktól.
A hatótávolságot az építészeti (pl. vasbeton), elektromos
(pl. elektromos vezeték) vagy elektromágneses (pl.
telefon) adottságok csökkenthetik. Szükség esetén távo-
lítsa el a zavarforrást, vagy tartson megfelelő távolságot a
zavarforrástól.
A kapcsoló dugalj csatlakoztatása
• dugaszolja be a kapcsoló dugaljat egy fali dugaszolóaljzatba.
(Ügyeljen a fekete IP 44 védettségű dugasz irányának betar-
tására!)
A távirányító üzemkész állapotba helyezése
• helyezze be az elemet az elemtartóba (13).
KEZELÉS
Kapcsolja be a kapcsoló dugaljat
1. A kapcsoló dugaljat (1) ill. (3) dugaszolja be egy-egy
falicsatlakozóba.
2. A kapcsolni kívánt készüléket csatlakoztassa a
védőérintkezős falicsatlakozóba (5).
3. Nyomja meg az előre beállított BE kapcsológombot (11),
(pl. az A-t) a kapcsoló dugalj (1) ill. (3) bekapcsolásához.
A távirányító működésjelző lámpája (8) felvillan a gomb
minden egyes megnyomására. Az IP 20 védettségű kapcsoló
dugalj működésjelző lámpája (2) világít.
Kapcsoló dugalj kikapcsolása
1. Nyomja meg az előre beállított KI kapcsológombot (9),
(pl. az A-t) a kapcsoló dugalj (1) ill. (3) kikapcsolásához.
A távirányító működésjelző lámpája (8) felvillan a gomb
50
096812 BA_Funkschaltset RCS 2044 N 24.09.14 13:45 Seite 50

Kezelési utasítás RCS 2044 N
minden egyes megnyomására. Az IP 20 védettségű kapcsoló
dugalj működésjelző lámpája (2) kialszik.
TISZTÍTÁS
Vigyázat, áramütésveszély!
Tisztítás előtt a készüléket húzza ki a hálózati
csatlakozóból.
Vigyázat, áramütésveszély!
Ügyeljen arra, hogy a készülék belsejébe ne jusson
folyadék. A behatoló folyadék rövidzárlatot okozhat.
Vigyázat! Agresszív tisztítószerek által okozott
veszély.
A tisztításhoz sohase használjon agresszív vagy dörzsölő
hatású tisztítószereket. A készüléket enyhén nedves, puha
ruhával és lágy tisztítószerekkel tisztítsa.
A következő használat előtt ellenőrizze, hogy a készülék
teljesen megszáradt-e.
KARBANTARTÁS
Rendszeres időközökben ellenőrizze az elemet, hogy nem
sérült-e meg.
MŰSZAKI ADATOK
Üzemi feszültség 230 V ~ 50 Hz
Kapcsolási feszültség 230 V ~ 4,35 A
Egy kapcsoló dugalj kapcsolási
teljesítménye max. 1000 W
Rádiójel hatótávolsága max. 25 m
Üzemi frekvencia 433,92 MHz
Környezeti hőmérséklet 0°- 35°C
Tárolási hőmérséklet - 40°- 70°C
Elem 12 Volt, A 23 típus
Védelem szintje 2 db IP 20, 1 db IP 44
EK-megfelelőség
51
096812 BA_Funkschaltset RCS 2044 N 24.09.14 13:45 Seite 51

Kezelési utasítás RCS 2044 N
Megfelelőségi nyilatkozat
A következő Európai Irányelveknek megfelelően a készüléken
elhelyeztük a CE jelölést:
• 1999/5/EK R&TTE-irányelv
• 2006/95/EK Kisfeszültségi irányelv
• 2004/108/EK elektromágneses összeférhetőségre vonatkozó
irányelv
• 2011/65/EU (RoHS II)
A megfelelőségi nyilatkozat megtalálható az alábbi linken:
www.brennenstuhl.com/konformitaetserklaerung/ke_1507400.pdf
Gyártómű
Hugo Brennenstuhl Kft. és tsa. BT
Seestraße 1-3
72074 Tübingen
Németország
További információkért forduljon a www.brennenstuhl.com
honlapunkon található szerviz osztályunkhoz / GYIK rovathoz
52
096812 BA_Funkschaltset RCS 2044 N 24.09.14 13:45 Seite 52

Kullanma kılavuzu
Telsiz şalter-seti
RCS 2044 N Comfort
GÜVENLİK
Amaca yönelik kullanım
Cihazlar telsiz şalter-seti olarak özel kullanıma yönelik
tasarlanmıştır. Ticari kullanıma uygun değillerdir. Telsiz şalter-
seti lamba ve elektrikli cihazların açılıp kapatılmasını
sağlamaktadır. IP 20 şalter prizi sadece kapalı alan kullanımına
uygundur. IP 44 şalter prizi (kapaklı) dış mekan kullanımına
uygundur.
Cihazlar sadece tek tek çalıştırılabilir. Birçok şalter prizini arka
arkaya takmayın. Diğer her türlü kullanım amacın dışında
olarak kabul edilir. Amaca uygun olmayan kullanımlardan
meydana gelen hasarlardan üretici mesul değildir.
Kullanma talimatı
Kullanma talimatını cihazı kullanmadan önce ayrıntılı bir
şekilde okuyun. Kullanma talimatını saklayınız. Şayet cihazı
devrederseniz, kullanma talimatını da birlikte verin.
Temel güvenlik uyarıları
• Elektri cihazların yanlış kullanımlarından dolayı oluşacak
tehlikeleri çocuklar farkedemez. Bu nedenle çocukları asla
kontrolsüz elektrikli cihazları kullandırmayın.
• Boğulma tehlikesi! Ambalaj malzemelerini dikkatsizce etrafta
bırakmayın. Çocuklar küçük parçaları yutabilir ve boğulabi-
lirler.
• Şalter prizlerini sadece sıradan 220 – 240 V ve 50 Hz topraklı
prizlere takın.
• Şalter prizlerini uzatma kablolarına takmayın.
• Sadece belirtilen şalter prizi performans sınırları dahilinde
tüketiciler bağlayın.
• Kontrolsüz açılmadan dolayı yangın (örneğin ütü) ya da başka
zararlar verebilecek tüketicileri bağlamayın.
• Motor kondansatöre (örneğin buz dolabı) ihtiyacı olan olan
tüketicileri bağlamayın.
53
096812 BA_Funkschaltset RCS 2044 N 24.09.14 13:45 Seite 53

Kullanma kılavuzu RCS 2044 N
• Şalter prizlerinin üstünü örtmeyin. Örtünün altında sıcaklık
birikir. Yangın tehlikesi.
• Cihazları düzenli olarak hasarlar konusunda kontrol edin.
Hasarlı parçaları değiştirin. Üreticiye danışın ya da cihazı
çevreye uygun olarak tasnif edin.
• Cihaza ıslak ellerle dokunmayın.
• Şalter prizini elektriksiz hale getirmek için, şalter prizini
elektrik ağından ayırın.
Pillere özel bir dikkat ile yaklaşılmalıdır.
• Patlama tehlikesi! Tekrar dolumu yapılamayan pilleri
doldurmaya çalışmayın.
• Pil biter bitmez, yuvasından çıkarılmalı ve çevreye uygun bir
şekilde tasnif edilmeli.
• Pilleri ateşe atmayın ya da yüksek derecelere maruz
bırakmayın.
• Pilleri açmayın ya da kısa devre yapmayın.
• Pilden çıkan pil asidi, cilt üzerinde reaksiyonlara neden
olabilir. Temas halinde sıvıyı bol sui le yıkayın. Sıvı gözlere
geldiğinde, gözleri ovuşturmayın hemen bol su ile yıkayın ve
derhal doktora müracaat edin.
• Pili kullanmadığınız zamanlarda gereksiz tüketimi
engellemek için yuvasından çıkarın.
TASFİYE
Elektrikli cihazları çevreye uygun bir şekilde tasnif
edin!
Elektrikli cihazlar ev çöpüne atmayın. Elektrik – elektronik
eski cihazlarla ilgili Avrupa normları 2012/19/EC gereğince,
kullanılmış elektrikli cihazlar ayrıştırılarak saklanmalı ve
çevreye uygun geri dönüşümü sağlanmalıdır. Cihazın tasfiyesi
ile ilgili imkanlar için belediye yönetimlerine başvurabilirsiniz.
Pillerin yanlış tasfiyesinden dolayı çevreye zararı!
Piller ev çöpüne atılmaz. İçeriğinde zehrili ağır metaller
içerebilirler bu nedenle kullanılmış olan piller yerel toplama
merkezlerine götürülmelidir.
54
096812 BA_Funkschaltset RCS 2044 N 24.09.14 13:45 Seite 54

Kullanma kılavuzu RCS 2044 N
CİHAZLAR
Gönderi kapsamı
Gönderi kapsamının içeriği:
İki adet Şalter prizi IP 20 (beyaz)
Bir adet Şalter prizi IP 44 (siyah)
Bir adet 4-Kanal uzaktan kumanda, pilli A23
Cihaz genel görünüşü
1
7
8
2
3
6
4
5
1011 9
1 Şalter prizleri IP 20
8 Uzaktan kumandanın
2 Fonksiyon ışıkları
fonksiyon ışığı
3 Şalter prizi IP 44
9 OFF butonu (A,B,C,D)
4 Kapak IP 44
10 Pil bölmesi kapağı
5 Çocuk güvenlikli topraklı
11 ON butonu (A,B,C,D)
prizler
12 DIP-şalteri
6 Topraklı fiş
13 Pil bölmesi
7 Uzaktan kumanda
55
096812 BA_Funkschaltset RCS 2044 N 24.09.14 13:45 Seite 55

Kullanma kılavuzu RCS 2044 N
Cihazların hazırlanması
Cihazları kullanmadan önce,
– pili takmalısınız,
– uzaktan kumanda ve şalter prizleri arasındaki sistem kodunu
senkronize etmelisiniz ve
– uzaktan kumandanın bir bir şalter prizine yönlendirmelisiniz.
Uyarı: Şalter prizleri direkt duvardaki prize takılmalıdır. IP 44
şalter prizi cihaz etiketi üzerinde belirtilen yönde duvar prizine
takılmalı, böylece sıçrama su koruması garanti edilmiş olur
(ok işareti
h yukarı bakmalı).
Pilin uzaktan kumandaya takılması
Dikkat! Pilin doğru kutuplanmasına dikkat edin. Yanlış takılmış
olan pil, hasarlara neden olabilir.
1. Pil bölmesinin (13) kapağını (10) açın.
2. Pili resimde gösterildiği gibi takın.
3. Pil bölmesini (13) kapatın.
4. Uzaktan kumandanın (7) herhangi bir düğmesine basın.
Düğmeye basıldığında fonksiyon ışığı (8) yanar.
Basarken fonksiyon ışığı (8) yanmaz ise, pilden cihaza enerji
gitmemektedir. Pili doğru taktığınızdan emin olun.
Sistem kodunun senkronize edilmesi
Cihazın ilk kullanımından önce, tüm şalter prizleri uzaktan
kumandanın telsiz sinyaline reaksiyon göstermesi için, sistem
kodu senkronize edilmesi gerekmektedir. Bunun için her şalter
prizine uzaktan kumandanın bir tuş çiftinin frekansı tayin
edilmeli, böylece her bir şalter prizi tek tek kumanda edilebilir.
DIP – şalterini uygun bir alet, örneğin küçük bir tornavida ile
56
096812 BA_Funkschaltset RCS 2044 N 24.09.14 13:45 Seite 56

Kullanma kılavuzu RCS 2044 N
ayarlayın, bunun için DIP-şalterini yukarı ya da aşağıya doğru
kaydırın.
Uzaktan kumandadaki sistem kodunun ayarlanması
1. Pil bölmesinin (10) kapağını (13) açın.
2.
DIP şalteri ile (12) 1 ila 5 arası istenen sistem kodunu ayarlayın.
3. Pil bölmesini (13) kapatın.
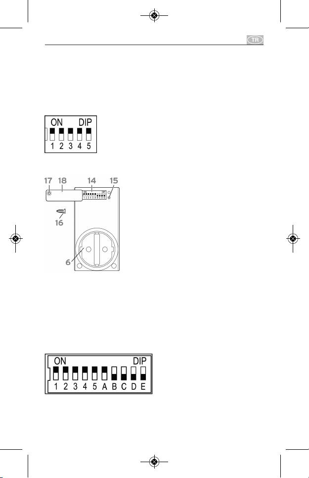
Şalter prizindeki sistem kodunun ayarlanması
Şalter prizinin arka yüzü
1. Anahtarlı prizin arkasında bulunan kapağın (18) vidasını (16)
uygun bir yıldız tornavida ile sökün.
2. Vida girişindeki (17) kapağı (18) hafifçe kaldırın ve dışa
doğru çevirin.
3. DIP şalterleri ile (14) 1 ila 5 arası uzaktan kumandadaki ile
aynı olan sistem kodunu ayarlayın.
Şalter prizini uzaktan kumandadaki bir kumanda tuşuna
tayin edin (A, B, C ya da D)
57
096812 BA_Funkschaltset RCS 2044 N 24.09.14 13:45 Seite 57

Kullanma kılavuzu RCS 2044 N
1. DIP şalterleri ile (14) A ila D arası uzaktan kumandanın
kumanda tuşunun ayarlanması:
DIP şalteri dolu değil.
Uzaktan kumanda
Kumanda tuşu DIP-Şalteri şalter prizi
ABCDE
A ON OFF OFF OFF OFF
B OFF ON OFF OFF OFF
C OFF OFF ON OFF OFF
D OFF OFF OFF ON OFF
2. Kapağı (18) içe doğru çevirin ve kapatın.
3. Vidayı (16) vida girişinden (17) gövdeye (15) yerleştirin ve
vidalayın.
Örnek
Uzaktan kumanda da sistem kodu 123 ayarlayın.
Tüm şalter prizlerinde sistem kodu 123 ayarlayın. Ayrıca bir
kumanda tuşu ayarlayın. Resimde A tuş çifti DIP şalteri A ile
ayarlanmıştır:
Cihazın bağlanması
Uzaktan kumandanın telsiz sinyal menzili maksimum 25 metre
olup, yapısal imkanlara bağlıdır.
58
096812 BA_Funkschaltset RCS 2044 N 24.09.14 13:45 Seite 58

Kullanma kılavuzu RCS 2044 N
Menzil mesafesi yapısal (örneğin çelik beton), elektriksel
(örneğin elektrik hatları) ya da elektromanyetik (örneğin
telefon) nedenlere bağlı olarak kesintiye uğrayabilir.
Gerekirse bu arıza kaynaklarını uzaklaştırın ya da arıza
kaynaklarına uygun mesafeyi koruyun.
Şalter prizlerini bağlamak için
• şalter prizlerini duvar prizlerine bağlayın. (siyah IP 44 fişinin
yönüne dikkat edin!)
Uzaktan kumandayı fonksiyonel hale getirmek için
• pilleri pil bölmesine (13) yerleştirin.
KULLANIM
Şalter prizlerinin açılması
1. Şalter prizini (1) ya da (3) bir duvar prizine takın.
2. Bununla birlikte çalışan cihazı topraklı prize (5) takın.
3. Önceden ayarlanmış olan ON butonunu (11), (örnekleme A)
basın, böylece şalter prizi (1) ya da (3) çalışacaktır.
Uzaktan kumandanın (8) fonksiyon ışığı her butona basıldığına
yanar. IP 20 şalter prizinin fonksiyon ışığı (2) yanıyor.
Şalter prizlerinin kapatılması
1. Önceden ayarlanmış olan OFF butonunu (9), (örnekleme A)
basın, böylece şalter prizi (1) ya da (3) kapanacaktır.
Uzaktan kumandanın (8) fonksiyon ışığı her butona basıldığına
yanar. IP 20 şalter prizinin fonksiyon ışığı (2) söner.
TEMİZLEME
Dikkat! Elektrik çarpması nedeniyle tehlike.
Cihazı temizlemeden önce elektrik ağından ayırın.
Dikkat! Elektrik çarpması nedeniyle tehlike.
Cihazin icerisinde su girmemesine dikkat edin. Cihaza
giren su kisa devreye neden olabilir.
Dikkat! Agresif temizlik maddeleri nedeniyle tehlike.
Temizlik için asla agresif ya da çizen temizlik maddeleri
kullanmayın. Cihazı yumuşak, nemli ve narin bir bez ile silin.
Bir sonraki kullanımdan önce cihazın tamamen kuruduğundan
emin olun.
59
096812 BA_Funkschaltset RCS 2044 N 24.09.14 13:45 Seite 59

Kullanma kılavuzu RCS 2044 N
BAKIM
Pilleri düzenli aralıklarla hasar konusunda kontrol edin.
TEKNİK BİLGİLER
İşletme gerilimi 230 V ~ 50 Hz
Şalter gerilimi 230 V ~ 4,35 A
Şalter performansı şalter prizi mak.1000 W
Telsiz sinyal menzili mak. 25 m
İşletme frekansı 433,92 MHz
Çevrenin derecesi 0 ° bis 35 °C
Saklama derecesi - 40 ° bis 70 °C
Pil 12 Volt, Typ A 23
Güvenlik türü 2 x IP 20, 1 x IP 44
EG-konform
Uygunluk deklarasyonu
Aşağıda belirtilen Avrupa Yönergeleriyle uyum sağlayarak
CE-işareti konmuştur:
1999/5/EG R&TTE-Yönergesi
2006/95/EG Düşük voltaj yönergesie
2004/108/EG EMV-Yönergesi
2011/65/EU (RoHS II)
Uygunluk deklarasyonuna aşağıdaki linkten ulaşılabilir:
www.brennenstuhl.com/konformitaetserklaerung/ke_1507400.pdf
Üretici
Hugo Brennenstuhl GmbH u. Co. KG
Seestraße 1-3
72074 Tübingen
Almanya
Daha fazla bilgi icin web sayfamiz www.brennenstuhl.com’da
Service/FAQ ziyaret etmenizi tavsiye ederiz.
60
096812 BA_Funkschaltset RCS 2044 N 24.09.14 13:45 Seite 60

