Brennenstuhl PIR Motion Detector PIR 110 IP44 White – страница 2
Инструкция к Brennenstuhl PIR Motion Detector PIR 110 IP44 White

PIR 110/180
lement. Installez l’unité de manière à l’orien-
ter sur la zone dans laquelle les mouvements
doivent être reconnus.
INSTALLATION DE L‘UNITÉ (voir dessin)
Assurez-vous qu’aucun courant ne passe
dans le câble de réseau. Mettez hors tension
ou ôtez le fusible correspondant avant d’exé-
cuter les travaux d‘électricité.
1. Dévissez la vis (5) de la plaque de montage
(1), retirez le boîtier du capteur (3) et sortez
le bornier (4) du boîtier.
2. Fixez la plaque de montage (1) avec les vis
murales (2) sur le lieu de montage.
3. Raccordez le câble de réseau et les câbles de
lampe au bornier (4) comme décrit sur le
dessin, en faisant sortir les câbles du boîtier
et passer par le joint en caoutchouc fourni à
la livraison. Fixez ensuite le câble de réseau
à l’aide du serre-câble. Replacez la bornier.
Fixez le boîtier du capteur (3) sur la plaque
de montage (1) avec la vis de la plaque de
montage (5).
Après achèvement du montage, vous pouvez
régler la zone de surveillance et l’état
fonctionnel du détecteur de mouvement.
21
011409 Bewegungsmelder PIR 110_180_011409 Bewegungsm

PIR 110/180
TEST DE MOUVEMENT :
Quand le détecteur de mouvement est sous
pression, il commence d’abord une phase
d’ »échauffement« qui dure env. 1 minute et
passe ensuite automatiquement en »AUTO
MODE«. Dès qu’il est en »AUTO MODE«, vous
pouvez exécuter un test de mouvement, en
réglant le bouton de réglage LUX en position
»Jour« () et le bouton de réglage TIME sur
minimum (-). Vous pouvez contrôler la zone de
surveillance en vous déplaçant devant le
détecteur de mouvement. Dès que le détecteur
de mouvement reçoit un signal déclencheur
(comme par exemple le mouvement d’une per-
sonne) à l’intérieur de sa zone de surveillance,
la lampe raccordée s’allume pour le laps de
temps réglé au préalable. La zone de saisie
peut être adaptée individuellement par un
réglage horizontal et vertical du bouton du
capteur.
Après achèvement du test de mouvement,
mettez le régulateur LUX en position »Nuit«
() pour vous assurer que le détecteur de
mouvement fonctionne uniquement de nuit,
et réglez la durée d’éclairage souhaitée avec
le régulateur TIME.
22
011409 Bewegungsmelder PIR 110_180_011409 Bewegungsm

PIR 110/180
RÉGLAGE DE LA SENSIBILITÉ DE
RÉPONSE :
Le détecteur de mouvement possède un
capteur intégré, qui peut distinguer entre la
lumière du jour et l‘obscurité.
La position () indique que la lampe raccordée
est allumée par le détecteur de mouvement
jour et nuit.
La position () indique que la lampe raccordée
est allumée par le détecteur de mouvement
pendant la nuit uniquement.
Avec le bouton de réglage LUX, vous pouvez
régler la luminosité souhaitée avec laquelle la
lumière doit être allumée.
RÉGLAGE DE LA DURÉE D’ÉCLAIRAGE :
La durée d’éclairage est la durée de temps
pendant laquelle le détecteur de mouvement
garde la lampe allumée après une activation.
Il est possible de régler la durée d’éclairage
d’env. 10 secondes jusqu’à env. 4 minutes.
La durée d’éclairage est réduite en tournant le
bouton de réglage TIME de (+) vers (-).
Attention : avec chaque reconnaissance de
mouvement, cette période de temps recom-
mence depuis le début.
23
011409 Bewegungsmelder PIR 110_180_011409 Bewegungsm

PIR 110/180
CARACTÉRISTIQUES TECHNIQUES
TENSION DE
RESEAU : 220-240 V~ 50 Hz
CAPACITÉ DE
COUPURE : max. 1.000 W avec am-
poules à incandescence
max. 300 W avec tubes
fluorescents
max. 100 W avec lampes
à LED
ANGLE DE
SURVEILLANCE : env. 110° horizontal (PIR
110), voire 180° horizontal
(PIR 180) et 60° (vertical)
PORTÉE : max. 12 mètres
DURÉE
D’ÉCLAIRAGE : réglable de 10 (±5)
secondes jusqu’à 4 (±1)
minutes
SENSIBILITÉ DE
DÉTECTION : réglable de la lumière du
jour jusqu’à la nuit
TEMPERATURE
DE AMBIANTE : -10°C – +40°C
TYPE DE
PROTECTION : IP44
24
011409 Bewegungsmelder PIR 110_180_011409 Bewegungsm

PIR 110/180
TRAITEMENT DES DÉCHETS
Eliminez les appareils électriques en res-
pectant l’environnement ! Les appareils
électroniques n’ont pas leur place dans
les ordures ménagères. Conformément à la di-
rective européenne 2002/96/CE sur les appa-
reils électriques et électroniques, les appareils
électriques usagers doivent être collectés sé-
parément, et déposés dans un centre de recy-
clage respectueux de l’environnement. Vous
pouvez connaître les possibilités de traitement
des déchets de l’appareil ayant servi auprès de
votre administration communale ou munici-
pale.
25
011409 Bewegungsmelder PIR 110_180_011409 Bewegungsm

Installatie- en bedienings-
handleiding
infrarood-bewegingsmelder
PIR 110 en PIR 180
Hartelijk dank voor het kiezen van deze
bewegingsmelder.
Gelieve deze bedieningshandleiding te lezen
vóór u met de installatie begint, en bewaar
ze voor toekomstige referentie.
BELANGRIJK: Voer geen technische veran-
deringen uit aan dit product. Dit product is
niet geschikt voor gebruik met dimmerscha-
kelaars. De bewegingsmelder moet door een
gekwalificeerde elektricien conform de IEC-
voorschriften i.v.m. bekabeling worden geïn-
2
stalleerd (buigvaste kabel 0,75 - 1,50 mm
).
De installatie dient in overeenstemming met
de nationale voorschriften en wetten te ge-
schieden. Er bestaan in tal van landen extra
eisen ten opzichte van de nationale voor-
schriften. Vóór u begint te werken aan een
elektrische installatie, dient u te verzekeren
dat de stroom is uitgeschakeld
(zekering/hoofdschakelaar).
De bewegingsmelder mag uitsluitend voor
het schakelen van lampen worden gebruikt.
26
011409 Bewegungsmelder PIR 110_180_011409 Bewegungsm

PIR 110/180
L
Bruin
Stroomvoorziening
N
{
Blauw
PIR
Lampen
LS
{
}
Zwart
j Montageplaat
k Muurschroef
l Sensorbehuizing
m Klemmenbord
n Montageplaatschroef
27
011409 Bewegungsmelder PIR 110_180_011409 Bewegungsm

PIR 110/180
MONTAGEPLAATS
Houd rekening met de volgende punten bij het
uitkiezen van een montageplaats:
1. De sensor presteert optimaal wanneer hij op
een hoogte van 2,5 meter wordt aange-
bracht.
2. Vermijd het plaatsen van de sensor nabij
bomen of struiken, want dit kan bij natte of
winderige weersomstandigheden een onge-
wenst inschakelen van de lamp veroorzaken.
3. De reikwijdte en gevoeligheid hangen af van
de omgevingstemperatuur. Vermijd daarom
de sensor te plaatsen nabij, of te richten op,
warmtebronnen zoals rookkanalen, want dit
kan een ongewenst inschakelen veroorzaken.
4. Richt de bewegingsmelder niet op felle lich-
ten, omdat hij dan niet zal werken wanneer
de draaiknop LUX op nachtmodus is inge
steld (positie).
5. Installeer de melder niet nabij sterke elektro
magnetische storingsbronnen, want deze
kunnen een fout inschakelen veroorzaken.
6. De sensor reageert het meest gevoelig op
bewegingen die schuin over het detectiege-
bied lopen. Bewegingen die rechtstreeks
naar de sensor toe of van hem weg gaan,
worden minder goed herkend. Breng de sen-
sor zo aan, dat hij op die gebieden gericht is
waarin de bewegingen zullen worden her
kend.
28
011409 Bewegungsmelder PIR 110_180_011409 Bewegungsm

PIR 110/180
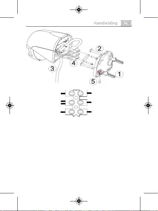
MONTAGE VAN DE MELDER (zie tekening)
Controleer of er geen stroom door de netka-
bel vloeit. Schakel de stroom uit of verwijder
de desbetreffende zekering vóór u elektrici-
teitswerken uitvoert.
1. Draai de schroeven (5) van de montageplaat
(1) los, verwijder de sensorbehuizing (3) en
neem het klemmenbord (4) uit de behuizing.
2. Bevestig de montageplaat (1) met de muur-
schroeven (2) op de montageplaats.
3. Sluit de netkabel en de lampenkabel op het
klemmenbord (4) aan zoals op de tekening,
waarbij de kabel door de meegeleverde rub-
beren dichting uit de behuizing wordt ge-
voerd. Maak vervolgens de netkabel vast aan
de hand van de kabelklem. Plaats het klem-
menbord er opnieuw op. Bevestig de sensor-
behuizing (3) met de montageplaatschroe-
ven (5) aan de montageplaat (1).
Na het voltooien van de montage kunt u het
detectiegebied en de werkingsstatus van de
bewegingsmelder instellen.
29
011409 Bewegungsmelder PIR 110_180_011409 Bewegungsm

PIR 110/180
BEWEGINGSTEST:
Nadat de bewegingsmelder op de netstroom is
geschakeld, begint er eerst een “OPWARM”-
fase van ongeveer 1 minuut, die vervolgens au-
tomatisch overschakelt in „AUTO MODE“.
Zodra de melder in “AUTO MODE“ staat, kunt u
een bewegingstest uitvoeren door de LUX-in-
stelknop in de positie „Dag“ () te schakelen
en de instellingsknop TIME op Minimum (-) te
zetten. U kunt het detectiegebied testen door
naar de bewegingsmelder toe te bewegen.
Zodra de bewegingsmelder een signaal (zoals
het bewegen van een persoon) binnen zijn de-
tectiegebied ontvangt, wordt de aangesloten
lamp gedurende een vooraf ingestelde tijds-
spanne ingeschakeld. Het detectiegebied kan
individueel aangepast worden door de sensor-
kop horizontaal en verticaal te bewegen.
Schakel na het voltooien van de bewegings-
test de LUX-instelknop op de positie
“Nacht” () om te verzekeren dat de bewe-
gingsmelder enkel ‘s nachts werkt, en stel de
gewenste verlichtingstijd in aan de hand van
de instelknop TIME.
30
011409 Bewegungsmelder PIR 110_180_011409 Bewegungsm

PIR 110/180
DE AANSPREEKGEVOELIGHEID
INSTELLEN:
De bewegingsmelder beschikt over een
ingebouwde sensor, die een onderscheid kan
maken tussen daglicht en duisternis.
De () positie duidt aan dat de aangesloten
lamp zowel overdag als ‘s nachts door de
bewegingsmelder wordt ingeschakeld.
De () positie duidt aan dat de aangesloten
lamp alleen ‘s nachts door de bewegingsmelder
wordt ingeschakeld.
U kunt de gewenste lichtsterkte waarbij de
lamp dient te worden ingeschakeld, instellen
aan de hand van de draaiknop LUX.
DE VERLICHTINGSTIJD INSTELLEN:
De verlichtingstijd is de tijdsduur dat de
bewegingsmelder de lamp laat branden na een
activering. De verlichtingstijd kan ingesteld
worden van ongeveer 10 seconden tot onge-
veer 4 minuten. De verlichtingstijd wordt
verminderd door de draaiknop TIME van (+)
naar (-) te draaien.
Opgelet: Telkens wanneer er een beweging
wordt gedetecteerd, begint deze verlichtings-
tijd opnieuw.
31
011409 Bewegungsmelder PIR 110_180_011409 Bewegungsm

PIR 110/180
TECHNISCHE INFORMATIE
NETSPANNING: 220-240 V~ 50 Hz
SCHAKELVERMOGEN: max. 1.000 W met
gloeilampen
max. 300 W met
fluorescentielampen
max. 100 W met
LED-lampen
DETECTIEHOEK: Ongeveer 110° horizon-
taal (PIR 110) c.q. 180°
horizontaal (PIR 180)
en 60° (verticaal)
REIKWIJDTE: Max. 12 meter
VERLICHTINGSTIJD: Instelbaar van 10 (±5)
seconden tot 4 (±1)
minuten
AANSPREEK-
GEVOELIGHEID: Instelbaar van daglicht
tot nacht
BEDRIJFS-
TEMPERATUUR: -10°C – +40°C
VEILIGHEIDSKLASSE: IP44
32
011409 Bewegungsmelder PIR 110_180_011409 Bewegungsm

PIR 110/180
AFVALVERWIJDERING
Elektrische apparaten dienen milieu
vriendelijk te worden verwijderd! Elektri-
sche apparaten horen niet bij het ge-
wone huisvuil! Conform de Europese richtlijn
2002/96/EG betreffende elektrische en elek-
tronische apparatuur moeten afgedankte elek-
trische apparaten gescheiden ingezameld
worden en op een milieuduurzame manier
gerecycleerd worden. Vraag bij uw gemeente-
bestuur naar de mogelijkheden voor het
verwijderen van afgedankte apparaten.
33
011409 Bewegungsmelder PIR 110_180_011409 Bewegungsm

Installations- och
bruksanvisning
Infrarött rörelsevakt
PIR 110 och PIR 180
Vi är glada att du bestämde dig för att köpa
detta rörelsevakt.
Läs bruksanvisningen innan du påbörjar
monteringen och spara den så att du kan slå
upp i den i framtiden.
VIKTIGT: Gör inga tekniska förändringar på
den här produkten Produkten är inte ämnad
för användning i samband med dimmers
Rörelselarmet måste installeras av en kvali-
ficerad elektro-fackman i överensstämmelse
med IEC:s föreskrifter (stel kabel 0,75 -
2
1,50 mm
). Installationen måste utföras i en-
lighet med nationella föreskrifter och lagar.
I många länder finns det extra krav utöver de
nationella föreskrifterna. Innan arbeten med
elektriska anläggningar måste strömmen
stängas av (säkring/huvudströmbrytare).
Rörelsedetektorn får endast användas för
att koppla lampor.
34
011409 Bewegungsmelder PIR 110_180_011409 Bewegungsm

PIR 110/180
L
Brun
Förbrukning
N
{
Blå
PIR
LS
{
}
Lampa
Svart
j Monteringsplatta
k Väggskruv
l Sensorhölje
m Klämlist
n Monteringsskruv
35
011409 Bewegungsmelder PIR 110_180_011409 Bewegungsm

PIR 110/180
ENHETENS MONTERINGSSTÄLLE
Tag följande punkter i beaktan när du väljer
monteringsställe:
1. Sensorn når sin optimala prestanda när den
sitter på 2,5 meters höjd.
2. Undvik att sätta upp larmet i närheten av
buskar eller träd, då dessa kan vålla falsk
larm vid vått eller blåsigt väder.
3. Räckvidden och känsligheten är beroende av
omgivningen temperatur. Undvik därför att
placera det i närheten av värmekällor som
t.ex. rökutsläpp eller rikta bort det då detta
kan orsaka falsklarm.
4. Undvik att rikta det mot starka lampor, efter
som enheten inte fungerar då Lux-vredet är
inställt för nattläge (Position).
5. Undvik att placera larmet i närheten av kraf-
tiga elektromagnetiska störningskällor då
dessa kan orsaka falsklarm.
6. Sensorn reagerar på de minsta rörelser som
går tvärs över övervakningsområdet. Rörel-
ser riktade direkt mot larmet eller bort från
det är svårare att upptäcka. Sätt upp enhe-
ten så att den är riktad mot området där rö-
relser skall upptäckas.
36
011409 Bewegungsmelder PIR 110_180_011409 Bewegungsm

PIR 110/180
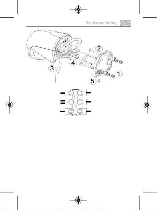
UPPSÄTTNING AV ENHETEN (se illustration)
Försäkra dig om att ingen ström passerar
genom nätkabeln. Stäng av strömmen eller
avlägsna den aktuella säkringen innan det
elektriska arbetet påbörjas.
1. Lossa monteringsplattans (1) skruv (5), av-
lägsna sensorhöljet (3) , och ta ut klämmlis-
ten (4) ur höljet.
2. Fäst monteringsplattan (1) med väggskruven
(2) på monteringsstället.
3. Tryck in nätsladden och lampsladden i
klämmlisten (4) som visas på illustrationen,
då kabeln förs igenom den tillhörande gum-
mitätningen i höljet. Fixera sedan nätsladden
med hjälp av sugproppsklämman. Passa
åter in klämmlisten. Sätt fast sensorhöljet (3)
med monteringsplatte-skruven (5) på monte-
ringsplattan (1).
När monteringen är klar kan du ställa in
rörelselarmets övervakningsområde och
funktionsstatus.
37
011409 Bewegungsmelder PIR 110_180_011409 Bewegungsm

PIR 110/180
RÖRELSE-TEST:
När rörelselarmet är strömsatt inträder först
en cirka 1 minut lång „UPPVÄRMNINGS“-fas
och går sedan automatiskt in i „AUTO MODE“.
Så snart det är i „AUTO MODE“ kan en rörelse-
test utföras, då LUX-inställningsknappen sätts i
„Dag“-läget () och TIME-inställningsknappen
sätts till minimum (-). Du kan kontrollera över-
vakningsområdet genom att röra dig mot rörel-
selarmet. Så snart rörelselarmet tar emot en
utlösningssignal (som t.ex. en persons rörelse)
inom övervakningsområdet, tänds lampan så
länge som den är förinställd att lysa. Täck-
ningen kan ställas in horisontellt och vertikalt
genom att individuell justering av sensorhuvu-
det.
Sätt sedan, efter avslutat rörelse-test, LUX-
INSTÄLLNINGSSPAKEN i läget „natt“ (),
för att säkerställa att larmet endast arbetar
nattetid och ställ in önskad lys-tid med
TIME-INSTÄLLNINGSSPAKEN.
38
011409 Bewegungsmelder PIR 110_180_011409 Bewegungsm

PIR 110/180
INSTÄLLNING AV KÄNSLIGHETEN:
Rörelselarmet har en inbyggd sensor som kan
skilja på dagsljus och nattmörker.
() Positionen visar att lampan bara lyser
nattetid, när rörelselarmet är påslaget.
() Positionen visar att lampan bara lyser
nattetid, när rörelselarmet är påslaget.
Du kan ställa in önskad ljusstyrka som skall
lysa, med LUX-vredet.
INSTÄLLNING AV LYSTIDEN:
Lystiden är den tid rörelselarmet låter lampan
lysa efter att ha aktiverats. Lystiden kan ställas
från cirka 10 sekunder till 4 minuter. Genom att
vrida på TIME-knappen från (+) till (-) reduceras
lystiden.
OBS: Vid varje upptäckt av rörelse börjar tids-
rymden om från början.
39
011409 Bewegungsmelder PIR 110_180_011409 Bewegungsm

PIR 110/180
TEKNISKA DATA
NÄTSPÄNNING: 220-240 V~ 50 Hz
FÖRBRUKNING: max. 1.000 W med
glödlampor
max. 300 W med
fluorecerande glödlampor
max. 100 W med LED-
lampor och -belysning
ÖVERVAKNINGS-
VINKEL: ungefär 110° horison-
tellt (PIR 110) till 180° hori-
sontellt (PIR 180) och 60°
(vertikalt)
RÄCKVIDD: Max. 12 meter
LYSTID: Inställbar från 10 (± 5) se-
kunder till 4 (± 1) minuter
KÄNSLIGHET: Inställbar från dagsljus till
natt
DRIFTTEMPERATUR:
-10°C – +40°C
SKYDDSKLASS: IP44
40
011409 Bewegungsmelder PIR 110_180_011409 Bewegungsm

