Danfoss AME 86: инструкция
Раздел: Климатическое Оборудование
Тип: Радиатор
Инструкция к Радиатору Danfoss AME 86

Installation Guide
AME 85, AME 86
AME 85/AME 86 + VFS 2 (DN 65-100)
AME 85/AME 86 + VF 2 (DN 125, 150) AME 85/AME 86 + VF 3 (DN 125, 150)
ENGLISH
AME 85, AME 86 www.danfoss.com Page 4
DANSK
AME 85, AME 86 www.danfoss.com Side 6
DEUTSCH
AME 85, AME 86 www.danfoss.de Seite 8
FRANÇAIS
AME 85, AME 86 www.danfoss.fr Page 10
ESPAÑOL
AME 85, AME 86 www.danfoss.es Page 12
NEDERLANDS
AME 85, AME 86 www.danfoss.nl Page 14
SUOMI
AME 85, AME 86 www.danfoss. Sivu 16
POLSKI
AME 85, AME 86 www.danfoss.pl Strona 18
РУССКИЙ
AME 85, AME 86 www.danfoss.ru Стр. 20
ROMÂNĂ
AME 85, AME 86 www.incalzire.danfoss.com Pagina 22
中文
AME 85, AME 86 www.danfoss.com.cn
第24页
Danfoss Heating VI.AC.O2.2V DH-SMT/SI
1

Installation Guide AME 85, AME 86
❶
①
Remove tap
②
Push
③
Turn
❷
❸
❹
2
DH-SMT/SI VI.AC.O2.2V Danfoss Heating

Installation Guide AME 85, AME 86
❺
②
③
①
④ ⑤ ⑥
⑦
⑧
⑨
⑩
Danfoss Heating VI.AC.O2.2V DH-SMT/SI
33

Installation Guide AME 85, AME 86
ENGLISH
Safety Note
Output signal
SW5: 0(2)-5(6) V/5(6)-10 V ❺⑥
Output signal from the terminal X can be
used for indication of the current position.
Note:
Range depends on the DIP switch settings.
Prior to assembly and commissioning
This function is available if switch No.4: ---/
to avoid injury of persons and damages
Sequential is set.
Supply voltage
of the devices, it is absolutely necessary
Supply voltage (24V~ -15 to +10 %, 50 Hz)
to carefully read and observe these
SW6: Proportional/3 point ❺⑦
must be connected to the terminals SN
instructions.
Actuator can operate as “simple” 3-point
and SP.
actuator, if the 3-point function is selected.
Necessary assembly, start-up, and
Power supply should be connected on
maintenance work must be performed
SN and SP ports. On port 1 or 3 24 VAC
Dimensions ❹
only by qualied, trained and authorized
signal is connected for rising or lowering
personnel.
of actuator. Return signal X indicates the
Prior to assembly and maintenance work
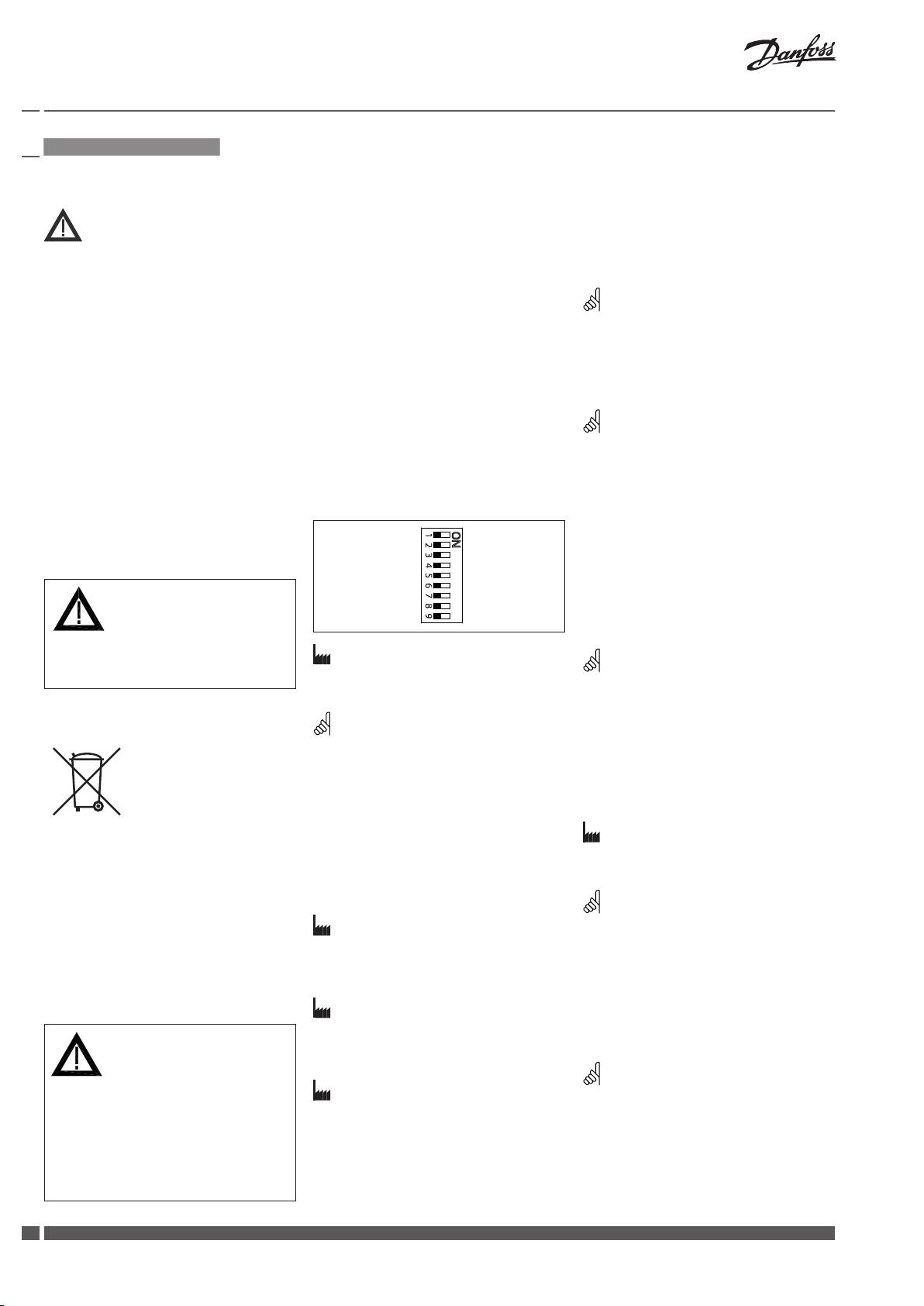
DIP switch settings ❺
correct position.
on the controller, the system must be:
U I
- depressurized,
2 V_--- V 0 V_--- V
Note:
Direct Inverse
- cooled down,
--- Sequential
If 3 point function is selected actuator does
- emptied and
0(2)_5(6) V 5(6)_10 V
not respond to any control signal on port Y.
Proportional 3 point/RL
- cleaned.
LOG. ow LIN. ow
It only rises and lowers spindle if power is
100 % k
VS
RED. k
VS
Reset Reset
supplied on port 1 or 3.
Please comply with the instructions of the
system manufacturer or system operator.
SW7: LOG. ow/LIN. ow ❺⑧
Factory settings:
Factory setting is:
ALL switches are on OFF position! ❺①
LOG. Flow (characteristic of valve is
Do not remove the cover before the power
unchanged)
Note:
supply is fully switched o.
All combinations of DIP switches are
Note:
allowed. All functions that are selected are
added consecutively. There is only one logic
If this function is used in combination with
Disposal instruction
override of functionalities i.e. the switch No.6
non-logarithmic valves the characteristic
Proportional/3 point, which sets actuator to
of motorised valve will be anti-logarithm of
This product should be
ignore control signal and works as a “simple”
valve’s characteristic (e.g. valve with linear
dismantled and its
3-point actuator
characteristic will be transformed to quick
components sorted, if
open characteristic).
possible, in various groups
SW1: U/I ❺②
before recycling or disposal.
SW8: 100 % K
/RED. K
❺⑨
VS
VS
Factory setting:
Always follow the local disposal
regulations.
Voltage control signal (0-10 V).
Note:
This function works proper only with
SW2: 2-10 V/0-10 V ❺③
logarithmic (equal percentage) valves.
Mounting
Factory setting is:
SW9: Reset ❺⑩
Fix the AME 85, AME 86 on the valve.
2-10 V.
After the actuator has been connected
Admissible Installation Positions ❷.
to power supply, the actuator will start
SW3: Direct/Inverse ❺④
the self-adjustment procedure. The
indicator LED ashes until self adjustment
Wiring ❸
Factory setting is:
is nished. The duration depends on the
DIRECT
spindle travel and will normally last a few
minutes. The stroke length of the valve is
SW4: ---/Sequential ❺⑤
stored in the memory after self adjustment
Two actuators can be set to work parallel
Do not touch anything on the PCB!
has been completed. To restart self
with one control signal. If the SEQUENTIAL
Switch o the power line before wire the
adjustment, change the position of RESET
is set than an actuator responds to split
actuator! Lethal voltage!
switch (switch No.9). If the supply voltage
control signal (see 0(2)-5(6) V/5(6)-10 V).
Wire the actuator according to the wiring
is switched o or falls below 80 % in more
diagram.
than 0.1 s, the current valve position will be
Note:
stored in the memory and all data remain
This combination works in combination with
saved in the memory also after a power
Control signal
switch No.5: 0(2)-5(6)V/5(6)-10 V
supply cut-out.
Control signal from the controller must be
connected to terminals Y (input signal) and
SN (common) on the AME printed board.
4
DH-SMT/SI VI.AC.O2.2V Danfoss Heating

Installation Guide AME 85, AME 86
Manual override ❶
The manual override is applied by rotating
the 8 mm Allen key (not supplied) to the
required position. Observe the direction of
rotation symbol.
Function test
The indicator light shows whether the
positioner is in operation or not. Moreover,
the indicator shows the control status and
faults.
Constant light
- normal operation
No light
- no operation or no power supply
Intermittent light (1 Hz)
- self adjusting-mode
Intermittent light (3 Hz):
- power supply too low
- insucient valve stroke (<20 s)
- end-position cannot be reached.
Danfoss Heating VI.AC.O2.2V DH-SMT/SI
55

Installation Guide AME 85, AME 86
DANSK
Sikkerhedsbestemmelser
Udgangssignal
SW 5: 0(2)-5(6) V/5(6)-10 V ❺⑥
Udgangssignal fra terminal X kan anvendes
til indikering af aktuel position.
Bemærk:
Området afhænger af DIP kontakternes
Denne funktion er tilgængelig hvis kontakt
For at undgå personskader og
indstilling.
Nr. 4:---/Sekvens er indstillet.
erstatningsskader på produkter, er det
absolut nødvendig at gennemlæse
Forsyningsspænding
SW 6: Proportional/3-punkt ❺⑦
følgende instruktion.
Forsyningsspændingen
Aktuatoren arbejder som en “simpel”
(24V~ –15/+10 %,50 Hz)
3-punkt aktuator, hvis 3-punkt funktionen
Montering, opstart og vedligeholdelse må
skal tilsluttes klemme SN og SP.
er valgt. Forsyningsspænding tilsluttes
kun foretages af kvaliceret og autoriseret
klemmerne SN og SP. På klemmerne 1 og
personale.
3 tilsluttes 24 VAC signal til åbne-lukke
Mål ❹
Forud for monterings- og
funktion af aktuatoren. Udgangssignal X
vedligeholdelsesarbejde på regulatoren
indikerer korrekt position.
skal systemet være:
Indstilling af DIP kontakter ❺
- trykløst
Bemærk:
U I
- nedkølet
2 V_---V 0 V_---V
Hvis 3-punkt funktionen er valgt, reagerer
- tømt
Direkte Sekventiel
--- Proportional
aktuatoren ikke på signaler på klemme Y.
- rengjort
0(2) V_5(6) V 5(6) V_10 V
Motorspindelen bevæger sig kun opad eller
Omvendt 3-punkt/RL
Leverandørens retningslinier skal følges.
LOG. ow LIN. ow
nedad ved signaler på klemme 1 eller 3.
100 % Kvs Red. Kvs
Reset Nulstil
SW 7: LOG. ow/LIN. ow ❺⑧
Fabriksindstilling:
Fjern ikke dækslet, før strømforsyningen er
Fabriksindstilling:
helt koblet fra.
Alle kontakter er I OFF position! ❺①
LOG.ow (ventilkarakteristikken er uændret).
Bemærk:
Bemærk:
Anvendes denne funktion i kombination med
Bortskaelsesinstruktion
Alle kombinationer af kontaktindstillinger
ikke logaritmiske ventiler, vil karakteristikken
er tilladelige. Alle funktionsvalg er
for motorventilen blive modsat logaritmisk
Dette produkt skal, om
tilføjet en efter en. Der er kun en logisk
i forhold til ventilkarakteristikken (d.v.s.
muligt, adskilles og sorteres i
overskridelse af funktionaliteten: Kontakt
en ventil med lineær karakteristik vil blive
dets forskellige
Nr. 6 Proportional/3-punkt styring, som
transformeret til hurtig åben karakteristik).
materialegrupper, før det
sætter aktuatoren i stand til at ignorere
genbruges eller bortskaes.
reguleringssignalet og arbejde som en
SW 8: 100% K
/RED. K
❺⑨
VS
VS
Lokal lovgivning for bortskaelse skal altid
”simpel” 3-punkt motor.
overholdes.
Bemærk:
SW 1: U/I ❺②
denne funktion virker kun ved logaritmiske
ventiler.
Fabriksindstilling:
Montering
Spændingssignal (0-10 V).
Fastgør AME 85, AME 86 på ventilen.
SW 9: Reset ❺⑩
Tilladelige positioner. ❷
Efter tilslutning af forsyningsspænding,
SW 2: 2-10 V/0-10 V ❺③
vil aktuatoren starte en selvjusterings
procedure. LED indikatoren blinker indtil
Fabriksindstilling:
Elektrisk tilslutning ❸
selvjusteringen er færdig. Varigheden
2-10 V.
afhænger af spindelvandringen og tager
normalt nogle få minutter. Ventilens
SW 3: Direkte/Indirekte ❺④
spindelvandring lagres i hukommelsen
Rør ikke ved noget som helst på printkortet!
efter selvjusteringen er færdig. For at
Fabriksindstilling:
Sluk for strømmen, inden ledningerne
starte selvjustering, skiftes positionen
trækkes til aktuatoren! Livsfarlig spænding!
DIREKTE
af RESET kontakten (kontakt Nr. 9). Hvis
Træk ledningerne til aktuatoren iht.
forsyningsspændingen svigter eller
ledningsdiagrammet.
SW 4: ---/Sekvens ❺⑤
falder til under 80 % i mere end 0,1
To aktuatorer kan arbejde parallelt med
sekund, vil den aktuelle ventilposition
et reguleringssignal. I SEKVENS indstilling
Styresignal
lagres i hukommelsen og alle data bliver
reagerer aktuatoren på delt styresignal
Styresignalet fra regulatoren skal tilsluttes
bevaret i hukommelsen, også efter at
(se 0(2)-5(6) V/5(6)-10 V).
terminal Y (indgangssignal) og SN (fælles)
forsyningsspændingen afbrydes.
på AME´s klemrække.
Bemærk:
Denne kombination arbejder sammen med
kontakt Nr. 5: 0(2)-5(6) V/5(6)-10 V
6
DH-SMT/SI VI.AC.O2.2V Danfoss Heating

Installation Guide AME 85, AME 86
Manuel overstyring ❶
Aktiver manuel overstyring ved at dreje
den 8-mm unbrakonøgle (ikke inkluderet)
til den ønskede position. Se retning på
rotationssymbolet.
Funktions test
Lysdioden indikerer, om aktuatoren er
i drift, ligesom den viser driftsstatus og
eventuelle fejl.
Konstant lys
- normal drift
Intet lys
- ikke i drift, ingen strømforsyning
Interval blink (1Hz)
- selvjusteringsmodul
Interval blink (3 Hz)
- strømforsyning for lav
- ventil slaglængde utilstrækkelig
- endestilling kan ikke nås.
Danfoss Heating VI.AC.O2.2V DH-SMT/SI
77

Installation Guide AME 85, AME 86
DEUTSCH
Sicherheitshinweise
Elektrischer Anschluß ❸
SW2: 2-10 V/0-10 V ❺③
Werkseinstellung:
2-10 V.
Rør ikke ved noget som helst på printkortet!
Vor dem Einbau und der Inbetriebnahme
Sluk for strømmen, inden ledningerne
SW3: Direct/Inverse ❺④
ist zur Vermeidung von Personenschäden
trækkes til aktuatoren! Livsfarlig spænding!
und Schäden an den Geräten die
Werkseinstellung:
Træk ledningerne til aktuatoren iht.
vorliegende Betriebsanleitung sorgfältig
ledningsdiagrammet.
DIRECT
durc Hzulesen und unbedingt zu
beachten.
SW4: ---/Sequentiell ❺⑤
Steuersignal
Zwei Antriebe können parallel mit einem
Einbau-, Inbetriebnahme- und
Das Steuersignal des Reglers ist an Klemme
Steuersignal arbeiten. Bei der Einstellung
Wartungsarbeiten dürfen nur durch
Y (Eingangssignal) und Klemme SN
SEQUENTIAL Antrieb reagiert auf geteilten
geschultes und autorisiertes Fachpersonal
(Sammelklemme) an der AME-Printplatte
Steuersignal (sehe 0(2)-5(6) V/5(6)-10 V).
durchgeführt werden.
anzuschließen.
Vor dem Einbau des Ventils und der
BEMERKUNG:
anschließenden Montage des Stellantriebs
Ausgangssignal
Diese Kombination funktioniert mit dem
und vor Wartungsarbeiten an der
Das Ausgangssignal von Klemme X kann
Schalter No.5: 0(2)-5(6) V/5(6)-10 V.
Ventileinheit muss die Anlage:
zur Anzeige der aktuellen Position benutzt
werden. Der Bereich hängt von der Brücke
SW5: 0(2)-5(6) V/5(6)-10 V ❺⑥
- drucklos gemacht werden
- abkühlen
ab.
BEMERKUNG:
- entleert werden
diese Funktion ist wirksam, wenn der Schalter
- gereinigt werden.
Spannungsversorgung
No.4: --- / Sequentiell eingestellt ist.
Die Spannungsversorgung (24V~ –15 bis
Die Vorgaben des Anlagenherstellers oder
+10 %, 50 Hz) ist an Klemme SN und SP
SW6: Proportionäl/3-Punkt ❺⑦
des Anlagenbetreibers sind zu beachten.
anzuschließen.
Bei der gewählten 3-Punkt Funktion kann
der Antrieb als “einfacher” 3-Punkt Antrieb
arbeiten. Die Spannungsversorgung ist an
Klemme SN und SP anzuschließen. Auf der
Abmessungen ❹
Klemme 1 oder 3 = 24 VAC Steuersignal sorgt
Entfernen Sie die Abdeckung nicht,
für stetigen oder absenken der Antriebs.
Das Ausgangssignal von Klemme X kann
bevor die Stromversorgung komplett
Einstellung der DIP Brücke ❺
zur Anzeige der aktuellen Position benutzt
ausgeschaltet ist.
werden.
U I
2 V_---V 0 V_---V
Direkte Sekventiel
--- Proportional
BEMERKUNG:
0(2) V_5(6) V 5(6) V_10 V
Anweisung zur Entsorgung
wenn die 3-Punkt Funktion gewählt wird,
Omvendt 3-punkt/RL
LOG. ow LIN. ow
reagiert der Antrieb nicht auf irgendwelche der
Dieses Produkt sollte
100 % Kvs Red. Kvs
Steuersignale Y Klemme. Der Antrieb bewegt
Reset Nulstil
die Motorenspindel nach oben oder nach unten
ausgebaut und in dessen
bei dem Steuersignal auf Klemme 1 oder 3.
Bestandteile zerlegt werden.
Sortieren Sie die einzelnen
Werkseinstellung:
SW7: LOG. ow/LIN. ow ❺⑧
Bestandteile entsprechend
ALLE Schalter sind in der Position OFF! ❺①
der Entsorgungsgruppen zur
Werkseinstellung:
Wiederverwertung oder Entsorgung.
BEMERKUNG:
LOG. Flow (Ventilcharakteristik bleibt
Beachten sie dabei immer die lokalen
alle Kombinationen von DIP Schalter
unverändert).
sind erlaubt. Gewählte Funktionen sind
Entsorgungsrichtlinien.
hintereinandergelegt. Es gibt nur eine logische
BEMERKUNG:
Umsteuerung der Funktionen: Brücke Nr.6
falls diese Funktion mit dem nicht
proportional / 3-Punkt. Dadurch wird der
logarithmischen Ventil verwendet wird,
Antrieb so umgeschaltet, dass das Signal
übernimmt der Antrieb die Anti-Logarithem
Montage
ignoriert wird und arbeitet als “üblicher”
der Ventilcharakteristik. (Ventil mit linearer
AME 85, AME 86 am Ventil ansetzen.
3-Punkt Anrieb.
Kennlinie wird in die Kennlinie umgewandelt).
Zulässige Temperatur. ❷.
SW1: U/I ❺②
SW8: 100% K
/RED. K
❺⑨
VS
VS
Werkseinstellung:
BEMERKUNG:
Spannungsregelsignal (0-10 V).
diese Funktion arbeitet richtig nur mit
logarithmischen (gleichprozentigen) Ventilen.
8
DH-SMT/SI VI.AC.O2.2V Danfoss Heating

Installation Guide AME 85, AME 86
SW9: Reset ❺⑩
Nach Einschalten der Stromversorgung
startet der Regelantrieb den
Selbstanpassungsvorgang. Die Leuchtdiode
blinkt, bis die Anpassung abgeschlossen
ist. Dies dauert normalerweise einige
Minuten, abhängig von der Distanz
der Spindelbewegung. Die Hublänge
des Ventils wird nach abgeschlossener
Selbstanpassung im Speicher registriert.
Der Selbstanpassungsvorgang kann durch
Drücken der RESET-Taste wiederholt
werden (Schalter No. 9). Bei Ausfall der
Versorgungsspannung - oder beim Absinken
auf einen Wert kleiner 80% - länger als 0,1 s,
wird die aktuelle Ventilposition im Speicher
gespeichert. Alle Daten sind also auch im
Falle einer Stromunterbrechung gesichert.
Manuelle Hubverstellung ❶
Die Handverstellung erfolgt
durch Verstellen mit dem 8-mm-
Innensechskantschlüssels (nicht
im Lieferumfang enthalten) auf
die gewünschte Position. Die
Drehrichtungsanzeige berücksichtigen.
Funktionstest
Die Leuchtdiode zeigt den Motorbetrieb,
den Betriebszustand und eventuelle Fehler
an.
Dauerlicht
- normaler Betrieb
Kein Licht
- nicht in Betrieb oder keine
Stromversorgung
Blinklicht (1 Hz)
- Selbstanpassungsmodus
Blinklicht (3 Hz)
- Versorgungsspannung zu niedrig
- Ventilhublänge ungenügend (<20 s)
- Endposition nicht erreichbar.
Danfoss Heating VI.AC.O2.2V DH-SMT/SI
99

Installation Guide AME 85, AME 86
FRANÇAIS
Sécurité
Signal de commande
SW4: ---/Séquentiel ❺⑤
Le signal du régulateur doit être branché
Deux moteurs peuvent être réglés de telle
sur la borne Y (signal d’entrée) et la borne
manière qu’ils fonctionnent parallèlement
SN (commun) sur la carte imprimée de
avec un signal de commande. Si la fonction
l’AME.
SÉQUENTIEL est réglée, le moteur répond
Pour éviter des dommages physiques et
au signal de commande »split« (voir
matériels, il est absolument nécessaire
Signal de sortie
0(2)-5(6) V/5(6)-10 V).
de lire attentivement et de respecter ces
Le signal de sortie de la borne X peut
instructions avant le montage et la mise en
servir pour indiquer la position actuelle. La
REMARQUE:
service.
zone dépend des réglages du sélecteur de
Cette combinaison fonctionne en
Le travail d’assemblage, de démarrage
fonction DIP.
combinaison avec la commande 5:
et de maintenance nécessaire doit être
0(2)-5(6)V/5(6)-10 V.
eectué uniquement par un personnel
Tension d’alimentation
qualié, formé et autorisé.
La tension d’alimentation (24V~-15/+10 %,
SW5: 0(2)-5(6) V/5(6)-10 V ❺⑥
50 Hz) doit être branchée aux bornes SN
Avant le travail d'assemblage et de
et SP.
maintenance du contrôleur, le système
REMARQUE:
doit être:
Cette fonction est disponible, si la commande
- dépressurisé
Dimensions ❹
4: ---/Séquentiel est réglée.
- refroidi
- vidé
SW6: Proportionnel/ 3
Réglages du sélecteur de
- nettoyé
points ❺⑦
fonction DIP ❺
Le moteur peut fonctionner comme un
Suivre les instructions du fabricant du
»simple« 3-points moteur, si la fonction
système ou de son service.
U I
2 V_---V 0 V_---V
3-points est sélectionnée. Alimentation en
Direct Inverse
--- Séquentiel
courant devrait être branchée aux bornes
0(2) V_5(6) V 5(6) V_10 V
SN et SP. 24 VAC signal est branché aux
Proportionnel 3 points/RL
Débit LOG. Débit LIN.
bornes 1 et 3 pour déplacer le moteur vers
100 % Kvs Red. Kvs
Ne pas retirer le capot avant d'avoir
le haut et vers le bas. Le signal X indique la
Reset Reset
totalement coupé l'alimentation.
position correcte.
Réglage d’usine:
REMARQUE:
Indications de mise au rebus
TOUTES les commandes sont en position
Si la fonction 3 points est sélectionnée,
ARRÊT! ❺①
le moteur ne répond à aucun signal de
Ce produit peut être
commande sur la borne Y. Cette fonction
démonté et tous ses
REMARQUE:
seulement déplace la broche vers le haut
composants classés si
et vers le bas, s’il y a de l’alimentation en
Toutes les combinaisons des commandes DIP
possible en diérentes
courant sur les bornes 1 et 3.
sont possibles.
catégories en vue de leur
Toutes les fonctions sélectionnées sont
recyclage ou destruction
SW7: Débit LOG./ débit LIN. ❺⑧
ajoutées l’une à l’autre. Il y a seulement un
Dans tous les cas , suivre la législation
pontage logique des fonctions: commande
Réglage de l’usine:
locale de mise au rebus.
6 Proportionnel/ 3 points qui fait le moteur
débit LOG. (caractéristique de la vanne ne
ignorer le signal de commande et fonctionne
change pas).
comme un »simple« 3-points moteur.
Montage
Fixer l’AME 85, AME 86 sur la vanne.
REMARQUE:
SW1: U/I ❺②
Orientations de montage. ❷.
Si cette fonction est utilisée en combinaison
Réglage de l’usine:
avec les vannes non-logarithmiques, la
le signal de commande de tension (0-10 V).
caractéristique de la vanne motorisée sera
Branchement éléctrique ❸
l’anti-logarithme de la caractéristique de la
SW2: 2-10 V/0-10 V ❺③
vanne (p.e. une vanne avec la caractéristique
linéaire sera transformée en caractéristique
Réglage de l’usine:
»rapidement ouverte«).
Ne pas toucher la carte de circuit imprimé !
2-10 V.
Couper l’alimentation avant de raccorder
SW8: 100% K
/RED. K
❺⑨
VS
VS
l’actionneur ! Danger de mort !
SW3: Direct/Inverse ❺④
Raccorder l’actionneur conformément au
REMARQUE:
schéma de branchement électrique.
Réglage de l’usine:
Cela ne fonctionne proprement qu’avec
DIRECT
les vannes logarithmiques (même
pourcentage).
10
DH-SMT/SI VI.AC.O2.2V Danfoss Heating

Installation Guide AME 85, AME 86
SW9: Exploitation ❺⑩
Une fois alimenté, le moteur commence
un procédé d’auto-réglage. La diode
lumineuse clignote jusqu’à ce que
l’auto-réglage soit términé. Cela dure
normalement env. 2 minutes, suivant le
déplacement de la broche. La course de la
vanne est conservée en mémoire à la n de
l’auto-réglage. Le changement de position
de la commande R. À Z. (commande 9) fera
redémarrer l’auto-réglage. Si l’alimentation
est interrompue – ou chute à une valeur
inférieure à 80 % - pendant plus de 0,1
sec., la position actuelle de la vanne est
mémorisée. Toutes les données seront
donc mémorisées, même en cas de
coupure de courant.
Débrayage manuel ❶
Le débrayage manuel est appliqué en
faisant pivoter la clé Allen de 8 mm (non
fournie) dans la position requise. Observez
le sens du symbole de rotation.
Test de fonction
La diode lumineuse indique que le moteur
est en fonction. Elle indique aussi l’état de
marche et les erreurs éventuelles.
Lumière permanente
- marche normale
Pas de lumière
- fonction arrêtée, pas d’alimentation
Clignotements par intervalles (1Hz)
- mode d’auto-réglage
Clignotement par intervalles (3Hz)
- alimentation en courant trop faible
- course de vanne insusante (<20s)
- la n de course ne peut pas être
atteinte.
Danfoss Heating VI.AC.O2.2V DH-SMT/SI
1111

Installation Guide AME 85, AME 86
ESPAÑOL
Nota de seguridad
Seńal de control
SW4: ---/Secuencial ❺⑤
La seńal de control proveniente del
Se pueden ajustar dos acuadores
regulador deberá ser conectada al terminal
simultaneamenete que respondan a la
Y (seńal de entrada) y al terminal SN
misma señal de control a la vez.
(común) en el circuito impreso del AME.
Al elegir SEQUENTIAL el actuador
A n de evitar lesiones y daños a personas
responderá a la señal de control dividida
y dispositivos, es absolutamente
Seńal de salida
(vease 0(2)-5(6) V/5(6)-10 V).
imprescindible la lectura y puesta en
La seńal de salida del terminal X puede
práctica de estas instrucciones antes de
usarse para indicar la posición actual. El
Nota:
las operaciones de montaje y puesta en
rango dependerá de la conguración del
Esta combinación funciona en combinación
servicio.
interruptor DIP.
con el interruptor No.5:
Las operaciones necesarias de montaje,
0(2)- 5(6) V/5(6)-10 V).
puesta en marcha y mantenimiento
Tensión de alimentación
deberán ser realizadas únicamente por
La tensión de alimentación (24V~-15/+10
SW5: 0(2)-5(6) V/5(6)-10 V ❺⑥
personal cualicado y autorizado.
%, 50 Hz) tiene que ser conectada a los
terminales SN y SP.
Antes de llevar a cabo las operaciones de
Nota:
montaje y mantenimiento del controlador,
Esta función es posible al elegir el interruptor
el sistema debe ser:
Dimensiones ❹
No.4:---/ Secuencial.
- despresurizado
- enfriado
SW6: Proporcional/3 vías ❺⑦
Las conguarciones del
- vaciado
Al elegir la función de tres vías, el actuador
- limpiado
interruptor DIP ❺
funcionará como un sencillo actuador
de tres vías. La corriente de alimentación
Por favor, respete las instrucciones del
U I
2 V_---V 0 V_---V
debe ser conectada a los puertos SN y SP.
fabricante u operador del sistema.
Directo Secuencial
En los puetros 1 y 3 la señal 24 VAC estará
--- Proporcional
0(2) V_5(6) V 5(6) V_10 V
conectada para que el actuador se mueva
Inverso 3 puntos R / L
hacia arriba o abajo. La señal X indica la
Flujo LOG. Flujo LIN.
100 % Kvs Red. Kvs
posicion correcta.
No retire la cubierta antes de haber
Restablecimiento Restablecimiento
desconectado el suministro eléctrico por
Importante:
completo.
Ajuste de fábrica:
Al elegir la función de 3 vías, el actuador
Todos los interruptores tienen que estar en la
no responerá a ninguna de las señales de
posición OFF! ❺①
control en el puerto Y. El vástago se moverá
Instucciones de eliminación
hacia arriba o abajo si hay alimentación en
Este producto debe ser
el puerto 1 ó 3.
IMPORTANTE:
desmontado y si es posible,
Todas las combinaciones de los interruptores
sus componentes deben ser
SW7: LOG.ow/LIN.ow ❺⑧
están permitidas. Todas las funciones
separados en varios grupos
(LOG.ujo /LIN.ujo)
seleccionadas serán añadidas una a la otra.
antes de su reciclado o
Solamente hay una sobreposición de las
Ajuste de fábrica:
destrucción.
funciones: el interruptor No.6 Proporcional
LOG ow (característica de la válvula no
/ 3 vías que hace que el actuador ignore la
Siga siempre la regulación local sobre
cambiada)
señal y funcione como un “sencillo” actuador
eliminación.
de 3 vías.
Imporatante:
SW1: U/I ❺②
Al usar esta función con las válvulas no
Montaje
logarítmicas, la característica de la válvula
Montaje del AME 85, 86 en la válvula.
Ajuste de fábrica:
motorizada será el antilogaritmo de la
Posiciones permitidas de instalación. ❷.
señal de control de tensión (0-10 V).
característica de la válvula (por ejemplo
la válvula con la característica linear
SW2: 2-10 V/0-10 V ❺③
será transformada en al caracteristica de
Cableado ❸
apertura rápida).
Ajuste de fábrica:
2-10 V.
SW8: 100% K
/RED. K
❺⑨
VS
VS
¡
No toque nada en la placa de circuito impreso!
SW3: Directo/Inverso ❺④
¡Desactive la línea de suministro eléctrico
Nota:
antes de conectar el actuador!
Esta función funciona correctamente
Ajuste de fábrica:
¡Tensión letal!
solamente con las válvulas logarítmicas (de
DIRECT
Conecte el actuador de acuerdo con el
ijo igual porcentage).
esquema de cableado.
12
DH-SMT/SI VI.AC.O2.2V Danfoss Heating

Installation Guide AME 85, AME 86
SW9: Funcionamiento ❺⑩
Después de suministrar corriente de
alimentación al actuador, éste inicia un
proceso de auto ajuste. El diodo LED
parpadea hasta que el proceso de auto
ajuste haya llegado a término. Este proceso
dura normalmente un par de minutos
dependiendo del recorrido del vástago.
El recorrido de la válvula es almaceneado
en la memoria después de terminado el
auto ajuste. Para empezar de nuevo el
auto ajuste pulsar el interruptor RESET
(interruptor No.9). Si se corta la tensión de
alimentación o en caso de que ésta caiga
por debajo de 80% durante más de un
0,1 s, la posición actual de la válvula será
guardada en la memoria. De esta manera,
todos los datos quedarán guardados en
la memoria, incluso en caso de corte de
corriente.
Cancelación manual ❶
La cancelación manual se lleva a
cabo girando la llave Allen de 8 mm
(no suministrada) hasta la posición
precisa. Preste atención a los símbolos;
proporcionan información acerca del
sentido de giro.
Test de funcionamiento
El diodo luminoso indica si el motor está
funcionando. Además indica el estado de
funcionamiento y fallos eventuales.
Luce constantemente
- funcionamineto normal
No luce
- no está en marcha, no hay
alimentación
Luce intermitentemente a intervalos (1 Hz)
- estado de auto ajuste
Luce intermitentemente a intervalos (3 Hz)
- corriente de alimentación demasioado
baja
- recorrido de la válvula insucinete
(<20 s)
- el recorrido máximo no puede ser
alcanzado.
Danfoss Heating VI.AC.O2.2V DH-SMT/SI
1313

Installation Guide AME 85, AME 86
NEDERLANDS
Veiligheid
Stuursignaal
Schakelaar 4: ---/Sequential
Het stuursignaal van de regelaar wordt
(volgorde) ❺⑤
aangesloten op klem Y (ingangssignaal) en
Twee motoren kunnen naar hetzelfde
op klem SN (gemeenschappelijke nul) van
signaal “luisteren”.
Om verwondingen aan personen en
de AME printplaat.
Als Sequential is ingesteld reageert de
schade aan de apparatuur te voorkomen
motor op een gedeeld signaal.
is het absoluut noodzakelijk om deze
Uitgangssignaal
Deze instelling werkt samen met
instructies zorgvuldig te lezen en te
Het uitgangssignaal van klem X (t.o.v. klem
schakelaar 5.
bestuderen.
SN) kan gebruikt worden als indicatie van
de klepstand. Het bereik hangt af van de
Schakelaar 5:
Noodzakelijke (de)montage,
instelling van de DIP schakelaars.
inbedrijfstelling en onderhoud dient alleen
0(2) V-5(6 V)/6(6) V-10 V ❺⑥
door deskundig, getraind en bevoegd
Voedingsspanning
personeel te worden uitgevoerd.
Opm.:
-15 tot +10 %, 50Hz) wordt aangesloten op
Deze funktie is geldig als schakelaar 4 op
Voorafgaand aan montage-of
de klemmen SN (nul) en SP (24Vac).
Sequential staat.
onderhoudswerkzaamheden moet het
systeem worden:
Afmetingen ❹
Schakelaar 6:
- afgesloten,
Proportional/3 point
- afgekoeld,
- afgetapt en
DIP schakelaars ❺
(Proportioneel/3punts) ❺⑦
- gereinigd.
De servomotor werkt als een simpele
U I
3-punts motor als de 3- punts funktie is
Volg altijd de instructies van de
2 V_---V 0 V_---V
Direkt Omgekeerd
ingesteld.
installatiebouwer-of beheerder op.
--- Volgorde
0(2) V_5(6) V 5(6) V_10 V
Voedingsspanning wordt aangesloten op
Proportioneel 3 punts/RL
de klemmen SN en SP. Op de klemmen
LOG. ow LIN. ow
100 % Kvs Red. Kvs
1 en 3 wordt 24Vac voor “omlaag” en
Reset Reset
“omhoog” aangesloten. Uitgangs- signaal
Verwijder de afdekkap niet voordat de
X geeft de werkelijke stand aan.
voedingsspanning volledig is uitgeschakeld
Fabrieksinstelling:
Opmerking:
Alle schakelaars staan in
de OFF (uit) positie! ❺①
In de 3-punts funktie reageert de servomotor
Afvalverwerking
niet op signalen via klem Y. De spindel
Dit product of delen ervan
beweegt alleen bij spanning op klem 1 of
OPMERKING:
dienen te worden afgevoerd
klem 3.
Alle combinaties van DIP instellingen zijn
op een milieuverantwoorde
toegestaan. Alle gekozen funkties worden bij
wijze. Apparatuur die
Schakelaar 7:
elkaar opgeteld. Er is echter één uitzondering:
elektrische onderdelen
Schakelaar 6 Proportional / 3 point, welke
LOG. ow/LIN. ow ❺⑧
bevat, mag niet samen met huishoudelijk
de motor instelt als “simpele” 3-punts
afval worden afgevoerd.
Fabrieksinstelling:
servomotor.
LOG.ow (afsluiter-karakteristiek
Deze apparatuur moet apart worden
ongewijzigd)
ingezameld samen met ander elektrisch
Schakelaar 1: U/I ❺②
en elektronisch afval conform de
Fabrieksinstelling:
Opmerking:
geldende wetgeving.
0-10 V stuursignaal
Als deze funktie wordt gebruikt in combinatie
met niet-logarithmische afsluiters dan wordt
Schakelaar 2: 2---- V/0---- V ❺③
de karakteristiek van de gemotoriseerde
Montage
afsluiter anti-logarithmisch (bijv. een
Plaats de AME 85, 86 op de afsluiter.
Fabrieksinstelling:
afsluiter met een lineaire karakteristiek wordt
Toegestane montage posities. ❷.
2 V (4 mA)
omgevormd tot een snel open karakteristiek).
Zie DATABLAD voor meer informatie.
Elektrische aansluiting ❸
Schakelaar 3: Direct/Inverse
(Direkt/Omgekeerd) ❺④
Schakelaar 8:
100% K
/RED K
❺⑨
VS
VS
Fabrieksinstelling:
Direct.
Opmerking:
Gevaarlijke spanning, raak niets aan op
Deze funktie werkt alleen nauwkeurig bij
deprintplaat! Dodelijke spanning!
logarithmische (equi-procentuele) afsluiters.
Schakel de stroom uit voordat de bedrading
van de servomotor wordt aangebracht!
Sluit de servomotor aan volgens het
aansluitschema.
14
DH-SMT/SI VI.AC.O2.2V Danfoss Heating

Installation Guide AME 85, AME 86
Schakelaar 9: Reset ❺⑩
Nadat de servomotor is aangesloten op de
voedingsspanning begint de automatische
afstelprocedure. De indicatie LED knippert
tot de afstelling is beëindigd. De tijdsduur
is afhankelijk van de kleplift en bedraagt
gewoonlijk enkele minuten. De slag van de
klep wordt in het geheugen opgeslagen.
Om de afstelprocedure opnieuw te starten
dient de stand van RESET veranderd te
worden.
Wanneer de voedings-spanning wordt
uitgeschakeld of langer dan 0,1s onder
80% daalt, wordt de momentele klepstand
in het geheugen opgeslagen en blijven
alle gegevens bewaard, ook na het
uitschakelen van de voeding.
Handbediening ❶
De handbediening gebeurt door de (niet
meegeleverde) inbussleutel van 8 mm
in de juiste positie te draaien. Bekijk de
richting van het rotatiesymbool.
Funktietest
De LED indicator toont het motorbedrijf,
bedrijfstoestand en eventuele fouten.
Continue aan
- normaal bedrijf
Continue uit
- geen bedrijf of geen
voedingsspanning
Knipperend (1Hz)
- automatische afstelprocedure
Knipperend (3Hz)
- voedingsspanning te laag
- onvoldoende klepslag (>20 s)
- eindpositie onbereikbaar.
Danfoss Heating VI.AC.O2.2V DH-SMT/SI
1515

Installation Guide AME 85, AME 86
SUOMI
Turvallisuushuomautus!
Lähtösignaali
SW5: 0(2)–5(6)V/5(6)–10 V ❺⑥
X-liitännän lähtösignaalia voidaan käyttää
nykyisen sijainnin ilmaisemiseen. Alue
HUOMAUTUS:
määräytyy DIP-kytkinasetusten mukaan.
Tämä toiminto on käytettävissä, jos kytkin 4
Nämä ohjeet on ehdottomasti luettava ja
---/vaiheittainen on määritetty.
huomioitava ennen kokoonpanoa ja
Käyttöjännite
käyttöönottoa henkilö- ja
Käyttöjännite (24 V~ –15– +10 %, 50 Hz) on
SW6:
omaisuusvahinkojen välttämiseksi.
yhdistettävä SN- ja SP-liitäntöihin.
Suhteellinen/3-pisteinen ❺⑦
Ainoastaan ammattitaitoiset ja valtuutetut
Käyttölaite toimii yksinkertaisena
henkilöt saavat tehdä kokoonpano-,
Dimensions ❹
kolmipisteisenä käyttölaitteena, jos
käynnistys- ja huoltotöitä.
valitaan kolmipisteinen toiminta.
Ennen säätimen kokoonpano- ja
Virransyöttö on yhdistettävä SN- ja
DIP-kytkinasetukset ❺
huoltotöitä järjestelmälle on tehtävä
SP-portteihin. 24 voltin AC-signaali
seuraavat toimenpiteet:
yhdistetään porteissa 1 ja 3 käyttölaitteen
U I
2 V_---V 0 V_---V
avautumis- ja sulkeutumistoimintoihin.
- Paineen poisto
Suora Käänteinen
--- Vaiheittainen
Paluusignaali X ilmaisee oikean sijainnin.
- Jäähdytys
0(2) V_5(6) V 5(6) V_10 V
- Tyhjennys
Verrannollinen
3-piste/RL
- Puhdistus
LOG. virtaus Lineaarinen virtaus
HUOMAUTUS:
100 % Kvs Pien. Kvs
Nollaaminen Nollaaminen
Jos 3-pisteinen toiminta valitaan, käyttölaite
Noudata järjestelmän valmistajan ohjeita..
ei reagoi portin Y signaaliin. Se nostaa ja
laskee karaa vain, jos portteihin 1 tai 3
Tehdasasetukset:
syötetään virtaa.
Kaikki kytkimet ovat OFF-asennossa! ❺①
Älä irrota kantta, ennen kuin virransyöttö
SW7: Logaritminen tai
on täysin katkaistu.
HUOMAUTUS:
lineaarinen virtaus ❺⑧
Kaikki DIP-kytkinasetusten yhdistelmät
ovat sallittuja. Kaikki valitut toiminnot
Tehdasasetus:
Tuotteen hävittäminen
yhdistetään keskenään. Vain yksi logiikka
Logaritminen virtaus (venttiilin toiminta ei
jätteenä
ohittaa toiminnot: kytkimen nro 5
muutu).
Suhteellinen / kolmipiste -asetus, joka
Mikäli mahdollista tämä
määrittää käyttölaitteen jättämään
HUOMAUTUS:
tuote tulee purkaa ja lajitella
signaalin huomiotta, jolloin se toimii
Jos tätä toimintoa käytetään yhdessä
puretut osat ennen niiden
yksinkertaisena kolmipistekäyttölaitteena.
muun kuin logaritmisen venttiilin kanssa,
kierrättämistä tai
moottoroidun venttiilin toiminta muuttuu
hävittämistä jätteenä.
SW1: U/I ❺②
vastakkaisesti logaritmiseksi, eli lineaarinen
Noudata aina paikallista lainsäädäntöä
venttiili muuttuu nopeasti avautuvaksi.
Tehdasasetus:
ja jätehuoltomääräyksiä jätteiden
Lisätietoja on tuotetiedotteessa.
hävittämisestä.
Jänniteohjaussignaali (0–10 V).
SW8: 100% K
/RED K
❺⑨
VS
VS
SW2: 2–10 tai 0–10 V ❺③
Kiinnittäminen
Tehdasasetus:
HUOMAUTUS:
Kiinnitä AME 85, AME 86 venttiiliin.
2–10 V.
Tämä toiminto toimii oikein vain
Mounting possitions. ❷
logaritmisissa venttiileissä.
SW3: Suora tai käänteinen ❺④
SW9: Nollaaminen ❺⑩
Johdotus ❸
Tehdasasetus:
Kun käyttölaite on yhdistetty
SUORA
virtalähteeseen, se aloittaa
itsesäätötoimet. LED-merkkivalo vilkkuu,
Älä koske mihinkään piirilevyn osaan!
SW4: ---/vaiheittainen ❺⑤
kunnes itsesäätötoimet on tehty. Kestoaika
määräytyy karan liikkeen mukaan, ja on
Katkaise virransyöttö ennen
Kaksi käyttölaitetta voidaan määrittää
toimimaan rinnakkain samasta
tavallisesti muutama minuutti. Venttiilin
toimimoottorin johdotusta!
Hengenvaarallinen jännite!
ohjaussignaalista. Jos vaiheittaisuus
karan liikkeen pituus tallennetaan muistiin,
kun itsesäätötoimet on tehty.
Johdota toimimoottori kytkentäkaavion
otetaan käyttöön, käyttölaite reagoi
Voit aloittaa itsesäädön uudelleen
mukaisesti.
jaettuun ohjaussignaaliin. Lisätietoja on
kohdassa 0(2)–5(6)V/5(6)–10 V.
muuttamalla RESET-kytkimen asentoa
(kytkin 9). Jos virransyöttö katkeaa tai
Ohjaussignaali
putoaa alle 80 prosenttiin yli 0,1 sekunnin
HUOMAUTUS:
Ohjaimen ohjaussignaali on liitettävä
ajaksi, nykyinen venttiilin sijainti ja kaikki
Tämä yhdistelmä toimii yhdessä kytkimen 5
painetun AME-piirin liitäntöihin Y
tiedot tallennetaan muistiin. Ne säilyvät
kanssa: 0(2)–5(6)V/5(6)–10 V
(sisäänmenosignaali) ja SN (tavallinen
siellä sähkökatkon ajan..
signaali).
16
DH-SMT/SI VI.AC.O2.2V Danfoss Heating

Installation Guide AME 85, AME 86
Käsiohjaus ❶
Jos haluat kytkeä käsiohjauksen päälle,
käännä 8 mm:n kuusiokoloavain (ei kuulu
toimitukseen) oikeaan asentoon. Noudata
pyörimissuunnan merkkiä.
Toimintojen testaaminen
Merkkivalo ilmaisee, onko käyttölaite
käytössä vai ei. Lisäksi merkkivalo ilmaisee
ohjaustilan ja viat.
Palaa jatkuvasti
- normaali toiminta
Ei valoa
- ei toiminnassa tai ei virransyöttöä.
1 Hz:n taajuudella vilkkuva valo
- itsesäätötila
3Hz:n taajuudella vilkkuva valo
- virransyöttö ei riitä
- venttiilin iskunpituus ei riitä (alle 20s)
- loppusijaintia ei voi saavuttaa.
Danfoss Heating VI.AC.O2.2V DH-SMT/SI
1717

Installation Guide AME 85, AME 86
POLSKI
Warunki bezpieczeństwa
Sygnał sterujący
SW4:---/Sequential ❺⑤
Sygnał sterujący ze sterownika musi być
Dwa siłowniki mogą być sterowane
podłączony do wyprowadzeń Y (sygnał
równolegle jednym sygnałem sterującym.
wejściowy) oraz SN (masa) na płytce
Jeśli wybrana jest opcja SEQUENTIAL,
W celu uniknięcia zranienia osób
i
drukowanej siłownika AME.
siłownik reaguje na dzielony sygnał
uszkodzenia urządzeń należy bezwzględnie
sterujący (patrz 0(2)-5(6) V/5(6)-10 V).
przed montażem i uruchomieniem siłownika
Sygnał wyjściowy
zapoznać się dokładnie z niniejszą instrukcją.
Sygnał wyjściowy z wyprowadzenia X
UWAGA:
może być użyty do wskazania bieżącej
To ustawienie działa w połączeniu z
Czynności związane z montażem,
pozycji. Zakres zależy od ustawień
przełącznikiem nr 5: 0(2)-5(6) V/5(6)-10 V
uruchomieniem i obsługą mogą być
przełącznika DIP.
dokonywane wyłącznie przez osoby
SW5: 0(2)-5(6) V/5(6)-10 V ❺⑥
uprawnione i odpowiednio
Napięcie zasilania
wykwalikowane.
Napięcie zasilania (24V~ -15 do +10
UWAGA:
Przed montażem i obsługą konserwacyjną
%, 50Hz) musi być podłączone do
Ta funkcja jest dostępna, gdy ustawiony jest
należy:
wyprowadzeń SN i SP.
przełącznik nr 4: --- / Sequential.
- zrzucić ciśnienie,
- ostudzić urządzenie
Wymiary ❹
SW6: Proportional/3 point ❺⑦
- opróżnić układ,
Siłownik może funkcjonować jako prosty
- oczyścić układ
siłownik 3-punktowy po wybraniu
Ustawienia przełącznika
Należy postępować zgodnie z instrukcjami
opcji 3-point. Napięcie zasilania należy
producenta lub operatora systemu.
DIP ❺
podłączyć do wyprowadzeń SNiSP. Do
wyprowadzenia 1 i 3 podłączone jest
U I
2 V_---V 0 V_---V
sygnał 24VAC, służący do podnoszenia i
Zgodnie Odwrotnie
opuszczania siłownika. Zwrotny sygnał X
--- Sequential
0(2) V_5(6) V 5(6) V_10 V
wskazuje pozycję siłownika.
Nie zdejmować pokrywy przed całkowitym
Proporcjonalny 3-punktowy/RL
odłączeniem zasilania.
LOG. ow LIN. ow
100 % Kvs Red. Kvs
UWAGA:
Reset Reset
Jeśli wybrano opcję 3-point, siłownik nie
reaguje na jakikolwiek sygnał sterujący
Instrukcja usuwania odpadów
Ustawienia fabryczne:
na wyprowadzeniuY. Siłownik będzie
Przed złomowaniem siłownik
wszystkie przełączniki są
podnosił i opuszczał wrzeciono, jeśli na
należy rozłożyć na części i
w położeniu OFF! ❺①
wyprowadzenia 1 i 3 zostanie podane
napięcie.
jeżeli to możliwe posortować
na różne grupy materiałowe.
UWAGA:
SW7: LOG. ow/LIN. ow ❺⑧
Dozwolone są wszystkie kombinacje
Zawsze stosuj się do
przełączników DIP.
miejscowych przepisów w zakresie
Ustawienie fabryczne:
Wszystkie wybierane funkcje są sumowane.
usuwania odpadów.
LOG. Flow (niezmieniona charakterystyka
Istnieje tylko jedno logiczne ominięcie
zaworu)
funkcjonalności: przełącznik nr 6
Proportional /3 point (Proporcjonalny/3-
Montaż
UWAGA:
punktowy), który powoduje, że siłownik
Zamontować siłownik AME 85, AME 86 na
ignoruje sygnał sterujący i działa jako prosty
Jeśli ta funkcja jest używana w połączeniu
zaworze.
3-punktowy siłownik.
z zaworami nielogarytmicznymi,
Dopuszczalne pozycje montażu. ❷
charakterystyka zaworu napędzanego
SW1: U/I ❺②
będzie antylogarytmem charakterystyki
zaworu (np. zawór liniowy przekształci się w
Okablowanie ❸
Ustawienie fabryczne:
zawór szybkiego otwarcia).
sterowanie sygnałem napięciowym (0...10 V).
SW8: 100% K
/RED. K
❺⑨
VS
VS
SW2: 2-10 V/0-10 V ❺③
Wersja na 230 V~
UWAGA:
Nie wolno niczego dotykać na płytce
Ustawienie fabryczne:
obwodu drukowanego, gdy urządzenie
Ta funkcja działa prawidłowo
2-10 V.
jest pod napięciem! Zagrożenie życia!
wyłącznie z zaworami logarytmicznymi
Podłączenia przewodów wykonać zgodnie
(stałoprocentowymi).
SW3: Direct/Inverse ❺④
ze schematem podłączeń elektrycznych.
Ustawienie fabryczne:
DIRECT
18
DH-SMT/SI VI.AC.O2.2V Danfoss Heating

Installation Guide AME 85, AME 86
SW9: Reset ❺⑩
Po podłączeniu siłownika do zasilania
rozpoczyna się procedura samoregulacji.
Dioda LED błyska do momentu
zakończenia tego procedury. Trwa to
zazwyczaj parę minut w zależności
od skoku wrzeciona. Po zakończonym
procesie samoregulacji wartość skoku
zaworu jest zachowana w pamięci. Zmiana
pozycji przełącznika RESET (przełącznik
nr 6) ponownie wyzwala proces
samoregulacji. Jeżeli napięcie zasilające
zostanie odcięte lub przez okres ponad 0,1
sekundy spadnie poniżej 80%, to aktualna
pozycja zaworu jest chowana w pamięci;
zapewnia to, zachowana zachowanie
wszystkich danych - również w przypadku
przerw w zasilaniu..
Sterowanie ręczne ❶
Ręczne sterowanie jest realizowane przez
obrót 8 mm klucza imbusowego (nie jest
na wyposażeniu) do odpowiedniego
położenia. Należy zwrócić uwagę na
symbole opisujące kierunek obrotu.
Test działania
Dioda świetlna wskazuje, czy silnik jest
aktywny czy też nie. Co więcej, dioda LED
wskazuje też status sterowania i błędy.
Dioda świetlna wskazuje, czy silnik jest
aktywny czy też nie. Co więcej, dioda LED
wskazuje też status sterowania i błędy.
Stałe świecenie
- normalna pracaBrak świecenia
- brak działania lub zasilania
Miganie z częstotliwością 1Hz
- tryb samoregulacji
Miganie z częstotliwością 3Hz
- zbyt niskie napięcie zasilania
- niedostateczny skok zaworu (<20 s)
- nie można osiągnąć położenia
krańcowego.
Danfoss Heating VI.AC.O2.2V DH-SMT/SI
1919

Installation Guide AME 85, AME 86
РУССКИЙ
Техника безопасности
Схема электрических
U/I (напряжение/ток) ❺②
соединений ❸
Заводская установка:
управляющий сигнал напряжения
Во избежание несчастных случаев и
(0 - 10 B).
выхода устройства из строя необходимо
изучить и соблюдать настоящее
Не прикасаться к открытым
2-10B/0-10 B ❺③
руководство.
контактам!
Отключать линию питания перед
Заводская установка:
Монтаж, наладка и сервисное
монтажом проводки электропривода!
2-10 B.
обслуживание устройства должны
Опасное для жизни напряжение!
осуществляться квалифицированным
Смонтируйте проводку привода
Прямо/обратно ❺④
персоналом, допущенным к данным
согласно электрической схеме.
видам деятельности.
Заводская установка:
ПРЯМО.
Работы, непосредственно связанные
Управляющий сигнал
с технологической системой,
Управляющий сигнал с регулятора
---/последовательно ❺⑤
следует выполнять в соответствии с
подается на клеммы Y (входной сигнал) и
Существует возможность установить
инструкциями по ее эксплуатации.
SN (ноль) платы AME.
два исполнительных механизма так, что
Перед началом работ по монтажу и
они работают параллельно, с одним
Выходной сигнал
обслуживанию регулятора необходимо
управляющим сигналом. Если настроена
Выходной сигнал с клеммы Х может быть
произвести следующие действия с
функция ПОСЛЕДОВАТЕЛЬНО, то
использован для индикации текущего
трубопроводной системой:
исполнительный механизм реагирует на
положения. Диапазон зависит от
- сбросить давление
управляющий сигнал «сплит»
настроек переключателя DIP.
- охладить систему
(см. 0(2)-5(6) В/5(6)-10 В).
- слить воду
Напряжение питания
- очистить систему
ПРИМЕЧАНИЕ:
Напряжение питания (24 В переменного
Не снимайте крышку до того, как
тока от –15 до +10%, 50 Гц) подается на
Данная схема работает в комбинации с
питание будет полностью отключено.
клеммы SN и SP.
переключателем № 5: 0(2)-5(6) В/5(6)-10 В.
0(2)-5(6) В/5(6)-10 В ❺⑥
Габаритные ❹
Не снимайте крышку до того,
ПРИМЕЧАНИЕ:
как питание будет полностью
Настройки переключателя
Данная функция имеет место лишь в
отключено.
случае, если настроен переключатель №
DIP ❺
4: ---/ последовательно.
U I
2 V_---V 0 V_---V
Инструкция по утилизации
Аналоговый / импульсный ❺⑦
Прямо обратно
---
последовательно
Исполнительный механизм
Данная продукция
0(2) V_5(6) V 5(6) V_10 V
Аналоговый 3 импульсный/RL
может работать как импульсный
подлежит демонтажу на
Логарифмическая Линейная характеристика
исполнительный механизм при условии,
части, для раздельной
100 % Kvs Red. Kvs
Сброс Сброс
что выбрана импульсная функция.
утилизации составных
Электропитание подается на входы SN
компонентов.
и SP. На входы 1 и 3 подается сигнал
Заводские установки:
24В переменного тока для подъема
ВСЕ переключатели находятся в
и опускания штока исполнительного
Установка
положении OFF (выключено). ❺①
механизма. Выходной сигнал Х
Закрепить электропривод AME 85,
показывает текущее положение.
AME86 на клапане.
ПРИМЕЧАНИЕ:
Монтажные положения регулятора. ❷
Приемлемы все комбинации
ПРИМЕЧАНИЕ:
переключателей DIP. Все выбранные
В случае, если выбрана импульсная
функции добавляются друг к другу.
функция, исполнительный механизм
Существует только одно логическое
не реагирует ни на какой аналоговый
перерегулирование функций:
управляющий сигнал на входе Y.
переключатель № 6 – (аналоговый/
Исполнительный механизм поднимает
импульсный) настраивать исполни-
и опускает шток только в случае, если
тельный механизм таким образом
электропитание подается на вход
аналоговый, что он игнорирует
1или3.
управляющий сигнал и работает как
импульсный исполнительный механизм.
20
DH-SMT/SI VI.AC.O2.2V Danfoss Heating

Installation Guide AME 85, AME 86
Логарифмическая/Линейная
Ручное
характеристика ❺⑧
позиционирование❶
Ручное позиционирование
Заводская установка:
производится с помощью 8-мм
(Логарифмическая)
шестигранного торцевого ключа (в
характеристика регулирования
комплект поставки не входит) путем
клапана не меняется.
его поворота до нужного положения.
Соблюдайте указанное на изображении
ПРИМЕЧАНИЕ:
направление вращения.
В случае применения данной функции
в комбинации с “нелогарифмическими”
Функциональный тест
клапанами, характеристика
Световой диод наряду с индикацией
моторного клапана будет являться
задействования привода производит
антилогарифмом характеристики
также индикацию рабочего состояния и
клапана (например, клапан с линейной
возможных ошибок.
характеристикой трансформируется в
Постоянное свечение
характеристику быстрого открывания).
- обычное рабочее состояние
эксплуатации
100% K
/REDK
❺⑨
VS
VS
Отсутствие свечения
ПРИМЕЧАНИЕ:
- выключение, напряжение
Данная функция работает корректно
отключено.
только в случае применения клапанов
Прерывистое свечение (1 Гц):
с логарифмической (равнопоцентной)
- режим автоподстройки
характеристикой регулирования.
Прерывистое свечение (3 Гц):
- электропитание слишком мало
Reset (Сброс) ❺⑩
- недостаточная величина времени
После подачи тока на исполнительный
хода клапана (<20 с)
механизм последний начинает
- невозможность входа в исходное
процесс автоподстройки. Об
положение.
этом свидетельствует мигание
светодиода, которое продолжается до
окончания процесса автоподстройки.
Продолжительность процесса
обычно составляет несколько минут,
в зависимости от перемещения
штока. Величина хода клапана
после окончания автоподстройки
регистрируется в запоминающем
устройстве. Процесс автоподстройки
возобновляется нажатием на кнопку
сброса «RESET» (переключатель №
9). При сбросе напряжения питания
или при его падении более чем на
80 % в течение более 0,1 с, текущее
положение клапана регистрируется
в запоминающем устройстве. Таким
образом, вся информация сохраняется в
запоминающем устройстве, в том числе
в случаях сбоя напряжения питания.
Danfoss Heating VI.AC.O2.2V DH-SMT/SI
2121

Installation Guide AME 85, AME 86
ROMÂNĂ
Instrucţiuni privind siguranţa
Semnalul de comandă
SW4:---/Secvenţial ❺⑤
Semnalul de comandă de la regulator
Două servomotoare pot setate să
în funcţionare
trebuie conectat la bornele Y (semnal
funcţioneze în paralel cu un semnal de
de intrare) şi SN (comun) de pe placa
comandă. Dacă este setată opţiunea
imprimată AME.
SECVENŢIAL, servomotorul răspunde
la un semnal de comandă divizat
Înainte de asamblare şi de punerea
Semnalul de ieşire
(vezi 0(2)-5(6) V/5(6)-10 V).
în funcţiune, pentru evitarea
Semnalul de ieşire de la borna X se
accidentării persoanelor şi a deteriorării
poate folosi pentru indicarea poziţiei
NOTĂ:
echipamentului, este absolut necesară
curente. Intervalul depinde de setările
citirea cu atenţie şi respectarea acestor
Această combinaţie funcţionează în
comutatorului DIP.
instrucţiuni.
combinaţie cu comutatorul nr. 5:
0(2)-5(6) V/5(6)-10 V
Tensiunea de alimentare
Lucrările necesare de montare, punere în
Tensiunea de alimentare (24 V~ -15 la
funcţiune şi întreţinere, trebuie efectuate
SW5: 0(2)-5(6) V/5(6)-10 V ❺⑥
+10%, 50 Hz) trebuie conectată la bornele
numai de persoane calicate şi autorizate.
SN şi SP.
Înainte de lucrările de asamblare şi
NOTĂ:
întreţinere, sistemul trebuie să e:
Această funcţie este disponibilă dacă este
- depresurizat,
Dimensiuni ❹
setat comutatorul nr. 4: - --/Secvenţial.
- răcit,
- golit şi
SW6: Proporţional/3 puncte ❺⑦
Setările comutatorului DIP ❺
- curăţat.
Servomotorul poate opera ca dispozitiv
Vă rugăm să respectaţi instrucţiunile
U I
„simplu” în 3 puncte, dacă se selectează
2 V_--- V 0 V_--- V
producătorului sau operatorului
Direct Inverse
funcţia pentru 3 puncte. Alimentarea
sistemului.
--- Sequential
trebuie conectată la porturile SN şi SP.
0(2)_5(6) V 5(6)_10 V
Proportional 3 point/RL
La portul 1 sau 3, se conectează un semnal
LOG. ow LIN. ow
de 24 V c.a. pentru ridicarea sau coborârea
100 % k
VS
RED. k
VS
Reset Reset
servomotorului. Semnalul de retur X indică
poziţia corectă.
Nu îndepărtaţi capacul până când
alimentarea cu electricitate nu este
Setări de fabrică:
NOTĂ:
complet deconectată.
TOATE comutatoarele se aă în poziţia „OFF”
Dacă se selectează funcţia în 3 puncte,
(decuplat)! ❺①
servomotorul nu răspunde la niciun semnal
de comandă pe portul Y. El ridică şi coboară
Instructiuni de dispensare
NOTĂ:
axul, doar dacă se alimentează portul 1 sau
Acest produs trebuie
Sunt permise toate combinaţiile de
3.
demontat si componentele
comutatoare DIP. Toate funcţiile selectate
sale sortate, daca este
sunt adăugate consecutiv. Există o singură
SW7:
posibil, in grupe variate
suprapunere a funcţionalităţilor, respectiv
Debitul LOG./debitul LIN. ❺⑧
inainte de reciclare sau
comutatorul nr. 6 proporţional/3 puncte,
dispensare.
care setează servomotorul pentru a ignora
Setare de fabrică
semnalul de comandă şi funcţionează ca un
Debitul LOG. (caracteristica vanei este
Urmariti intotdeauna legile locale privind
servomotor „simplu”, în 3 puncte.
nemodicată)
dispensarea.
SW1: U/I ❺②
NOTĂ:
Setare de fabrică:
Dacă această funcţie se foloseşte în
Montare
combinaţie cu vanele nelogaritmice,
Fixaţi AME 85, AME 86 pe vană.
semnal de comandă de tensiune (0-10 V).
caracteristica vanei motorizate va anti-
Poziţii de instalare acceptate. ❷
logaritmul caracteristicii vanei (de ex. vana
SW2: 2-10 V/0-10 V ❺③
cu caracteristică liniară se va transforma
Cablarea ❸
Setarea de fabrică este:
într-o caracteristică cu deschidere rapidă).
2...10 V.
SW8: K
100%/K
REDUS ❺⑨
VS
VS
SW3: Direct/invers ❺④
NOTĂ:
Nu atingeţi nicio componentă de pe placa
Setarea de fabrică este:
Această funcţie operează corect doar cu vane
circuitelor integrate!
DIRECT
logaritmice (cu proporţii egale).
Deconectaţi linia de alimentare electrică
înainte de conectarea prin re a
servomotorului! Tensiune letală!
Conectaţi servomotorul prin re în
conformitate cu schema de conexiuni
22
DH-SMT/SI VI.AC.O2.2V Danfoss Heating

Installation Guide AME 85, AME 86
SW9: Resetare ❺⑩
După conectarea servomotorului la
alimentarea cu energie, acesta va porni
procedura de ajustare automată. LED-
ul indicator clipeşte până la încheierea
ajustării automate. Durata depinde de
cursa axului şi va în mod normal de
câteva minute. Lungimea cursei vanei
este memorată după încheierea ajustării
automate. Pentru a reporni ajustarea
automată, modicaţi poziţia comutatorului
RESETARE (comutatorul nr. 9). Dacă
tensiunea de alimentare se opreşte sau
scade sub 80% în mai mult de 0,1 s, poziţia
actuală a vanei va memorată, iar toate
datele vor rămâne salvate, chiar dacă se
întrerupe alimentarea cu energie.
Supracontrol manual❶
Comanda manuală se realizează prin
rotirea inbus-ului de 8 mm în poziţia
necesară (nu este inclusă în livrare).
Respectaţi simbolul ce indică sensul de
rotaţie.
Testul de funcţionare
Lumina indicatorului arată dacă
poziţionerul funcţionează sau nu. În plus,
indicatorul arată starea de comandă şi
erorile.
Lumină constantă
- funcţionare normală
Fără lumină
- nu funcţionează sau nu este alimentat
Lumină intermitentă (1 Hz)
- mod ajustare automată
Lumină intermitentă (3 Hz):
- alimentare cu tensiune prea scăzută
- cursă vană insucientă (<20 s)
- nu se poate atinge poziţia nală.
Danfoss Heating VI.AC.O2.2V DH-SMT/SI
2323

Installation Guide AME 85, AME 86
中文
安全注意事项
DIP拨动开关的设定❹
注意:
U I
选择三点控制以后驱动器不对 Y 端子的控
2 V_---V 0 V_---V
正向 反向动作
制信号作出反应。
---
顺序动作
为避免发生人身和设备事故,请仔细阅读
0(2) V_5(6) V 5(6) V_10 V
比例控制
三点控制/RL
本手册。
对数流量特性/线性流量特性❹⑧
LOG. ow LIN. ow
100 % k
VS
RED. k
VS
几乎所有丹佛斯阀门的流量特性都是对数
安装、调试、维修必须由专业人员进行。
Reset Reset
特性的。如果驱动器设定为线性,则驱动
在对控制器进行安装和维护之前,必须将
器的工作特性与阀体配合后可得出线性的
系统:
特性。
出厂设定_
- 减压
所有位都在 OFF 位置。❹①
出厂设定:
- 冷却
对数特性
- 清空
注意:
- 清洁
允许对 DIP 拨动开关进行任意组合。 所有
注意:
请遵循系统制造商或系统操作人员的说明。
选定的功能将依次添加。 只有一种功能逻
如果驱动器设定为线形而阀体特性不是对
辑操控,即拨动开关第 6 位比例控制/三点
数特性,则组合后的特性可解为快开特性。
控制,它将把驱动器设为不理会控制信号,
而是作为“简单的”三点驱动器使用。.
100%K
降低/K
❹⑨
VS
VS
电源未完全关闭前,请勿取下顶盖
选择降低K
功能后阀门的K
值可降为比
VS
VS
U/I ❹②
它小一号阀门的KVS值与它本身K
值之间的
VS
中间值。
出厂设定:
如:阀门本身KVS值为16,比它小一号阀门的
弃置说明
电压控制信号
K
值为10,则降低以后的K
值为13。
VS
VS
在回收或丢弃前,应当将本
2-10V/0-10V❹③
产品拆卸并对元件进行归
注意:
类
出厂设定:
此项功能仅对对数特性的阀门有效。
2--10 V.
请遵循当地的废弃法规。
复位 ❹⑩
正向/反向动作 ❹④
驱动器第一次通电后将自动进行行程自检,
自检时 LED 指示灯闪烁直到自检结束。
出厂设定:
自检的时间根据行程大小和速度快慢各不
安装
正向
相同,大致需几分钟时间。自检结束后行
将AME85,AME86驱动器安装到阀体上
程信息被记录到存储器中。将拨动开关的
允许的安装朝向 ❷
---/顺序动作 ❹⑤
第 9位拨到复位位置也可启动自检进程。电
两个驱动器可共用一个控制
源断电或电压降低于 80 % 的时间超过 0.1
接线 ❸
信号并联工作。选择顺序动
秒,所有的当前数据被保存到存储器中。
作功能后控制信号将被分割
(0(2)-5(6)V/5(6)-10 V)。
手动操控❶
转动 8 毫米 Alley 钥匙(未提供)至指定
不要碰触电路板上的任何元件!
注意:
位置,即转为手动操控。注意观察旋转图标
接线前请先断开电源!致命的电压!
此项功能与拨动开关第 5 位配合使用。
的方向。
请按接线图接线
0(2)V-5(6V)/5(6)V-10 V。
控制信号
0(2)V-5(6)V/5(6)-10V❹⑥
功能测试功能测试
从控制器来的控制信号接到AME 的Y端(输
LED 指示灯可提供当前状态和故障指示:
入信号)和SN端(公共端)。
注意:
持续亮
-正常工作
此项功能当拨动开关第 4 位设为顺序动作
阀位反馈
不亮
时有效。
阀位反馈信号从X 端输出,SN为公共端
-没有任何操作或无电源电
压
比例控制/三点控制❹⑦
电源电压
闪烁(1Hz)
驱动器可设定为比例控制或三点控制。三点
电源电压(24V -15% 到+10% ,50Hz )连
-自检中
控制时,电源连接到 SP 和 SN 端子,24VAC
接到端子SN和SP
闪烁(3Hz)
控制信号分别接到端子 1 用 来打开或关闭
-电源电压过低
阀门。X 端子为阀位反馈。
-行程不对(<20s)
-不能到达末端位置
73690690/VI.AC.O2.2V
Produced by Danfoss A/S © 06/2010

