Sigma ELECTRONIC FLASH EF-610 DG SUPER EO-ETTL II (キヤノン用): КОМПЕНСАЦИЯ ЭКСПОЗИЦИИ
КОМПЕНСАЦИЯ ЭКСПОЗИЦИИ : Sigma ELECTRONIC FLASH EF-610 DG SUPER EO-ETTL II (キヤノン用)

КОМПЕНСАЦИЯ ЭКСПОЗИЦИИ
Вы можете использовать компенсацию экспозиции вспышки в комбинации с нормальной
компенсацией экспозиции (для контроля уровня экспозиции фона) при фотографировании с
вспышкой. Компенсация экспозиции вспышки может быть установлена на 1/3 шага при полном
диапазоне ±3 (или с некоторыми камерами 1/2 шага).
◆ Этот режим не может быть использован с камерами EOS 620, 650, 700, 850 и 1000.
1. Нажмите кнопку SEL (выбор) и выберите .
2. Нажмите кнопку
+
или
-
для установки желаемой
величины компенсации экспозиции вспышки.
3. Дисплей остановит мигание и останется показывать после
повторного нажатия кнопки SEL (выбор).
4. Сфокусируйтесь на объект.
5. Пожалуйста, проверьте, что объект находится в диапазоне
работы вспышки, который показывается на ЖК панели вспышки EF-610 Super.
6. Вы можете сделать кадр после подтверждения загорания лампочки готовности на вспышке.
◆ Для прекращения компенсации экспозиции начните с шага 1 и выберите +0 на дисплее.
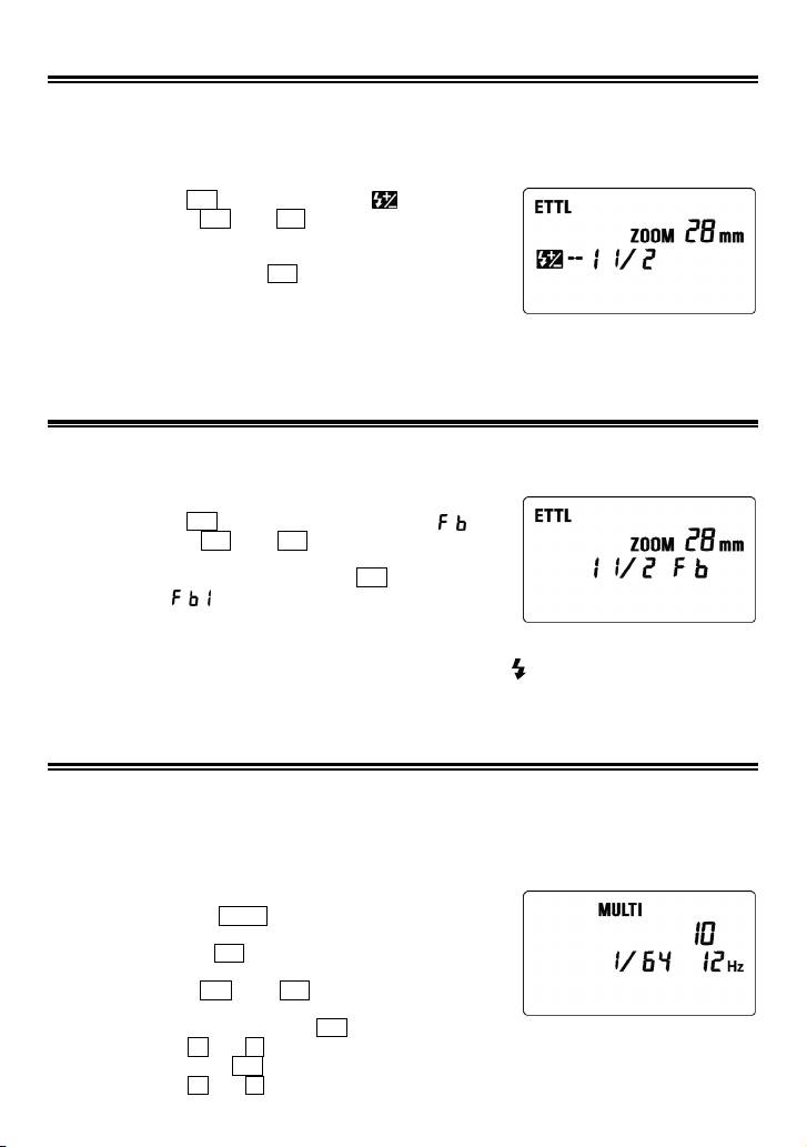
FB (БРЕКЕТИНГ ЭКСПОЗИЦИИ ВСПЫШКИ)
С FB Вы можете получить разные снимки объекта с вспышкой, в то время как уровень экспозиции
остается постоянным. Снимки с брекетированной вспышкой могут быть сделаны в
последовательности правильной экспозиции, недоэкспонирования и переэкспонирования в диапазоне
до ±3 с шагом 1/3EV (или шагом 1/2EV для некоторых камер).
1. Нажмите кнопку SEL (выбор); будет мигать значок .
2. Нажмите кнопку
+
или
-
для установки величины
брекетирования экспозиции вспышки.
3. После повторного нажатия кнопки SEL (выбор) будет
показываться .
4. Настройте фокусировку.
5. Пожалуйста, проверьте, что объект находится в пределах диапазона работы вспышки
показываемой на ЖК панели EF-610 Super.
6. Проверьте в видоискателе наличие значка зарядки вспышки и снимите кадр.
7. Если необходимо повторите пункты от 4 до 6.
◆ Эта функция автоматически прекращается после выполнения третьей экспозиции.
РЕЖИМ ВСПЫШКИ MULTY (МНОГОКРАТНЫЙ)
Когда затвор открыт, вспышка будет срабатывать повторно. При этом получается серия изображений
объекта, которые экспонируются на одном кадре. Этот режим более эффективен для съемки темного фона
с яркими объектами. Можно настроить частоту вспышек от 1 Гц до 199 Гц. Непрерывно может срабатывать
до 100 вспышек. Максимальное число вспышек различно и зависят от ведущего числа вспышки, а
также от настройки частоты вспышек. (Пожалуйста, смотрите таблицу 3 на последней странице.)
◆ Эта функция не может быть использована с камерами EOS 700, 750, 850.
1.
Установите режим экспозиции камеры на М и установите диафрагму
.
2. Нажимайте кнопку MODE (режим) до тех пор, пока не
появится режим вспышки MULTI (многократно).
3. Нажимайте кнопку SEL (выбор) до тех пор, пока частота
вспышки не начнет мигать.
4. Нажмите кнопку
+
или
-
для установки желаемой
частоты вспышки.
5. После повторного нажатия кнопки SEL (выбор) уровень мощности вспышки будет мигать.
6. Нажмите кнопку
+
или
-
для получения необходимого уровня мощности.
7. Опять нажмите кнопку SEL (выбор). Будет мигать число вспышек.
8. Нажмите кнопку
+
или
-
для установки желаемого числа вспышек.
137
Оглавление
- 安全上のご注意
- 各部の名称(1 ページ)
- 発光部のセット
- ワイドパネルについて
- 連続撮影時のご注意
- 後幕シンクロ撮影
- モデリング発光
- マルチ発光撮影
- ワイヤレス撮影
- スレーブ発光
- 主要諸元
- PRECAUTIONS
- DESCRIPTION OF THE PARTS
- ADJUSTING THE FLASH HEAD
- WIDE PANEL
- LIMITS OF CONTINUOUS SHOOTING
- HIGH SPEED SYNC (FP) FLASH, A TYPE CAMERAS ONLY
- MODELING FLASH
- BOUNCE FLASH
- SLAVE FLASH
- SPECIFICATIONS
- VORSICHTSMAßNAHMEN
- BESCHREIBUNG DER TEILE
- EINSTELLEN DES BLITZKOPFES
- WEITWINKELSTREUSCHEIBE
- GRENZEN DER SERIENAUSLÖSUNG
- SYNCHRONISATION AUF DEN ZWEITEN VERSCHLUSSVORHANG
- BLITZBELICHTUNGSSPEICHERUNG (FE-LOCK)
- STROBOSKOPBETRIEB
- KABELLOSES BLITZEN
- „SLAVE“ GERÄT
- TECHNISCHE DATEN
- PRECAUTIONS
- DESCRIPTION DES ELEMENTS
- AJUSTEMENT DE LA TETE FLASH
- ELARGISSEUR D'ANGLE
- LIMITES DES PRISES DE VUE CONSECUTIVES AU FLASH
- SYNCHRONISATION GRANDE VITESSE (FP)
- FLASH PREDICTIF
- FLASH INDIRECT
- FLASH ESCLAVE
- CARACTERISTIQUES TECHNIQUES
- PRECAUCIONES
- DESCRIPCIÓN DE LAS PARTES
- AJUSTE DEL CABEZAL DEL FLASH
- PANTALLA ANGULAR
- LIMITACIONES DEL DISPARO CONTINUO
- BLOQUEO FE (sólo para cámaras de tipo B)
- LUZ DE MODELADO
- FLASH REFLEJADO
- CONTROL REMOTO DEL FLASH
- FLASH ESCLAVO
- ESPECIFICACIONES
- ATTENZIONE
- DESCRIZIONE DELLE PARTI
- REGOLAZIONE DELLA TESTA DEL FLASH
- ILLUMINAZIONE DEL DISPLAY LCD
- LIMITAZIONI QUANDO SI SCATTA IN SEQUENZA
- BLOCCO FE
- FB (Esposizione Bracketing del flash)
- FLASH TELECOMANDATO SENZA FILI (WIRELESS)
- FLASH SECONDARIO
- SPECIFICHE
- BEMÆRK
- BESKRIVELSE AF FLASHENS DELE
- JUSTERING AF FLASHHOVEDET
- ETTL (TTL) AUTO FLASH
- SYNKRONISERING MED ANDET LUKKERGARDIN
- FE LÅS
- MULTI-FLASH FUNKTION
- TRÅDLØS FLASH
- SLAVE-FLASH
- SPECIFIKATIONER
- VOORZORGSMAATREGELEN
- OMSCHRIJVING VAN DE ONDERDELEN
- HET AFSTELLEN VAN DE FLITSKOP
- GROOTHOEK ADAPTER
- MAXIMALE PRESTATIES BIJ CONTINU FOTOGRAFEREN.
- FP FLITS (High Speed Sync)
- FB MODE (Flash Exposure Bracketing)
- DRAADLOOS FLITSEN
- SLAVE FUNCTIE
- TECHNISCHE GEGEVENS:
- 注 意
- 相容相機型號
- 安裝閃光燈到相機及其解除
- 閃燈連發限制
- 第二簾幕閃燈同步
- 造型閃光燈
- 反射閃光
- 離機無線從屬(Slave)閃光模式
- 規 格
- 사용상 주의점
- 각부의 명칭
- 플래시 헤드 조정
- ETTL (TTL) 오토 플래시
- 후막 싱크로 촬영
- FE LOCK 촬영
- 멀티 플래시 모드
- 무선 플래시 촬영
- 슬레이브 플래시
- 제품 사양
- ПРЕДОСТОРОЖНОСТИ
- ОПИСАНИЕ СОСТАВНЫХ ЧАСТЕЙ
- НАСТРОЙКА ГОЛОВКИ ВСПЫШКИ
- ОСВЕЩЕНИЕ ЖК ПАНЕЛИ
- ОГРАНИЧЕНИЯ ДЛЯ НЕПРЕРЫВНОЙ СЪМКИ
- ВЫСОКОСКОРОСТНАЯ СИНХРОНИЗАЦИЯ ВСПЫШКИ,
- КОМПЕНСАЦИЯ ЭКСПОЗИЦИИ
- НАПРАВЛЕННОСТЬ ВСПЫШКИ
- ДОПОЛНИТЕЛЬНАЯ ВСПЫШКА
- ХАРАКТЕРИСТИКИ
- PRECAUÇÕES
- DESCRIÇÃO DOS COMPONENTES
- COMO AJUSTAR A CABEÇA DO FLASH
- ILUMINAÇÃO DO PAINEL LCD
- LIMITES DE DISPAROS CONTÍNUOS
- SINCRONIZAÇÃO DO FLASH A ALTA VELOCIDADE (FP),
- FB (Exposição Múltipla com Flash)
- FLASH INDIRECTO
- FLASH ESCRAVO
- ESPECIFICAÇÕES

