Sigma ELECTRONIC FLASH EF-610 DG SUPER EO-ETTL II (キヤノン用): FE LOCK 촬영
FE LOCK 촬영: Sigma ELECTRONIC FLASH EF-610 DG SUPER EO-ETTL II (キヤノン用)

FE LOCK 촬영
“ FE” lock 모드로 사용자는 촬영전에 뷰 파인더의 임의 부분에 대한 노출을 선택하고 고정할
수 있게 되었습니다.
1. 카메라의 노출 모드를 설정합니다. (“ P” , “ Tv” , “ Av” , “ M” 또는 “ DEP” )
2. 플래시 모드를 E-TTL 이나 고속 싱크로로 설정합니다.
3. 피사체에 초점을 맞춥니다.
4. 뷰 파인더의 중앙 AF 프레임에 피사체를 맞추고 FE lock 버튼을 누릅니다.
◆ 플래시가 발광하여 피사체에 필요한 노광량을 계산하고 기억합니다.
◆ 뷰 파인더내에 “ FEL” 이 0.5 초간 표시되며 적정한 노광량이 설정됩니다.
◆ 뷰 파인더에 마크가 나타나면 정확한 노출을 위한 빛이 부족하다는 의미입니다. 피사체에 가까이
다가가서 3 번부터 다시 진행해 주십시오.
5.
사진 구도를 정한 후 셔터 버튼을 누르십시오.
◆ 카메라 모델에 따라 이 기능이 달라질 수 있습니다. 자세한 사항은 사용하는 카메라 설명서의 “ FE
lock” 을 참조하시기 바랍니다.
모델링 발광
모델링 발광을 사용하면 촬영전에 빛과 그림자 효과를 확인할 수 있습니다. (이 기능은 모델링
발광이 가능한 카메라에 제한됩니다. 자세한 사항은 카메라의 사용 설명서를 참조하십시오.)
카메라에 모델링 발광이 설정되면 플래시 패널에
심벌이 자동으로 표시됩니다.
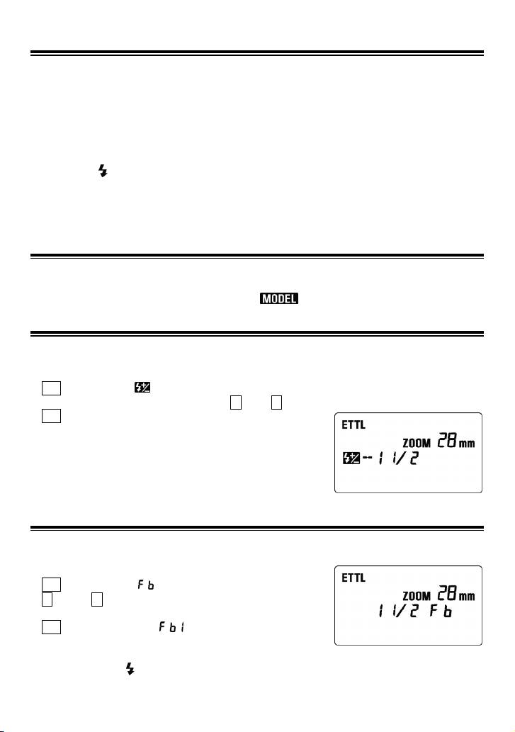
노출 보정
플래시 촬영시 일반 노출 보정과 함께 플래시 노출 보정을 사용할 수 있습니다. (배경 노출 레벨 조절을
위해) 플래시 노출 보정은 1/3 stops 씩 ±3-stop 에서 설정할 수 있습니다. (일부 카메라는 1/2 stop 증가)
◆ 이 모드는 EOS 620, 650, 700, 850 및 1000 카메라에서 사용할 수 없습니다.
1. SEL 버튼을 누르고 를 선택합니다.
2. 원하는 노출 보정 수치를 설정하기 위해 + 또는 - 버튼을 누르십시오.
3. SEL 버튼을 다시 누르면, 깜박임 표시가 멈출 것입니다.
4. 피사체에 초점을 맞추십시오.
5. EF 610 DG Super 의 LCD 패널에 표시되는 플래시 범위내에
피사체가 있는지 확인하십시오.
6. 플래시의 준비 표시등이 들어오면 촬영을 하실 수 있습니다.
◆ 노출 보정을 취소하려면, 1 단계부터 시작하여 화면에 + 0 을
선택하십시오.
FB (플래시 노출 브라케팅)
FB 를 사용하면 배경의 노출을 변화시키지 않고, 피사체에 미치는 플래시의 광량을 표준, 노출
부족 및 노출 오버로 1/3EV 씩 최대 ± 3 stops 까지 증감시킬 수 있습니다. (일부 카메라에서는
1/2EV 증감)
1. SEL 버튼을 누르면; 마크가 깜박일 것입니다.
2. + 또는 - 버튼을 눌러 플래시 노출 브라케팅 수치를
설정하십시오.
3. SEL 버튼을 다시 누르면 이 표시될 것입니다.
4. 초점을 맞추십시오.
5. EF 610 DG Super 의 LCD 패널에 표시되는 플래시 범위내에 피사체가 있는지 확인하십시오.
6. 뷰 파인더를 통해 플래시 충전 마크가 나타나는 것을 확인한 후 촬영하십시오.
7. 필요시 4 에서 6 단계를 반복합니다.
◆ 3 번 촬영한 후에는 이 기능이 자동으로 해제됩니다.
124
Оглавление
- 安全上のご注意
- 各部の名称(1 ページ)
- 発光部のセット
- ワイドパネルについて
- 連続撮影時のご注意
- 後幕シンクロ撮影
- モデリング発光
- マルチ発光撮影
- ワイヤレス撮影
- スレーブ発光
- 主要諸元
- PRECAUTIONS
- DESCRIPTION OF THE PARTS
- ADJUSTING THE FLASH HEAD
- WIDE PANEL
- LIMITS OF CONTINUOUS SHOOTING
- HIGH SPEED SYNC (FP) FLASH, A TYPE CAMERAS ONLY
- MODELING FLASH
- BOUNCE FLASH
- SLAVE FLASH
- SPECIFICATIONS
- VORSICHTSMAßNAHMEN
- BESCHREIBUNG DER TEILE
- EINSTELLEN DES BLITZKOPFES
- WEITWINKELSTREUSCHEIBE
- GRENZEN DER SERIENAUSLÖSUNG
- SYNCHRONISATION AUF DEN ZWEITEN VERSCHLUSSVORHANG
- BLITZBELICHTUNGSSPEICHERUNG (FE-LOCK)
- STROBOSKOPBETRIEB
- KABELLOSES BLITZEN
- „SLAVE“ GERÄT
- TECHNISCHE DATEN
- PRECAUTIONS
- DESCRIPTION DES ELEMENTS
- AJUSTEMENT DE LA TETE FLASH
- ELARGISSEUR D'ANGLE
- LIMITES DES PRISES DE VUE CONSECUTIVES AU FLASH
- SYNCHRONISATION GRANDE VITESSE (FP)
- FLASH PREDICTIF
- FLASH INDIRECT
- FLASH ESCLAVE
- CARACTERISTIQUES TECHNIQUES
- PRECAUCIONES
- DESCRIPCIÓN DE LAS PARTES
- AJUSTE DEL CABEZAL DEL FLASH
- PANTALLA ANGULAR
- LIMITACIONES DEL DISPARO CONTINUO
- BLOQUEO FE (sólo para cámaras de tipo B)
- LUZ DE MODELADO
- FLASH REFLEJADO
- CONTROL REMOTO DEL FLASH
- FLASH ESCLAVO
- ESPECIFICACIONES
- ATTENZIONE
- DESCRIZIONE DELLE PARTI
- REGOLAZIONE DELLA TESTA DEL FLASH
- ILLUMINAZIONE DEL DISPLAY LCD
- LIMITAZIONI QUANDO SI SCATTA IN SEQUENZA
- BLOCCO FE
- FB (Esposizione Bracketing del flash)
- FLASH TELECOMANDATO SENZA FILI (WIRELESS)
- FLASH SECONDARIO
- SPECIFICHE
- BEMÆRK
- BESKRIVELSE AF FLASHENS DELE
- JUSTERING AF FLASHHOVEDET
- ETTL (TTL) AUTO FLASH
- SYNKRONISERING MED ANDET LUKKERGARDIN
- FE LÅS
- MULTI-FLASH FUNKTION
- TRÅDLØS FLASH
- SLAVE-FLASH
- SPECIFIKATIONER
- VOORZORGSMAATREGELEN
- OMSCHRIJVING VAN DE ONDERDELEN
- HET AFSTELLEN VAN DE FLITSKOP
- GROOTHOEK ADAPTER
- MAXIMALE PRESTATIES BIJ CONTINU FOTOGRAFEREN.
- FP FLITS (High Speed Sync)
- FB MODE (Flash Exposure Bracketing)
- DRAADLOOS FLITSEN
- SLAVE FUNCTIE
- TECHNISCHE GEGEVENS:
- 注 意
- 相容相機型號
- 安裝閃光燈到相機及其解除
- 閃燈連發限制
- 第二簾幕閃燈同步
- 造型閃光燈
- 反射閃光
- 離機無線從屬(Slave)閃光模式
- 規 格
- 사용상 주의점
- 각부의 명칭
- 플래시 헤드 조정
- ETTL (TTL) 오토 플래시
- 후막 싱크로 촬영
- FE LOCK 촬영
- 멀티 플래시 모드
- 무선 플래시 촬영
- 슬레이브 플래시
- 제품 사양
- ПРЕДОСТОРОЖНОСТИ
- ОПИСАНИЕ СОСТАВНЫХ ЧАСТЕЙ
- НАСТРОЙКА ГОЛОВКИ ВСПЫШКИ
- ОСВЕЩЕНИЕ ЖК ПАНЕЛИ
- ОГРАНИЧЕНИЯ ДЛЯ НЕПРЕРЫВНОЙ СЪМКИ
- ВЫСОКОСКОРОСТНАЯ СИНХРОНИЗАЦИЯ ВСПЫШКИ,
- КОМПЕНСАЦИЯ ЭКСПОЗИЦИИ
- НАПРАВЛЕННОСТЬ ВСПЫШКИ
- ДОПОЛНИТЕЛЬНАЯ ВСПЫШКА
- ХАРАКТЕРИСТИКИ
- PRECAUÇÕES
- DESCRIÇÃO DOS COMPONENTES
- COMO AJUSTAR A CABEÇA DO FLASH
- ILUMINAÇÃO DO PAINEL LCD
- LIMITES DE DISPAROS CONTÍNUOS
- SINCRONIZAÇÃO DO FLASH A ALTA VELOCIDADE (FP),
- FB (Exposição Múltipla com Flash)
- FLASH INDIRECTO
- FLASH ESCRAVO
- ESPECIFICAÇÕES

