Sigma ELECTRONIC FLASH EF-610 DG SUPER SO-ADI (ソニー用): バウンス撮影
バウンス撮影 : Sigma ELECTRONIC FLASH EF-610 DG SUPER SO-ADI (ソニー用)

バウンス撮影
室内でフラッシュ撮影すると壁などの背景に強い影が出ることが
あります。フラッシュの発光部を上へ向けて発光し、天井などに
反射させることにより、影の少ない柔らかな写真が撮影できます。
バウンスはロックボタンを解除し回転させることで、
上:0°60°75°90° 下:0° 7°
右:0°60°75°90°
左:0°60°75°90°120°150°180°
に切り換えが出来ます。バウンス撮影時には液晶パネルに
が
表示されます。
バウンスさせる反射面の色が写真全体にあらわれますので、なるべく白い面を選んでください。ま
た、バウンスさせる反射面の状況や撮影距離などの撮影条件によって調光できる範囲が変化します
ので、撮影後に液晶パネルの表示で撮影できたかどうか確認してください。
近接撮影
発光部を下に 7°傾けることで、近接撮影において画面下部に十分に光ををまわすことができます。
この機能は、被写体までの距離が約 0.5~2m 以内で有効です。
下方に 7°バウンスさせている時は
表示が点滅します。
キャッチライトパネル
バウンス撮影時に、人物の目にキャッチラ
イトを入れることができる、キャッチライ
トパネルを内蔵しています。ワイドパネル
+キャッチライトパネルを止まるまで引き
出します (強く引っ張らないでください)。
ワイドパネルは元の位置に収納してくだ
さい。
◆ バウンス角度を上方 90°にし、被写体から近い距離での撮影が効果的です。
ワイヤレス撮影
フラッシュをカメラから取り外して置く位置を工夫すると、陰影をつけた立体感のある写真や自然
な陰影をつけた写真にすることができます。このような撮影をしたいときには、カメラとフラッシ
ュをコードで接続しなければならないことが多いのですが、EF-610 DG SUPER SO-ADI では、カ
メラとフラッシュの信号の伝達をフラッシュの光を利用して行うため、コードがなくても撮影する
ことができます。ワイヤレス発光撮影では、露出はカメラが自動的に適正露出になるように制御し
ます。
◆ ここではカメラに取り付けるフラッシュを「コントローラー」、カメラから離して置くフラッシ
ュを「オフカメラフラッシュ」と表記します。
◆ フラッシュをカメラから離して使用するときは、付属のミニスタンドを取り付けると便利です。
ミニスタンドには三脚用のねじ穴もついています。
◆ 画面内にフラッシュが入らないよう注意してください。
◆ 被写体よりフラッシュは約 0.5m~5m、カメラは約 1m~5m の範囲内にセットしてください。
◆ 他の人がワイヤレス撮影をしていると、その信号光によりお使いのフラッシュが発光してしまう
ことがあります。このような場合には、他の人とは違うチャンネルを設定します。詳しくはワイ
ヤレスフラッシュ撮影の操作方法をご覧ください。
8

A.カメラの内蔵フラッシュを信号にする場合
① カメラをワイヤレスフラッシュモードにセットします。
◆ 設定方法はカメラにより異なりますので、カメラの使用説明書をご覧ください。
② カメラの露出モードをセットします(P,A,S,M のいずれかにセットします)。
③ フラッシュの ボタンを数回押して、オフフラッシュモード表示に切り換えます。
④ ボタンを押して、オフカメラフラッシュ番号を 1 に設定します。
⑤ ボタンを押して、発光モードを TTL に設定します。
⑥ ボタンを押してチャンネル表示を点滅させます。
⑦ 或いは ボタンを押してチャンネル番号(C1~C4)を
設定します。
⑧ ボタンを押して表示を点灯させます。
⑨ フラッシュをカメラに取り付け、カメラのシャッターボタン
を半押しします。(カメラ側にチャンネル番号が記憶されます)
⑩ フラッシュをカメラから取り外して、決めておいた位置にセットします。
⑪ カメラの内蔵フラッシュをポップアップして、フラッシュの充電完了を確認します。
◆ ワイヤレスフラッシュモードでは、AF 補助光が点滅して充電完了を知らせます。
⑫ 被写体にピントを合わせて撮影します。
◆ カメラの内蔵フラッシュが発光すると同時に発光します。カメラの内蔵フラッシュは、EF-610
DG SUPER SO-ADI の制御のために発光するだけで、主撮影は EF-610 DG SUPER SO-ADI の
発光で行われます。露出制御は TTL モードと同様に、被写体が適正露出になるように EF-610 DG
SUPER SO-ADI の発光量をカメラが制御します。
◆ シャッター速度に応じて、通常撮影かワイヤレスハイスピードシンクロ撮影かに自動的に切り換
わります。
◆ 発光モードを M に設定した場合、ワイヤレスマニュアル発光になります。チャンネル設定後に
発光量表示が点滅しますので、
或いは ボタンを押して発光量をセットし、 ボタ
ンを押して表示を点灯させてください。
B.カメラに取り付けたフラッシュを信号にする場合
ワイヤレス撮影を行うには 2 台以上の EF-610 DG SUPER SO-ADI が必要です。オフカメラフラッ
シュ側に EF-530 DG SUPER SO-ADI を使用することもできますが、機能や使用できるカメラに制
限があります。また、オフカメラフラッシュに使用する機種によって、コントローラーのコントロ
ールモードを変更する必要があります。下表をご参照ください。(コントローラーには必ず EF-610
DG SUPER SO-ADI を使用してください。)
オフカメラフラッシュ
EF-530 DG SUPER SO-ADI
EF-610 DG SUPER SO-ADI
に使用できる機種
EF-610 DG SUPER SO-ADI
コントロールモード
+
-
使用できるカメラ
α700, α900 α900
コントローラー、オフカメラフラッ
コントローラー、オフカメラフラッ
シュ 1、オフカメラフラッシュ 2 の
シュの 2 グループ制御
光量比制御の設定
最大 3 グループ制御
コントローラー:オフカメラフラッ
それぞれのグループに、発光禁止、
シュの割合が 1:2 もしくは 2:1 の選
もしくは5段階の光量比設定が可能
択が可能
TTL 撮影, ハイスピードシンクロ撮
TTL 撮影, ハイスピードシンクロ撮
発光モード
影(TTL, M), マニュアル発光
影(TTL)
9

B-1.オフカメラフラッシュのみを発光させる場合
カメラとコントローラーの設定
① カメラをワイヤレスフラッシュモードにセットします。
◆ 設定方法はカメラにより異なりますので、カメラの使用説明書をご覧ください。
② カメラの露出モードをセットします(P,A,S,M のいずれかにセットします)。
③ カメラにフラッシュを取り付けます。
④ 自動でワイヤレスのコントローラー設定表示に切り換わりま
す。(自動的に切り換わらない場合は
ボタンを数回押
してコントローラー設定表示に切り換えてください。)
⑤
ボタンを押してコントロールモード表示を点滅させます。
⑥ 或いは ボタンを押してコントロールモードを に
設定します。
⑦ ボタンを押してチャンネル表示を点滅させます。
⑧ 或いは ボタンを押してチャンネル番号(C1~C4)を設定します。
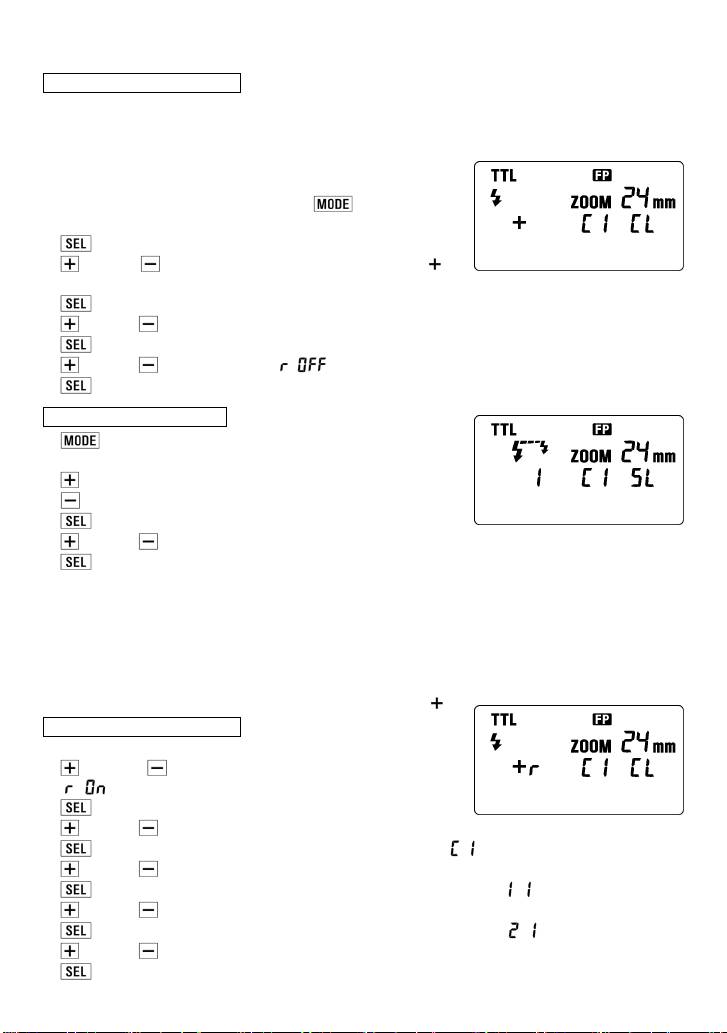
⑨ ボタンを押して光量比制御モード表示 [r OFF/On] を点滅させます。
⑩ 或いは ボタンを押して [ ] に設定します。
⑪ ボタンを押して表示を点灯させます。
オフカメラフラッシュの設定
⑫ ボタンを数回押してオフカメラフラッシュ設定表示に
切り換えます。
⑬
ボタンを押して、オフカメラフラッシュ番号
1
に設定します。
⑭ ボタンを押して、発光モードを TTL に設定します。
⑮ ボタンを押してチャンネル表示を点滅させます。
⑯ 或いは ボタンを押してコントローラーと同じチャンネル番号を設定します。
⑰ ボタンを押して表示を点灯させます。
⑱ オフカメラフラッシュを決めておいた位置にセットします。
⑲ 両方のフラッシュの充電完了を確認します。
◆ コントローラー側ではレディライトが点灯し、オフカメラフラッシュ側では AF 補助光が点滅し
て充電完了を知らせます。
⑳ 被写体にピントを合わせて撮影します。
B-2.光量比制御撮影をする場合(コントロールモード )
カメラとコントローラーの設定
① B-1 手順⑨まで、同様の設定を行います。
② 或いは ボタンを押して光量比制御モード表示を
[
] に設定します。
③ ボタンを押して発光モード表示を点滅させます。
④ 或いは ボタンを押して発光モードを TTL に設定します。
⑤ ボタンを押して、コントローラーの光量比設定表示 [ ] を点滅させます。
⑥ 或いは ボタンを押して、コントローラーの光量比を設定します。
⑦ ボタンを押して、オフカメラフラッシュ 1 の光量比設定表示 [ ] を点滅させます。
⑧ 或いは ボタンを押して、オフカメラフラッシュ 1 の光量比を設定します。
⑨ ボタンを押して、オフカメラフラッシュ 2 の光量比設定表示 [ ] を点滅させます。
⑩ 或いは ボタンを押して、オフカメラフラッシュ 2 の光量比を設定します。
⑪ ボタンを押して表示を点灯させます。
10
Оглавление
- 安全上のご注意
- 各部の名称(1 ページ)
- 発光部のセット
- 液晶パネルの照明
- 連続撮影時のご注意
- ハイスピードシンクロ撮影(HSS 発光)
- バウンス撮影
- スレーブ発光
- 主要諸元
- PRECAUTIONS
- DESCRIPTION OF THE PARTS
- ADJUSTING THE FLASH HEAD
- TTL AUTO FLASH
- MANUAL FLASH OPERATION
- MULTI FLASH MODE
- WIRELESS FLASH
- SLAVE FLASH
- SPECIFICATIONS
- VORSICHTSMAßNAHMEN
- BESCHREIBUNG DER TEILE
- EINSTELLEN DES BLITZKOPFES
- BELEUCHTUNG DER LCD
- GRENZEN DER SERIENAUSLÖSUNG
- EINSTELLLICHT
- KABELLOSES BLITZEN
- „SLAVE“ GERÄT
- TECHNISCHE DATEN
- PRECAUTIONS
- DESCRIPTION DES ELEMENTS
- AJUSTEMENT DE LA TETE FLASH
- RETRO ECLAIRAGE DE L'ECRAN LCD
- LIMITES DES PRISES DE VUE CONSECUTIVES AU FLASH
- MODE DE FLASH STROBOSCOPIQUE (MULTI FLASH)
- FLASH DISTANT SANS CORDON (Wireless)
- FLASH ESCLAVE
- CARACTERISTIQUES TECHNIQUES
- PRECAUCIONES
- DESCRIPCIÓN DE LAS PARTES
- AJUSTE DEL CABEZAL DEL FLASH
- ILUMINACIÓN DE LA PANTALLA LCD
- LIMITACIONES DEL DISPARO CONTINUO
- MODO DE MULTI FLASH (Estroboscópico)
- CONTROL REMOTO DEL FLASH
- FLASH ESCLAVO
- ESPECIFICACIONES
- ATTENZIONE
- DESCRIZIONE DELLE PARTI
- REGOLAZIONE DELLA TESTA DEL FLASH
- FLASH AUTOMATICO TTL
- FLASH MANUALE
- MODALITÀ MULTI FLASH
- FLASH TELECOMANDATO SENZA FILI (WIRELESS)
- FLASH AUSILIARIO
- SPECIFICHE
- BEMÆRK
- BESKRIVELSE AF FLASHENS DELE
- JUSTERING AF FLASHHOVEDET
- LCD-DISPLAY BELYSNING
- KONTINUERLIG OPTAGELSE
- PILOT-LYS
- TRÅDLØS FLASH
- SLAVE-FLASH
- SPECIFIKATIONER
- VOORZORGSMAATREGELEN
- OMSCHRIJVING VAN DE ONDERDELEN
- HET AFSTELLEN VAN DE FLITSKOP
- VERLICHTING VAN HET LCD DISPLAY
- MAXIMALE PRESTATIES BIJ CONTINU FOTOGRAFEREN.
- MEERVOUDIG FLITSEN
- DRAADLOOS FLITSEN
- SLAVE FUNCTIE
- TECHNISCHE GEGEVENS:
- 사용상 주의점
- 각부의 명칭
- 플래시 헤드 조정
- LCD 패널 조명
- 연속 촬영시 주의점
- 모델링 플래시
- 무선 플래시
- 슬레이브 플래시
- 제품 사양
- ПРЕДОСТОРОЖНОСТИ
- ОПИСАНИЕ СОСТАВНЫХ ЧАСТЕЙ
- НАСТРОЙКА ГОЛОВКИ ВСПЫШКИ
- ОСВЕЩЕНИЕ ЖК ПАНЕЛИ
- ОГРАНИЧЕНИЯ ДЛЯ НЕПРЕРЫВНОЙ СЪМКИ
- ВЫСОКОСКОРОСТНАЯ
- НАПРАВЛЕННОСТЬ ВСПЫШКИ
- ДОПОЛНИТЕЛЬНАЯ ВСПЫШКА
- ХАРАКТЕРИСТИКИ

