Sigma ELECTRONIC FLASH EF-610 DG SUPER SO-ADI (ソニー用): НАПРАВЛЕННОСТЬ ВСПЫШКИ
НАПРАВЛЕННОСТЬ ВСПЫШКИ : Sigma ELECTRONIC FLASH EF-610 DG SUPER SO-ADI (ソニー用)

НАПРАВЛЕННОСТЬ ВСПЫШКИ
Когда Вы фотографируете с вспышкой в комнате, иногда за объектом появляется сильная тень.
Если Вы направляете головку вспышки вверх или в сторону , чтобы отразить свет от потолка,
стен и т.п., объект будет освещаться равномерно. Нажмите блокирующую кнопку и настройте
головку вспышки для установки направления.
ВВЕРХ: 0°, 60°, 75°, 90°
ВНИЗ: 0°, 7°
НАПРАВО: 0°, 60°, 75°, 90° НАЛЕВО: 0°, 60°, 75°, 90°, 120°, 150°, 180°
Когда активируется режим направленности вспышки, на ЖК
панели появится индикатор направления .
Кадр получается цветных при отражении света от поверхности.
Для отражения выбирайте белую поверхность.
В зависимости от отражающей поверхности, могут быть
изменены расстояние до объекта, эффективный диапазон
расстояний для TTL AUTO и другие факторы. Пожалуйста,
проверьте правильность экспозиции (значок TTL на ЖК панели)
после срабатывания затвора.
ЭКСПОЗИЦИИ ДЛЯ КРУПНОГО ПЛАНА
Для крупного плана вспышка может быть повернута на 7° вниз. Вспышка будет активироваться
только для объектов на расстоянии от 0, м до 2 м. Когда головка вспышки опущена на 7° будет
мигать значок
.
ОТРАЖАЮЩАЯ ПАНЕЛЬ
Вспышка оснащена встроенной отражающей
панелью, позволяющей создавать маленький
блик в глазах модели при съёмке портрета
с «заполняющей» вспышкой. Выдвиньте
из корпуса рассеивающую и отражающую
панели и сдвиньте рассеивающую панель
обратно. (Будьте осторожны при выдвигании
панелей.)
◆ Для создания эффективного блика в глазах модели, поверните голову вспышки вверх на 90° и
снимайте с близких дистанций.
ДИСТАНЦИОННАЯ РАБОТА ВСПЫШКИ
Когда Вы используете режим «Дистанционная работа вспышки», Вы можете снять кадры с
трехмерной освещенностью или Вы можете сделать естественные фотографии в зависимости
от положения вспышки без использования соединяющих проводов между камерой и вспышкой.
В случае вспышки EF-610 Super, коммуникация между камерой и вспышкой делается светом
встроенной вспышки. В режиме «Дистанционная вспышка» камера будет
автоматически
вычислять правильную экспозицию.
◆ В этом руководстве мы называем вспышку установленную на камере «Контроллера» и
вспышку установленную на расстоянии «выносной вспышки».
◆ Возможно, удобно использовать миништатив для вспышки установленной не на камере.
Миништатив имеет резьбовое отверстие для укрепления вспышки на штативе.
◆ Удостоверьтесь, что вспышка не попадает в кадр.
◆ Место вспышки приблизительно на расстоянии 0,5 ~ 5 м и камера размещена приблизительно
на расстоянии 1 м ~ 5 м от объекта.
◆ В случае использования другим фотографом вспышки около Вас при работе в режиме
дистанционной вспышки, Ваша вспышка может быть активизирована чужой вспышкой. В
таком случае, пожалуйста, установите Вашу вспышку на канал отличный от используемого
чужой вспышкой. Пожалуйста, настройку смотрите выше.
120

А.
ИСПОЛЬЗОВАНИЕ СИГНАЛА ВСТРОЕННОЙ ВСПЫШКИ КАК ТРИГГЕР
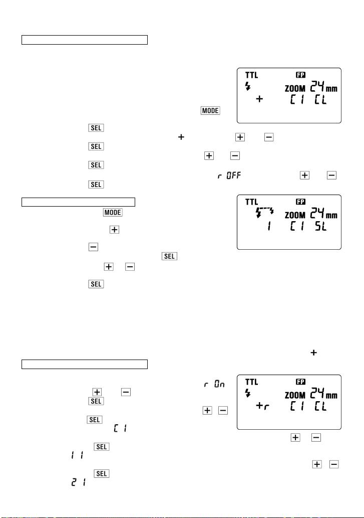
1. Установите на камере режим беспроводной вспышки.
◆ Поскольку установка режима в различных моделях камер
отличается, обратитесь к инструкции для вашей камеры для
уточнения настроек.
2. Установите на камере экспозиционный режим P,A,S или M.
3. Нажимайте кнопку
на вспышке до тех пор, пока не
будет отображёны настройки вынесенной вспышки.
4. С помощью кнопки
установите номер вынесенной вспышки равный 1.
5. Нажмите кнопку
для установки режима вспышки TTL.
6. Чтобы сменить канал, нажмите кнопку
.
При этом номер канала начнёт мигать.
7. Установите номер канала (C1 - C4) с помощью кнопок
или
.
8. Нажмите кнопку
, номер канала перестанет мигать.
9. Установите вспышку на камеру и нажмите кнопку спуска затвора наполовину (номер канала
будет передан в камеру).
10. Снимите вспышку с камеры и установите ее в желаемое положение.
11. Поднимите на камере встроенную вспышку и убедитесь, что она полностью зарядилась.
◆ В режиме дистанционной вспышки будет мигать вспомогательный источник света AF и
показывать, что вспышка полностью заряжена.
12. Настройте фокус камеры для получения кадра.
◆ Вспышка EF-610 будет срабатывать при срабатывании встроенной вспышки. Встроенная
вспышка камеры срабатывает только для управления вспышкой EF-610. Освещение объекта
производится вспышкой EF-610 SUPER. Для получения правильной экспозиции камера будет
управлять мощностью вспышки как в режиме вспышки TTL Auto.
◆ В зависимости от скорости затвора, камера автоматически переключит вспышку в режим
нормальной или высокоскоростной синхронизации.
◆ Когда камера находится в экспозиционном режиме M, вспышка будет работать в ручном
беспроводном режиме. После выбора номера канала, значение уровня мощности вспышки
будет мигать. Установите нужный уровень мощности с помощью кнопок
или
,
а затем
нажмите кнопку
, чтобы значение на дисплее перестало мигать.
B
. ИСПОЛЬЗОВАНИЕ СИГНАЛА ВСПЫШКИ УКРЕПЛЕННОЙ НА КАМЕРЕ КАК ТРИГГЕР
Для системы беспроводных вспышек необходимо 2 или более устройств EF-610 DG SUPER
SO-ADI. Модель EF-530 DG SUPER SO-ADI может быть использована только как выносная, т.е.
не установленная на камере. В зависимости от модели вспышки, используемой как выносная,
необходимо выбрать режим контроля на контроллере. Смотрите таблицу ниже. (EF-610 DG
SUPER SO-ADI может использоваться как контроллер).
Модель вспышки, которая
EF-530 DG SUPER SO-ADI
может быть использована
EF-610 DG SUPER SO-ADI
EF-610 DG SUPER SO-ADI
как выносная
Режим контроля
+
-
Модель камеры, которая
может быть использована
α700, α900 α900
с выносной вспышкой
Возможно контролирование
Настройка контроля
относительной мощности
121
д
о
3 групп; Контроллер, Выносная
вспышка 1 и Выносная вспышка 2.
Возможно установить относительную
мощность каждой группы до 5
у
Возможно контролирование 2
групп; Контроллер и Выносная
вспышка.
Контроллер : Возможно установить
относительную мощность
ровней или «без вспышки».
выносной вспышки 1:2 или 2:1.
Автоматическая TTL Auto,
Режим вспышки
Высокоскоростная синхронизация
(
TTL, M
)
, Р
у
Автоматическая TTL Auto,
Высокоскоростная
чной режим
синхронизация
(
TTL
)

B-1. В СЛУЧАЕ ИСПОЛЬЗОВАНИЯ ТОЛЬКО ВЫНОСНОЙ ВСПЫШКИ
Настройка Камеры и Контроллера
1. Установите на камере режим беспроводной вспышки.
◆ Поскольку установка режима в различных моделях камер отличается, обратитесь к
инструкции для вашей камеры для уточнения настроек.
2. Установите на камере экспозиционный режим P,A,S или M.
3. Установите вспышку на камеру.
4. ЖК-дисплей вспышки автоматически переключится на
отображение настроек контроллера. (Если автоматического
переключения не произошло, нажимайте кнопку
до
тех пор, пока не будут показаны настройки контроллера.)
5. Нажмите кнопку
, значение контрольного режима начнёт мигать.
6. Установите контрольный режим в значение
, нажав кнопку или .
7. Нажмите кнопку
, номер канала начнёт мигать.
8. Установите номер канала (C1 - C4) нажимая кнопки
или
.
9. Нажмите кнопку
,
значение уровня относительной мощности начнёт мигать.
10.
Установите уровень относительной мощности в значение
[ ]
,
нажимая кнопки
или
.
11. Нажмите кнопку ещё раз, чтобы значения на дисплее перестали мигать.
Настройка выносной вспышки
12. Нажимайте кнопку до тех пор, пока не будут
отображены настройки вынесенной вспышки.
13. С помощью кнопки
установите номер вынесенной
вспышки равный 1.
14. Нажмите кнопку
для установки режима вспышки TTL.
15. Чтобы сменить канал, нажмите кнопку
.
При этом номер канала начнёт мигать.
16. С помощью кнопок
и
выберите тот же номер канала, который установлен на
контроллере.
17. Нажмите кнопку
, номер канала перестанет мигать.
18. Установите вспышку устанавливаемую вне камеры в желаемое положение.
19. Проверьте, что обе вспышки полностью заряжены.
◆ Загорится лампочка готовности и замигает вспомогательная лампочка AF, которая показывает,
что вспышка готова к съемке.
20. Сфокусируйтесь на объекте и снимите кадр.
B-2. КОНТРОЛЬ ОТНОСИТЕЛЬНОЙ МОЩНОСТИ (РЕЖИМ КОНТРОЛЛЕРА )
Настройка Камеры и Контроллера
1. Выполните действия, описанные в пунктах 1
-
9 раздела B-1.
2. Установите контрольный режим в значение [
],
используя кнопки
или .
3. Нажмите кнопку
, режим вспышки начнёт мигать.
4.
Установите режим вспышки в TTL, используя кнопки
и
.
5.
Нажмите кнопку
,
начнёт мигать значение относительной
мощности контроллера [
].
6. Установите уровень относительной мощности контроллера, используя кнопки
и .
7. Нажмите кнопку
, начнёт мигать значение относительной мощности вынесенной
вспышки 1 [
].
8.
Установите
уровень
относительной
мощности
вынесенной
вспышки
1
,
используя
кнопки
и
.
9. Нажмите кнопку , начнёт мигать значение относительной мощности вынесенной
вспышки 2 [
].
122
Оглавление
- 安全上のご注意
- 各部の名称(1 ページ)
- 発光部のセット
- 液晶パネルの照明
- 連続撮影時のご注意
- ハイスピードシンクロ撮影(HSS 発光)
- バウンス撮影
- スレーブ発光
- 主要諸元
- PRECAUTIONS
- DESCRIPTION OF THE PARTS
- ADJUSTING THE FLASH HEAD
- TTL AUTO FLASH
- MANUAL FLASH OPERATION
- MULTI FLASH MODE
- WIRELESS FLASH
- SLAVE FLASH
- SPECIFICATIONS
- VORSICHTSMAßNAHMEN
- BESCHREIBUNG DER TEILE
- EINSTELLEN DES BLITZKOPFES
- BELEUCHTUNG DER LCD
- GRENZEN DER SERIENAUSLÖSUNG
- EINSTELLLICHT
- KABELLOSES BLITZEN
- „SLAVE“ GERÄT
- TECHNISCHE DATEN
- PRECAUTIONS
- DESCRIPTION DES ELEMENTS
- AJUSTEMENT DE LA TETE FLASH
- RETRO ECLAIRAGE DE L'ECRAN LCD
- LIMITES DES PRISES DE VUE CONSECUTIVES AU FLASH
- MODE DE FLASH STROBOSCOPIQUE (MULTI FLASH)
- FLASH DISTANT SANS CORDON (Wireless)
- FLASH ESCLAVE
- CARACTERISTIQUES TECHNIQUES
- PRECAUCIONES
- DESCRIPCIÓN DE LAS PARTES
- AJUSTE DEL CABEZAL DEL FLASH
- ILUMINACIÓN DE LA PANTALLA LCD
- LIMITACIONES DEL DISPARO CONTINUO
- MODO DE MULTI FLASH (Estroboscópico)
- CONTROL REMOTO DEL FLASH
- FLASH ESCLAVO
- ESPECIFICACIONES
- ATTENZIONE
- DESCRIZIONE DELLE PARTI
- REGOLAZIONE DELLA TESTA DEL FLASH
- FLASH AUTOMATICO TTL
- FLASH MANUALE
- MODALITÀ MULTI FLASH
- FLASH TELECOMANDATO SENZA FILI (WIRELESS)
- FLASH AUSILIARIO
- SPECIFICHE
- BEMÆRK
- BESKRIVELSE AF FLASHENS DELE
- JUSTERING AF FLASHHOVEDET
- LCD-DISPLAY BELYSNING
- KONTINUERLIG OPTAGELSE
- PILOT-LYS
- TRÅDLØS FLASH
- SLAVE-FLASH
- SPECIFIKATIONER
- VOORZORGSMAATREGELEN
- OMSCHRIJVING VAN DE ONDERDELEN
- HET AFSTELLEN VAN DE FLITSKOP
- VERLICHTING VAN HET LCD DISPLAY
- MAXIMALE PRESTATIES BIJ CONTINU FOTOGRAFEREN.
- MEERVOUDIG FLITSEN
- DRAADLOOS FLITSEN
- SLAVE FUNCTIE
- TECHNISCHE GEGEVENS:
- 사용상 주의점
- 각부의 명칭
- 플래시 헤드 조정
- LCD 패널 조명
- 연속 촬영시 주의점
- 모델링 플래시
- 무선 플래시
- 슬레이브 플래시
- 제품 사양
- ПРЕДОСТОРОЖНОСТИ
- ОПИСАНИЕ СОСТАВНЫХ ЧАСТЕЙ
- НАСТРОЙКА ГОЛОВКИ ВСПЫШКИ
- ОСВЕЩЕНИЕ ЖК ПАНЕЛИ
- ОГРАНИЧЕНИЯ ДЛЯ НЕПРЕРЫВНОЙ СЪМКИ
- ВЫСОКОСКОРОСТНАЯ
- НАПРАВЛЕННОСТЬ ВСПЫШКИ
- ДОПОЛНИТЕЛЬНАЯ ВСПЫШКА
- ХАРАКТЕРИСТИКИ

