Sigma ELECTRONIC FLASH EF-610 DG SUPER SO-ADI (ソニー用): SPECIFICHE
SPECIFICHE: Sigma ELECTRONIC FLASH EF-610 DG SUPER SO-ADI (ソニー用)

Impostare i flash per lo scatto
1. Collegare il flash che deve scattare alla fotocamera
2. Impostare la fotocamera sul modo di funzionamento S o M
◆ Impostare la velocità dell'otturatore su 1/30 o un tempo più lungo.Il flash principale trasmetterà le
informazioni prima che gli altri flash scattino a loro volta. Se si usa un tempo di sincronizzazione più
veloce di 1/30 i vari flash non scatteranno in sincronia l'uno con l'altro.
3. Mettete su ON l'interruttore del flash e premete a metà corsa il pulsante di scatto.
◆
In questo modo l'apertura del diaframma e la sensibilità del film saranno automaticamente trasferiti al flash
4. Staccare il flash dalla fotocamera
5. Premere il pulsante MODE e impostare
/ ( Modo slave)
6.
Premere il pulsante SEL per far lampeggiare l'indicatore del canale
7. Premere il pulsante
+
o
-
per impostare il numero del canale
(C1 o C2)
8. Premere il pulsante SEL per far lampeggiare l'indicazione del
valore d'uscita del flash
9. Premere il pulsante
+
o
-
per impostare il valore d'uscita
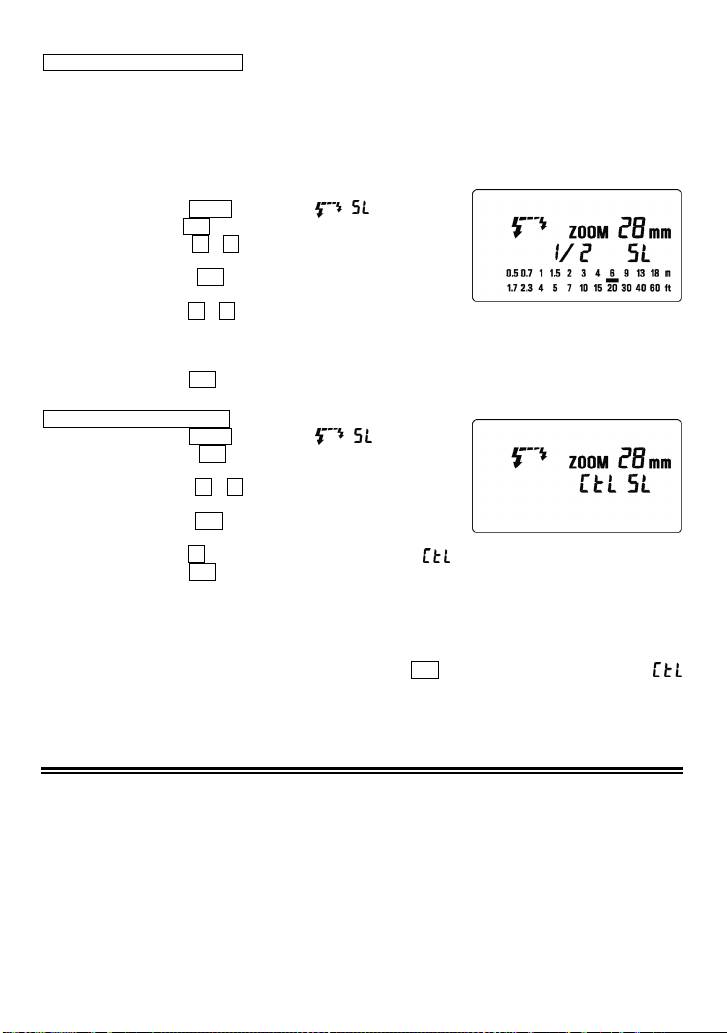
◆ Stabilire la potenza del flash impostando, sul pannello LCD, una distanza che sia la più vicina
possibile a quella che intercorre tra il flash secondario e il soggetto. Se la distanza è fuori dalla
portata, cambiare l'apertura del diaframma.
10. Premere il pulsante SEL alcune volte per far apparire l'indicazione
11. Mettere il flash nella posizione voluta. Attenzione a non inserire il flash nella inquadratura.
Impostare il flash principale
12. Premere il pulsante MODE e impostare / (Modo slave)
13. Premere il pulsante SEL per far lampeggiare l'indicatore del
canale
14. Premere il pulsante
+
o
-
e impostare lo stesso numero di
canale dei flash che debbono scattare
15. Premere il pulsante SEL per far lampeggiare l'indicazione del
valore d'uscita del flash
16. Premere il pulsante
+
per far comparire la segnalazione
17. Premere il pulsante SEL per far cessare il lampeggiamento della indicazione
18. Collegare il flash principale alla fotocamera
19. Dopo esservi assicurati che tutti i flash siano pronti al lampo, premete il pulsante di scatto per
realizzare la fotografia
◆ Quando il flash principale EF-610 DG SUPER SO-ADI è pronto al lampo, la luce ausiliaria AF si
metterà a lampeggiare
◆ Non è possibile impostare il diaframma con il pulsante SEL, se viene impostata l'indicazione
quando s'imposta il valore d'uscita del flash. Il flash va regolato nel modo Slave Controller
◆ Il flash principale Slave Controller ha solamente la funzione di pilotare l'accensione dei flash
SPECIFICHE
MODELLO: Flash con slitta a contatto caldo, auto zoom, TTL
NUMERO GUIDA: 61 ( ISO 100, posizione parabola su focale 105mm)
ALIMENTAZIONE: Quattro batterie alcaline AA, oppure quattro batterie AA Ni-Cd,
oppure quattro batterie Nickel-Metal Hydride
TEMPO DI CARICA: circa 7.0 secondi (batterie alcaline);
circa 5.0 secondi con batterie Ni-Cd e Nickel-Metal Hydride)
NUMERO LAMPI: circa 120 (con batterie alcaline); circa 160 (con batterie Ni-Cd e Nickel-Metal Hydride)
DURATA DEL LAMPO circa 1/700 ( a piena potenza)
COPERTURA FOCALI: 24-105mm, con spostamento motorizzato della parabola;
17mm con diffusore incorporato
SPEGNIMENTO AUTOMATICO: Sì PESO: 330 gr DIMENSIONI: 77x139x117mm
69
Оглавление
- 安全上のご注意
- 各部の名称(1 ページ)
- 発光部のセット
- 液晶パネルの照明
- 連続撮影時のご注意
- ハイスピードシンクロ撮影(HSS 発光)
- バウンス撮影
- スレーブ発光
- 主要諸元
- PRECAUTIONS
- DESCRIPTION OF THE PARTS
- ADJUSTING THE FLASH HEAD
- TTL AUTO FLASH
- MANUAL FLASH OPERATION
- MULTI FLASH MODE
- WIRELESS FLASH
- SLAVE FLASH
- SPECIFICATIONS
- VORSICHTSMAßNAHMEN
- BESCHREIBUNG DER TEILE
- EINSTELLEN DES BLITZKOPFES
- BELEUCHTUNG DER LCD
- GRENZEN DER SERIENAUSLÖSUNG
- EINSTELLLICHT
- KABELLOSES BLITZEN
- „SLAVE“ GERÄT
- TECHNISCHE DATEN
- PRECAUTIONS
- DESCRIPTION DES ELEMENTS
- AJUSTEMENT DE LA TETE FLASH
- RETRO ECLAIRAGE DE L'ECRAN LCD
- LIMITES DES PRISES DE VUE CONSECUTIVES AU FLASH
- MODE DE FLASH STROBOSCOPIQUE (MULTI FLASH)
- FLASH DISTANT SANS CORDON (Wireless)
- FLASH ESCLAVE
- CARACTERISTIQUES TECHNIQUES
- PRECAUCIONES
- DESCRIPCIÓN DE LAS PARTES
- AJUSTE DEL CABEZAL DEL FLASH
- ILUMINACIÓN DE LA PANTALLA LCD
- LIMITACIONES DEL DISPARO CONTINUO
- MODO DE MULTI FLASH (Estroboscópico)
- CONTROL REMOTO DEL FLASH
- FLASH ESCLAVO
- ESPECIFICACIONES
- ATTENZIONE
- DESCRIZIONE DELLE PARTI
- REGOLAZIONE DELLA TESTA DEL FLASH
- FLASH AUTOMATICO TTL
- FLASH MANUALE
- MODALITÀ MULTI FLASH
- FLASH TELECOMANDATO SENZA FILI (WIRELESS)
- FLASH AUSILIARIO
- SPECIFICHE
- BEMÆRK
- BESKRIVELSE AF FLASHENS DELE
- JUSTERING AF FLASHHOVEDET
- LCD-DISPLAY BELYSNING
- KONTINUERLIG OPTAGELSE
- PILOT-LYS
- TRÅDLØS FLASH
- SLAVE-FLASH
- SPECIFIKATIONER
- VOORZORGSMAATREGELEN
- OMSCHRIJVING VAN DE ONDERDELEN
- HET AFSTELLEN VAN DE FLITSKOP
- VERLICHTING VAN HET LCD DISPLAY
- MAXIMALE PRESTATIES BIJ CONTINU FOTOGRAFEREN.
- MEERVOUDIG FLITSEN
- DRAADLOOS FLITSEN
- SLAVE FUNCTIE
- TECHNISCHE GEGEVENS:
- 사용상 주의점
- 각부의 명칭
- 플래시 헤드 조정
- LCD 패널 조명
- 연속 촬영시 주의점
- 모델링 플래시
- 무선 플래시
- 슬레이브 플래시
- 제품 사양
- ПРЕДОСТОРОЖНОСТИ
- ОПИСАНИЕ СОСТАВНЫХ ЧАСТЕЙ
- НАСТРОЙКА ГОЛОВКИ ВСПЫШКИ
- ОСВЕЩЕНИЕ ЖК ПАНЕЛИ
- ОГРАНИЧЕНИЯ ДЛЯ НЕПРЕРЫВНОЙ СЪМКИ
- ВЫСОКОСКОРОСТНАЯ
- НАПРАВЛЕННОСТЬ ВСПЫШКИ
- ДОПОЛНИТЕЛЬНАЯ ВСПЫШКА
- ХАРАКТЕРИСТИКИ

