Sigma ELECTRONIC FLASH EF-610 DG SUPER SO-ADI (ソニー用): SPECIFIKATIONER
SPECIFIKATIONER: Sigma ELECTRONIC FLASH EF-610 DG SUPER SO-ADI (ソニー用)

Indstilling af Slave-flashenheder
1. Monter flashen på kameraet.
2. Indstil kameraet på S eller M funktion.
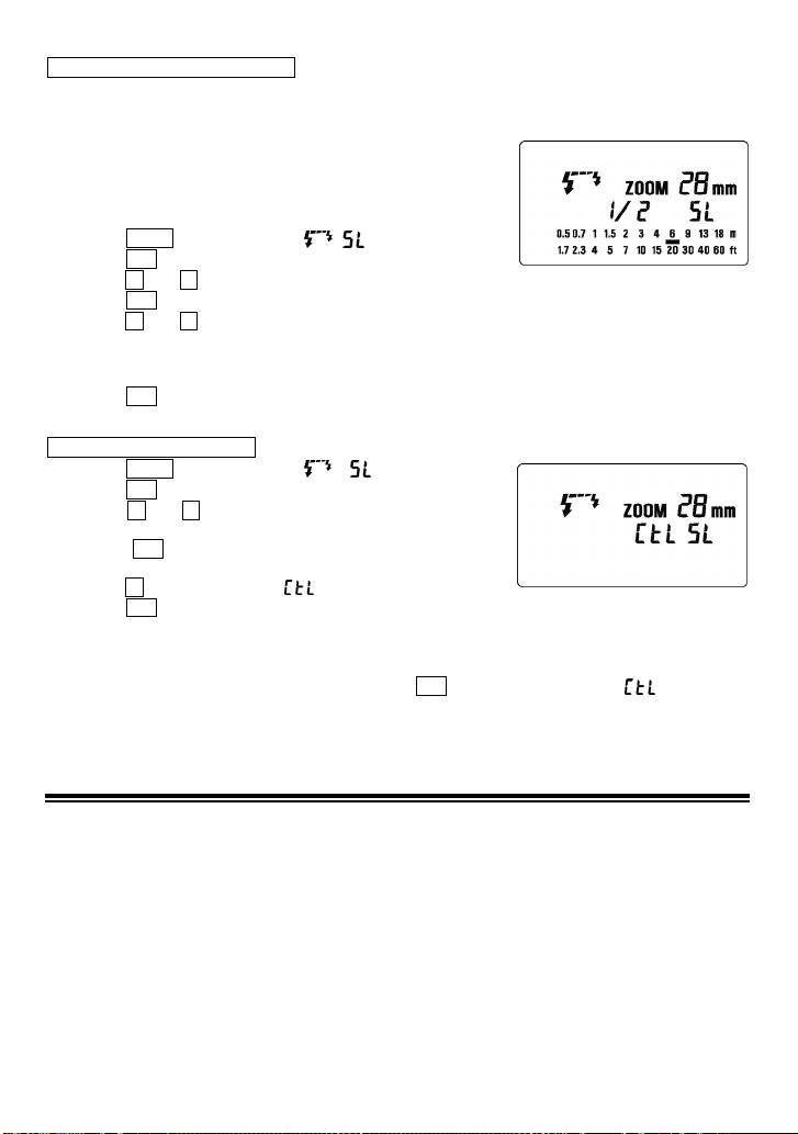
◆ Vælg en lukkertid på 1/30 eller langsommere. Kontrol-flashen vil transmittere kontrolsignalet inden
flashenhederne affyres. Hvis du vælger en lukkertid hurtigere
end 1/30 vil flashenhederne ikke synkronisere.
3. Tænd for flashen og tryk kameraets udløserknap halvt ned. Nu
overføres blændeværdi og filmfølsomhed automatisk til flashen.
4. Fjern flashen fra kameraet.
5. Tryk på MODE-knappen og vælg
/
(Slave-funktionen).
6. Tryk på SEL-knappen for at få kanalindikatoren til at blinke.
7. Tryk på
+
eller
–
knappen for at vælge kanalnummeret (C1 eller C2).
8. Tryk på SEL-knappen for at få indikatoren for lysstyrke til at blinke.
9. Tryk på
+
eller
–
knappen for at vælge den ønskede lysstyrke.
◆ Indstil den fornødne lysstyrke ved at indstille afstanden på LCD-displayet i overensstemmelse med
afstanden til motivet. Hvis den aktuelle afstand er uden for flashens rækkevidde, må du vælge en
anden blænde.
10. Tryk på SEL-knappen gentagne gange for at få vist displayet.
11. Placer Slave-flashen på det ønskede sted. Undgå at placere Slave-flashen indenfor billedfeltet.
Indstilling af kontrol-enhed
12. Tryk på MODE-knappen og vælg / (Slave-funktionen).
13. Tryk på SEL-knappen for at få kanalindikatoren til at blinke.
14. Tryk på
+
eller
–
knappen for at vælge samme kanalnummer
som for Slaveflashen (C1 eller C2).
15. Tryk på SEL-knappen for at få indikatoren for lysstyrke til at
blinke.
16. Tryk på
+
knappen for at vise markeringen.
17. Tryk på SEL-knappen for at få displayet til at holde op med at blinke.
18. Monter kontrol-flashen på kameraet.
19. Når du har kontrolleret at alle flashenheder er klar, kan du tage billedet.
◆ Når Slaveflashenhederne er fuldt opladede vil AF-hjælpelyset blinke.
◆ Du kan ikke indstille blændeværdien ved hjælp af SEL-knappen hvis du vælger markeringen
ved indstilling af lysstyrken. Flashen vil blive indstillet til Slave-kontrolfunktion.
◆ Kontrol-enheden fungerer kun som styreenhed for Slave-flashenhederne.
SPECIFIKATIONER
TYPE: Kompakt seriekontrolleret TTL flash med auto-zoom.
LEDETAL: 61 (ISO 100/m ved 105mm zoom-indstilling)
STRØMFORSYNING: Fire type AA alkaline batterier eller, Fire type AA Ni-Cd batterier eller,
Fire type AA Ni-MH batterier
GENOPLADNINGSTID: Ca. 7 sekunder med Alkaline batterier
Ca. 5 sekunder med Ni-Cd eller Ni-MH batterier
ANTAL FLASHGLIMT: Ca. 120 flashglimt med Alkaline batterier
Ca. 160 flashglimt med Ni-Cd eller Ni-MH batterier
FLASHGLIMTETS VARIGHED: Ca. 1/700 sek. ved fuld styrke.
UDLYSNINGSVINKEL: Dækker synsvinkelen for 24mm~105mm automatisk zoom
Dækker synsvinkelen for 17mm med indbygget vidvinkelforsats
AUTOMATISK SLUK: Mulig VÆGT: 330 g MÅL: 77X139X117mm
80
Оглавление
- 安全上のご注意
- 各部の名称(1 ページ)
- 発光部のセット
- 液晶パネルの照明
- 連続撮影時のご注意
- ハイスピードシンクロ撮影(HSS 発光)
- バウンス撮影
- スレーブ発光
- 主要諸元
- PRECAUTIONS
- DESCRIPTION OF THE PARTS
- ADJUSTING THE FLASH HEAD
- TTL AUTO FLASH
- MANUAL FLASH OPERATION
- MULTI FLASH MODE
- WIRELESS FLASH
- SLAVE FLASH
- SPECIFICATIONS
- VORSICHTSMAßNAHMEN
- BESCHREIBUNG DER TEILE
- EINSTELLEN DES BLITZKOPFES
- BELEUCHTUNG DER LCD
- GRENZEN DER SERIENAUSLÖSUNG
- EINSTELLLICHT
- KABELLOSES BLITZEN
- „SLAVE“ GERÄT
- TECHNISCHE DATEN
- PRECAUTIONS
- DESCRIPTION DES ELEMENTS
- AJUSTEMENT DE LA TETE FLASH
- RETRO ECLAIRAGE DE L'ECRAN LCD
- LIMITES DES PRISES DE VUE CONSECUTIVES AU FLASH
- MODE DE FLASH STROBOSCOPIQUE (MULTI FLASH)
- FLASH DISTANT SANS CORDON (Wireless)
- FLASH ESCLAVE
- CARACTERISTIQUES TECHNIQUES
- PRECAUCIONES
- DESCRIPCIÓN DE LAS PARTES
- AJUSTE DEL CABEZAL DEL FLASH
- ILUMINACIÓN DE LA PANTALLA LCD
- LIMITACIONES DEL DISPARO CONTINUO
- MODO DE MULTI FLASH (Estroboscópico)
- CONTROL REMOTO DEL FLASH
- FLASH ESCLAVO
- ESPECIFICACIONES
- ATTENZIONE
- DESCRIZIONE DELLE PARTI
- REGOLAZIONE DELLA TESTA DEL FLASH
- FLASH AUTOMATICO TTL
- FLASH MANUALE
- MODALITÀ MULTI FLASH
- FLASH TELECOMANDATO SENZA FILI (WIRELESS)
- FLASH AUSILIARIO
- SPECIFICHE
- BEMÆRK
- BESKRIVELSE AF FLASHENS DELE
- JUSTERING AF FLASHHOVEDET
- LCD-DISPLAY BELYSNING
- KONTINUERLIG OPTAGELSE
- PILOT-LYS
- TRÅDLØS FLASH
- SLAVE-FLASH
- SPECIFIKATIONER
- VOORZORGSMAATREGELEN
- OMSCHRIJVING VAN DE ONDERDELEN
- HET AFSTELLEN VAN DE FLITSKOP
- VERLICHTING VAN HET LCD DISPLAY
- MAXIMALE PRESTATIES BIJ CONTINU FOTOGRAFEREN.
- MEERVOUDIG FLITSEN
- DRAADLOOS FLITSEN
- SLAVE FUNCTIE
- TECHNISCHE GEGEVENS:
- 사용상 주의점
- 각부의 명칭
- 플래시 헤드 조정
- LCD 패널 조명
- 연속 촬영시 주의점
- 모델링 플래시
- 무선 플래시
- 슬레이브 플래시
- 제품 사양
- ПРЕДОСТОРОЖНОСТИ
- ОПИСАНИЕ СОСТАВНЫХ ЧАСТЕЙ
- НАСТРОЙКА ГОЛОВКИ ВСПЫШКИ
- ОСВЕЩЕНИЕ ЖК ПАНЕЛИ
- ОГРАНИЧЕНИЯ ДЛЯ НЕПРЕРЫВНОЙ СЪМКИ
- ВЫСОКОСКОРОСТНАЯ
- НАПРАВЛЕННОСТЬ ВСПЫШКИ
- ДОПОЛНИТЕЛЬНАЯ ВСПЫШКА
- ХАРАКТЕРИСТИКИ

