Kenwood DPX404U: Подсоединение кабелей к гнездам для подключения
Подсоединение кабелей к гнездам для подключения: Kenwood DPX404U

P.CONT
ANT.
CONT
MUTE
REMOTE CONT
STEERING WHEEL
REMOTE INPUT
2
4
6
8
1
3
5
7
2
4
6
8
1
3
5
7
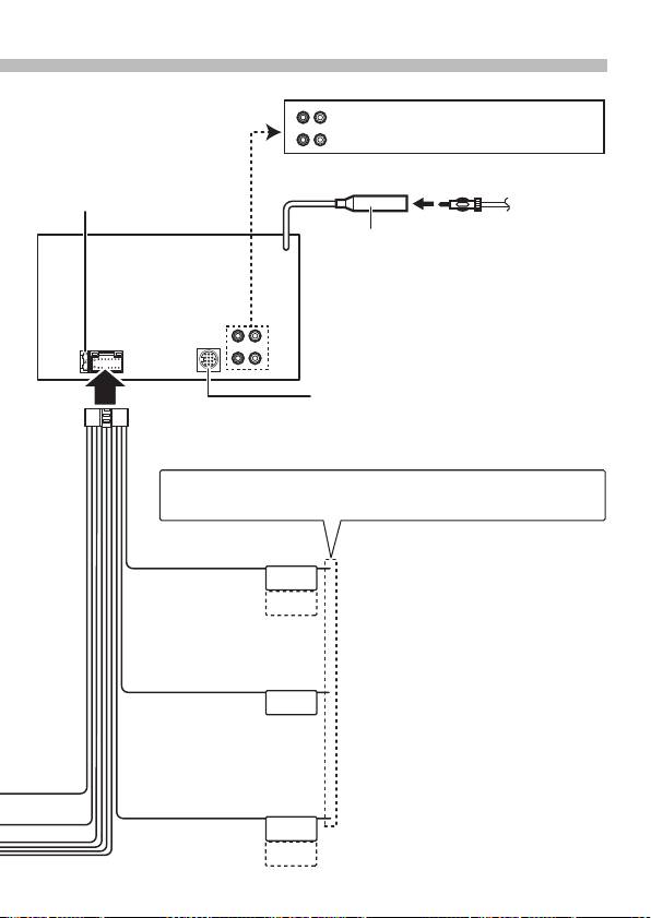
Подсоединение кабелей к гнездам для подключения
Передний выход (только DPX504U/ DPX404U)
Задний выход/Выход СНЧ-динамика
Антенный
Предохранитель (10 А)
кабель
Вход антенны для приёма
FM/AM-сигналов (JASO)
К устройству смены дисков Kenwood/ Внешней
дополнительной принадлежности (только
Жгут проводов
DPX504U)
(Принадлежность 1)
Подключение этих проводов описано
⁄
в соответствующих инструкциях по
эксплуатации.
Если никаких соединений не выполняется, не вытаскивайте
кабель из наконечника.
Синий/белый (Провод
управления питанием/
управления антенной)
Присоедините или к клемме управления
мощностью, если используется
дополнительный усилитель мощности, или
к клемме питания для выходного каскада
усилителя антенны пленочного типа или
короткополюсной антенны. (Макс. 300 мА,
Коричневый (Провод
12 В, DC)
управления отключением
звука)
Подсоедините к гнезду, которое заземлено,
когда звонит телефон или во время
разговора.
Для подключения навигационной
⁄
системы Kenwood ознакомьтесь с
прилагаемым к ней руководством
Голубой/жёлтый (Провод
пользователя.
пульта дистанционного
Для использования функции пульта
управления на руле)
дистанционного управления на руле
необходим специальный адаптер (не входит
в комплект), соответствующий модели
вашей машины.
Русский
|
95
B59-2055-00_00_2DIN_E_QSG.indb 95 11/01/19 15:00
Table of contents
- Contents Before use
- Before use
- First step
- Basic Operations
- Playing Music (CD/USB/iPod)
- Listening to the Radio
- Appendix Installation accessories
- Before installation
- Connecting Wires to Terminals ⁄
- Connecting Wires to Terminals
- Connecting Wires to Installation/Removing the Unit Terminals
- Installation/Removing the Unit
- Table des matières Avant utilisation
- Avant utilisation
- Étape 1
- Fonctionnement basique
- Reproduire de la musique (CD/USB/iPod)
- Écoute de la radio
- Annexe Accessoires pour l'installation
- Avant installation
- Connexion des câbles aux bornes ⁄
- Connexion des câbles aux bornes
- Connexion des câbles Installation/Retrait de l’appareil aux bornes
- Installation/Retrait de l’appareil
- Inhalt Vor der Verwendung
- Vor der Verwendung
- Erste Schritte
- Grundbedienung
- Musikwiedergabe (CD/USB/iPod)
- Radiowiedergabe
- Anhang Montagezubehör
- Vor dem Einbau
- Anschlussdiagramm ⁄
- Anschlussdiagramm
- Anschlussdiagramm Einbau/Entfernen des Geräts
- Einbau/Entfernen des Geräts
- Inhoud Voor de ingebruikneming
- Voor de ingebruikneming
- Eerste stap
- Basisbediening
- Muziek afspelen (CD/USB/iPod)
- Naar de radio luisteren
- Appendix Installatieaccessoires
- Voor de installatie
- Verbinden van kabels met aansluitingen ⁄
- Verbinden van kabels met aansluitingen
- Verbinden van kabels Toestel installeren/ verwijderen met aansluitingen
- Toestel installeren/ verwijderen
- Sommario Prima dell'uso
- Prima dell'uso
- Primo passo
- Funzioni di base
- Riproduzione della musica (CD/USB/iPod)
- Ascolto della radio
- Appendice Accessori di installazione
- Prima dell'installazione
- Collegamento dei cavi ai terminali ⁄
- Collegamento dei cavi ai terminali
- Collegamento dei cavi Installazione/rimozione dell’unità ai terminali
- Installazione/rimozione dell’unità
- Índice Antes de usar
- Antes de usar
- Primer paso
- Funciones básicas
- Reproducción de música (CD/USB/iPod)
- Escuchar la radio
- Apéndice Instalación de accesorios
- Antes de la instalación
- Conexión de cables a los terminales ⁄
- Conexión de cables a los terminales
- Conexión de cables a Instalación/Desmontaje de la unidad los terminales
- Instalación/Desmontaje de la unidad
- Índice Antes da utilização
- Antes da utilização
- Primeiro passo
- Operação Básica
- Reproduzir música (CD/USB/iPod)
- Ouvir rádio
- Anexo Acessórios de instalação
- Antes da instalação
- Ligar os cabos aos terminais ⁄
- Ligar os cabos aos terminais
- Ligar os cabos aos Instalação/Retirar o aparelho terminais
- Instalação/Retirar o aparelho
- Содержание Подготовка к эксплуатации
- Подготовка к эксплуатации
- Первый шаг
- Основные операции
- Воспроизведение музыки (CD/USB/iPod)
- Прослушивание радио
- Приложение Принадлежности, используемые при
- Перед установкой
- Подсоединение кабелей к гнездам для подключения ⁄
- Подсоединение кабелей к гнездам для подключения
- Подсоединение Установка/Cнятие устройства кабелей к гнездам
- Установка/Cнятие устройства
- Зміст Перед використанням
- Перед використанням
- Перший крок
- Основні операції
- Відтворення музики (CD/USB/iPod)
- Прослуховування радіо
- Додаток Додаткове приладдя, необхідне для
- Перед встановленням
- Підключення кабелів до роз'ємів ⁄
- Підключення кабелів до роз'ємів
- Підключення кабелів Установка/виймання приладу до роз'ємів
- Установка/виймання приладу






