Kenwood DPX404U: Connexion des câbles aux bornes
Connexion des câbles aux bornes: Kenwood DPX404U

P.CONT
ANT.
CONT
MUTE
REMOTE CONT
STEERING WHEEL
REMOTE INPUT
2
4
6
8
1
3
5
7
2
4
6
8
1
3
5
7
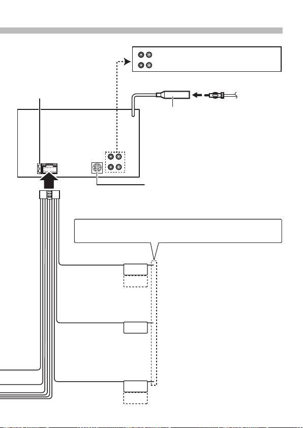
Connexion des câbles aux bornes
Sortie avant (DPX504U/ DPX404U uniquement)
Sortie arrière/ Sortie subwoofer
Fusible (10 A)
Cordon antenne
Entrée d'antenne FM/AM (JASO)
Vers le changeur de disques Kenwood/ Accessoire
externe en option (DPX504U uniquement)
Câblage électrique
Pour le raccordement de ces fils,
(accessoire 1)
⁄
veuillez consulter les modes d'emploi
correspondants.
Si aucune connexion n'est faite, ne laissez pas le câble sortir de
la languette.
Bleu/Blanc (commande
d'alimentation/câble de
commande de l'antenne moteur)
Connectez soit à la borne de commande
d'alimentation lorsque vous utilisez
l'amplificateur de puissance en option, soit à
la borne d'alimentation de l'amplificateur de
puissance de l'antenne film ou de l'antenne à
tige courte. (300 mA, 12 V CC max.)
Marron (câble de commande
de la sourdine)
Connectez à la borne qui est mise à la masse
lorsque le téléphone sonne ou pendant les
conversations.
Pour effectuer une connexion avec
⁄
un système de navigation Kenwood,
consultez le manuel de votre système
Jaune (câble de batterie)
de navigation.
Bleu clair/Jaune (télécommande
au volant)
Rouge (câble d’allumage)
Pour utiliser la télécommande au volant, un
adaptateur exclusif (non fourni) adapté à votre
véhicule est nécessaire.
Français
|
23
B59-2055-00_00_2DIN_E_QSG.indb 23 11/01/19 15:00
Table of contents
- Contents Before use
- Before use
- First step
- Basic Operations
- Playing Music (CD/USB/iPod)
- Listening to the Radio
- Appendix Installation accessories
- Before installation
- Connecting Wires to Terminals ⁄
- Connecting Wires to Terminals
- Connecting Wires to Installation/Removing the Unit Terminals
- Installation/Removing the Unit
- Table des matières Avant utilisation
- Avant utilisation
- Étape 1
- Fonctionnement basique
- Reproduire de la musique (CD/USB/iPod)
- Écoute de la radio
- Annexe Accessoires pour l'installation
- Avant installation
- Connexion des câbles aux bornes ⁄
- Connexion des câbles aux bornes
- Connexion des câbles Installation/Retrait de l’appareil aux bornes
- Installation/Retrait de l’appareil
- Inhalt Vor der Verwendung
- Vor der Verwendung
- Erste Schritte
- Grundbedienung
- Musikwiedergabe (CD/USB/iPod)
- Radiowiedergabe
- Anhang Montagezubehör
- Vor dem Einbau
- Anschlussdiagramm ⁄
- Anschlussdiagramm
- Anschlussdiagramm Einbau/Entfernen des Geräts
- Einbau/Entfernen des Geräts
- Inhoud Voor de ingebruikneming
- Voor de ingebruikneming
- Eerste stap
- Basisbediening
- Muziek afspelen (CD/USB/iPod)
- Naar de radio luisteren
- Appendix Installatieaccessoires
- Voor de installatie
- Verbinden van kabels met aansluitingen ⁄
- Verbinden van kabels met aansluitingen
- Verbinden van kabels Toestel installeren/ verwijderen met aansluitingen
- Toestel installeren/ verwijderen
- Sommario Prima dell'uso
- Prima dell'uso
- Primo passo
- Funzioni di base
- Riproduzione della musica (CD/USB/iPod)
- Ascolto della radio
- Appendice Accessori di installazione
- Prima dell'installazione
- Collegamento dei cavi ai terminali ⁄
- Collegamento dei cavi ai terminali
- Collegamento dei cavi Installazione/rimozione dell’unità ai terminali
- Installazione/rimozione dell’unità
- Índice Antes de usar
- Antes de usar
- Primer paso
- Funciones básicas
- Reproducción de música (CD/USB/iPod)
- Escuchar la radio
- Apéndice Instalación de accesorios
- Antes de la instalación
- Conexión de cables a los terminales ⁄
- Conexión de cables a los terminales
- Conexión de cables a Instalación/Desmontaje de la unidad los terminales
- Instalación/Desmontaje de la unidad
- Índice Antes da utilização
- Antes da utilização
- Primeiro passo
- Operação Básica
- Reproduzir música (CD/USB/iPod)
- Ouvir rádio
- Anexo Acessórios de instalação
- Antes da instalação
- Ligar os cabos aos terminais ⁄
- Ligar os cabos aos terminais
- Ligar os cabos aos Instalação/Retirar o aparelho terminais
- Instalação/Retirar o aparelho
- Содержание Подготовка к эксплуатации
- Подготовка к эксплуатации
- Первый шаг
- Основные операции
- Воспроизведение музыки (CD/USB/iPod)
- Прослушивание радио
- Приложение Принадлежности, используемые при
- Перед установкой
- Подсоединение кабелей к гнездам для подключения ⁄
- Подсоединение кабелей к гнездам для подключения
- Подсоединение Установка/Cнятие устройства кабелей к гнездам
- Установка/Cнятие устройства
- Зміст Перед використанням
- Перед використанням
- Перший крок
- Основні операції
- Відтворення музики (CD/USB/iPod)
- Прослуховування радіо
- Додаток Додаткове приладдя, необхідне для
- Перед встановленням
- Підключення кабелів до роз'ємів ⁄
- Підключення кабелів до роз'ємів
- Підключення кабелів Установка/виймання приладу до роз'ємів
- Установка/виймання приладу






