Xylem Z6 ZN6: ﻪــﻴﺒﻨﺗ :
ﻪــﻴﺒﻨﺗ :: Xylem Z6 ZN6
ar
80
.7 ﻟا ﻊﻄﻗو ﺔﻣﺪﺨﻟاو ﺔﻧﺎﻴﺼﻟا رﺎﻴﻐ
ﺔﻧﺎﻴﺼﻟﺎﺑ مﻮﻘﻳ ﻦﻤﻟ تﺎﻣﻮﻠﻌﻣ
ﺠﻳ
ﺔﻴﺑﺮﻬﻜﻟا
ﺔﺨﻀﻤﻠﻟ
ﺔﻧﺎﻴﺻ
تﺎﻴﻠﻤﻋ
يأ
ﻲﻓ
ءﺪﺒﻟا
ﻞﺒﻗ
ﺐ
ﻲﺑﺮﻬﻜﻟا
رﺎﻴﺘﻟﺎﺑ
ﻞﺻﻮﻣ
ﺮﻴﻏ
كﺮﺤﻤﻟا
نأ
ﺪآﺄﺘﻟا
.
ﻧﺎﻴﺼﻟا
لﺎﻤﻋﺄﺑ
مﻮﻘﻳ
نأ
ﺐﺠﻳ
ﺔ
ﻚﻟﺬﻟ
ﻞهﺆﻣو
ةﺮﺒﺧ
وذ
ﺺﺨﺷ
.
ﺔﺒ ﺳﺎﻨﻤﻟا
تاودﻷاو
تاﺪ ﻌﻤﻟا
ماﺪﺨﺘ ﺳا
ﺐ ﺠﻳ
ﺎﻤآ
.
ﺪ ﻋاﻮﻗ
ماﺮ ﺘﺣا
ﻰ ﺟﺮﻳ
ﺔ ﻳﺎﻤﺤﻟاو
نﺎ ﻣﻷا
.
ﻢ ﺗدرأ
اذإ
ءﺎﻴﺷﻷاو
صﺎﺨﺷﻸﻟ
راﺮﺿأ
ﺐﺒﺴﻳ
ﻦﻟ
غﺮﻔﻤﻟا
ﻞﺋﺎﺴﻟا
نأ
ﺪآﺄﺘﻟاو
ﻩﺎﺒﺘﻧﻻا
ﺐﺠﻳ
ﺔﺨﻀﻤﻟا
ﻎﻳﺮﻔﺗ
.
ﺔﺨﻀﻤﻟا
ﺔﻧﺎﻴﺼﻟ
ﺔﻨﻴﻌﻣ
ﺞﻣاﺮﺑ
ﺪﺟﻮﺗ
ﻻ
.
ﺔﻜﻠﻬﺘﺴﻤﻟا
ءاﺰﺟﻷا
ﺮﻴﻴﻐﺘﻟ
وأ
ﺔﻴﻜﻴﻟورﺪﻴﻬﻟا
ءاﺰﺟﻷا
ﻒﻴﻈﻨﺘﻟ
ﺔﻧﺎﻴﺼﻟا
ءاﺮﺟإ
ﻦﻜﻤﻳو
,
ﺑ
لﺎﺼﺗﻻا
ﻰﺟﺮﻳ
ءﻲﺷ
يأ
ﻦﻋ
رﺎﺴﻔﺘﺳﻼﻟ
ﺎﻨﺑ
صﺎﺨﻟا
ﻊﻴﺒﻟاو
ﺔﻣﺪﺨﻟا
ﺰآﺮﻤ
.
كﺮﺤﻤﻟا
تادﺎﺷرإ
ﻞﻴﻟﺪﻟ
ًﺎﻤﺋاد
عﻮﺟﺮﻟا
ﻰﺟﺮﻳ
.
1.7
رﺎﻴﻐﻟا
ﻊﻄﻗ
ﻪــﻴﺒﻨﺗ :
_
ﺔﺨﻀﻤﻟا
عﻮﻧ
ﺪﻳﺪﺤﺗ
ًﺎﻤﺋاد
ﺐﺠﻳ
/
ﺔ ﻣﺪﺨﻟا
ﺰ آﺮﻣ
ﻦ ﻣ
رﺎ ﻴﻐﻟا
ﻊ ﻄﻗ
ﺾ ﻌﺑ
وأ
ﺔ ﻴﻨﻓ
تﺎ ﻣﻮﻠﻌﻣ
ﻦ ﻋ
رﺎﺴ ﻔﺘﺳﻻا
نوﺪ ﻳﺮﺗ
ﻢﺘ ﻨآ
اذإ
ﺎﻬﻟ
ﻞﺴﻠﺴﻤﻟا
ﻢﻗﺮﻟاو
ﺔﻴﺑﺮﻬﻜﻟا
ﺔﺨﻀﻤﻟا
ﻴﺒﻟاو
ﺎﻨﺑ
صﺎﺨﻟا
ﻊ
.
راﺮ ﺿأ
ﻪ ﻨﻋ
ﺞﺘ ﻨﻳ
ﺪ ﻗ
ﺊﻃﺎ ﺧ
ﻞﻴﻐﺸ ﺗ
ﻲ ﻓ
ﺐﺒﺴ ﺘﺗ
نأ
ﻦ ﻜﻤﻳ
ﺔ ﻤﺋﻼﻣ
ﺮ ﻴﻏ
رﺎ ﻴﻏ
ﻊ ﻄﻗ
ماﺪﺨﺘ ﺳا
نﻷ
تﺎ ﻧﻮﻜﻤﻟا
ﻦ ﻣ
يأ
لاﺪﺒﺘﺳﻻ
ﺔﻴﻠﺻﻷا
رﺎﻴﻐﻟا
ﻊﻄﻗ
ﻂﻘﻓ
اﻮﻣﺪﺨﺘﺳا
ءﺎﻴﺷﻸﻟ
ﻒﻠﺗو
صﺎﺨﺷﻸﻟ
.
.8 راﺮﺿﻷا ﺚﺤﺑ
ﺔﻧﺎﻴﺼﻟا ﻰﻠﻋ ﻢﺋﺎﻘﻟاو مﺪﺨﺘﺴﻤﻠﻟ تﺎﻣﻮﻠﻌﻣ ﻞـﻄﻌﻟا ﻤﻟا ﺐﺒﺴﻟا ﻞﻤﺘﺤ حﻼﺻﻹا ﺔﻴﻔﻴآ
ﻲﺑﺮﻬﻜﻟا
رﺎﻴﺘﻟا
عﺎﻄﻘﻧا
.
ﻲﺑﺮﻬﻜﻟا
رﺎﻴﺘﻟا
ﻞﻴﺻﻮﺗ
.
دﻮ ﺟﻮﻤﻟا
كﺮ ﺤﻤﻟا
ﺔ ﻳﺎﻤﺣ
زﺎﻬﺟ
وأ
يراﺮﺤﻟا
ﺮﺷﺆﻤﻟا
ﻞﻤﻋ
ﺔﻴﺑﺮﻬﻜﻟا
ﺔﺣﻮﻠﻟا
ﻲﻓ
.
ﻰﻟوﻷا
ﻪﺘﻟﺎﺤﻟ
يراﺮﺤﻟا
ﺔﻳﺎﻤﺤﻟا
زﺎﻬﺟ
ةدﺎﻋإ
ﻢﺘﻳ
.
أ
ﺔﺨﻀﻤﻟا
ﺔﻳﺎﻤﺣ
تاﺮﻬﺼﻨﻣ
ﺔﻗوﺮﺤﻣ
ﺔﻴﻓﺎﺿﻹا
ﺮﺋاوﺪﻟا
و
.
تاﺮﻬﺼﻨﻤﻟا
ﻞﻳﺪﺒﺘﺑ
ﻢﻗ
ﻞﻤﻌﺗ
ﻻ
ﺔﻴﺑﺮﻬﻜﻟا
ﺔﺨﻀﻤﻟا
.
ﻞﻤﻌﻳ
ﻲﺴﻴﺋﺮﻟا
ﻞﻴﻐﺸﺘﻟا
رزو
.
ﻞﺋاﻮﺳ
نوﺪﺑ
ﻞﻴﻐﺸﺘﻟا
ﺔﻣوﺎﻘﻣ
ﺔﻳﺎﻤﺣ
زﺎﻬﺟ
ﻞﺧﺪﺗ
نﺎ آ
اذإو
ﺔ آﺮﺒﻟا
وأ
ﺮ ﺌﺒﻟا
ﻲ ﻓ
ءﺎ ﻤﻟا
ىﻮﺘﺴ ﻣ
اﻮ ﻌﺟار
ﻞﻴ ﺻﻮﺘﻟا
كﻼ ﺳأو
ﺔ ﻳﺎﻤﺤﻟا
زﺎ ﻬﺟ
ﺔ ﻌﺟاﺮﻣ
ﺐ ﺠﻳ
ًﺎﺤﻴﺤ ﺻ
ﻪﺑ
ﺔﺻﺎﺨﻟا
.
ﻒﻠﺗ
ﺪﻗ
ءﺎﺑﺮﻬﻜﻟا
ﻞﺑﺎآ
.
ﻲﺑﺮﻬﻜﻟا
كﺮﺤﻤﻟا
ﻦﻣ
ءﺰﺟ
دﺎﺴﻓ
.
ﻦﻴ ﻤﺋﻼﻣ
اﻮﺴ ﻴﻟ
تاﺮﻬﺼ ﻨﻤﻟا
وأ
يراﺮ ﺤﻟا
ﺔ ﻳﺎﻤﺤﻟا
زﺎ ﻬﺟ
كﺮﺤﻤﻟا
ﻲﻓ
مﺪﺨﺘﺴﻤﻟا
رﺎﻴﺘﻠﻟ
.
مزﻼ ﻟا
تﺎ ﻧﻮﻜﻤﻟا
لاﺪﺒﺘ ﺳاو
بﺎﺒ ﺳﻷا
ﺔ ﻌﺟاﺮﻣ
ﺐ ﺠﻳ
ﺎهﺮﻴﻴﻐﺗ
.
كﺮﺤﻤﻟا
ﻰﻠﻋ
ﻞﻴﻤﺤﺗ
ةدﺎﻳز
.
ﺔ ﻴﺑﺮﻬﻜﻟا
ﺔﺨﻀ ﻤﻟا
ﻞﻴﻐﺸ ﺗ
فوﺮ ﻇ
ﻦ ﻣ
اوﺪ آﺄﺗ
اﻮﻄﺸ ﻧ
ﻢ ﺛ
ﺔﻳﺎﻤﺤﻟا
زﺎﻬﺟ
.
ﺔ ﻳﺎﻤﺤﻟا
زﺎ ﻬﺟ
ﻞ ﻤﻌﻳ
ًارﻮ ﻓ
ﻦ ﻜﻟو
ﻞ ﻤﻌﻟا
ﻲ ﻓ
ﺔﺨﻀ ﻤﻟا
أﺪ ﺒﺗ
ا
قﺮﺤﻳو
تاﺮﻬﺼﻨﻤﻟ
.
ﺊﻃﺎﺧ
ناروﺪﻟا
ﻩﺎﺠﺗا
.
اﻮﻟﺪﺒﺘ ﺳا
ًﺎﻳروﺮ ﺿ
نﺎ آ
اذإو
ناروﺪ ﻟا
ﻩﺎ ﺠﺗا
ﻦ ﻣ
اوﺪ آﺄﺗ
اذ
ﺔ ﻴﺑﺮﻬﻜﻟا
ﺔ ﺣﻮﻠﻟا
ت
نﺎ آ
اذإو
ﻦﻴﺘﻠﺣﺮ ﻤﺑ
ﻞ ﺣاﺮﻣ
ثﻼﺜ ﻟا
تﻼﺻﻮﻟا
ﻊﻴﻤﺟ
ﻦﻣ
اوﺪآﺄﺗ
ﺔﻠﺣﺮﻤﻟا
يدﺎﺣأ
.
ﺔﻴﺑﺮﻬﻜﻟا
ﺔﻳﺬﻐﺘﻟا
ﻦﻣ
ءﺰﺟ
عﺎﻄﻘﻧا
.
ﻲﺑﺮﻬﻜﻟا
ﻞﻴﺻﻮﺘﻟا
اﻮﻌﺟار
.
كﺮﺤﻤﻟا
ةرﺪﻗ
دوﺪﺤﻟ
ﺔﺒﺳﺎﻨﻣ
ﺖﺴﻴﻟ
رﺎﻴﺘﻟا
ةﺪﺷ
.
ﺔﻴﺑﺮﻬﻜﻟا
ﺔﺨﻀﻤﻟا
ﻞﻴﻐﺸﺗ
فوﺮﻇ
اﻮﻌﺟار
.
زﺎ ﻬﺟ
ﻞ ﻤﻌﻳ
ﺮﻴﺼﻗ
ﺖﻗو
ﺪﻌﺑ
ﻦﻜﻟو
ﻞﻤﻌﻟا
ﻲﻓ
ﺔﺨﻀﻤﻟا
أﺪﺒﺗ
ﺮﺤﻳو
ﺔﻳراﺮﺤﻟا
ﺔﻳﺎﻤﺤﻟا
تاﺮﻬﺼﻨﻤﻟا
ق
.
وأ
ًاﺪ ﺟ
ةرﺎ ﺣ
ﺔ ﻘﻄﻨﻣ
ﻲ ﻓ
ﺔ ﻴﺑﺮﻬﻜﻟا
ﺔ ﺣﻮﻠﻟا
ﺐ ﻴآﺮﺗ
ﻢ ﺗ
ةﺮﺷﺎﺒﻤﻟا
ﺲﻤﺸﻟا
ﺔﻌﺷﻷ
ضﺮﻌﻣ
.
راﺮﺤﻟا
ردﺎﺼﻣ
ﻦﻣ
ﺔﺣﻮﻠﻟا
ﺔﻳﺎﻤﺣ
ﺐﺠﻳ
ﺲﻤﺸﻟا
ﺔﻌﺷأو
ة
.
ﺔ ﺒﻳﺮﻏ
مﺎﺴ ﺟأ
دﻮ ﺟو
)
طﻮ ﻴﺧ
وأ
ﺔﺒﻠ ﺻ
داﻮ ﻣ
(
ﻞ ﺧاد
تﻻﻮﺤﻤﻟا
قﻮﻌﺗ
ﺔﺨﻀﻤﻟا
.
ﺎهﻮﻔﻈﻧو
ﺔﻴﺑﺮﻬﻜﻟا
ﺔﺨﻀﻤﻟا
اﻮﻜﻓ
.
ﻪ ﺑ
حﻮﻤﺴ ﻤﻟا
ﺪ ﺤﻟا
ﻦ ﻣ
ﺮﺒآأ
ﺔﻴﻤآ
عزﻮﺗ
ﺔﻴﺑﺮﻬﻜﻟا
ﺔﺨﻀﻤﻟا
ﺎﻤﻴﻠﻌﺘﻟا
ﻖﺼﻠﻣ
ﻲﻓ
ﺢﺿﻮﻤﻟاو
تﺎﻧﺎﻴﺒﻟاو
ت
.
ﻢﺘ ﻳ
يﺬ ﻟا
ءﺎ ﻤﻟا
ﺔ ﻴﻤآ
دﻮ ﻌﺗ
ﻰ ﺘﺣ
ًﺎﻴﺋﺰﺟ
مﺎﻤﺼﻟا
ﻖﻠﻏ
ﺐﺠﻳ
ﺎﻬﺑ
حﻮﻤﺴﻤﻟا
تﻻﺪﻌﻤﻟا
ﻰﻟإ
ﻪﺨﺿ
.
ًاﺪﺟ
ﺔﻴﻟﺎﻋ
ﻪﺨﺿ
ﻢﺘﻳ
يﺬﻟا
ﻞﺋﺎﺴﻟا
ةراﺮﺣ
ﺔﺟرد
.
ﺔﻴﺑﺮﻬﻜﻟا
ﺔﺨﻀﻤﻟا
ﻞﻴﻐﺸﺗ
فوﺮﻇ
اﻮﻌﺟار
.
زﺎﻬﺟ
ﻞﻤﻌﻳ
ًﺎﻴﺒﺴﻧ
ﻞﻳﻮﻃ
ﺖﻗو
ﺪﻌﺑو
ﻞﻤﻌﻟا
ﻲﻓ
ﺔﺨﻀﻤﻟا
أﺪﺒﺗ
ﺔﻳراﺮﺤﻟا
ﺔﻳﺎﻤﺤﻟا
.
ﺖﻜﻠﻬﺘﺳا
كﺮﺤﻤﻟا
تادﺎﺳو
.
ﻊﻴﺒﻟاو
ﺔﻣﺪﺨﻟا
ﺰآﺮﻤﺑ
لﺎﺼﺗﻻا
ﻰﺟﺮﻳ
.
ﺊﻃﺎﺧ
ناروﺪﻟا
ﻩﺎﺠﺗا
)
ﻞﺣاﺮﻣ
ثﻼﺜﻟا
تاذ
ﺔﺨﻀﻤﻟا
.(
ﻦﻴﺘﻠﺣﺮ ﻣ
اﻮﻟﺪﺒﺘ ﺳا
ةروﺮﻀ ﻟا
ﺪﻨﻋو
ناروﺪﻟا
ﻩﺎﺠﺗا
اﻮﻌﺟار
ﺔﻴﺑﺮﻬﻜﻟا
ﺔﺣﻮﻠﻟا
وأ
كﺮﺤﻤﻟا
ﻲﻓ
.
ﺎهﻸﻣ
ةدﺎﻋإ
مﺪﻋ
ﺐﺒﺴﺑ
ماﺮﻳ
ﺎﻣ
ﻰﻠﻋ
ﺖﺴﻴﻟ
ﺔﺨﻀﻤﻟا
.
ﺦﻀﻟا
ﺔﻴﻠﻤﻋ
اورﺮآ
.
ﺎﻧ
ﺄﻄﺨﻟ
ﺎﻬﻠﻤﻌﺑ
مﻮﻘﺗ
ﻻ
ﺔﺨﻀﻤﻟا
ﻖﻠﻐﻟا
مﺎﻤﺻ
ةرﺪﻗ
ﻦﻋ
ﺞﺗ
.
ﻖﻠﻐﻟا
مﺎﻤﺼﻟ
ةرﺪﻗ
ﻞﻀﻓأ
اﻮﻌﺟار
.
ﺔﺨﻀﻤﻟا
وأ
ﺮﻴﺳاﻮﻤﻟا
ﻲﻓ
ءاﻮه
دﻮﺟو
.
ءاﻮﻬﻟا
اﻮﻏﺮﻓ
.
ﺔﺨﻀﻤﻟا
وأ
ﺮﻴﺳاﻮﻤﻟا
ﻲﻓ
داﺪﺴﻧا
.
ﺎهﻮﻔﻈﻧو
ﺎهﻮﻜﻓ
.
ﺮﺌﺒﻟا
ىﻮﺘﺴﻣ
ﻲﻓ
ﺪﻳﺪﺷ
ضﺎﻔﺨﻧا
.
اذإ
وأ
بﻮ ﻠﻄﻤﻟا
ﺪ ﺤﻠﻟ
ءﺎ ﻤﻟا
ىﻮﺘﺴ ﻣ
دﻮ ﻌﻳ
ﻰ ﺘﺣ
اوﺮ ﻈﺘﻧا
ﺔﻴﺑﺮﻬﻜﻟا
ﺔﺨﻀﻤﻟا
اﻮﻀﻔﺧا
ﻦﻜﻣأ
.
ﺮﺌﺒﻠﻟ
ﺔﺒﺴﻨﻟﺎﺑ
ًاﺪﺟ
ﺔﻴﻟﺎﻋ
ﺔﺨﻀﻤﻟا
ةرﺪﻗ
.
ﻞﻗأ
ةرﺪﻗ
تاذ
ىﺮﺧﺄﺑ
ﺔﺨﻀﻤﻟا
اﻮﻟﺪﺒﺘﺳا
.
و
ﻞﻤﻌﻟا
ﻲﻓ
ﺔﺨﻀﻤﻟا
أﺪﺒﺗ
بﻮﻠﻄﻤﻟا
ءادﻷﺎﺑ
مﻮﻘﺗ
ﻻ
ﺎﻬﻨﻜﻟ
.
ﺖﻜﻠﻬﺘﺳا
ﺔﺨﻀﻤﻟا
.
ﺎهﻮﻌﺟارو
ﺔﺨﻀﻤﻟا
اﻮﻜﻓ
.
ﻞﻤﻌﻳ
ﺔﻜﺒﺸﻠﻟ
مﺎﻌﻟا
ﺔﻳﺎﻤﺤﻟا
زﺎﻬﺟ
.
يﻮﺘﻠﻣ
وأ
ﻒﺘﻠﻣ
ﻚﻠﺳ
.
ﺔﻴﺑﺮﻬﻜﻟا
ﺔﻜﺒﺸﻟا
اﻮﻌﺟار
.
ةﺮﻳﺎ ﻐﻣ
ﺔﻘﻳﺮﻄﺑ
ﻞﻤﻌﻳ
يراﺮﺤﻟا
ﻲﺴﻴﻃﺎﻨﻐﻤﻟا
ﺔﻳﺎﻤﺤﻟا
زﺎﻬﺟ
ﺔﻜﺒﺸﻠﻟ
.
ﺪﺒﺗ
ضرﻷا
ﻰﻠﻋ
ﺪﻳ
.
ﺔﻴﺑﺮﻬﻜﻟا
ﺔﻜﺒﺸﻟا
تﺎﻧﻮﻜﻣ
لﺰﻋ
اﻮﻌﺟار
.
ﻒﻗﻮﺘﺗ
ﺎﻣﺪﻨﻋ
ﺮﻳﺎﻐﻣ
ﻩﺎﺠﺗا
ﻲﻓ
ﻞﻤﻌﺗ
ﺔﺨﻀﻤﻟا
.
قﻼﻏﻹا
مﺎﻤﺻ
ﻒﻠﺗ
.
تﺎﻧﻮﻜﻤﻟا
اﻮﻟﺪﺒﺘﺳا
وأ
اﻮﺤﻠﺻأ
.
ﺔﻜﺒﺸﻟا
ﻲﻓ
وأ
قﻼﻏﻹا
مﺎﻤﺻ
ﻲﻓ
ﻒﻠﺗ
.
اﻮﻟﺪﺒﺘ ﺳا
وأ
اﻮﺤﻠ ﺻأ
ﻢ ﺛ
ﻒ ﻠﺘﻟا
نﺎ ﻜﻣ
ﺪﻳﺪﺤﺘﻟ
ﺺﺤﻔﻟا
ﺐﺠﻳ
ا
تﺎﻧﻮﻜﻤﻟ
.
مزﻼﻟا
ﻦﻣ
ﺮﺜآأ
ةﻮﻘﺑ
ﻞﻤﻌﺗ
ﺔﺨﻀﻤﻟا
.
ءاﻮﻬﻟا
ﺔﻨﺤﺷ
ﻦﻣ
ﻩﻮﻠﺧ
وأ
ﻢﻴﻘﻌﺘﻟا
ءﺎﻋو
ةﺪﻠﺟ
ﻲﻓ
ﻊﻄﻗ
.
ﻢﻴﻘﻌﺘﻟا
ءﺎﻋو
ﻞﻴﻟد
ﻲﻓ
تﺎﻤﻴﻠﻌﺘﻟا
ﺮﻈﻧا
.
ﺮﺌﺒﻟا
ىﻮﺘﺴﻣ
ﻲﻓ
طﻮﺒه
.
نﺎ آ
اذإو
بﻮ ﻠﻄﻤﻟا
ﺪ ﺤﻟا
ﻰ ﻟإ
ءﺎ ﻤﻟا
ىﻮﺘﺴﻣ
ةدﻮﻋ
اوﺮﻈﺘﻧا
ﺔﻴﺑﺮﻬﻜﻟا
ﺔﺨﻀﻤﻟا
اﻮﻀﻔﺧا
ًﺎﻨﻜﻤﻣ
.
ةرﺮﻜﺘﻣ
ةرﻮﺼﺑ
ﻒﻗﻮﺘﺗو
ﺔﺨﻀﻤﻟا
ﻞﻤﻌﺗ
.
ﺪﺟ
ﺔﻴﻟﺎﻋ
ﺔﺨﻀﻤﻟا
ةرﺪﻗ
ﺮﺌﺒﻟا
ةرﺪﻘﻟ
ﺔﺒﺴﻨﻟﺎﺑ
ًا
.
ﻞﻗأ
ةرﺪﻗ
تاذ
ىﺮﺧﺄﺑ
ﺔﺨﻀﻤﻟا
اﻮﻟﺪﺒﺘﺳا
.
.9 ﻞﻣﺎﻜﻟا ﻒﻠﺘﻟا ﺔﻧﺎﻴﺼﻟاو ﺐﻴآﺮﺘﻟﺎﺑ مﻮﻘﻳ ﻦﻤﻟ تﺎﻣﻮﻠﻌﻣ ﺔﻣﺎﻤﻘﻟا ﻦﻣ ﺺﻠﺨﺘﻠﻟ ةدﻮﺟﻮﻤﻟا ﺔﻴﻠﺤﻤﻟا ﺢﺋاﻮﻠﻟاو ﻦﻴﻧاﻮﻘﻟا اﻮﻣﺮﺘﺣا .
Polski pl
81
1. Ogólny przegl ą d
Celem tej instrukcji jest dostarczenie u
ż
ytkownikowi niezb
ę
dnych informacji dla przeprowadzenia w
ł
a
ś
ciwego monta
ż
u,
u
ż
ytkowania i obs
ł
ugi pomp/pomp elektrycznych serii Z6. Zawarto
ść
tej instrukcji dotyczy standardowego produktu, jak opisano
w dokumentach handlowych. Specjalne wersje mog
ą
by
ć
dostarczone z dodatkowymi instrukcjami. Prosz
ę
odnie
ść
si
ę
do
kontraktu sprzeda
ż
y w przypadku jakichkolwiek modyfikacji lub charakterystyk wersji specjalnych. Zawsze okre
ś
l dok
ł
adny typ
pompy i kod identyfikacyjny w przypadku zapyta
ń
o techniczne informacje lub cz
ęś
ci zamienne gdy zwracasz si
ę
do naszego
Wydzia
ł
u Sprzeda
ż
y lub Serwisu. Dla instrukcji, sytuacji i wydarze
ń
nie opisanych w niniejszej instrukcji lub dokumentach
sprzeda
ż
y, prosimy o kontakt z nasz
ą
jednostk
ą
serwisow
ą
znajduj
ą
c
ą
si
ę
najbli
ż
ej twojego miejsca zamieszkania.
Przeczytaj
t
ą
instrukcj
ę
przed przyst
ą
pieniem do monta
ż
u i u
ż
ytkowania produktu.
Niew
ł
a
ś
ciwe u
ż
ytkowanie mo
ż
e spowodowa
ć
kontuzj
ę
u
ż
ytkowników lub zniszczenie mienia, i
doprowadzi
ć
do utraty roszcze
ń
z tytu
ł
u gwarancji.
2. Opis urz ą dzenia Informacja dla instalatorów i u ż ytkowników
Seria pomp Z6 okre
ś
la pompy elektryczne i pompy zatapialne 6” wykonane ze stali nierdzewnej, które mog
ą
by
ć
sprz
ęż
one z
silnikami g
łę
binowymi posiadaj
ą
cymi wymiary ko
ń
cówki wa
ł
u i ko
ł
nierza sprz
ę
g
ł
a zgodne z NEMA MG 1-1987.
W pompach serii Z6, wszystkie elementy metalowe, które s
ą
w kontakcie z wod
ą
, wykonane s
ą
ze stali nierdzewnej.
Je
ż
eli zakupi
ł
e
ś
pomp
ę
bez silnika elektrycznego, upewnij si
ę
czy silnik, którego u
ż
ywasz jest zgodny do po
łą
czenia z pomp
ą
.
3. Zastosowanie Informacja dla instalatorów i u ż ytkowników
Pompy te s
ą
odpowiednie do zastosowa
ń
w przemys
ł
owych systemach dystrybucji wody, nawadnianiu (rolnictwo, obiekty
sportowe) i instalacjach p.po
ż
.
3.1 Granice
zastosowa
ń
3.1.1 Jak
czyta
ć
tabliczk
ę
znamionow
ą
pompy
Rysunki w sekcji 10.1 pokazuj
ą
podstawowe informacje znajduj
ą
ce si
ę
na tabliczce znamionowej.
3.1.2
Pompowane ciecze, ci
ś
nienia, temperatury
Ta pompa mo
ż
e by
ć
u
ż
ywana do pompowania wody zimnej.
Maksymalna, dopuszczalna ilo
ść
t
ł
oczonego piasku: 100 g/m
3
.
Nie
u
ż
ywaj tej pompy do t
ł
oczenia wody zawieraj
ą
cej du
ż
e cz
ęś
ci sta
ł
e i/lub substancje w
ł
ókniste.
Nie u
ż
ywaj tej pompy/pompy elektrycznej do t
ł
oczenia cieczy
ł
atwopalnych i/lub wybuchowych.
Ilo
ść
piasku przekraczaj
ą
ca maksymaln
ą
dopuszczaln
ą
zawarto
ść
mo
ż
e spowodowa
ć
uszkodzenie
pompy.
Maksymalne ci
ś
nienie pracy: zmienne, zale
ż
ne od modelu pompy
Temperatura cieczy:
- dla samej pompy
Minimum 0°C
Maksimum + 60°C
- dla pompy elektrycznej
Minimum §
Maksimum §
§ Temperatura zmienia si
ę
w zale
ż
no
ś
ci od typu silnika po
łą
czonego z pomp
ą
. Zawsze odno
ś
si
ę
do
instrukcji obs
ł
ugi silnika.
Dla specjalnych wymaga
ń
, prosz
ę
o kontakt z naszym Wydzia
ł
em Sprzeda
ż
y i Serwisu.
3.1.3
Minimalna i maksymalna g
ł
ę
boko
ś
ć
zanurzenia
Upewnij
si
ę
ż
e minimalny dynamiczny poziom cieczy znajduje si
ę
przynajmniej 1 metr nad kró
ć
cem
t
ł
ocznym pompy.
Obecno
ść
powietrza mo
ż
e zniszczy
ć
pomp
ę
.
Nie
u
ż
ywa
ć
pompy je
ś
li wyst
ę
puje kawitacja, poniewa
ż
jej wewn
ę
trzne elementy mog
ą
ulec
zniszczeniu.
Pompa elektryczna: maksymalna g
łę
boko
ść
zanurzenia zale
ż
y od typu u
ż
ytego silnika. Zawsze zwracaj
si
ę
do instrukcji silnika.
3.1.4 Pozycja
monta
ż
u
Pompa mo
ż
e by
ć
instalowana zarówno w pozycji pionowej jak i poziomej.
Je
ś
li pompa jest umieszczona poziomo, upewnij si
ę
aby zawór zwrotny by
ł
zamontowany pionowo na
ruroci
ą
gu t
ł
ocznym w pobli
ż
u pompy.
Je
ż
eli pompa elektryczna jest zainstalowana w dost
ę
pnej pozycji, odpowiednie elementy
bezpiecze
ń
stwa (jak ekrany ochronne) musz
ą
by
ć
wykonane do zabezpieczenia przed mo
ż
liwym
kontaktem ze sprz
ę
g
ł
em gdy pompa/pompa elektryczna jest w trybie pracy.
Pompa
elektryczna:
mo
ż
liwo
ść
monta
ż
u poziomego zale
ż
y od typu silnika po
łą
czonego z pomp
ą
.
Zawsze odno
ś
si
ę
do instrukcji silnika.
W przypadku specjalnych wymaga
ń
, skontaktuj si
ę
z naszym Wydzia
ł
em Sprzeda
ż
y i Serwisu.
UWAGA UWAGA UWAGA
pl
82
3.1.5 Minimalny
przep
ł
yw nominalny podczas pracy pompy
Aby zapobiec przegrzaniu wewn
ę
trznych elementów pompy, upewnij si
ę
,
ż
e zagwarantowany jest zawsze minimalny przep
ł
yw
wody podczas pracy pompy/pompy elektrycznej.
Aby zapobiec przegrzaniu, nie pracuj pomp
ą
przy zamkni
ę
tym zaworze odcinaj
ą
cym na ruroci
ą
gu
t
ł
ocznym d
ł
u
ż
ej ni
ż
kilka sekund.
3.1.6 Ch
ł
odzenie silnika (pompy elektrycznej)
Zawsze
odno
ś
si
ę
do instrukcji obs
ł
ugi silnika.
3.1.7 Ilo
ś
ć
uruchomie
ń
w ci
ą
gu godziny (pompy elektrycznej)
Zawsze
odno
ś
si
ę
do instrukcji obs
ł
ugi silnika.
3.1.8 Wymagania
dotycz
ą
ce urz
ą
dze
ń
elektrycznych (pompy elektrycznej)
Zawsze
odno
ś
si
ę
do instrukcji obs
ł
ugi silnika.
3.1.9
Poziom emisji d
ź
wi
ę
ku
Gdy pompa/pompa elektryczna jest ca
ł
kowicie zanurzona,
ż
aden ha
ł
as emitowany przez pomp
ę
nie wydostaje si
ę
na zewn
ą
trz.
3.1.10 Zastosowania
specjalne
Prosimy o kontakt z naszym dzia
ł
em sprzeda
ż
y i serwisu w przypadku wyst
ą
pienia sytuacji innych ni
ż
te
opisane, zwi
ą
zane z natur
ą
cieczy i/lub instalacji.
3.1.11 Niew
ł
a
ś
ciwe u
ż
ycie
Je
ż
eli u
ż
ywasz pompy/pompy elektrycznej niew
ł
a
ś
ciwie, mo
ż
esz spowodowa
ć
niebezpieczne warunki i
spowodowa
ć
niebezpiecze
ń
stwo uszkodzenia osób i mienia. Poni
ż
ej kilka przyk
ł
adów niew
ł
a
ś
ciwego
u
ż
ycia:
- pompowane ciecze, które nie s
ą
zgodne z materia
ł
ami konstrukcyjnymi pompy
- pompowanie cieczy niebezpiecznych (toksycznych, wybuchowych, korozyjnych)
- pompowanie cieczy spo
ż
ywczych (wino, mleko, …)
- praca w wodzie o temperaturze przekraczaj
ą
cej okre
ś
lone limity zastosowania pompy
3.2 Gwarancja
Prosz
ę
o kontakt z dzia
ł
em sprzeda
ż
y w celu uzyskania szczegó
ł
owych informacji.
4. Transport i magazynowanie Informacje dla przenosz ą cych
4.1
Transport, przenoszenie i magazynowanie zapakowanego produktu – Rozpakowanie produktu
Pompy/pompy elektryczne s
ą
zapakowane w kartony lub drewniane skrzynie o ró
ż
nych rozmiarach i kszta
ł
tach.
Kartony/skrzynie s
ą
tak zbudowane aby by
ł
y transportowane, przenoszone i magazynowane w pozycji
poziomej.
Chro
ń
produkt przed wilgoci
ą
,
ź
ród
ł
em ciep
ł
a i uszkodzeniami mechanicznymi (wgniecenia, upadki,…).
Nie ustawiaj ci
ęż
kich przedmiotów na zapakowanym produkcie i/lub nie ustawiaj na nim sterty
przedmiotów.
Je
ś
li pompa/pompa elektryczna nie jest zapakowana , umie
ść
j
ą
na odpowiednich wspornikach w pozycji
poziomej lub pionowej, aby zapobiec niewyosiowaniu i nadmiernego zgi
ę
cia, które mog
ł
oby doprowadzi
ć
do uszkodzenia pompy/pompy elektrycznej (
¼
patrz rozdzia
ł
10.2).
U
ż
ywaj haków dostarczonych na g
ł
owicy pompy (
¼
patrz rozdzia
ł
10.3).
Nie
podno
ś
pompy elektrycznej za kabel silnika.
Podno
ś
i przeno
ś
produkt ostro
ż
nie, u
ż
ywaj
ą
c odpowiednich urz
ą
dze
ń
lub narz
ę
dzi do podnoszenia.
Szczególnie zwró
ć
uwag
ę
na wszystkie regulacje zapobiegaj
ą
ce wypadkom.
Temperatura otoczenia odpowiednia do przechowywania: w zakresie od -5°C do +40°C.
Gdy otrzymasz pomp
ę
elektryczn
ą
sprawd
ź
stan zewn
ę
trzny opakowania czy nie widniej
ą
na nim oznaki uszkodzenia. Je
ś
li
produkt nosi widoczne znaki uszkodzenia, poinformuj sprzedawc
ę
lub nasz dzia
ł
sprzeda
ż
y w terminie max do 8 dni od daty
dostawy.
Je
ś
li pompa/pompa elektryczna jest w
ł
o
ż
ona do magazynu po okresie pracy, dok
ł
adnie wyczy
ść
pomp
ę
elektryczn
ą
a nast
ę
pnie wysusz cz
ęść
hydrauliczn
ą
za pomoc
ą
spr
ęż
onego powietrza.
UWAGA UWAGA UWAGA UWAGA
pl
83
4.2 Utylizowanie
opakowa
ń
Je
ż
eli nie mo
ż
esz wykorzysta
ć
opakowa
ń
lub materia
ł
ów pakunkowych na inne cele, usu
ń
je zgodnie z obowi
ą
zuj
ą
cymi
lokalnymi regulacjami dotycz
ą
cymi segregacji
ś
mieci.
5. Monta ż Informacja dla instalatorów
Operacje monta
ż
u musz
ą
by
ć
przeprowadzone przez wykwalifikowany i do
ś
wiadczony personel.
U
ż
ywaj odpowiednich narz
ę
dzi i zabezpiecze
ń
. Zwró
ć
uwag
ę
na regulacje obowi
ą
zuj
ą
ce dla
zapobiegania wypadkom.
Zawsze odno
ś
si
ę
do lokalnych i/lub krajowych regulacji, ustawodawstwa i kodeksu zwi
ą
zanego z wyborem miejsca monta
ż
u i
pod
łą
czenia do wody i
ź
ród
ł
a zasilania elektrycznego.
Przeczytaj
t
ą
instrukcj
ę
obs
ł
ugi i instrukcj
ę
dla silnika, który musi by
ć
prawid
ł
owo po
łą
czony z pomp
ą
przed przyst
ą
pieniem do monta
ż
u na stanowisku pracy. Zachowaj wszystkie instrukcje dla przysz
ł
ej
obs
ł
ugi. Zwró
ć
uwag
ę
na ograniczenia pracy zawarte w rozdziale 3.1.
5.1
Wybór silnika elektrycznego
Je
ż
eli zakupi
ł
e
ś
pomp
ę
bez silnika i sprz
ę
gasz j
ą
z silnikiem innym ni
ż
ten opisany w naszym katalogu,
bezpiecze
ń
stwo agregatu musi by
ć
zagwarantowane przez osob
ę
dokonuj
ą
c
ą
po
łą
czenia.
Moc silnika musi by
ć
wi
ę
ksza lub przynajmniej równa mocy wymaganej przez pomp
ę
, z któr
ą
silnik jest
sprz
ę
gni
ę
ty. Je
ż
eli u
ż
ywasz silnika innego ni
ż
w wykonaniu standardowym, upewnij si
ę
,
ż
e si
ł
a osiowa
tolerowana przez silnik jest wi
ę
ksza ni
ż
maksymalna si
ł
a osiowa generowana przez pomp
ę
.
W celu uzyskania dodatkowych informacji prosz
ę
o kontakt z naszym dzia
ł
em sprzeda
ż
y i serwisu.
5.2
Wybór elektrycznego panelu sterowniczego
Silniki musz
ą
by
ć
odpowiednio zabezpieczone przed przeci
ąż
eniem i krótkim spi
ę
ciem.
Zawsze
odno
ś
si
ę
do instrukcji obs
ł
ugi silnika i instrukcji dostarczonej z panelem elektrycznym.
Unikaj mo
ż
liwo
ś
ci pracy na sucho, tzn. nie wolno pracowa
ć
z pomp
ą
gdy brak jest obecno
ś
ci wody w
niej. Upewnij si
ę
czy panel elektryczny jest wyposa
ż
ony w system ochrony przed suchobiegiem.
6. Rozruch
Informacja dla instalatorów
Przeczytaj
t
ą
instrukcj
ę
obs
ł
ugi i instrukcj
ę
dotycz
ą
c
ą
silnika, który jest sprz
ęż
ony z pomp
ą
przed
dokonaniem rozruchu agregatu. Zachowaj wszystkie instrukcje dla przysz
ł
ej obs
ł
ugi.
Je
ż
eli produkt nosi widoczne oznaki uszkodzenia, nie kontynuuj monta
ż
u; skontaktuj si
ę
z naszym dzia
ł
em sprzeda
ż
y i serwisu.
6.1 Po
ł
ą
czenie silnik-pompa
Je
ś
li pompa nie jest po
łą
czona z silnikiem, po
łą
cz urz
ą
dzenia w nast
ę
puj
ą
cy sposób:
1
Ustaw silnik bezpiecznie w pozycji pionowej.
2 Upewnij
si
ę
,
ż
e wa
ł
silnika swobodnie si
ę
obraca.
3 Upewnij
si
ę
,
ż
e wa
ł
pompy obraca si
ę
lekko; zrób to ostro
ż
nie aby nie uszkodzi
ć
rowków sprz
ę
g
ł
owych.
4 Usu
ń
os
ł
on
ę
kabla z pompy po uprzednim odkr
ę
ceniu
ś
rub mocuj
ą
cych.
5 Oczy
ść
powierzchnie sprz
ę
g
ł
a na silniku i w pompie
6 Podnie
ś
pomp
ę
nad silnik i wyosiuj je w tej samej osi. Szpilki silnika musz
ą
by
ć
w osi z odpowiednimi otworami
znajduj
ą
cymi si
ę
w podporze (
łą
czniku) pompy, natomiast wyj
ś
cia kabla silnika musz
ą
by
ć
w osi z odpowiednim
siedziskiem znajduj
ą
cym si
ę
na dolnej podporze pompy.
7 Opu
ść
pomp
ę
powoli a
ż
wielowypust pompy na
ł
o
ż
y si
ę
ca
ł
kowicie z wielowypustem silnika. Je
ś
li to konieczne, obró
ć
sprz
ę
g
ł
o delikatnie aby u
ł
atwi
ć
operacj
ę
.
8 Na
ł
ó
ż
podk
ł
adki i przykr
ęć
nakr
ę
tki mocuj
ą
ce po przek
ą
tnej w jednolity sposób (w celu dodatkowych informacji odnie
ś
si
ę
do instrukcji silnika). W celu uzyskania informacji na temat momentu dokr
ę
cania odnie
ść
si
ę
do podrozdzia
ł
u 10.5.
9 Na
ł
ó
ż
os
ł
on
ę
kabla na pomp
ę
, wk
ł
adaj
ą
c wcze
ś
niej kabel silnika pod os
ł
on
ę
.
6.2
Ł
ą
czenie kabla silnika z kablem zasilaj
ą
cym
Je
ś
li to konieczne po
łą
cz dwa kable u
ż
ywaj
ą
c muf kablowych klejonych na gor
ą
co lub na zimno, lub w innym dost
ę
pnym
systemie.
Zawsze
odno
ś
si
ę
do instrukcji dotycz
ą
cych tego typu po
łą
cze
ń
.
Po po
łą
czeniu kabli, sprawd
ź
przewodno
ść
elektryczn
ą
przewodów kablowych i przewodu uziemiaj
ą
cego.
6.3 Po
ł
ą
czenie wodne
Przykr
ęć
ruroci
ą
g t
ł
oczny do kró
ć
ca t
ł
ocznego pompy, trzymaj
ą
c za g
ł
owic
ę
. Nagwintowany odcinek ruroci
ą
gu nie mo
ż
e by
ć
d
ł
u
ż
szy ni
ż
nagwintowanie na pompie. Ruroci
ą
g musi by
ć
przykr
ę
cony ciasno aby zapobiec poluzowaniu i odkr
ę
ceniu na skutek
wielokrotnych uruchomie
ń
i zatrzyma
ń
pompy. W kró
ć
cu t
ł
ocznym znajduje si
ę
jeden lub wi
ę
cej otworów ze
ś
rubami
mocuj
ą
cymi, które je
ś
li si
ę
przykr
ę
ci do ruroci
ą
gu, pozwoli zapobiega
ć
jego poluzowaniu.
Ze wzgl
ę
dów bezpiecze
ń
stwa, je
ż
eli u
ż
ywasz plastikowych lub elastycznych ruroci
ą
gów, zabezpiecz
dodatkowo pomp
ę
elektryczn
ą
za pomoc
ą
linki stalowej zamocowanej na uchwycie znajduj
ą
cym si
ę
na
g
ł
owicy (kró
ć
cu t
ł
ocznym) pompy.
W kró
ć
cu t
ł
ocznym pompy zamontowany jest zawór zwrotny. Dodatkowy zawór zwrotny powinien by
ć
zainstalowany na
ruroci
ą
gu t
ł
ocznym aby zmniejszy
ć
uderzenia hydrauliczne, szczególnie gdy ruroci
ą
g t
ł
oczny jest d
ł
ugi.
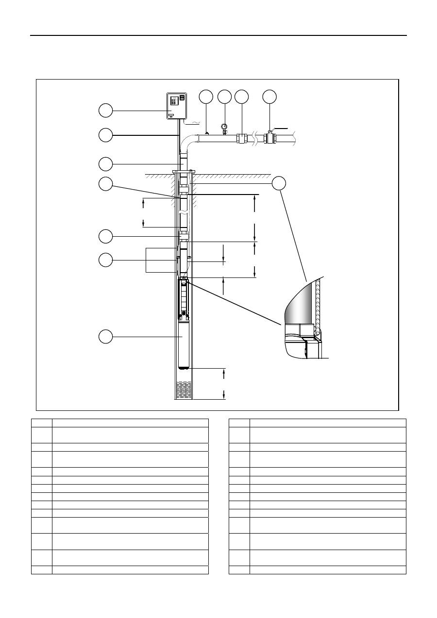
UWAGA UWAGA
pl
84
Zamocuj elektryczny kabel zasilaj
ą
cy do ruroci
ą
gu za pomoc
ą
opasek umieszczonych w odleg
ł
o
ś
ciach ok. 2-3 metry od siebie.
W celu uzyskania wi
ę
cej informacji patrz na schemat w rozdziale 10.4.
6.4 Prawid
ł
owe ustawianie pompy elektrycznej
Opu
ść
pomp
ę
elektryczn
ą
ostro
ż
nie do studni tak aby zapobiec uszkodzeniu pompy i, bardziej szczególnie, kabla
elektrycznego.
Je
ż
eli pompa jest zainstalowana w pozycji pionowej, upewnij si
ę
,
ż
e silnik nie opiera si
ę
na dnie studni lub zbiornika.
Je
ż
eli pompa elektryczna jest zainstalowana w studni upewnij si
ę
,
ż
e odleg
ł
o
ść
pomi
ę
dzy dnem studni a dolnym ko
ń
cem silnika
wynosi przynajmniej 1 metr.
Je
ż
eli pompa elektryczna jest zainstalowana w pozycji poziomej, upewnij si
ę
,
ż
e silnik jest w bezpiecznej odleg
ł
o
ś
ci od dna
studni i g
ł
owica pompy nie jest ni
ż
ej ni
ż
podpora silnika.
W celu dodatkowych informacji patrz na rozdzia
ł
3.1 i 10.4
6.5 Po
ł
ą
czenie elektryczne
Po
łą
czenia elektryczne musz
ą
by
ć
wykonane przez wykwalifikowanych instalatorów zgodnie z
obowi
ą
zuj
ą
cymi regulacjami.
Upewnij si
ę
,
ż
e napi
ę
cia zasilania i cz
ę
stotliwo
ś
ci s
ą
odpowiednie do charakterystyk silnika
elektrycznego.
Przed uruchomieniem upewnij si
ę
,
ż
e wszystkie po
łą
czenia (nawet te, które s
ą
wolne od potencja
ł
ów) s
ą
wolne od napi
ęć
.
Zawsze odno
ś
si
ę
do instrukcji silnika i instrukcji dostarczonych z panelem elektrycznym.
6.6
Uruchomienie pompy elektrycznej
Podczas pierwszego rozruchu pompy, zawór odcinaj
ą
cy powinien by
ć
otwarty ok. jedna trzeci
ą
ca
ł
ego otwarcia aby zmniejszy
ć
jak to mo
ż
liwe zasysanie piasku, który mo
ż
e znajdowa
ć
si
ę
w studni. Je
ś
li woda zaci
ą
ga piasek, zamknij zawór dopóki woda si
ę
nie oczy
ś
ci.
6.6.1
Kierunek obrotów pompy elektrycznej
Prawid
ł
owy kierunek obrotów wa
ł
u pompy jest przeciwny do kierunku obrotów zegara, gdy patrzy si
ę
na króciec t
ł
oczny pompy.
Prawid
ł
owy kierunek jest wskazany strza
ł
k
ą
na korpusie pompy. W przypadku elektrycznych pomp trójfazowych, je
ż
eli
sprawdzenie wizualne obrotów silnika nie jest mo
ż
liwe, post
ę
puj nast
ę
puj
ą
co.
Pod
łą
cz pomp
ę
elektryczn
ą
i uruchom j
ą
. Zatrzymaj j
ą
. Zmie
ń
kierunek obrotów silnika przez zmian
ę
pozycji dwóch faz.
Uruchom pomp
ę
elektryczn
ą
. Prawid
ł
owy kierunek jest ten, przy którym pompa uzyskuje wy
ż
sze ci
ś
nienie.
6.6.2 Sprawdzanie
czysto
ś
ci pompowanej wody
Po sprawdzeniu prawid
ł
owego kierunku obrotów, zostaw zawór odcinaj
ą
cy otwarty w jednej trzeciej pe
ł
nego otwarcia i sprawd
ź
czy pompowana woda jest czysta i przejrzysta. Je
ś
li jaki
ś
piasek jest obecny, niech pompa pracuje dopóki nie pojawi si
ę
czysta
woda.
Otwieraj zawór stopniowo i poczekaj a
ż
ponownie nie pojawi si
ę
czysta woda. Je
ż
eli woda wyp
ł
ywa czysta gdy zawór jest
ca
ł
kowicie otwarty, oznacza to,
ż
e pompa jest gotowa do ci
ą
g
ł
ego pod
łą
czenia do sieci wodoci
ą
gowej.
7. Obs ł uga, serwis, cz ęś ci zamienne Informacja dla personelu obs ł uguj ą cego
Przed przyst
ą
pieniem do obs
ł
ugi pompy elektrycznej upewnij si
ę
,
ż
e silnik jest bez napi
ę
cia.
Obs
ł
ugi musi by
ć
wykonana tylko przez wykwalifikowany personel. U
ż
yj odpowiednie narz
ę
dzia i
urz
ą
dzenia ochronne. Zwró
ć
uwag
ę
na zasady post
ę
powania zapobiegaj
ą
ce wypadkom. Je
ś
li
potrzebujesz opró
ż
ni
ć
pomp
ę
, upewnij si
ę
,
ż
e opró
ż
niana ciecz nie powoduje uszkodze
ń
lub zranie
ń
.
Pompa nie wymaga jaki
ś
zaplanowanych przegl
ą
dów. Nadzwyczajna obs
ł
uga mo
ż
e by
ć
konieczna aby oczy
ś
ci
ć
cz
ęść
hydrauliczn
ą
lub wymieni
ć
jakie
ś
zu
ż
yte elementy.
W przypadku jaki
ś
pyta
ń
prosz
ę
o kontakt z naszym dzia
ł
em sprzeda
ż
y i serwisu.
Zawsze
odno
ś
si
ę
do instrukcji obs
ł
ugi silnika.
7.1 Cz
ęś
ci zamienne
Zawsze okre
ś
l dok
ł
adny typ pompy/pompy elektrycznej i jej numer identyfikacyjny w przypadku zapyta
ń
o informacje techniczne lub cz
ęś
ci zamienne w naszym dziale sprzeda
ż
y i serwisu.
U
ż
ywaj tylko oryginalnych cz
ęś
ci zamiennych do napraw. U
ż
ycie nieodpowiednich cz
ęś
ci zamiennych
mo
ż
e powodowa
ć
niepoprawne dzia
ł
anie, uszkodzenie pompy lub zranienie personelu obs
ł
uguj
ą
cego.
UWAGA UWAGA
pl
85
8. Rozwi ą zywanie problemów Informacje dla u ż ytkowników i personelu obs ł uguj ą cego PROBLEM PRAWDOPODOBNA PRZYCZYNA MO Ż LIWE ROZWI Ą ZANIE PROBLEMU
Brak napi
ę
cia zasilania.
Za
łą
cz lub pod
łą
cz napi
ę
cie zasilania
Pompa elektryczna nie uruchamia si
ę
.
Prze
łą
cznik g
ł
ówny jest w
łą
czony.
Wy
łą
czony przeka
ź
nik termiczny lub
bezpiecznik silnika znajduj
ą
cy si
ę
w
szafce elektrycznej.
Zresetuj bezpiecznik termiczny
Spalone
bezpieczniki
zabezpieczaj
ą
ce
pomp
ę
lub obwody pomocnicze.
Wymie
ń
bezpieczniki.
Zadzia
ł
a
ł
o zabezpieczenie przed
suchobiegiem.
Sprawd
ź
poziom wody w zbiorniku lub
studni.
Je
ż
eli wszystko jest w porz
ą
dku,
sprawd
ź
urz
ą
dzenie zabezpieczaj
ą
ce i
stan jego kabli zasilaj
ą
cych
Uszkodzony jest kabel zasilaj
ą
cy silnika.
Zwarcie w silniku pompy.
Sprawd
ź
elementy pompy i skrzynki
elektrycznej i wymie
ń
je je
ś
li konieczne.
Pompa elektryczna uruchamia si
ę
ale
zabezpieczenie termiczne natychmiast
wy
łą
cza pomp
ę
lub wybija bezpieczniki
Zabezpieczenie termiczne lub
bezpieczniki nie odpowiednio dobrane
do pr
ą
du silnika.
Silnik
przeci
ąż
ony. Sprawd
ź
warunki pracy pompy i zresetuj
zabezpieczenie.
Niew
ł
a
ś
ciwy kierunek obrotów.
Sprawd
ź
kierunek obrotów i, je
ś
li to
konieczne, zamie
ń
dwie fazy w szafce
elektrycznej je
ś
li pompa jest modelem
trójfazowym, lub sprawd
ź
wszystkie
po
łą
czenia je
ś
li jest to model
jednofazowy.
Brak jednej fazy w
ź
ródle zasilania
elektrycznego.
Sprawd
ź
ź
ród
ł
o zasilania.
Pompa elektryczna uruchamia si
ę
ale po
krótkim okresie czasu zabezpieczenie
termiczne w
łą
cza si
ę
lub wybija
bezpieczniki.
Napi
ę
cie
ź
ród
ł
a zasilania nie mie
ś
ci si
ę
w granicach pracy silnika.
Sprawd
ź
warunki pracy pompy
elektrycznej.
Szafka elektryczna jest umieszczona w
pomieszczeniu gdzie wyst
ę
puje wysoka
temperatura lub jest wystawiona na
dzia
ł
anie promieni s
ł
onecznych.
Chro
ń
skrzynk
ę
elektryczn
ą
od
ź
ród
ł
a
ciep
ł
a i promieni s
ł
onecznych.
W pompie znajduj
ą
si
ę
obce cia
ł
a (cia
ł
a
sta
ł
e lub w
ł
ókniste), wirniki s
ą
zniszczone.
Wyci
ą
gnij pomp
ę
i oczy
ść
j
ą
.
Pompa elektryczna si
ę
uruchamia ale po
zmiennym okresie czasu, w
łą
cza si
ę
zabezpieczenie przed suchobiegiem
Wydajno
ść
znamionowa pompy jest
wi
ę
ksza ni
ż
granice okre
ś
lone na
tabliczce znamionowej.
Cz
ęś
ciowo przymknij zawór odcinaj
ą
cy
a
ż
wydajno
ść
znamionowa pompy
powróci do okre
ś
lonych granic.
Temperatura zasysanej cieczy jest zbyt
wysoka.
Sprawd
ź
warunki pracy pompy
elektrycznej.
Zu
ż
yte
ł
o
ż
yska silnika.
Skontaktuj si
ę
z naszym dzia
ł
em
sprzeda
ż
y i serwisu.
Pompa uruchamia si
ę
ale nie dostarcza
wymaganej wydajno
ś
ci.
Nieprawid
ł
owy kierunek obrotów silnika
(wersja trójfazowa).
Sprawd
ź
kierunek obrotów i, je
ś
li to
konieczne, zamie
ń
dwie fazy w silniku
lub skrzynce elektrycznej.
Pompa nie zasysa poniewa
ż
nie jest
wype
ł
niona wod
ą
.
Powtórz procedur
ę
zalewania.
Pompa nie jest zalana z powodu utraty
szczelno
ś
ci w zaworze zwrotnym.
Sprawd
ź
zawór zwrotny pod wzgl
ę
dem
idealnej szczelno
ś
ci.
Obecno
ść
powietrza w ruroci
ą
gu lub
pompie.
Usu
ń
powietrze.
Ruroci
ą
g i/lub pompa zatkana.
Zdemontuj i wyczy
ść
.
Poziom wody w studni zbyt mocno
spad
ł
.
Poczekaj a
ż
poziom wody si
ę
podniesie
lub, je
ś
li to mo
ż
liwe, obni
ż
ni
ż
ej pomp
ę
elektryczn
ą
.
Wydajno
ść
pompy zbyt du
ż
a dla studni. Zmie
ń
pomp
ę
na tak
ą
o mniejszej
wydajno
ś
ci.
Zu
ż
yta pompa.
Wyci
ą
gnij pomp
ę
i przeprowad
ź
generalny remont.
Zadzia
ł
a
ł
o g
ł
ówne zabezpieczenie
instalacji elektrycznej.
Krótkie spi
ę
cie, zwarcie.
Sprawd
ź
instalacj
ę
elektryczn
ą
.
Zadzia
ł
a
ł
o zabezpieczenie ró
ż
nicowe
termiczno-magnetyczne.
Up
ł
awy pr
ą
du doziemne.
Sprawd
ź
izolacj
ę
elementów instalacji
elektrycznej.
pl
86
Pompa obraca si
ę
w niew
ł
a
ś
ciwym
kierunku po zatrzymaniu.
Zawór zwrotny przecieka.
Napraw lub wymie
ń
zawór.
Pompa uruchamia si
ę
zbyt cz
ę
sto
Przecieki na zaworze zwrotnym lub w
uk
ł
adzie.
Sprawd
ź
i zlokalizuj wycieki. Napraw lub
wymie
ń
uszkodzone elementy.
P
ę
kni
ę
ta membrana lub brak powietrza
wst
ę
pnego w zbiorniku membranowym.
Patrz odpowiednia instrukcja dla
zbiornika.
Pompa uruchamia si
ę
zbyt cz
ę
sto
Poziom wody w studni obni
ż
y
ł
si
ę
zbyt
mocno.
Poczekaj a
ż
poziom wody si
ę
podniesie
lub, je
ś
li to mo
ż
liwe, obni
ż
ni
ż
ej pomp
ę
elektryczn
ą
.
Wydajno
ść
pompy zbyt du
ż
a dla studni. Zmie
ń
pomp
ę
na tak
ą
o mniejszej
wydajno
ś
ci.
9. Utylizowanie opakowa ń Informacja dla instalatorów i personelu obs ł uguj ą cego
Je
ż
eli nie mo
ż
esz wykorzysta
ć
opakowa
ń
lub materia
ł
ów pakunkowych na inne cele, usu
ń
je zgodnie z
obowi
ą
zuj
ą
cymi lokalnymi regulacjami dotycz
ą
cymi segregacji
ś
mieci.
Magyar hu
87
1. Általánosságok
Az alábbi kézikönyvvel a használónak a Z6 sorozatú szivattyúk/elektromos szivattyúk telepítéséhez, használatához és
karbantartásához szükséges információkat kívánjuk nyújtani. Az alábbi kézikönyv tartalma a kereskedelmi dokumentációban
feltüntetett sorozatú termékre vonatkozik. Esetleges különleges változatok kiegészít
ő
utasításokat tartalmazó lapokkal
kerülhetnek leszállításra. A különleges verziók, és változatok jellemz
ő
ihez az eladási szerz
ő
déses dokumentációt vegye
hivatkozásul. Jelölje meg mindig pontosan a szivattyú/elektromos szivattyú pontos típusát, és a kódszámát ha m
ű
szaki
információkat vagy cserealkatrész darabokat igényel Eladási- és Szervizszolgálatunktól. A jelen kézikönyvben és az eladási
dokumentációban sem ismertetett utasítások, állapotok és esetek tekintetében lépjen kapcsolatba az Önhöz legközelebbi
Szervizszolgálatunkkal.
Olvassa el az alábbi kézikönyvet a termék telepítése és használata el
ő
tt.
A helytelen használat veszélyhelyzeteket idézhet el
ő
embereken és tárgyakon történ
ő
sérülésekkel,
továbbá a garancia elvesztését vonhatja maga után.
2. A termék leírása
Információk a telepít ő nek és a használónak
A Z6 termékskála magába foglalja a 6"-os rozsdamentes acélból készült merül
ő
szivattyúkat és merül
ő
elektromos szivattyúkat,
melyek a NEMA MG 1-1987 normának megfelel
ő
tengely kiálló résszel és csatlakozó karima méretekkel rendelkez
ő
merül
ő
motorokhoz csatlakoztathatók.
A Z6 sorozatú szivattyúk vízzel érintkez
ő
fém részei rozsdamentes acélból készültek.
Amennyiben elektromos motor nélküli szivattyút vásárolt, gy
ő
z
ő
djön meg arról, hogy a motor a szivattyúval történ
ő
kapcsolásra
alkalmas legyen.
3. Használat Információk a telepít ő nek és a használónak
Ezek a szivattyúk alkalmasak civil és ipari vízszolgáltató berendezésekhez, öntözéshez (mez
ő
gazdaság, sport létesítmények),
t
ű
zvédelemhez.
3.1 Használati
korlátozások
3.1.1
Hogyan kell a szivattyú adattábláját értelmezni
A 10.1 pontban feltüntetett ábrák lehet
ő
vé teszik az adattáblán lév
ő
f
ő
bb adatok felismerését.
3.1.2
Szivattyúzott folyadékok, nyomás, h
ő
mérséklet
Ezt a szivattyút hideg víz szivattyúzására használhatja.
A szivattyú által tolerált maximális homok mennyiség a vízben: 100 g/m
3
.
Ne használja ezt a szivattyút szilárd és/vagy rostos anyagokat tartalmazó folyadékok
szivattyúzására.
Ne használja ezt a szivattyút/elektromos szivattyút gyúlékony és/vagy robbanékony folyadékok
szivattyúzására.
A maximálisan toleráltnál nagyobb homok tartalom károsíthatja a szivattyút.
Maximális m
ű
ködési nyomás: a szivattyú modellt
ő
l függ
ő
en változó
Folyadék h
ő
mérséklet:
-
csak a szivattyúhoz
Minimum 0 °C
Maximum + 60 °C
-
az elektromos szivattyúhoz
Minimum §
Maximum §
§ A szivattyúhoz kapcsolt motor modellt
ő
l függ
ő
en változó h
ő
mérsékletek. Mindig a motor kézikönyvét
vegye hivatkozásul.
Különleges igények esetén lépjen kapcsolatba Eladási- és Szervizszolgálatunkkal.
3.1.3
Minimális és maximális merülési mélység
Gy
ő
z
ő
djön meg arról, hogy a folyadék minimális dinamikus szintje a szivattyú szállítási nyílásánál
legalább 1 méterrel mindig magasabb legyen. Leveg
ő
jelenléte károkat okozhat a szivattyúban.
Ne használja a szivattyút kavitációban, mivel a bels
ő
alkatrészek károsodhatnak.
Elektromos szivattyú: a maximális merülési mélység a szivattyúhoz kapcsolt motor modellt
ő
l függ.
Mindig a motor kézikönyvét vegye hivatkozásul.
3.1.4 Telepítési
helyzet
A szivattyú úgy függ
ő
leges, mint vízszintes állásban telepíthet
ő
.
Vízszintes telepítés esetén egy visszacsapószelepet kell a szállító cs
ő
vezeték mentén felszerelni, a
szivattyú közelében.
Ha az elektromos szivattyú más személyek által hozzáférhet
ő
helyzetben kerül telepítésre,
gondoskodjon megfelel
ő
intézkedésekr
ő
l (például véd
ő
burkolatok), hogy elkerülje a csatlakozóidommal
történ
ő
lehetséges érintkezést, amikor a szivattyú / elektromos szivattyú m
ű
ködik
.
Elektromos szivattyú: a vízszintes telepítés lehet
ő
sége a szivattyúhoz társított motor modelljét
ő
l függ.
Mindig a motor használati kézikönyvét vegye hivatkozásul.
Különleges igények esetén lépjen kapcsolatba Eladási- és Szervizszolgálatunkkal.
FIGYELM FIGYELM FIGYELM
hu
88
3.1.5 Minimális
m
ű
ködési kapacitás
A szivattyú bels
ő
részei rendellenes felmelegedésének elkerülése érdekében gy
ő
z
ő
djön meg arról, hogy mindig biztosított
legyen egy minimális vízáramlás m
ű
köd
ő
szivattyú / elektromos szivattyú mellett.
Ne m
ű
ködtesse a szivattyút / elektromos szivattyút zárt szeleppel a szállítási oldalon néhány
másodpercet túllép
ő
ideig, hogy elkerüljön lehetséges túlmelegedéseket.
3.1.6 A
motor
leh
ű
lése (elektromos szivattyú)
Mindig a motor kézikönyvét vegye hivatkozásul.
3.1.7
Maximális óránkénti indítások száma (elektromos szivattyú)
Mindig a motor kézikönyvét vegye hivatkozásul.
3.1.8
Az elektromos energiaellátás követelményei (elektromos szivattyú)
Mindig a motor kézikönyvét vegye hivatkozásul.
3.1.9 Zajkibocsátási
szint
Mivel a szivattyú / elektromos szivattyú teljesen merült állapotban kerül használatra, a zaj nem terjed a küls
ő
környezet felé.
3.1.10 Különleges
használatok
Lépjen kapcsolatba Eladási- és Szervizszolgálatunkkal bármilyen a folyadék és/vagy telepítés
természete tekintetében leírtakétól eltér
ő
körülmény esetén.
3.1.11 Helytelen
használatok
Ha helytelenül használja a szivattyút / elektromos szivattyút veszélyhelyzeteket idézhet el
ő
, valamint
sérüléseket okozhat embereken és károkat tárgyakban. Néhány helytelen használatra vonatkozó példa:
-
a szivattyú anyagával nem kompatibilis folyadékok szivattyúzása
-
veszélyes
(mérgez
ő
, robbanékony, korrozív) folyadékok szivattyúzása
-
élelmiszeripari folyadékok (bor, tej) szivattyúzása
-
a szivattyú az el
ő
z
ő
pontokban feltüntetett határértékeket túllép
ő
vízh
ő
mérséklettel történ
ő
m
ű
ködtetése.
3.2 Garancia
Bármilyen információért az eladási szerz
ő
déses dokumentációt vegye hivatkozásul.
4.
Szállítás és raktározás
információk a szállítónak
4.1
A csomagolt termék szállítása, mozgatása, raktározása és a csomagolásból történ
ő
eltávolítása
A szivattyúk / elektromos szivattyúk különböz
ő
mérettel és formával rendelkez
ő
csomagokban kerülnek leszállításra.
A csomagok vízszintes helyzetben irányozzák el
ő
a szállítást, mozgatást és raktározást.
Védje a terméket a nyirkosságtól, a h
ő
forrásoktól és lehetséges mechanikus sérülésekt
ő
l (üt
ő
désekt
ő
l,
esésekt
ő
l).
Ne helyezzen súlyokat a csomagokra, és ne helyezzen több csomagot egymás fölé.
Ha a szivattyú / elektromos szivattyú nincs csomagolva, megfelel
ő
vízszintes vagy függ
ő
leges
tartóelemekkel tárolja, hogy megel
ő
zzön túlságos tengelyeltolódásokat és elhajlásokat, melyek károkat
okozhatnak a szivattyúban/elektromos szivattyúban (
¼
10.2 rész).
Használja a fejrészen lév
ő
e célt szolgáló tartókapcsokat (
¼
10.3 rész).
Az elektromos szivattyút soha nem szabad a motor vezetékénél fogva felemelni.
A terméket megfelel
ő
emel
ő
eszközök használatával óvatosan emelje, és mozgassa. Tartsa be a
balesetvédelmi el
ő
írásokat.
Környezeti h
ő
mérséklet a tároláshoz -5°C és +40°C között.
Amikor átveszi az elektromos szivattyút / szivattyút ellen
ő
rizze, hogy a csomagolás küls
ő
leg nem rendelkezik-e nyilvánvaló
sérülésekkel. Ha a terméken sérülések vannak, értesítse err
ő
l viszonteladónkat az átvételt
ő
l számított 8 napon belül.
Ha szivattyút / elektromos szivattyút egy el
ő
z
ő
használatot követ
ő
en kell tárolnia, gondoskodjon az
elektromos szivattyú tökéletes megtisztításáról, és a hidraulikus részek légsugárral történ
ő
megszárításáról.
FIGYELM FIGYELM FIGYELM FIGYELM
hu
89
4.2 A
csomagolóanyag
selejtezése
Ha a csomagolóanyagot nem tudja más célra újrahasznosítani, a szelektív hulladékgy
ű
jtés tárgyában hatályos helyi törvények
szerint selejtezze.
5. Telepítés
információk a telepít
ő
nek
A telepítési m
ű
veleteket kizárólag megfelel
ő
képzettséggel rendelkez
ő
szakember végezheti.
Használjon megfelel
ő
felszereléseket és véd
ő
egységeket. Tartsa be a balesetvédelmi el
ő
írásokat.
Hivatkozzon mindig a helyi és/vagy belföldi hatályos szabályozásokra, törvényekre, el
ő
írásokra a telepítés helyének
kiválasztása, és a hidraulikus, illetve elektromos bekötések tekintetében.
A telepítést megel
ő
z
ő
en olvassa el ezt a kézikönyvet, illetve a motor kézikönyvét, melyhez a szivattyút
csatlakoztatja. A kézikönyveket gondosan
ő
rizze meg. Olvassa el figyelmesen a 3.1 részben feltüntetett
telepítésre vonatkozó korlátozásokat.
5.1
Az elektromos motor kiválasztása
Kizárólag a szivattyú megvásárlása, és a katalógusunkban el
ő
irányzottakétól eltér
ő
motorral történ
ő
összeállítás esetén, a biztonsági szempontokat az összeállítást végz
ő
személynek kell biztosítania.
A motor teljesítményének nagyobbnak, vagy legalább egyenl
ő
nek kell lennie a csatlakoztatandó
szivattyú által igényelt teljesítménnyel.
Ha a sorozatban el
ő
irányozottétól eltér
ő
motort használ ellen
ő
rizze, hogy a motor által elbírt
tengelynyomás nagyobb legyen a szivattyú által el
ő
idézett maximális tengelynyomásnál
.
További információkért lépjen kapcsolatba Eladási- és Szervizszolgálatunkkal.
5.2
Az elektromos vezérl
ő
kapcsolótábla kiválasztása
A motorokat megfelel
ő
en kell védeni a túlterhelést
ő
l, és a rövidzárlattól.
Mindig a motor kézikönyvét, és az elektromos kapcsolótáblával adott utasításokat vegye hivatkozásul.
Kerülnie kell, hogy a szivattyú víz jelenléte nélkül m
ű
ködhessen. Ellen
ő
rizze, hogy az elektromos
kapcsolótábla rendelkezik-e a szárazon történ
ő
járat elleni véd
ő
rendszerrel
6.
M
ű
ködésbe helyezés
információk a telepít
ő
nek
A telepítést megel
ő
z
ő
en olvassa el ezt a kézikönyvet, illetve a motor kézikönyvét, melyhez a szivattyút
csatlakoztatja. A kézikönyveket gondosan
ő
rizze meg.
Amennyiben a termék nyilvánvaló sérülésekkel rendelkezik, ne kezdjen a telepítésébe, hanem lépjen kapcsolatba a
Szervizszolgálattal
6.1
Motor - szivattyú csatlakoztatás
Ha a szivattyú nincs a motorhoz csatlakoztatva, az alábbiak szerint járjon el:
1 Függ
ő
leges helyzetben stabilan biztosítsa ki a motort.
2 Ellen
ő
rizze, hogy a motor tengelye szabadon forog-e.
3 Ellen
ő
rizze, hogy a szivattyú tengelye szabadon forog-e ügyelve arra, hogy ne károsítsa a csatlakozóidom kapcsoló
vájatát.
4
Távolítsa el a szivattyúról a vezetékvéd
ő
t a rözít
ő
csavarok segítségével.
5
Tisztítsa meg a kapcsolási felületeket a motoron, és a szivattyún.
6
Emelje a szivattyút a motor fölé és állítsa
ő
ket egy vonalba ugyanazon a tengelyen. A motor t
ő
csavarainak egy
vonalban kell lenniük a motor tartóegységen lév
ő
megfelel
ő
lyukakkal, és a motor vezeték kimeneteinek egy vonalban
kell lenniük a szivattyú alsó tartóegységén lév
ő
megfelel
ő
foglalatokkal.
7
Lassan eressze le a szivattyút amíg a motor vájt tengelyét teljesen a csatlakozóidomba nem illeszti. Ha szükséges,
könnyítse a behelyezést a csatlakozidom enyhe forgatásával.
8
Húzza meg jól diagonálisan, és egyenletesen a rögzít
ő
csavaranyákat és alátéteket (további információkért a motor
kézikönyvét vegye hivatkozásul). A rögzítési nyomatékra vonatkozó útmutatásokhoz a 10.5 részt vegye hivatkozásul.
9
Rögzítse a vezetékvéd
ő
t a szivattyúhoz ügyelve arra, hogy a motor vezetéket a motor alatt vezesse át.
6.2
Motor vezeték - leereszt
ő
vezeték csatlakoztatás
Ahol szükséges, egyesítse a két vezetéket zsugorkötésekkel vagy öntött gyantával, illetve más megfelel
ő
módszerrel.
Mindig a kötésekkel adott utasításokat vegye hivatkozásul.
Miután elvégezte a kötést, ellen
ő
rizze mindig a fázisok, és a földel
ő
vezeték elektromos folytonosságát.
6.3 Hidraulikus
bekötés
Csavarozza a szállító cs
ő
vezetéket az elektromos szivattyúra, melyet a fejrésznél fog meg. A cs
ő
vezeték menetes szakasza
nem lehet a szivattyú meneténél hosszabb. A cs
ő
vezetéket teljesen be kell csavarozni oly módon, hogy elkerülje kilazulását az
elektromos szivattyú ismétl
ő
d
ő
indításainak és leállításainak következtében. A szállítónyíláson egy vagy több pecek van jelen,
melyeket ha a cs
ő
vezetékre csavaroz, további garanciát nyújtanak a kilazulás ellen.
Biztonsági okokból és m
ű
anyag, vagy hajlékony cs
ő
vezetékek használata esetén biztosítsa ki az
elektromos szivattyút egy nem feszített rozsdamentes acél kötéllel, melyet el
ő
z
ő
leg a fejrész biztonsági
tartókapcsain keresztülvezetett.
FIGYELM FIGYELM
hu
90
A szivattyú fejrészében egy visszacsapószelep van. Ajánlatos a szállító cs
ő
vezetékre egy másik visszacsapószelepet szerelni,
hogy enyhítse a kosütéseket, különösen ha a szállító cs
ő
vezeték nagyon hosszú. Rögzítse az elektromos vezetéket a
cs
ő
vezetékre egy cs
ő
szorítóval minden 2 vagy 3 méterenként.
További információkért a 10.4 pont rajzát vegye hivatkozásul.
6.4
Az elektromos szivattyú elhelyezése
Eressze az elektromos szivattyút a kútba ügyelve arra, hogy elkerülje az elektromos szivattyú, és különösen az elektromos
vezeték sérülését. Ha az elektromos szivattyút függ
ő
leges helyzetben telepíti ellen
ő
rizze, hogy a motor ne a kút, vagy a
víztározó aljára támaszkodjon.
Ha az elektromos szivattyút egy kútban telepíti ellen
ő
rizze, hogy a kút alja és a motor alsó széle közötti szintkülönbség
legalább 1 méter legyen.
Ha az elektromos szivattyút vízszintes helyzetben telepíti ellen
ő
rizze, hogy a motor a víztározó aljához képest emelt helyzetben
legyen illetve, hogy a fejrész ne legyen alacsonyabb helyzetben a motor tartóegységénél.
További információkért lásd a
¼
3.1 és 10.4 részeket.
6.5 Elektromos
bekötés
Az elektromos csatlakoztatásokat kizárólag szakképzett szerel
ő
végezheti a hatályos el
ő
írások
betartásával.
Ellen
ő
rizze, hogy a tápfeszültség és a tápfrekvencia az elektromos motor jellemz
ő
inek megfeleljen.
Munkavégzés el
ő
tt ellen
ő
rizze, hogy minden csatlakozás (a potenciál nélküliek is) feszültség alól mentes
legyen.
Mindig a motor kézikönyvét, és az elektromos kapcsolótáblával adott utasításokat vegye hivatkozásul.
6.6
Az elektromos szivattyú indítása
Az elektromos szivattyú els
ő
indítását a zárószelep nyitási járatának kb. 1/3-án kell végezni, hogy maximálisan korlátozza a
kútban lév
ő
esetleges homok beszívását. Ha a víz zavaros, zárja tovább a szelepet egészen addíg, amíg tiszta víz nem távozik.
6.6.1
Az elektromos szivattyú forgási iránya
A tengely helyes forgási iránya az óra járásával ellentétes a szállítási oldalról nézve, és egy a szivattyún lév
ő
megfelel
ő
nyíl
jelzi. Háromfázisú elektromos szivattyúknál, amennyiben nem lehetséges a forgási irány szemrevételezéssel történ
ő
ellen
ő
rzése, az alábbiak szerint járjon el.
Csatlakoztassa az elektromos szivattyút, és helyezze m
ű
ködésbe. Állítsa le az elektromos szivattyút. Cserélje fel a motor
forgási irányát a 2 fázis egymás közti felcserélésével. Indítsa el az elektromos szivattyút. A helyes forgási irány az, amely a
nagyobb nyomást biztosítja.
6.6.2
A szivattyúzott víz tisztaságának ellen
ő
rzése
Miután ellen
ő
rizte a megfelel
ő
forgási irányt, hagyja a szelepet kb. 1/3-ára nyitva és ellen
ő
rizze, hogy a szivattyúzott víz átlátszó
és tiszta-e. Amennyiben homok maradványok távoznának, addig hagyja m
ű
ködni az elektromos szivattyút, amíg a víz tiszta
nem lesz. Fokozatosan nyissa meg a szelepet és mindig várja meg, hogy a víz ismét tiszta legyen. Ha a víz szabad nyílásnál
tisztán távozik, az elektromos szivattyú készen áll a használati hálózatra történ
ő
tartós csatlakoztatásra.
7.
Karbantartás, szervizelés és cserealkatrészek
Információk a karbantartónak
Miel
ő
tt bármilyen karbantartási m
ű
veletet végezne az elektromos szivattyún ellen
ő
rizze, hogy ne legyen
feszültség alatt a motor.
Karbantartási beavatkozásokat kizárólag megfelel
ő
képesítéssel rendelkez
ő
szakember végezhet.
Használjon megfelel
ő
felszereléseket és véd
ő
egységeket. Tartsa be a balesetvédelmi el
ő
írásokat. Ha le
kell ürítenie a szivattyút ügyeljen arra, hogy a kivezetettt folyadék ne okozhasson sérüléseket
embereknek, és károkat tárgyakban.
A szivattyú nem igényel semmilyen programozott rendes karbantartási m
ű
veletet. Szükségessé válhat rendkívüli karbantartás
a hidraulikus részek tisztítása, vagy az elkopott részek cseréje céljából.
Bármilyen szükség esetén forduljon Eladási- és Szervizszolgálatunkhoz.
Mindig a motor kézikönyvét vegye hivatkozásul.
7.1 Cserealkatrészek
Jelölje meg mindig pontosan a szivattyú/elektromos szivattyú pontos típusát, és a kódszámát ha m
ű
szaki
információkat vagy cserealkatrész darabokat igényel Eladási- és Szervizszolgálatunktól.
Kizárólag eredeti alkatrészeket használjon esetleges csere szükségessége esetén. A nem megfelel
ő
cserealkatrészek használata rendellenes m
ű
ködést okozhat, és veszélyforrást képezhet emberek és
tárgyak számára.
FIGYELM FIGYELM
hu
91
8.
Hibakeresés
Információk a használónak és a karbantartónak
PROBLÉMA
LEHETSÉGES OK
LEHETSÉGES MEGOLDÁSOK
Nincs elektromos energiaellátás
Állítsa vissza az elektromos energiaellátást
A vezérl
ő
elektromos kapcsolótáblán
lév
ő
h
ő
relé, vagy motorvéd
ő
Állítsa vissza a h
ő
védelmet
A szivattyúvéd
ő
, vagy a segédkörök
olvadóbiztosítékai kiégtek
Cserélje ki az olvadóbiztosítékokat
Az elektromos szivattyú nem indul el.
A f
ő
kapcsoló be van kapcsolva
A szárazon történ
ő
járat elleni
véd
ő
egység beavatkozása
Ellen
ő
rizze a víz szintjét a medencében,
vagy
a kútban. Ha mindent rendben talál,
ellen
ő
rizze a véd
ő
egységet és a
hozzátartozó csatlakozó vezetékeket
Sérült tápvezeték
Az elektromos motor rövidzárlatos
A h
ő
védelem vagy olvadóbiztosítékok
nem megfelel
ő
ek a motor áramához
képest
Ellen
ő
rizze, és ha kell cserélje ki az
alkatrészeket
A motor túlterhelése
Ellen
ő
rizze az elektromos szivattyú
m
ű
ködési körülményeit és állítsa vissza a
véd
ő
egységet
Az elektromos szivattyú elindul, de
rögtön közbelép a h
ő
védelem, vagy
kiégnek az olvadóbiztosítékok
Hibás forgási irány
Ellen
ő
rizze a forgási irányt és ha
szükséges, cserélje fel a két fázist az
elektromos kapcsolótáblában ha
háromfázisú, és ellen
ő
rizzen valamennyi
csatlakoztatást ha egyfázisú
Hiányzik az elektromos energiaellátás
egy fázisa
Ellen
ő
rizze az elektromos energiaellátást
A tápfeszültség nincs a motor
határértékei
Ellen
ő
rizze az elektromos szivattyú
m
ű
ködési körülményeit
Az elektromos szivattyú elindul, de
rövid id
ő
elteltével közbelép a
h
ő
védelem, vagy kiégnek az
olvadóbiztosítékok
Az elektromos kapcsolótábla túl meleg
helyen van, vagy közvetlen
napsugárzásnak van kitéve
Védje a kapcsolótáblát h
ő
forrásoktól és a
naptól
Idegen testek (szilárd vagy rostos)
jelenléte
a szivattyúban, melyek leállítják a
Vegye ki és tisztítsa meg az elektromos
szivattyút
Az elektromos szivattyú nagyobb
kapacitással adagol az adattáblán
feltüntett határértéknél.
Zárja el a szivattyú mögötti szelepet addig,
amíg az adagolt kapacitás az el
ő
irányzott
határértékek közé vissza nem tér
A szívott folyadék h
ő
mérséklete túl
magas
Ellen
ő
rizze az elektromos szivattyú
m
ű
ködési körülményeit
Az elektromos szivattyú elindul de
többé-kevésbé hosszabb id
ő
t
követ
ő
en közbelép a h
ő
védelem.
A motor csapágyai elkoptak
Lépjen kapcsolatba Eladási- és
Szervizszolgálatunkkal.
Hibás forgásirány (háromfázisú változat) Ellen
ő
rizze a forgási irányt és ha
szükséges,
cserélje fel a két fázist a motorban, vagy az
A szivattyú nem indul, mert nem
töltötték fel
Ismételje meg az indítási eljárást
A szivattyú nem indul el a
visszacsapószelep
Ellen
ő
rizze a visszacsapószelep tökéletes
tömítését
Leveg
ő
a cs
ő
vezetékekben vagy a
szivattyúban
Eressze ki a leveg
ő
t
A cs
ő
vezetékek vagy a szivattyú
Szerelje szét és tisztítsa meg.
A kút szintjének túlságos leereszkedése Várja meg a szint visszaállását, vagy ha
leheteséges, eressze lejjebb az elektromos
szivattyút
A szivattyú kapacitása túl magas a
kútéhoz képest
Cserélje ki a szivattyút kisebb
teljesítmény
ű
re
Az elektromos szivattyú elindul, de
nem nyújta a kívánt teljesítményt
Elhasználódott szivattyú
Vegye ki a szivattyút és vizsgálja át
A hálózat f
ő
véd
ő
egysége
közbelép.
Rövidzárlat Ellen
ő
rizze az elektromos hálózatot
A hálózat differenciál h
ő
mágneses
véd
ő
egysége közbelép.
Földzárlat Ellen
ő
rizze az elektromos hálózat
alkotórészeinek szigetelését
A szivattyú ellentétes irányba forog
amikor leállítják
Szivárgások a visszacsapószelepb
ő
l
Javítsa meg, vagy cserélje ki az
alkatrészeket.
hu
92
Szivárgások a visszacsapószelepb
ő
l,
vagy
a hálózatban.
Végezzen ellen
ő
rzést, a szivárgások
helyének azonosításához.
Javítsa meg, vagy cserélje ki az
alkatrészeket.
A szivattyú túl gyakran indul
Esetleges autokláv szakadt
membránnal
vagy leveg
ő
el
ő
adagolás nélküli
Tekintse át az autókláv kézikönyvében lév
ő
vonatkozó utasításokat.
A kút szintjének túlságos süllyedése
Várja meg a szint visszaállását, vagy ha
lehetséges, eressze lejjebb az elektromos
szivattyút
A szivattyú túl gyakran indul és áll le
A szivattyú kapacitása túl magas a
kútéhoz képest
Cserélje ki a szivattyút kisebb
teljesítmény
ű
re
9.
Selejtezés
Információk a telepít
ő
nek és a karbantartónak
Tartsa be a helyi hatályos törvényeket, és el
ő
írásokat a hulladékok szelektív begy
ű
jtésének céljából.
Русский
ru
93
1. Обзор
Цель
этого
руководства
состоит
в
том
,
чтобы
предоставить
необходимую
информацию
для
надлежащей
установки
,
работы
и
обслуживания
насосов
/
электрических
насосов
серии
Z6.
Содержание
этого
руководства
касается
стандартного
продукта
,
как
описано
в
документах
продажи
.
Специальные
версии
могут
быть
снабжены
дополнительными
рекламными
листами
инструкций
.
Пожалуйста
,
сошлитесь
на
контракт
продажи
для
любых
модификаций
или
специальных
особенностях
версии
.
Всегда
определяйте
точный
тип
насоса
/
электрического
насоса
и
идентификационный
код
,
когда
запрашиваете
техническую
информацию
или
запасные
части
из
нашего
отдела
Продаж
и
Обслуживания
.
Для
инструкций
,
в
случае
ситуаций
или
событий
,
которые
не
рассматриваются
в
этом
руководстве
или
в
документах
продажи
,
пожалуйста
,
свяжитесь
с
нашим
ближайшим
Сервисным
центром
.
прежде
,
чем
установить
и
эксплуатировать
насос
прочтите
руководство
.
Неподходящее
использование
может
вызвать
травму
и
повреждение
имущества
,
и
привести
к
отказу
от
гарантийного
обслуживания
.
2. Описания Продукта
Информация для монтажников и пользователей
Диапазон
из
серии
Z6
классифицируется
размером
6’’
в
воду
электрических
насосов
и
насосов
,
сделанные
из
нержавеющей
стали
,
которые
могут
быть
присоединены
к
двигателям
пригодным
для
действия
под
водой
,
имеющие
расширение
шахты
и
размеры
гребня
сцепления
в
соответствии
с
NEMA MG 1-1987.
В
ряду
Z6
все
металлические
части
,
находящиеся
в
контакте
с
водой
,
сделаны
из
нержавеющей
стали
.
Если
Вы
купили
насос
без
электродвигателя
,
удостоверьтесь
,
что
двигатель
,
который
Вы
используете
,
является
подходящим
для
подключения
к
насосу
.
3. Применение Информация для монтажников и пользователей
Эти
насосы
являются
подходящими
для
использования
в
коммунальных
и
промышленных
водных
системах
водоснабжения
,
ирригации
(
сельское
хозяйство
,
спортивные
услуги
),
и
противопожарных
применениях
.
3.1
Рабочие
пределы
3.1.1
Как
читать
данные
с
шильды
насоса
Рисунки
в
пункте
10.1
показывают
существенные
данные
,
находящиеся
на
шильде
.
3.1.2
Перекачиваемые
жидкости
,
давление
,
температура
Этот
насос
может
использоваться
для
перекачки
холодной
воды
.
Максимальное
допустимое
количество
взвешенного
песка
: 100
г
/
м
3
.
Не
используйте
данный
насос
,
для
подачи
воды
,
содержащей
твердые
и
/
или
волокнистые
вещества
.
Не
используйте
данную
гидравлическую
часть
/
электрический
насос
для
подачи
огнеопасными
и
/
или
взрывчатыми
жидкостями
.
Количества
песка
,
превышающего
максимальный
допустимый
предел
,
может
привести
к
повреждению
насоса
.
Максимальное
рабочее
давление
:
переменное
,
в
зависимости
от
модели
насоса
Температура
жидкости
:
-
только
для
гидравлической
части
Минимум
0 °C
Максимум
+ 60 °C
-
для
электронасоса
Минимума
§
Максимум
§
Температура
изменяется
в
зависимости
от
типа
двигателя
,
присоединенного
к
насосу
.
Всегда
обращайтесь
к
Инструкции
по
двигателю
.
Для
специальных
требований
,
пожалуйста
свяжитесь
с
нашим
Отделом
Продажам
и
Обслуживания
3.1.3
Минимальная
и
максимальная
глубина
погружения
Удостоверьтесь
,
что
минимальный
динамический
уровень
жидкости
на
по
крайней
мере
1
метр
выше
порта
поставки
насоса
.
Не
используйте
насос
,
если
происходит
кавитация
,
поскольку
внутренние
компоненты
могут
быть
повреждены
.
Электрический
насос
:
максимальная
иммерсионная
глубина
зависит
от
типа
используемого
двигателя
.
Всегда
обращайтесь
к
инструкциям
по
двигателю
.
3.1.4
Положения
при
монтаже
Насос
может
быть
установлен
или
в
вертикальном
или
в
горизонтальном
положении
.
Если
насос
помещен
горизонтально
,
удостоверьтесь
,
чтобы
установить
запорный
клапан
вдоль
напорной
трубы
около
насоса
.
Если
электрический
насос
установлен
в
доступном
положении
,
подходящие
меры
по
обеспечению
безопасности
(
такие
как
защитные
экраны
)
должны
быть
использованы
,
чтобы
ВНИМАНИЕ
ВНИМАНИЕ
ВНИМАНИЕ
ru
94
предотвратить
возможный
контакт
с
соединением
,
когда
насос
/
электрический
насос
находятся
в
действии
.
Электрический
насос
:
возможность
горизонтальной
установки
зависит
от
типа
двигателя
,
присоединенного
к
насосу
.
Всегда
обращайтесь
к
инструкциям
по
двигателю
.
Для
специальных
требований
,
пожалуйста
свяжитесь
с
нашим
Отделом
Продажам
и
Обслуживания
.
3.1.5
Минимальный
операционный
расход
Чтобы
предотвратить
перегревание
внутренних
компонентов
насоса
,
удостоверьтесь
,
что
всегда
обеспечивается
минимальный
сток
воды
,
когда
насос
/
электрический
насос
работает
.
Чтобы
предотвратить
перегревание
,
не
управляйте
насосом
/
электрическим
насосом
с
релейным
клапаном
закрытым
на
стороне
всасывания
дольше
чем
несколько
секунд
.
3.1.6
Охлаждение
двигателя
(
электрический
насос
)
Всегда
обращайтесь
к
инструкциям
по
двигателю
.
3.1.7
Число
запусков
в
час
(
электрический
насос
)
Всегда
обращайтесь
к
инструкциям
по
двигателю
.
3.1.8
Требования
электрического
оборудования
(
электрический
насос
)
Всегда
обращайтесь
к
инструкциям
по
двигателю
3.1.9
Звуковой
уровень
эмиссии
Если
насос
/
электрический
насос
полностью
погружен
,
никакой
шум
не
распространяется
наружу
.
3.1.10
Специальные
применения
Пожалуйста
свяжитесь
с
нашим
Отделом
Продажами
и
Обслуживания
в
любой
ситуации
кроме
тех
,
которые
связанны
с
природой
жидкости
и
/
или
установки
.
3.1.11
Неподходящее
использование
Если
Вы
используете
насос
/
электрический
насос
ненадлежащим
образом
,
Вы
можете
создать
опасные
условия
и
вызвать
травмы
и
повреждение
имущества
.
Вот
несколько
примеров
неподходящего
использования
:
-
перекачка
жидкостей
,
которые
не
совместимы
со
конструкционными
материалами
насоса
-
перекачка
опасных
(
ядовитых
,
взрывчатых
,
коррозийных
)
жидкостей
-
перекачка
питьевых
жидкостей
(
вино
,
молоко
,.....)
-
действие
с
температурой
воды
вне
пределов
,
определенных
выше
.
3.2
Гарантия
Пожалуйста
обратитесь
к
контракту
для
любой
информации
.
4. Транспортировка и хранение Информация для курьеров
4.1
Транспортировка
,
обращение
и
хранение
упакованного
продукта
-
Распаковка
продукта
Насосы
/
электрические
насосы
упакованы
в
картонных
коробках
или
деревянных
ящиках
различных
размеров
и
форм
.
Картонные
коробки
/
ящики
разработаны
для
транспортирования
,
обращения
и
сохраненными
в
горизонтальном
положении
.
Защитите
продукт
от
влаги
,
тепла
и
механических
повреждений
(
столкновения
,
падения
...).
Не
помещайте
тяжелый
вес
в
упакованные
продукты
и
не
складывайте
их
.
Если
насос
/
электрический
насос
не
упакован
,
поместите
его
в
подходящую
опорную
стойку
в
горизонтальном
или
вертикальном
положении
,
чтобы
предотвратить
неровности
и
чрезмерный
изгиб
,
который
мог
принести
ущерб
насосу
/
электрическому
насосу
(
см
.
секцию
10.2).
Используйте
крюки
,
предусмотренные
на
передней
части
(
см
.
секцию
10.3).
Не
поднимайте
электрический
насос
двигательным
кабелем
.
Поднимайте
и
переносите
продукт
осторожно
,
используя
подходящее
поднимающееся
оборудование
.
Соблюдайте
все
действующие
инструкции
техники
безопасности
.
Окружающая
температура
,
подходящая
для
хранения
:
в
пределах
от
-5°C
до
+ 40°C.
ВНИМАНИЕ
ВНИМАНИЕ
ВНИМАНИЕ
ru
95
Когда
Вы
получаете
электрический
насос
,
проверьте
за
пределами
упаковки
очевидные
признаки
повреждения
.
Если
продукт
имеет
видимые
признаки
повреждения
,
уведомьте
нашего
дистрибьютора
в
течение
8
дней
с
даты
поставки
.
Если
насос
/
электрический
насос
помещен
в
хранение
после
периода
деятельности
,
полностью
почистите
и
высушите
электрический
насос
,
используя
струю
принудительного
воздуха
.
4.2
Избавление
от
упаковывающих
вещи
материалов
Если
Вы
не
можете
использовать
упаковывающие
материалы
в
других
целях
,
избавьтесь
от
них
согласно
действующим
постановлениям
вывоза
отходов
в
местном
масштабе
.
5. Установка Информация для установщиков
Установочные
операции
должны
быть
выполнены
квалифицированным
и
опытным
персоналом
.
Используйте
соответствующее
оборудование
и
защиту
.
Соблюдайте
все
действующие
стандарты
техники
безопасности
.
Всегда
обращайтесь
к
действующим
локальным
и
/
или
национальным
стандартам
,
законодательству
и
кодам
,
касающихся
отбора
установочного
местонахождения
и
водных
и
энергетических
соединений
.
Прежде
,
чем
продолжить
установку
,
прочитайте
этот
действующий
справочник
и
инструкции
для
двигателя
,
который
должен
присоединяться
к
насосу
.
Сохраните
все
инструкции
для
будущей
ссылки
.
Примите
во
внимание
установочные
пределы
определенные
в
пункте
3.1.
5.1
Выбор
электродвигателя
Если
вы
покупаете
насос
без
двигателя
и
присоединяете
его
на
двигатель
отличных
от
описанных
в
нашем
каталоге
,
безопасность
единицы
должна
быть
гарантирована
человеком
,
который
осуществляет
присоединение
.
Мощность
двигателя
должна
быть
больше
или
,
по
крайней
мере
,
приравняться
к
требуемой
насосом
,
к
которому
должен
быть
присоединен
двигатель
.
Если
вы
используете
двигатель
отличный
от
стандартного
,
удостоверьтесь
,
что
осевое
давление
,
допускаемое
двигателем
,
больше
чем
максимальное
осевое
давление
,
генерируемое
насосом
.
Пожалуйста
,
свяжитесь
с
нашим
отделом
обслуживания
и
продаж
для
дополнительной
информации
.
5.2
Выбор
электрического
пульта
управления
Двигатели
должны
быть
соответственно
защищены
от
перегрузки
и
коротких
замыканий
.
Всегда
обращайтесь
к
справочнику
по
двигателю
и
инструкциям
,
которые
поставляются
с
электрической
панелью
.
Избегайте
возможности
сухого
хода
,
то
есть
насос
не
должен
работать
без
воды
.
Удостоверьтесь
,
что
электрическая
панель
оборудована
системой
защиты
от
сухого
хода
.
6. Ввод в эксплуатацию Информация для установщиков
Перед
запуском
,
прочитайте
этот
действующий
справочник
и
инструкции
для
двигателя
,
которые
должны
быть
прикреплены
к
насосу
.
Сохраните
все
инструкции
для
следующего
применения
.
Если
продукт
содержит
видимые
знаки
повреждения
,
не
продолжайте
установку
;
свяжитесь
с
нашим
отделом
Продаж
и
Обслуживания
.
6.1
Соединение насоса с электродвигателем
Если
насос
не
присоединен
к
двигателю
,
собирать
систему
следующим
образом
:
1
Положение
двигателя
-
надежно
в
вертикальном
положении
.
2
Удостоверьтесь
,
что
вал
двигателя
вращается
свободно
.
3
Удостоверьтесь
,
что
водоотливный
вал
вращается
свободно
;
не
допускайте
повреждений
связных
пазов
.
4
Переместите
защиту
кабеля
от
насоса
после
отвинчивания
зажимных
винтов
.
5
Прочищайте
соединительные
поверхности
на
двигателе
и
насосе
.
6
Поднимите
насос
над
двигателем
и
выровняйте
их
по
одной
оси
.
Двигательные
гвозди
должны
соединять
соответствующие
отверстия
на
моторном
основании
,
и
двигательные
кабельные
выходы
должны
соединять
соответствующие
места
,
находящиеся
на
более
низком
основании
насоса
.
7
Опускайте
насос
медленно
,
пока
он
полностью
не
присоединится
к
желобчатой
полости
двигателя
.
В
случае
необходимости
,
немного
вращайте
соединение
,
чтобы
облегчить
действие
.
8
Сожмите
схватывающиеся
гайки
и
мойщиков
по
диагонали
и
в
однородной
форме
(
для
дополнительной
информации
обращайтесь
к
инструкциям
по
двигателю
).
Характеристики
крутящего
момента
следует
смотреть
в
разделе
10.5
9
Обеспечьте
защиту
кабелей
к
насосу
,
проводя
двигательный
кабель
под
защитой
.
6.2
Прикрепление
двигательного
кабеля
к
кабелю
понижения
В
случае
необходимости
,
прикрепляйте
два
кабеля
используя
сокращение
тепла
или
метод
заполнения
смолой
или
другую
подходящую
систему
.
Всегда
обратитесь
к
инструкциям
для
креплений
.
ВНИМАНИЕ
ВНИМАНИЕ
ВНИМАНИЕ
ru
96
После
прикрепления
кабелей
,
проверьте
электрическую
непрерывность
фазовых
проводов
и
кабеля
основания
.
6.3
Водное
соединение
Ввинтите
питающую
трубу
в
электрический
выход
насоса
.
Оснащенное
резьбой
сечение
трубы
не
должно
быть
длиннее
,
чем
нарезанная
резьбы
на
насосе
.
Труба
должна
быть
ввинчена
плотно
,
чтобы
предотвратить
ее
неточное
пребывание
в
результате
повторного
запуска
насоса
и
остановки
.
Есть
одна
или
больше
шпонок
на
впускном
окне
,
которые
,
если
ввинчены
в
трубу
,
помогут
предотвратить
ее
неточное
пребывание
.
Из
соображений
безопасности
,
если
вы
используете
пластмассовый
или
гибкий
трубопровод
,
обеспечьте
электрический
насос
с
помощью
неточного
кабеля
из
нержавеющей
стали
,
проходя
через
крюки
с
предохранителем
,
которые
установлены
в
начале
.
Есть
обратный
клапан
в
начале
насоса
.
Дополнительный
обратный
клапан
должен
быть
установлен
в
питающей
трубе
,
чтобы
понизить
гидравлический
удар
,
особенно
если
питающая
труба
длинна
.
Обеспечьте
электрический
кабель
на
трубу
с
помощью
зажимов
,
размещенных
в
интервалах
на
2
или
3
измерителя
.
За
дополнительной
информацией
сошлитесь
на
диаграмму
в
пункте
10.4.
6.4
Расположение
электрического
насоса
Осторожно
опустите
электрический
насос
в
скважину
,
чтобы
предотвратить
повреждение
насоса
и
,
более
важно
,
электрический
кабель
.
Если
насос
установлен
в
вертикальном
положении
,
удостоверьтесь
,
что
двигатель
не
опирается
на
основу
скважины
или
резервуара
.
Если
электрический
насос
установлен
в
скважине
,
удостоверьтесь
что
расстояние
между
основой
скважины
и
более
низким
концом
двигателя
составляет
не
менее
,
чем
1
метр
.
Если
электрический
насос
установлен
в
горизонтальном
положении
,
удостоверьтесь
,
что
двигатель
находится
на
безопасном
расстоянии
от
основы
скважины
и
что
положение
передней
части
не
ниже
,
чем
двигательного
основания
.
Для
дополнительная
информация
см
.
пункты
3.1
и
10.4.
6.5
Подключение
к
электросети
Подключение
к
электросети
должен
выполнять
квалифицированный
техник
по
в
соответствии
с
действующими
стандартами
.
Удостоверьтесь
,
что
напряжение
питания
и
частота
подходят
для
характеристик
электродвигателя
.
Перед
использованием
,
удостоверьтесь
,
что
все
соединения
(
даже
те
,
которые
являются
беспотенциальными
)
без
напряжений
.
Всегда
обращайтесь
к
справ
очнику
по
двигателю
и
к
инструкциям
,
которыми
снабжена
электрическая
панель
.
6.6
Запуск
электрического
насоса
Для
первого
запуска
насоса
двухпозиционная
клапан
должен
быть
открыт
приблизительно
на
одну
треть
,
чтобы
понизить
до
максимально
возможной
степень
всасывание
песка
,
который
может
быть
в
скважине
.
Если
вода
является
мутной
,
нужно
закрыть
клапан
на
некоторое
время
,
пока
вода
не
станет
чистой
.
6.6.1
направление
вращения
электрического
насоса
Правильное
направление
вращения
вала
против
часовой
стрелки
,
стоя
со
стороны
подачи
насоса
.
Правильное
направление
обозначено
стрелкой
на
корпусе
насоса
.
В
случае
трехфазных
электрических
насосов
,
если
визуальная
проверка
направления
вращения
невозможна
,
продолжите
следующим
образом
:
Соедините
электрический
насос
и
запустите
его
.
Остановите
насос
.
Полностью
измените
направление
вращения
двигателя
,
переключая
положение
двух
фазовых
проводников
.
Запустите
электрический
насос
.
Правильное
направление
то
,
которое
обезпечивает
самое
высокое
давление
.
6.6.2
Проверка
чистоты
накачанной
воды
После
проверки
правильного
направления
вращения
,
оставьте
клапан
приблизительно
на
одну
треть
открытым
и
проверьте
,
ясна
ли
накачанная
вода
и
чиста
.
Если
присутствует
какой
-
нибудь
песок
,
остановите
управляемый
насос
,
пока
не
будет
поставляться
чистая
вода
.
Открывайте
клапан
постепенно
и
ждите
чистых
водных
поступлений
,
если
вода
идет
чистая
,
когда
клапан
полностью
открыт
,
это
означает
,
что
электрический
насос
готов
быть
связанным
с
распределительной
сетью
на
длительнеое
время
.
7.
Обслуживание , сервис и запасные части Информация для персонала обслуживания
Прежде
,
чем
выполнить
любые
действия
обслуживания
на
электрическом
насосе
,
удостоверьтесь
,
что
двигатель
без
напряжения
.
Действия
обслуживания
должны
быть
выполнены
только
квалифицированным
и
опытным
персоналом
.
Используйте
соответствующее
оборудование
и
устройства
предохранения
.
Наблюдайте
за
стабильностью
действующей
техники
безопасности
.
Если
Вы
должны
осушить
насос
,
удостоверьтесь
,
что
осушенная
жидкость
не
приносит
повреждения
или
травмы
.
ВНИМАНИЕ
ru
97
Насос
не
требует
никакого
планируемого
регламентного
обслуживания
.
Экстраординарное
обслуживание
может
быть
необходимым
,
чтобы
чистить
конечную
часть
с
жидкостью
или
замещать
любые
износившиеся
узлы
.
Пожалуйста
свяжитесь
с
нашими
отделом
Обслуживания
и
Продажами
по
любым
вопросам
.
Всегда
обратщайтесь
к
справ
очнику
по
двигателю
.
7.1
Запасные
части
Всегда
точно
определяйте
тип
насоса
обычный
/
электрический
и
опознавательный
код
,
запрашивая
техническую
информацию
или
запасные
части
у
нашего
отдела
Обслуживания
и
Продаж
.
Используйте
только
оригинальные
запасные
части
,
чтобы
заменить
любые
узлы
.
Использование
неподходящих
запасных
частей
может
вызвать
сбои
,
повреждение
и
травмы
.
8.
Поиск неисправностей
Информация для пользователей и обслуживающего персонала
ПРОБЛЕМА
ВЕРОЯТНАЯ
ПРИЧИНА
ВОЗМОЖНОЕ
РЕШЕНИЕ
Нет
энергии
источника
Восстановите
энергию
источника
Электрический
насос
не
начинает
работать
.
Главный
выключатель
включен
Контакты
теплового
реле
или
защита
двигателя
расплпвились
в
электрическом
щите
Восстановите
тепловую
щащиту
Насос
или
вспомагательные
защитные
предохранители
расплавлены
Замените
предохранители
Срабатывание
устройства
против
сохого
хода
Проверьте
достаточен
ли
уровень
воды
в
резервуаре
.
Проверьте
устройство
защиты
и
его
присоединительные
кабели
Кабель
источника
питания
поврежден
Короткое
замыкание
электродвигателя
Проверьте
узлы
и
замените
по
мере
необходимости
Электрический
насос
запускается
,
но
немедленно
срабатывает
устройство
тепловой
защиты
,
или
плавятся
предохранители
Устройство
тепловой
защиты
не
соответствует
току
двигателя
Двигатель
перегружен
Проверьте
рабочие
условия
электрического
насоса
и
вновь
установите
защиту
Неправильное
направление
вращения
Проверьте
направление
вращения
и
,
в
случае
необходимости
,
замените
две
фазы
в
электрической
панели
,
если
насос
-
трехфазная
модель
,
или
проверять
все
соединения
,
если
это
-
однофазная
модель
Отсутствует
фаза
в
источнике
питания
Проверьте
источник
питания
Электрический
насос
запускается
но
,
после
короткого
промежутка
времени
срабатывает
устройство
тепловой
защиты
или
плавится
предохранитель
.
Напряжение
источника
питания
не
в
рабочих
пределах
двигателя
Проверьте
рабочие
условия
электрического
насоса
Электрическая
панель
расположена
в
чрезмерно
горячей
области
или
подвергнута
направлению
солнечного
света
Защитите
панель
от
источников
теплоты
и
солнца
Имеются
инородные
тела
(
твердые
или
волокнистые
материи
)
в
насосе
,
то
рабочие
колеса
засорены
Извлеките
электрический
насос
и
прочистите
его
Электрический
насос
запускается
,
но
по
истечении
переменного
промежутка
времени
,
срабатывает
устройство
тепловой
защиты
.
Расход
насоса
выше
,
чем
предел
,
определенный
на
заводской
марке
Частично
закройте
двухпозиционный
клапан
расположенную
вниз
по
течению
,
пока
расход
не
возвратится
в
указанные
пределы
Температура
всасываемой
жидкости
слишком
висока
Проверьте
рабочие
условия
электрического
насоса
Износились
двигательные
подшипники
Свяжитесь
с
вашим
отделом
Обслуживания
и
Продаж
Электрическое
насос
запускается
,
но
не
пропускает
заданный
поток
Неправильное
направление
вращения
(
трехфазная
версия
)
Проверьте
направление
вращения
и
,
в
случае
необходимости
,
замените
две
фазы
в
моторной
или
электрической
панели
ВНИМАНИЕ
ru
98
Насос
не
снабжен
потому
что
не
заполненный
водой
Повторите
процедуру
заливания
Насос
не
залит
в
соответствии
с
ошибкой
напряженности
в
контрольном
клапане
Проверьте
контрольный
клапан
для
превосходной
напряженности
Воздух
в
трубах
или
насосе
Удалите
воздух
Трубопровод
и
/
или
насос
засорялся
Разберите
и
прочистите
Уровень
источника
воды
слишком
понизился
Подождите
повышения
уровня
воды
,
если
возможно
,
нужно
опустить
электрический
насос
Производительность
насоса
слишком
высока
для
скважины
Замените
насос
насосом
с
более
низкой
произодительностью
Износившийся
насос
Извлеките
насос
и
перестройте
его
Включается
общее
предохранение
системы
Короткое
замыкание
Проверьте
электрическую
систему
Включается
дифференциальная
тепловая
магнитная
защита
системы
.
Утечка
на
основании
.
Проверьте
изоляцию
электрических
узлов
системы
Насос
вращается
в
неправильном
направлении
,
когда
он
остановлен
.
Утечки
в
контрольном
клапане
Отремонтируйте
или
замените
узлы
Насос
запускается
слишком
часто
Утечки
в
контрольном
клапане
или
системе
Проверьте
и
локализируйте
утечки
.
Отремонтируйте
или
заместите
узлы
Разорванная
мембрана
или
отсутствие
воздушной
нагрузки
в
уравнительном
резервуаре
См
.
соответствующие
инструкции
в
справочнике
уравнительного
резервуара
Насос
запускается
слишком
часто
Слишком
понизился
уровень
воды
источника
Подождите
повышения
уровня
воды
,
если
возможно
,
нужно
опустить
электрический
насос
Производительность
насоса
слишком
высока
для
скважины
Замените
насос
насосом
с
более
низкой
произодительностью
9. Расположение
Информация для монтажного и обслуживающего персонала
Соблюдайте
местное
законадательство
в
части
утилизации
отходов
.
Türkçe
tr
99
1. Genel bilgiler
İş
bu el kitab
ı
ile Z6 serisi pompalar
ı
n/elektrikli pompalar
ı
n kurulmas
ı
, kullan
ı
m
ı
ve bak
ı
m
ı
için gerekli temel bilgileri sunmak istiyoruz.
İş
bu el kitab
ı
n
ı
n içinde bulunan bilgiler ticari belgelerde gösterilen seri ürüne aittir. Özel versiyonlar varsa ek talimat kitaplar
ı
ile
birlikte tedarik edilebilir. Özel versiyonlar ve özellikleri için lütfen sat
ı
ş
sözle
ş
mesi ile ilgili dokümanlara bak
ı
n
ı
z. Sat
ı
ş
ve Teknik Yard
ı
m
Servisimize teknik bilgiler veya yedek parçalar talep etmenizin gerekmesi halinde pompa/elektrikli pompa tip ve kodunu hep belirtiniz.
İş
bu el kitab
ı
nda ve sat
ı
ş
dokümanlar
ı
nda yer almayan talimat, durum ve olaylar için lütfen en yak
ı
n Teknik Yard
ı
m Servisine
ba
ş
vurunuz.
Ürünü kurup kullanmadan önce bu el kitab
ı
n
ı
okuyun.
Uygunsuz bir kullan
ı
m insan ve nesnelere zarar veren tehlikeli durumlara ve garanti kaybedilmesine sebep
olabilir.
2. Ürün tan ı m ı
Kurucu ve kullan ı c ı ya yönelik bilgiler
Z6 gam
ı
; mil uzunlu
ğ
u ve kavrama flan
ş
ı
boyutlar
ı
MG 1-1987 say
ı
l
ı
NEMA standard
ı
na uygun olan dalg
ı
ç motorlara ba
ğ
lanabilen
paslanmaz çelik 6"’l
ı
k dalg
ı
ç pompalar ve elektrikli pompalar içermektedir.
Z6 serisi pompalar
ı
n su ile temasta bulunan metal parçalar
ı
paslanmaz çelikten yap
ı
lm
ı
ş
t
ı
r.
E
ğ
er sat
ı
n ald
ı
ğ
ı
n
ı
z pompa elektrikli motor ile donat
ı
lm
ı
ş
olmamas
ı
halinde motorun pompaya ba
ğ
lanmas
ı
na uygun oldu
ğ
undan
emin olunuz.
3. Kullan ı m Kurucu ve kullan ı c ı ya yönelik bilgiler
Bu pompalar, evsel ve endüstriyel su da
ğ
ı
tma sistemlerinde, (tar
ı
m uygulamalar
ı
ve spor tesislerinde kullan
ı
lan) sulama tesislerinde
kullan
ı
lmak için uygundur.
3.1 Kullan
ı
m s
ı
n
ı
rlar
ı
3.1.1 Pompadaki
veri
plakas
ı
n
ı
nas
ı
l okumak gerekir
Paragraf 10.1’de yer alan çizimler veri plakas
ı
nda bulunan temel verileri anlama olana
ğ
ı
n
ı
verir.
3.1.2
Pompalanan s
ı
v
ı
lar, bas
ı
nçlar, s
ı
cakl
ı
klar
Bu pompay
ı
so
ğ
uk su pompalamak için kullanabilirsiniz.
Suda müsaade edilen maksimum ask
ı
da kum miktar
ı
: 100 g/m
3
.
Kat
ı
ve/veya lifsi madde ihtiva eden su pompalamak için bu pompay
ı
kullanmay
ı
n
ı
z.
Bu pompa/elektrikli pompa yan
ı
c
ı
ve/veya patlay
ı
c
ı
s
ı
v
ı
lar pompalamak üzere kullan
ı
lmamal
ı
d
ı
r.
Müsaade edilen maksimum limiti a
ş
an kum miktarlar
ı
pompaya zarar verebilir.
Maksimum i
ş
letme bas
ı
nc
ı
:
pompa modeline göre de
ğ
i
ş
iyor.
S
ı
v
ı
n
ı
n s
ı
cakl
ı
ğ
ı
:
- sadece pompa için
Minimum 0 °C
Maksimum + 60 °C
- elektrikli pompa için
Minimum §
Maksimum §
§ S
ı
cakl
ı
klar pompaya ba
ğ
lanm
ı
ş
motor modeline göre de
ğ
i
ş
iyor. Daima motor el kitab
ı
na ba
ş
vurunuz.
Özel ihtiyaçlar için lütfen Sat
ı
ş
ve Teknik Yard
ı
m Servisimizle temas kurun.
3.1.3
Minimum ve maksimum dald
ı
rma derinli
ğ
i
Minimum dinamik s
ı
v
ı
seviyesinin daima pompan
ı
n basma a
ğ
z
ı
ndan en az 1 metreden daha yüksek
oldu
ğ
undan emin olunuz.
İ
çinde bulunan hava pompaya zarar verebilir.
Pompay
ı
kavitasyon olmas
ı
durumunda kullanmay
ı
n
ı
z. Aksi taktirde iç parçalar
ı
zarara u
ğ
rayabilir.
Elektrikli pompa: maksimum dald
ı
rma derinli
ğ
i pompaya ba
ğ
lanm
ı
ş
motor modeline ba
ğ
l
ı
d
ı
r. Daima motor
el kitab
ı
na ba
ş
vurunuz.
3.1.4
Montaj pozisyonu
Pompa hem dikey hem de yatay pozisyonda monte edilebilir.
Pompan
ı
n yatay pozisyonda monte edilmesi durumunda basma borusu boyunca, pompaya yak
ı
n bir
konumda bir çek valf monte edilmesi gerekmektedir.
Elektrikli
pompay
ı
ki
ş
ilerin ula
ş
abildi
ğ
i bir pozisyonda monte etmeniz durumunda pompa/elektrikli pompa
çal
ı
ş
ı
rken boru ba
ğ
lama man
ş
onu ile temas
ı
önlemek için uygun tedbirler al
ı
n (örne
ğ
in koruma siperleri
kullan
ı
n).
Elektrikli pompa: yatay pozisyonda montaj imkan
ı
pompaya ba
ğ
lanm
ı
ş
motor modeline ba
ğ
l
ı
d
ı
r. Daima
motor el kitab
ı
na ba
ş
vurunuz.
Özel ihtiyaçlar için lütfen Sat
ı
ş
ve Teknik Yard
ı
m Servisimizle temas kurun.
D İ KKAT! D İ KKAT! D İ KKAT!
tr
100
3.1.5
Minimum çal
ı
ş
ma debisi
Pompan
ı
n iç parçalar
ı
n
ı
n bir a
ş
ı
r
ı
a
ş
ı
nmas
ı
n
ı
önlemek için pompa/elektrikli pompa çal
ı
ş
ı
rken daima minimum bir su ak
ı
ş
ı
sa
ğ
land
ı
ğ
ı
ndan emin olunuz.
A
ş
ı
r
ı
ı
s
ı
nmay
ı
önlemek için pompa/elektrikli pompa çal
ı
ş
ı
rken açma-kapama valfi sadece birkaç saniye kapal
ı
durumda bulunabilir.
3.1.6
Motorun so
ğ
utulmas
ı
(elektrikli pompa)
Daima motor el kitab
ı
na ba
ş
vurunuz.
3.1.7
Saatte
ş
alt say
ı
s
ı
(elektrikli pompa)
Daima motor el kitab
ı
na ba
ş
vurunuz.
3.1.8
Elektrik
ş
ebekesi özellikleri (elektrikli pompa)
Daima motor el kitab
ı
na ba
ş
vurunuz.
3.1.9
Ses bas
ı
nc
ı
seviyesi
Pompan
ı
n/elektrikli pompan
ı
n tamamen dald
ı
r
ı
lm
ı
ş
durumda kullan
ı
ld
ı
ğ
ı
için gürültü d
ı
ş
ar
ı
yay
ı
lmaz.
3.1.10
Özel kullan
ı
mlar
S
ı
v
ı
ve/veya montaj türleri ile ilgili olarak tan
ı
mlanan durumlardan farkl
ı
herhangi bir durumda lütfen Sat
ı
ş
ve
Teknik Yard
ı
m Servisimizle temas kurun.
3.1.11 Uygunsuz
kullan
ı
mlar
E
ğ
er pompa/elektrikli pompa do
ğ
ru olmayan bir
ş
ekilde kullan
ı
l
ı
rsa hem tehlikeli durumlar olu
ş
abilir hem de
insanlara ve nesnelere zarar verilebilir. Do
ğ
ru olmayan kullan
ı
mlardan baz
ı
örnekler:
-
pompan
ı
n malzemeleri ile uyumlu olmayan s
ı
v
ı
lar
ı
n pompalanmas
ı
-
tehlikeli (toksik, patlay
ı
c
ı
, a
ş
ı
nd
ı
r
ı
c
ı
) s
ı
v
ı
lar
ı
n pompalanmas
ı
-
g
ı
da (
ş
arap, süt,……) esasl
ı
s
ı
v
ı
lar
ı
n pompalanmas
ı
-
s
ı
cakl
ı
ğ
ı
önceki paragraflarda gösterilen s
ı
n
ı
rlardan yüksek olan su ile çal
ı
ş
ma.
3.2
Garanti
Bu konuda daha fazla bilgi için lütfen sat
ı
ş
sözle
ş
mesine bak
ı
n
ı
z.
4. Ta ş ı ma ve depolama Nakliyeciye yönelik bilgiler
4.1
Ambalajlanm
ı
ş
ürünün ta
ş
ı
nmas
ı
, yerinin de
ğ
i
ş
tirilmesi, depolanmas
ı
ve ambalajdan ç
ı
kar
ı
lmas
ı
Pompalar/elektrikli pompalar farkl
ı
ş
ekil ve ebattaki ambalajlarda teslim edilir.
Ambalajlar yatay pozisyonda tutularak ta
ş
ı
nmal
ı
, yeri de
ğ
i
ş
tirilmeli ve depolanmal
ı
d
ı
r. Ürün nemden,
ı
s
ı
kaynaklar
ı
ndan ve (çarpma ve dü
ş
melerden, vs. kaynaklanan) mekanik zararlardan korunmal
ı
d
ı
r.
Ambalajlar
ı
n üzerine a
ğ
ı
r e
ş
ya koymay
ı
n, ambalajlar
ı
üst üste koymay
ı
n.
E
ğ
er pompa/elektrikli pompa ambalajlanmam
ı
ş
ise pompaya/elektrikli pompaya zarar verebilen hizas
ı
zl
ı
k ve
a
ş
ı
r
ı
e
ğ
ilmelerini önlemek için yatay veya dikey pozisyonda uygun mesnetler ile yerle
ş
tirin (
¼
bkz. paragraf
10.2).
Motor üst kapa
ğ
ı
nda bulunan özel kancalar
ı
kullan
ı
n (
¼
bkz. paragraf 10.3).
Elektrikli pompa motorunun kablosundan tutularak asla yukar
ı
kald
ı
r
ı
lmamal
ı
d
ı
r.
Uygun kald
ı
rma tertibatlar
ı
kullanarak, ürünü itina ile yukar
ı
kald
ı
r
ı
n, yerini de
ğ
i
ş
tirin. Kazalardan korunmak
için al
ı
nmas
ı
gereken tedbirleri uygulay
ı
n.
Depolama ortam s
ı
cakl
ı
ğ
ı
: -5°C ila +40°C.
Elektrikli pompay
ı
teslim ald
ı
ğ
ı
n
ı
zda ambalaj
ı
n d
ı
ş
yüzeyinin zarara u
ğ
ray
ı
p u
ğ
ramad
ı
ğ
ı
n
ı
kontrol edin. E
ğ
er ürün zarar gördüyse
teslim tarihinden itibaren en geç 8 gün içinde bayiimizle temas kurun.
Pompa/elektrikli pompay
ı
depolamadan önce ve ileride yeniden kullanmak amac
ı
yla dikkatli
ş
ekilde
temizleyin ve bas
ı
nçl
ı
hava ile kurutun.
D İ KKAT! D İ KKAT! D İ KKAT! D İ KKAT!
tr
101
4.2
Ambalaj at
ı
klar
ı
n
ı
n bertaraf edilmesi
Ambalaj
ı
yeniden kullanamazsan
ı
z, at
ı
klar
ı
n di
ğ
erlerinden ayr
ı
toplanmas
ı
konusunda geçerli olan yerel yasalar uyar
ı
nca bertaraf edin.
5. Montaj Kurucuya yönelik bilgiler
Montaj i
ş
lemleri sadece uzman ve vas
ı
fl
ı
personel taraf
ı
ndan yap
ı
lmal
ı
d
ı
r.
Uygun ekipman ve koruma sistemlerini kullan
ı
n. Kazalardan korunmak için al
ı
nmas
ı
gereken tedbirleri
uygulay
ı
n.
Montaj yerinin seçimi ile boru ve elektrik ba
ğ
lant
ı
lar
ı
hakk
ı
nda ülkede geçerli olan yerel ve/veya ulusal yönetmelik, yasa ve kurallara
daima uyunuz.
Pompa kurulmas
ı
ndan önce bu kullanma el kitab
ı
ve pompan
ı
n ba
ğ
lanaca
ğ
ı
motor el kitab
ı
n
ı
okuyun. El
kitaplar
ı
n
ı
itina ile saklay
ı
n. Paragraf 3.1’de gösterilen montaj s
ı
n
ı
rlar
ı
n
ı
dikkatle okuyun.
5.1
Elektrik motoru seçimi
Sadece pompay
ı
sat
ı
n al
ı
p katalo
ğ
umuzda tan
ı
mlanan motorlardan farkl
ı
bir motora ba
ğ
lad
ı
ğ
ı
n
ı
z takdirde
ünitenin güvenli
ğ
i ba
ğ
lama i
ş
lerini yapan ki
ş
i taraf
ı
ndan garanti edilmelidir.
Motor gücü ba
ğ
lanmas
ı
gereken pompan
ı
n gerektirdi
ğ
i güçten yüksek ya da en az
ı
ndan bu güce e
ş
it
olmal
ı
d
ı
r. E
ğ
er standart motordan farkl
ı
bir motor kullan
ı
rsan
ı
z motorun müsaade edebildi
ğ
i eksenel itme
kuvvetinin pompan
ı
n üretti
ğ
i maksimum eksenel itme kuvvetinden büyük oldu
ğ
unu kontrol edin.
Bu konuda daha fazla bilgi için lütfen Sat
ı
ş
ve Teknik Yard
ı
m Servisimizle temas kurun.
5.2
Elektrik kumanda pano seçimi
Motorlar a
ş
ı
r
ı
yüklenme ve k
ı
sa devreye kar
ş
ı
uygun biçimde korunmal
ı
d
ı
r.
Daima motor el kitab
ı
na ve elektrik panosu ile birlikte verilen talimatlara ba
ş
vurunuz.
Pompan
ı
n kuru, yani içerisinde su bulunmaks
ı
z
ı
n çal
ı
ş
mas
ı
n
ı
önlemeniz gerekir. Elektrik panosunun kuru
çal
ı
ş
maya kar
ş
ı
koruma sistemiyle donat
ı
lm
ı
ş
oldu
ğ
unu kontrol edin.
6. İş letme Kurucuya yönelik bilgiler
Pompay
ı
i
ş
letmeden önce bu kullanma el kitab
ı
ve pompan
ı
n ba
ğ
lanaca
ğ
ı
motor el kitab
ı
n
ı
okuyun. El
kitaplar
ı
n
ı
itina ile saklay
ı
n.
Üründe görünür zarar belirtilerinin bulundu
ğ
u taktirde montaj i
ş
lemlerine ba
ş
lamay
ı
n ve Teknik Yard
ı
m Servisi ile temas kurun.
6.1
Motorun pompa ile ba
ğ
lanmas
ı
Pompa e
ğ
er motora ba
ğ
lanmam
ı
ş
ise parçalar
ı
a
ş
a
ğ
ı
daki gibi birle
ş
tirin:
1
Motoru emniyetli bir
ş
ekilde dikey pozisyonda yerle
ş
tirin.
2 Motor
milinin
serbest döndü
ğ
ünü kontrol edin.
3 Pompa
milinin
serbest döndü
ğ
ünü kontrol edin. Bunu yaparken man
ş
onun ba
ğ
lant
ı
yivini zarara u
ğ
ratmaktan sak
ı
n
ı
n.
4 Tespit
vidalar
ı
n
ı
gev
ş
eterek kablo muhafazas
ı
n
ı
pompadan ay
ı
r
ı
n.
5
Motor ve pompadaki ba
ğ
lama yüzeylerini temizleyin.
6 Pompay
ı
motorun üzerine kald
ı
r
ı
n ve her ikisini ayn
ı
eksen üzerinde hizalay
ı
n. Motor saplamalar
ı
motor mesnedindeki ilgili
delikler ile ayn
ı
hizaya getirilmeli ve motor kablo ç
ı
k
ı
ş
uçlar
ı
pompan
ı
n alt mesnedinde bulunan ilgili yuvalar ile ayn
ı
hizaya
getirilmelidir.
7 Pompay
ı
ba
ğ
lama man
ş
onunda motorun yivli miline tamamen geçirene kadar yava
ş
indirin. Gerekti
ğ
i takdirde i
ş
lemi
kolayla
ş
t
ı
rmak için ba
ğ
lama man
ş
onunu hafifçe döndürün.
8
Rondela ve tespit somunlar
ı
n
ı
çapraz ve düzgün olarak uygun bir
ş
ekilde s
ı
k
ı
n (daha fazla bilgi için lütfen motor el kitab
ı
na
ba
ş
vurunuz). S
ı
kma torku hakk
ı
nda bilgi almak için lütfen paragraf 10.5’e ba
ş
vurunuz.
9
Motor kablosunu kablo muhafazas
ı
n
ı
n alt
ı
na geçirerek kablo muhafazas
ı
n
ı
pompaya sabitleyin.
6.2
Motor kablosunun ini
ş
kablosu ile ba
ğ
lanmas
ı
Gerekti
ğ
i takdirde iki kabloyu
ı
s
ı
yla genle
ş
en ya da reçine dolgulu man
ş
onlar vas
ı
tas
ı
yla veya uygun farkl
ı
bir sistemle birle
ş
tirin.
Ba
ğ
lant
ı
lar ile birlikte verilen talimatlara daima ba
ş
vurunuz.
Kablolar
ı
birle
ş
tirdikten sonra topraklama kablosu ve fazlar
ı
n elektriksel süreklili
ğ
ini daima kontrol edin.
6.3
Su ba
ğ
lant
ı
s
ı
Elektrikli pompay
ı
üst kapa
ğ
ı
ndan tutarak basma borusunu pompaya vidalay
ı
n. Borunun vidal
ı
k
ı
sm
ı
pompan
ı
n vida di
ş
li k
ı
sm
ı
ndan
uzun olmamal
ı
d
ı
r. Boru elektrikli pompan
ı
n tekrarl
ı
çal
ı
ş
malar
ı
ve durmalar
ı
ndan dolay
ı
gev
ş
emesini önleyecek
ş
ekilde s
ı
k
ı
vidalanmal
ı
d
ı
r. Basma a
ğ
z
ı
nda bir ya da birden fazla sabitleme pimi bulunmaktad
ı
r. Bu pimler boruya vidalan
ı
yorsa borunun
gev
ş
emesini önlemeye yard
ı
mc
ı
oluyor.
Güvenlik gere
ğ
i ve plastik ya da esnek borular
ı
n kullan
ı
lmas
ı
durumunda elektrikli pompay
ı
üst kapaktaki
emniyet kancalar
ı
ndan geçirilecek gev
ş
ek bir paslanmaz çelik halat vas
ı
tas
ı
yla sabitleyin.
Pompan
ı
n üst kapa
ğ
ı
nda bir geri dönü
ş
süz valf bulunmaktad
ı
r. Özellikle basma borusunun çok uzun olmas
ı
halinde koç darbelerinin
ş
iddetini azaltmak için basma borusuna bir daha geri dönü
ş
süz valf monte edilmesi tavsiye edilir.
Elektrik kablosunu 2 ya da 3 metre aral
ı
klarla yerle
ş
tirilecek tutucular vas
ı
tas
ı
yla boruya sabitleyin.
Daha fazla bilgi için lütfen paragraf 10.4’te bulunan
ş
emaya ba
ş
vurunuz.
D İ KKAT! D İ KKAT!
tr
102
6.4
Elektrikli pompan
ı
n yerle
ş
tirilmesi
Elektrikli pompay
ı
kuyuya indirin. Bu i
ş
lemi yaparken elektrikli pompa ve bilhassa elektrik kablosunu zarara u
ğ
ratmamaya dikkat edin.
E
ğ
er elektrikli pompay
ı
dikey pozisyonda yerle
ş
tirirseniz motorun kuyu veya depo dibine dayanmad
ı
ğ
ı
n
ı
kontrol edin.
E
ğ
er elektrikli pompay
ı
bir kuyuya yerle
ş
tirirseniz kuyunun dibi ile motorun alt ucu aras
ı
ndaki seviye fark
ı
n
ı
n en az 1 m’ye e
ş
it
oldu
ğ
unu kontrol edin.
E
ğ
er elektrikli pompay
ı
yatay pozisyonda yerle
ş
tirirseniz motorun depo dibine emniyet mesafesinde bulundu
ğ
unu ve üst kapa
ğ
ı
n
motor mesnedine göre daha alçak bir pozisyonda bulunmad
ı
ğ
ı
n
ı
kontrol edin.
Daha fazla bilgi için
¼
lütfen bkz. paragraf 3.1 ve 10.4.
6.5
Elektrik ba
ğ
lant
ı
s
ı
Elektrik ba
ğ
lant
ı
lar
ı
sadece vas
ı
fl
ı
bir tesisatç
ı
taraf
ı
ndan ve ülkede geçerli olan yasalara göre
gerçekle
ş
tirilmelidir.
Besleme gerilim ve frekanslar
ı
n
ı
n elektrik motorunun özelliklerine uygun oldu
ğ
unu kontrol edin.
Herhangi bir i
ş
lem yap
ı
lmadan önce (potansiyelsiz ba
ğ
lant
ı
lar da dahil olmak üzere) tüm ba
ğ
lant
ı
lar
ı
n
gerilimsiz oldu
ğ
undan emin olunmal
ı
d
ı
r.
Daima motor el kitab
ı
na ve elektrik panosu ile birlikte verilen talimatlara ba
ş
vurunuz.
6.6
Elektrikli pompan
ı
n çal
ı
ş
t
ı
r
ı
lmas
ı
Kuyuda bulunan kumun emilmesini mümkün oldu
ğ
u kadar azaltmak için elektrikli pompa açma-kapama valfi aç
ı
lma strokunun
takriben üçte birine kadar aç
ı
k olurken ilk çal
ı
ş
t
ı
r
ı
lmal
ı
d
ı
r. Su bulan
ı
k ise valf temiz su elde edilene kadar biraz daha kapanmal
ı
d
ı
r.
6.6.1
Elektrikli pompan
ı
n dönü
ş
yönü
Milin do
ğ
ru dönme yönü basma boru taraf
ı
ndan bak
ı
larak saatin ters yönündedir. Do
ğ
ru dönme yönü pompadaki özel bir okla
gösterilmi
ş
tir. Trifaze elektrikli pompalarda, dönü
ş
yönünün görsel kontrolünün mümkün olmad
ı
ğ
ı
durumlarda a
ş
a
ğ
ı
da belirtilen
i
ş
lemleri yap
ı
n.
Elektrikli pompay
ı
ba
ğ
lay
ı
p çal
ı
ş
t
ı
r
ı
n. Elektrikli pompay
ı
durdurun. 2 faz
ı
n yerini de
ğ
i
ş
tirerek motorun dönü
ş
yönünü de
ğ
i
ş
tirin.
Elektrikli pompay
ı
çal
ı
ş
t
ı
r
ı
n. Do
ğ
ru dönü
ş
yönü en yüksek bas
ı
nç verendir.
6.6.2
Pompalanan suyun safl
ı
ğ
ı
n
ı
n kontrolü
Dönü
ş
yönünün do
ğ
ru oldu
ğ
unu kontrol ettikten sonra valfi aç
ı
lma strokunun takriben üçte birine kadar aç
ı
k b
ı
rak
ı
n ve pompalanan
suyun berrak ve temiz oldu
ğ
unu kontrol edin. E
ğ
er kum ç
ı
kmaya devam ediyorsa elektrikli pompa su temiz olana kadar
çal
ı
ş
t
ı
r
ı
lmal
ı
d
ı
r.
Valfi kademeli olarak, su yeniden temiz olana kadar aç
ı
n. Valf tamamen aç
ı
kken temiz su ç
ı
k
ı
yorsa elektrikli pompa su da
ğ
ı
t
ı
m
ş
ebekesine kal
ı
c
ı
ş
ekilde ba
ğ
lanmaya haz
ı
rd
ı
r.
7. Bak ı m, teknik yard ı m servisi ve yedek parçalar Bak ı mc ı ya yönelik bilgiler
Elektrikli pompada herhangi bir bak
ı
m i
ş
lemi yap
ı
lmadan önce motorun gerilimsiz oldu
ğ
undan emin
olunmald
ı
r.
Bak
ı
m müdahaleleri sadece uzman, vas
ı
fl
ı
ve yetkili personel taraf
ı
ndan yap
ı
lmal
ı
d
ı
r. Uygun ekipman ve
muhafaza sistemleri kullan
ı
lmal
ı
d
ı
r. Kazalardan korunmak için al
ı
nmas
ı
gereken tedbirleri uygulay
ı
n.
Pompan
ı
n bo
ş
alt
ı
lmas
ı
gerekti
ğ
inde bo
ş
alt
ı
lan s
ı
v
ı
ile insan ve nesnelere zarar verilmemesine dikkat
edilmelidir.
Pompa hiçbir programl
ı
ola
ğ
an bak
ı
m i
ş
inin gerçekle
ş
tirilmesini gerektirmez. Hidrolik parçalar
ı
n temizlenmesi ve a
ş
ı
nm
ı
ş
parçalar
ı
n
yenileriyle de
ğ
i
ş
tirilmesi için ola
ğ
anüstü bak
ı
m i
ş
lerinin gerçekle
ş
tirilmesi gerekebilir.
Herhangi bir istek için lütfen Sat
ı
ş
ve Teknik Yard
ı
m Servisimize ba
ş
vurun.
Daima motor el kitab
ı
na ba
ş
vurunuz.
7.1
Yedek parçalar
Sat
ı
ş
ve Teknik Yard
ı
m Servisimize teknik bilgiler veya yedek parçalar talep etmenizin gerekmesi halinde lütfen
daima do
ğ
ru elektrikli pompa/elektrikli pompa tipinin tan
ı
t
ı
m k
ı
saltmas
ı
n
ı
ve ilgili kodunu belirtiniz.
Pompay
ı
olu
ş
turan parçalardan birini bir yenisiyle de
ğ
i
ş
tirmek için sadece orijinal yedek parçalar kullan
ı
n.
Uygun olmayan yedek parça kullan
ı
m
ı
anormal bir çal
ı
ş
maya neden olup insanlara ve e
ş
yalara zarar verme
tehlikesine yol açabilir.
D İ KKAT! D İ KKAT!
tr
103
8. Ar ı za arama Kullan ı c ı ve bak ı mc ı ya yönelik bilgiler
DURUM
MUHTEMEL SEBEPLER
OLASI ÇÖZÜMLER
Elektrik beslemesi yok.
Elektri
ğ
i tekrar verin.
Elektrikli pompa çal
ı
ş
maya ba
ş
lam
ı
yor.
Ana
ş
alter devreye sokulmu
ş
tur.
Elektrik kumanda panosunda yer alan
termik röler veya motor koruma
ş
alteri
devreye girmi
ş
Termik korumay
ı
yeniden i
ş
ler hale getirin.
Pompa veya yard
ı
mc
ı
devre sigortalar
ı
atm
ı
ş
.
Sigortalar
ı
yenileriyle de
ğ
i
ş
tirin.
Kuru
çal
ı
ş
maya kar
ş
ı
koruma tertibat
ı
devreye girmi
ş
.
Kuyu ya da depoda su seviyesini kontrol
edin. Seviye normal ise koruma tertibat
ı
n
ı
ve ba
ğ
lant
ı
kablolar
ı
n
ı
kontrol edin.
Besleme kablosu zarar görmü
ş
.
Elektrik motoru k
ı
sa devre durumunda.
Elektrikli pompa çal
ı
ş
maya ba
ş
lad
ı
ktan
hemen sonra termik koruma devreye
giriyor veya sigortalar at
ı
yor.
Termik koruma veya sigortalar motor
ak
ı
m
ı
na uygun de
ğ
il.
Parçalar
ı
kontrol edin, e
ğ
er gerekirse
yenileriyle de
ğ
i
ş
tirin.
Motor
a
ş
ı
r
ı
yüklü.
Elektrikli pompan
ı
n çal
ı
ş
ma
ş
artlar
ı
n
ı
kontrol edin ve korumay
ı
yeniden i
ş
ler hale
getirin.
Dönü
ş
yönü hatal
ı
.
Dönü
ş
yönünü kontrol edin ve e
ğ
er
gerekirse trifaze olmas
ı
durumunda
elektrik panosunda iki faz
ı
n yerini
de
ğ
i
ş
tirin, monofaze olmas
ı
durumunda
tüm ba
ğ
lant
ı
lar
ı
n
ı
kontrol edin.
Elektrik beslemesinde bir elektrik faz
ı
yok. Elektrik beslemesini kontrol edin.
Elektrikli pompa çal
ı
ş
maya ba
ş
lamas
ı
na
ra
ğ
men k
ı
sa bir süre sonra termik koruma
devreye giriyor veya sigortalar at
ı
yor.
Besleme gerilimi motorun s
ı
n
ı
rlar
ı
dahilinde de
ğ
il.
Elektrikli pompan
ı
n çal
ı
ş
ma
ş
artlar
ı
n
ı
kontrol edin.
Elektrik
panosu
a
ş
ı
r
ı
s
ı
cak bir ortamda
bulunuyor veya direkt güne
ş
ı
ş
ı
nlar
ı
na
maruz kal
ı
yor.
Elektrik panosunu
ı
s
ı
kaynaklar
ı
ve güne
ş
ı
ş
ı
nlar
ı
ndan koruyun.
Pompan
ı
n içinde bulunan (kat
ı
veya lifsi)
yabanc
ı
cisimler fanlar
ı
durduruyor.
Elektrikli pompay
ı
çekip ç
ı
kar
ı
n ve
temizleyin.
Elektrikli pompa çal
ı
ş
maya ba
ş
lamas
ı
na
ra
ğ
men belli bir süre sonra termik koruma
devreye giriyor.
Elektrikli pompan
ı
n basma debisi veri
plakas
ı
nda gösterilen de
ğ
erden yüksek.
Ak
ı
nt
ı
yönünde yer alan açma-kapama
valfini basma debisi yeniden normal de
ğ
er
aral
ı
ğ
ı
içinde olana kadar k
ı
smen kapat
ı
n.
Emilen
s
ı
v
ı
n
ı
n s
ı
cakl
ı
ğ
ı
a
ş
ı
r
ı
yüksek.
Elektrikli pompan
ı
n çal
ı
ş
ma
ş
artlar
ı
n
ı
kontrol edin.
Motorun
rulmanlar
ı
a
ş
ı
nm
ı
ş
. Lütfen
Sat
ı
ş
ve Teknik Yard
ı
m Servisimizle
temas kurun.
Elektrikli pompa çal
ı
ş
mas
ı
na ra
ğ
men
istenilen performanslar elde edilemiyor.
Dönü
ş
yönü hatal
ı
(trifaze versiyonu)
Dönü
ş
yönünü kontrol edin ve e
ğ
er
gerekirse motor veya elektrik panosunda
iki faz
ı
n yerini de
ğ
i
ş
tirin.
Pompa su dolu olmad
ı
ğ
ı
için
havas
ı
zland
ı
r
ı
lmam
ı
ş
.
Havas
ı
zland
ı
rma i
ş
lemini yeniden
gerçekle
ş
tirin.
Pompa çek valfin s
ı
zd
ı
rmazl
ı
ğ
i yetersiz
oldu
ğ
undan dolay
ı
havas
ı
zland
ı
r
ı
lmam
ı
ş
.
Çek valfin mükemmel s
ı
zd
ı
rmazl
ı
ğ
ı
n
ı
kontrol edin.
Pompa veya borular
ı
n içinde hava var.
Havay
ı
bo
ş
alt
ı
n.
Pompa veya borular t
ı
kal
ı
.
Söküp temizleyin.
Kuyuda su seviyesi gere
ğ
inden fazla
dü
ş
mü
ş
.
Su seviyesinin yükselmesini bekleyin veya
e
ğ
er mümkünse elektrikli pompay
ı
biraz
daha indirin.
Pompan
ı
n kapasitesi kuyunun
kapasitesinden fazla yüksek.
Pompay
ı
daha küçük kapasiteli bir pompa
ile de
ğ
i
ş
tirin.
Pompa
a
ş
ı
nm
ı
ş
. Pompay
ı
çekip ç
ı
kar
ı
n ve revizyondan
geçirin.
Tesisat
ı
n genel koruma tertibat
ı
devreye
giriyor.
K
ı
sa devre.
Elektrik tesisat
ı
n
ı
kontrol edin.
Tesisat
ı
n diferansiyel koruma rölesi
devreye giriyor.
Elektrik topra
ğ
a aktar
ı
l
ı
yor. Elektrik
tesisat
ı
n
ı
olu
ş
turan parçalar
ı
n
izolasyonunu kontrol edin.
Pompa durduruldu
ğ
unda aksi yönde
dönüyor.
Çek valfte s
ı
v
ı
s
ı
z
ı
nt
ı
lar
ı
olu
ş
uyor. Parçalar
ı
tamir edin veya yenileriyle
de
ğ
i
ş
tirin.
tr
104
Pompa s
ı
k s
ı
k devreye giriyor.
Çek valf veya tesisatta s
ı
v
ı
s
ı
z
ı
nt
ı
lar
ı
olu
ş
uyor.
S
ı
z
ı
nt
ı
lar
ı
n bulunup bulundu
ğ
unu kontrol
edin.
Parçalar
ı
tamir edin veya yenileriyle
de
ğ
i
ş
tirin.
Otoklavda diyafram bozuk ya da ön hava
dolgusu yok.
Otoklav el kitab
ı
nda bulunan özel
talimatlara bak
ı
n.
Pompa s
ı
k s
ı
k devreye girip durur.
Kuyuda su seviyesi gere
ğ
inden fazla
dü
ş
mü
ş
.
Su seviyesinin yükselmesini bekleyin veya
e
ğ
er mümkünse elektrikli pompay
ı
biraz
daha indirin.
Pompan
ı
n kapasitesi kuyunun
kapasitesinden fazla yüksek.
Pompay
ı
daha küçük kapasiteli bir pompa
ile de
ğ
i
ş
tirin.
9. Elden ç ı karma Kurucu ve bak ı mc ı ya yönelik bilgiler
At
ı
klar
ı
n di
ğ
erlerinden ayr
ı
toplanmas
ı
konusunda geçerli olan yerel yasa ve kurallara uyun.
it - en - fr - de - es - pt - el - nl - da - no - sv - fi - ar - pl - hu – ru - tr
105
10. Tabelle e disegni - Tables and Drawings - Tableaux et dessins - Tabellen und Zeichnungen - Tablas y dibujos - Tabelas e desenhos - Πίνακες και σχέδια - Tabellen en tekeningen - Tabeller og tegninger - Tabeller og tegninger - Tabeller och ritningar - Taulukot ja kaaviot - تﺎﻤﻴﻤﺼﺗو لواﺪﺟ - Tabele i Schematy -
Táblázatok és
ábrák
- Таблицы и Чертежи - Tablolar ve çizimler
10.1
Come leggere la targa dati - How to Read the Rating Plate - Comment lire la plaque des données - Lesen des Datenschilds -
Cómo leer la placa de características - Como ler a placa de características
-
Πώς
διαβάζεται
η
π
ινακίδα
στοιχείων
-
Wijze
waarop het typeplaatje gelezen moet worden - Læsning af pumpens typeskilt - Hvordan lese dataskiltet - Pumpens
märkplåt - Pumpun arvokilven tulkinta -
تﺎﻧﺎﻴﺒﻟا
ﻖﺼﻠﻣ
ةءاﺮﻗ
ﺔﻴﻔﻴآ
- Jak czyta
ć
tabliczk
ę
znamionow
ą
-
Hogyan kell az
adattáblát értelmezni -
Обозначения
на
табличке
-
Veri plakas
ı
n
ı
nas
ı
l okumak gerekir
1
Tipo pompa / elettropompa
1
Pump/electric pump type
2 Codice
2 Code
3
Potenza nominale
3 Rated
power
4
Campo della portata
4 Flow
range
5
Campo della prevalenza*
5 Head
range*
6
Data di produzione
6 Manufacturing
date
7
Numero di serie
7 Serial
number
8 Velocità
8 Speed
*
per l'acqua 10 metri di prevalenza equivalgono a
quasi 1 bar (circa 100 kPa)
*
For water, 10 meters of head correspond to almost
1 bar (approx. 100 kPa)
1
Type de pompe / électropompe
1 Typ
Pumpe/Motorpumpe
2 Code
2 Code
3 Puissance
nominale
3 Nennförderleistung
4
Plage de débit
4 Förderleistungsbereich
5
Plage de hauteur d’élévation *
5 Förderhöhenbereich*
6 Date
de
production
6 Herstellungsjahr
7
Numéro de série
7 Baureihennummer
8 Vitesse
8 Geschwindigkeit
*
Pour l’eau 10 mètres de hauteur d’élévation
équivalent à presque 1 bar (environ 100 kPa)
*
Für Wasser entsprechen 10 Meter Förderhöhe fast 1
bar (etwa 100 kPa)
1
Tipo de bomba / electrobomba
1
Tipo de bomba / electrobomba
2 Código
2 Código
3 Potencia
nominal
3 Potência
nominal
4
Campo del caudal
4
Campo do débito
5
Campo de la altura de elevación*
5
Campo da altura manométrica *
6
Fecha de producción
6 Data
de
produção
7 Número
de
serie
7 Número
de
série
8 Velocidad
8 Velocidade
*
Para el agua 10 metros de altura de elevación
equivalen a casi 1 bar (unos 100 kPa)
*
Para a água, 10 metros de altura manométrica
correspondem a quase 1 bar (aprox. 100 kPa)
1
2
3
4
5
6
7
8
6ZWE_M 0001_B_SC
it - en - fr - de - es - pt - el - nl - da - no - sv - fi - ar - pl - hu – ru - tr
106
1
Τύ
π
ος
αντλίας
/
ηλεκτρικής
αντλίας
1 Type
pomp
/
elektropomp
2
Κωδικός
2 Code
3
Ονομαστική
ισχύς
3 Nominaal
vermogen
4
Εύρος
της
π
αροχής
4 Capaciteitsbereik
5
Εύρος
του
υδροστατικού
ύψους
*
5 Opvoerhoogtebereik
*
6
Ημερομηνία
π
αραγωγής
6 Productiedatum
7
Αριθμός
σειράς
7 Serienummer
8
Ταχύτητα
8 Snelheid
*
Για
το
νερό
10
μέτρα
υδροστατικού
ύψους
ισοδυναμούν
με
π
ερί
π
ου
1 bar (
π
ερί
π
ου
100 kPa)
*
Bij water: 10 meter opvoerhoogte stemt overeen
met ongeveer 1 bar (circa 100 kPa)
1 Pumpe-/elektropumpetype
1 Type
pumpe/elektropumpe
2 Kode
2 Kode
3 Nominel
effekt
3 Nominell
effekt
4 Kapacitetsområde
4
Verdiområde for kapasitet
5
Område for stigehøjde *
5
Verdiområde for sugehøyde *
6 Produktionsdato
6 Produksjonsdato
7 Serienummer
7 Serienummer
8 Hastighed
8 Hastighet
*
Med hensyn til vand svarer en stigehøjde på 10 m til
1 bar (ca. 100 kPa)
*
For vannet er 10 meter sugehøyde nesten lik 1 bar
(ca. 100 kPa)
1
Typ av pump/elpump
1
Pumpun / sähköpumpun tyyppi
2 Kod
2 Koodi
3 Märkeffekt
3 Nimellisteho
4 Kapacitetsområde
4 Virtausnopeusalue
5
Tryckhöjdens område *
5 Painekorkeusalue
*
6 Tillverkningsdatum
6 Valmistuspvm
7 Serienummer
7 Sarjanumero
8 Hastighet
8 Nopeus
*
10 m tryckhöjd för vatten motsvarar nästan 1 bar
(ca. 100 kPa).
*
Veden 10 metrin painekorkeus vastaa lähes 1 baaria
(n. 100 kPa).
1
ﺔﺨﻀﻤﻟا
عﻮﻧ
/
ﺔﻴﺑﺮﻬﻜﻟا
ﺔﺨﻀﻤﻟا
.
1
Typ pompy elektrycznej
2
ﺔﻴﻠﻜﺸﻟا
ةرﺪﻘﻟا
.
2 Numer
katalogowy
3
ةرﺪﻘﻟا
لﺎﺠﻣ
.
3 Moc
znamionowa
4
رﺎﺸﺘﻧﻻا
ىﺪﻣ
.
4 Przep
ł
yw znamionowy
5
جﺎﺘﻧﻹا
ﺦﻳرﺎﺗ
.
*
5 Znamionowa
wysoko
ś
ć
podnoszenia*
6
زاﺮﻄﻟا
.
6 Data
produkcji
7
ﺔﻋﺮﺴﻟا
.
7 Numer
serii
8
ﻞﺴﻠﺴﻤﻟا
ﻢﻗﺮﻟا
.
8 Pr
ę
dko
ś
ć
*
ﻞآ
10
لدﺎﻌﻳ
ءﺎﻤﻠﻟ
ًارﺎﺸﺘﻧا
رﺎﺘﻣأ
1
ﺗ
رﺎﺑ
ًﺎﺒﻳﺮﻘ
)
ﻲﻟاﻮﺣ
kPa 100
.(
*
Dla wody, 10 metrów wysoko
ś
ci podnoszenia
odpowiada prawie 1 bar (ok. 100 kPa)
1
Elektromos szivattyú / szivattyú típus
1
Тип
насоса
/
электронасоса
2 Kódszám
2
Код
3 Névleges
teljesítmény
3
Номинальная
мощность
4 Kapacitás
tartomány
4
Диапазон
подачи
5 Prevalencia
tartomány*
5
Диапазон
напора
*
6 Gyártási
dátum
6
Дата
производства
7 Szériaszám
7
Серийный
номер
8 Sebesség
8
Скорость
*
a víznél 10 méteres prevalencia majdnem 1 bar-
nak felel meg (kb. 100 kPa)
*
Для
воды
: 10
метров
напора
соответствуют
~ 1
бару
(
или
100 kPa)
1
Pompa / elektrikli pompa tipi
2 Kod
3
Nominal güç
4 Debi
aral
ı
ğ
ı
5 Basma
yüksekli
ğ
i aral
ı
ğ
ı
*
6 Üretim
tarihi
7 Seri
numaras
ı
8 H
ı
z
*
Su ile ilgili olarak, 10 metre basma yüksekli
ğ
i
takriben 1 bar’a e
ş
ittir (takriben 100 kPa)
it - en - fr - de - es - pt - el - nl - da - no - sv - fi - ar - pl - hu – ru - tr
107
10.1.1
Sigle identificative - Identification codes - Code d’identification
- Kennzeichen - Siglas de identificación - Siglas de
identificação -
Συντομογραφίες
ταυτο
π
οίησης
-
Identificatiecodes - Betegnelser - Betegnelser - Beteckningar - Tunnukset
-
زﻮﻣﺮﻟا
تﻻﻻد
- Kod identyfikacyjny -
Azonosító jelzések
- Код обозначения -
Tan
ı
mlama kodlar
ı
1
2
3
4
6
6 Z6 22 35 6 L6W -
6ZW
E
_M0002_B
_S
C
5
D
1
6
= 50 Hz
= 60 Hz
1
6
= 50 Hz
= 60 Hz
2
Z6
ZN6
ZR6
= Serie AISI 304
= Serie AISI 316
= Serie AISI 904
2
Z6
ZN6
ZR6
= AISI 304 series
= AISI 316 series
= AISI 904 series
3
Portata nominale in m
3
/h
3
Nominal flow rate in m
3
/h
4 Numero
stadi
4
Number of stages
5
D
= Versione base
= Versione alta prevalenza
5
D
= Basic version
= High head version
Se solo pompa
Pump only
4
6
8
= Flangia accoppiamento motore 4”
= Flangia accoppiamento motore 6”
= Flangia accoppiamento motore 8”
4
6
8
= Motor coupling flange 4”
= Motor coupling flange 6”
= Motor coupling flange 8”
Se elettropompa
Electric pump
6
L6W = Sigla identificativa motore (esempio)
6
L6W = Motor identification code (example)
1
6
= 50 Hz
= 60 Hz
1
6
= 50 Hz
= 60 Hz
2
Z6
ZN6
ZR6
= Série AISI 304
= Série AISI 316
= Série AISI 904
2
Z6
ZN6
ZR6
= Baureihe AISI 304
= Baureihe AISI 316
= Baureihe AISI 904
3
Portée nominale en m
3
/h
3
Nennförderleistung in m
3
/h
4 Nombre
d’étages
4 Anzahl
Stadien
5
D
= Version de base
= Version à grande hauteur d'élévation
5
D
= Basisversion
= Version hohe Förderhöhe
Si pompe uniquement
Nur Pumpe
4
6
8
= Bride accouplement moteur 4"
= Bride accouplement moteur 6"
= Bride accouplement moteur 8"
4
6
8
= Kupplungsflansch Motor 4”
= Kupplungsflansch Motor 6”
= Kupplungsflansch Motor 8”
Si électropompe
Motorpumpe
6
L6W = Sigle identification moteur (exemple)
6
L6W = Kennzeichen Motor (Beispiel)
1
6
= 50 Hz
= 60 Hz
1
6
= 50 Hz
= 60 Hz
2
Z6
ZN6
ZR6
= Serie AISI 304
= Serie AISI 316
= Serie AISI 904
2
Z6
ZN6
ZR6
= Série AISI 304
= Série AISI 316
= Série AISI 904
3
Caudal nominal en m
3
/h
3
Débito nominal em m
3
/h
4 Número
de
etapas
4 Número
de
células
5
D
= Versión de base
= Versión con gran altura de elevación
5
D
= Versão base
= Versão elevada altura manométrica
Si hay sólo la bomba
Se bomba
4
6
8
= Brida de acoplamiento motor 4”
= Brida de acoplamiento motor 6”
= Brida de acoplamiento motor 8”
4
6
8
= Flange acoplamento motor 4”
= Flange acoplamento motor 6”
= Flange acoplamento motor 8”
En caso de electrobomba
Se electrobomba
6
L6W = Sigla de identificación motor (ejemplo)
6
L6W = Sigla de identificação do motor (exemplo)
it - en - fr - de - es - pt - el - nl - da - no - sv - fi - ar - pl - hu – ru - tr
108
1
6
= 50 Hz
= 60 Hz
1
6
= 50 Hz
= 60 Hz
2
Z6
ZN6
ZR6
=
Σειρά
AISI 304
=
Σειρά
AISI 316
=
Σειρά
AISI 904
2
Z6
ZN6
ZR6
= Serie AISI 304
= Serie AISI 316
= Serie AISI 904
3
Ονομαστική
π
αροχή
σε
m
3
/h
3
Nominale opbrengst in m
3
/h
4
Αριθμός
σταδίων
4 Aantal
trappen
5
D
=
βασική
έκδοση
=
έκδοση
υψηλ
o
ύ
υδροστατικού
ύψους
5
D
= Basismodel
= Model met hoge opvoerhoogte
Αν
π
ρόκειτια
μόνο
για
αντλία
Indien alleen pomp
4
6
8
=
Φλάντζα
σύζευξης
κινητήρα
4”
=
Φλάντζα
σύζευξης
κινητήρα
6”
=
Φλάντζα
σύζευξης
κινητήρα
8”
4
6
8
= Motorverbindingsflens 4”
= Motorverbindingsflens 6”
= Motorverbindingsflens 8”
Αν
π
ρόκειται
μόνο
για
ηλεκτρική
αντλία
Indien
elektropomp
6
L6W =
Συντομογραφία
ταυτο
π
οίησης
κινητήρα
(
π
αράδειγμα
)
6
L6W = Identificatiecode van de motor (voorbeeld)
1
6
= 50 Hz
= 60 Hz
1
6
= 50 Hz
= 60 Hz
2
Z6
ZN6
ZR6
= Serie AISI 304
= Serie AISI 316
= Serie AISI 904
2
Z6
ZN6
ZR6
= Serie AISI 304
= Serie AISI 316
= Serie AISI 904
3
Nominel kapacitet udtrykt i m
3
/t
3
Nominell kapasitet i m
3
/h
4 Antal
trin
4 Antall
trinn
5
D
= Standardversion
= Version med høj stigehøjde
5
D
= Standardutgave
= Utgave for høy sugehøyde
Kun pumpe
Kun pumpe
4
6
8
= Forbindelsesflange til motor 4”
= Forbindelsesflange til motor 6”
= Forbindelsesflange til motor 8”
4
6
8
= Koplingsflens for 4” motor
= Koplingsflens for 6” motor
= Koplingsflens for 8” motor
Kun elektropumpe
Elektropumpe
6
L6W = Motorens betegnelse (eksempel)
6
L6W = Motorens betegnelse (eksempel)
1
6
= 50 Hz
= 60 Hz
1
6
= 50 Hz
= 60 Hz
2
Z6
ZN6
ZR6
= Serie AISI 304
= Serie AISI 316
= Serie AISI 904
2
Z6
ZN6
ZR6
= Sarja AISI 304
= Sarja AISI 316
= Sarja AISI 904
3
Märkkapacitet i m
3
/tim
3 Nimellisvirtausnopeus
m
3
/h
4 Antal
steg
4 Vaihemäärä
5
D
= Standardversion
= Version för hög tryckhöjd
5
D
= Perusversio
= Korkean painekorkeuden versio
Endast pump
Pumppu
4
6
8
= Kopplingsfläns för 4” motor
= Kopplingsfläns för 6” motor
= Kopplingsfläns för 8” motor
4
6
8
= Moottorin 4” liitoslaippa
= Moottorin 6” liitoslaippa
= Moottorin 8” liitoslaippa
Elpump Sähköpumppu
6
L6W = Motorbeteckning (exempel)
6
L6W = Moottorin tunnus (esimerkki)
it - en - fr - de - es - pt - el - nl - da - no - sv - fi - ar - pl - hu – ru - tr
109
=
50
ﺰﺗﺮه
1
=
60
ﺰﺗﺮه
6
1
= 50 Hz
6 = 60 Hz
=
زاﺮﻃ
AISI 304
Z6
=
زاﺮﻃ
AISI 316
ZN6
2
=
زاﺮﻃ
AISI 904
ZR6
2
Z6 = seria AISI 304
ZN6 = seria AISI 316
ZR6 = seria AISI 904
3
ﺐﻌﻜﻤﻟا
ﺮﺘﻤﻟﺎﺑ
ةرﺪﻘﻣ
ﺔﻴﻤﺳﻹا
ةرﺪﻘﻟا
/
ﺔﻋﺎﺳ
3 Przep
ł
yw nominalny w m
3
/h
4
تﺎﺣﺎﺴﻤﻟا
دﺪﻋ
4 Ilo
ś
ć
stopni
=
يرﺎﻴﻌﻣ
زاﺮﻃ
5
=
يﻮﻗ
رﺎﺸﺘﻧا
زاﺮﻃ
D
5
=
Wersja
podstawowa
D
= Wersja z du
żą
wysoko
ś
ci
ą
pompowania
ﻂﻘﻓ
ﺔﺨﻀﻤﻠﻟ
=
كﺮﺤﻤﻟا
ﺖﻴﺒﺜﺗ
ﺪﺋاوز
4
ﺔﺻﻮﺑ
4
=
كﺮﺤﻤﻟا
ﺖﻴﺒﺜﺗ
ﺪﺋاوز
6
ﺔﺻﻮﺑ
6
=
كﺮﺤﻤﻟا
ﺖﻴﺒﺜﺗ
ﺪﺋاوز
8
ﺔﺻﻮﺑ
8
ﺔﻴﺑﺮﻬﻜﻟا
ﺔﺨﻀﻤﻠﻟ
6
=
كﺮﺤﻤﻠﻟ
ﺮﻴﺸﻳ
ﺰﻣر
)
لﺎﺜﻤآ
(
L6W
6
Tylko pompa
4 = przy
ł
ą
cze silnika 4”
6 = przy
ł
ą
cze silnika 6”
8 = przy
ł
ą
cze silnika 8”
Pompa elektryczna
L6W = kod oznacze
ń
silnika (przyk
ł
ad)
1
6
= 50 Hz
= 60 Hz
1
6
= 50
Гц
= 60
Гц
2
Z6
ZN6
ZR6
= AISI 304 sorozat
= AISI 316 sorozat
= AISI 904 sorozat
2
Z6
ZN6
ZR6
=
версия
из
AISI 304
=
версия
из
AISI 316
=
версия
из
AISI 904
3
Névleges áramlási sebesség m
3
/h-ban
3
Номинальная
подача
в
м
3
/
ч
4
Szakaszok száma
4
Количество
ступеней
5
D
= alap változat
= magas prevalencia változat
5
D
=
Базовая
модель
=
Модель
с
большой
высотой
напора
Csak szivattyú
Только
для
насоса
4
6
8
= 4”-os motorkapcsoló-karima
= 6”-os motorkapcsoló-karima
= 8”-os motorkapcsoló-karima
4
6
8
=
соединительный
фланец
двигателя
4”
=
соединительный
фланец
двигателя
6”
=
соединительный
фланец
двигателя
8”
Elektromos szivattyú
Электронасос
6
L6W = motorazonosító kód (példa)
6
L6W =
Идентификационный
код
двигателя
(
пр
)
1
6
= 50 Hz
= 60 Hz
2
Z6
ZN6
ZR6
= AISI 304 serisi
= AISI 316 serisi
= AISI 904 serisi
3
Nominal debi (m
3
/saat)
4 Kademe
say
ı
s
ı
5
D
= Temel versiyon
= Büyük basma yükseklikli versiyon
Sadece pompa
4
6
8
= 4”’ motor ba
ğ
lama flan
ş
ı
= 6” motor ba
ğ
lama flan
ş
ı
= 8” motor ba
ğ
lama flan
ş
ı
Elektrikli pompa
6
L6W
= Motor tan
ı
mlama kodu (örnektir)
it - en - fr - de - es - pt - el - nl - da - no - sv - fi - ar - pl - hu – ru - tr
110
10.2
Esempio di corretto immagazzinamento - Correct storage example - Exemple de stockage correct - Beispiel für die korrekte
Einlagerung - Ejemplo de almacenamiento correcto - Exemplo de armazenagem correcta -
Παράδειγμα
σωστής
α
π
οθήκευσης
-
Voorbeeld van correcte opslag - Eksempel på korrekt opbevaring - Eksempel på riktig lagring - Exempel på
korrekt förvaring - Esimerkki oikeasta varastoinnista -
ﺢﻴﺤﺼﻟا
ﻦﻳﺰﺨﺘﻠﻟ
لﺎﺜﻣ
- Przyk
ł
ad poprawnego przechowywania
- Példa a
helyes tárolásra -
Правильный
способ
хранения
-
Do
ğ
ru depolama örne
ğ
i
6ZWE_M 0003_A_SC
10.3
Modalità corretta di movimentazione - Correct handling method - Modalité de manutention correcte - Korrektes
Handlingsverfahren - Modalidad correcta de desplazamiento - Modalidade correcta de movimentação -
Τρό
π
ος
σωστής
μετακίνησης
-
Correcte verplaatsingsmethode - Korrekt fremgangsmåde ved flytning - Riktig håndtering - Korrekt flytt -
Oikea liikutustapa -
ﻚﻳﺮﺤﺘﻠﻟ
ﻰﻠﺜﻤﻟا
ﺔﻘﻳﺮﻄﻟا
- Metoda poprawnego zawieszania -
Helyes mozgatási módozat -
Правильный
способ
транспортировки
-
Do
ğ
ru ta
ş
ı
ma örne
ğ
i
6ZWE_M 0004_A _SC
it - en - fr - de - es - pt - el - nl - da - no - sv - fi - ar - pl - hu – ru - tr
111
6ZWE_M 0005_A_SC
1
4
1 m (A) 30 ÷ 50 m (D) 10 m (C) 1 m (B) 2 ÷ 3 m (E)
3
2
5
6
7
8
9
10
11
3
10.4
Esempio di installazione - Installation example - Exemple d’installation - Installationsbeispiel - Ejemplo de instalación -
Exemplo de instalação -
Παράδειγμα
εγκατάστασης
- Installatievoorbeeld - Eksempel på installation - Eksempel på
installasjon - Installationsexempel - Asennusesimerkki -
ﺐﻴآﺮﺘﻠﻟ
لﺎﺜﻣ
- Przyk
ł
ad poprawnego monta
ż
u
- Telepítési példa -
Пример
установки
-
Montaj örne
ğ
i
1 Elettropompa
sommersa
1 Submersible
electric
pump
2
Sonde di livello per la protezione contro la marcia a
secco
2
Level sensors for protection against dry running
3
Valvola di non ritorno
3 Non-return
valve
4
Fascetta di fissaggio del cavo elettrico di discesa sul
tubo di mandata
4
Clamp fastening the electric drop cable to the
delivery pipe
5
Tubazione di mandata
5 Delivery
piping
6
Cavo elettrico di discesa
6
Electric drop cable
7
Quadro di comando
7 Control
panel
8
Tappo per sfiato / adescamento pompa
8
Air / pump priming plug
9 Manometro
9 Pressure
gauge
10
Valvola di intercettazione
10 On-off
valve
11
Fune di sicurezza (specialmente quando il tubo di
mandata è di materiale plastico o flessibile)
11
Safety cable (especially needed when the delivery
pipe is made of plastic or flexible material)
A
Distanza minima tra il fondo del pozzo e
l’elettropompa
A
Minimum distance between the bottom of the well
and the electric pump
B
Minimo livello dinamico da garantire sopra la bocca
di mandata della pompa
B
Minimum dynamic level above the pump’s delivery
port
C
Distanza tra la bocca di mandata della pompa e la
C
Distance between the pump’s delivery port and the
it - en - fr - de - es - pt - el - nl - da - no - sv - fi - ar - pl - hu – ru - tr
112
prima valvola di non ritorno
first non-return valve
D
Distanza tra le successive valvole di non ritorno
D
Distance between the subsequent non-return valves
E
Distanza tra le fascette di fissaggio del cavo elettrico
di discesa al tubo di mandata
E
Distance between the clamps that fasten the electric
drop cable to the delivery pipe
1
Electropompe immergée
1 Tauchmotorpumpe
2
Capteur de niveau pour la protection contre la
marche à sec.
2
Niveausonde für den Schutz gegen Trockenlauf
3 Clapet
antiretour
3 Rückschlagventil
4
Collier de fixation du câble de descente sur le tuyau
de refoulement
4
Befestigungsschelle des Abstiegskables an der
Druckleitung
5 Canalisation
de
refoulement
5 Druckleitung
6
Câble électrique de descente
6 Abstiegsstromkabel
7
Tableau de commande
7 Bedientafel
8
Bouchon pour vidange / amorçage pompe
8
Entlüftungsstutzen-/Einfüllstutzen Pumpe
9 Manomètre
9 Manometer
10 Robinets
d’arrêt
10 Sperrventil
11
Câble de sécurité (notamment lorsque le tuyau de
refoulement est en matière platique flexible)
11
Sicherheitsseil (insbesondere, wenn die
Druckrohrleitung aus Kunststoff oder ein Schlauch
ist)
A
Distance minimale entre le fond du puits et
l’électropompe
A
Abstand zwischen Brunnengrund und Motorpumpe
B
Niveau minimal à garantir au dessus de la bouche
de refoulement de la pompe
B
Dynamisches Mindestpegel, der über dem
Druckstutzen der Pumpe zu garantieren ist
C
Distance entre la bouche de refoulement et le clapet
antiretour
C
Abstand zwischen dem Druckstutzen der Pumpe
und dem ersten Rückschlagventil
D
Distance entre les autres clappets de nonretour
D
Abstand zwischen den darauf folgenden
Rückschlagventilen
E
Distance entre les colliers de fixation du câble de
descente et le tuyau de refoulement
E
Abstand zwischen den Befestigungsschellen des
Abstiegsstromkabels zur Druckleitung
1 Electrobomba
sumergible
1 Electrobomba
submersível
2
Sondas de nivel para la protección contra la marcha
en seco
2
Sondas de nível para a protecção contra o
funcionamento em seco
3
Válvula de retención
3 Válvula
anti-retorno
4
Abrazadera de fijación del cable eléctrico de
descenso en el tubo de impulsión
4
Braçadeira de fixação do cabo eléctrico de descida
no tubo de compressão
5 Tubería
de
impulsión
5 Tubo
de
compressão
6
Cable eléctrico de descenso
6
Cabo eléctrico de descida
7
Cuadro de mando
7 Quadro
de
comando
8
Tapón de purga / cebado bomba
8
Tampão para drenagem / ferragem da bomba
9 Manómetro
9 Manómetro
10 Válvula
de
cierre
10 Válvula
de
corte
11
Cable de seguridad (sobre todo cuando el tubo de
impulsión es de material plástico o flexible)
11
Corda de segurança (especialmente com tubo de
compressão de material plástico ou flexível)
A
Distancia mínima entre el fondo del pozo y la
electrobomba
A
Distância mínima entre o fundo do furo e a
electrobomba
B
Nivel dinámico mínimo que se debe garantizar sobre
la boca de impulsión de la bomba
B
Mínimo nível dinámico a garantir por cima da boca
de compressão da bomba
C
Distancia entre la boca de impulsión de la bomba y
la primera válvula de retención
C
Distância entre a boca de compressão da bomba e a
primeira válvula anti-retorno
D
Distancia entre las válvulas de retención siguientes
D
Distância entre as sucessivas válvulas anti-retorno
E
Distancia entre las abrazaderas de fijación del cable
eléctrico de descenso en el tubo de impulsión
E
Distância entre as braçadeiras de fixação do cabo
eléctrico de descida no tubo de compressão
1
Βυθιζόμενη
ηλεκτρική
αντλία
1 Elektrodompelpomp
2
Αισθητήρες
στάθμης
για
την
π
ροστασία
α
π
ό
κίνηση
χωρίς
φορτίο
2
Niveausondes ter bescherming tegen drooglopen
3
Ανε
π
ίστροφη
βαλβίδα
3 Terugslagklep
4
Λωρίδα
στερέωσης
του
ηλεκτρικού
καλωδίου
καθόδου
στο
σωλήνα
π
ροσαγωγής
4
Bevestigingsklem elektrische neerlaatkabel op
persleiding
5
Σωλήνωση
π
ροσαγωγής
5 Persleiding
6
Ηλεκτρικό
καλώδιο
καθόδου
6 Elektrische
neerlaatkabel
7
Πίνακας
χειρισμού
7 Schakelkast
8
Πώμα
για
α
π
αέρωση
/
π
λήρωση
αντλίας
8 Ontluchtings-/pompprimingsplug
it - en - fr - de - es - pt - el - nl - da - no - sv - fi - ar - pl - hu – ru - tr
113
9
μανόμετρο
9 Manometer
10
Βαλβίδα
ανάσχεσης
10 Afsluitklep
11
Σύρμα
ασφαλείας
(
ειδικά
όταν
ο
σωλήνας
π
ροσαγωγής
είναι
α
π
ό
π
λαστικό
ή
εύκαμ
π
το
υλικό
)
11
Veiligheidskabel (met name als de persslang van
kunststof materiaal of buigzaam is)
A
Ελάχιστη
α
π
όσταση
μεταξύ
του
βάθους
του
π
ηγαδιού
και
της
ηλεκτρικής
αντλίας
A
Minimum afstand tussen de bodem van de put en
de elektropomp
B
Ελάχιστη
στάθμη
π
ου
π
ρέ
π
ει
να
διασφαλιστεί
π
άνω
α
π
ό
το
στόμιο
π
ροσαγωγής
της
αντλίας
B
Minimum dynamisch niveau dat boven de
persopening van de pomp gegarandeerd moet
worden
C
Α
π
όσταση
μεταξύ
του
στομίου
π
ροσαγωγής
της
αντλίας
και
της
π
ρώτης
ανε
π
ίστροφης
βαλβίδας
C
Afstand tussen de persopening van de pomp en de
eerste balkeerklep
D
Α
π
όσταση
μεταξύ
των
διαδοχικών
ανε
π
ίστροφων
βαλβίδων
D
Afstand tussen de volgende balkeerkleppen
E
Α
π
όσταση
μεταξύ
των
λωρίδων
στερέωσης
του
ηλεκτρικού
καλωδίου
καθόδου
στο
σωλήνα
π
ροσαγωγής
E
Afstand tussen de bevestigingsklemmen van de
elektrische neerlaatkabel op persleiding
1 Dykelektropumpe
1 Nedsenkbar
elektropumpe
2
Niveausonder til beskyttelse mod at køre tør
2
Nivåsonder for beskyttelse mot tørrkjøring
3 Bakventil
3 Tilbakeslagsventil
4
Strop til fastgørelse af sænkekabel på trykrør
4
Festeklemme for den elektriske senkekabelen på
trykkrøret
5 Trykrør
5 Trykkrør
6 Elektrisk
sænkekabel
6 Elektrisk
senkekabel
7 Kontrolpanel
7 Kontrolltavle
8
Prop til udluftning/spædning af pumpe
8
Plugg for luftutslipp/fylling av pumpen
9 Manometer
9 Manometer
10 Afspærringsventil
10 På/av
ventil
11
Sikkerhedswire (specielt, hvis trykrøret er af plast
eller er fremstillet af en slange)
11
Sikkerhetstau (spesielt ved bruk av plastrør eller
slanger)
A
Min. afstand mellem brøndens bund og
elektropumpen
A
Min. avstand mellom brønnbunnen og
elektropumpen
B
Dynamisk min. niveau (skal garanteres over
pumpens trykstuds)
B
Min. dynamiske nivå som må garanteres over
pumpens trykkåpning
C
Afstand mellem pumpens trykstuds og den første
bakventil
C
Avstand mellom pumpens trykkåpning og den første
tilbakeslagsventilen
D
Afstand mellem de efterfølgende bakventiler
D
Avstand mellom de neste tilbakeslagsventilene
E
Afstand mellem stropper til fastgørelse af elektrisk
sænkekabel på trykrør
E
Avstand mellom festeklemme for den elektriske
senkekabelen på trykkrøret
1 Dränkbar
elpump
1 Upposähköpumppu
2
Nivåsonder för skydd mot torrkörning
2 Kuivakäynnin
estävät
tasoanturit
3 Backventil
3 Takaiskuventtiili
4
Bandklamma för fastsättning av nedsänkningskabel
på tryckröret
4
Laskusähkökaapelin poistoputkeen liittävät
kiinnittimet
5 Tryckrör
5 Poistoputki
6 Nedsänkningskabel
6 Laskusähkökaapeli
7 Manöverpanel
7 Sähkötaulu
8
Plugg för avluftning/fyllning av pump
8
Pumpun ilmaus- ja täyttötulppa
9 Manometer
9 Painemittari
10 Avstängningsventil
10 Sulkuventtiili
11
Säkerhetsvajer (krävs speciellt när tryckröret är av
plast eller är en slang).
11
Turvavaijeri (erityisesti, jos poistoputki on muovia tai
letku)
A
Min. avstånd mellan brunnens botten och elpump
A
Kaivon pohjan ja sähköpumpun välinen
minimietäisyys
B
Erforderlig min. dynamisk vätskenivå ovanför
pumpens tryckutlopp
B
Pumpun poistoaukon yläpuolelle taattava
dynaaminen minimitaso
C
Avstånd mellan pumpens tryckutlopp och den första
backventilen
C
Pumpun poistoaukon ja ensimmäisen
takaiskuventtiilin välinen etäisyys
D
Avstånd mellan övriga backventiler
D
Muiden takaiskuventtiilien välinen etäisyys
E
Avstånd mellan bandklammorna för fastsättning av
nedsänkningskabel på tryckröret
E
Laskusähkökaapelin
poistoputkeen liittävien
kiinnittimien välinen
etäisyys
it - en - fr - de - es - pt - el - nl - da - no - sv - fi - ar - pl - hu – ru - tr
114
1
ﻮﻤﻐﻤﻟا
ﺔﻴﺑﺮﻬﻜﻟا
ﺔﺨﻀﻤﻟا
ةر
.
1 G
ł
ę
binowa pompa elektryczna
2
فﺎﺠﻟا
ﻰﻠﻋ
ﻞﻴﻐﺸﺘﻟا
ﺪﺻ
ﺔﻳﺎﻤﺤﻠﻟ
ىﻮﺘﺴﻤﻟا
ﺮﺑﺎﺴﻣ
.
2
Sondy poziomu dla zabezpieczenia przed
suchobiegiem
3
عﺎﺠﺗرﻻا
ﺪﺿ
مﺎﻤﺻ
.
3 Zawór
zwrotny
4
ﺦﻀﻟا
ةرﻮﺳﺎﻣ
ﻰﻠﻋ
ﺐآﺮﻳ
يﺬﻟا
ءﺎﺑﺮﻬﻜﻟا
ﻞﺑﺎﻜﻟ
ﺖﻴﺒﺜﺘﻟا
طﺎﺑر
.
4
Obejmy mocuj
ą
ce kabel zasilaj
ą
cy do ruroci
ą
gu
t
ł
ocznego
5
ﺦﻀﻟا
ةرﻮﺳﺎﻣ
.
5 Ruroci
ą
g t
ł
oczny
6
رﺪﺤﻨﻤﻟا
ءﺎﺑﺮﻬﻜﻟا
ﻞﺑﺎآ
.
6
Elektryczny kabel zasilaj
ą
cy
7
ﺔﻴﺑﺮﻬﻜﻟا
ﺔﺣﻮﻠﻟا
.
7
Elektryczna skrzynka sterownicza
8
ﻎﻳﺮﻔﺘﻟا
مﺎﻤﺻ
/
ﺔﺨﻀﻤﻟا
ﺦﺿ
.
8 Korek
odpowietrzaj
ą
cy/zalewowy pompy
9
ﻂﻐﻀﻟا
سﺎﻴﻗ
زﺎﻬﺟ
.
9 Manometr
10
قﻼﻏﻹا
مﺎﻤﺻ
.
10 Zawór
odcinaj
ą
cy
11
نﺎ ﻣﻷا
ﻞ ﺑﺎآ
)
ةدﺎ ﻣ
ﻦ ﻣ
ﺔﻋﻮﻨﺼ ﻣ
ﺦﻀ ﻟا
ةرﻮ ﺳﺎﻣ
نﻮ ﻜﺗ
ﺎﻣﺪ ﻨﻋ
ﺔ ﺻﺎﺧ
ﺔﻧﺮﻣ
ةدﺎﻣ
يأ
وأ
ﺔﻴﻜﻴﺘﺳﻼﺑ
.(
11
Linka zabezpieczaj
ą
ca (szczególnie niezb
ę
dna gdy
ruroci
ą
g t
ł
oczny jest wykonany z plastiku lub
materia
ł
u elastycznego
A
ﺔﻴﺑﺮﻬﻜﻟا
ﺔﺨﻀﻤﻟاو
ﺮﺌﺒﻟا
ﻖﻤﻋ
ﻦﻴﺑ
ﺔﻓﺎﺴﻣ
ﻰﻧدأ
.
A
Minimalna odleg
ł
o
ś
ć
pomi
ę
dzy dnem studni a
pomp
ą
B
ﺦﻀﻟا
ﺔهﻮﻓ
قﻮﻓ
ﻪﻧﺎﻤﺿ
ﻦﻜﻤﻳ
ﻲﻜﻴﻣﺎﻨﻳد
ىﻮﺘﺴﻣ
ﻞﻗأ
.
B
Minimalny poziom lustra dynamicznego nad
kró
ć
cem t
ł
ocznym pompy
C
ﺔهﻮﻓ
ﻦﻴﺑ
ﺔﻓﺎﺴﻤﻟا
عﺎﺠﺗرﻻا
ﺪﺿ
مﺎﻤﺻ
لوأو
ﺔﺨﻀﻤﻠﻟ
ﺦﻀﻟا
.
C
Odleg
ł
o
ś
ć
pomi
ę
dzy kró
ć
cem t
ł
ocznym pompy a
pierwszym zaworem zwrotnym na ruroci
ą
gu
D
عﺎﺠﺗرﻻا
مﺪﻋ
تﺎﻣﺎﻤﺻ
ﻦﻴﺑ
ﺔﻓﺎﺴﻤﻟا
.
D
Odleg
ł
o
ś
ć
pomi
ę
dzy poszczególnymi zaworami
zwrotnymi
E
ءﺎ ﺑﺮﻬﻜﻟا
ﻞ ﺑﺎآ
ﺖ ﻴﺒﺜﺗ
ﺪ ﺋاوز
ﻦﻴ ﺑ
ﺔﻓﺎﺴ ﻤﻟا
ةرﻮ ﺳﺎﻣ
ﻰ ﻠﻋ
رﺪﺤﻨﻴ ﺳ
يﺬ ﻟا
ﺦﻀﻟا
.
E
Odleg
ł
o
ś
ć
pomi
ę
dzy obejmami mocuj
ą
cymi kabel
zasilaj
ą
cy silnika do ruroci
ą
gu t
ł
ocznego
1 Merül
ő
elektromos szivattyú
1
Погружной
электронасос
2
Szint szondák a száraz járat elleni védelemhez
2
Датчики
уровня
для
защиты
от
сухого
хода
3 Visszacsapószelep
3
Обратный
клапан
4
A leereszked
ő
elektromos vezetéket a
szállítócs
ő
re rögzít
ő
pánt
4
Хомут
,
крепящий
электрокабель
к
напорному
трубопроводу
5 Szállító
cs
ő
vezeték
5
Напорный
патрубок
6 Leereszked
ő
elektromos vezeték
6
Электрический
кабель
7 Vezérl
ő
kapcsolótábla
7
Шкаф
управления
8 Légtelenít
ő
dugó/ szivattyú indítás
8
Воздушник
/
пробка
заполнения
насоса
9 Manométer
9
Манометр
10 Zárószelep
10
Запорный
клапан
11
Biztonsági kötél (különösen amikor a szállítócs
ő
m
ű
anyag, vagy rugalmas anyagból készül)
11
Защитный
кабель
(
необходим
в
случае
,
когда
напорный
трубопровод
выполнен
из
пластика
или
гибкого
материала
)
A
A kút alja és az elektromos szivattyú közötti
minimális távolság
A
Минимальное
расстояние
от
дна
скважины
до
электрического
насоса
B
Minimális biztosítandó dinamikus szint a szivattyú
szállítónyílása fölött
B
Минимальный
динамический
уровень
над
выходным
патрубком
насоса
C
A szivattyú szállítónyílása és az els
ő
visszacsapószelep közötti távolság
C
Расстояние
между
выходным
патрубком
насоса
и
первым
обратным
клапаном
D
Távolság a további visszacsapószelepek között
D
Расстояние
между
последовательно
установленными
обратными
клапанами
E
A leereszked
ő
elektromos vezetéket a
szállítócs
ő
re rögzít
ő
pántok közötti távolság
E
Расстояние
между
хомутами
,
крепящими
электрокабель
к
напорному
трубопроводу
1 Elektrikli
dalg
ı
ç pompa
2 Kuru
çal
ı
ş
maya kar
ş
ı
koruyucu seviye problar
ı
3 Geri
dönü
ş
süz valf
4
Elektrik ini
ş
kablosunu basma borusuna sabitleme
tutucusu
5 Basma
borusu
6 Elektrik
ini
ş
kablosu
7
Elektrik kumanda panosu
8 Pompa
bo
ş
altma/havas
ı
zland
ı
rma tapas
ı
9 Manometre
10 Açma-kapama
valfi
11
Emniyet halat
ı
(özellikle basma borusu plastik ya da
esnek malzemeden yap
ı
lm
ı
ş
oldu
ğ
unda)
A
Kuyunun dibi ile elektrikli pompa aras
ı
ndaki
minimum mesafe
it - en - fr - de - es - pt - el - nl - da - no - sv - fi - ar - pl - hu – ru - tr
115
B
Pompan
ı
n basma a
ğ
z
ı
n
ı
n üstündeki minimum
dinamik seviye
C
Pompan
ı
n basma a
ğ
z
ı
ile birinci geri dönü
ş
ssüz valf
aras
ı
ndaki mesafe
D
Müteakip geri dönü
ş
süz valfler aras
ı
ndaki mesafeler
E
Elektrik ini
ş
kablosunu basma borusuna sabitleme
tutucular
ı
aras
ı
ndaki mesafe
it - en - fr - de - es - pt - el - nl - da - no - sv - fi - ar - pl - hu – ru - tr
116
10.5
Tabella coppie di serraggio (accoppiamento flangia motore con supporto inferiore pompa)
-
Driving torque
table (motor flange coupling with pump lower support)
-
Tableau des couples de serrage (accouplement
bride moteur et support inférieur de la pompe) - Tabelle der Anzugsmomente (Ankuppeln des Motorflansches
mit der unteren Pumpenhalterung) - Tabla de pares de apriete (acoplamiento brida motor con adaptator) -
Tabela dos binários de aperto (acoplamento flange motor com suporte inferior bomba) -
Πίνακας
ροπών
σύσφιξης
(
σύζευξη
φλάντζας
κινητήρα
με
κάτω
φορέα
αντλίας
) - Tabel aanhaalkopppels (verbinding
motorflens met onderste pompsteun) - Tabel over tilspændingsmomenter (sammenkobling mellem motorens
flange og pumpens nederste støtte) - Tabell over strammemoment (koplingsflens for motor med pumpens
nederste støtte) - Tabell över åtdragningsmoment (motorflänsens anslutning med pumpens nedre stöd) -
Vääntömomenttitaulukko (moottorin laipan kytkentä pumpun alakannattimeen) -
Таблица
значений
крутящих
моментов
(
соединение
фланца
двигателя
с
нижней
опорой
насоса
) – Tabela momentu
dokr
ę
cania (po
łą
czenie ko
ł
nierza silnika z dolnym wspornikiem pompy) – Rögzítési nyomaték táblázat (a
motor karima szivattyú alsó tartóegységével történ
ő
összekapcsolása) -
كﺮﺤﻤﻟا
مﺰﻋ
لوﺪﺟ
)
ﺔﻣﺎﻋﺪﻟا
ﻊﻣ
كﺮﺤﻤﻟا
ﺔﻣﺎﻋد
ﻞﻴﺻﻮﺗ
ﺔﺨﻀﻤﻠﻟ
ﺔﻴﻠﻔﺴﻟا
(
- Tabela momentu dokr
ę
cania (po
łą
czenie ko
ł
nierza silnika z dolnym wspornikiem pompy) –
Rögzítési nyomaték táblázat (a motor karima szivattyú alsó tartóegységével történ
ő
összekapcsolása) -
Таблица
значений
крутящих
моментов
(
соединение
фланца
двигателя
с
нижней
опорой
насоса
) -
S
ı
kma torklar
ı
tablosu (motor flan
ş
ı
n
ı
n alt pompa mesnedi ile ba
ğ
lanmas
ı
)
Φ Nm CH B 4" 6" 8" M 8 15 65 M 12 M16 100 13 19 24 A
6ZWE_M0006_A_sc
A Grandezza
motore
A Motor
size
B
Tirante / vite motore
B Motor
Φ
Diametro
Φ
Diameter
Nm Coppia
di
serraggio
Nm Driving
torque
A Taille
moteur
A Motorgröße
B
Tringles / vis moteur
B
Motor-Zugstange / -schraube
Φ
Diamètre
Φ
Durchmesser
Nm Couple de serrage
Nm Anzugsmoment
A Tamaño
motor
A Grandeza
motor
B
Tirante / tornillo motor
B
Tirante / parafuso motor
Φ
Diámetro
Φ
Diâmetro
Nm Par de apriete
Nm Binário de aperto
A
Μέγεθος
κινητήρα
A Motorgrootte
B
Συνδετική
ράβδος
/
βίδα
κινητήρα
B
Trekstang / motorschroef
Φ
Διάμετρος
Φ
Diameter
Nm
Ροπή
σύσφιξης
Nm Aanhaalkoppel
A
Motorens størrelse
A
Motorstørrelse
B
Trækstang/skrue til motor
B
Motorstag/-skrue
Φ
Diameter
Φ
Diameter
Nm
Tilspændingsmoment
Nm
Strammemoment
A
Motorstorlek
A
Moottorin koko
B
Dragstag/skruv för motor
B
Moottorin vetotanko / ruuvi
Φ
Diameter
Φ
Halkaisija
Nm
Åtdragningsmoment
Nm
Vääntömomentti
A
كﺮﺤﻤﻟا
دﺎﻌﺑأ
A
Wielko
ść
silnika
B
كﺮﺤﻤﻠﻟ
ﻲﺒﻟﻮﻠﻟا
رﺎﻤﺴﻤﻟا
/
ﺔﻣﺎﻋﺪﻟا
B
Dr
ąż
ek kierowniczy /
ś
ruba silnika
Φ
ﺮﻄﻘﻟا
Φ
Ś
rednica
Nm
كﺮﺤﻤﻟا
مﺰﻋ
Nm
Moment dokr
ę
cania
A
Motor nagyság
A
Величина
двигателя
B
Kereszttartó / motor csavar
B
Тяга
/
винт
двигателя
Φ
Átmér
ő
Φ
Диаметр
Nm
Rögzítési nyomaték
Nm
Крутящий
момент
it - en - fr - de - es - pt - el - nl - da - no - sv - fi - ar - pl - hu – ru - tr
117
A Motor
boyutu
B
Motor gergisi / c
ı
vatas
ı
Φ
Çap
Nm S
ı
kma torku
118
119

