Ridgid SLIDING LADDER RACK 250: Bruksanvisning
Bruksanvisning: Ridgid SLIDING LADDER RACK 250
Tools For The Professional
TM
SKJUTBAR STEGHÅLLARE
Ridge Tool Company
31
SE
Bruksanvisning
SKJUTBAR STEGHÅLLARE
MODELL 250
www.ridgid.eu/jobsitestorage
VERKTYG SOM KRÄVS
• Elektrisk borrmaskin
• 5/16” sexkantindrivningsbit
• Phillips-skruvmejsel
• linjal
• 7/16” skruvnyckel
• 7/16” djupbrunnshylsa
• spärrnyckel
• litiumfett
INGÅENDE DELAR
Läs och följ alla anvisningar och varningar innan du monterar eller använder denna produkt för att minska risken för allvarliga
personskador.
RIDGID rekommenderar att den skjutbara steghållaren, modell 250, endast installeras i service- eller transportbilar försedda
med mellanvägg. En mellanvägg som delar av mellan last- och förar-/passagerarutrymme minskar risken för att material
glider framåt och orsakar personskador om en olycka sker.
VARNING!
- OBSERVERA -
OBS! Denna produkt är endast avsedd för användning inuti en skåpbil,
övertäckt släpvagn eller lastbil med metallkåpa.
(1) Linstyrning
(24)1/4” planbricka
(1) Främre vagga
(2) Anslutningsfäste
(4) Stagkanalmutter
(1) Maskinskruv med runt
huvud, 1/4 x 20 x 7/8
(1) Invändig sidospärr
(3) Monteringsfäste
(2) Stopplatta
(2) Elastisk lina
(1) Utvändig sidospärr
(1) Vinylkåpa
(1) 1-1/4 YD bricka
(4) Låsbricka
(1) Fast spärr
(8) 1/4 x 14
självborrande skruv
(4) Bult med sexkantigt
huvud,1/4 x 20 x 1
(1) Justerbart fäste
(17) Vagnsbult,
1/4 x 20 x 3/4
(1) Bakre
monteringsfäste
(20) Låsmutter i nylon,
1/4 x 20
(1) Fast montering
(1) Säkerhetskabel
mont.
(2) Bärbult,
1/4 x 20 x 1-1/2
(1) Justerbar arm
(3) Skena
07_sliding_SW.indd 31
27/04/2009 11:36:32
Tools For The Professional
TM
SKJUTBAR STEGHÅLLARE
Ridge Tool Company
32
För att minska risken för allvarliga personskador på grund av att stegen faller ned eller blir en projektil vid hård inbromsning
eller en olycka:
• Läs och följ alla anvisningar och varningar innan du monterar eller använder produkten.
• Den skjutbara hållaren ska endast användas för att transportera stegar. Ändra inte hållaren och använd den aldrig för
något annat ändamål.
• Hållaren måste monteras enligt anvisningarna.
• Montera endast steghållaren i en skåpbil, övertäckt släpvagn eller en lastbils metallkåpa.
• Stegens vikt får inte överstiga 36 kg.
• Följ verktygstillverkarens varningar och anvisningar vid användning av elverktyg.
• Skydda ögonen. Bär skyddsglasögon.
• Montera aldrig steghållarsystemet i passagerarutrymmen.
• Kontrollera att det inte finns några elledningar där hålen ska borras. Kontrollera ledningsdragningen i fordonets verkstads-
handbok.
MONTERINGSANVISNINGAR
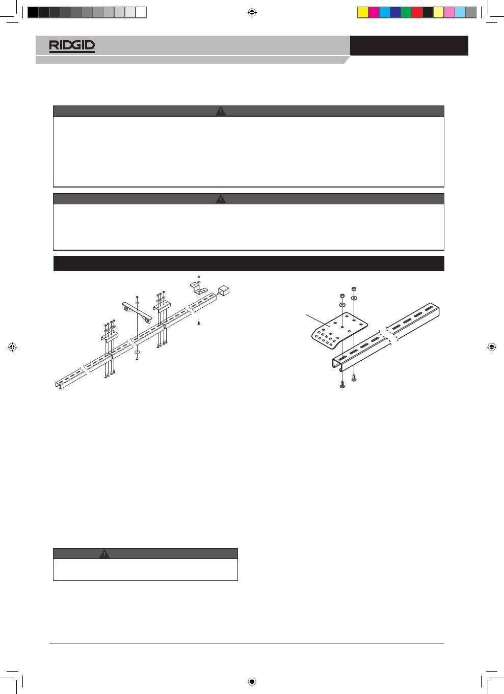
Steg 1: MONTERA SKENENHETEN
Använd anslutningsfästena (2) och sätt ihop skensektioner-
na (3) med åtta 1/4-20 x 3/4” vagnsbultar, 1/4” planbrickor
och 1/4-20 nylonlåsmuttrar.
OBS!
Monteringsanvisningarna nedan är skrivna för monte-
ring av produkten i takbalkarna i en skåpbil eller ett lastbil-
stak. Hållaren kan monteras på en sidovägg i en släpvagn
om så önskas. Följ i så fall samma anvisningar nedan.
OBS!
Beroende på fordonets storlek och typ måste kanske
skenenheten kapas på längden för att den ska kunna
monteras riktigt. Mät längden inuti skåpbilen och kapa den
ihopmonterade skenan till rätt längd.
Bestäm var i fordonet skenan ska monteras (i mitten, vid
sidan). Mät de första tre balkarna bakifrån i skåpbilen. Börja
från insidan på den bakre dörrkarmen och mät framåt.
Notera måtten.
• Skenenheten måste fästas i alla tre takbalkarna för att
den ska vara riktigt monterad.
Montera det bakre monteringsfästet baktill på skenenheten
(i motsatt ände mot den kapade änden) med två
1/4-20 x 3/4” vagnsbultar, 1/4” planbrickor och 1/4-20 nylon-
låsmuttrar. Se figur 1a.
Märk ut de noterade balkmåtten på skenan, mätt från det
bakre monteringsfästet. Sätt fast ett monteringsfäste vid
varje markering med en 1/4-20 x 3/4” vagnsbult, 1/4” plan-
bricka och 1/4-20 nylonlåsmutter. Dra inte åt hårdare än att
du kan justera fästena för hand.
Placera skenenheten på rätt plats i fordonet. Kontrollera om
det bakre monteringsfästet behöver ändras. Om så behövs
kan det förskjutas i förhållande till skenan. En del kan också
behöva tas bort och flänsens vinkel kan behöva ändras för
att passa mot dörrkarmen. Justera vid behov monterings-
fästenas placering på skenan så att de kan fästas i takbal-
karna.
Ta ned skenan från takbalkarna igen och dra åt monterings-
fästena ordentligt.
Sätt tillbaka skenan på plats och sätt fast den i takbalkarna
och den bakre dörrkarmen med två 1/4-14 x 3/4” självbor-
rande skruvar och 1/4” planbrickor per fäste.
Sätt fast linstyrningen ungefär 75 cm från skenans bak-
ände med en 1/4-20 x 7/8” maskinskruv med runt huvud,
1-1/4” YD-bricka, 1/4” planbricka och 1/4-20 nylonlåsmutter.
Justera vid behov måttet 75 cm om det finns några hinder i
vägen.
Figur 1
Figur 1a
Bakre
monteringsfäste
VARNING!
VARNING!
VAR FÖRSIKTIG!
07_sliding_SW.indd 32
27/04/2009 11:36:32
Tools For The Professional
TM
SKJUTBAR STEGHÅLLARE
Ridge Tool Company
33
Figur 2
Steg 2: MONTERA FAST FÄSTE
Mät från stegens nedre ände till den nedersta stegpinnen.
Mät ut samma mått från skenans bakkant och markera det
på skenan. Detta är det fasta fästets ungefärliga placering.
Montera det fasta fästet med spåren mot fordonets framän-
de. Använd fästelement enligt figur 2 och dra inte åt hårdare
än att placeringen kan justeras.
Steg 3: MONTERA SKJUTBART FÄSTE
Sätt in det skjutbara fästet i skenenheten med den spårade
delen mot fordonets bakände. Montera vinylkåpan över
skenans kapade ände.
Steg 4: MONTERA DEN FRÄMRE VAGGAN
OBS!
Fortsätt till steg 10 för montering av sidospärren om
steghållaren ska monteras på en släpvagns sidovägg.
Sätt fast den främre vaggan på förlängningsarmen med två
1/4-20 x 7/8” vagnsbultar, 1/4” planbrickor och 1/4-20 ny-
lonlåsmuttrar. Sätt fast den på det skjutbara fästet. Justera
vaggans djup så att den passar stegens höjd. Fäst den med
en 1/4-20 x 1-1/2” vagnsbult, 1/4” planbricka och 1/4-20
nylonlåsmutter. Dra åt vagnsbulten helt (figur 3).
Dra inte åt fästelementen för hårt.
Steg 5: FAST SPÄRR
Använd en 1/4-20 x 1-1/2” vagnsbult, 1/4” planbricka och
1/4-20 nylonlåsmutter och sätt fast den fasta spärren och
säkerhetsvajern i det fasta fästet. Justera djupet så att det
passar stegens nedre stegpinne. Dra åt vagnsbulten helt
(figur 4).
Steg 6: JUSTERA FÄSTENAS PLACERING
Placera stegen på den främre vaggan och skjut den framåt
till förvaringsläget. Placera stegens nedre stegpinne på den
fasta spärren. Detta blir den fasta spärrens slutliga läge. Ta
försiktigt bort stegen så att den fasta spärren inte flyttas och
fäst slutligen den fasta spärren på dess plats.
Steg 7: MONTERA DEN ELASTISKA LINAN
• För in linorna genom hålen i det justerbara fästet. Se till att
dragringen är vid enhetens bakre ände. Skjut sedan linorna
genom linstyrningens hål och slutligen genom hålen i det
fasta fästet.
• Säkerhetsvajern måste fästas enligt anvisningarna
för att stegen ska sitta ordentligt fast i hållaren och
fordonet.
• Dra inte åt fästelementen för hårt.
• Den fasta spärrenheten är ännu inte helt fastsatt. Om
en stege sätts på plats kan den falla.
• Låt inte någon stå direkt under eller vid sidan av stegen
under detta monteringssteg, förutom som hjälp vid
monteringen.
• Elastiska linor kan slå tillbaka och träffa ögonen. Sträck
dem inte för mycket. Akta kropp och ansikte.
• Placera stegen på hållaren och skjut den framåt medan
du håller i linan. När stegen är i inskjutet läge drar du hårt
i linan och skjuter in den i hållarspåret på det fasta fästets
baksida (se figur 5).
VAR FÖRSIKTIG!
VARNING!
VAR FÖRSIKTIG!
VARNING!
Fast fäste
1/4” planbricka
Låsbricka
1/4-20 x 1 Bult
med sexkantigt huvud
Stagka-
nalsmutter
Justerbart
fäste
Justerbar arm
Främre vagga
Figur 3
Figur 4
Fast spärr
Figur 5
Säkerhetsvajer
07_sliding_SW.indd 33
27/04/2009 11:36:33
Tools For The Professional
TM
SKJUTBAR STEGHÅLLARE
Ridge Tool Company
34
Elastiska linor kan slå tillbaka och träffa ögonen. Sträck dem inte för mycket. Akta kropp och ansikte.
Den främre stopplattan måste monteras för att förhindra att den skjutbara spärren lossnar vid en kraftig inbromsning eller en
olycka.
Innan stegen lastas upp på hållaren:
1. RIDGID rekommenderar att den skjutbara steghållaren, modell 250, endast installeras i service- eller transportbilar
försedda med mellanvägg. En mellanvägg som delar av mellan last- och förar-/passagerarutrymme minskar risken för att
material glider framåt och orsakar personskador om en olycka sker.
2. Den skjutbara steghållaren är avsedd att lastas från bakänden av en lastvagn eller lastbil med metallkåpa.
3. Se till att de elastiska linorna och stoppfästet är rätt monterade och placerade innan du lastar en stege. Se steg 7 och 8 i
monteringsanvisningen på sidorna 3 och 4.
Om en stege med annan längd ska lastas måste stoppfästet och de elastiska linorna justeras för att stegen inte ska falla
ned från hållaren.
4. Kontrollera steghållarens delar innan den används. Om någon del är trasig, böjd eller skadad på något sätt ska du inte
använda hållaren. Se avsnittet Underhåll beträffande reservdelar.
ANVÄNDNINGSANVISNINGAR
Figur 6
VARNING!
De elastiska linorna måste justeras till rätt längd. Om linornas spänning inte justeras enligt stegens längd kan stegen falla.
Steg 8: MONTERA FRÄMRE OCH BAKRE STOPPAR
Rekommenderad placering för det främre stoppet är ungefär 2,5 cm framför det glidande fästet i förvaringsläget. Stoppets
placering ska bara tillåta att stegen skjuts fram så mycket att den nedersta stegpinnen kan placeras på den justerbara spärren
och att stegen kan tas bort.
Steg 9: SMÖRJA SKENAN
Stryk på en riklig mängd litiumfett på insidan av skenan så
att den skjutbara främre vaggan kan glida mjukt.
Alternativ montering
Steg 10: ANVISNINGAR FÖR SIDOMONTERING
(ENBART) Montera sidospärrfästen på det justerbara fästet
med två 1/4-20 x 7/8” vagnsbultar, 1/4” planbrickor och 1/4-
20 nylonlåsmuttrar enligt figur 6.
Montera skenenheten på sidan i en inbyggd släpvagn.
• Inspektera steghållaren före varje användning. Använd inte hållaren om den är skadad eller sliten på något sätt.
• Placera inte en kortare stege i en hållare som är inställd för en längre stege. Justera alltid stopplattan och de elastiska
linorna efter längden på den stege som används.
• Felaktig på- eller avlastning av steghållaren kan göra att stegen faller och orsakar allvarliga personskador eller skador på
egendom.
• Använd aldrig hållaren om någon person sitter nedanför eller i närheten av hållaren och stegen.
• Var försiktig när du lastar upp stegen på hållaren om du står på hal eller isig mark.
• Lasta inte på eller av stegen medan fordonet rör sig.
• Se till att linan är tillräckligt spänd för att kunna hålla stegen på plats. Knyt en dubbelknut i änden på linan och sätt in linorna
i spåren i det fasta fästet. Tryck in överflödig lina baktill i det fasta fästet (se figur 5).
VARNING!
VARNING!
Det bakre stoppet ska placeras tillräckligt långt fram för att begränsa det skjutbara fästets förflyttning så att du enkelt kan dra
bort stegen från den främre vaggan utan att den slår i den fasta spärren.
VARNING!
07_sliding_SW.indd 34
27/04/2009 11:36:33
Tools For The Professional
TM
SKJUTBAR STEGHÅLLARE
Ridge Tool Company
35
• Fäst alltid säkerhetsvajern runt en stegpinne. Säkerhetsvajern minskar risken för att stegen lossnar om en olycka sker.
• Inspektera stegen före varje användning. Stegen kan skadas av stötar från gropig väg eller fordonets vibrationer. Stud-
sande och rörelser i sidled kan göra att stegen slits och försvagas. Om en skadad stege används kan den kollapsa och
resultera i allvarliga skador eller dödsfall.
• Håll händerna borta från det område där stegen hakar i hållaren.
Lasta upp stegen på hållaren:
1. Se till att stegen är ren och torr.
2. Öppna bilens bakdörrar eller lucka så att du kommer åt
hållaren.
3. Dra i de elastiska linorna så att den skjutbara spärren
dras bakåt.
4. Placera stegen med stegsidan nedåt (den sida du inte
kliver på riktad uppåt).
5. Lyft stegens övre ände och placera den i den främre vag-
gan. Se figur 7.
6. Flytta dig till stegens nederände, lyft och skjut den framåt
så att det skjutbara fästet flyttas framåt och de elastiska
linorna spänns. Stanna om de elastiska linorna trasslar in
sig i stegen. Rätta till linorna och fortsätt.
7. Håll stadigt i stegen med båda händerna, skjut och lyft så
att nederkanten av den nedersta stegpinnen är i jämnhöjd
Lasta av stegen från hållaren:
1. För att lasta av stegen från hållaren utför du lastningspro-
cessen i omvänd ordning och följer nedanstående steg.
2. Se till att du står stadigt och att du har gott om utrymme
bakom fordonet för att kunna gå ut med stegen.
3. Kontrollera att stegen inte har rört sig i hållaren och att
den fortfarande sitter fast ordentligt i den fasta spärren.
4. Ta bort säkerhetsvajern från stegpinnen.
Figur 7
Figur 8
med den fasta spärrens kant. Minska trycket framåt och
låt de elastiska linorna skjuta stegen bakåt mot den fasta
spärren.
OBS!
Ytan på den fasta spärren är utformad så att den
hakar i många olika typer av stegpinnar. Om stegpin-
nen på din stege inte hakar i spärren ordentligt kan
du försöka placera stegpinnen på ett annat sätt. Se
monteringsanvisningarna i steg 4 på sidan 3 om du
behöver justera den fasta spärrens läge.
8. Se till att stegen sitter ordentligt fast mot den fasta spär-
ren.
9. Lägg säkerhetsvajern runt den nedre stegpinnen och
haka fast vajern i sig själv enligt figur 8. Fäst alltid säker-
hetsvajern runt en stegpinne. De andra delarna av stegen
är kanske inte tillräckligt starka för att hålla fast stegen om
en olycka sker.
5. Skjut stegen framåt och sedan nedåt för att lossa
stegpinnen från den fasta spärren. Var beredd på att de
elastiska linorna skjuter stegen bakåt.
6. Gå bakåt från fordonet tills stegens övre ände är nära
den fasta spärren.
7. Om stegen är lång eller tung sätter du ned nederänden
på marken och går bredvid stegen till en plats där du kan
lyfta bort den övre änden från den främre vaggan.
• Kör inte fordonet om inte säkerhetsvajern sitter på plats. Säkerhetsvajern minskar risken för att stegen faller eller blir en
projektil om en olycka sker.
• Låt aldrig personer sitta nedanför eller nära stegen medan fordonet är i rörelse.
• Om fordonet har varit inblandat i en olycka eller har bromsats in kraftigt ska du stanna omedelbart och kontrollera att ste-
gen inte har flyttat sig från sitt läge i hållaren.
• Körning i ojämn terräng eller ett kraftigt gupp kan göra att stegen faller. Ytterligare fastsättning av stegen kan krävas för att
den ska sitta på plats.
VARNING!
VARNING!
07_sliding_SW.indd 35
27/04/2009 11:36:33
Tools For The Professional
TM
SKJUTBAR STEGHÅLLARE
Ridge Tool Company
36
Undersök regelbundet steghållaren beträffande slitage, skador eller lösa delar. Reparera eller byt ut vid behov.
Stryk på en riklig mängd litiumfett på insidan av skenan så att den skjutbara främre vaggan kan glida mjukt.
Kontrollera att de elastiska linorna inte är skadade eller slitna. Om textilöverdraget är fransigt kan linan gå av utan förvarning.
Byt ut linorna innan du använder hållaren.
Kontrollera att säkerhetsvajern inte är skadad eller av. Leta efter trasiga delar. Byt i så fall ut vajern innan du använder hållaren.
ALLMÄNT UNDERHÅLL
• För att minska risken för personskador:
• Använd inte steghållaren om den saknar delar eller är skadad.
• Kontrollera om de elastiska linorna är slitna. Om textilöverdraget är fransigt kan linan gå av utan förvarning.
Använd inte hållaren.
• Se till att skenan är infettad.
Eventuell modifiering eller felaktig användning av den här produkten innebär att samtliga garantier från tillverkaren upphör
omedelbart. Tillverkaren avsäger sig allt ansvar för personskador eller skador på egendom som orsakats av modifieringar
eller felaktig användning av produkten.
BEGRÄNSAD GARANTI
Den här BEGRÄNSADE GARANTIN utfärdas av RIDGID on-site storage equipment, 420 E. Terra. Cotta Ave., Crystal Lake, Illinois,
USA, till den ursprungliga köparen av RIDGID
(r)
-produkten.
RIDGID on-site storage equipment GARANTERAR ATT RIDGID-PRODUKTERNA ÄR FRIA FRÅN MATERIALFEL OCH
TILLVERKNINGSFEL UNDER TRE (3) ÅR FRÅN DET DATUM DÅ DEN URSPRUNGLIGA KÖPAREN INHANDLADE PRODUKTEN.
GARANTIN GÄLLER SPECIFIKT FÖR DENNA FÖRVARINGSUTRUSTNING. GARANTIER FÖR ANDRA RIDGID-PRODUKTER KAN
VARA ANNORLUNDA.
Om köparen upptäcker att RIDGID-produkten inte uppfyller garantivillkoren och garantitiden inte har gått ut, ska köparen kontakta
RIDGID on-site storage equipment så att produkten kan inspekteras. Om RIDGID fastställer att det finns ett fel ska RIDGID, enligt eget
gottfinnande och på egen bekostnad, reparera eller byta ut defekta delar. Alla garantireparationer ska göras av en behörig RIDGID-
återförsäljare eller av ett serviceföretag som har godkänts av RIDGID.
Den här garantin gäller inte om RIDGID-produkten har utsatts för felaktig användning, onormal hantering eller felaktigt underhåll, och
inte heller om produkten har ändrats av någon annan än en RIDGID-återförsäljare eller ett serviceföretag som har godkänts av RIDGID
eller om produkten har använts för olämpliga arbetsuppgifter.
OVANSTÅENDE GARANTI ÄR DEN ENDA GARANTI SOM GES I SAMBAND MED INKÖPET. TILLVERKAREN FRISKRIVER SIG
HÄRMED FRÅN ALLA ANDRA GARANTIER, BÅDE UTTRYCKLIGA OCH UNDERFÖRSTÅDDA, INKLUSIVE, MEN INTE BEGRÄNSAT
TILL, UNDERFÖRSTÅDDA GARANTIER OM SÄLJBARHET OCH LÄMPLIGHET FÖR ETT VISST SYFTE.
RIDGID on-site storage equipment SKA INTE HÅLLAS ANSVARIGT FÖR NÅGRA INDIREKTA SKADOR ELLER FÖLJDSKADOR
SOM KAN ORSAKAS AV BROTT MOT DEN HÄR GARANTIN, OCH EVENTUELLA ERSÄTTNINGAR SKA INTE ÖVERSTIGA
PRODUKTENS URSPRUNGLIGA INKÖPSPRIS.
Den här garantin ersätter alla andra uttryckliga eller underförstådda garantier. Villkoren i den här garantin får inte ändras av någon part,
deras efterträdare eller nya innehavare. Den här garantin ger dig specifika juridiska rättigheter, och du kan också ha andra rättigheter
som kan variera mellan olika stater.
VARNING!
OBS!
RESERVDELAR
2
1
BETRÄFFANDE RESERVDELAR, SE
www.ridgid.eu/jobsitestorage
PUNKT
ARTIKELNR
BESKRIVNING
1
34213
Säkerhetsvajer
2
34208
Elastisk lina (1 par)
3
34218
Skruvsats (ej på bild)
Ridge Tool Europe, Interleuvenlaan 50, B-3001 Leuven www.ridgid.eu
07_sliding_SW.indd 36
27/04/2009 11:36:33

