Canon XF305: Подготовка
Подготовка: Canon XF305

Подготовка
2
Подготовка источника питания
Подготовка
2
Подго товка
Подготовка источника питания
Питание видеокамеры может осуществляться от аккумулятора или
напрямую от компактного блока питания. Если подключить
компактный блок питания к видеокамере с установленным
аккумулятором, питание видеокамеры будет осуществляться от
электросети.
Перед использованием аккумуляторов их необходимо зарядить.
Приблизительное время зарядки аккумулятора и время съемки/
воспроизведения с полностью заряженным аккумулятором см. в
разделах Время зарядки (0 222) и Время съемки и
воспроизведения (0 222).
Использование аккумулятора
Для питания видеокамеры можно использовать прилагаемый
аккумулятор BP-955 либо дополнительно приобретаемый
аккумулятор BP-975, BP-950G или BP-970G. Аккумуляторы BP-955
и BP-975 совместимы с системой «Intelligent System», т. е.
пользователь может проверять оставшееся время работы от
аккумулятора.
Зарядка аккумулятора
Заряжайте аккумуляторы с помощью прилагаемого компактного
блока питания. Перед зарядкой отсоедините кабель постоянного
тока от компактного блока питания и снимите с аккумулятора
крышку клемм.
1 Если к компактному блоку питания подсоединен кабель
постоянного тока, отсоедините его.
2 Подсоедините кабель питания к компактному блоку питания ().
3 Подключите кабель питания к электрической розетке ().
4 Установите аккумулятор на компактный блок питания ().
Индикатор
• Слегка нажав, сдвиньте аккумулятор в направлении стрелки до
CHARGE
щелчка в фиксаторе.
• Начинает мигать индикатор CHARGE (зарядка), показывая при
этом приблизительную величину заряда аккумулятора. После
завершения зарядки индикатор горит постоянно.
23

2
Подготовка
Подготовка источника питания
0-34%: мигает 1 раз в секунду
35-69%: мигает 2 раза в секунду
70-99%: мигает 3 раза в секунду
5 После завершения зарядки снимите аккумулятор с компактного
блока питания.
6 Отсоедините кабель питания от электрической розетки, затем от
компактного блока питания.
ПРИМЕЧАНИЯ
• Для зарядки аккумулятора отсоедините от компактного блока
питания кабель постоянного тока.
• Прилагаемый аккумулятор BP-955 и дополнительно
приобретаемый аккумулятор BP-975 не совместимы с
видеокамерами Canon предыдущих моделей.
Установка аккумулятора
1 Нажав и удерживая кнопку на переключателе d (питание),
переместите переключатель в положение OFF ().
2 Сдвиньте переключатель BATT. OPEN (открыть отсек
аккумулятора) в направлении стрелки и откройте крышку отсека
аккумулятора ().
3 Полностью вставьте аккумулятор в отсек и аккуратно нажмите до
фиксации со щелчком ().
4 Закройте крышку отсека аккумулятора.
Снятие аккумулятора
1 Нажав и удерживая нажатой кнопку на переключателе d,
переместите его в положение OFF.
2 Сдвиньте переключатель BATT. OPEN в направлении стрелки и
откройте крышку отсека аккумулятора.
3 Нажмите защелку BATT. RELEASE (разблокировка аккумулятора)
в направлении стрелки и извлеките аккумулятор.
4 Закройте крышку отсека аккумулятора.
24

Подготовка источника питания
Подготовка
2
Проверка оставшегося заряда аккумулятора
Если используется прилагаемый аккумулятор BP-955 или
дополнительно приобретаемый аккумулятор BP-975, при
выключенной видеокамере приблизительный оставшийся заряд
аккумулятора можно проверить одним из указанных ниже способов.
Кнопка CHECK
Если видеокамера включена, оставшийся заряд аккумулятора
можно проверить на любом экране съемки/воспроизведения или на
экране состояния [Battery / Hour Meter] (0 202).
0 100%
Нажмитена аккумуляторе кнопку CHECK (проверка). Индикатор
загорается примерно на 3 с и показывает приблизительный
оставшийся заряд аккумулятора.
Индикатор заряда аккумулятора
0-25%
26-50%
51-75%
76-100%
На выключенной видеокамере при установленном аккумуляторе,
совместимом с системой «Intelligent System», нажмите кнопку BATT.
INFO (информация об аккумуляторе) для отображения оставшегося
времени работы от аккумулятора и доступного времени съемки
(длительность индикации – 5 с). В зависимости от срока службы
аккумулятора, сведения об аккумуляторе могут не отображаться.
ВАЖНО
• Подсоединяйте к компактному блоку питания только изделия, явно
рекомендованные для использования с данной видеокамерой.
ПРИМЕЧАНИЯ
• Рекомендуется заряжать аккумулятор при температуре от 10 до
30 ºC. При температуре менее 0 ºC или более 40 ºC зарядка не
начинается.
• В случае неполадки с компактным блоком питания или аккумулятором
индикатор зарядки выключается и зарядка прекращается.
• Правила обращения с аккумулятором см. в разделе Аккумулятор
(0 215).
• Поскольку заряженный аккумулятор постепенно
самопроизвольно разряжается, заряжайте его в день
использования или накануне, чтобы обеспечить полный заряд.
• Рекомендуется подготовить запасные аккумуляторы в расчете на
время съемки, в 2 – 3 раза превышающее планируемое.
• При первом использовании аккумулятора полностью зарядите
его, затем полностью разрядите его в видеокамере. Это
обеспечит правильность индикации оставшегося времени съемки.
25

2
Подготовка
Подготовка источника питания
•
Многократная зарядка и разрядка аккумулятора постепенно
сокращает время работы от аккумулятора.
Если используется
прилагаемый аккумулятор BP-955 или дополнительно
приобретаемый аккумулятор BP-975, оставшееся время работы
от аккумулятора можно проверить на экране состояния [Battery /
Hour Meter] (0 206) или на экране сведений об аккумуляторе
(нажав кнопку BATT INFO. при выключенной видеокамере). После
полной зарядки аккумулятора и его последующей разрядки
точность показаний увеличивается.
Питание от бытовой электросети
При использовании прилагаемого компактного блока питания
CA-930 и кабеля постоянного тока DC-930:
1 Нажав и удерживая кнопку на переключателе d (питание),
переместите переключатель в положение OFF ().
2 Подсоедините кабель постоянного тока к разъему DC IN
видеокамеры ().
3 Подсоедините кабель питания к компактному блоку питания и
подключите его к электрической розетке ().
4 Подсоедините кабель постоянного тока к компактному блоку
питания ().
Разъем DC
IN
ВАЖНО
• Перед подсоединением и отсоединением компактного блока
питания выключайте видеокамеру.
ПРИМЕЧАНИЯ
• Если для питания видеокамеры используется сеть переменного
тока, можно заменять аккумулятор при включенном питании.
При использовании дополнительно приобретаемого компактного
блока питания CA-920 и переходника постоянного тока DC-920:
1 Нажав и удерживая нажатой кнопку на переключателе d,
переместите переключатель в положение OFF ().
26

Подготовка источника питания
Подготовка
2
2 Установите в видеокамеру переходник постоянного тока ().
3 Подсоедините кабель питания к компактному блоку питания и
подключите его к электрической розетке ().
4 Подсоедините переходник постоянного тока к блоку питания ().
5 Закройте крышку отсека аккумулятора.
6 После использования отсоедините переходник постоянного тока.
• Откройте крышку отсека аккумулятора, нажмите фиксатор
BATT. RELEASE влево и извлеките переходник постоянного
тока.
ВАЖНО
• Перед подсоединением и отсоединением компактного блока
питания выключайте видеокамеру.
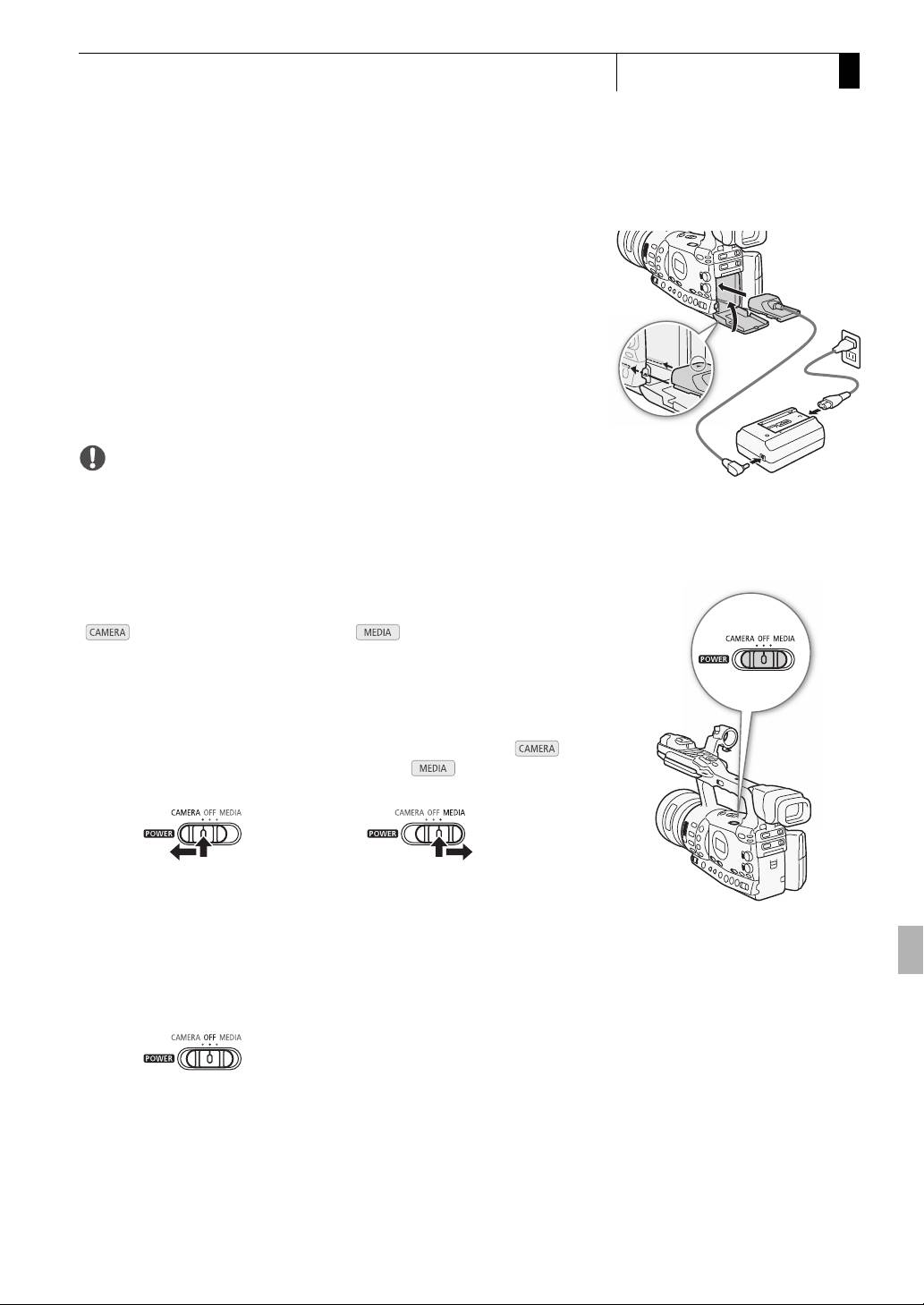
Включение и выключение видеокамеры
В видеокамере предусмотрены два режима работы: режим CAMERA
( ) для съемки и режим MEDIA ( ) для воспроизведения
записей. Режим работы выбирается с помощью переключателя
d.
Включение видеокамеры
Нажав и удерживая кнопку на переключателе d, переместите
переключатель в положение CAMERA для выбора режима
или в положение MEDIA для выбора режима .
Режим CAMERA Режим MEDIA
Выключение видеокамеры
Нажав и удерживая нажатой кнопку на переключателе d,
переместите его в положение OFF.
27

2
Подготовка
Установка даты, времени и языка
Установка даты, времени и я зыка
Установка даты и времени
Перед использованием видеокамеры необходимо установить в ней
дату и время. Если часы видеокамеры не установлены,
автоматически отображается экран [Date/Time] с выбранным полем
года.
Режимы работы:
1 Нажимая джойстик вверх/вниз или поворачивая диск
SELECT (выбор), измените число, затем перейдите (A) в
поле месяца.
2 Аналогичным образом измените значения остальных полей.
3 Выберите (A) [Set], затем нажмите кнопку SET (задать),
чтобы запустить часы и закрыть этот экран.
ПРИМЕЧАНИЯ
• В случае разрядки встроенного литиевого аккумулятора
установки даты и времени могут быть потеряны. В таком случае
зарядите встроенный литиевый аккумулятор (0 217) и снова
установите часовой пояс, дату и время.
• Формат даты и формат времени (12/24 часа) можно изменить с
помощью настройки [J Other Functions] [Clock Set] [Date
Format].
• Дату и время можно также изменить впоследствии (не во время
начальной настройки) с помощью настройки [J Other Functions]
[Clock Set] [Date/Time].
28

Установка даты, времени и языка
Подготовка
2
Изменение часового пояса
[J Other Functions]
Измените часовой пояс в соответствии с часовым поясом, в
котором Вы находитесь. Значение по умолчанию – [UTC+01:00
Paris]. Часовые пояса основаны на универсальном глобальном
[Time Zone]
времени по Гринвичу (UTC).
[UTC+01:00 Paris]
Режимы работы:
1 Нажмите кнопку MENU.
2 Нажимая джойстик вверх/вниз или поворачивая диск
SELECT (выбор), выберите пункт [J Other Functions].
3 Аналогичным образом выберите пункт [Time Zone].
4 Измените часовой пояс, нажимая джойстик вверх/вниз или
поворачивая диск SELECT.
5 Нажмите кнопку SET, чтобы задать часовой пояс, затем
нажмите кнопку MENU, чтобы закрыть меню.
Отображение даты и времени во время съемки
[M LCD/VF Setup]
Дата и время могут отображаться в левом нижнем углу экрана.
Режимы работы:
[Custom Display]
1 Нажмите кнопку MENU.
[Date/Time]
2 Нажимая джойстик вверх/вниз или поворачивая диск
[Date/Time]
SELECT, выберите меню [M LCD/VF Setup].
3 Аналогичным образом выберите пункт [Custom Display],
затем пункт [Date/Time].
4 Выберите отображаемую информацию, нажимая джойстик
вверх/вниз или поворачивая диск SELECT.
• Выберите [Off] для съемки без отображения даты и времени.
5 Нажмите кнопку SET, затем нажмите кнопку MENU, чтобы
закрыть меню.
29

2
Подготовка
Установка даты, времени и языка
Изменение языка
[J Other Functions]
Можно изменить язык, на котором отображаются сообщения на
экране. По умолчанию установлен английский язык, но можно
[Language o]
выбрать немецкий, испанский, французский, итальянский,
польский, русский, упрощенный китайский и японский. Однако
[English]
пункты меню и их значения всегда отображаются на английском
языке, независимо от выбранного языка.
Режимы работы:
1 Нажмите кнопку MENU.
2 Нажимая джойстик вверх/вниз или поворачивая диск
SELECT, выберите пункт [J Other Functions].
3 Аналогичным образом выберите пункт [Language o].
4 Нажимая джойстик вверх/вниз или поворачивая диск
SELECT, выберите язык.
5 Нажмите кнопку SET, чтобы выбрать язык, затем нажмите
кнопку MENU, чтобы закрыть меню.
30

Использование меню
Подготовка
2
Использо вание меню
В режиме многие функции видеокамеры можно настраивать
в меню общих настроек, открывающемся при нажатии кнопки
MENU. В режиме нажмите кнопку MENU, чтобы открыть
меню общих настроек, или кнопку SET, чтобы открыть меню клипов
для операций с клипами. Подробнее доступные пункты меню и их
значения рассматриваются в разделе Параметры меню (0 189).
Режимы работы:
Кнопка CANCEL (отмена)
Джойстик/кнопка SET (задать)
Нажимайте джойстик для перемещения оранжевой
рамки выбора в меню. Затем нажмите сам джойстик
(кнопка SET) или кнопку SET рядом с диском SELECT,
чтобы выбрать пункт меню, выделенный оранжевой
рамкой выбора.
Кнопка MENU (меню)
Нажмите, чтобы открыть меню,
затем нажмите еще раз, чтобы
закрыть меню после настройки
требуемых параметров.
Кнопка CANCEL (отмена)
Диск SELECT (выбор)
Нажмите для возврата к предыдущему
Поворачивайте диск для перемещения
меню или для остановки некоторых
оранжевой рамки выбора вверх или вниз
операций во время их выполнения.
по меню.
Выбор пункта в меню
Ниже приведены пошаговые инструкции по выбору пункта в меню.
В процедурах в остальной части данного Руководства операции
открытия и закрытия меню подразумевается и не включены в
состав процедуры.
1 Нажмите кнопку MENU.
• Открывается меню с оранжевой рамкой выбора на том пункте
меню, который был выбран в прошлый раз в момент закрытия
меню (если видеокамера не выключалась).
2 Нажимая джойстик вверх/вниз или поворачивая диск
SELECT, выберите требуемое подменю.
3 Нажмите джойстик вправо или нажмите кнопку SET.
• Оранжевый прямоугольник выбора отображается на пункте
подменю.
• Для возврата в предыдущее подменю нажмите кнопку CANCEL,
нажмите джойстик влево или выберите [a].
31

2
Подготовка
Использование меню
4 Нажимая джойстик вверх/вниз или поворачивая диск
SELECT, выберите требуемый пункт меню.
• Если подменю содержит много пунктов меню, с правой стороны
подменю отображается полоса прокрутки, указывающая, что
для просмотра других пунктов меню необходимо прокрутить его
вверх или вниз.
•Метка A рядом с пунктом меню указывает на наличие
следующего подменю. Повторите шаги 3 и 4.
5 Нажмите джойстик вправо или нажмите кнопку SET.
• Оранжевая рамка выбора отображается на значении.
• Для возврата в предыдущее подменю нажмите кнопку CANCEL.
6 Нажимая джойстик вверх/вниз или поворачивая диск
SELECT, выберите требуемое значение, затем нажмите
кнопку SET.
• В зависимости от пункта меню, могут потребоваться
дополнительные операции выбора.
7 Нажмите кнопку MENU, чтобы закрыть меню.
ПРИМЕЧАНИЯ
• Недоступные пункты могут отображаться серым цветом.
• В любой момент меню можно закрыть, нажав кнопку MENU.
• При работе с беспроводным пультом ДУ используйте кнопки h,
i, f, g и SET таким же образом, как джойстик видеокамеры.
• Текущие настройки можно проверить на экранах состояния
(0 202).
32

Подготовка видеокамеры
Подготовка
2
Подготовка видеокамеры
В этом разделе рассматриваются основные операции по
подготовке видеокамеры, такие как установка бленды объектива,
установка и снятие наглазника, а также настройка видоискателя и
экрана ЖК-дисплея.
Установка бленды объектива
Установите бленду объектива для защиты объектива и уменьшения
количества рассеянного света, попадающего в объектив.
1 Наденьте бленду на торец объектива таким образом, чтобы
окошко для внешнего датчика мгновенной автофокусировки
было направлено вниз
(), затем поверните бленду на 90° по
часовой стрелке
().
• Будьте осторожны, чтобы не деформировать бленду.
• Убедитесь, что бленда объектива совмещена с резьбой.
2 Затяните стопорный винт ().
Установка и снятие наглазника
Установка наглазника
Установите наглазник, чтобы он закрывал резиновую часть блока
видоискателя.
• Рычагом диоптрийной регулировки можно пользоваться даже при
установленном наглазнике.
• Для работы левым глазом установите наглазник выступающей
частью в противоположную сторону.
33

2
Подготовка
Подготовка видеокамеры
Снятие наглазника
Снимите наглазник, как показано на рисунке.
Диоптрийная регулировка
Включите видеокамеру и произведите настройку рычагом
диоптрийной регулировки.
Установка крышки видоискателя
Если на линзу видоискателя попадает солнечный свет или свет от
других ярких источников, это может привести к повреждению
внутренних компонентов. Когда видоискатель не используется,
обязательно устанавливайте на него крышку видоискателя. Кроме
того, эта крышка защищает видоискатель от царапин и грязи.
Установите крышку видоискателя, вставив ее в резиновую часть
видоискателя.
34

Подготовка видеокамеры
Подготовка
2
Использование ЖК-дисплея
Для удобства можно выдвинуть ЖК-дисплей влево или вправо, в
зависимости от ситуации, возникшей при съемке.
1 Выдвиньте ЖК-дисплей.
• Чтобы выдвинуть ЖК-дисплей влево, нажмите на правую
сторону панели ЖК-дисплея. Чтобы выдвинуть ЖК-дисплей
вправо, нажмите на левую сторону.
2 Выдвигайте ЖК-дисплей, пока он не будет расположен
перпендикулярно рукоятке ().
3 Поворачивая ЖК-дисплей, установите его в требуемое
положение ().
ПРИМЕЧАНИЯ
• По умолчанию при использовании ЖК-дисплея экран
видоискателя выключается. Однако можно также использовать
оба дисплея одновременно. См. следующий раздел.
• Для ЖК-дисплея можно задать черно-белый режим (0 36).
• Если при использовании приобретенной в магазине насадки на
объектив изображение на экране оказывается перевернутым, с
помощью настройки [J Other Functions] [Custom Function]
[Scan Reverse Rec] можно восстановить правильную ориентацию
изображения.
Одновременное использования видоискателя и ЖК-
дисплея
[M LCD/VF Setup]
По умолчанию при использовании ЖК-дисплея экран видоискателя
[LCD/VF Simul.]
выключается. Для их одновременного использования выполните
приведенные ниже операции.
[Off]
Режимы работы:
1 Откройте подменю [LCD/VF Simul.].
[M LCD/VF Setup] [LCD/VF Simul.]
2 Выберите значение [On], затем нажмите кнопку SET.
ПРИМЕЧАНИЯ
• При съемке с ЖК-дисплеем, развернутым в сторону снимаемого
объекта, нажав кнопку MIRROR, можно произвести зеркальное
отражение изображения на экране по вертикали.
35

2
Подготовка
Подготовка видеокамеры
Настройка экрана видоискателя/ЖК-дисплея
[M LCD/VF Setup]
Можно настраивать яркость, контрастность, цвета, резкость и
подсветку видоискателя и ЖК-дисплея независимо друг от друга.
[LCD Setup]
Эти настройки не влияют на записываемое изображение.
[VF Setup]
Режимы работы:
[Brightness: 0]
[Contrast: 0]
1 Откройте меню настройки для видоискателя или экрана ЖК-
[Color: 0]
дисплея.
[Sharpness: 2]
[Backlight: Normal]
[M LCD/VF Setup] [LCD Setup] или [VF Setup]
2 Выберите пункт [Brightness], [Contrast], [Color], [Sharpness]
или [Backlight] и нажмите кнопку SET.
3 Настройте параметр, затем нажмите кнопку SET.
• Для настройки других требуемых параметров повторяйте шаги
2 и 3.
ПРИМЕЧАНИЯ
• Если задать для назначаемой кнопки функцию [LCD Setup]
(0 123), при нажатии этой кнопки открывается подменю [LCD
Setup].
Задание для экрана черно-белого режима
[M LCD/VF Setup]
По умолчанию видоискатель и экран ЖК-дисплея работают в
цветном режиме, но можно переключить их в черно-белый режим.
[LCD/VF B&W]
Даже если на экран выводится черно-белое изображение, текст и
значки на экране все равно отображаются в цвете.
[Off]
Режимы работы:
1 Откройте подменю [LCD/VF B&W].
[M LCD/VF Setup] [LCD/VF B&W]
2 Выберите значение [On], затем нажмите кнопку SET.
ПРИМЕЧАНИЯ
• Для экрана можно также установить черно-белый режим, задав
назначаемую кнопку функции [LCD/VF B&W] (0 123).
36

Подготовка видеокамеры
Подготовка
2
Регулировка ремня ручки
Отрегулируйте ремень ручки таким образом, чтобы
указательный и средний пальцы доставали до качающегося
переключателя зумирования на ручке, а большой палец
доставал до кнопки START/STOP.
ВАЖНО
• Будьте внимательны, чтобы не уронить видеокамеру во время
регулировки ремня ручки.
Закрепление наплечного ремня
Пропустите концы ремня через кронштейны крепления и
отрегулируйте длину ремня.
ВАЖНО
• Будьте внимательны, чтобы не уронить видеокамеру во время
закрепления или регулировки наплечного ремня.
37

2
Подготовка
Подготовка видеокамеры
Снятие и установка крышек разъемов
Снимите крышки для доступа к перечисленным ниже разъемам.
•Разъем HD/SD SDI*
• Разъем HD/SD COMPONENT OUT
• Разъемы GENLOCK и TIME CODE*
•Разъем AV
•Разъем VIDEO 2
• Разъемы USB и HDMI OUT
•Разъемы W (наушники) и REMOTE
* Только b.
Снятие крышек разъемов
1 Откройте крышку разъема и потяните ее наружу.
2 Возьмитесь за полосу, крепящую крышку разъема к видеокамере,
и потяните за нее.
Для крышек разъемов HD/SD SDI, GENLOCK, TIME CODE и
VIDEO 2 выполнять этот шаг не требуется.
Установка крышек разъемов
Для установки крышки разъема вставьте соединяющую полосу в
отверстие.
ПРИМЕЧАНИЯ
• Если за соединяющую полосу трудно взяться пальцами,
используйте пинцет или аналогичный инструмент.
Использование беспроводного пульта
дистанционного управления
Установка элемента питания
Перед использованием беспроводного пульта ДУ вставьте в него
прилагаемый плоский литиевый элемент питания CR2025.
1 Нажмите выступ в направлении стрелки () и извлеките
держатель элемента питания ().
2 Установите литиевый элемент питания стороной «+» наружу ().
3 Установите держатель элемента питания ().
Активизация беспроводного пульта ДУ
[J Other Functions]
Режимы работы:
[Wireless Controller]
1 Откройте подменю [Wireless Controller].
[On]
[J Other Functions] [Wireless Controller]
2 Выберите значение [On], затем нажмите кнопку SET.
38

Подготовка видеокамеры
Подготовка
2
ПРИМЕЧАНИЯ
• Беспроводной пульт ДУ можно также активизировать, задав
функцию [Wireless Controller] для назначаемой клавиши (0 123).
Использование беспроводного пульта ДУ для управления
видеокамерой
При использовании беспроводного пульта ДУ направляйте его на
датчик ДУ видеокамеры. При нажатии кнопок на беспроводном
пульте ДУ загораются индикаторы съемки на видеокамере.
ПРИМЕЧАНИЯ
• При использовании кнопки START/STOP или кнопок ZOOM
беспроводного пульта ДУ одновременно с требуемой кнопкой
необходимо нажимать кнопку разрешения записи.
• Если управление видеокамерой с беспроводного пульта ДУ
невозможно или возможно только с очень близкого расстояния,
замените элемент питания.
• Если датчик дистанционного управления освещается сильным
источником света или на него попадают прямые солнечные лучи,
беспроводной пульт ДУ может не работать.
Использование штатива
Видеокамеру можно устанавливать на штатив, но не следует
использовать штативы с крепежными винтами длиной более 5,5 мм,
так как они могут повредить видеокамеру.
Использование штатива с крепежными винтами 0,95 см
(3/8 дюйма)
Для использования штатива с крепежными винтами 0,95 см
(3/8 дюйма) необходимо сначала установить на видеокамеру
дополнительно приобретаемое основание адаптера штатива TB-1,
затем установить штатив на основание адаптера.
1 Снимите основание штатива с видеокамеры.
• Выверните 4 винта, затем снимите основание.
2 Установите дополнительно приобретаемое основание адаптера
штатива TB-1.
• Надежно заверните 4 винта.
3 Установите штатив.
• Надежно заверните винты штатива.
• Если на штативе предусмотрен как монтажный винт 0,64 см
(1/4 дюйма), так и монтажный винт 0,95 см (3/8 дюйма), надежно
заверните оба винта.
39

2
Подготовка
Подготовка носителя для записи
Подготовка носителя для з аписи
Видеокамера записывает клипы на карты CompactFlash (CF), а
фотографии* – на карты памяти SD и SDHC. Видеокамера
оснащена двумя гнездами для CF-карт. При первом использовании
носителя для записи в данной видеокамере носитель следует
инициализировать (0 43).
* Видеокамера может записывать параметры пользовательского
изображения и параметры камеры на SD-карту. Чтобы вместе с клипом
записать примечание пользователя, с помощью прилагаемого
программного обеспечения Canon XF Utility создайте файл примечания
пользователя и запишите его на SD-карту. Видеокамера может считать
файл и внедрить его в клип.
Совместимые CF-карты
В этой видеокамере можно использовать UDMA-совместимые*
CF-карты типа I емкостью не менее 512 МБайт. Дополнительные
сведения см. на местном веб-сайте Canon.
* Спецификация прямого доступа к памяти UDMA позволяет передавать
данные между CF-картой и устройством с высокой скоростью (измеряемой
в Мбит/с). В зависимости от CF-карты запись может оказаться
невозможной даже при использовании UDMA-совместимой CF-карты.
ПРИМЕЧАНИЯ
• Невозможно гарантировать правильную работу всех CF-карт.
40

Подготовка носителя для записи
Подготовка
2
Установка CF-карты
CF-карту можно установить в гнездо A или гнездо B CF-карт. При
наличии двух CF-карт можно использовать оба гнезда.
1 Сдвиньте переключатель крышки гнезда CF-карты в
направлении символа E ().
• Крышка гнезда CF-карты открывается вверх (гнездо A) или вниз
(гнездо B).
2 Без перекосов вставьте CF-карту в гнездо до упора
этикеткой вверх ().
3 Закройте крышку гнезда CF-карты ().
• Не пытайтесь закрыть крышку силой, если CF-карта
неправильно установлена.
Проверка состояния гнезд CF-карт
Состояние гнезд CF-карт можно быстро проверить, посмотрев на
индикаторы обращения к карте CFj/CFl. См. следующую
таблицу.
Цвет индикатора
Состояние гнезда CF-карты
обращения
Красный Производится обращение к CF-карте.
Запись/чтение возможны, и это гнездо CF-карты выбрано
Зеленый
для записи/воспроизведения.
CF-карта не установлена, гнездо CF-карты не выбрано или
Индикатор не горит
обращение с CF-карте не производится.
41

2
Подготовка
Подготовка носителя для записи
Извлечение CF-карты
1 Дождитесь, пока выключится индикатор обращения к
гнезду, из которого требуется извлечь CF-карту.
2 Сдвиньте переключатель крышки гнезда CF-карты в
направлении символа E ().
• Крышка гнезда CF-карты открывается вверх (гнездо A) или вниз
(гнездо B).
3 Нажмите кнопку извлечения CF-карты ().
• Кнопка извлечения частично выдвигается.
4 Нажмите кнопку извлечения CF-карты, чтобы извлечь CF-
карту ().
5 Потянув за CF-карту, полностью извлеките ее и закройте
крышку гнезда CF-карты.
ВАЖНО
Кнопка
извлечения
• Когда индикатор обращения к карте CFj или CFl горит
CF-карты
красным цветом, соблюдайте следующие меры
предосторожности; в противном случае возможна безвозвратная
потеря данных:
- не отсоединяйте источник питания и не выключайте
видеокамеру;
- не открывайте крышку гнезда CF-карты, к которой
производится обращение.
ПРИМЕЧАНИЯ
• Если для функции [J Other Functions] [Media Access LED]
задано значение [Off], индикаторы обращения не загораются.
42

Подготовка носителя для записи
Подготовка
2
Установка и извлечение SD-карты
1 Выключите видеокамеру ().
2 Откройте крышку гнезда SD-карты.
3 Без перекосов до упора вставьте SD-карту в гнездо SD-
карты этикеткой в сторону ремня ручки до фиксации со
щелчком ().
4 Закройте крышку гнезда SD-карты ().
• Не пытайтесь закрыть крышку силой, если SD-карта
неправильно установлена.
ВАЖНО
• Когда индикатор обращения к SD-карте мигает, соблюдайте
следующие меры предосторожности; в противном случае
возможна безвозвратная потеря данных:
- не отсоединяйте источник питания и не выключайте
Индикатор обращения
к SD-карте
видеокамеру;
- не извлекайте SD-карту.
• Перед установкой или извлечением SD-карты выключайте
видеокамеру. Установка или извлечение SD-карты при
включенной видеокамере может привести к безвозвратной
потере данных.
• Передняя и задняя стороны карт SD не взаимозаменяемы. При
установке карты SD в неправильной ориентации возникнут
неполадки в работе видеокамеры. Обязательно вставляйте карту
SD так, как указано на шаге 3.
ПРИМЕЧАНИЯ
• Для извлечения SD-карты: один раз нажмите на SD-карту,
чтобы освободить ее. Когда пружина вытолкнет SD-карту наружу,
полностью извлеките карту.
• Если для функции [J Other Functions] [Media Access LED]
задано значение [Off], индикаторы обращения не загораются.
Инициализация носителя для записи
[J Other Functions]
Перед первым использованием любого носителя для записи в
данной видеокамере его следует инициализировать.
Инициализацию носителя для записи можно также использовать,
[Initialization]
чтобы безвозвратно удалить все содержащиеся на нем данные.
При инициализации SD-карты можно выбрать быструю
инициализацию, при которой стирается таблица размещения
файлов, но не производится физическое удаление хранящихся
данных, или полную инициализацию, при которой полностью
стираются все данные.
43

2
Подготовка
Подготовка носителя для записи
Режимы работы:
1 Откройте подменю [Initialization].
[J Other Functions] [Initialization]
2 Выберите значение [CF A], [CF B] или [SD card], затем
нажмите кнопку SET.
Инициализация CF-карты
3 Выберите [OK] и нажмите кнопку SET.
4 При появлении запроса подтверждения нажмите кнопку
SET.
• Производится инициализация CF-карты, и все содержащиеся
на ней данные стираются.
Инициализация SD-карты
3 Выберите вариант [Complete] (полная инициализация) или
[Quick] (быстрая инициализация), затем нажмите кнопку SET.
4 Выберите [OK] и нажмите кнопку SET.
• Если выбран вариант инициализации [Complete], выполняемую
операцию можно отменить, дважды нажав кнопку SET. После
этого SD-карту можно использовать, но все данные будут
стерты.
5 При появлении запроса подтверждения нажмите кнопку
SET.
• Производится инициализация SD-карты, и все содержащиеся
на ней данные стираются.
ВАЖНО
• При инициализации носителя для записи безвозвратно стираются
все данные, включая клипы с метками e, защищенные
фотографии и пользовательскую информацию об изображении.
Восстановление утраченных данных невозможно. Обязательно
заранее сохраняйте важные записи.
• В зависимости от карты SD, полная инициализация может
занимать несколько минут.
ПРИМЕЧАНИЯ
• Во время съемки на CF-карту можно инициализировать другую
CF-карту во втором гнезде CF-карты.
44

Подготовка носителя для записи
Подготовка
2
Переключение между гнездами CF-карт
В видеокамере предусмотрено два гнезда CF-карт, CFj (гнездо
CF-карты A) и CFl (гнездо CF-карты B). Если в оба гнезда
установлены CF-карты, по мере необходимости можно
переключаться между ними. Кроме того, если во время съемки
используемая CF-карта полностью заполняется, съемка
беспрепятственно продолжается на другую CF-карту (эстафетная
запись). Эстафетная запись возможна с переключением с CF-карты
в гнезде A на CF-карту в гнезде B и наоборот.
Режимы работы:
Нажмите кнопку SLOT SELECT.
• Индикатор обращения выбранного гнезда CF-карты загорается
зеленым цветом.
ПРИМЕЧАНИЯ
• Если в оба гнезда CF-карт установлены CF-карты и открывается
крышка выбранного гнезда, видеокамера автоматически
переключается на другое гнездо.
• Кнопку SLOT SELECT невозможно использовать для
переключения между гнездами CF-карт во время съемки.
• Если в режиме ускоренной съемки задана скорость потока
данных 50 Мбит/с (0 58), эстафетная запись недоступна.
Выбор способа записи на CF-карты
В видеокамере предусмотрены два удобных способа записи на CF-
карты – эстафетная запись и запись в два гнезда.
Эстафетная запись: этот способ обеспечивает бесперебойное
продолжение записи на другую CF-карту при полном заполнении
текущей используемой CF-карты. Эстафетная запись возможна с
переключением с CF-карты в гнезде A на CF-карту в гнезде B и
наоборот.
Запись в два гнезда: в этом случае один и тот же клип
одновременно записывается на обе CF-карты, что удобно для
создания во время съемки резервной копии записи.
Режимы работы:
45

2
Подготовка
Подготовка носителя для записи
Для использования эстафетной записи
[J Other Functions]
По умолчанию эта функция включена. Если она была отключена,
выполните приведенные ниже действия, чтобы включить ее.
[Relay Rec]
1 Откройте подменю [Relay Rec].
[J Other Functions] [Relay Rec]
[On]
2 Выберите значение [On], затем нажмите кнопку SET.
Для использования записи в два гнезда
[J Other Functions]
1 Откройте подменю [Double Slot Rec].
[J Other Functions] [Double Slot Rec]
[Double Slot Rec]
2 Выберите значение [On], затем нажмите кнопку SET.
[Off]
ПРИМЕЧАНИЯ
• Если в режиме ускоренной съемки задана скорость потока
данных 50 Мбит/с (0 58), эстафетная запись недоступна.
• Если во время съемки с записью в оба гнезда одна из CF-карт
полностью заполняется, останавливается запись на обе карты.
Однако если происходит ошибка на одной из карт, запись на
другую карту продолжается.
• Запись в два гнезда не может использоваться с эстафетной
записью или при замедленной и ускоренной съемке.
Проверка оставшегося времени записи
Когда видеокамера находится в режиме , на экране
отображается используемое гнездо CF-карты и доступное время
записи (в минутах*), оставшееся на каждой из CF-карт. Когда
видеокамера находится в режиме , доступное время записи
отображается на боковой панели.
На экране состояния [Media] (0 204) можно проверить оставшееся
время записи, общий объем и использованный объем каждого
носителя для записи, а также оставшееся количество фотографий.
* Приблизительное оставшееся время записи основано на текущей скорости
потока данных (0 58).
46

Подготовка носителя для записи
Подготовка
2
Восстановление данных на CF-карте
В ситуациях, когда, например, во время записи данных была
выключена видеокамера или извлечена CF-карта, возможно
возникновение ошибок данных на CF-карте. В таком случае можно
попробовать восстановить данные на CF-карте.
Режимы работы:
1 Установите в видеокамеру CF-карту с данными, которые
требуется восстановить.
2 При появлении экрана с предложением восстановить
данные выберите вариант [Yes] и нажмите кнопку SET.
ПРИМЕЧАНИЯ
• При выполнении этой операции стираются клипы длительностью
менее 10 с. Кроме того, с конца записанных на CF-карту клипов
стираются данные длительностью до 10 с.
• В некоторых ситуациях восстановление данных невозможно,
например при повреждении файловой системы FAT32 или при
физическом повреждении CF-карты.
• Во время съемки возможно восстановление данных на CF-карте,
на которую не производится запись.
47

2
Подготовка
Подготовка носителя для записи
48

