ZyXEL Communications ZyXEL Dimension ES-2108-F: 3 Подключение аппаратных средств
3 Подключение аппаратных средств: ZyXEL Communications ZyXEL Dimension ES-2108-F
РУССКИЙ
33
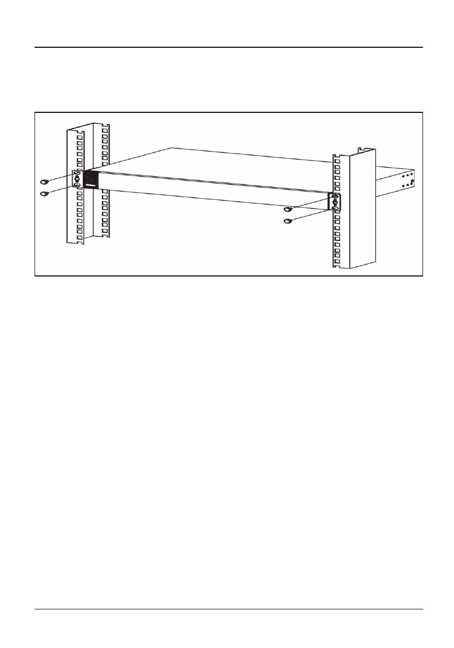
в
кронштейнах
с
соответствующими
отверстиями
в
стойке
.
Закрепите
коммутатор
в
стойке
с
помощью
винтов
для
крепления
в
стойке
.
3 Подключение аппаратных средств
3.1 Порты RJ-45 с автоматическим выбором скорости и распознаванием типа кабеля
Порты
коммутатора
автоматического
выбора
скорости
и
автоматического
распознавания
типа
кабеля
.
В
зависимости
от
модели
,
это
могут
быть
либо
порты
Fast
Ethernet (10/100
Мбит
/
с
),
либо
Gigabit (10/100/1000
Мбит
/
с
).
Порты
с
автоматическим
выбором
скорости
самостоятельно
определяют
скорость
входящего
потока
данных
и
в
зависимости
от
этого
обеспечивают
либо
полудуплексный
режим
(
только
10/100
Мбит
/
с
),
либо
дуплексный
режим
передачи
.
Автоматическое
34
РУССКИЙ
распознавание
типа
кабеля
означает
,
что
коммутатор
можно
подключить
к
компьютеру
или
концентратору
,
используя
как
прямой
,
так
и
перекрестный
кабель
Ethernet.
3.2 Сетевые кабели
Для
подключения
к
портам
RJ-45
можно
использовать
кабели
Ethernet
типа
"
неэкранированная
витая
пара
"
(UTP)
или
"
экранированная
витая
пара
" (STP).
Убедитесь
,
что
длина
кабеля
между
точками
подключения
не
превышает
100
метров
.
В
следующей
таблице
описаны
типы
сетевых
кабелей
,
используемых
при
различных
скоростях
.
Table 1
Типы
сетевых
кабелей
Светодиод
LNK/ACT
мигает
,
когда
идет
обмен
данными
между
коммутатором
и
подключенным
к
нему
устройством
.
Скорость
Тип
сетевого
кабеля
10
Мбит
/
с
100
Ω
2-
парный
кабель
UTP/STP
категории
3,4
или
100
Мбит
/
с
100
Ω
2-
парный
кабель
UTP/STP
категории
5
1000
Мбит
/
с
100
Ω
4-
парный
кабель
UTP/STP
категории
5
РУССКИЙ
35
3.3 Подключение питания
Подсоедините
один
конец
поставляемого
шнура
питания
или
адаптер
питания
к
розетке
питания
коммутатора
,
а
другой
конец
-
к
соответствующему
источнику
питания
.
Светодиод
PWR
должен
гореть
постоянно
,
если
коммутатор
получает
питание
.
3.4 Консольный порт ( Только управляемые коммутаторы )
Если
ваш
коммутатор
имеет
консольный
порт
,
вы
можете
использовать
для
локального
управления
эмулятор
терминала
.
Вставьте
9-
контактный
разъем
консольного
кабеля
в
консольный
порт
коммутатора
.
Подключите
другой
конец
кабеля
к
последовательному
порту
(
COM1
,
COM2
или
к
любому
другому
COM
порту
)
компьютера
.
На
компьютере
должна
быть
установлена
программа
-
эмулятор
терминала
со
следующими
параметрами
:
•
Эмуляция
терминала
VT100
•
Скорость
передачи
9600
бод
•
Без
контроля
четности
, 8
бит
данных
, 1
стоп
-
бит
•
ез
управления
потоком
Оглавление
- 1 Introduction
- 3 Hardware Connections
- 4 Troubleshooting
- 1 Einleitung
- 3 Hardware-Anschlüsse
- 4 Fehlersuche
- 1 Introducción
- 3 Conexiones Hardware
- 4 Solución de problemas
- 1 Introduction
- 3 Connexions Matérielles
- 4 Résolution d'Erreurs
- 1 Introduzione
- 3 Collegamenti Hardware
- 4 Analisi dei guasti
- 1 Введение
- 3 Подключение аппаратных средств
- 4 Устранение неисправностей
- 1
- 3 硬體連接
- 4 問題排除

