Xylem e-NSC: 6 Техническое обслуживание
6 Техническое обслуживание: Xylem e-NSC

ru - Перевод с оригинала
Установки с уровнем жидкости над насосом (напор)
ПРЕДУПРЕЖДЕНИЕ:
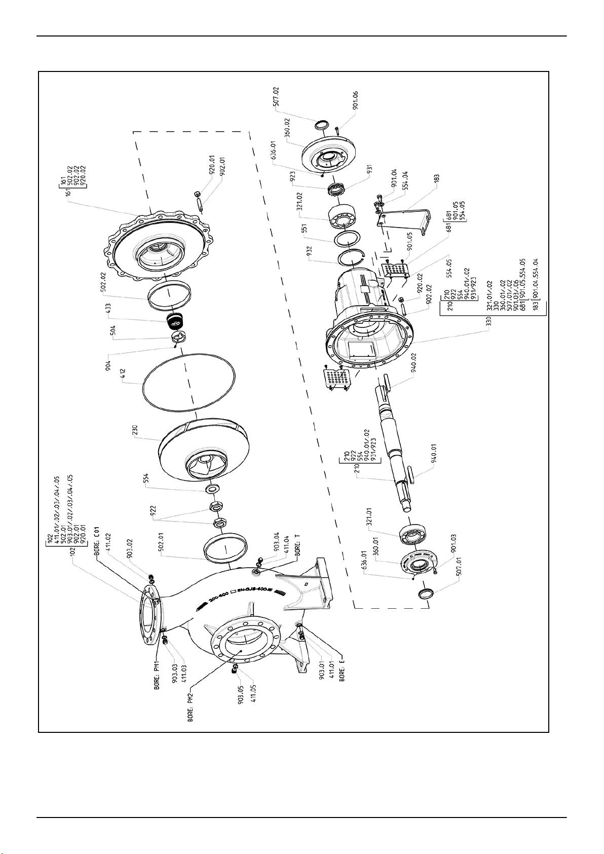
Иллюстрации деталей насоса см. Рис. 26 .
• К техническому обслуживанию и сервисному обслу-
живанию следует допускать только квалифициро-
1. Закройте двухпозиционный клапан после насоса.
ванный опытный персонал.
2. Снимите пробку заливки (3) или контрольную пробку (1) и от-
• Соблюдайте действующие нормы по предотвраще-
кройте двухпозиционный клапан выше по линии, пока вода не
нию несчастных случаев на производстве.
начнет поступать из отверстия.
• Следует использовать подходящее оборудование и
a) Закройте пробку заливки (3) или контрольную пробку (1).
защитные устройства.
• Убедитесь в том, что сливаемая жидкость не может
Установка с уровнем жидкости ниже насоса (высота
вызвать повреждений и травм.
всасывания)
6.1 Техническое обслуживание
Иллюстрации деталей насоса см. Рис. 27 .
Если пользователь желает запланировать сроки регулярного те-
1. Система трубопроводов не заполнена:
хобслуживания, они зависят от типа нагнетаемой жидкости и от ус-
a) Откройте двухпозиционный клапан, расположенный пе-
ловий эксплуатации насоса.
ред насосом, и закройте
Относительно информации о регулярном техобслуживании или
b) Снимите пробку заливки (3) и контрольную пробку (1), с
ремонте обращайтесь в отдел продаж и обслуживания.
помощью лейки залейте через отверстие заливки (3),
чтобы вода начала поступать из отверстия.
Дополнительное техобслуживание может понадобиться для очист-
c) Затяните пробку заливки (3) и контрольную пробку (1).
ки проточной части и/или замены изношенных деталей.
2. Заполненная система трубопроводов на нагнетании:
Типы подшипников
a) Откройте двухпозиционный клапан, расположенный пе-
• Смазочные вещества и замена смазки роликовых подшипни-
ред насосом, и закройте двухпозиционный клапан после
ков
насоса.
• Подшипники с консистентной смазкой
b) Снимите контрольную пробку (1), чтобы вода начала по-
• Подшипники с консистентной смазкой смазываются на
ступать из отверстия.
заводе. Размеры подшипников и тип смазочного мате-
c) Затяните контрольную пробку (1).
риала указаны в таблице 6.
5.2 Проверить направление вращения
Насосы с однократно смазанными подшипниками
(трехфазный двигатель)
Насосы с однократно смазанными подшипниками не подлежат пе-
Следуйте данной процедуре перед запуском.
риодическому обслуживанию.
1. Найдите стрелки на адаптере или крышке вентилятора двига-
Насосы со смазываемыми подшипниками
теля, чтобы определить правильное направление вращения.
• Повторное смазывание выполнять через 4000 часов работы,
2. Включите двигатель.
но не реже, чем раз в год. Сначала очистите смазочные нип-
3. Быстро проверьте направление вращения через кожух муфты
пели (SN).
или крышку вентилятора двигателя.
• Используйте смазочный материал NLGI сорта 2 или аналогич-
ный.
4. Отключите двигатель.
• Соответствующее количество смазочного вещества приведе-
5. Если направление вращения неправильное, выполните сле-
но в таблице 6.
дующие действия:
a) Обесточьте устройство.
6.2 Значения крутящего момента затяжки
b) В клеммной коробке двигателя или в электрической па-
Информация о значениях крутящих моментов и данные насоса
нели управления поменяйте положение двух или трех
приведены в Рис. 28 , данные по опорной плите - в Табл. 29 .
проводов силового кабеля.
Электрические схемы см. в Рис. 24 .
6.3 Контрольный список проверки
c) Снова проверьте направление вращения.
Проверка муфты
Проверить эластичные элемен-
5.3 Пуск насоса
ты муфты. Заменить изношен-
ные детали и проверить соос-
Монтажник или владелец ответственны за проверку правильности
ность муфты.
расхода и температуры перекачиваемой жидкости.
Проверка механического уплот-
Проверить механическое уплот-
Перед запуском насоса убедитесь в том, что:
нения
нение на утечку. Заменить меха-
• насос правильно подключен к электропитанию,
ническое уплотнение в случае
• насос правильно наполнен в соответствии с инструкциями в
утечки.
разделе Заполнение насоса (глава 5).
• двухпозиционный клапан, расположенный после насоса, за-
Проверка уплотнений подшип-
Проверить правильное располо-
крыт.
ника
жение уплотнительных колец на
валу. Кромка уплотнения дол-
1. Включите двигатель.
жна только касаться уплотни-
2. Плавно откройте двухпозиционный клапан на стороне выпус-
тельной поверхности.
ка насоса.
При ожидаемых рабочих условиях насос должен работать
6.4 Разборка и замена частей насоса
ровно и тихо. В противном случае см. Устранение.
Более подробная информация по запасным частям, разборке и
сборке насоса приведена на рис Рис. 1 , Рис. 2 , Рис. 3 или Рис. 4 .
На нашей странице в Интернете можно загрузить инструкцию по
6 Техническое обслуживание
ремонту и сборке.
Меры предосторожности
Опасность поражения электрическим током:
7 Устранение
Перед установкой или техническим обслуживанием на-
соса следует отключить и заблокировать подачу электро-
7.1 Поиск и устранение неисправностей для
питания.
пользователей
Главный выключатель включен, но электрический насос не запу-
скается.
e-NSC Installation, Operation, and Maintenance Manual 57

ru - Перевод с оригинала
Причина Устранение
7.4 Электрический насос запускается, но
Сработала термозащита
Подождите, пока насос остынет.
вскорости после этого срабатывает
встроенная в насос (если
Термозащита будет сброшена ав-
термический предохранитель или перегорают
есть).
томатически.
плавкие предохранители.
Сработало предохранитель-
Проверить уровень воды в баке
ное устройство от сухого хода.
или давление магистрали.
Причина Устранение
Электрический пульт располо-
Защитите электрический пульт от
Электрический насос запускается, но с различным интервалом по-
жен в сильно нагреваемом
источника нагревания и прямых
сле этого срабатывает термическая защита.
участке или на него попадают
солнечных лучей.
прямые солнечные лучи.
Причина Устранение
Напряжение электропитания
Проверьте условия эксплуатации
Присутствуют инородные тела
Обратитесь в отдел продаж и об-
выходит за рабочие пределы
двигателя.
(твердые или волокнистые ма-
служивания.
двигателя.
териалы) внутри насоса, кото-
рые засорили крыльчатку.
Отсутствует фаза питания. Проверьте
• электропитание
Насос перегружен, поскольку
Проверить фактические требова-
• электрическое соединение
он качает более плотную или
ния на основе характеристик ка-
вязкую жидкость.
чаемой насосом жидкости, а за-
тем обратиться в отдел продаж и
7.5 Электрический насос запускается, но
обслуживания.
срабатывает термический предохранитель
через различное время после этого
Насос работает, но подает слишком мало или вообще не жид-
кость.
Причина Устранение
Причина Устранение
Присутствуют инородные
Обратитесь к местному представите-
тела (твердые или вол-
лю компании по продажам и обслужи-
Насос засорен. Обратитесь в отдел продаж и обслуживания.
окнистые материалы)
ванию.
внутри насоса, которые
Поиск и устранение неисправностей в таблицах ниже только для
засорили крыльчатку.
монтажников.
Скорость подачи насоса
Частично закройте двухпозиционный
7.2 Главный переключатель включен, но
больше, чем пределы,
клапан ниже на линии, пока скорость
указанные на табличке
подачи не будет равна или меньше,
электрический насос не запускается
технических данных.
чем пределы, указанные на табличке
технических данных.
Причина
Устранение
Насос перегружен, по-
Проверьте фактические требования к
Отсутствует подача питания. • Восстановите подачу питания.
скольку он качает более
мощности на основании свойств на-
• Убедитесь в том, что все элек-
плотную или вязкую жид-
гнетаемой жидкости и замените насос
трические соединения к источ-
кость.
соответственно.
нику питания исправны.
Подшипники двигателя из-
Обратитесь к местному представите-
Сработала термозащита
Подождите, пока насос остынет.
ношены.
лю компании по продажам и обслужи-
встроенная в насос (если
Термозащита будет сброшена авто-
ванию.
есть).
матически.
Сработало термореле или
Выполните сброс устройства тепло-
7.6 Электрический насос запускается, но
предохранитель двигателя в
вой защиты
активирована общая защита системы.
электрической панели упра-
вления.
Причина
Устранение
Сработало предохранитель-
Проверьте:
ное устройство от сухого хо-
Короткое замыкание электриче-
Проверьте электрическую си-
• уровень жидкости в баке, или
да.
ской системы.
стему.
давление магистрали;
• предохранительные устрой-
ства и соединительные кабели.
7.7 Электрический насос запускается, но
Перегорели предохранители
Замените предохранители.
активировано устройство остаточного тока
или вспомогательные конту-
системы (RCD).
ры насоса.
Причина
Устранение
7.3 Электрический насос запускается, но
По проводнику заземления
Проверьте изоляцию компонентов
сразу же срабатывает термопредохранитель
течет ток.
электрической системы.
или перегорают плавкие предохранители.
7.8 Насос работает, но подает слишком мало
Причина
Устранение
или вообще не жидкость.
Поврежден силовой кабель
Проверьте кабель и замените при
питания.
необходимости.
Причина
Устранение
Термическая защита или
Проверьте компоненты и замените
Присутствует воздух
• Обезвоздушьте.
плавкие предохранители не
при необходимости.
внутри насоса или трубо-
подходят для тока двигате-
провода.
ля.
Короткое замыкание элек-
Проверьте компоненты и замените
тродвигателя.
при необходимости.
Перегрузка двигателя. Проверьте условия эксплуатации
насоса и выполните сброс защиты.
58 e-NSC Installation, Operation, and Maintenance Manual

ru - Перевод с оригинала
Причина Устранение
Причина Устранение
Насос неправильно за-
Остановите насос и повторите проце-
Внутри насоса
Обратитесь к местному представителю компа-
полнен.
дуру заполнения.
находятся посто-
нии по продажам и обслуживанию.
Если проблема не устранена:
ронние объекты.
• проверьте отсутствие течи механи-
ческих уплотнений;
В другом случае обратитесь в отдел продаж и обслуживания.
• проверьте герметичность всасы-
вающей трубы.
• Замените клапаны с утечкой.
Повышенное дроссели-
Откройте клапан.
рование на стороне по-
дачи.
Клапаны заблокированы
Разобрать и почистить клапаны.
в закрытом или частично
закрытом положении.
Насос засорен. Обратитесь к местному представителю
компании по продажам и обслужива-
нию.
Трубопровод засорен. Проверить и почистить трубы.
Неправильное направле-
Изменить положение двух фаз на пане-
ние вращения крыльчат-
ли выводов двигателя или в электриче-
ки.
ской панели управления.
(трехфазная версия)
.
Высота всасывания сли-
Проверьте условия эксплуатации насо-
шком большая или сли-
са. При необходимости выполнить сле-
шком большое сопроти-
дующее:
вление потока во всасы-
• сократить высоту всасывания;
вающих трубах.
• увеличить диаметр всасывающей
трубы.
7.9 Электрический насос останавливается, а
затем вращается в неправильном
направлении.
Причина
Устранение
Присутствует утечка в одном или обоих
Отремонтировать или
компонентах:
заменить неисправный
• всасывающая труба;
компонент.
• ножной клапан или обратный кла-
пан.
Присутствует воздух во всасывающей
Обезвоздушьте.
трубе.
7.10 Насос запускается слишком часто
Причина
Устранение
Присутствует утечка в одном или обо-
Отремонтировать или за-
их компонентах:
менить неисправный ком-
• всасывающая труба;
понент.
• ножной клапан или обратный
клапан.
Разорвана мембрана или отсутствует
См. соответствующие ин-
предварительный заряд воздуха в на-
струкции в руководстве к
порном баке.
напорному баку.
7.11 Насос вибрирует и создает сильный
шум
Причина
Устранение
Кавитация насо-
Сократите необходимую скорость потока, ча-
са
стично закрыв двухпозиционный клапан после
насоса. Если проблема не устранена, проверь-
те условия эксплуатации насоса (например,
разность высот, сопротивление потока, темпе-
ратура жидкости и т. д.)
Подшипники дви-
Обратитесь к местному представителю компа-
гателя изноше-
нии по продажам и обслуживанию.
ны.
e-NSC Installation, Operation, and Maintenance Manual 59

Appendice tecnica • Technical appendix • Technischer Anhang • Teknik ek • Техническое
приложение
1.
100-160 125-200 150-200 200-250
100-200 125-250 150-250 200-315
100-250 125-315 150-315 250-315
it • en • fr • de • tr • ru
60 e-NSC Installation, Operation, and Maintenance Manual

2.
100-315
100-400
125-400
150-400
it • en • fr • de • tr • ru
e-NSC Installation, Operation, and Maintenance Manual 61

3.
200-400
250-400
300-350
300-400
it • en • fr • de • tr • ru
62 e-NSC Installation, Operation, and Maintenance Manual

4.
150-500
200-500
250-500
300-450
it • en • fr • de • tr • ru
102 Corpo a spirale • Volute casing • Spiralgehäuse • Kıvrım kutusu • Спиралевидный кожух
161 Copertura corpo pompa • Casing cover • Gehäusedeckel • Kutu kapağı • Крышка кожуха
183 Piede di supporto • Support foot • Stützfuß • Ayak desteği • Основание опоры
210 Albero • Shaft • Welle • Şaft • Вал
230 Girante • Impeller • Laufrad • Çark • Рабочее колесо
e-NSC Installation, Operation, and Maintenance Manual 63

321 Cuscinetto a sfera radiale • Radial ball bearing • Radialkugellager • Radyal bilyalı rulman • Радиальный шарикоподшипник
330 Staffa del cuscinetto • Bearing bracket • Lagerträger • Rulman mesnedi • Кронштейн подшипника
360 Coperchio del cuscinetto • Bearing cover • Lagerdeckel • Rulman kapağı • Крышка подшипника
411 Guarnizione • Gasket • Flachdichtung • Conta • Прокладка
412 Guarnizione O-ring • O-ring • O-Ring • O-ring • Уплотнительное кольцо
433 Tenuta meccanica • Mechanical seal • Gleitringdichtung • Mekanik keçe • Механическое уплотнение
502 Anello usura • Wear ring • Spaltring • Aşınma halkası • Компенсационное кольцо
504 Anello distanziatore • Spacer ring • Abstandring • Ara halkası • Распорное кольцо
507 V-ring • V-ring • V-Ring • V-halka • Шевронная манжета
554 Rondella • Washer • Unterlegscheibe • Rondela • Шайба
681 Protezione di sicurezza • Safety guard • Schutzgitter • Güvenlik koruması • Защитное ограждение
901 Vite a testa esagonale • Hexagonal head screw • Sechskantschraube • Altıgen başlı vida • Винт с шестигранной головкой
902 Bullone perno • Stud bolt • Stiftschraube • Yuvarlak vida • Резьбовая шпилька
903 Tappo • Plug • Verschlussschraube • Tapa • Пробка
904 Vite di bloccaggio • Grub screw • Gewindestift • Ayar vidası • Винт с плоским концом и шлицем под отвертку
922 Dado della girante • Impeller nut • Laufradmutter • Çark somunu • Гайка крыльчатки
923 Dado del cuscinetto • Bearing nut • Lagermutter • Rulman somunu • Гайка подшипника
931 Piastra di bloccaggio • Lock plate • Sicherungsblech • Kilitleme plakası • Стопорная пластина
940 Chiave • Key • Passfeder • Anahtar • Шпонка
Appendice tecnica • Technical appendix • Technischer Anhang • Teknik ek • Техническое приложение
5. 6.
7. 8.
9.
NSC F H 125-315 / 220 A / W 4 5V C C 4 xx
1310
1 2 3 4
5
765a
8 9
121110
13
it • en • fr • de • tr • ru
64 e-NSC Installation, Operation, and Maintenance Manual

it • en • fr • de • tr • ru
Italiano
English
Deutsch
1. NSC = Tipo pompa
1. NSC = Pump type
1. NSC = Pumpentyp
2. Indicazione giunto; asse nudo, F = mon-
2. Coupling indication; bare shaft, F = fra-
2. Kupplungsangabe; freiliegende Welle, F
tato su telaio, C = telaio montato con
me- mounted, C = frame mounted with
= rahmenmontiert, C = rahmenmontiert
giunto distanziale, A = staffa cuscinetto
spacer coupling, A = advanced bearing
mit Abstandskupplung, A = besonderer
avanzata
bracket
Lagerträger
3. Controller/altro tipo di trasmissione; mo-
3. Controller / other drive type; standard
3. Regler/anderer Antriebstyp; Standard-
tore elettrico standard, H = dotato di Hy-
electric motor, H = equipped with Hydro-
Elektromotor H = mit Hydrovar ausge-
drovar, X = altra opzione di trasmissione
var, X = other drive option
stattet, X = andere Antriebsoption
4. 125–315 = Dimensione della pompa
4. 125–315 = Pump size
4. 125–315 = Pumpengröße
5. 220 = Potenza nominale (kWx10)
5. 220 = Rated motor power (kWx10)
5. 220 = Motornennleistung (kW x 10)
a. I310 = Diametro girante, utilizzata
a. I310 = Impeller diameter, only used
a. I310 = Laufraddurchmesser, nur
solo con pompa ad asse nudo
with bare shaft pump
verwendet mit Pumpe mit freilie-
6. A = Informazioni assetto girante
6. A = Impeller trim information
gender Welle
7. Tipo di motore, P = Motore PLM, W =
7. Motor type, P = PLM motor, W = WEG
6. A = Informationen zum Einstellen des
Motore WEG, X = Motore di altra marca
motor, X = Other motor brand
Laufrads
8. Numero di poli; 2 = Motore a 2 poli, 4 =
8. Number of poles; 2 = 2–pole motor, 4 =
7. Motortyp, P = PLM-Motor, W = WEG-
Motore a 4 poli, 6 = Motore a 6 poli
4–pole motor, 6 = 6–pole motor
Motor, X = Andere Motorenmarke
9. Tensione e frequenza elettrica;
9. Electrical voltage and frequency;
8. Anzahl der Pole; 2 = 2–poliger Motor, 4
= 4–poliger Motor, 6 = 6–poliger Motor
5H 1x220-240 V; 50 Hz
5H 1x220-240V; 50 Hz
9. Elektrische Spannung und Frequenz;
5R 3x220-240/380-415 V; 50 Hz
5R 3x220-240/380-415V; 50 Hz
5H 1 x 220-240 V; 50 Hz
5V 3x380-415/660-690 V; 50 Hz
5V 3x380-415/660-690V; 50 Hz
5R 3 x 220-240/380-415 V; 50 Hz
5P 3x200-208/346-360 V; 50 Hz
5P 3x200-208/346-360V; 50 Hz
5V 3 x 380-415/660-690 V; 50 Hz
5S 3x255-265/440-460 V; 50 Hz
5S 3x255-265/440-460V; 50 Hz
5P 3 x 200-208/346-360 V; 50 Hz
5T 3x290-300/500-525 V; 50 Hz
5T 3x290-300/500-525V; 50 Hz
5S 3 x 255-265/440-460 V; 50 Hz
5W 3x440-460/-; 50 Hz
5W 3x440-460/-; 50 Hz
5T 3 x 290-300/500-525 V; 50 Hz
6F 1x220-230 V; 60 Hz
6F 1x220-230V; 60 Hz
5W 3 x 440-460/-; 50 Hz
6E 1x200-210 V; 60 Hz
6E 1x200-210V; 60 Hz
6F 1 x 220-230 V; 60 Hz
6P 3x2220-230/380-400
6P 3x2220-230/380-400
6E 1 x 200-210 V; 60 Hz
6R 3x255-277/440-480 V; 60 Hz
6R 3x255-277/440-480V; 60 Hz
6P 3 x 2220-230/380-400
6V 3x440-480/-; 60 Hz
6V 3x440-480/-; 60 Hz
6R 3 x 255-277/440-480 V; 60 Hz
6U 3x380-400/660-690 V; 60 Hz
6U 3x380-400/660-690V; 60 Hz
6V 3 x 440-480/-; 60 Hz
6N 3x200-208/346-360 V; 60 Hz
6N 3x200-208/346-360V; 60 Hz
6U 3 x 380-400/660-690 V; 60 Hz
6T 3x330-346/575-600 V; 60 Hz
6T 3x330-346/575-600V; 60 Hz
6N 3 x 200-208/346-360 V; 60 Hz
10. Materiale corpo pompa
10. Casing material
6T 3 x 330-346/575-600 V; 60 Hz
11. Materiale della girante
11. Impeller material
12. Tenuta meccanica + configurazione ma-
12. Mechanical seal + O-ring material confi-
10. Gehäusewerkstoff
teriale O-ring/vedere tabella 3
guration / see table 3
11. Laufradwerkstoff
13. Cifre libere per le opzioni
13. Free digits for options
12. Werkstoffkonfiguration für Gleitringdich-
tung + O-Ring/siehe Tabelle 3
13. Freie Ziffern für Optionen
Türkçe
Русский
1. NSC = Pompa tipi
1. NSC = тип насоса
2. Kaplin göstergesi, çıplak mil, F = takılı
2. Указание типа муфты; свободный
iskelet, parça kaplinli takılan çerçeve, A
конец вала, F = монтируемый на
= gelişmiş rulman mesnedi
раме, C = монтируемый на раме, с
3. denetmen / diğer sürücü tipi; standart
распорной муфтой, A = с
elektrik motoru, H = Hydrovar donanımlı,
доработанным кронштейном
X = diğer sürücü seçeneği
подшипника
4. 125–315 = Pompa boyutu
3. Регулятор / другой тип привода;
5. 220 = Anma motor gücü (kWx10)
стандартный электродвигатель, H =
a. I310 = Çark çapı, sadece çıplak mil
оборудован системой Hydrovar, X =
pompasıyla kullanılır
другая опция привода
6. A = Çark trim bilgisi
4. 125–315 = типоразмер насоса
7. Motor tipi, P = PLM motoru, W = WEG
5. 220 = номинальная мощность
motoru, X = Diğer motor markası
двигателя (кВт x 10)
8. Kutup sayısı ; 2 = 2–kutup motoru, 4 =
a. I310 = диаметр рабочего колеса,
4–kutup motoru, 6 = 6–kutup motoru
используется только для насосов
9. Elektrik voltajı ve frekansı
со свободным концом вала
6. A = информация относительно
5H 1x220-240V; 50 Hz
регулировки рабочего колеса
7. тип двигателя, P = двигатель PLM, W
5R 3x220-240/380-415V; 50 Hz
= двигатель WEG, X = двигатель
5V 3x380-415/660-690V; 50 Hz
другого бренда
8. Количество полюсов; 2 = 2–полярный
5P 3x200-208/346-360V; 50 Hz
двигатель, 4 = 4–полярный двигатель,
5S 3x255-265/440-460V; 50 Hz
6 = 6–полярный двигатель
9. Напряжение и частота электрического
5T 3x290-300/500-525V; 50 Hz
тока
5W 3x440-460/-; 50 Hz
5H 1x220-240 В; 50 Гц
6F 1x220-230V; 60 Hz
e-NSC Installation, Operation, and Maintenance Manual 65

it • en • fr • de • tr • ru
6E 1x200-210V; 60 Hz
5R 3x220-240/380-415 В; 50 Гц
6P 3x2220-230/380-400
5V 3x380-415/660-690 В; 50 Гц
6R 3x255-277/440-480V; 60 Hz
5P 3x200-208/346-360 В; 50 Гц
6V 3x440-480/-; 60 Hz
5S 3x255-265/440-460 В; 50 Гц
6U 3x380-400/660-690V; 60 Hz
5T 3x290-300/500-525 В; 50 Гц
6N 3x200-208/346-360V; 60 Hz
5W 3x440-460/-; 50 Гц
6T 3x330-346/575-600V; 60 Hz
6F 1x220-230 В; 60 Гц
10. Gövde malzemesi
6E 1x200-210 В; 60 Гц
11. Çark malzemesi
12. Mekanik mühür + O-halkası malzeme
6P 3x2220-230/380-400
yapılandırması / bkz. tablo 3
6R 3x255-277/440-480 В; 60 Гц
13. Seçenekler için serbest rakamlar
6V 3x440-480/-; 60 Гц
6U 3x380-400/660-690 В; 60 Гц
6N 3x200-208/346-360 В; 60 Гц
6T 3x330-346/575-600 В; 60 Гц
10. Материал кожуха
11. Материал рабочего колеса
12. Конфигурация материалов сборки
механическое уплотнение +
кольцевое уплотнение / см. таблицу 3
13. Свободные позиции для опций
Appendice tecnica • Technical appendix • Technischer Anhang • Teknik ek • Техническое приложение
10.
11.
Italiano
English
Deutsch
1. Pompa/Tipo di elettropompa
1. Pump / electric pump unit type
1. Gerätetyp der Pumpe/elektrischen Pum-
2. Codice pompa/codice elettropompa
2. Pump code / Electric pump unit code
pe
3. Campo della portata
3. Flow range
2. Pumpencode/Code der elektrischen
4. Campo della prevalenza
4. Head range
Pumpeneinheit
5. Potenza pompa nominale o massima
5. Nominal or maximum pump power
3. Durchflussbereich
6. Velocità di rotazione
6. Speed
4. Förderhöhenbereich
7. Numero seriale o numero ordine
7. Serial number or order number
5. Nenn- oder maximale Pumpleistung
8. Numero posizione ordine
8. Order position number
6. Drehzahl
9. Inserire il diametro della girante (solo
9. Fill impeller diameter (only filled in for
7. Seriennummer oder Bestellnummer
per giranti tornite)
trimmed impellers)
8. Bestellpositionsnummer
10. Diametro girante tornita (solo per giranti
10. Trimmed impeller diameter (only filled in
9. Laufraddurchmesser eintragen (nur für
tornite)
for trimmed impellers)
abgedrehte Laufräder auszufüllen)
11. Prevalenza minima (IEC 60335-2-41)
11. Minimum head (IEC 60335-2-41)
10. Durchmesser des abgedrehten Laufrads
12. Temperatura operativa liquido massima
12. Maximum operating liquid temperature
(nur für abgedrehte Laufräder auszufül-
13. Pressione massima d'esercizio
13. Maximum operating pressure
len)
14. Efficienza idraulica nel punto di efficien-
14. Hydraulic efficiency in best efficiency
11. Mindestförderhöhe (IEC 60335–2–41)
za migliore
point
12. Maximale Medientemperatur für den Be-
15. Indice di efficienza minimo (Normativa
15. Minimum efficiency index (Commission
trieb
commissione (UE) N. 547/2012)
Regulation (EU) No547/2012)
13. Maximaler Betriebsdruck
16. Anno di produzione
16. Year of production
14. Hydraulische Effizienz am Bestpunkt
15. Mindesteffizienzindex (Verordnung (EU)
Nr. 547/2012 der Kommission)
66 e-NSC Installation, Operation, and Maintenance Manual

17. Indicazione mono o trifase interfaccia
17. Motor electrical interface mono or three
16. Herstellungsjahr
elettrica motore
phase indication
17. 1- oder 3-Phasen-Anzeige der elektri-
18. Indicazione del tipo di motore
18. Motor type indication
schen Schnittstelle des Motors
18. Angabe des Motortyps
Türkçe
Русский
1. Pompa/elektrikli pompa ünitesi tipi
1. Тип насоса / электрической насосной
2. Pompa kodu / Elektrik pompa ünitesi ko-
установки
du
2. Код насоса / электрической насосной
3. Akış aralığı
установки
4. Kafa aralığı
3. Диапазон расхода
5. Nominal ve maksimum pompa gücü
4. Диапазон напора
6. Hız
5. Номинальная или максимальная
7. Seri no. ve sipariş no.
мощность насоса
8. Sipariş durum no.
6. Частота вращения
9. Çark çapını doldurun (yalnızca kesilmiş
7. Серийный номер или номер заказа
çarklar için doldurulur)
8. Номер позиции в заказе
10. Kesilmiş çark çapı (yalnızca kesilmiş
9. Заполняемый диаметр рабочего
çarklar için doldurulur)
колеса (заполняется только для
11. Minimum kafa (IEC 60335-2-41)
регулируемых рабочих колес)
12. Maksimum çalışma sıvı sıcaklığı
10. Диаметр регулируемого рабочего
13. Maksimum çalışma basıncı
колеса (заполняется только для
14. En etkili noktada Hidrolik verimlilik
регулируемых рабочих колес)
15. Minimum verimlilik endeksi (Çalışma Yö-
11. Минимальный напор (IEC 60335-2-41)
netmeliği (EU) No547/2012)
12. Максимальная рабочая температура
16. Üretim Yılı
жидкости
17. Motor elektrik arayüzü tek ya da üç aşa-
13. Максимальное рабочее давление
malı gösterge
14. Гидравлический КПД в точке
18. Motor tipi göstergesi
оптимального КПД
15. Минимальный показатель
эффективности (норматив
Европейской Комиссии (ЕК)
№547/2012)
16. Год выпуска
17. Электрический интерфейс
электродвигателя - обозначение
двухфазного или трехфазного
электропитания
18. Указание типа двигателя
12.
NSC F H 125-315 / 220 A / W 4 5V C C 4 xx
1310
121110
it • en • fr • de • tr • ru
Numero
Codice Materiali
10 — Corpo pompa C Ghisa EN-GJL-250 / A48 Classe 35
D Ghisa sferoidale EN-GJS-400–15 / A395, Grado 60–40–15
N Acciaio inossidabile 1.4408 / 316ss — A744 CF8M
R Duplex 1.4517 / A351 CD4–Mcu
11 — Girante C Ghisa EN-GJL-200 / A48 Classe 30
B Bronzo CC380K / B584 — C90700
S Acciaio inossidabile 1.4404 / 316L — A276
N Acciaio inossidabile 1.4408 / 316ss — A744 CF8M
R Duplex 1.4517 / A351 CD4–Mcu
12 — Tenuta meccanica e configurazione materiale O-ring 2 Carbonio/carburo di silicio/FPM
4 Carbonio/carburo di silicio/EPDM
A Carbonio/Ceramica/FPM
B Carbonio/Ceramica/EPDM
N Carburo di silicone/Carburo di tungsteno/FPM
W Carburo di silicone/Carburo di silicone/FPM
Z Carburo di silicone/Carburo di silicone/EPDM
e-NSC Installation, Operation, and Maintenance Manual 67

13.
1 2 3 4 5
6 7 8 9 10
it • en • fr • de • tr • ru
Italiano
English
Deutsch
1. Gap distanza
1. Clearance gap
1. Toleranzspalt
2. Ugello di aspirazione
2. Discharge nozzle
2. Auslassdüse
3. Copertura corpo pompa
3. Casing cover
3. Gehäusedeckel
4. Albero
4. Shaft
4. Welle
5. Staffa del cuscinetto
5. Bearing bracket
5. Lagerträger
6. Ugello di aspirazione
6. Suction nozzle
6. Ansaugdüse
7. Girante
7. Impeller
7. Laufrad
8. Tenuta dell'albero
8. Shaft seal
8. Wellendichtring
9. Cuscinetto volvente, estremità pompa
9. Rolling element bearing, pump end
9. Wälzlager, pumpenseitig
10. Cuscinetto volvente, estremità pompa
10. Rolling element bearing, pump end
10. Wälzlager, pumpenseitig
Türkçe
Русский
1. Temizlik boşluğu
1. Зазор
2. Boşaltma nozülü
2. Выпускная насадка
3. Kutu kapağı
3. Крышка кожуха
4. Şaft
4. Вал
5. Rulman mesnedi
5. Кронштейн подшипника
6. Emme nozülü
6. Всасывающая насадка
7. Çark
7. Рабочее колесо
8. Mil keçesi
8. Уплотнение вала
9. Makara eleman rulmanı, pompa ucu
9. Узел с подшипником качения, на
10. Makara eleman rulmanı, pompa ucu
стороне насоса
10. Узел с подшипником качения, на
стороне насоса
14.
Dimensioni
Staffa del cu-
Dimensioni
Dimensioni
Dimensioni
Cuscinetto lu-
Cuscinetti ri-
Volume gras-
Peso pompa
scinetto
tenuta senza
cuscinetto
cuscinetto
brificato a vita
lubrificabili
so
(kg)
bussola (mm)
Lato pompa
Lato trasmis-
Pompa/lato
sione
trasmissione
(g)
NSC80-400 42 48 6310C3 6310C3 X -- -- 154
NSC100-160 32 38 6308C3 6308C3 X -- -- 82
NSC100-200 32 38 6308C3 6308C3 X -- -- 90
NSC100-250 32 38 6308C3 6308C3 X -- -- 100
NSC100-315 32 38 6308C3 6308C3 X -- -- 116
NSC100-400 42 48 6310C3 6310C3 X -- -- 178
NSC125-200 32 38 6308C3 6308C3 X -- -- 112
NSC125-250 32 38 6308C3 6308C3 X -- -- 112
NSC125-315 42 48 6310C3 6310C3 X -- -- 152
NSC125-400 42 48 6310C3 6310C3 X -- -- 200
NSC125-500 60 75 6314C3 3314C3 -- X 30 / 50 366
68 e-NSC Installation, Operation, and Maintenance Manual

it • en • fr • de • tr • ru
Dimensioni Staffa del cu-
Dimensioni
Dimensioni
Dimensioni
Cuscinetto lu-
Cuscinetti ri-
Volume gras-
Peso pompa
scinetto
tenuta senza
cuscinetto
cuscinetto
brificato a vita
lubrificabili
so
(kg)
bussola (mm)
Lato pompa
Lato trasmis-
Pompa/lato
sione
trasmissione
(g)
NSC150-200 32 38 6308C3 6308C3 X -- -- 166
NSC150-250 42 48 6310C3 6310C3 X -- -- 180
NSC150-315 42 48 6310C3 6310C3 X -- -- 186
NSC150-400 42 48 6310C3 6310C3 X -- -- 228
NSC150-500 60 75 6314C3 3314C3 -- X 30 / 50 408
NSC200-250 42 48 6310C3 6310C3 X -- -- 230
NSC200-315 42 48 6310C3 6310C3 X -- -- 234
NSC200-400 60 75 6314C3 3314C3 -- X 30 / 50 363
NSC200-500 60 75 6314C3 3314C3 -- X 30 / 50 400
NSC250-315 42 48 6310C3 6310C3 X -- -- 316
NSC250-400 60 75 6314C3 3314C3 -- X 30 / 50 400
NSC250-500 60 75 6314C3 3314C3 -- X 30 / 50 451
NSC300-350 60 75 6314C3 3314C3 -- X 30 / 50 544
NSC300-400 60 75 6314C3 3314C3 -- X 30 / 50 548
NSC300-450 60 75 6314C3 3314C3 -- X 30 / 50 578
15.
Potenza nominale
Livello di pressione sonora L
pA
in dB(A)
P
N
Pompa Pompa
in kW 2950 1450 950 2950 1450 950
rpm rpm rpm rpm rpm rpm
0,55 51 50 -- 57,2 51 --
0,75 52 51 -- 59,8 51,8 --
1,1 54 53 -- 60,2 54,5 --
1,5 56 55 -- 63 56 --
2,2 58 57 -- 63,5 58,5 --
3 60 59 -- 67,8 60 --
4 61 60 60 65,8 61,5 60,6
5,5 63 61 61 68,5 62,2 61,5
7,5 65 63 63 69,1 63,8 63,8
11 66 65 65 69,5 66,5 65,5
15 68 67 67 70,5 68 67,3
18,5 69 68 68 71,1 68,8 68,6
22 70 69 69 71,8 69,6 69,5
30 71 71 71 73,1 71,6 71,6
37 72 72 72 73,8 72,5 72,6
45 73 73 73 76,5 73,4 73,6
55 75 74 74 77,5 74,4 74,5
75 76 76 75 79,5 76,8 75,6
90 77 77 76 80 77,6 76,5
110 78 78 77 80,5 78,8 77,4
132 79 79 78 81,1 79,6 78,3
160 80 80 79 81,8 80,5 79,3
200 82 81 81 83,5 81,6 81,6
250 -- 82 -- -- 82,5 --
315 -- 83 -- -- 83,5 --
355 -- 84 -- -- 84,4 --
e-NSC Installation, Operation, and Maintenance Manual 69

16.
H (m) 0 °C 10 °C 20 °C 30 °C 40 °C 45 °C 50 °C 55 °C 60 °C
0 1,00 1,00 1,00 1,00 1,00 0,95 0,90 0,85 0,80
500 1,00 1,00 1,00 1,00 1,00 0,95 0,90 0,85 0,80
1000 1,00 1,00 1,00 1,00 1,00 0,95 0,90 0,85 0,80
1500 0,97 0,97 0,97 0,97 0,97 0,92 0,87 0,82 0,78
2000 0,95 0,95 0,95 0,95 0,95 0,90 0,85 0,80 0,76
17.
T [°C] Hv [m]
+ °C
20 0,2
30 0,4
H
V
40 0,7
50 1,2
60 2,0
70 3,1
H
f
-Z
80 4,8
90 7,1
100 10,3
110 14,6
120 20,2
+Z
p
b
Appendice tecnica • Technical appendix • Technischer Anhang • Teknik ek • Техническое приложение
18.
A
B
D
G
F
E
C
19.
1
3
4
2
it • en • fr • de • tr • ru
Istallazione corretta Istallazione non corretta
A Riduzione eccentrica 1 Curva stretta; elevata resistenza di flusso
B Pendenza positiva 2 Immersion insufficiente; aspirazione aria
C Buona immersione 3 Pendenza positiva; sacche d'aria
70 e-NSC Installation, Operation, and Maintenance Manual

Istallazione corretta Istallazione non corretta
D Curva larga 4 Diametro del tubo < diametro bocca della pompa; elevata resistenza di
flusso
E Diametro tubo d'aspirazione > diametro bocca della
pompa
F Morsetto tubo
G L'aspirazione soprabattente dipende dalla pompa e
dall'installazione. In condizioni normali il dislivello non
è superiore a 5-6 m.
20.
2 2 1 2
3
it • en • fr • de • tr • ru
Italiano
English
Deutsch
1. Piastra di base con set pompa
1. Baseplate with pump set
1. Grundplatte mit Pumpensatz
2. Spessori
2. Shims
2. Ausgleichsscheiben
3. Bulloni della fondazione
3. Foundation bolts
3. Fundamentschrauben
Türkçe
Русский
1. pompa setiyle plaka tabanı
1. Опорная плита с насосным агрегатом
2. Şimler
2. Регулировочные шайбы
3. Temel civatalar
3. Фундаментные болты
21.
e-NSC Installation, Operation, and Maintenance Manual 71

²
it • en • fr • de • tr • ru
Appendice tecnica • Technical appendix • Technischer Anhang • Teknik ek • Техническое приложение
22.
Flangia di aspirazione Flangia di scarico
Dimen-
DN Fy
max
Fz
max
Fx
max
ƩF
max
ƩM
max
DN Fy
max
Fz
max
Fx
max
ƩF
max
ƩM
max
sioni
ø [kN] [kN] [kN] [kN] [kNm] ø [kN] [kN] [kN] [kN] [kNm]
100-160 125 1,1 1,4 1,2 2,2 1,1 100 0,9 1,2 1,1 1,8 0,9
100-200 125 1,1 1,4 1,2 2,2 1,1 100 0,9 1,2 1,1 1,8 0,9
100-250 125 1,1 1,4 1,2 2,2 1,1 100 0,9 1,2 1,1 1,8 0,9
100-315 125 1,1 1,4 1,2 2,2 1,1 100 0,9 1,2 1,1 1,8 0,9
100-400 125 1,1 1,4 1,2 2,2 1,1 100 0,9 1,2 1,1 1,8 0,9
125-200 150 1,4 1,8 1,6 2,7 1,3 125 1,1 1,4 1,2 2,2 1,1
125-250 150 1,4 1,8 1,6 2,7 1,3 125 1,1 1,4 1,2 2,2 1,1
125-315 150 1,4 1,8 1,6 2,7 1,3 125 1,1 1,4 1,2 2,2 1,1
125-400 150 1,4 1,8 1,6 2,7 1,3 125 1,1 1,4 1,2 2,2 1,1
150-200 200 1,9 2,3 2,1 3,7 1,7 150 1,4 1,8 1,6 2,7 1,3
150-250 200 1,9 2,3 2,1 3,7 1,7 150 1,4 1,8 1,6 2,7 1,3
150-315 200 1,9 2,3 2,1 3,7 1,7 150 1,4 1,8 1,6 2,7 1,3
150-400 200 1,9 2,3 2,1 3,7 1,7 150 1,4 1,8 1,6 2,7 1,3
150-500 200 3,8 4,7 4,2 7,3 3,4 150 2,8 3,5 3,2 5,5 2,6
200-250 250 6,8 8,4 7,5 13,1 6,6 200 3,8 4,7 4,2 7,3 3,4
200-315 250 6,8 8,4 7,5 13,1 6,6 200 3,8 4,7 4,2 7,3 3,4
200-400 250 6,8 8,4 7,5 13,1 6,6 200 3,8 4,7 4,2 7,3 3,4
200-500 250 6,8 8,4 7,5 13,1 6,6 200 3,8 4,7 4,2 7,3 3,4
250-315 300 8,1 10,0 9,0 15,7 8,9 250 6,8 8,4 7,5 13,1 6,6
250-400 300 8,1 10,0 9,0 15,7 8,9 250 6,8 8,4 7,5 13,1 6,6
250-500 300 8,1 10,0 9,0 15,7 8,9 250 6,8 8,4 7,5 13,1 6,6
300-350 350 9,4 11,7 10,5 18,3 11,4 300 8,1 10,0 9,0 15,7 8,9
300-400 350 9,4 11,7 10,5 18,3 11,4 300 8,1 10,0 9,0 15,7 8,9
300-450 350 9,4 11,7 10,5 18,3 11,4 300 8,1 10,0 9,0 15,7 8,9
23.
Flangia di aspirazione Flangia di scarico
Dimen-
DN Fy
max
Fz
max
Fx
max
ƩF
max
ƩM
max
DN Fy
max
Fz
max
Fx
max
ƩF
max
ƩM
max
sioni
ø [kN] [kN] [kN] [kN] [kNm] ø [kN] [kN] [kN] [kN] [kNm]
100-160 125 2,2 2,8 2,5 4,3 2,1 100 1,9 2,3 2,1 3,7 1,8
100-200 125 2,2 2,8 2,5 4,3 2,1 100 1,9 2,3 2,1 3,7 1,8
100-250 125 2,2 2,8 2,5 4,3 2,1 100 1,9 2,3 2,1 3,7 1,8
100-315 125 2,2 2,8 2,5 4,3 2,1 100 1,9 2,3 2,1 3,7 1,8
100-400 125 2,2 2,8 2,5 4,3 2,1 100 1,9 2,3 2,1 3,7 1,8
125-200 150 2,8 3,5 3,2 5,5 2,6 125 2,2 2,8 2,5 4,3 2,1
125-250 150 2,8 3,5 3,2 5,5 2,6 125 2,2 2,8 2,5 4,3 2,1
125-315 150 2,8 3,5 3,2 5,5 2,6 125 2,2 2,8 2,5 4,3 2,1
125-400 150 2,8 3,5 3,2 5,5 2,6 125 2,2 2,8 2,5 4,3 2,1
150-200 200 3,8 4,7 4,2 7,3 3,4 150 2,8 3,5 3,2 5,5 2,6
150-250 200 3,8 4,7 4,2 7,3 3,4 150 2,8 3,5 3,2 5,5 2,6
150-315 200 3,8 4,7 4,2 7,3 3,4 150 2,8 3,5 3,2 5,5 2,6
150-400 200 3,8 4,7 4,2 7,3 3,4 150 2,8 3,5 3,2 5,5 2,6
150-500 200 3,8 4,7 4,2 7,3 3,4 150 2,8 3,5 3,2 5,5 2,6
200-250 250 6,8 8,4 7,5 13,1 6,6 200 3,8 4,7 4,2 7,3 3,4
200-315 250 6,8 8,4 7,5 13,1 6,6 200 3,8 4,7 4,2 7,3 3,4
72 e-NSC Installation, Operation, and Maintenance Manual

Flangia di aspirazione Flangia di scarico
Dimen-
DN Fy
max
Fz
max
Fx
max
ƩF
max
ƩM
max
DN Fy
max
Fz
max
Fx
max
ƩF
max
ƩM
max
sioni
ø [kN] [kN] [kN] [kN] [kNm] ø [kN] [kN] [kN] [kN] [kNm]
200-400 250 6,8 8,4 7,5 13,1 6,6 200 3,8 4,7 4,2 7,3 3,4
200-500 250 6,8 8,4 7,5 13,1 6,6 200 3,8 4,7 4,2 7,3 3,4
250-315 300 8,1 10,0 9,0 15,7 8,9 250 6,8 8,4 7,5 13,1 6,6
250-400 300 8,1 10,0 9,0 15,7 8,9 250 6,8 8,4 7,5 13,1 6,6
250-500 300 8,1 10,0 9,0 15,7 8,9 250 6,8 8,4 7,5 13,1 6,6
300-350 350 9,4 11,7 10,5 18,3 11,4 300 8,1 10,0 9,0 15,7 8,9
300-400 350 9,4 11,7 10,5 18,3 11,4 300 8,1 10,0 9,0 15,7 8,9
300-450 350 9,4 11,7 10,5 18,3 11,4 300 8,1 10,0 9,0 15,7 8,9
24.
01042E_B_SC
it • en • fr • de • tr • ru
e-NSC Installation, Operation, and Maintenance Manual 73

it • en • fr • de • tr • ru
25.
100-160 - 150-400 150-500 - 300-450 100-160 - 150-400 150-500 - 300-450
Materiale corpo pompa C, D Materiale corpo pompa N, R
E Drenaggio G 3/8" G 1/2" G 3/8" G 1/2"
PM1 Scarico punto di presa
G 1/4" G 1/2" G 1/4" G 1/2"
di pressione
CO1 Uscita circolazione G 1/4" *) G 1/2" *) G 1/4" *) G 1/2" *)
PM2 Aspirazione punto di
G 1/4" *) G 1/2" *) G 1/4" *) G 1/2" *)
presa di pressione
F Punto di riempimento G 3/8" -- G 3/8" --
T Sensore di temperatu-
-- G 1/2" *) -- G 1/2" *)
ra
*) Opzionale su richiesta
74 e-NSC Installation, Operation, and Maintenance Manual

26.
1
3
2
Italiano
English
Deutsch
1. Indicatore PM1
1. Gauge plug PM1
1. Manometeranschlussstopfen PM1
2. Tappo di scarico E
2. Drain plug E
2. Ablassschraube E
3. Tappo di riempimento F
3. Fill plug F
3. Füllstopfen F
Türkçe
Русский
1. Ölçek kapağı PM1
1. Контрольная заглушка PM1
2. Boşaltma kapağı E
2. Дренажная заглушка E
3. Doldurma kapağı F
3. Заливная пробка F
27.
1
3
2
it • en • fr • de • tr • ru
Italiano
English
Deutsch
1. Indicatore PM1
1. Gauge plug PM1
1. Manometeranschlussstopfen PM1
2. Tappo di scarico E
2. Drain plug E
2. Ablassschraube E
3. Tappo di riempimento F
3. Fill plug F
3. Füllstopfen F
Türkçe
Русский
1. Ölçek kapağı PM1
1. Контрольная заглушка PM1
2. Boşaltma kapağı E
2. Дренажная заглушка E
3. Doldurma kapağı F
3. Заливная пробка F
e-NSC Installation, Operation, and Maintenance Manual 75

it • en • fr • de • tr • ru
28.
A / 922 B / 901.01
C / 901.02
D / 901.03
G / 901.04 H / 901.05 E, F, T /
CO1, PM1,
Staffa
Di-
920.01
920.02
901.06
903.01, 903.04
PM2 903.02, .
del
men-
03, .05
cusci-
sioni
netto
ø [Nm] ø [Nm] ø [Nm] ø [Nm] ø [Nm] ø [Nm] ø [Nm] ø [Nm]
NSC1
32 M24 x
130 M12 60 M12 60 M8 15 M12 60 M8 15 G 3/8" 35 G 1/4" 15
00-160
1,5
NSC1
32 M24 x
130 M12 60 -- -- M8 15 M12 60 M8 15 G 3/8" 35 G 1/4" 15
00-200
1,5
NSC1
32 M24 x
130 M12 60 -- -- M8 15 M12 60 M8 15 G 3/8" 35 G 1/4" 15
00-250
1,5
NSC1
32 M24 x
130 M12 60 M12 60 M8 15 M12 60 M8 15 G 3/8" 35 G 1/4" 15
00-315
1,5
NSC1
42 M30 x
180 M16 110 M12 60 M8 15 M12 60 M8 15 G 3/8" 35 G 1/4" 15
00-400
2
NSC1
32 M24 x
130 M12 60 -- -- M8 15 M12 60 M8 15 G 3/8" 35 G 1/4" 15
25-200
1,5
NSC1
32 M24 x
130 M12 60 -- -- M8 15 M12 60 M8 15 G 3/8" 35 G 1/4" 15
25-250
1,5
NSC1
42 M30 x
180 M12 60 -- -- M8 15 M12 60 M8 15 G 3/8" 35 G 1/4" 15
25-315
2
NSC1
42 M30 x
180 M16 110 M12 60 M8 15 M12 60 M8 15 G 3/8" 35 G 1/4" 15
25-400
2
NSC1
60 M42 x
250 M20 200 M16 110 M10 25 M16 110 M8 15 G 1/2" 60 G 1/2" 60
25-500
3
NSC1
32 M24 x
130 M12 60 -- -- M8 15 M12 60 M8 15 G 3/8" 35 G 1/4" 15
50-200
1,5
NSC1
42 M30 x
180 M12 60 -- -- M8 15 M12 60 M8 15 G 3/8" 35 G 1/4" 15
50-250
2
NSC1
42 M30 x
180 M12 60 -- -- M8 15 M12 60 M8 15 G 3/8" 35 G 1/4" 15
50-315
2
NSC1
42 M30 x
180 M16 110 M12 60 M8 15 M12 60 M8 15 G 3/8" 35 G 1/4" 15
50-400
2
NSC1
60 M42 x
250 M20 200 M16 110 M10 25 M16 110 M8 15 G 1/2" 60 G 1/2" 60
50-500
3
NSC2
42 M30 x
180 M12 60 -- -- M8 15 M12 60 M8 15 G 1/2" 60 G 1/2" 60
00-250
2
76 e-NSC Installation, Operation, and Maintenance Manual

it • en • fr • de • tr • ru
A / 922 B / 901.01
C / 901.02
D / 901.03
G / 901.04 H / 901.05 E, F, T /
CO1, PM1,
Staffa
Di-
920.01
920.02
901.06
903.01, 903.04
PM2 903.02, .
del
men-
03, .05
cusci-
sioni
netto
ø [Nm] ø [Nm] ø [Nm] ø [Nm] ø [Nm] ø [Nm] ø [Nm] ø [Nm]
NSC2
42 M30 x
180 M12 60 -- -- M8 15 M12 60 M8 15 G 1/2" 60 G 1/2" 60
00-315
2
NSC2
60 M42 x
250 M16 110 -- -- M10 25 M16 110 M8 15 G 1/2" 60 G 1/2" 60
00-400
3
NSC2
60 M42 x
250 M20 200 M16 110 M10 25 M16 110 M8 15 G 1/2" 60 G 1/2" 60
00-500
3
NSC2
42 M30 x
180 M12 60 -- -- M8 15 M12 60 M8 15 G 1/2" 60 G 1/2" 60
50-315
2
NSC2
60 M42 x
250 M16 110 -- -- M10 25 M16 110 M8 15 G 1/2" 60 G 1/2" 60
50-400
3
NSC2
60 M42 x
250 M20 200 M16 110 M10 25 M16 110 M8 15 G 1/2" 60 G 1/2" 60
50-500
3
NSC3
60 M42 x
250 M16 110 -- -- M10 25 M16 110 M8 15 G 1/2" 60 G 1/2" 60
00-350
3
NSC3
60 M42 x
250 M16 110 -- -- M10 25 M16 110 M8 15 G 1/2" 60 G 1/2" 60
00-400
3
NSC3
60 M42 x
250 M20 200 M16 110 M10 25 M16 110 M8 15 G 1/2" 60 G 1/2" 60
00-450
3
A / 920.1 Dado della girante • Impeller nut • Laufradmutter • Çark Somunu • Гайка крыльчатки
B / 901.01
Bullonatura corpo pompa • Casing bolting • Gehäuse • Gövde civatalama • Болтовое соединение кожуха
920.01
C / 901.02
Staffa cuscinetto - Bullonatura copertura corpo pompa • Bearing bracket - Casing cover bolting • Lagerträger - Gehäusedeckel-
920.02
verschraubung • Rulman mesnedi - Kutu kapak civatası • Кронштейн подшипника - болтовое соединение крышки кожуха
D / 901.03 Bullonatura copertura cuscinetto • Bearing cover bolting • Lagerdeckelverschraubung • Rulman kapak civatası • Болтовое
соединение крышки подшипника
G / 901.04 Bullonatura piedi di supporto • Support foot bolting • Stützfußverschraubung • Destek ayağı civatası • Болтовое соединение
основания опоры
H / 901.05 Bullonatura protezione albero • Shaft guard bolting • Verschraubung der Wellenabdeckung • Mil koruma civatası • Болтовое
соединение защиты вала
E, F, T / 903.01,
Tempo sensore temperatura, riempimento e scarico • Drain, filling and temperature sensor plug • Ablass-, Füll- und Temperatur-
903.04
sensorschraube • Boşaltma, doldurma ve sıcaklık sensör tapası • Заглушки отверстий дренажного, заливного и
температурного датчиков
PM1, PM2, CO1
Uscita circolazione e presa di pressione • Pressure tapping and circulation outlet • Druckentnahme- und Zirkulationsausgang •
903.03, .02, .05
Basınç itme ve devir çıkışı • Выходные патрубки отбора давления и линии циркуляции
29.
Dimensioni filetto [mm]
Coppia di serraggio [Nm]
M12 60
M16 110
M20 200
M24 350
M27 530
e-NSC Installation, Operation, and Maintenance Manual 77



Xylem Service Italia S.r.l.
Via Vittorio Lombardi 14
Montecchio Maggiore VI 36075
Italy
Tel: (+39) 0444-707111
Fax: (+39) 0444-492166
©
2014 Xylem Inc
Оглавление
- 1 Introduzione e sicurezza
- 2 Movimentazione e stoccaggio
- 4 Installazione
- 5 Messa in funzione, avvio,
- 7 Risoluzione dei problemi
- 1 Introduction and Safety
- 2 Transportation and Storage
- 4 Installation
- 5 Commissioning, Startup,
- 7 Troubleshooting
- 1 Introduction et sécurité
- 2 Transport et stockage
- 4 Installation
- 5 Contrôle de réception, Démarrage, Fonctionnement et Extinction
- 7 Recherche des pannes
- 1 Einführung und Sicherheit
- 2 Transport- und Lagerung
- 4 Montage
- 5 Inbetriebnahme, Anfahren,
- 7 Fehlerbehebung 6 Wartung
- 1 Giriş ve Güvenlik
- 2 Taşıma ve Depolama
- 4 Montaj
- 5 Devreye alma, Başlatma,
- 7 Sorun Giderme
- 1 Подготовка и техника
- 2 Транспортирование и
- 4 Установка
- 5 Ввод в эксплуатацию, запуск,
- 6 Техническое обслуживание

