Videotec MAXIMUS MPX – страница 10
Инструкция к Videotec MAXIMUS MPX


Headquarters Italy Videotec S.p.A.
UK Representative oce
Via Friuli, 6 - I-36015 - Schio (VI) Italy
Tel./Fax +44 01353 775438 (Sales)
Tel. +39 0445 697411 - Fax +39 0445 697414
Tel. +44 0113 815 0047 (Technical support)
Email: info@videotec.com
Tel. +44 0113 815 0031 (Orders/Shipping dept.)
Email: uksales@videotec.com
France Videotec France S.à.r.l.
Asia Pacic Videotec (HK) Ltd
Voie du Futur, Zac des Portes - 27100 - Val-de-Reuil, France
Unit C 24 Floor - Gold King Industrial Building
Tel. +33 2 32094900 - Fax +33 2 32094901
35-41, Tai Lin Pai Road - Kwai Chung, NT, Hong Kong
Email: info@videotec-france.com
Tel. +852 2333 0601 - Fax +852 2311 0026
Email: info@videotec.com.hk
Americas Videotec Security, Inc.
35 Gateway Drive, Suite 100 - Plattsburgh, NY 12901 - U.S.A.
Tel. +1 518 8250020 - Fax +1 425 648 4289
Email: usasales@videotec.com - www.videotec.us
www.videotec.com
MNVCMPXT_1225_IT

MAXIMUS MPX -
MAXIMUS MPXT
Système de positionnement antidéagrant en acier Inox
FR
Français - Manuel d’instructions
FRANÇAIS


Sommaire
FRANÇAIS
1 À propos de ce mode d’emploi ..................................................................................... 7
1.1 Conventions typographiques ............................................................................................................................. 7
2 Notes sur le copyright et informations sur les marques de commerce ..................... 7
3 Normes de securité ........................................................................................................ 7
Manuel d'instructions - Français - FR
4 Identication .................................................................................................................. 9
4.1 Description et désignation du produit ............................................................................................................ 9
4.1.1 Version pour caméras thermiques ..................................................................................................................................10
4.2 Marquage du produit ........................................................................................................................................... 10
5 Préparation du produit en vue de l’utilisation ..........................................................11
5.1 Précautions de sécurité avant l’utilisation ....................................................................................................11
5.2 Déballage et contenu ...........................................................................................................................................12
5.2.1 Déballage .................................................................................................................................................................................12
5.2.2 Contenu ....................................................................................................................................................................................12
5.3 Élimination sans danger des matériaux d’emballage ...............................................................................12
5.4 Opérations à eectuer avant l’installation ....................................................................................................13
5.4.1 Fixation sur parapet ou plafond .......................................................................................................................................13
5.4.2 Fixation avec étrier ................................................................................................................................................................ 14
5.4.3 Fixation avec poteau ou module adaptateur angulaire ..........................................................................................14
5.4.3.1 Fixation avec poteau .................................................................................................................................................................................14
5.4.3.2 Fixation avec module angulaire ............................................................................................................................................................15
5.4.4 Fixation du toit .......................................................................................................................................................................15
6 Assemblage et installation .........................................................................................16
6.1 Installation ................................................................................................................................................................16
6.1.1 Champ d'utilisation ...............................................................................................................................................................16
6.1.2 Méthodes d'installation.......................................................................................................................................................16
6.1.3 Connexion des câbles à la base ........................................................................................................................................ 17
6.1.4 Entrée de câbles ..................................................................................................................................................................... 18
6.1.5 Connexion de la ligne d'alimentation ............................................................................................................................19
6.1.6 Branchement d'un ou plusieurs câble(s) vidéo ..........................................................................................................21
6.1.7 Branchement d'une ou plusieurs bre(s) optique(s) ................................................................................................21
6.1.8 Branchement du câble de réseau ethernet..................................................................................................................22
6.1.9 Connexion des lignes de télémétrie ...............................................................................................................................23
6.1.10 Branchement aux alarmes et aux relais ......................................................................................................................24
6.1.10.1 Branchement d’alarme avec contact sec. ........................................................................................................................................ 24
6.1.10.2 Branchement des relais .......................................................................................................................................................................... 24
6.1.11 Conguration de l'adresse de l'unité, du protocole de communication et de la vitesse de
transmission ....................................................................................................................................................................................... 25
6.1.12 Conguration des dip-switch .........................................................................................................................................25
6.1.13 Conguration mode contrôle réglages .......................................................................................................................25
6.1.14 Conguration de la vitesse de transmission en bauds .......................................................................................... 26
6.1.15 Lignes de communication ...............................................................................................................................................26
6.1.15.1 Ligne RS485 TX/RX bidirectionnelle .................................................................................................................................................. 27
6.1.15.2 Ligne RS485-1 réception, ligne RS485-2 répétition .....................................................................................................................27
6.1.15.3 Ligne RS422 bidirectionnelle ...............................................................................................................................................................27
3

6.1.15.4 Ligne RS485 monodirectionnelle ....................................................................................................................................................... 27
6.1.16 Terminaisons lignes sérielles et connexions ..............................................................................................................28
6.1.17 Conguration protocole ................................................................................................................................................... 28
6.1.18 Conguration adresse .......................................................................................................................................................28
6.1.19 Branchement à terre ..........................................................................................................................................................29
6.1.20 Fermeture du compartiment des connexions .......................................................................................................... 29
7 Instructions de sécurité concernant le fonctionnement .......................................... 30
7.1 Fonctionnement en conditions de sécurité ................................................................................................. 30
7.1.1 Mise en service .......................................................................................................................................................................30
7.1.2 Précautions de sécurité .......................................................................................................................................................31
7.1.3 Précautions contre les explosions ...................................................................................................................................31
8 Allumage ...................................................................................................................... 31
8.1 Avant d'alimenter l'unité en atmosphère explosive .................................................................................31
9 Conguration ............................................................................................................... 32
9.1 Menu sur écran (OSM) ..........................................................................................................................................32
9.1.1 Utilisation du joystick ........................................................................................................................................................... 32
FR - Français - Manuel d'instructions
9.2 Comment se déplacer dans le menu .............................................................................................................. 32
9.3 Comment modier les congurations ...........................................................................................................33
9.4 Comment modier les champs numériques ...............................................................................................33
9.5 Comment modier les textes ............................................................................................................................34
9.6 Conguration du système ..................................................................................................................................35
9.6.1 Menu principal .......................................................................................................................................................................35
9.6.2 Langue ....................................................................................................................................................................................... 35
9.6.3 Menu caméra ..........................................................................................................................................................................35
9.6.3.1 Menu Titrage Des Zones...........................................................................................................................................................................36
9.6.3.2 Menu Titrage Des Zones (Modier Zone) ..........................................................................................................................................36
9.6.3.3 Menu Masquage .........................................................................................................................................................................................37
9.6.3.4 Menu Masquage (Modier Masques) ..................................................................................................................................................38
9.6.3.5 Comment créer un nouveau masque ..................................................................................................................................................38
9.6.3.6 Comment modier un masque .............................................................................................................................................................39
9.6.3.7 Menu Congurations Avancées ............................................................................................................................................................40
9.6.3.8 Menu Congurations Avancées (Zoom) ............................................................................................................................................. 40
9.6.3.9 Menu Congurations Avancées (Focus) .............................................................................................................................................41
9.6.3.10 Menu Congurations Avancées (Exposition) .................................................................................................................................41
9.6.3.11 Menu Congurations Avancées (Infrarouge) .................................................................................................................................42
9.6.3.12 Menu Congurations Avancées (Équilibre Blanc) ........................................................................................................................43
9.6.3.13 Menu Congurations Avancées (Autre) ........................................................................................................................................... 44
9.6.4 Menu Mouvement ................................................................................................................................................................44
9.6.4.1 Menu Contrôle Manuel ............................................................................................................................................................................. 45
9.6.4.2 Menu Contrôle Manuel (Limites)...........................................................................................................................................................45
9.6.4.3 Menu Preset .................................................................................................................................................................................................. 45
9.6.4.4 Menu Preset (Modier Preset) ................................................................................................................................................................ 46
9.6.4.5 Menu Preset (Utilités Preset) ................................................................................................................................................................... 46
9.6.4.6 Menu Patrol ...................................................................................................................................................................................................47
9.6.4.7 Menu Autopan ............................................................................................................................................................................................. 47
9.6.4.8 Menu Rappel Mouvements .....................................................................................................................................................................47
9.6.4.9 Menu Avancées ...........................................................................................................................................................................................48
9.6.5 Menu Achages ....................................................................................................................................................................48
9.6.6 Menu Options .........................................................................................................................................................................49
9.6.6.1 Menu Alarmes .............................................................................................................................................................................................. 49
4

9.6.7 Menu Système De Lavage ..................................................................................................................................................50
9.6.8 Menu Par Défaut ....................................................................................................................................................................50
9.6.9 Menu Infos ...............................................................................................................................................................................50
9.6.10 Menu Caméra Thermique ................................................................................................................................................51
9.6.10.1 Menu Correction Flat Field ....................................................................................................................................................................52
9.6.10.2 Menu Correction Flat Field (Valeurs Modication Gain) ............................................................................................................53
9.6.10.3 Menu Conguration vidéo .................................................................................................................................................................... 53
9.6.10.4 Menu Contrôle Gain ................................................................................................................................................................................54
Manuel d'instructions - Français - FR
9.6.10.5 Menu Conguration ROI ........................................................................................................................................................................ 55
9.6.10.6 Menu Analyse Thermique .....................................................................................................................................................................55
9.6.10.7 Menu Analyse Thermique (Point de Mesure) ................................................................................................................................. 55
9.6.10.8 Menu Analyse Thermique (Isotherme) ............................................................................................................................................. 56
9.6.10.9 Menu Status ...............................................................................................................................................................................................56
9.7 Conguration Carte IP..........................................................................................................................................57
9.7.1 Conditions essentielles minimales PC ............................................................................................................................57
9.7.2 Procédure de conguration ............................................................................................................................................... 57
9.7.2.1 Installation WAN .......................................................................................................................................................................................... 58
9.7.3 Installation du logiciel NVR ................................................................................................................................................60
9.7.3.1 Contrôle de mouvements PTZ ...............................................................................................................................................................62
9.7.3.2 Positions Preset et rappel ........................................................................................................................................................................63
10 Instructions de sécurité concernant le fonctionnement ........................................ 64
10.1 Achage de l’état de la tourelle ....................................................................................................................64
10.2 Sauvegarde de la position actuelle (Présélection) ..................................................................................65
10.2.1 Sauvegarde rapide .............................................................................................................................................................. 65
10.2.2 Sauvegarde à partir du Menu ......................................................................................................................................... 65
10.3 Rappel d’une position (Scan) .......................................................................................................................... 65
10.4 Validation patrouille (Patrol) ............................................................................................................................65
10.5 Validation Autopan ............................................................................................................................................. 65
10.6 Rappel d’un parcours (Tour) ............................................................................................................................65
10.7 Rappel de la position de Home ......................................................................................................................66
10.8 Validation de l’Essuie-glace (Wiper) .............................................................................................................66
10.9 Validation du Système de lavage (Washer) ................................................................................................ 66
10.10 Reboot du dispositif .........................................................................................................................................66
10.11 Correction manuelle mise au point d’un preset .................................................................................... 67
11 Entretien et nettoyage .............................................................................................. 69
11.1 Conguration du système et visualisation des données statistiques ..............................................69
11.2 Entretien et nettoyage eectués par les utilisateurs .............................................................................. 69
11.2.1 Entretien de routine (entretien périodique) ..............................................................................................................69
11.2.1.1 Nettoyage de la vitre ............................................................................................................................................................................... 69
11.2.1.2 Nettoyage de la fenêtre au germanium ........................................................................................................................................... 69
11.2.1.3 Nettoyage de l’appareil .......................................................................................................................................................................... 69
11.2.1.4 Contrôle des câbles .................................................................................................................................................................................69
11.2.2 Entretien correctif (cas spéciques uniquement) ...................................................................................................70
12 Élimination des déchets ............................................................................................ 70
13 Troubleshooting ........................................................................................................ 71
14 Données techniques .................................................................................................. 73
14.1 MPX ..........................................................................................................................................................................73
14.1.1 Généralités .............................................................................................................................................................................73
5

14.1.2 Mécanique ............................................................................................................................................................................. 73
14.1.3 Electrique/Video .................................................................................................................................................................. 73
14.2 Communications .................................................................................................................................................74
14.2.4 Protocoles ..............................................................................................................................................................................74
14.2.5 Environnement ....................................................................................................................................................................74
14.2.6 Certications ......................................................................................................................................................................... 74
14.2.7 Supports et adaptateurs ...................................................................................................................................................74
14.2.8 Accessoires ............................................................................................................................................................................74
14.2.9 Emballage ..............................................................................................................................................................................74
14.3 MPXT ........................................................................................................................................................................ 75
14.3.1 Généralités .............................................................................................................................................................................75
14.3.2 Mécanique ............................................................................................................................................................................. 75
14.3.3 Electrique/Video .................................................................................................................................................................. 75
14.4 Communications .................................................................................................................................................76
14.4.4 Protocoles ..............................................................................................................................................................................76
14.4.5 Environnement ....................................................................................................................................................................76
14.4.6 Certications ......................................................................................................................................................................... 76
FR - Français - Manuel d'instructions
14.4.7 Supports et adaptateurs ...................................................................................................................................................76
14.4.8 Accessoires ............................................................................................................................................................................76
14.4.9 Emballage ..............................................................................................................................................................................76
14.5 Consommation électrique ...............................................................................................................................77
14.6 Presse-étoupes .....................................................................................................................................................77
14.7 Caméra ....................................................................................................................................................................78
15 Dessins techniques .................................................................................................... 83
A Annexe - Codication du marquage .......................................................................... 85
A.1 Marquage ATEX ......................................................................................................................................................85
A.2 Marquage IECEX ....................................................................................................................................................86
A.3 Classication groupes gaz .................................................................................................................................87
B Annexe - Parcours de la amme .................................................................................88
6

1 À propos de ce mode
3 Normes de securité
d’emploi
Le producteur décline toute responsabilité
pour les dommages éventuels dus à une
Avant d’installer et d’utiliser cet appareil, veuillez
utilisation non appropriée des appareils
lire attentivement ce mode d’emploi. Conservez-le à
mentionnés dans ce manuel. On réserve
portée de main pour pouvoir vous y reporter en cas
en outre le droit d’en modier le contenu
de besoin.
sans préavis. La documentation contenue
Manuel d'instructions - Français - FR
1.1 Conventions typographiques
dans ce manuel a été rassemblée et vériée
avec le plus grand soin, cependant, le
DANGER!
producteur ne peut pas s’assumer aucune
Danger d’explosion.
responsabilité dérivante de l’emploi de
Lire avec attention pour éviter tout risque
celle là. La même chose vaut pour chaque
d’explosion.
personne ou société impliquées dans la
création et la production de ce manuel.
DANGER!
Risque élevé.
L’appareil doit être branché à un
Risque de choc électrique. Sauf indication
conducteur de terre (mise à terre de
contraire, sectionner l'alimentation avant
protection). Ce branchement doit être
de procéder à toute opération.
eectué uniquement à l'aide du connecteur
interne J1 (6.1.5 Connexion de la ligne
ATTENTION!
d'alimentation, page19). Les connexions
Risque moyen.
équipotentielles externes doivent être
Opération extrêmement importante en vue
eectuées seulement là où les normes ou
d’un fonctionnement correct du système;
les codes locaux prévoient l'exécution de
lire avec attention les opérations indiquées
connexions supplémentaires à terre.
et s’y conformer rigoureusement.
REMARQUE
Description des caractéristiques du
système.
Il est conseillé de procéder à une
lecture attentive pour une meilleure
compréhension des phases suivantes.
2 Notes sur le copyright
et informations sur les
Fig. 1
marques de commerce
Les noms de produit ou de sociétés cités sont des
Trou externe pour connexion
marques de commerce ou des marques de commerce
équipotentielle si prévue par la loi. A ne pas
enregistrées.
utiliser comme borne de protection.
7

• Lire les instructions.
• L’appareil est contrôlé à distance et peut donc
changer de position à tout moment. Installer
• Conserver les instructions.
l'appareil de façon à éviter les accidents causés
• Respecter toutes les mises en garde.
par le contact avec des parties en mouvement,
• Respecter toutes les instructions.
en faisant en sorte que ces parties ne se heurtent
• Pour réduire le risque d'inammation au contact
pas à d'autres objets, créant des situations
avec des atmosphères explosives, débrancher
dangereuses.
l'appareil du circuit d'alimentation avant de l'ouvrir.
• S'assurer que l'appareil soit solidement xé.
Garder le produit fermé pendant l'utilisation.
• L'installation électrique doit être équipée d'un
• L’appareil est homologué pour l'utilisation à des
sectionneur de réseau facile à reconnaître et à
températures ambiantes comprises entre -40°C et
utiliser en cas de nécessité.
60°C (-40°F / 140°F).
• Le couvercle du compartiment des connexions ne
• L'installation de l'appareil doit être eectuée par
peut être ouverte que pour eectuer le câblage
du personnel technique spécialisé conformément
du dispositif. Les autres bouchons ne doivent être
au code de référence applicable IEC/EN 60079-14.
ouverts que par le producteur.
• Un rappel des étiquettes de certication se trouve
• Ne pas utiliser de câbles d’alimentation usés ou
sur le dessin LABEL_DRAWING.
endommagés.
• La température des surfaces de l'appareil
• Pour les interventions de l'assistance techniques,
augmente en cas d'exposition directe à la lumière
s'adresser exclusivement à du personnel technique
FR - Français - Manuel d'instructions
solaire. La classe de température à la surface de
agréé.
l'appareil a été calculée seulement à température
• Avant de procéder à l’installation, contrôler que
ambiante, sans tenir compte de l'exposition directe
le matériel fourni correspond à la commande
à la lumière solaire.
et examiner les étiquettes de marquage (4.2
• Choisir une surface d'installation susamment
Marquage du produit, page 10).
résistante et adaptée pour soutenir le poids
de l'appareil, en tenant compte des conditions
particulières du milieu, comme l'exposition à des
vents forts.
• Etant donné que l'utilisateur est responsable
du choix de la surface de xation, le producteur
ne fournit pas dans la livraison les dispositifs de
xation de l'unité à la surface. L'installateur est
responsable de choisir des dispositifs adaptés à
la surface à disposition. Il est conseillé d'utiliser
des méthodes et des matériaux en mesure de
supporter un poids au moins 4 fois supérieur à
celui de l'appareil.
8

MAXIMUS PTZ ore une rotation continue à grande
4 Identification
vitesse, une précision de positionnement et une
qualité des images supérieures, ainsi qu'une très
4.1 Description et désignation du
grande solidité et une conguration de système
produit
simpliée.
La vitesse et la précision sont les caractéristiques
Les dispositifs antidéagrants de la série MAXIMUS
principales du dispositif, qui atteint des valeurs de
sont des unités de positionnement (PTZ) conçues
100°/s pour la rotation horizontale continue et un
pour permettre le déplacement sur le plan
écart vertical compris entre -90° et +90°.
Manuel d'instructions - Français - FR
horizontal et vertical d'un caisson contenant la
caméra qui travaille en milieu industriel où il existe
MAXIMUS PTZ gère les fonctions de preset, autopan
une probabilité que des atmosphères explosives
et patrouille avec un degré de précision de 0,02°.
aient lieu, causées par des gaz, vapeurs, nuages ou
L’unité eectue un contrôle constant de sa position
mélanges d'air ou de poussière.
pour vérier le bon positionnement de la caméra à
Les dispositifs MAXIMUM PTZ, équipés de
tout moment. Cette fonction est particulièrement
caméra incorporée, sont construits en acier inox
utile en cas de conditions climatiques diciles,
électrobrillanté AISI 316L.
comme le vent ou les fortes vibrations.
Cette unité se compose essentiellement d'une base,
Le choix des caméras intégrées SONY peut avoir lieu
d'un corps central et d'un caisson pour la caméra.
parmi les optiques zoom 36x ou 28x, ce qui permet
de lmer avec une précision extraordinaire des objets
Des versions avec un second caisson sont disponibles
proches et lointains, avec une fonction de masquage
pour les caméras thermiques.
dynamique des zones.
La base est équipée d'un compartiment des
En plus de la conguration OSD (achage sur
connexions permettant un câblage simplié du
l'écran), l'installation est équipée d'une interface
système ; et à son intérieur se trouve l'alimentation.
RS485 pour un contrôle total du système et pour la
Un trou taraudé de 3/4" NPT est présent ; il est utilisé
mise à jour à distance à la dernière version rmware.
pour la connexion, à eectuer conformément à la
directive IEC/EN60079-14.
L'interface de conguration simpliée du logiciel
permet d'utiliser les presets ou de personnaliser
Le corps principal contient les moteurs pour le
complètement le système.
déplacement horizontal et vertical, ainsi que la carte
CPU et la carte vidéo.
Le caisson de la caméra contient un module day/
night avec ses composants électroniques, un
chauage et un essuie-glace pré-installé.
Le dispositif PTZ est équipé d'un degré de protection
IP66 et fonctionne à des températures comprises
entre - 40°C et 60°C (-40°F / 140°F).
MAXIMUS PTZ présente également une télémétrie
intégrée à performance élevée pour le déplacement
horizontal/vertical.
Fig. 2 MPX.
9

4.1.1 Version pour caméras thermiques
La sensibilité élevée NEdT 50mK à f/1,0 garantit une
acquisition optimale des images thermiques. Elle
Le dispositif peut être équipé aussi d'une caméra
supporte le zoom digital 2x ou 4x.
thermique pour l'acquisition des images, installée
dans un deuxième caisson, dont la fenêtre, composée
Un choix de plusieurs longueurs focales est proposé,
surtout de germanium, garantit des caractéristiques
parmi 35mm, 25mm et 9mm, selon les distances de
de robustesse et de sécurité identiques à celles du
détection nécessaires.
verre standard. (Fig. 3 MPXT., page10).
La caméra thermique est un microbolomètre
à l'oxyde de vanadium non refroidi (VOx) avec
bande spectrale de 7,5-13,5m. Elle crée une vidéo
thermique 320x256 (PAL) et 320x240 (NTSC), avec
une fréquence d'image de 8,3fps ou 25fps (PAL) et 7,5
ou 30fps (NTSC).
Fig. 3 MPXT.
4.2 Marquage du produit
FR - Français - Manuel d'instructions
04
01
02
10
03
05
11
06 07 08 09
Fig. 4
1. Symbole CE
10. Certication ATEX :
2. Nom et adresse du fabricant
• Numéro de certicat ATEX
3. Code d'identication du modèle
• Classement du type de zone, de la méthode de
protection, de la classe de température pour
4. Température ambiante d'utilisation se référant
lesquels l'emploi de ce produit est permis selon
au code d'identication du modèle
la directive ATEX
5. Numéro de série (Toute modication non
11. Certication IECEx :
approuvée expressément par le fabricant
entraînera l’annulation de la garantie.)
• Numéro de certicat IECEx
6. Tension d'alimentation (V)
• Classement du type de zone, de la méthode de
protection, de la classe de température pour
7. Courant d'absorption (A)
lesquels l'emploi de ce produit est permis selon
8. Fréquence (Hz)
la directive IECEx
9. Consommation du caisson (W)
10

5 Préparation du produit en
L'appareil n'est considéré comme désactivé
que quand l'alimentation est enlevée et
vue de l’utilisation
les câbles de branchement avec d'autres
dispositifs ont été enlevés.
Tout changement non expressément
approuvé par le fabricant annule la
L’installation doit être équipé d'un
garantie et la certication.
dispositif de déconnexion immédiatement
reconnaissable et utilisable en cas de
Avant l'installation, s'assurer que les
Manuel d'instructions - Français - FR
besoin.
caractéristiques d'alimentation et de
protection correspondent à celles qui sont
Avant d'eectuer des interventions
indiquées dans l'ordre original. L'utilisation
techniques sur l'appareil, couper le courant
d'appareils non adéquats peut provoquer
électrique.
de graves dangers et porter atteinte à la
sécurité du personnel ou de l'installation.
Eectuer les branchements et les essais en
laboratoire avant l'installation sur place.
5.1 Précautions de sécurité avant
Utiliser des outils adéquats.
l’utilisation
Avant d'eectuer toute opération, s'assurer
L'installation électrique à laquelle l'unité est
que la tension de la ligne soit correcte.
branchée doit être équipée d'un circuit de
protection bipolaire de puissance maximale
Il n'y a pas d'instructions particulières
de 15A (magnétothermique) équipé d'un
concernant la manutention. Il est donc
interrupteur bipolaire, de protection du
conseillé au personnel préposé d'eectuer
courant à terre (magnétothermique +
cette opération en respectant les normes
diérentiel) avec une distance minimale de
communes de prévention des accidents.
3mm entre les contacts.
S'assurer que tous les appareils soient
homologués pour l'utilisation dans le milieu
dans lequel ils seront installés.
11

Version bre optique Single Mode/Multi Mode :
5.2 Déballage et contenu
• 1 tourelle antidéagrante
5.2.1 Déballage
• 1 toit pare-soleil (2 dans la version avec caméra
Lors de la livraison du produit, vérier que
thermique)
l’emballage est en bon état et l’absence de tout signe
• 1 document Importantes consignes de sécurité
évident de chute ou d’abrasion.
• 3 gaines
En cas de dommages évidents, contacter
• 6 colliers
immédiatement le fournisseur.
• 2 goujons de sécurité
Conserver l’emballage en cas de nécessité
d’expédition du produit pour réparation.
• 2 adaptateurs pour bre optique
• Manuel d'instructions
5.2.2 Contenu
Contrôler que le contenu correspond à la liste
5.3 Élimination sans danger des
matériel indiquée ci-dessous:
matériaux d’emballage
Version analogique :
Le matériel d’emballage est entièrement composé
• 1 tourelle antidéagrante
de matériaux recyclables. Le technicien chargé de
• 1 toit pare-soleil (2 dans la version avec caméra
l’installation est tenu de l’éliminer conformément aux
thermique)
dispositions en matière de collecte sélective et selon
FR - Français - Manuel d'instructions
• 1 document Importantes consignes de sécurité
les normes en vigueur dans le pays d’utilisation.
• 1 gaine
En cas de dysfonctionnement et de retour du produit,
• 2 colliers
il est conseillé d’utiliser l’emballage original pour le
transport.
• 2 goujons de sécurité
• Manuel d'instructions
Version IP:
• 1 tourelle antidéagrante
• 1 toit pare-soleil (2 dans la version avec caméra
thermique)
• 1 document Importantes consignes de sécurité
• 1 gaine
• 2 colliers
• 2 goujons de sécurité
• 1 CD
• Manuel d'instructions
12

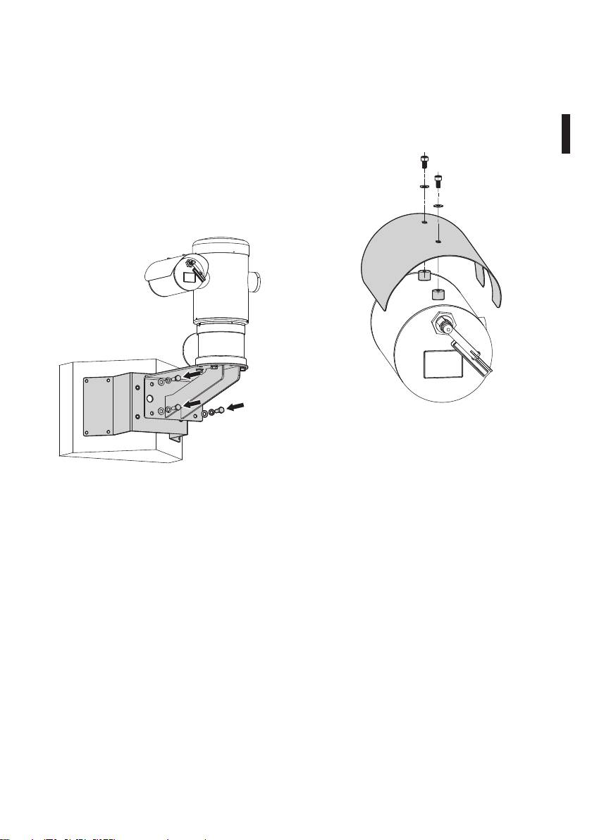
5.4 Opérations à eectuer avant
5.4.1 Fixation sur parapet ou plafond
Brancher l'adaptateur (01) au fond de l'unité en
l’installation
utilisant 4 vis à tête plate évasée (02) avec hexagone
encastré M10x20mm en acier inox (A4 classe 80).
Eectuer l'installation en utilisant des
outils adéquats. Le lieu dans lequel le
S'assurer qu'il n'y ait pas de saleté ou de résidus dans
dispositif est installé peut toutefois exiger
les taraudages.
l'utilisation d'outils spéciques.
Appliquer une bonne quantité de colle frein let
(Loctite 270) sur les 4 trous taraudés présents sur le
Manuel d'instructions - Français - FR
Choisir une surface d'installation
fond de la base de l'appareil.
susamment résistante et adaptée pour
Serrer les vis jusqu'à 35Nm. Laisser agir la colle
soutenir le poids de l'appareil, en tenant
frein let pendant une heure avant de terminer
compte des conditions particulières du
l'installation.
milieu, comme l'exposition à des vents
forts.
02
Installer l'appareil de façon à éviter les
01
accidents causés par le contact avec des
parties en mouvement, en faisant en
sorte que ces parties ne se heurtent pas
à d'autres objets, créant des situations
dangereuses.
S'assurer que l'appareil soit solidement xé.
Fig. 5
L'installation et l'entretien de l'appareil
Fixer l'unité assemblée au mur ou au poteau en se
doivent être eectués exclusivement par du
servant des trous externes de l'adaptateur. Utiliser
personnel spécialisé.
des vis pouvant soutenir un poids au moins 4 fois
supérieur à celui de l'unité.
Pour l'assistance techniques, s'adresser
exclusivement à du personnel technique
agréé.
Ø 200
Etant donné que l'utilisateur est
responsable du choix de la surface de
35
xation, le producteur ne fournit pas dans
35
la livraison les dispositifs de xation de
l'unité à la surface. L'installateur est donc
35
responsable de choisir des dispositifs
35
adaptés à la surface à disposition. En
général, il est conseillé d'utiliser des
Ø 11
méthodes et des matériaux en mesure
de supporter un poids au moins 4 fois
8
supérieur à celui de l'appareil.
Ø 238
L'unité peut être installée avec diérents étriers et
supports.
Fig. 6
Il est conseillé d'utiliser exclusivement des étriers et
des accessoires approuvés pour l'installation.
13

5.4.2 Fixation avec étrier
5.4.3 Fixation avec poteau ou module
Le support peut être xé directement sur un mur
adaptateur angulaire
vertical. Utiliser des vis et des dispositifs de xation
Pour installer l'unité sur la xation pour poteau ou
murale pouvant soutenir un poids au moins 4 fois
face à un angle, il faut d'abord xer l'unité de la
supérieur à celui de l'unité.
tourelle au support mural (5.4.2 Fixation avec étrier,
Pour xer le dispositif à l'étrier, utiliser 4 rondelles
page14).
pleines, 4 rondelles élastiques en acier inox et 4 vis
5.4.3.1 Fixation avec poteau
à tête hexagonale en acier inox (A4 classe 80) de
Pour xer l'étrier de support mural à la xation
M10x20mm.
pour poteau, utiliser 4 rondelles pleines, 4 rondelles
S'assurer qu'il n'y ait pas de saleté ou de résidus dans
élastiques en acier inox et 4 vis à tête hexagonale en
les taraudages.
acier inox (A4 classe 80) de M10x30mm.
Appliquer une bonne quantité de colle frein let
S'assurer qu'il n'y ait pas de saleté ou de résidus dans
(Loctite 270) sur les 4 trous taraudés présents sur le
les taraudages.
fond de la base de l'appareil.
Appliquer une bonne quantité de colle frein let
Serrer les vis jusqu'à 35Nm. Laisser agir la colle
(Loctite 270) sur la base de l'unité.
frein let pendant une heure avant de terminer
Serrer les vis jusqu'à 35Nm. Laisser agir la colle
l'installation.
frein let pendant une heure avant de terminer
l'installation.
FR - Français - Manuel d'instructions
Fig. 7
Fig. 8
14

5.4.3.2 Fixation avec module angulaire
5.4.4 Fixation du toit
Pour xer l'étrier de support mural au module
Avant d'eectuer le câblage, xer le toit au caisson en
adaptateur angulaire, utiliser 4 rondelles pleines,
utilisant les vis et les rondelles.
4 rondelles élastiques en acier inox et 4 vis à
Appliquer une bonne quantité de colle frein let
tête hexagonale en acier inox (A4 classe 80) de
(Loctite 270) sur les trous taraudés.
M10x30mm.
Laisser agir la colle frein let pendant une heure
S'assurer qu'il n'y ait pas de saleté ou de résidus dans
avant de terminer l'installation.
les taraudages.
Manuel d'instructions - Français - FR
Appliquer une bonne quantité de colle frein let
(Loctite 270) sur la base de l'unité.
Serrer les vis jusqu'à 35Nm. Laisser agir la colle
frein let pendant une heure avant de terminer
l'installation.
Fig. 10
Fig. 9
15

6 Assemblage et
6.1 Installation
installation
6.1.1 Champ d'utilisation
L'emploi de l'unité est dénie pour l'utilisation
Toutes les interventions et tous les
sur poste xe pour la surveillance de zones avec
branchements d'installation doivent
atmosphère potentiellement explosive classées 1-21
être eectués dans une atmosphère non
ou 2-22, à l'aide de la caméra incorporée.
explosive.
La température d'installation est comprise entre
-40°C et 60°C (-40°F/140°F).
S'assurer que tous les appareils soient
homologués pour l'utilisation dans le milieu
Le dispositif est opératif dans une gamme de
dans lequel ils seront installés.
températures comprise entre -40°C et 60°C
(-40°F/140°F).
Couper l'alimentation électrique pour
L'unité est construite et certiée conformément
eectuer les procédures suivantes, sauf
à la directive 94/9/CE ATEX et aux standards
mention contraire.
internationaux IECEx qui en dénissent le champ
d'application et les conditions minimales de sécurité.
L'installation de l'appareil doit être
L'appareil n'a pas été évalué comme un équipement
eectuée exclusivement par du personnel
qui contribue à la sécurité (déni par la directive
spécialisé.
FR - Français - Manuel d'instructions
94/9/CE annexe II, point 1.5).
Lors de la mise en marche, le système
6.1.2 Méthodes d'installation
eectue une série de mouvements
L'unité ne peut être installée que dans la position
d'étalonnages automatiques : ne pas
standard ou inversée (montage au plafond). Si
stationner près de l'appareil au moment de
elle est installée dans cette dernière position, la
l'allumage.
reconguration des fonctions d'orientation et de
contrôle de la caméra a lieu à l'aide du logiciel de
S'assurer que l'installation soit conforme
système.
aux normes locales.
Le fonctionnement en position inversée n'exigence
VIDEOTEC conseille de tester la conguration et
aucune modication du matériel hardware.
les performances de l'appareils dans un atelier ou
un laboratoire avant de placer celui-ci sur le lieu
d'installation dénitive. (6.1.3 Connexion des câbles à
la base, page17).
Fig. 11
16

6.1.3 Connexion des câbles à la base
Le couvercle du compartiment des
Avant d'eectuer des interventions
connexions ne peut être ouverte que pour
techniques ou des opérations d'entretien
eectuer le câblage du dispositif. Les autres
sur l'appareil, vérier l'absence
bouchons ne doivent être ouverts que par
d'atmosphère potentiellement explosive.
le producteur.
Pour réduire le risque d'inammation, ne
Selon l'unité, on trouve un compartiment des
pas ouvrir l'appareil dans une atmosphère
connexions avec trou taraudé 3/4” NPT pour l'entrée
potentiellement explosive.
des câbles.
Manuel d'instructions - Français - FR
L'installation électrique à laquelle l'unité est
En dévissant le bouchon taraudé, on a accès à une
branchée doit être équipée d'un circuit de
carte de connecteurs équipée de connecteurs
protection bipolaire de puissance maximale
amovibles facilitant le branchement des câbles
de 15A (magnétothermique) équipé d'un
pendant l'installation.
interrupteur bipolaire, de protection du
Le goujon d'arrêt est utilisé pour empêcher
courant à terre (magnétothermique +
que le bouchon taraudé du compartiment
diérentiel) avec une distance minimale de
des connexions ne se dévisse. L'enlever
3mm entre les contacts.
avant de dévisser le bouchon.
L'installation électrique doit être équipée
Consulter les images et les informations suivantes
d'un sectionneur de réseau facile à
pour connecter les câbles et les câblages nécessaires.
reconnaître et à utiliser en cas de nécessité.
Pour brancher l'unité de positionnement, enlever
le goujon de sécurité, le bouchon en plastique et le
Avant d'eectuer des interventions
couvercle taraudé.
techniques sur l'appareil, couper le courant
Le bouchon en plastique est disponible uniquement
électrique.
pour l'expédition et ne peut être utilisé pour le
fonctionnement.
L'appareil n'est considéré comme désactivé
que quand l'alimentation est enlevée et
les câbles de branchement avec d'autres
dispositifs ont été enlevés.
Ne pas utiliser de câbles d’alimentation
usés ou endommagés.
En cas de température supérieure à 80°C,
utiliser des câbles adaptés. Si l'installation
a lieu dans un milieu dont la température
est inférieure à -10°C, utiliser des câbles
adaptés à la température minimale.
Fig. 12
17

Dans le compartiment des connexions, se trouve
Pour eectuer les câblages, débrancher le connecteur
une carte de conguration des lignes sérielles et une
amovible de la carte, câbler tous les câbles
carte équipée de connecteurs amovibles simpliant
électriques et réinsérer la che volante, comme
la procédure de câblage.
illustré ci-après.
Câblage de la télémétrie.
F
U
S
E
J3
FUS2
ADDRESS & PROTOCOL
J8
VIDEO - 1
J2
RL2
J4
F
U
S
J9
E
RL2
A
J6
RL1
RL1
B
J8
J3
FUS2
VIDEO - 1
COM
J2
AL5
A
RS485
RL2
B
VIDEO - 2
RL2
J9
AL4
A
J6
AL3
GND
RL1
B
AL2
W
J7
RL1
AL1
GND
COM
AL5
A
RS485
FUS1
VAR1
AC
IN
J1
AL4
B
VIDEO - 2
L
AL3
GND
F
U
S
E
AL2
W
J7
N
AL1
GND
FUS1
VAR1
AC
IN
J1
VAR2
VAR3
F
U
S
E
L
100nMBW3
N
VAR2
VAR3
100nMBW3
Fig. 13
FR - Français - Manuel d'instructions
Fig. 14
6.1.4 Entrée de câbles
Extraire le connecteur amovible J9.
Seule la version de la série MPXT a 2 câbles
de sortie coaxiaux.
Pour prévenir le passage de ammes ou explosions
du dispositif vers le système conduit ou presse-
ADDRESS & PROTOCOL
J4
F
U
S
E
étoupe, et de ceux-ci vers le milieu extérieur,
J8
J3
FUS2
J2
VIDEO - 1
RL2
RL2
J9
eectuer une connexion conforme à la norme IEC/
J6
RL1
RL1
B
A
COM
EN60079-14.
AL5
A
RS485
AL4
B
VIDEO - 2
AL3
GND
AL2
W
J7
AL1
GND
Tous les presse-étoupes doivent être certiés "d" et/
FUS1
VAR1
AC
IN
J1
F
U
S
E
L
ou "tb", adaptés pour les conditions d'utilisation et
N
VAR2
VAR3
installés correctement.
100nMBW3
Quand le conduit est utilisé, il faut utiliser un
adaptateur résistant aux explosions, de type "d" et/
ou "tb", adapté aux conditions d'utilisation et installé
correctement. Celui-ci doit être placé au maximum à
25mm (1in) du dispositif.
Fig. 15
18

